RU2401635C2 - Способы и системы получения напитков с пеной из жидких концентратов в машине для розлива с дозированием - Google Patents
Способы и системы получения напитков с пеной из жидких концентратов в машине для розлива с дозированием Download PDFInfo
- Publication number
- RU2401635C2 RU2401635C2 RU2008102085/05A RU2008102085A RU2401635C2 RU 2401635 C2 RU2401635 C2 RU 2401635C2 RU 2008102085/05 A RU2008102085/05 A RU 2008102085/05A RU 2008102085 A RU2008102085 A RU 2008102085A RU 2401635 C2 RU2401635 C2 RU 2401635C2
- Authority
- RU
- Russia
- Prior art keywords
- diluent
- component
- foam
- product
- flow rate
- Prior art date
Links
- 239000006260 foam Substances 0.000 title claims abstract description 105
- 238000000034 method Methods 0.000 title claims abstract description 48
- 235000014666 liquid concentrate Nutrition 0.000 title abstract description 17
- 238000004519 manufacturing process Methods 0.000 title abstract description 4
- 239000000126 substance Substances 0.000 claims abstract description 10
- 239000003085 diluting agent Substances 0.000 claims description 60
- 235000013336 milk Nutrition 0.000 claims description 44
- 239000008267 milk Substances 0.000 claims description 44
- 210000004080 milk Anatomy 0.000 claims description 44
- 239000007788 liquid Substances 0.000 claims description 29
- 239000012141 concentrate Substances 0.000 claims description 25
- 239000000843 powder Substances 0.000 claims description 25
- 238000002156 mixing Methods 0.000 claims description 24
- 235000013361 beverage Nutrition 0.000 claims description 22
- 238000010411 cooking Methods 0.000 claims description 18
- 239000000203 mixture Substances 0.000 claims description 16
- 235000013353 coffee beverage Nutrition 0.000 claims description 15
- 238000005187 foaming Methods 0.000 claims description 14
- 235000016213 coffee Nutrition 0.000 claims description 12
- 239000006071 cream Substances 0.000 claims description 11
- 239000012530 fluid Substances 0.000 claims description 11
- 239000004615 ingredient Substances 0.000 claims description 8
- 239000000796 flavoring agent Substances 0.000 claims description 4
- 235000019634 flavors Nutrition 0.000 claims description 4
- 235000009470 Theobroma cacao Nutrition 0.000 claims description 3
- 108010046377 Whey Proteins Proteins 0.000 claims description 3
- 239000003086 colorant Substances 0.000 claims description 3
- 239000003995 emulsifying agent Substances 0.000 claims description 3
- 239000003925 fat Substances 0.000 claims description 3
- 235000003599 food sweetener Nutrition 0.000 claims description 3
- 235000016709 nutrition Nutrition 0.000 claims description 3
- 239000003755 preservative agent Substances 0.000 claims description 3
- 239000003765 sweetening agent Substances 0.000 claims description 3
- 235000021119 whey protein Nutrition 0.000 claims description 3
- 239000003921 oil Substances 0.000 claims description 2
- 244000240602 cacao Species 0.000 claims 1
- XLYOFNOQVPJJNP-UHFFFAOYSA-N water Substances O XLYOFNOQVPJJNP-UHFFFAOYSA-N 0.000 abstract description 38
- 238000009826 distribution Methods 0.000 abstract description 3
- 230000000694 effects Effects 0.000 abstract description 2
- 238000013459 approach Methods 0.000 abstract 1
- 239000000047 product Substances 0.000 description 39
- 235000008504 concentrate Nutrition 0.000 description 24
- 235000015116 cappuccino Nutrition 0.000 description 13
- 230000008901 benefit Effects 0.000 description 10
- 238000002360 preparation method Methods 0.000 description 10
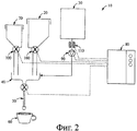
- 238000010586 diagram Methods 0.000 description 8
- 230000004048 modification Effects 0.000 description 6
- 238000012986 modification Methods 0.000 description 6
- CDBYLPFSWZWCQE-UHFFFAOYSA-L Sodium Carbonate Chemical compound [Na+].[Na+].[O-]C([O-])=O CDBYLPFSWZWCQE-UHFFFAOYSA-L 0.000 description 4
- 235000014483 powder concentrate Nutrition 0.000 description 4
- 230000001105 regulatory effect Effects 0.000 description 4
- 244000299461 Theobroma cacao Species 0.000 description 3
- 230000008569 process Effects 0.000 description 3
- 239000007790 solid phase Substances 0.000 description 3
- 230000008859 change Effects 0.000 description 2
- 238000013461 design Methods 0.000 description 2
- 238000007865 diluting Methods 0.000 description 2
- 235000019197 fats Nutrition 0.000 description 2
- 238000011049 filling Methods 0.000 description 2
- 230000007774 longterm Effects 0.000 description 2
- 238000012545 processing Methods 0.000 description 2
- 238000003860 storage Methods 0.000 description 2
- BVKZGUZCCUSVTD-UHFFFAOYSA-M Bicarbonate Chemical compound OC([O-])=O BVKZGUZCCUSVTD-UHFFFAOYSA-M 0.000 description 1
- OKTJSMMVPCPJKN-UHFFFAOYSA-N Carbon Chemical compound [C] OKTJSMMVPCPJKN-UHFFFAOYSA-N 0.000 description 1
- 125000003118 aryl group Chemical group 0.000 description 1
- 230000015572 biosynthetic process Effects 0.000 description 1
- 235000014121 butter Nutrition 0.000 description 1
- 229910052799 carbon Inorganic materials 0.000 description 1
- 235000019219 chocolate Nutrition 0.000 description 1
- 235000020965 cold beverage Nutrition 0.000 description 1
- 125000004122 cyclic group Chemical group 0.000 description 1
- 230000003247 decreasing effect Effects 0.000 description 1
- 230000001419 dependent effect Effects 0.000 description 1
- 230000006866 deterioration Effects 0.000 description 1
- 238000010790 dilution Methods 0.000 description 1
- 239000012895 dilution Substances 0.000 description 1
- 230000008034 disappearance Effects 0.000 description 1
- 235000015114 espresso Nutrition 0.000 description 1
- 239000012467 final product Substances 0.000 description 1
- 238000009472 formulation Methods 0.000 description 1
- 230000006872 improvement Effects 0.000 description 1
- 239000012263 liquid product Substances 0.000 description 1
- 235000019629 palatability Nutrition 0.000 description 1
- 239000002245 particle Substances 0.000 description 1
- 239000004033 plastic Substances 0.000 description 1
- 230000009467 reduction Effects 0.000 description 1
- 238000001694 spray drying Methods 0.000 description 1
- 230000006641 stabilisation Effects 0.000 description 1
- 238000011105 stabilization Methods 0.000 description 1
- 238000003756 stirring Methods 0.000 description 1
- 238000012360 testing method Methods 0.000 description 1
- 238000009827 uniform distribution Methods 0.000 description 1
Images
Classifications
-
- A—HUMAN NECESSITIES
- A47—FURNITURE; DOMESTIC ARTICLES OR APPLIANCES; COFFEE MILLS; SPICE MILLS; SUCTION CLEANERS IN GENERAL
- A47J—KITCHEN EQUIPMENT; COFFEE MILLS; SPICE MILLS; APPARATUS FOR MAKING BEVERAGES
- A47J31/00—Apparatus for making beverages
- A47J31/002—Apparatus for making beverages following a specific operational sequence, e.g. for improving the taste of the extraction product
-
- A—HUMAN NECESSITIES
- A47—FURNITURE; DOMESTIC ARTICLES OR APPLIANCES; COFFEE MILLS; SPICE MILLS; SUCTION CLEANERS IN GENERAL
- A47J—KITCHEN EQUIPMENT; COFFEE MILLS; SPICE MILLS; APPARATUS FOR MAKING BEVERAGES
- A47J31/00—Apparatus for making beverages
- A47J31/40—Beverage-making apparatus with dispensing means for adding a measured quantity of ingredients, e.g. coffee, water, sugar, cocoa, milk, tea
- A47J31/401—Beverage-making apparatus with dispensing means for adding a measured quantity of ingredients, e.g. coffee, water, sugar, cocoa, milk, tea whereby the powder ingredients and the water are delivered to a mixing bowl
-
- A—HUMAN NECESSITIES
- A47—FURNITURE; DOMESTIC ARTICLES OR APPLIANCES; COFFEE MILLS; SPICE MILLS; SUCTION CLEANERS IN GENERAL
- A47J—KITCHEN EQUIPMENT; COFFEE MILLS; SPICE MILLS; APPARATUS FOR MAKING BEVERAGES
- A47J31/00—Apparatus for making beverages
- A47J31/40—Beverage-making apparatus with dispensing means for adding a measured quantity of ingredients, e.g. coffee, water, sugar, cocoa, milk, tea
- A47J31/41—Beverage-making apparatus with dispensing means for adding a measured quantity of ingredients, e.g. coffee, water, sugar, cocoa, milk, tea of liquid ingredients
Landscapes
- Engineering & Computer Science (AREA)
- Food Science & Technology (AREA)
- Apparatus For Making Beverages (AREA)
- Tea And Coffee (AREA)
- Non-Alcoholic Beverages (AREA)
- Devices For Dispensing Beverages (AREA)
- Dairy Products (AREA)
Applications Claiming Priority (2)
| Application Number | Priority Date | Filing Date | Title |
|---|---|---|---|
| US11/156,922 US7537138B2 (en) | 2005-06-20 | 2005-06-20 | Methods and systems for delivering foamed beverages from liquid concentrates |
| US11/156,922 | 2005-06-20 |
Publications (2)
| Publication Number | Publication Date |
|---|---|
| RU2008102085A RU2008102085A (ru) | 2009-07-27 |
| RU2401635C2 true RU2401635C2 (ru) | 2010-10-20 |
Family
ID=37105643
Family Applications (1)
| Application Number | Title | Priority Date | Filing Date |
|---|---|---|---|
| RU2008102085/05A RU2401635C2 (ru) | 2005-06-20 | 2006-06-16 | Способы и системы получения напитков с пеной из жидких концентратов в машине для розлива с дозированием |
Country Status (10)
| Country | Link |
|---|---|
| US (1) | US7537138B2 (enExample) |
| EP (1) | EP1895879A1 (enExample) |
| JP (1) | JP4939534B2 (enExample) |
| CN (1) | CN101232828B (enExample) |
| AU (1) | AU2006261254B2 (enExample) |
| BR (1) | BRPI0612626A2 (enExample) |
| CA (1) | CA2612411C (enExample) |
| NZ (1) | NZ564378A (enExample) |
| RU (1) | RU2401635C2 (enExample) |
| WO (1) | WO2006136329A1 (enExample) |
Families Citing this family (41)
| Publication number | Priority date | Publication date | Assignee | Title |
|---|---|---|---|---|
| ITMI20051986A1 (it) * | 2005-10-19 | 2007-04-20 | Rhea Vendors Spa | Metodo ed apparecchiatura per la preparazione di bevande da prodotti solubili |
| US10631558B2 (en) | 2006-03-06 | 2020-04-28 | The Coca-Cola Company | Methods and apparatuses for making compositions comprising an acid and an acid degradable component and/or compositions comprising a plurality of selectable components |
| DE202006008409U1 (de) * | 2006-05-27 | 2006-08-10 | Eugster/Frismag Ag | Einrichtung zum selbsttätigen Auflösen von Instantpulver, insbesondere Milchpulver, in heißem Wasser und insbesondere zum Aufschäumen |
| PT1985213E (pt) | 2007-04-24 | 2010-10-21 | Nestec Sa | Método para a preparação de uma bebida cremosa à base de leite a partir de uma cápsula e kit para essa preparação |
| WO2009002724A1 (en) * | 2007-06-22 | 2008-12-31 | Starbucks Corporation, D/B/A Starbucks Coffee Company | Beverage and method of making same |
| EP2027798A1 (en) | 2007-08-20 | 2009-02-25 | Nestec S.A. | Beverage production module and method for operating a beverage production module |
| US8162176B2 (en) | 2007-09-06 | 2012-04-24 | The Coca-Cola Company | Method and apparatuses for providing a selectable beverage |
| WO2010056664A1 (en) * | 2008-11-11 | 2010-05-20 | Cecilware Corporation | Enhanced beverage dispenser |
| GB0906065D0 (en) | 2009-04-07 | 2009-05-20 | Angiomed Ag | Delivery system for a prosthesis |
| US20100303971A1 (en) * | 2009-06-02 | 2010-12-02 | Whitewave Services, Inc. | Producing foam and dispersing creamer and flavor through packaging |
| KR20120049362A (ko) | 2009-09-10 | 2012-05-16 | 네스텍 소시에테아노님 | 신규의 거품 차 음료 및 제조 방법 |
| US8616116B2 (en) * | 2010-03-01 | 2013-12-31 | Concordia Coffee Company, Inc. | High speed brewing apparatus |
| EP2542127B1 (en) * | 2010-03-01 | 2018-05-30 | Concordia Coffee Company Inc. | Accelerated low pressure brewer |
| US8623441B2 (en) * | 2010-03-01 | 2014-01-07 | Concordia Coffee Company, Inc. | Method and apparatus for controlling brewed beverage quality |
| WO2011130439A2 (en) * | 2010-04-14 | 2011-10-20 | Concordia Coffee Company, Inc. | High speed brewing apparatus |
| EP2383553A1 (en) * | 2010-04-30 | 2011-11-02 | Nestec S.A. | Package for storing and dosing a fluid |
| JP2013531527A (ja) * | 2010-06-16 | 2013-08-08 | ネステク ソシエテ アノニム | 改善された粉末分注システムを有する飲料ディスペンサ |
| CN103188971B (zh) * | 2010-10-05 | 2016-04-13 | 布瑞威利私人有限公司 | 捣实推运器 |
| RU2013120537A (ru) * | 2010-10-07 | 2014-11-20 | Нестек С.А. | Устройство раздачи напитков с задаваемыми осязательными параметрами напитков |
| US9169112B2 (en) * | 2010-10-29 | 2015-10-27 | Whirlpool Corporation | Beverage dispenser with multi-chambered carousel and automatic coordination of flavorant flow rate |
| US9664437B2 (en) * | 2010-10-29 | 2017-05-30 | Whirlpool Corporation | Refillable consumable beverage flavoring cartridge |
| ITMI20110683A1 (it) * | 2011-04-21 | 2012-10-22 | Biepi S R L | Macchine per la preparazione istantanea ed automatica di bevande calde con miscele solubili |
| US8746506B2 (en) * | 2011-05-26 | 2014-06-10 | Pepsico, Inc. | Multi-tower modular dispensing system |
| ES2608057T3 (es) * | 2011-11-02 | 2017-04-05 | Fresenius Kabi Deutschland Gmbh | Dispositivo y procedimiento para preparar una composición fluida para la nutrición enteral completa o complementaria |
| CA2868048A1 (en) | 2012-03-27 | 2013-10-03 | Campbell Soup Company | Systems and methods for instant food preparation |
| WO2013164779A1 (en) * | 2012-05-02 | 2013-11-07 | The Concentrate Manufacturing Company Of Ireland | Beverage dispensing unit for seasonal modularity |
| EP2695562B1 (en) * | 2012-08-07 | 2015-09-30 | Airbus Operations GmbH | Smart multi-soap dispenser |
| US20160242592A1 (en) * | 2013-10-25 | 2016-08-25 | Nestec S.A. | Process for preparing milk based beverages |
| EP2865301A1 (en) * | 2013-10-28 | 2015-04-29 | Nestec S.A. | Beverage dispensing system, method for providing a multi-layered beverage, and ingredients container for use thereof |
| US20170000148A1 (en) | 2013-12-23 | 2017-01-05 | Goodman Fielder New Zealand Limited | An Improved Beverage And Method Of Manufacture |
| EP3000363A1 (de) * | 2014-09-24 | 2016-03-30 | Qbo Coffee GmbH | Milchschäumergerät, Getränkezubereitungssystem und Getränkezubereitungsmaschine |
| AU2015378723B2 (en) | 2015-01-23 | 2019-08-22 | Goodman Fielder Pte. Limited | Milk based compositions comprising milk derived, denatured retentate |
| WO2017037008A1 (de) * | 2015-09-01 | 2017-03-09 | Steve Hachenberger | Vorrichtung und verfahren zur zubereitung eines getränks, insbesondere zur zubereitung eines proteinhaltigen mischgetränks |
| KR101694246B1 (ko) * | 2015-09-16 | 2017-01-23 | 하이트진로 주식회사 | 캔 음료 인출 장치 |
| TWI757284B (zh) * | 2016-05-03 | 2022-03-11 | 義大利商瑞亞梵朵斯服務公司 | 用於製備和分配飲料的設備和方法 |
| WO2018012477A1 (ja) * | 2016-07-12 | 2018-01-18 | キリン株式会社 | 微細泡飲料およびその製造方法 |
| EP3315458A1 (en) * | 2016-10-28 | 2018-05-02 | Anheuser-Busch InBev S.A. | Dispensing appliance for the control of froth formation during dispensing of a malt based fermented beverage (mbfb) produced in situ by mixing an mbfb concentrate with a carbonated diluent |
| US11312608B2 (en) | 2017-08-11 | 2022-04-26 | The Coca-Cola Company | Beverage dispenser with customized nutritive levels and multiple sweetener sources |
| CN212382494U (zh) * | 2019-09-25 | 2021-01-22 | 杭州为我健康新零售科技有限公司 | 蜂蜜饮料机个性化口味混合装置 |
| MX2022004286A (es) * | 2019-10-09 | 2022-08-04 | Bradley John Carpenter | Sistema para preparar una composicion diluida. |
| CN114440136A (zh) * | 2022-03-07 | 2022-05-06 | 上海照潇环保科技有限公司 | 集中供液系统 |
Citations (3)
| Publication number | Priority date | Publication date | Assignee | Title |
|---|---|---|---|---|
| GB2137520A (en) * | 1983-03-17 | 1984-10-10 | Sankey Vending Ltd | Beverage dispensing machine |
| US4903585A (en) * | 1988-01-04 | 1990-02-27 | Nestec, S.A. | Apparatus for dispensing coffee having a foamed surface |
| US5952032A (en) * | 1997-09-15 | 1999-09-14 | Lipton, Division Of Conopco, Inc. | Method for foaming tea concentrate |
Family Cites Families (50)
| Publication number | Priority date | Publication date | Assignee | Title |
|---|---|---|---|---|
| US240829A (en) | 1881-05-03 | albert kimball | ||
| US947334A (en) | 1908-10-26 | 1910-01-25 | William A Holnagel | Silo. |
| US2612304A (en) * | 1946-03-13 | 1952-09-30 | Alexander I Martin | Drink dispensing apparatus for carbonated beverages |
| US2812879A (en) * | 1953-09-18 | 1957-11-12 | United Coffee Corp | Dispensing apparatus and method |
| US2949993A (en) * | 1954-03-10 | 1960-08-23 | Karl G Adler | Dispensing machines |
| US3160318A (en) * | 1961-04-06 | 1964-12-08 | Northwest Automatic Products C | Variable quantity cream dispenser |
| US3236270A (en) * | 1962-11-14 | 1966-02-22 | Vendbar Ind Ltd | Automatic beverage dispensing machine |
| US3335753A (en) * | 1964-03-02 | 1967-08-15 | Kiser Ohlmann Inc | Control valve with adjustable flow rate, especially for dispensing machines |
| US3378170A (en) * | 1966-03-31 | 1968-04-16 | Reynolds Products | Mixed beverage refrigerating and dispensing machine |
| US3385569A (en) * | 1967-01-11 | 1968-05-28 | Rock Ola Mfg Corp | Mixing apparatus for beverage |
| GB1359776A (en) * | 1971-08-17 | 1974-07-10 | Servomat Fast Foods Pty Ltd | Vending machines |
| US3794149A (en) * | 1972-03-27 | 1974-02-26 | Fountain Industries | Adjustable timing cam for hot drink dispensers |
| US3872781A (en) * | 1974-04-01 | 1975-03-25 | Edward Helbling | Infusion apparatus |
| US4059181A (en) * | 1974-08-16 | 1977-11-22 | Food Systems, Inc. | Meal-service powdered foods dispenser |
| US3985267A (en) * | 1974-10-02 | 1976-10-12 | All State Vending Equipment, Inc. | Logic and selector circuitry for flavored-beverage dispensing apparatus |
| US4211342A (en) * | 1978-02-22 | 1980-07-08 | Ara Services, Inc. | Combination hot and cold drink machine |
| DK141743B (da) * | 1978-04-26 | 1980-06-09 | Wittenborgs Automatfab | Fremgangsmåde til portionsvis tilberedning af drikkevarer samt et apparat til udøvelse af fremgangsmåden. |
| US4305328A (en) * | 1979-08-29 | 1981-12-15 | Umc Industries, Inc. | Coffee vendor |
| USRE31352E (en) * | 1979-08-29 | 1983-08-23 | Umc Industries, Inc. | Coffee vendor |
| JPS5657191A (en) | 1979-10-16 | 1981-05-19 | Nippon Coinco Co Ltd | Controller for vendor |
| US4517651A (en) * | 1981-10-14 | 1985-05-14 | Fuji Electric Company, Ltd. | Automatic vending machine |
| FI833043A7 (fi) | 1982-08-27 | 1984-02-28 | Alan M King | ajastinmekanismi. |
| JPS59142880A (ja) * | 1983-02-04 | 1984-08-16 | 井関農機株式会社 | 階級選別装置 |
| JPS59184998A (ja) * | 1983-04-05 | 1984-10-20 | サンデン株式会社 | 複数品種のコ−ヒ−をブレンドして販売可能とした自動販売機 |
| US4903862A (en) * | 1987-10-13 | 1990-02-27 | Abc/Sebrn Tech. Corp., Inc. | Soft drink dispenser |
| US4830869A (en) * | 1988-01-04 | 1989-05-16 | Nestec S.A. | Method for producing coffee having a foamed surface |
| US5650186A (en) * | 1993-06-07 | 1997-07-22 | Annoni; Faust | Hot beverage brewing and dispensing apparatus and method |
| JPH0721460A (ja) * | 1993-07-06 | 1995-01-24 | Fuji Electric Co Ltd | カップ式自動販売機の飲料調理制御装置 |
| US5375508A (en) * | 1993-12-29 | 1994-12-27 | Bunn-O-Matic Corporation | Digital brewer control |
| US5803320A (en) * | 1995-03-27 | 1998-09-08 | Abc Dispensing Technologies | Carbonated coffee beverage dispenser |
| US5947334A (en) * | 1996-05-17 | 1999-09-07 | The Coca-Cola Company | Post-mix beverage system for use in extra-terrestrial space |
| US5927553A (en) * | 1996-07-24 | 1999-07-27 | Bunn-O-Matic Coporation | Powdered beverage mixing and dispensing apparatus |
| US6148717A (en) * | 1998-08-11 | 2000-11-21 | Food Equipmet Technologies Company, Inc. | Beverage maker with intermittent beverage liquid dispenser and apparatus and method for uniform contact of brew ingredient with brew |
| US6240829B1 (en) * | 1999-02-12 | 2001-06-05 | Pepsico. Inc. | Tea or non-carbonated drink dispenser |
| NL1014046C2 (nl) | 2000-01-10 | 2001-07-16 | Bravilor Holding Bv | Instantdrankenautomaat, in het bijzonder voor koffie, alsmede werkwijze voor het bereiden van een instantdrank, zoals koffie. |
| US6305269B1 (en) * | 2000-03-03 | 2001-10-23 | Gus J. Stratton | Apparatus for preparing and dispensing whipped beverages |
| CA2313794C (en) * | 2000-07-12 | 2008-09-16 | Bertone Holdings Inc. | Multi-flavoured hot beverage dispenser |
| US20020148858A1 (en) * | 2000-07-31 | 2002-10-17 | Claudio Bertone | Multi-flavoured hot beverage dispenser |
| US6689410B2 (en) * | 2001-01-25 | 2004-02-10 | Flavor Burst Co. | Product blender and dispenser |
| JP3620841B2 (ja) * | 2002-09-12 | 2005-02-16 | 忠至 湯沢 | コーヒー飲料の製造方法 |
| JP2004227437A (ja) * | 2003-01-27 | 2004-08-12 | Fuji Electric Retail Systems Co Ltd | 飲料製造装置 |
| JP3985688B2 (ja) * | 2003-02-18 | 2007-10-03 | 富士電機リテイルシステムズ株式会社 | 飲料製造装置 |
| JP2004295470A (ja) * | 2003-03-27 | 2004-10-21 | Fuji Electric Retail Systems Co Ltd | 飲料製造装置 |
| US7047870B2 (en) * | 2004-01-28 | 2006-05-23 | Grindmaster Corporation | Apparatus and method for brewing a beverage with a desired strength |
| US7225728B2 (en) * | 2004-01-30 | 2007-06-05 | Wilbur Curtis Company, Inc. | Brewing apparatus with pre-infusion and pulse brewing |
| US7226631B2 (en) * | 2004-08-12 | 2007-06-05 | Nestec S.A. | Method and apparatus for consumable powder reconstitution and frothing |
| US7661352B2 (en) * | 2004-08-31 | 2010-02-16 | Nestec S.A. | Method and system for in-cup dispensing, mixing and foaming hot and cold beverages from liquid concentrates |
| US20060115572A1 (en) * | 2004-11-30 | 2006-06-01 | Guerrero Arturo F | Method for delivering hot and cold beverages on demand in a variety of flavorings and nutritional additives |
| US20060115570A1 (en) * | 2004-11-30 | 2006-06-01 | Guerrero Arturo F | Beverage dispenser with variable-concentration additive dispensing |
| US8181825B2 (en) * | 2005-02-08 | 2012-05-22 | Nestec S.A. | Hygienic beverage mixing and whipping assembly |
-
2005
- 2005-06-20 US US11/156,922 patent/US7537138B2/en not_active Expired - Fee Related
-
2006
- 2006-06-16 EP EP06762063A patent/EP1895879A1/en not_active Withdrawn
- 2006-06-16 NZ NZ564378A patent/NZ564378A/en not_active IP Right Cessation
- 2006-06-16 JP JP2008517384A patent/JP4939534B2/ja not_active Expired - Fee Related
- 2006-06-16 AU AU2006261254A patent/AU2006261254B2/en not_active Ceased
- 2006-06-16 CA CA2612411A patent/CA2612411C/en not_active Expired - Fee Related
- 2006-06-16 RU RU2008102085/05A patent/RU2401635C2/ru not_active IP Right Cessation
- 2006-06-16 CN CN2006800282158A patent/CN101232828B/zh not_active Expired - Fee Related
- 2006-06-16 BR BRPI0612626-0A patent/BRPI0612626A2/pt not_active IP Right Cessation
- 2006-06-16 WO PCT/EP2006/005785 patent/WO2006136329A1/en not_active Ceased
Patent Citations (3)
| Publication number | Priority date | Publication date | Assignee | Title |
|---|---|---|---|---|
| GB2137520A (en) * | 1983-03-17 | 1984-10-10 | Sankey Vending Ltd | Beverage dispensing machine |
| US4903585A (en) * | 1988-01-04 | 1990-02-27 | Nestec, S.A. | Apparatus for dispensing coffee having a foamed surface |
| US5952032A (en) * | 1997-09-15 | 1999-09-14 | Lipton, Division Of Conopco, Inc. | Method for foaming tea concentrate |
Also Published As
| Publication number | Publication date |
|---|---|
| CA2612411C (en) | 2014-08-05 |
| EP1895879A1 (en) | 2008-03-12 |
| WO2006136329A1 (en) | 2006-12-28 |
| RU2008102085A (ru) | 2009-07-27 |
| AU2006261254A1 (en) | 2006-12-28 |
| CA2612411A1 (en) | 2006-12-28 |
| US7537138B2 (en) | 2009-05-26 |
| CN101232828B (zh) | 2011-12-14 |
| JP4939534B2 (ja) | 2012-05-30 |
| CN101232828A (zh) | 2008-07-30 |
| US20060283884A1 (en) | 2006-12-21 |
| NZ564378A (en) | 2011-02-25 |
| BRPI0612626A2 (pt) | 2010-11-23 |
| AU2006261254B2 (en) | 2012-04-12 |
| JP2008543458A (ja) | 2008-12-04 |
Similar Documents
| Publication | Publication Date | Title |
|---|---|---|
| RU2401635C2 (ru) | Способы и системы получения напитков с пеной из жидких концентратов в машине для розлива с дозированием | |
| JP2008543458A5 (enExample) | ||
| RU2365324C2 (ru) | Способ и устройство для дозированного розлива многослойных по внешнему виду напитков из жидких концентратов | |
| RU2414161C2 (ru) | Способ и устройство для приготовления напитков из растворимых продуктов | |
| CN106715322B (zh) | 包括至少两个荚包或胶囊接纳装置的饮料分配设备 | |
| JP4751885B2 (ja) | 消費できる粉末再構成及び泡立ちのための方法及び装置 | |
| US10898023B2 (en) | Mixing and foaming device |
Legal Events
| Date | Code | Title | Description |
|---|---|---|---|
| MM4A | The patent is invalid due to non-payment of fees |
Effective date: 20150617 |