KR20120121237A - 쇼크 업소버용 브래킷 - Google Patents

쇼크 업소버용 브래킷 Download PDF

Info

Publication number
KR20120121237A
KR20120121237A KR1020110039095A KR20110039095A KR20120121237A KR 20120121237 A KR20120121237 A KR 20120121237A KR 1020110039095 A KR1020110039095 A KR 1020110039095A KR 20110039095 A KR20110039095 A KR 20110039095A KR 20120121237 A KR20120121237 A KR 20120121237A
Authority
KR
South Korea
Prior art keywords
bracket
shock absorber
knuckle
integrated
stabilizer link
Prior art date
Legal status (The legal status is an assumption and is not a legal conclusion. Google has not performed a legal analysis and makes no representation as to the accuracy of the status listed.)
Ceased
Application number
KR1020110039095A
Other languages
English (en)
Inventor
강희곤
정성희
Original Assignee
현대자동차주식회사
Priority date (The priority date is an assumption and is not a legal conclusion. Google has not performed a legal analysis and makes no representation as to the accuracy of the date listed.)
Filing date
Publication date
Application filed by 현대자동차주식회사 filed Critical 현대자동차주식회사
Priority to KR1020110039095A priority Critical patent/KR20120121237A/ko
Publication of KR20120121237A publication Critical patent/KR20120121237A/ko
Ceased legal-status Critical Current

Links

Images

Classifications

    • BPERFORMING OPERATIONS; TRANSPORTING
    • B60VEHICLES IN GENERAL
    • B60GVEHICLE SUSPENSION ARRANGEMENTS
    • B60G13/00Resilient suspensions characterised by arrangement, location or type of vibration dampers
    • B60G13/02Resilient suspensions characterised by arrangement, location or type of vibration dampers having dampers dissipating energy, e.g. frictionally
    • B60G13/06Resilient suspensions characterised by arrangement, location or type of vibration dampers having dampers dissipating energy, e.g. frictionally of fluid type
    • BPERFORMING OPERATIONS; TRANSPORTING
    • B60VEHICLES IN GENERAL
    • B60GVEHICLE SUSPENSION ARRANGEMENTS
    • B60G11/00Resilient suspensions characterised by arrangement, location or kind of springs
    • B60G11/14Resilient suspensions characterised by arrangement, location or kind of springs having helical, spiral or coil springs only
    • BPERFORMING OPERATIONS; TRANSPORTING
    • B60VEHICLES IN GENERAL
    • B60GVEHICLE SUSPENSION ARRANGEMENTS
    • B60G13/00Resilient suspensions characterised by arrangement, location or type of vibration dampers
    • BPERFORMING OPERATIONS; TRANSPORTING
    • B60VEHICLES IN GENERAL
    • B60GVEHICLE SUSPENSION ARRANGEMENTS
    • B60G15/00Resilient suspensions characterised by arrangement, location or type of combined spring and vibration damper, e.g. telescopic type
    • B60G15/02Resilient suspensions characterised by arrangement, location or type of combined spring and vibration damper, e.g. telescopic type having mechanical spring
    • BPERFORMING OPERATIONS; TRANSPORTING
    • B60VEHICLES IN GENERAL
    • B60GVEHICLE SUSPENSION ARRANGEMENTS
    • B60G3/00Resilient suspensions for a single wheel
    • B60G3/18Resilient suspensions for a single wheel with two or more pivoted arms, e.g. parallelogram
    • FMECHANICAL ENGINEERING; LIGHTING; HEATING; WEAPONS; BLASTING
    • F16ENGINEERING ELEMENTS AND UNITS; GENERAL MEASURES FOR PRODUCING AND MAINTAINING EFFECTIVE FUNCTIONING OF MACHINES OR INSTALLATIONS; THERMAL INSULATION IN GENERAL
    • F16FSPRINGS; SHOCK-ABSORBERS; MEANS FOR DAMPING VIBRATION
    • F16F9/00Springs, vibration-dampers, shock-absorbers, or similarly-constructed movement-dampers using a fluid or the equivalent as damping medium
    • FMECHANICAL ENGINEERING; LIGHTING; HEATING; WEAPONS; BLASTING
    • F16ENGINEERING ELEMENTS AND UNITS; GENERAL MEASURES FOR PRODUCING AND MAINTAINING EFFECTIVE FUNCTIONING OF MACHINES OR INSTALLATIONS; THERMAL INSULATION IN GENERAL
    • F16FSPRINGS; SHOCK-ABSORBERS; MEANS FOR DAMPING VIBRATION
    • F16F9/00Springs, vibration-dampers, shock-absorbers, or similarly-constructed movement-dampers using a fluid or the equivalent as damping medium
    • F16F9/32Details
    • F16F9/34Special valve constructions; Shape or construction of throttling passages

Landscapes

  • Engineering & Computer Science (AREA)
  • Mechanical Engineering (AREA)
  • General Engineering & Computer Science (AREA)
  • Vehicle Body Suspensions (AREA)

Abstract

본 발명은 쇼크 업소버용 브래킷에 관한 것으로서, 특히 차륜을 회전 가능하게 지지하는 너클(12)과, 차체에 장착된 스태빌라이저(16)와 연결되는 스태빌라이저 링크(17)와, 일측은 차체와 연결되고 타측은 상기 너클(12)과 연결되는 쇼크 업소버(11)가 구비되되; 상기 쇼크 업소버(11) 외주면에 통합브래킷(100)이 구비되어 일측은 상기 너클(12)과 체결되며, 타측은 상기 스태빌라이저 링크(17)와 체결되어, 단일의 마운팅 브래킷을 적용하면서도 복수의 브래킷으로 체결할 때와 같은 내구성과 충돌에 대한 강성을 확보하는 동시에, 조립 시 체결 부위 및 볼팅 수량을 줄여 원가와 중량은 물론 조립 공정도 줄임으로써 상품성을 향상시키는데 효과가 있도록 하는 것이다.

Description

쇼크 업소버용 브래킷{Bracket for shock absorber}
본 발명은 쇼크 업소버용 브래킷에 관한 것으로서, 특히 쇼크 업소버 조립 시 복수의 브래킷 적용으로 인해 조립 공정이 복잡해지고 원가와 중량이 증가하게 되는 현상을 방지하기 위한 쇼크 업소버용 브래킷에 관한 것이다.
일반적으로 차량의 현가장치는 차축과 차체 사이를 연결시켜 주행 중에 차축이 노면으로부터 받는 진동이나 충격 등을 적절히 감쇠시킴과 더불어, 차체의 손상과 탑승자의 승차감을 향상시킬 수 있게 하는 것이다.
즉, 현가장치는 차량의 상하 방향으로 유연성을 제공하여 노면의 거침으로부터 차체가 영향을 받지 않게 하면서 불규칙한 노면을 주행할 수 있게 하면서, 노면에 대하여 적절한 조향 및 캠버 위치에 휠을 유지시킴과 더불어 차륜에 의해서 발생하는 수평 및 횡력 그리고 제동 및 구동력에 대응함과 아울러 차체의 롤링을 억제하는 작용을 하게 된다.
이러한 현가장치 중 쇼크 업소버(Shock Absorber)는 일단이 차체 쪽으로 체결되고 타단은 차륜에 장착된 너클 부위로 체결된다.
이때, 쇼크 업소버의 외주면에는 너클과 체결되기 위한 마운팅 브래킷이 구비되며, 또한 스태빌라이저 링크와 체결시키기 위한 추가 브래킷이 구비되는 것이 일반적이다.
도 1은 종래의 차량용 현가장치를 도시하는 단면도이며, 도 2는 종래의 쇼크 업소버용 브래킷을 도시하는 도면이다.
종래의 차량용 현가장치는 도 1에 도시된 바와 같이, 차륜(10)을 회전 가능하게 지지하는 너클(12)이 구비되며, 상기 너클(12)의 하단이 로워 컨트롤 아암(15)과 연결되고, 상단이 코일 스프링(14)과 쇼크 업소버(11)가 일체로 형성되는 스트러트 어셈블리(13)와 연결된다.
그리고 스트러트 어셈블리(13)의 상단부는 차체(미도시)에 인슐레이터(15)를 지지하게 되며, 쇼크 업소버(11)의 중간부 내측에는 스태빌라이저(16)가 연결된다.
이에 따라 노면으로부터 입력되는 진동 및 충격이 스트러트 어셈블리(13)에 의해 감쇠되어 차체에 전달되는 진동과 충격을 최소화하게 되는 것이다.
상기와 같은 스트러트 현가장치는 구조가 간단하여 경량화 및 공간 확보와 원가가 저렴하고, 엔진룸의 공간 확보가 유리하며, 장착 위치에 따른 차륜(10)의 자세 변화가 작다는 장점을 가지고 있으나, 차량 성능 측면에서 한계를 내포하고 있다.
한편, 종래의 차량용 현가장치의 쇼크 업소버용 브래킷은 도 1 및 도 2에 도시된 바와 같이, 쇼크 업소버(11) 외주면에 너클(12)과 체결되는 너클 브래킷(20)과, 스태빌라이저(16)와 연결되는 스태빌라이저 링크(17)와 체결되는 스태빌라이저 링크 브래킷(23)이 장착된다.
이때, 너클 브래킷(20)은 외측 너클 브래킷(21)과 내측 너클 브래킷(22)으로 이루어져 너클(12)과 체결되도록 한다.
그러나, 종래의 쇼크 업소버용 브래킷에서 외측 너클 브래킷 및 내측 너클 브래킷을 포함하는 너클 브래킷과, 스태빌라이저 링크 브래킷을 쇼크 업소버에 적용하게 되면 각각의 브래킷을 쇼크 업소버에 결합시켜야 하기 때문에 조립 공정이 복잡해지고, 또한 각각의 브래킷 성형 시 재질 및 형상이 상이하므로 개별적인 가공 작업을 거치야 하기 때문에 원가와 중량이 증가하게 되는 문제점이 있었다.
본 발명은 상기의 문제점을 해소하기 위한 쇼크 업소버용 브래킷에 관한 것으로서, 특히 쇼크 업소버 조립 시 복수의 브래킷 적용으로 인해 조립 공정이 복잡해지고 원가와 중량이 증가하게 되는 현상을 방지하기 위한 것을 목적으로 한다.
이러한 본 발명은 차륜을 회전 가능하게 지지하는 너클과, 차체에 장착된 스태빌라이저와 연결되는 스태빌라이저 링크와, 일측은 차체와 연결되고 타측은 상기 너클과 연결되는 쇼크 업소버가 구비되되; 상기 쇼크 업소버 외주면에 통합브래킷이 구비됨으로써 달성된다.
이상과 같은 본 발명은 단일의 마운팅 브래킷을 적용하면서도 복수의 브래킷으로 체결할 때와 같은 내구성과 충돌에 대한 강성을 확보하는 동시에, 조립 시 체결 부위 및 볼팅 수량을 줄여 원가와 중량은 물론 조립 공정도 줄임으로써 상품성을 향상시키는데 효과가 있는 발명인 것이다.
도 1은 종래의 차량용 현가장치를 도시하는 단면도,
도 2는 종래의 쇼크 업소버용 브래킷을 도시하는 도면,
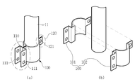
도 3의 (a)는 본 발명의 쇼크 업소버용 브래킷에서 쇼크 업소버에 장착된 통합브래킷을 도시하는 도면,
도 3의 (b)는 본 발명의 쇼크 업소버용 브래킷에서 쇼크 업소버에 장착되는 제1통합브래킷과 제2통합브래킷을 도시하는 도면,
도 4의 (a)는 종래의 쇼크 업소버용 브래킷의 실시예를 도시하는 도면이며, 도 4의 (b)는 본 발명의 쇼크 업소버용 브래킷의 실시예를 도시하는 도면.
도 3 및 도 4는 본 발명의 쇼크 업소버용 브래킷에 관한 것으로, 도 3은 본 발명의 쇼크 업소버용 브래킷에서 쇼크 업소버에 장착된 통합브래킷을 도시하는 도면이며, 도 4는 종래의 쇼크 업소버용 브래킷의 실시예와 본 발명의 쇼크 업소버용 브래킷의 실시예를 비교하는 도면이다.
본 발명의 실시예를 첨부 도면을 참조하여 상세히 설명하면 다음과 같다.
본 발명의 쇼크 업소버용 브래킷은 도 3 및 도 4에 도시된 바와 같이, 제1통합브래킷(101)과 제2통합브래킷(102)으로 이루어진 통합브래킷(100)이 쇼크 업소버(11) 외주면에 용접을 통해 장착되도록 하여 조립 시 체결 부위 및 볼팅 수량을 줄여 원가와 중량은 물론 조립 공정도 줄임으로써 상품성을 향상시키게 되는 것을 그 기술상의 기본 특징으로 한다.
이하 본 발명의 쇼크 업소버용 브래킷에 대한 각 구성요소를 첨부한 도면을 참조하여 하나씩 살펴보면 다음과 같다.
우선 본 발명은 도 4의 (b)에 도시된 바와 같이, 차륜을 회전 가능하게 지지하는 너클(12)과, 차체에 장착된 스태빌라이저(16)와 연결되는 스태빌라이저 링크(17)와, 일측은 차체와 연결되고 타측은 상기 너클(12)과 연결되는 쇼크 업소버(shock absorber, 11)가 구비되는 것을 기본으로 한다.
여기서, 쇼크 업소버(11)는 자동차의 서스펜션을 구성하는 주요 요소 가운데 하나로서, 차체와 바퀴 사이에 장착되어 차량의 흔들림에 대한 브레이크(저항) 역할을 하는 것으로, 스프링의 수축을 조절해, 노면 차이로 인해 충격을 받은 스프링이 상하방향으로 반복해서 되튐(recoil)운동을 하게 되는 것을 막아 줌으로써 스프링이 원상태로 천천히 돌아갈 수 있도록 하는 것이다.
한편, 차륜을 회전 가능하게 지지하는 너클(12)은 그 일측이 차륜 측에 연결되며 타측은 쇼크 업소버(11)와 연결되도록 하여 차륜으로 흡수된 충격을 쇼크 업소버(11)를 통해 감쇠시켜 차체에 진동 전달을 저감시키도록 한다.
또한, 차체에 장착되는 스태빌라이저(16)는 차량의 상하 진동을 막아주는 쇼크 업소버(11)와 달리 차체의 좌우 흔들림을 방지하는 역할을 하는 것으로, 상기 스태빌라이저(16)의 일측은 차체와 연결되며 타측은 스태빌라이저 링크(17)와 연결되어 쇼크 업소버(11)와 연결되도록 함으로써, 차체의 좌우 흔들림에 대한 충격을 쇼크 업소버(11)를 통해 저감시키도록 한다.
이때, 본 발명의 쇼크 업소버용 브래킷은 도 3에 도시된 바와 같이, 원통 형상으로 이루어진 쇼크 업소버(11)의 외주면에 통합브래킷(100)이 구비되도록 하여 상기 통합브래킷(100)의 일측은 너클(12)과 체결되며, 타측은 스태빌라이저 링크(17)와 체결되도록 한다.
여기서, 통합브래킷(100)은 제1통합브래킷(101)과 제2통합브래킷(102)으로 분할 형성되도록 하여, 조립 전에는 상기 제1통합브래킷(101)과 제2통합브래킷(102)이 별도로 구비되도록 하며 조립 공정 시 쇼크 업소버(11)에 상기 제1통합브래킷(101)과 제2통합브래킷(102)을 조립시켜 일체화 시키도록 한다.
한편, 쇼크 업소버(11) 외주면에 제1통합브래킷(101)과 제2통합브래킷(102) 장착 시 용접을 통해 결합되도록 하여 상기 쇼크 업소버(11)와 통합브래킷(100)의 체결력을 향상시키도록 한다.
이때, 제1통합브래킷(101)과 제2통합브래킷(102)의 일측은 절곡되어 너클 삽입부(110)가 형성되어 너클(12)이 삽입되도록 하며, 타측은 스태빌라이저 링크 체결부(120)가 형성되어 스태빌라이저 링크(17)와 체결될 수 있게 하는 것이 바람직하다.
또한, 제1통합브래킷(101)과 제2통합브래킷(102)을 포함하는 통합브래킷(100)의 중앙부는 쇼크 업소버(11)의 외주면에 장착될 수 있도록 원통 형상으로 형성되게 하는 것이 바람직하다.
한편, 도 3 및 도 4의 (b)에 도시된 바와 같이 너클 삽입부(110)에는 제1체결홀(111)이 형성되도록 하여 상기 제1체결홀(111)을 통해 너클 삽입부(110)에 삽입된 너클(12)과 통합브래킷(100)의 체결이 이루어질 수 있게 하는 동시에 스태빌라이저 링크 체결부(120)에는 제2체결홀(121)이 형성되도록 하여 상기 제2체결홀(121)을 통해 스태빌라이저 링크 체결부(120)에 구비되는 스태빌라이저 링크(17)와 체결이 이루어질 수 있게 한다.
이때, 너클(12)과 체결되는 너클 삽입부(110)는 2점 체결 구조로 형성되며, 스태빌라이저 링크(17)와 체결되는 스태빌라이저 링크 체결부(120)는 1점 체결 구조로 형성되어, 상기 너클 삽입부(110)와 스태빌라이저 링크 체결부(120)를 포함하는 통합브래킷(100)은 3점 체결 구조로 형성되도록 하는 것이 바람직하다.
이하, 본 발명의 작용 및 효과를 설명하면 다음과 같다.
도 3에 도시된 바와 같이, 제1통합브래킷(101)과 제2통합브래킷(102)으로 이루어진 통합브래킷(100)이 쇼크 업소버(11) 외주면에 용접을 통해 장착되도록 하여 상기 통합브래킷(100)의 일측은 너클(12)과 체결되며, 타측은 스태빌라이저 링크(17)와 체결된다.
도 4에 도시된 바와 같이, 본 발명은 쇼크 업소버(11)에 통합브래킷(100)을 적용함으로써 너클(12)과 스태빌라이저 링크(17)의 체결이 동시에 이루어질 수 있게 하여 종래에 비해 브래킷 개수를 저감시켜 원가를 절감시킬 수 있게 하는 동시에 작업 단순화를 통해 조립 공정을 간소화함으로써 생산성을 향상시킬 수 있게 하는 것이다.
또한, 도 4의 (a)에 도시된 바와 같이 종래에는 쇼크 업소버(11) 외주면에 장착되는 브래킷이 외측 너클 브래킷과(21), 내측 너클 브래킷(22)과, 스태빌라이저 링크 브래킷(23)과 같이 여러 종류이기 때문에 이러한 브래킷을 성형하기 위해 각자 다른 종류의 패널을 프레스 성형하여 절단 및 가공하는 불편함이 있었으나, 도 4의 (b)에 도시된 바와 같이 본 발명에서는 쇼크 업소버(11)에 장착되는 브래킷이 유일하기 때문에 한 종류의 패널을 프레스 가공하여 통합브래킷(100)을 성형할 수 있게 되는 장점이 있다.
상기와 같이 구성된 본 발명의 쇼크 업소버용 브래킷은 차륜을 회전 가능하게 지지하는 너클과, 차체에 장착된 스태빌라이저와 연결되는 스태빌라이저 링크와, 일측은 차체와 연결되고 타측은 상기 너클과 연결되는 쇼크 업소버가 구비되되; 상기 쇼크 업소버 외주면에 통합브래킷이 구비되어 일측은 상기 너클과 체결되며, 타측은 상기 스태빌라이저 링크와 체결되도록 하여, 단일의 마운팅 브래킷을 적용하면서도 복수의 브래킷으로 체결할 때와 같은 내구성과 충돌에 대한 강성을 확보하는 동시에, 조립 시 체결 부위 및 볼팅 수량을 줄여 원가와 중량은 물론 조립 공정도 줄임으로써 상품성을 향상시키는데 탁월한 이점을 가진 발명인 것이다.
이상과 같이, 본 발명은 비록 한정된 실시예와 도면에 의해 설명되었으나, 본 발명은 이것에 의해 한정되지 않으며 본 발명이 속하는 기술분야에서 통상의 지식을 가진 자에 의해 본 발명의 기술사상과 아래에 기재될 특허청구범위 내에서 다양한 수정 및 변형이 가능함은 물론이다.
11 : 쇼크 업소버 12 : 너클
16 : 스태빌라이저 17 : 스태빌라이저 링크
100 : 통합브래킷 101 : 제1통합브래킷
102 : 제2통합브래킷 110 : 너클 삽입부
111 : 제1체결홀 120 : 스태빌라이저 링크 체결부
121 : 제2체결홀

Claims (6)

  1. 차륜을 회전 가능하게 지지하는 너클과, 차체에 장착된 스태빌라이저와 연결되는 스태빌라이저 링크와, 일측은 차체와 연결되고 타측은 상기 너클과 연결되는 쇼크 업소버가 구비되되;
    상기 쇼크 업소버 외주면에 통합브래킷이 구비되어 일측은 상기 너클과 체결되며, 타측은 상기 스태빌라이저 링크와 체결되는 것을 특징으로 하는 쇼크 업소버용 브래킷.
  2. 제 1항에 있어서,
    상기 통합브래킷은 제1통합브래킷과 제2통합브래킷으로 분할 형성되는 것을 특징으로 하는 쇼크 업소버용 브래킷.
  3. 제 2항에 있어서,
    상기 제1통합브래킷과 제2통합브래킷의 일측은 절곡되어 너클 삽입부가 형성되며, 타측은 스태빌라이저 링크 체결부가 형성되는 것을 특징으로 하는 쇼크 업소버용 브래킷.
  4. 제 3항에 있어서,
    상기 너클 삽입부에는 제1체결홀이 형성되는 것을 특징으로 하는 쇼크 업소버용 브래킷.
  5. 제 3항에 있어서,
    상기 스태빌라이저 링크 체결부에는 제2체결홀이 형성되는 것을 특징으로 하는 쇼크 업소버용 브래킷.
  6. 제 2항에 있어서,
    상기 제1통합브래킷과 제2통합브래킷은 용접을 통해 쇼크 업소버 외주면에 장착되는 것을 특징으로 하는 쇼크 업소버용 브래킷.
KR1020110039095A 2011-04-26 2011-04-26 쇼크 업소버용 브래킷 Ceased KR20120121237A (ko)

Priority Applications (1)

Application Number Priority Date Filing Date Title
KR1020110039095A KR20120121237A (ko) 2011-04-26 2011-04-26 쇼크 업소버용 브래킷

Applications Claiming Priority (1)

Application Number Priority Date Filing Date Title
KR1020110039095A KR20120121237A (ko) 2011-04-26 2011-04-26 쇼크 업소버용 브래킷

Publications (1)

Publication Number Publication Date
KR20120121237A true KR20120121237A (ko) 2012-11-05

Family

ID=47507720

Family Applications (1)

Application Number Title Priority Date Filing Date
KR1020110039095A Ceased KR20120121237A (ko) 2011-04-26 2011-04-26 쇼크 업소버용 브래킷

Country Status (1)

Country Link
KR (1) KR20120121237A (ko)

Cited By (2)

* Cited by examiner, † Cited by third party
Publication number Priority date Publication date Assignee Title
CN107984999A (zh) * 2017-12-15 2018-05-04 阿尔特汽车技术股份有限公司 滑柱铝合金下安装支架结构
KR20220118227A (ko) 2021-02-18 2022-08-25 지엠 글로벌 테크놀러지 오퍼레이션스 엘엘씨 리어 서스펜션에 적용되는 멀티링크 조립체

Cited By (2)

* Cited by examiner, † Cited by third party
Publication number Priority date Publication date Assignee Title
CN107984999A (zh) * 2017-12-15 2018-05-04 阿尔特汽车技术股份有限公司 滑柱铝合金下安装支架结构
KR20220118227A (ko) 2021-02-18 2022-08-25 지엠 글로벌 테크놀러지 오퍼레이션스 엘엘씨 리어 서스펜션에 적용되는 멀티링크 조립체

Similar Documents

Publication Publication Date Title
US9855806B1 (en) Carrier for suspension system of vehicles
JP2005170377A (ja) マルチリンクリア懸架装置
US20110085848A1 (en) Stabilizer link mounting unit for shock absorber
US20120139204A1 (en) Suspension system for vehicle
KR20120121237A (ko) 쇼크 업소버용 브래킷
US8985605B2 (en) Rear shock absorber mounting structure for vehicle
KR101509669B1 (ko) 차량용 서브 프레임
KR20160050435A (ko) 차량의 서스펜션 장치
KR100953318B1 (ko) 차량용 트레일링 암 마운팅 유닛
KR20120121238A (ko) 쇼크 업소버용 브래킷 및 제작 방법
KR101916050B1 (ko) 차량용 쇽 업소버 보강유닛
KR100224489B1 (ko) 텐션로드의 위치 고정장치
KR20120136095A (ko) 쇼크 업소버용 브래킷 및 제작 방법
KR20020015128A (ko) 차량의 비구동용 서스펜션 시스템
KR20110063122A (ko) 차량의 프론트 서스펜션용 서브 프레임
KR200491248Y1 (ko) 자동차용 차축 롤링 방지장치
KR20100058967A (ko) 차량용 현가장치
JPH0428805Y2 (ko)
KR101509682B1 (ko) 차량용 서브 프레임
KR100831495B1 (ko) 자동차용 스테빌라이져바의 구조
KR100398201B1 (ko) 후륜현가장치
KR100422839B1 (ko) 리지드 액슬식 서스펜션
JP2012218629A (ja) 車両用懸架装置
KR20110139605A (ko) 차량용 서스펜션의 스태빌라이저 바 마운팅유닛
KR20080054815A (ko) 차량의 스트러트형 현가장치

Legal Events

Date Code Title Description
PA0109 Patent application

Patent event code: PA01091R01D

Comment text: Patent Application

Patent event date: 20110426

PG1501 Laying open of application
A201 Request for examination
PA0201 Request for examination

Patent event code: PA02012R01D

Patent event date: 20151026

Comment text: Request for Examination of Application

Patent event code: PA02011R01I

Patent event date: 20110426

Comment text: Patent Application

E902 Notification of reason for refusal
PE0902 Notice of grounds for rejection

Comment text: Notification of reason for refusal

Patent event date: 20161222

Patent event code: PE09021S01D

E601 Decision to refuse application
PE0601 Decision on rejection of patent

Patent event date: 20170321

Comment text: Decision to Refuse Application

Patent event code: PE06012S01D

Patent event date: 20161222

Comment text: Notification of reason for refusal

Patent event code: PE06011S01I