KR20120052902A - 전지 - Google Patents

전지 Download PDF

Info

Publication number
KR20120052902A
KR20120052902A KR1020117030459A KR20117030459A KR20120052902A KR 20120052902 A KR20120052902 A KR 20120052902A KR 1020117030459 A KR1020117030459 A KR 1020117030459A KR 20117030459 A KR20117030459 A KR 20117030459A KR 20120052902 A KR20120052902 A KR 20120052902A
Authority
KR
South Korea
Prior art keywords
battery
wound
winding
current collector
electrode plate
Prior art date
Legal status (The legal status is an assumption and is not a legal conclusion. Google has not performed a legal analysis and makes no representation as to the accuracy of the status listed.)
Granted
Application number
KR1020117030459A
Other languages
English (en)
Other versions
KR101166661B1 (ko
Inventor
가즈유끼 구사마
도모히로 마쯔우라
Original Assignee
도요타지도샤가부시키가이샤
Priority date (The priority date is an assumption and is not a legal conclusion. Google has not performed a legal analysis and makes no representation as to the accuracy of the date listed.)
Filing date
Publication date
Application filed by 도요타지도샤가부시키가이샤 filed Critical 도요타지도샤가부시키가이샤
Publication of KR20120052902A publication Critical patent/KR20120052902A/ko
Application granted granted Critical
Publication of KR101166661B1 publication Critical patent/KR101166661B1/ko
Active legal-status Critical Current
Anticipated expiration legal-status Critical

Links

Images

Classifications

    • HELECTRICITY
    • H01ELECTRIC ELEMENTS
    • H01MPROCESSES OR MEANS, e.g. BATTERIES, FOR THE DIRECT CONVERSION OF CHEMICAL ENERGY INTO ELECTRICAL ENERGY
    • H01M50/00Constructional details or processes of manufacture of the non-active parts of electrochemical cells other than fuel cells, e.g. hybrid cells
    • H01M50/30Arrangements for facilitating escape of gases
    • H01M50/317Re-sealable arrangements
    • H01M50/325Re-sealable arrangements comprising deformable valve members, e.g. elastic or flexible valve members
    • HELECTRICITY
    • H01ELECTRIC ELEMENTS
    • H01MPROCESSES OR MEANS, e.g. BATTERIES, FOR THE DIRECT CONVERSION OF CHEMICAL ENERGY INTO ELECTRICAL ENERGY
    • H01M10/00Secondary cells; Manufacture thereof
    • H01M10/04Construction or manufacture in general
    • H01M10/0431Cells with wound or folded electrodes
    • HELECTRICITY
    • H01ELECTRIC ELEMENTS
    • H01MPROCESSES OR MEANS, e.g. BATTERIES, FOR THE DIRECT CONVERSION OF CHEMICAL ENERGY INTO ELECTRICAL ENERGY
    • H01M10/00Secondary cells; Manufacture thereof
    • H01M10/05Accumulators with non-aqueous electrolyte
    • H01M10/052Li-accumulators
    • HELECTRICITY
    • H01ELECTRIC ELEMENTS
    • H01MPROCESSES OR MEANS, e.g. BATTERIES, FOR THE DIRECT CONVERSION OF CHEMICAL ENERGY INTO ELECTRICAL ENERGY
    • H01M10/00Secondary cells; Manufacture thereof
    • H01M10/05Accumulators with non-aqueous electrolyte
    • H01M10/058Construction or manufacture
    • H01M10/0587Construction or manufacture of accumulators having only wound construction elements, i.e. wound positive electrodes, wound negative electrodes and wound separators
    • HELECTRICITY
    • H01ELECTRIC ELEMENTS
    • H01MPROCESSES OR MEANS, e.g. BATTERIES, FOR THE DIRECT CONVERSION OF CHEMICAL ENERGY INTO ELECTRICAL ENERGY
    • H01M10/00Secondary cells; Manufacture thereof
    • H01M10/42Methods or arrangements for servicing or maintenance of secondary cells or secondary half-cells
    • H01M10/52Removing gases inside the secondary cell, e.g. by absorption
    • HELECTRICITY
    • H01ELECTRIC ELEMENTS
    • H01MPROCESSES OR MEANS, e.g. BATTERIES, FOR THE DIRECT CONVERSION OF CHEMICAL ENERGY INTO ELECTRICAL ENERGY
    • H01M4/00Electrodes
    • H01M4/02Electrodes composed of, or comprising, active material
    • H01M4/64Carriers or collectors
    • H01M4/66Selection of materials
    • H01M4/661Metal or alloys, e.g. alloy coatings
    • HELECTRICITY
    • H01ELECTRIC ELEMENTS
    • H01MPROCESSES OR MEANS, e.g. BATTERIES, FOR THE DIRECT CONVERSION OF CHEMICAL ENERGY INTO ELECTRICAL ENERGY
    • H01M50/00Constructional details or processes of manufacture of the non-active parts of electrochemical cells other than fuel cells, e.g. hybrid cells
    • H01M50/50Current conducting connections for cells or batteries
    • H01M50/531Electrode connections inside a battery casing
    • H01M50/538Connection of several leads or tabs of wound or folded electrode stacks
    • YGENERAL TAGGING OF NEW TECHNOLOGICAL DEVELOPMENTS; GENERAL TAGGING OF CROSS-SECTIONAL TECHNOLOGIES SPANNING OVER SEVERAL SECTIONS OF THE IPC; TECHNICAL SUBJECTS COVERED BY FORMER USPC CROSS-REFERENCE ART COLLECTIONS [XRACs] AND DIGESTS
    • Y02TECHNOLOGIES OR APPLICATIONS FOR MITIGATION OR ADAPTATION AGAINST CLIMATE CHANGE
    • Y02EREDUCTION OF GREENHOUSE GAS [GHG] EMISSIONS, RELATED TO ENERGY GENERATION, TRANSMISSION OR DISTRIBUTION
    • Y02E60/00Enabling technologies; Technologies with a potential or indirect contribution to GHG emissions mitigation
    • Y02E60/10Energy storage using batteries
    • YGENERAL TAGGING OF NEW TECHNOLOGICAL DEVELOPMENTS; GENERAL TAGGING OF CROSS-SECTIONAL TECHNOLOGIES SPANNING OVER SEVERAL SECTIONS OF THE IPC; TECHNICAL SUBJECTS COVERED BY FORMER USPC CROSS-REFERENCE ART COLLECTIONS [XRACs] AND DIGESTS
    • Y02TECHNOLOGIES OR APPLICATIONS FOR MITIGATION OR ADAPTATION AGAINST CLIMATE CHANGE
    • Y02PCLIMATE CHANGE MITIGATION TECHNOLOGIES IN THE PRODUCTION OR PROCESSING OF GOODS
    • Y02P70/00Climate change mitigation technologies in the production process for final industrial or consumer products
    • Y02P70/50Manufacturing or production processes characterised by the final manufactured product

Landscapes

  • Chemical & Material Sciences (AREA)
  • Chemical Kinetics & Catalysis (AREA)
  • Electrochemistry (AREA)
  • General Chemical & Material Sciences (AREA)
  • Engineering & Computer Science (AREA)
  • Manufacturing & Machinery (AREA)
  • Materials Engineering (AREA)
  • Connection Of Batteries Or Terminals (AREA)
  • Secondary Cells (AREA)
  • Gas Exhaust Devices For Batteries (AREA)
  • Sealing Battery Cases Or Jackets (AREA)

Abstract

전지(1)는, 원통 형상의 축심(45)과, 제1 전극판(10), 제2 전극판(20) 및 세퍼레이터(30)를 축심(45)의 외주에 권회하여 이루어지는 권회 전극체(40)를 구비한다. 권회 전극체(40)는, 제1 전극판(10)의 제1 활물질 미도포 시공부(13)가 권회되어 이루어지는 제1 권회부(44), 제2 전극판(20)의 제2 활물질 미도포 시공부(23)가 권회되어 이루어지는 제2 권회부(46) 및 제1 권회부(44)와 제2 권회부(46) 사이에 위치하고, 제1 전극판(10)과 제2 전극판(20)과 세퍼레이터(30)가 권회되어 이루어지는 발전부(42)를 갖는다. 축심(45)은, 금속제의 집전부(45b)이며, 제1 권회부(44) 또는 제2 권회부(46)와 접합하는 집전 접합부(45d)를 포함하는 집전부(45b)를 갖는다. 제1 권회부(44) 또는 제2 권회부(46) 중 집전 접합부(45d)에 대해 축심의 직경 방향 외측에 위치하는 부위(44b)를 겹쳐, 집전 접합부(45d)에 용접하고 있다.

Description

전지 {BATTERY}
본 발명은, 전지에 관한 것이다.
최근, 에너지 밀도가 높은 전지로서, 권회 전극체를 갖는 전지가 제안되어 있다(예를 들어, 특허문헌 1 참조).
특허문헌 1의 전지는, 축선 방향으로 연장되는 축 구멍을 갖는 원통 형상의 축심(권선)과, 정극판, 부극판 및 세퍼레이터를 축심의 외주에 권회하여 이루어지는 권회 전극체(전극 권회군)를 갖는다. 이 전지에서는, 권회 전극체의 정극판이, 리드편을 통해, 정극 집전판에 전기적으로 접속되어 있다. 마찬가지로, 권회 전극체의 부극판도, 리드편을 통해, 부극 집전판에 전기적으로 접속되어 있다.
일본 공개 특허 제2002-134095호 공보
그러나 권회 전극체의 전극판(정극판 또는 부극판)을, 리드편을 통해, 집전부(정극 집전판 또는 부극 집전판)에 전기적으로 접속하는 집전 구조에서는, 전극판과 집전부 사이의 전기 저항이 커진다. 이로 인해, 전극판과 집전부 사이의 전기 저항을 작게 할 수 있는 집전 구조가 요구되고 있었다.
본 발명은 이러한 현상에 비추어 이루어진 것이며, 전극판과 집전부 사이의 전기 저항을 작게 할 수 있는 전지를 제공하는 것을 목적으로 한다.
본 발명의 일 형태는, 축선 방향으로 연장되는 축 구멍을 갖는 원통 형상의 축심과, 제1 전극판, 제2 전극판 및 세퍼레이터를 상기 축심의 외주에 권회하여 이루어지는 권회 전극체이며, 상기 축선 방향에 대해 상기 권회 전극체의 선단부를 이루고, 상기 제1 전극판의 제1 활물질 미도포 시공부가 권회되어 이루어지는 제1 권회부, 상기 축선 방향에 대해 상기 권회 전극체의 후단부를 이루고, 상기 제2 전극판의 제2 활물질 미도포 시공부가 권회되어 이루어지는 제2 권회부 및 상기 축선 방향에 대해 상기 제1 권회부와 상기 제2 권회부 사이에 위치하고, 상기 제1 전극판과 상기 제2 전극판과 상기 세퍼레이터가 권회되어 이루어지는 발전부를 갖는 권회 전극체를 구비하는 전지이며, 상기 축심은, 금속제의 집전부이며, 상기 제1 권회부 또는 상기 제2 권회부와 접합하는 집전 접합부를 포함하는 집전부를 갖고, 상기 제1 권회부 또는 상기 제2 권회부 중 상기 집전 접합부에 대해 상기 축심의 직경 방향 외측에 위치하는 부위를 겹쳐, 상기 집전 접합부에 용접하여 이루어지는 전지이다.
상술한 전지에서는, 축심이, 금속제의 집전부이며, 제1 권회부 또는 제2 권회부와 접합하는 집전 접합부를 포함하는 집전부를 갖고 있다. 그리고 제1 권회부 또는 제2 권회부 중 집전 접합부에 대해 축심의 직경 방향 외측에 위치하는 부위를 겹쳐, 집전 접합부에 용접하고 있다. 환언하면, 제1 권회부 또는 제2 권회부 중, 집전 접합부에 대해 축심의 직경 방향 외측에 위치하는 부위가, 겹쳐진 상태에서 집전 접합부에 용접되어 있다.
이와 같이, 리드를 개재시키는 일 없이, 제1 전극판 또는 제2 전극판(상세하게는, 제1 권회부 또는 제2 권회부)을 직접, 집전부에 용접함으로써, 전극판(제1 전극판 또는 제2 전극판)과 집전부 사이의 전기 저항을 작게 할 수 있다.
또한, 상술한 전지에서는, 제1 권회부 또는 제2 권회부 중 집전 접합부에 대해 축심의 직경 방향 외측에 위치하는 부위(집전 접합부에 용접하는 부위)를 겹치고 있으므로, 전극판(제1 전극판 또는 제2 전극판)과 집전부 사이의 집전 경로를 짧게 할 수 있고, 또한 집전 경로를 증대(제1 권회부 또는 제2 권회부의 권회수까지 증대)시킬 수 있다. 이에 의해, 전극판(제1 전극판 또는 제2 전극판)과 집전부 사이의 전기 저항을 한층 더 작게 할 수 있다.
또한, 상술한 전지에서는, 종래의 전지(예를 들어, 특허문헌 1의 전지)에 비해, 전극판(제1 전극판 또는 제2 전극판)과 집전부 사이의 전기적 접속에 리드를 사용하지 않는 만큼, 부품 개수를 삭감할 수 있다. 또한, 상술한 전지에서는, 축심이 집전부를 포함하고 있으므로(집전부를 축심의 일부 또는 전부로 하고 있으므로), 종래의 전지(예를 들어, 특허문헌 1의 전지)와 같이, 축심과 집전부(집전판)를 별개의 부품으로 하는 경우에 비해, 부품 개수를 삭감할 수 있다.
또한, 제1 전극판의 제1 활물질 미도포 시공부라 함은, 제1 활물질(예를 들어, 니켈산 리튬)을 포함하는 제1 합재층을 갖는 일 없이, 제1 전극판을 구성하는 제1 집전박(예를 들어, 알루미늄박)만으로 이루어지는 부위를 말한다. 또한, 제2 전극판의 제2 활물질 미도포 시공부라 함은, 제2 활물질(예를 들어, 흑연)을 포함하는 제2 합재층을 갖는 일 없이, 제2 전극판을 구성하는 제2 집전박(예를 들어, 구리박)만으로 이루어지는 부위를 말한다.
또한, 상기한 전지이며, 상기 집전 접합부는, 평탄 형상인 전지로 하면 좋다.
상술한 전지에서는, 집전 접합부가 평탄 형상이다. 이로 인해, 제1 권회부 또는 상기 제2 권회부 중 집전 접합부에 대해 축심의 직경 방향 외측에 위치하는 부위(이하, 권회 용접부라고도 함)를 겹쳐 집전 접합부에 용접할 때, 양자(권회 용접부와 집전 접합부)를 적절하게 용접(접합)할 수 있다. 구체적으로는, 예를 들어 초음파 용접이나 저항 용접 등에 의해, 권회 용접부를 집전 접합부에 용접할 때, 원호 형상의 집전 접합부와 권회 용접부를 압접하는 경우보다도, 평탄 형상의 집전 접합부와 권회 용접부를 압접하는 경우의 쪽이, 양자를 적절하게(충분히) 압접할 수 있으므로, 양자를 적절하게(충분히) 용접할 수 있다.
또한, 상기 어느 하나의 전지이며, 상기 권회 전극체를 수용하는 바닥이 있는 통 형상의 케이스 본체와, 상기 케이스 본체의 개구를 폐색하는 덮개 부재이며, 상기 권회 전극체가 권회되어 이루어지는 상기 축심 중 상기 권회 전극체로부터 축선 방향 선단측으로 돌출되는 돌출부가 삽입되는 삽입 구멍을 갖는 덮개 부재와, 상기 돌출부의 선단측 개구를 폐색하는 안전 밸브이며, 상기 전지의 내압이 소정의 밸브 개방압에 도달한 경우에 밸브 개방하여, 상기 전지 내에 있어서 상기 축심의 상기 축 구멍 내에 도입된 가스를, 상기 축 구멍을 통해 당해 안전 밸브로부터 전지 외부로 배출하는 안전 밸브를 구비하고, 상기 축심의 상기 돌출부는, 상기 덮개 부재보다도 상기 축선 방향 후단측의 위치에서 당해 돌출부를 이루는 벽부를 관통하는 관통 구멍, 또는 자신의 선단으로부터 상기 덮개 부재보다도 상기 축선 방향 후단측의 위치까지 당해 돌출부를 이루는 벽부를 절결한 절결부를 갖는 전지로 하면 좋다.
상술한 전지에서는, 축심의 돌출부(축심 중 권회 전극체로부터 축선 방향 선단측으로 돌출되는 부위)의 선단측 개구(축선 방향 선단측의 개구)를 폐색하는 안전 밸브를 구비하고 있다. 이 안전 밸브는, 전지의 내압이 소정의 밸브 개방압에 도달한 경우에 밸브 개방하여, 전지 내에 있어서 축심의 축 구멍 내에 도입된 가스를, 축심의 축 구멍을 통해 당해 안전 밸브로부터 전지 외부로 배출한다.
그런데, 종래의 전지(예를 들어, 특허문헌 1의 전지)에서는, 전지의 내압이 소정값(밸브 개방압)에 도달한 경우에 밸브 개방(개열)하여, 전지 내의 가스를 외부로 배출하는 안전 밸브를 구비하고 있다. 상세하게는, 특허문헌 1의 전지에서는, 권회 전극체의 하단측(축선 방향 후단측)으로부터 권회 전극체의 외부로 방출된 가스를, 축심의 하단측(축선 방향 후단측)으로부터 축심의 축 구멍(중공부) 내에 도입하여, 축심의 축 구멍을 통해, 밸브 개방된 안전 밸브로부터 전지 외부로 배출한다.
그러나 이러한 구조의 전지에서는, 권회 전극체의 상단측(축선 방향 선단측)으로부터 권회 전극체 외부로 방출된 가스를, 축심의 축 구멍(중공부) 내로 도입할 수 없어, 밸브 개방된 안전 밸브로부터 전지 외부로 배출할 수 없었다. 이로 인해, 안전 밸브를 밸브 개방시킨 후에도, 전지 내 중 권회 전극체의 상단측(축선 방향 선단측)의 공간 내의 압력을 저하시킬 수 없어, 과승압으로 될 우려가 있었다.
이에 대해, 상술한 전지에서는, 축심의 돌출부(축심 중 권회 전극체로부터 축선 방향 선단측으로 돌출되는 부위)가, 덮개 부재보다도 축선 방향 후단측(권회 전극체측)의 위치에서 당해 돌출부를 이루는 벽부를 관통하는 관통 구멍을 갖고 있다. 또는, 축심의 돌출부가, 자신의 선단(축선 방향 선단)으로부터 덮개 부재보다도 축선 방향 후단측(권회 전극체측)의 위치까지 당해 돌출부를 이루는 벽부를 절결한 절결부를 갖고 있다. 이에 의해, 권회 전극체의 축선 방향 선단측으로부터 권회 전극체 외부로 방출된 가스를, 상기 관통 구멍 또는 절결부를 통해, 축심의 축 구멍 내에 도입할 수 있다. 이에 의해, 권회 전극체의 축선 방향 선단측으로부터 권회 전극체 외부로 방출된 가스를, 축심의 축 구멍을 통해, 밸브 개방된 안전 밸브로부터 전지 외부로 적절하게 배출할 수 있다.
도 1은 제1 실시예에 관한 전지의 종단면도이다.
도 2는 제1 실시예에 관한 축심의 사시도이다.
도 3은 제1 실시예에 관한 축심의 종단면도이다.
도 4는 도 1의 B부 확대도이다.
도 5는 축심에 권회된 권회 전극체의 횡단면도이다.
도 6은 제1 실시예의 전지에 있어서의 밸브 개방시의 가스 배출의 모습을 도시하는 도면이다.
도 7은 제1 실시예에 관한 제1 전극판을 도시하는 도면이다.
도 8은 제1 실시예에 관한 제2 전극판을 도시하는 도면이다.
도 9는 제1 실시예에 관한 권회 공정을 설명하는 도면이다.
도 10은 축심에 권회한 권회 전극체의 종단면도이다.
도 11은 제1 실시예에 관한 제1 용접 공정을 설명하는 도면이다.
도 12는 제1 실시예에 관한 수용 공정을 설명하는 도면이다.
도 13은 제1 실시예에 관한 제2 용접 공정을 설명하는 도면이다.
도 14는 제2 실시예에 관한 전지의 종단면도이다.
도 15는 제2 실시예에 관한 축심의 사시도이다.
도 16은 제2 실시예의 전지에 있어서의 밸브 개방시의 가스 배출의 모습을 도시하는 도면이다.
(제1 실시예)
도 1은, 제1 실시예에 관한 전지(1)의 종단면도(축선 AX를 따라 절단한 단면도)이다. 본 제1 실시예의 전지(1)는, 원통 형상의 전지이다(도 1 참조). 이 전지(1)는, 권회 전극체(40)와, 이 권회 전극체(40)를 수용하는 전지 케이스(60)를 갖는다. 이 중, 권회 전극체(40)는, 제1 전극판(10)(정극판)과 제2 전극판(20)(부극판)과 세퍼레이터(30)가, 축심(45)의 외주에 권회된 원통 형상의 권회 전극체이다.
또한, 권회 전극체(40)는, 권회수 50의 권회 전극체[제1 전극판(10), 제2 전극판(20) 및 세퍼레이터(30)를 적층한 적층체를, 축심(45)의 주위에 50회 감은 권회 전극체]이지만, 도 1 등에서는, 권회 전극체(40)의 권취수를 간략화(5회 권취로 간략화)하고 있다. 또한, 권회 전극체(40)의 외주면과 전지 케이스(60)[케이스 본체(61)]의 내주면 사이에는, 전기 절연성 수지로 이루어지는 절연 시트(68)가 배치되어 있다.
축심(45)은, 도 2 및 도 3에 도시하는 바와 같이, 축선 방향(축선 AX가 연장되는 방향, 도 2 및 도 3에 있어서 상하 방향)으로 연장되는 축 구멍(45j)을 갖는 원통 형상을 이루고 있다. 이 축심(45)은, 금속(예를 들어, 알루미늄)으로 이루어지는 원통 형상의 집전부(45b)와, 수지(예를 들어, 폴리프로필렌)로 이루어지는 원통 형상의 수지부(45f)를 갖고 있다. 상세하게는, 집전부(45b)의 축선 방향 후단부(45c)를, 수지부(45f)의 축선 방향 선단부(45g)의 내측에 압입함으로써, 집전부(45b)와 수지부(45f)를 일체로 하여, 축심(45)을 구성하고 있다(도 3 참조). 또한, 축심(45) 중, 권회 전극체(40)로부터 축선 방향 선단측(도 1에 있어서 상측)으로 돌출되는 부위를 돌출부(45t)로 한다. 본 제1 실시예에서는, 돌출부(45t)는, 집전부(45b)에 의해 구성된다(도 1 내지 도 3 참조).
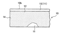
제1 전극판(10)은, 도 7에 도시하는 바와 같이, 제1 집전박(11)이 연장되는 길이 방향(도 7에 있어서 좌우 방향)의 한쪽 변(10b)을 따라 연장되어, 제1 집전박(11) 및 제1 합재층(12)을 갖는 제1 활물질 도포 시공부(14)와, 이 제1 활물질 도포 시공부(14)와 인접하여 길이 방향의 한쪽 변(10b)을 따라 연장되어, 제1 합재층(12)을 갖는 일 없이, 제1 집전박(11)만으로 이루어지는 제1 활물질 미도포 시공부(13)를 갖고 있다.
또한, 제1 집전박(11)으로서는, 예를 들어 알루미늄박을 사용할 수 있다. 또한, 제1 합재층(12)은, 제1 활물질이나 바인더 등에 의해 구성되어 있다. 제1 활물질로서는, 예를 들어 니켈산 리튬을 사용할 수 있다.
제2 전극판(20)은, 도 8에 도시하는 바와 같이, 제2 집전박(21)이 연장되는 길이 방향(도 8에 있어서 좌우 방향)의 한쪽 변(20b)을 따라 연장되어, 제2 집전박(21) 및 제2 합재층(22)을 갖는 제2 활물질 도포 시공부(24)와, 이 제2 활물질 도포 시공부(24)와 인접하여 길이 방향의 한쪽 변(20b)을 따라 연장되어, 제2 합재층(22)을 갖는 일 없이, 제2 집전박(21)만으로 이루어지는 제2 활물질 미도포 시공부(23)를 갖고 있다.
또한, 제2 집전박(21)으로서는, 예를 들어 구리박을 사용할 수 있다. 또한, 제2 합재층(22)은, 제2 활물질이나 바인더 등에 의해 구성되어 있다. 제2 활물질로서는, 예를 들어 천연 흑연을 사용할 수 있다.
또한, 축선 방향(축선 AX가 연장되는 방향, 도 1에 있어서 상하 방향)에 대해 권회 전극체(40)의 선단부(도 1에 있어서 상단부)를 이루고, 제1 전극판(10)의 제1 활물질 미도포 시공부(13)만이 권회되어 있는 부위를, 제1 권회부(44)로 한다. 또한, 축선 방향에 대해 권회 전극체(40)의 후단부(도 1에 있어서 하단부)를 이루고, 제2 전극판(20)의 제2 활물질 미도포 시공부(23)만이 권회되어 있는 부위를, 제2 권회부(46)로 한다. 또한, 제1 권회부(44)와 제2 권회부(46) 사이에 위치하고, 제1 전극판(10)[제1 활물질 도포 시공부(14)]과 제2 전극판(20)[제2 활물질 도포 시공부(24)]과 세퍼레이터(30)가 권회되어 이루어지는 부위를, 발전부(42)로 한다.
전지 케이스(60)는, 원통형의 전지 케이스이며, 바닥이 있는 원통 형상을 이루는 금속제의 케이스 본체(61)와, 원판 형상을 이루는 금속제의 덮개 부재(62)를 갖는다(도 1 참조). 덮개 부재(62)는, 케이스 본체(61)의 개구(61j)를 폐색하도록 배치되고, 개구(61j)를 구성하는 개구부(61h)의 코킹에 의해, 케이스 본체(61)에 고정되어 있다. 또한, 덮개 부재(62)와 개구부(61h) 사이에는, 전기 절연성 수지로 이루어지는 원환상의 가스킷(69)이 배치되어 있다. 이에 의해, 케이스 본체(61)와 덮개 부재(62) 사이를 전기적으로 절연하면서, 권회 전극체(40)를 수용한 케이스 본체(61)와 덮개 부재(62)가 일체로 되어, 전지 케이스(60)를 이루고 있다.
덮개 부재(62)는, 축심(45)의 돌출부(45t)가 삽입되는 원통 형상의 삽입 구멍(62b)을 갖는다(도 1 참조). 본 제1 실시예의 전지(1)에서는, 덮개 부재(62)의 삽입 구멍(62b)에 삽입된 축심(45)의 돌출부(45t)[집전부(45b)의 일부]가, 덮개 부재(62)와 용접되어 있다. 이와 같이, 축심(45)의 돌출부(45t)와 덮개 부재(62)를 용접하여, 양자를 전기적으로 접속하고 있으므로, 축심(45)의 집전부(45b)와 덮개 부재(62) 사이의 전기 저항을 작게 할 수 있다. 또한, 도 1에서는, 덮개 부재(62)와 축심(45)의 돌출부(45t)가 용접되어 있는 부위를, 용접부(W)(도 1에 있어서 검게 칠해져 있는 부위)로 하고 있다.
또한, 후술하는 바와 같이, 축심(45)의 집전부(45b)[집전 접합부(45d)]에는, 제1 권회부(44)[제1 전극판(10)]가 용접되어, 양자가 전기적으로 접속되어 있다. 따라서, 본 제1 실시예의 전지(1)에서는, 덮개 부재(62)[안전 밸브(63)를 포함함]가, 축심(45)의 집전부(45b)를 통해 제1 권회부(44)[제1 전극판(10)]와 전기적으로 접속되어, 제1 외부 단자(정극 외부 단자)로 된다.
또한, 제2 권회부(46)[제2 활물질 미도포 시공부(23)]는, 그 단부면(46b)에 있어서, 대략 원판 형상을 이루는 금속제의 제2 집전 부재(72)에 용접되어 있다(도 1 참조). 또한, 제2 집전 부재(72)는, 케이스 본체(61)의 저부(61b)에 용접되어 있다. 이에 의해, 본 제1 실시예의 전지(1)에서는, 케이스 본체(61)의 저부(61b)가, 제2 집전 부재(72)를 통해 제2 권회부(46)[제2 전극판(20)]와 전기적으로 접속되어, 제2 외부 단자(부극 외부 단자)로 된다.
또한, 덮개 부재(62)의 외면 중앙에는, 축선 방향 후단측으로 움푹 들어간 원형의 오목부(62c)가 형성되어 있다(도 1 참조). 이 오목부(62c)의 표면에는, 대략 원판 형상의 안전 밸브(63)가 용접되어 있다. 이 안전 밸브(63)에 의해, 축심(45)[돌출부(45t)]의 선단측 개구(45k)가 폐색된다. 이 안전 밸브(63)는, 전지(1)의 내압[전지 케이스(60)의 내압]이 상승하여 소정의 밸브 개방압에 도달한 경우에, 자신이 개열됨으로써 밸브 개방되도록 형성되어 있다. 안전 밸브(63)가 밸브 개방됨으로써, 전지(1) 내[전지 케이스(60) 내]의 가스를 외부로 배출하여, 전지(1)의 내압[전지 케이스(60)의 내압]의 과승압을 방지한다.
여기서, 본 제1 실시예의 전지(1)에 대해, 상세하게 설명한다.
본 제1 실시예의 축심(45)은, 전술한 바와 같이, 금속(알루미늄)으로 이루어지는 원통 형상의 집전부(45b)를 갖고 있다. 이 집전부(45b)는, 평탄 형상의 집전 접합부(45d)를 포함하고 있다(도 2 및 도 3 참조). 이 집전 접합부(45d)는, 예를 들어 원통 형상의 금속 파이프의 일부[집전 접합부(45d)에 대응하는 부위]를 프레스 성형에 의해 평탄 형상으로 성형한 것이다.
또한, 도 4 및 도 5에 도시하는 바와 같이, 본 제1 실시예의 전지(1)에서는, 제1 권회부(44)의 일부를, 집전부(45b)의 집전 접합부(45d)에 접합하고 있다. 상세하게는, 제1 권회부(44) 중, 집전 접합부(45d)에 대해 축심(45)의 직경 방향 외측[도 4 및 도 5에 있어서 집전 접합부(45d)의 좌측]에 위치하는 부위[권회 용접부(44b)라 함]를 겹쳐, 집전 접합부(45d)에 용접(본 제1 실시예에서는, 초음파 용접)하고 있다. 환언하면, 제1 권회부(44) 중, 집전 접합부(45d)에 대해 축심(45)의 직경 방향 외측에 위치하는 부위가, 겹쳐진 상태에서 집전 접합부(45d)에 용접되어 있다. 또한, 도 4는 도 1의 B부 확대도이다. 또한, 도 5는, 축심(45)에 권회된 권회 전극체(40)의 횡단면도이며, 도 1의 C-C 화살표 단면도[도 1의 C-C 절단선의 위치에서 전지(1)를 절단하였을 때의 단면도]에 상당한다.
이와 같이, 리드선을 개재시키는 일 없이, 제1 전극판(10)[상세하게는, 제1 권회부(44)]을 직접, 집전부(45b)[집전 접합부(45d)]에 용접함으로써, 제1 전극판(10)과 집전부(45b) 사이의 전기 저항을 작게 할 수 있다.
또한, 본 제1 실시예의 전지(1)에서는, 제1 권회부(44) 중 집전 접합부(45d)에 대해 축심(45)의 직경 방향 외측에 위치하는 부위[권회 용접부(44b)]를 겹치고 있으므로, 제1 전극판(10)과 집전부(45b) 사이의 집전 경로를 짧게 할 수 있고, 또한 집전 경로를 증대[제1 권회부(44)의 권회수 50까지 증대]시킬 수 있다. 이에 의해, 제1 전극판(10)과 집전부(45b) 사이의 전기 저항을 한층 더 작게 할 수 있다.
또한, 도 4 및 도 5에서는, 제1 권회부(44)의 권취수를 간략화(5회 권취로 간략화)하고 있지만, 실제로는, 제1 권회부(44)의 권취수는 50이다. 따라서, 도 4 및 도 5에서는, 4개소의 권회 용접부(44b)만이 나타내어져 있지만, 실제로는, 50개소의 권회 용접부(44b)가 존재한다. 즉, 본 제1 실시예의 전지(1)에서는, 50개소의 권회 용접부(44b)[제1 권회부(44) 중 집전 접합부(45d)에 대해 축심(45)의 직경 방향 외측에 위치하는 부위]를 겹쳐, 집전 접합부(45d)에 용접하고 있다. 환언하면, 50개소의 권회 용접부(44b)가, 겹쳐진 상태에서 집전 접합부(45d)에 용접되어 있다.
또한, 본 제1 실시예의 전지(1)에서는, 종래의 전지(예를 들어, 특허문헌 1의 전지)에 비해, 제1 전극판(10)과 집전부(45b) 사이의 전기적 접속에 리드선을 사용하지 않는 만큼, 부품 개수를 삭감할 수 있다. 또한, 본 제1 실시예의 전지(1)에서는, 축심(45)이 집전부(45b)를 포함하고 있으므로[집전부(45b)를 축심(45)의 일부로 하고 있으므로], 종래의 전지(예를 들어, 특허문헌 1의 전지)와 같이, 축심과 집전부(집전판)를 별개의 부품으로 하는 경우에 비해, 부품 개수를 삭감할 수 있다.
또한, 본 제1 실시예의 전지(1)에서는, 전술한 바와 같이, 집전 접합부(45d)가 평탄 형상이다. 이로 인해, 권회 용접부(44b)를 겹쳐 집전 접합부(45d)에 용접할 때, 양자[권회 용접부(44b)와 집전 접합부(45d)]를 적절하게 용접(접합)할 수 있다. 구체적으로는, 후술하는 바와 같이, 초음파 용접에 의해, 권회 용접부(44b)를 집전 접합부(45d)에 용접할 때, 원호 형상의 집전 접합부와 권회 용접부를 압접하는 경우보다도, 평탄 형상의 집전 접합부(45d)와 권회 용접부(44b)를 압접하는 경우의 쪽이, 양자를 적절하게(충분히) 압접할 수 있으므로, 양자를 적절하게(충분히) 용접할 수 있다.
다음에, 제1 실시예의 전지(1)에 있어서, 전지(1) 내의 가스를 외부로 배출하는 구조에 대해, 상세하게 설명한다.
도 2 및 도 3에 도시하는 바와 같이, 본 제1 실시예의 축심(45)에서는, 자신의 축선 방향 후단부(도 2 및 도 3에 있어서 하단부)에, 자신의 축선 방향 후단(도 2 및 도 3에 있어서 하단)으로부터 축선 방향 선단측(도 2 및 도 3에 있어서 상측)으로 연장되는 형태로, 수지부(45f)를 이루는 벽부를 절결한 절결부(45m)가 2개 형성되어 있다.
이에 의해, 도 6의 하방에 화살표로 나타내는 바와 같이, 권회 전극체(40)의 발전부(42)의 축선 방향 후단측(도 6에 있어서 하단측)으로부터 발전부(42)의 외부[제2 권회부(46)의 간극]로 방출된 가스(G)를, 축심(45)의 절결부(45m)를 통해, 축심(45)의 축 구멍(45j) 내에 도입할 수 있다. 따라서, 전지(1)의 내압[전지 케이스(60)의 내압]이 상승하여 안전 밸브(63)가 밸브 개방(개열)되었을 때에는, 도 6에 화살표로 나타내는 바와 같이, 권회 전극체(40)의 발전부(42)의 축선 방향 후단측으로부터 발전부(42)의 외부[제2 권회부(46)의 간극]로 방출된 가스(G)는, 축심(45)의 축 구멍(45j)을 통해, 밸브 개방된 안전 밸브(63)로부터 전지(1)의 외부로 배출된다.
그런데, 종래의 전지(예를 들어, 특허문헌 1의 전지)에서는, 권회 전극체의 축선 방향 선단측(상단측)으로부터 권회 전극체의 외부로 방출된 가스를, 축심의 축 구멍 내에 도입할 수 없어, 밸브 개방된 안전 밸브로부터 전지 외부로 배출할 수 없었다. 이로 인해, 안전 밸브가 밸브 개방된 후에도, 전지 내 중 권회 전극체의 축선 방향 선단측(상단측)의 공간 내의 압력을 저하시킬 수 없어, 과승압으로 될 우려가 있었다.
이에 대해, 본 제1 실시예의 전지(1)에서는, 도 1 내지 도 3에 도시하는 바와 같이, 축심(45)의 돌출부(45t)가, 덮개 부재(62)보다도 축선 방향 후단측[도 1에 있어서 하측, 권회 전극체(40)측]의 위치[또한, 집전 접합부(45d)보다도 축선 방향 선단측]에서, 돌출부(45t)를 이루는 벽부를 관통하는 관통 구멍(45h)을 갖고 있다. 이 관통 구멍(45h)은, 돌출부(45t)의 주위 방향으로 등간격으로 4개 형성되어 있다.
이에 의해, 본 제1 실시예의 전지(1)에서는, 도 6의 상방에 화살표로 나타내는 바와 같이, 권회 전극체(40)의 축선 방향 선단측(도 6에 있어서 상단측)으로부터 권회 전극체(40)의 외부로 방출된 가스(G)를, 돌출부(45t)의 관통 구멍(45h)을 통해, 축심(45)의 축 구멍(45j) 내에 도입할 수 있다. 따라서, 전지(1)의 내압[전지 케이스(60)의 내압]이 상승하여 안전 밸브(63)가 밸브 개방(개열)되었을 때에는, 도 6에 화살표로 나타내는 바와 같이, 권회 전극체(40)의 축선 방향 선단측으로부터 권회 전극체(40)의 외부로 방출된 가스(G)를, 축심(45)의 축 구멍(45j)을 통해, 밸브 개방된 안전 밸브(63)로부터 전지(1)의 외부로 배출할 수 있다. 이에 의해, 안전 밸브(63)가 밸브 개방되었을 때에는, 전지(1) 내 중 권회 전극체(40)의 축선 방향 선단측의 공간(S1) 내에 대해서도, 압력을 저하시킬 수 있어, 과승압으로 되는 것을 방지할 수 있다.
다음에, 제1 실시예에 관한 전지(1)의 제조 방법에 대해, 이하에 설명한다.
우선, 도 7에 도시하는 바와 같이, 띠 형상의 제1 집전박(11)의 표면에 제1 합재층(12)을 형성한 제1 전극판(10)을 준비한다. 이 제1 전극판(10)은, 제1 집전박(11)이 연장되는 길이 방향(도 7에 있어서 좌우 방향)의 한쪽 변(10b)을 따라 연장되어, 제1 집전박(11) 및 제1 합재층(12)을 갖는 제1 활물질 도포 시공부(14)와, 이 제1 활물질 도포 시공부(14)와 인접하여 길이 방향의 한쪽 변(10b)을 따라 연장되어, 제1 합재층(12)을 갖는 일 없이, 제1 집전박(11)만으로 이루어지는 제1 활물질 미도포 시공부(13)를 갖고 있다.
또한, 도 8에 도시하는 바와 같이, 띠 형상의 제2 집전박(21)의 표면에 제2 합재층(22)을 형성한 제2 전극판(20)을 준비한다. 이 제2 전극판(20)은, 제2 집전박(21)이 연장되는 길이 방향(도 8에 있어서 좌우 방향)의 한쪽 변(20b)을 따라 연장되어, 제2 집전박(21) 및 제2 합재층(22)을 갖는 제2 활물질 도포 시공부(24)와, 이 제2 활물질 도포 시공부(24)와 인접하여 길이 방향의 한쪽 변(20b)을 따라 연장되어, 제2 합재층(22)을 갖는 일 없이, 제2 집전박(21)만으로 이루어지는 제2 활물질 미도포 시공부(23)를 갖고 있다.
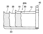
다음에, 적층 공정에 있어서, 제2 전극판(20), 세퍼레이터(30), 제1 전극판(10) 및 세퍼레이터(30)를, 이 순서로 적층한다(도 9 참조). 구체적으로는, 제1 전극판(10)의 제1 활물질 미도포 시공부(13)와 제2 전극판(20)의 제2 활물질 미도포 시공부(23)가, 폭 방향(도 9에 있어서 상하 방향)에서 서로 배향하는 방향이며, 제1 활물질 미도포 시공부(13)가 세퍼레이터(30) 및 제2 전극판(20)과 겹쳐지지 않도록, 또한 제2 활물질 미도포 시공부(23)가 세퍼레이터(30) 및 제1 전극판(10)과 겹쳐지지 않도록 적층한다.
이어서, 권회 공정으로 진행하여, 도 9에 도시하는 바와 같이, 제2 전극판(20), 제1 전극판(10) 및 세퍼레이터(30)를 적층한 적층체(40A)를, 원통 형상의 축심(45)의 주위에 권회한다. 이에 의해, 원통 형상의 권회 전극체(40)를 형성할 수 있다(도 10 참조). 또한, 본 제1 실시예에서는, 적층체(40A)를, 축심(45)의 주위에 50회 권회하였다.
그 후, 제2 권회부(46)에 제2 집전 부재(72)를 용접하였다(도 10 참조). 구체적으로는, 제2 집전 부재(72)에, 제2 권회부(46)의 단부면(46b)을 접촉한 상태에서, 제2 집전 부재(72)의 표면에 레이저 빔을 조사하여, 제2 권회부(46)와 제2 집전 부재(72)를 레이저 용접하였다.
다음에, 제1 용접 공정으로 진행하여, 초음파 용접에 의해, 권회 용접부(44b)를 집전 접합부(45d)에 용접하였다. 구체적으로는, 도 11에 도시하는 바와 같이, 앤빌(82)을 축심(45)[집전부(45b)]의 축 구멍(45j) 내에 삽입하고, 앤빌(82)의 압박부(82b)를 축심(45)의 집전 접합부(45d)의 내면(평탄면)에 접촉시킨다. 또한, 초음파 혼(81)의 압박부(81b)에 의해, 제1 권회부(44)의 권회 용접부(44b)[집전 접합부(45d)에 대해 축심(45)의 직경 방향 외측에 위치하는 부위, 도 5 참조]를 직경 방향 내측에 겹치는 동시에, 겹친 권회 용접부(44b)를 축심(45)의 집전 접합부(45d)의 외면(평탄면)에 압접한다. 이 상태에서, 초음파 혼(81)의 압박부(81b)를 초음파 진동시켜, 권회 용접부(44b)를 집전 접합부(45d)에 용접하였다.
이와 같이, 리드선을 개재시키는 일 없이, 제1 전극판(10)[상세하게는, 제1 권회부(44)]을 직접, 집전부(45b)[집전 접합부(45d)]에 용접함으로써, 제1 전극판(10)과 집전부(45b) 사이의 전기 저항을 작게 할 수 있다.
또한, 제1 용접 공정에서는, 제1 권회부(44) 중 집전 접합부(45d)에 대해 축심(45)의 직경 방향 외측에 위치하는 부위[권회 용접부(44b)]를 겹치고 있으므로, 제1 전극판(10)과 집전부(45b) 사이의 집전 경로를 짧게 할 수 있고, 또한 집전 경로를 증대[제1 권회부(44)의 권회수 50까지 증대]시킬 수 있다. 이에 의해, 제1 전극판(10)과 집전부(45b) 사이의 전기 저항을 한층 더 작게 할 수 있다.
또한, 본 제1 실시예에서는, 집전 접합부(45d)를 평탄 형상으로 하고 있다. 이에 의해, 제1 용접 공정에 있어서, 권회 용접부(44b)와 집전 접합부(45d)를 적절하게 용접(접합)할 수 있다. 구체적으로는, 상술한 바와 같이, 초음파 혼(81)과 앤빌(82)을 사용하여, 권회 용접부(44b)와 집전 접합부(45d)를 초음파 용접할 때, 앤빌(82)의 압박부(82b)와 초음파 혼(81)의 압박부(81b)에 의해, 원호 형상의 집전 접합부와 권회 용접부를 압접하는 경우보다도, 평탄 형상의 집전 접합부(45d)와 권회 용접부(44b)를 압접하는 경우의 쪽이, 양자를 적절하게(충분히) 압접할 수 있으므로, 양자를 적절하게(충분히) 용접할 수 있다.
다음에, 수용 공정으로 진행하여, 도 12에 도시하는 바와 같이, 축심(45)의 외주에 권회하여 이루어지는 권회 전극체(40)를, 축심(45)과 함께 케이스 본체(61)의 내부에 수용한다. 이때, 제2 권회부(46)에 용접되어 있는 제2 집전 부재(72)는, 케이스 본체(61)의 저부(61b)에 접한다. 또한, 권회 전극체(40)를 케이스 본체(61)의 내부에 수용하는 것에 앞서, 권회 전극체(40)의 외주에 절연 시트(68)를 권회해 둔다.
그 후, 제2 집전 부재(72)를 케이스 본체(61)의 저부(61b)에 용접한다. 구체적으로는, 케이스 본체(61)의 저부(61b)의 외표면에 레이저 빔을 조사하여, 제2 집전 부재(72)와 케이스 본체(61)의 저부(61b)를 레이저 용접하였다. 이에 의해, 케이스 본체(61)의 저부(61b)가, 제2 집전 부재(72)를 통해 제2 권회부(46)[제2 전극판(20)]와 전기적으로 접속되어, 제2 외부 단자로 된다.
다음에, 도 13에 도시하는 바와 같이, 케이스 본체(61)의 축선 방향 선단측(도 13에 있어서 상측)의 일부를, 케이스 본체(61)의 전체 둘레에 걸쳐 직경 방향 내측(축선 AX측)으로 변형시켜, 환 형상 단차부(61k)를 형성한다. 그 후, 케이스 본체(61)의 개구부(61h)의 내측에, 원환상의 가스킷(69)을 배치한다. 또한, 가스킷(69)은, 환 형상 단차부(61k) 상에 적재됨으로써, 케이스 본체(61)에 대해 위치 결정된다.
계속해서, 배치 공정으로 진행하여, 덮개 부재(62)의 삽입 구멍(62b)에 축심(45)의 돌출부(45t)를 삽입시키도록 하여, 덮개 부재(62)를 케이스 본체(61)의 개구(61j)의 내측[상세하게는, 가스킷(69)의 내측]에 배치한다. 또한, 덮개 부재(62)는, 가스킷(69)의 단차부(69b) 상에 적재됨으로써, 케이스 본체(61)에 대해 위치 결정된다.
다음에, 제2 용접 공정으로 진행하여, 덮개 부재(62)의 삽입 구멍(62b)에 삽입된 축심(45)의 돌출부(45t)를, 덮개 부재(62)와 용접한다. 구체적으로는, 도 13에 도시하는 바와 같이, 덮개 부재(62)의 외측으로부터, 돌출부(45t)의 전체 둘레에 걸쳐 레이저 빔(LB)을 조사하여, 덮개 부재(62)와 축심(45)[돌출부(45t)]을 레이저 용접한다. 이와 같이, 축심(45)의 돌출부(45t)와 덮개 부재(62)(제1 외부 단자)를 용접하여, 양자를 전기적으로 접속함으로써, 양자간의 전기 저항을 작게 할 수 있다. 또한, 축심(45)[돌출부(45t)]을 덮개 부재(62)에 전체 둘레 용접함으로써, 덮개 부재(62)의 삽입 구멍(62b)이 밀봉된다.
이어서, 케이스 본체(61)의 개구(61j)를 구성하는 개구부(61h)를 코킹하여, 가스킷(69)과 함께 덮개 부재(62)를, 케이스 본체(61)에 고정한다(도 1 참조). 이에 의해, 케이스 본체(61)와 덮개 부재(62) 사이를 가스킷(69)에 의해 전기적으로 절연하면서, 케이스 본체(61)와 덮개 부재(62)가 일체로 되어, 전지 케이스(60)가 형성된다. 그 후, 축심(45)의 선단측 개구(45k)를 통해, 케이스 본체(61)의 내부에 전해액을 주입한다. 그 후, 덮개 부재(62)의 오목부(62c)의 표면에, 안전 밸브(63)를 전체 둘레 용접한다. 이에 의해, 축심(45)의 선단측 개구(45k)가 폐색되어, 밀폐형 전지(1)가 완성된다.
(제2 실시예)
다음에, 제2 실시예에 관한 전지(100)에 대해 설명한다. 본 제2 실시예의 전지(100)는, 제1 실시예의 전지(1)와 비교하여, 축심의 집전부의 형상이 다르고, 그 밖에 대해서는 제1 실시예와 마찬가지이다. 따라서, 여기서는, 제1 실시예와 다른 점을 중심으로 설명하고, 마찬가지인 점에 대해서는 설명을 생략 또는 간략화한다.
도 14는, 제2 실시예에 관한 전지(100)의 종단면도(축선 AX를 따라 절단한 단면도)이다. 본 제2 실시예의 전지(100)는, 제1 실시예의 축심(45) 대신에, 축심(145)을 구비하고 있다. 또한, 권회 전극체(40)는, 권회수 50의 권회 전극체이지만, 도 14 등에서는, 권회 전극체(40)의 권취수를 간략화(5회 권취로 간략화)하고 있다.
축심(145)은, 도 15에 도시하는 바와 같이, 금속(예를 들어, 알루미늄)으로 이루어지는 원통 형상의 집전부(145b)와, 수지(예를 들어, 폴리프로필렌)로 이루어지는 원통 형상의 수지부(45f)를 갖고 있다. 이 중, 집전부(145b)[상세하게는, 돌출부(145t)]는, 제1 실시예의 집전부(45b)[돌출부(45t)]와 달리, 자신의 선단(축선 방향 선단, 도 14 및 도 15에 있어서 상단)으로부터 덮개 부재(62)보다도 축선 방향 후단측[권회 전극체(40)측, 도 14에 있어서 하방]의 위치까지 돌출부(145t)를 이루는 벽부를 절결한 절결부(145h)를 갖고 있다. 환언하면, 본 제2 실시예의 돌출부(145t)에는, 제1 실시예의 관통 구멍(45h) 대신에, 절결부(145h)가 형성되어 있다. 또한, 절결부(145h)는, 돌출부(145t)의 직경 방향에 대향하는 위치에 총 2개 형성되어 있다.
이에 의해, 본 제2 실시예의 전지(100)에서는, 도 16의 상방에 화살표로 나타내는 바와 같이, 권회 전극체(40)의 축선 방향 선단측(도 16에 있어서 상단측)으로부터 권회 전극체(40)의 외부로 방출된 가스(G)를, 돌출부(145t)의 절결부(145h)를 통해, 축심(145)의 축 구멍(145j) 내에 도입할 수 있다. 따라서, 전지(100)의 내압[전지 케이스(60)의 내압]이 상승하여 안전 밸브(63)가 밸브 개방(개열)되었을 때에는, 도 16에 화살표로 나타내는 바와 같이, 권회 전극체(40)의 축선 방향 선단측으로부터 권회 전극체(40)의 외부로 방출된 가스(G)를, 축심(145)의 축 구멍(145j)을 통해, 밸브 개방된 안전 밸브(63)로부터 전지(100)의 외부로 배출할 수 있다. 이에 의해, 안전 밸브(63)가 밸브 개방되었을 때에는, 전지(100) 내 중 권회 전극체(40)의 축선 방향 선단측의 공간(S1) 내에 대해서도, 압력을 저하시킬 수 있어, 과승압으로 되는 것을 방지할 수 있다.
또한, 도 16의 하방에 화살표로 나타내는 바와 같이, 권회 전극체(40)의 발전부(42)의 축선 방향 후단측(도 16에 있어서 하단측)으로부터 발전부(42)의 외부[제2 권회부(46)의 간극]로 방출된 가스(G)를, 축심(145)의 절결부(45m)를 통해, 축심(145)의 축 구멍(145j) 내에 도입할 수 있다. 따라서, 전지(100)의 내압[전지 케이스(60)의 내압]이 상승하여 안전 밸브(63)가 밸브 개방(개열)되었을 때에는, 도 16에 화살표로 나타내는 바와 같이, 권회 전극체(40)의 발전부(42)의 축선 방향 후단측으로부터 발전부(42)의 외부[제2 권회부(46)의 간극]로 방출된 가스(G)에 대해서도, 축심(145)의 축 구멍(145j)을 통해, 밸브 개방된 안전 밸브(63)로부터 전지(100)의 외부로 배출할 수 있다.
또한, 본 제2 실시예의 전지(100)에서도, 제1 실시예의 전지(1)와 마찬가지로, 제1 권회부(44) 중, 집전 접합부(45d)에 대해 축심(145)의 직경 방향 외측[도 14에 있어서 집전 접합부(45d)의 좌측]에 위치하는 부위[권회 용접부(44b)]를 겹쳐, 집전 접합부(45d)에 용접(본 제2 실시예에서도, 초음파 용접)하고 있다. 환언하면, 제1 권회부(44) 중, 집전 접합부(45d)에 대해 축심(145)의 직경 방향 외측에 위치하는 부위가, 겹쳐진 상태에서 집전 접합부(45d)에 용접되어 있다.
이와 같이, 리드선을 개재시키는 일 없이, 제1 전극판(10)[상세하게는, 제1 권회부(44)]을 직접, 집전부(145b)[집전 접합부(45d)]에 용접함으로써, 제1 전극판(10)과 집전부(145b) 사이의 전기 저항을 작게 할 수 있다.
또한, 제1 권회부(44) 중 집전 접합부(45d)에 대해 축심(145)의 직경 방향 외측에 위치하는 부위[권회 용접부(44b)]를 겹치고 있으므로, 제1 전극판(10)과 집전부(145b) 사이의 집전 경로를 짧게 할 수 있고, 또한 집전 경로를 증대[제1 권회부(44)의 권회수 50까지 증대]시킬 수 있다. 이에 의해, 제1 전극판(10)과 집전부(145b) 사이의 전기 저항을 한층 더 작게 할 수 있다.
또한, 본 제2 실시예의 전지(100)에서도, 종래의 전지(예를 들어, 특허문헌 1의 전지)에 비해, 제1 전극판(10)과 집전부(145b) 사이의 전기적 접속에 리드선을 사용하지 않는 만큼, 부품 개수를 삭감할 수 있다. 또한, 본 제2 실시예의 전지(100)에서도, 축심(145)이 집전부(145b)를 포함하고 있으므로[집전부(145b)를 축심(145)의 일부로 하고 있으므로], 종래의 전지(예를 들어, 특허문헌 1의 전지)와 같이, 축심과 집전부(집전판)를 별개의 부품으로 하는 경우에 비해, 부품 개수를 삭감할 수 있다.
또한, 본 제2 실시예의 전지(100)에서도, 집전 접합부(45d)를 평탄 형상으로 하고 있다. 이로 인해, 권회 용접부(44b)를 겹쳐 집전 접합부(45d)에 용접할 때, 양자[권회 용접부(44b)와 집전 접합부(45d)]를 적절하게 용접(접합)할 수 있다. 구체적으로는, 초음파 용접에 의해, 권회 용접부(44b)를 집전 접합부(45d)에 용접할 때, 앤빌(82)의 압박부(82b)와 초음파 혼(81)의 압박부(81b)에 의해, 원호 형상의 집전 접합부와 권회 용접부를 압접하는 경우보다도, 평탄 형상의 집전 접합부(45d)와 권회 용접부(44b)를 압접하는 경우의 쪽이, 양자를 적절하게(충분히) 압접할 수 있으므로, 양자를 적절하게(충분히) 용접할 수 있다.
이상에 있어서, 본 발명을 제1, 제2 실시예에 입각하여 설명하였지만, 본 발명은 상기 실시예에 한정되는 것은 아니며, 그 요지를 일탈하지 않는 범위에서, 적절하게 변경하여 적용할 수 있는 것은 물론이다.
1, 100 : 전지
10 : 제1 전극판
13 : 제1 활물질 미도포 시공부
20 : 제2 전극판
23 : 제2 활물질 미도포 시공부
30 : 세퍼레이터
40 : 권회 전극체
42 : 발전부
44 : 제1 권회부
45, 145 : 축심
45b, 145b : 집전부
45d : 집전 접합부
45h : 관통 구멍
45j, 145j : 축 구멍
45t, 145t : 돌출부
46 : 제2 권회부
61 : 케이스 본체
62 : 덮개 부재
62b : 삽입 구멍
63 : 안전 밸브
145h : 절결부

Claims (3)

  1. 축선 방향으로 연장되는 축 구멍을 갖는 원통 형상의 축심과,
    제1 전극판, 제2 전극판 및 세퍼레이터를 상기 축심의 외주에 권회하여 이루어지는 권회 전극체이며,
    상기 축선 방향에 대해 상기 권회 전극체의 선단부를 이루고, 상기 제1 전극판의 제1 활물질 미도포 시공부가 권회되어 이루어지는 제1 권회부,
    상기 축선 방향에 대해 상기 권회 전극체의 후단부를 이루고, 상기 제2 전극판의 제2 활물질 미도포 시공부가 권회되어 이루어지는 제2 권회부 및
    상기 축선 방향에 대해 상기 제1 권회부와 상기 제2 권회부 사이에 위치하고, 상기 제1 전극판과 상기 제2 전극판과 상기 세퍼레이터가 권회되어 이루어지는 발전부를 갖는 권회 전극체를 구비하는 전지이며,
    상기 축심은, 금속제의 집전부이며, 상기 제1 권회부 또는 상기 제2 권회부와 접합하는 집전 접합부를 포함하는 집전부를 갖고,
    상기 제1 권회부 또는 상기 제2 권회부 중 상기 집전 접합부에 대해 상기 축심의 직경 방향 외측에 위치하는 부위를 겹쳐, 상기 집전 접합부에 용접하여 이루어지는, 전지.
  2. 제1항에 있어서, 상기 집전 접합부는, 평탄 형상인, 전지.
  3. 제1항 또는 제2항에 있어서, 상기 권회 전극체를 수용하는 바닥이 있는 통 형상의 케이스 본체와,
    상기 케이스 본체의 개구를 폐색하는 덮개 부재이며, 상기 권회 전극체가 권회되어 이루어지는 상기 축심 중 상기 권회 전극체로부터 축선 방향 선단측으로 돌출되는 돌출부가 삽입되는 삽입 구멍을 갖는 덮개 부재와,
    상기 돌출부의 선단측 개구를 폐색하는 안전 밸브이며, 상기 전지의 내압이 소정의 밸브 개방압에 도달한 경우에 밸브 개방하여, 상기 전지 내에 있어서 상기 축심의 상기 축 구멍 내에 도입된 가스를, 상기 축 구멍을 통해 당해 안전 밸브로부터 전지 외부로 배출하는 안전 밸브를 구비하고,
    상기 축심의 상기 돌출부는, 상기 덮개 부재보다도 상기 축선 방향 후단측의 위치에서 당해 돌출부를 이루는 벽부를 관통하는 관통 구멍, 또는 자신의 선단으로부터 상기 덮개 부재보다도 상기 축선 방향 후단측의 위치까지 당해 돌출부를 이루는 벽부를 절결한 절결부를 갖는, 전지.
KR1020117030459A 2009-12-25 2010-07-08 전지 Active KR101166661B1 (ko)

Applications Claiming Priority (3)

Application Number Priority Date Filing Date Title
JP2009294134A JP4780231B2 (ja) 2009-12-25 2009-12-25 電池
JPJP-P-2009-294134 2009-12-25
PCT/JP2010/061597 WO2011077775A1 (ja) 2009-12-25 2010-07-08 電池

Publications (2)

Publication Number Publication Date
KR20120052902A true KR20120052902A (ko) 2012-05-24
KR101166661B1 KR101166661B1 (ko) 2012-07-18

Family

ID=44195324

Family Applications (1)

Application Number Title Priority Date Filing Date
KR1020117030459A Active KR101166661B1 (ko) 2009-12-25 2010-07-08 전지

Country Status (5)

Country Link
US (1) US8852771B2 (ko)
JP (1) JP4780231B2 (ko)
KR (1) KR101166661B1 (ko)
CN (1) CN102549810A (ko)
WO (1) WO2011077775A1 (ko)

Cited By (1)

* Cited by examiner, † Cited by third party
Publication number Priority date Publication date Assignee Title
US10256455B2 (en) 2015-10-02 2019-04-09 Samsung Sdi Co., Ltd. Secondary battery

Families Citing this family (20)

* Cited by examiner, † Cited by third party
Publication number Priority date Publication date Assignee Title
JP5510051B2 (ja) * 2010-05-13 2014-06-04 トヨタ自動車株式会社 電池、車両及び電池搭載機器
JP5598988B2 (ja) * 2011-01-21 2014-10-01 日立オートモティブシステムズ株式会社 捲回式電池
JP6127967B2 (ja) * 2011-02-24 2017-05-17 日立化成株式会社 二次電池及びリチウムイオン電池
US9130223B2 (en) 2012-04-26 2015-09-08 Medtronic, Inc. Mandrel for electrode assemblies
US9356264B2 (en) 2012-04-26 2016-05-31 Medtronic, Inc. Electrode assemblies including a mandrel and at least one insulative portion
US8778521B2 (en) 2012-04-26 2014-07-15 Medtronic, Inc. Mandrel for electrode assemblies
KR102069150B1 (ko) * 2013-03-26 2020-01-23 에스케이이노베이션 주식회사 이차전지용 집전체 및 이를 포함하는 이차전지
CN103579669B (zh) * 2013-11-22 2015-08-05 江苏风迅新能源科技有限公司 一种大容量圆柱形或方形锂离子电池
CN105849840B (zh) * 2013-12-26 2018-12-18 日立化成株式会社 电容器
DE112015000539T5 (de) * 2014-01-28 2016-11-03 A123 Systems, LLC Zylindrische elektrochemische zellen und verfahren zur herstellung
CN104577190A (zh) * 2014-12-30 2015-04-29 山东精工电子科技有限公司 一种钢壳圆柱锂离子电池及其制备方法
KR102417637B1 (ko) * 2015-10-02 2022-07-06 삼성에스디아이 주식회사 이차 전지
KR102355109B1 (ko) * 2017-12-21 2022-01-25 주식회사 엘지에너지솔루션 용접용 기둥을 포함하는 원통형 이차전지
WO2019218283A1 (zh) * 2018-05-16 2019-11-21 深圳前海优容科技有限公司 一种电池与电子装置
KR102480958B1 (ko) * 2018-10-05 2022-12-23 주식회사 엘지에너지솔루션 이차전지
CN111244381A (zh) * 2020-03-05 2020-06-05 清华大学 一种全极耳型纽扣电池及其制造方法
JPWO2022181338A1 (ko) * 2021-02-26 2022-09-01
EP4318772A4 (en) * 2021-12-01 2024-07-31 Contemporary Amperex Technology Co., Limited BATTERY CELL, BATTERY, ELECTRICAL APPARATUS, AND MANUFACTURING METHOD AND APPARATUS FOR BATTERY CELL
EP4235885A1 (en) * 2022-02-23 2023-08-30 Branson Ultraschall Niederlassung der Emerson Technologies GmbH & Co. oHG Manufacturing method of an intermediate product for a battery cell, intermediate product for a battery cell and ultrasonic device for manufacturing the intermediate product
WO2025204963A1 (ja) * 2024-03-27 2025-10-02 パナソニックIpマネジメント株式会社 二次電池

Family Cites Families (12)

* Cited by examiner, † Cited by third party
Publication number Priority date Publication date Assignee Title
US5523178A (en) * 1992-12-14 1996-06-04 Nippondenso Co., Ltd. Chemical cell
JP4192291B2 (ja) * 1998-06-16 2008-12-10 株式会社デンソー 巻回電極電池
JP3733403B2 (ja) * 1999-02-04 2006-01-11 トヨタ自動車株式会社 電極捲回型電池
JP2000268803A (ja) * 1999-03-19 2000-09-29 Nec Corp 非水電解液二次電池
JP4003377B2 (ja) * 2000-06-14 2007-11-07 新神戸電機株式会社 非水電解液二次電池
JP3627645B2 (ja) 2000-10-24 2005-03-09 新神戸電機株式会社 リチウム二次電池
JP2002222666A (ja) * 2001-01-25 2002-08-09 Ngk Insulators Ltd リチウム二次電池
JP4433650B2 (ja) * 2001-10-03 2010-03-17 日本碍子株式会社 リチウム二次単電池及びリチウム二次単電池の接続構造体
JP4207451B2 (ja) 2002-04-19 2009-01-14 パナソニック株式会社 円筒型リチウムイオン二次電池およびその製造方法
JP4315231B2 (ja) 2008-01-22 2009-08-19 トヨタ自動車株式会社 電池の製造方法
JP2009181812A (ja) * 2008-01-30 2009-08-13 Toyota Motor Corp 捲回型電池およびその製造方法
KR100971744B1 (ko) * 2008-05-07 2010-07-21 삼성에스디아이 주식회사 이차 전지

Cited By (1)

* Cited by examiner, † Cited by third party
Publication number Priority date Publication date Assignee Title
US10256455B2 (en) 2015-10-02 2019-04-09 Samsung Sdi Co., Ltd. Secondary battery

Also Published As

Publication number Publication date
JP2011134641A (ja) 2011-07-07
JP4780231B2 (ja) 2011-09-28
CN102549810A (zh) 2012-07-04
US20120251854A1 (en) 2012-10-04
WO2011077775A1 (ja) 2011-06-30
KR101166661B1 (ko) 2012-07-18
US8852771B2 (en) 2014-10-07

Similar Documents

Publication Publication Date Title
KR101166661B1 (ko) 전지
JP4436587B2 (ja) 電池及び組電池
JP6093874B2 (ja) 角形二次電池
JP5011664B2 (ja) 密閉型二次電池
JP5081932B2 (ja) 密閉型電池およびその製造方法
JP5337586B2 (ja) 密閉型電池および密閉型電池の製造方法
JP2012028246A (ja) 二次電池
JP2016225014A (ja) 円筒形二次電池
EP2136425A1 (en) Rechargeable Battery and Manufacturing Method thereof
US12176580B2 (en) Secondary battery and method for manufacturing same
JP5418261B2 (ja) 電池及びその製造方法
JP7088008B2 (ja) 二次電池及びその製造方法
JP5510051B2 (ja) 電池、車両及び電池搭載機器
JP2018018691A (ja) 二次電池及びその製造方法、並びにそれを用いた組電池
JP6935798B2 (ja) 二次電池の製造方法
KR101173865B1 (ko) 이차 전지
JP2016091670A (ja) 円筒形二次電池
KR101257633B1 (ko) 전지의 제조 방법
JP2001155711A (ja) 電気エネルギー蓄積デバイス
JP6870316B2 (ja) 角形二次電池及びその製造方法
JP2005071677A (ja) 電池及びこれを用いた電池ユニット
JP6133680B2 (ja) 角形二次電池
JP5158435B2 (ja) 電池及びその製造方法
JPWO2020137714A1 (ja) 二次電池
JP7443321B2 (ja) 二次電池および組電池、ならびにその製造方法

Legal Events

Date Code Title Description
A201 Request for examination
A302 Request for accelerated examination
PA0105 International application

Patent event date: 20111220

Patent event code: PA01051R01D

Comment text: International Patent Application

PA0201 Request for examination

Patent event code: PA02012R01D

Patent event date: 20111220

Comment text: Request for Examination of Application

PA0302 Request for accelerated examination

Patent event date: 20111220

Patent event code: PA03022R01D

Comment text: Request for Accelerated Examination

PG1501 Laying open of application
E701 Decision to grant or registration of patent right
PE0701 Decision of registration

Patent event code: PE07011S01D

Comment text: Decision to Grant Registration

Patent event date: 20120628

GRNT Written decision to grant
PR0701 Registration of establishment

Comment text: Registration of Establishment

Patent event date: 20120711

Patent event code: PR07011E01D

PR1002 Payment of registration fee

Payment date: 20120711

End annual number: 3

Start annual number: 1

PG1601 Publication of registration
FPAY Annual fee payment

Payment date: 20150618

Year of fee payment: 4

PR1001 Payment of annual fee

Payment date: 20150618

Start annual number: 4

End annual number: 4

FPAY Annual fee payment

Payment date: 20160617

Year of fee payment: 5

PR1001 Payment of annual fee

Payment date: 20160617

Start annual number: 5

End annual number: 5

FPAY Annual fee payment

Payment date: 20170616

Year of fee payment: 6

PR1001 Payment of annual fee

Payment date: 20170616

Start annual number: 6

End annual number: 6

FPAY Annual fee payment

Payment date: 20180619

Year of fee payment: 7

PR1001 Payment of annual fee

Payment date: 20180619

Start annual number: 7

End annual number: 7

PR1001 Payment of annual fee

Payment date: 20200622

Start annual number: 9

End annual number: 9

PR1001 Payment of annual fee

Payment date: 20220620

Start annual number: 11

End annual number: 11

PR1001 Payment of annual fee

Payment date: 20230620

Start annual number: 12

End annual number: 12

PR1001 Payment of annual fee

Payment date: 20240620

Start annual number: 13

End annual number: 13

PR1001 Payment of annual fee

Payment date: 20250618

Start annual number: 14

End annual number: 14