JP7608828B2 - 記録方法及び記録装置 - Google Patents
記録方法及び記録装置 Download PDFInfo
- Publication number
- JP7608828B2 JP7608828B2 JP2020219289A JP2020219289A JP7608828B2 JP 7608828 B2 JP7608828 B2 JP 7608828B2 JP 2020219289 A JP2020219289 A JP 2020219289A JP 2020219289 A JP2020219289 A JP 2020219289A JP 7608828 B2 JP7608828 B2 JP 7608828B2
- Authority
- JP
- Japan
- Prior art keywords
- white ink
- recording
- ink composition
- recording medium
- white
- Prior art date
- Legal status (The legal status is an assumption and is not a legal conclusion. Google has not performed a legal analysis and makes no representation as to the accuracy of the status listed.)
- Active
Links
- 238000000034 method Methods 0.000 title claims description 191
- 239000000203 mixture Substances 0.000 claims description 306
- 239000003086 colorant Substances 0.000 claims description 63
- 239000000463 material Substances 0.000 claims description 43
- 230000008569 process Effects 0.000 claims description 41
- 230000007246 mechanism Effects 0.000 claims description 37
- 238000004040 coloring Methods 0.000 claims description 30
- 239000003960 organic solvent Substances 0.000 claims description 29
- 239000002904 solvent Substances 0.000 claims description 25
- XLYOFNOQVPJJNP-UHFFFAOYSA-N water Substances O XLYOFNOQVPJJNP-UHFFFAOYSA-N 0.000 claims description 25
- 238000000151 deposition Methods 0.000 claims description 24
- QJGQUHMNIGDVPM-UHFFFAOYSA-N nitrogen group Chemical group [N] QJGQUHMNIGDVPM-UHFFFAOYSA-N 0.000 claims description 19
- 238000010521 absorption reaction Methods 0.000 claims description 15
- 229920005862 polyol Polymers 0.000 claims description 15
- 150000003077 polyols Chemical class 0.000 claims description 15
- 238000009835 boiling Methods 0.000 claims description 12
- 239000000976 ink Substances 0.000 description 510
- 238000007639 printing Methods 0.000 description 90
- 229920005989 resin Polymers 0.000 description 68
- 239000011347 resin Substances 0.000 description 68
- 239000002245 particle Substances 0.000 description 45
- 239000000049 pigment Substances 0.000 description 39
- 238000001035 drying Methods 0.000 description 33
- 230000032258 transport Effects 0.000 description 33
- 239000000047 product Substances 0.000 description 31
- 239000000839 emulsion Substances 0.000 description 30
- -1 wallpaper Substances 0.000 description 28
- 239000001993 wax Substances 0.000 description 27
- 238000010438 heat treatment Methods 0.000 description 25
- 239000002270 dispersing agent Substances 0.000 description 23
- 239000010410 layer Substances 0.000 description 20
- PPBRXRYQALVLMV-UHFFFAOYSA-N Styrene Chemical compound C=CC1=CC=CC=C1 PPBRXRYQALVLMV-UHFFFAOYSA-N 0.000 description 18
- 238000011156 evaluation Methods 0.000 description 17
- 229920001577 copolymer Polymers 0.000 description 16
- 239000000126 substance Substances 0.000 description 16
- 238000005299 abrasion Methods 0.000 description 15
- 239000006185 dispersion Substances 0.000 description 15
- 239000000178 monomer Substances 0.000 description 15
- 239000004094 surface-active agent Substances 0.000 description 15
- 239000004925 Acrylic resin Substances 0.000 description 14
- 229920000178 Acrylic resin Polymers 0.000 description 14
- LYCAIKOWRPUZTN-UHFFFAOYSA-N ethylene glycol Natural products OCCO LYCAIKOWRPUZTN-UHFFFAOYSA-N 0.000 description 14
- 239000000123 paper Substances 0.000 description 14
- 229920002803 thermoplastic polyurethane Polymers 0.000 description 14
- 150000001875 compounds Chemical class 0.000 description 13
- GWEVSGVZZGPLCZ-UHFFFAOYSA-N Titan oxide Chemical compound O=[Ti]=O GWEVSGVZZGPLCZ-UHFFFAOYSA-N 0.000 description 12
- NIXOWILDQLNWCW-UHFFFAOYSA-N acrylic acid group Chemical group C(C=C)(=O)O NIXOWILDQLNWCW-UHFFFAOYSA-N 0.000 description 12
- 239000007788 liquid Substances 0.000 description 12
- 125000004432 carbon atom Chemical group C* 0.000 description 9
- 230000008021 deposition Effects 0.000 description 9
- 230000006870 function Effects 0.000 description 9
- WGCNASOHLSPBMP-UHFFFAOYSA-N hydroxyacetaldehyde Natural products OCC=O WGCNASOHLSPBMP-UHFFFAOYSA-N 0.000 description 9
- OKTJSMMVPCPJKN-UHFFFAOYSA-N Carbon Chemical compound [C] OKTJSMMVPCPJKN-UHFFFAOYSA-N 0.000 description 8
- 230000002457 bidirectional effect Effects 0.000 description 8
- 238000011161 development Methods 0.000 description 8
- 150000003839 salts Chemical class 0.000 description 8
- 238000007664 blowing Methods 0.000 description 7
- 238000010586 diagram Methods 0.000 description 7
- 239000010408 film Substances 0.000 description 7
- HNJBEVLQSNELDL-UHFFFAOYSA-N pyrrolidin-2-one Chemical compound O=C1CCCN1 HNJBEVLQSNELDL-UHFFFAOYSA-N 0.000 description 7
- 229920005792 styrene-acrylic resin Polymers 0.000 description 7
- 238000009423 ventilation Methods 0.000 description 7
- 229920002126 Acrylic acid copolymer Polymers 0.000 description 6
- 241000557626 Corvus corax Species 0.000 description 6
- 241000721047 Danaus plexippus Species 0.000 description 6
- PEDCQBHIVMGVHV-UHFFFAOYSA-N Glycerine Chemical compound OCC(O)CO PEDCQBHIVMGVHV-UHFFFAOYSA-N 0.000 description 6
- 239000002250 absorbent Substances 0.000 description 6
- 230000015572 biosynthetic process Effects 0.000 description 6
- MTHSVFCYNBDYFN-UHFFFAOYSA-N diethylene glycol Chemical compound OCCOCCO MTHSVFCYNBDYFN-UHFFFAOYSA-N 0.000 description 6
- 239000002985 plastic film Substances 0.000 description 6
- 150000005846 sugar alcohols Polymers 0.000 description 6
- 238000012360 testing method Methods 0.000 description 6
- 229920002554 vinyl polymer Polymers 0.000 description 6
- 239000004698 Polyethylene Substances 0.000 description 5
- DNIAPMSPPWPWGF-UHFFFAOYSA-N Propylene glycol Chemical compound CC(O)CO DNIAPMSPPWPWGF-UHFFFAOYSA-N 0.000 description 5
- VYPSYNLAJGMNEJ-UHFFFAOYSA-N Silicium dioxide Chemical compound O=[Si]=O VYPSYNLAJGMNEJ-UHFFFAOYSA-N 0.000 description 5
- 150000001335 aliphatic alkanes Chemical class 0.000 description 5
- 125000000217 alkyl group Chemical group 0.000 description 5
- 230000000052 comparative effect Effects 0.000 description 5
- 238000005137 deposition process Methods 0.000 description 5
- 239000000975 dye Substances 0.000 description 5
- 238000005516 engineering process Methods 0.000 description 5
- 238000005259 measurement Methods 0.000 description 5
- 125000002496 methyl group Chemical group [H]C([H])([H])* 0.000 description 5
- 229920003023 plastic Polymers 0.000 description 5
- 229920006255 plastic film Polymers 0.000 description 5
- 229920000573 polyethylene Polymers 0.000 description 5
- 229920000642 polymer Polymers 0.000 description 5
- 229920001296 polysiloxane Polymers 0.000 description 5
- 229920002635 polyurethane Polymers 0.000 description 5
- 239000004814 polyurethane Substances 0.000 description 5
- 238000002360 preparation method Methods 0.000 description 5
- 239000007787 solid Substances 0.000 description 5
- 235000010215 titanium dioxide Nutrition 0.000 description 5
- 239000004408 titanium dioxide Substances 0.000 description 5
- 125000000391 vinyl group Chemical group [H]C([*])=C([H])[H] 0.000 description 5
- PUPZLCDOIYMWBV-UHFFFAOYSA-N (+/-)-1,3-Butanediol Chemical compound CC(O)CCO PUPZLCDOIYMWBV-UHFFFAOYSA-N 0.000 description 4
- MCMNRKCIXSYSNV-UHFFFAOYSA-N Zirconium dioxide Chemical compound O=[Zr]=O MCMNRKCIXSYSNV-UHFFFAOYSA-N 0.000 description 4
- 230000002745 absorbent Effects 0.000 description 4
- 238000003491 array Methods 0.000 description 4
- DQXBYHZEEUGOBF-UHFFFAOYSA-N but-3-enoic acid;ethene Chemical compound C=C.OC(=O)CC=C DQXBYHZEEUGOBF-UHFFFAOYSA-N 0.000 description 4
- 235000013877 carbamide Nutrition 0.000 description 4
- 238000001816 cooling Methods 0.000 description 4
- 150000003950 cyclic amides Chemical class 0.000 description 4
- 230000000694 effects Effects 0.000 description 4
- 239000005038 ethylene vinyl acetate Substances 0.000 description 4
- 239000004744 fabric Substances 0.000 description 4
- 230000004048 modification Effects 0.000 description 4
- 238000012986 modification Methods 0.000 description 4
- 239000012785 packaging film Substances 0.000 description 4
- 229920006280 packaging film Polymers 0.000 description 4
- 239000004033 plastic Substances 0.000 description 4
- BASFCYQUMIYNBI-UHFFFAOYSA-N platinum Chemical compound [Pt] BASFCYQUMIYNBI-UHFFFAOYSA-N 0.000 description 4
- 229920001200 poly(ethylene-vinyl acetate) Polymers 0.000 description 4
- 229920000139 polyethylene terephthalate Polymers 0.000 description 4
- 239000005020 polyethylene terephthalate Substances 0.000 description 4
- 239000000758 substrate Substances 0.000 description 4
- 229920003067 (meth)acrylic acid ester copolymer Polymers 0.000 description 3
- 229920005692 JONCRYL® Polymers 0.000 description 3
- 239000004743 Polypropylene Substances 0.000 description 3
- XSQUKJJJFZCRTK-UHFFFAOYSA-N Urea Chemical compound NC(N)=O XSQUKJJJFZCRTK-UHFFFAOYSA-N 0.000 description 3
- BZHJMEDXRYGGRV-UHFFFAOYSA-N Vinyl chloride Chemical compound ClC=C BZHJMEDXRYGGRV-UHFFFAOYSA-N 0.000 description 3
- 239000002253 acid Substances 0.000 description 3
- 150000001412 amines Chemical class 0.000 description 3
- 229910052799 carbon Inorganic materials 0.000 description 3
- 239000006229 carbon black Substances 0.000 description 3
- 235000019241 carbon black Nutrition 0.000 description 3
- 230000008859 change Effects 0.000 description 3
- 125000004122 cyclic group Chemical group 0.000 description 3
- 238000009826 distribution Methods 0.000 description 3
- 238000009459 flexible packaging Methods 0.000 description 3
- 125000000524 functional group Chemical group 0.000 description 3
- 230000009477 glass transition Effects 0.000 description 3
- 235000011187 glycerol Nutrition 0.000 description 3
- 125000002887 hydroxy group Chemical group [H]O* 0.000 description 3
- 239000012535 impurity Substances 0.000 description 3
- 239000003112 inhibitor Substances 0.000 description 3
- 229910052757 nitrogen Inorganic materials 0.000 description 3
- 230000000149 penetrating effect Effects 0.000 description 3
- 235000019271 petrolatum Nutrition 0.000 description 3
- 229920001225 polyester resin Polymers 0.000 description 3
- 239000004645 polyester resin Substances 0.000 description 3
- 229920000098 polyolefin Polymers 0.000 description 3
- 229920005672 polyolefin resin Polymers 0.000 description 3
- 229920001155 polypropylene Polymers 0.000 description 3
- 239000004800 polyvinyl chloride Substances 0.000 description 3
- 229920000915 polyvinyl chloride Polymers 0.000 description 3
- 238000003892 spreading Methods 0.000 description 3
- 230000007480 spreading Effects 0.000 description 3
- 238000010998 test method Methods 0.000 description 3
- 238000011144 upstream manufacturing Methods 0.000 description 3
- 150000003672 ureas Chemical class 0.000 description 3
- 238000009736 wetting Methods 0.000 description 3
- ARXJGSRGQADJSQ-UHFFFAOYSA-N 1-methoxypropan-2-ol Chemical compound COCC(C)O ARXJGSRGQADJSQ-UHFFFAOYSA-N 0.000 description 2
- LXOFYPKXCSULTL-UHFFFAOYSA-N 2,4,7,9-tetramethyldec-5-yne-4,7-diol Chemical compound CC(C)CC(C)(O)C#CC(C)(O)CC(C)C LXOFYPKXCSULTL-UHFFFAOYSA-N 0.000 description 2
- ZEAWONUXVAHDFE-UHFFFAOYSA-N 2-(2-acetyloxyethoxy)ethyl butanoate Chemical compound CCCC(=O)OCCOCCOC(C)=O ZEAWONUXVAHDFE-UHFFFAOYSA-N 0.000 description 2
- XNWFRZJHXBZDAG-UHFFFAOYSA-N 2-METHOXYETHANOL Chemical compound COCCO XNWFRZJHXBZDAG-UHFFFAOYSA-N 0.000 description 2
- JTXMVXSTHSMVQF-UHFFFAOYSA-N 2-acetyloxyethyl acetate Chemical compound CC(=O)OCCOC(C)=O JTXMVXSTHSMVQF-UHFFFAOYSA-N 0.000 description 2
- SVTBMSDMJJWYQN-UHFFFAOYSA-N 2-methylpentane-2,4-diol Chemical compound CC(O)CC(C)(C)O SVTBMSDMJJWYQN-UHFFFAOYSA-N 0.000 description 2
- LBVMWHCOFMFPEG-UHFFFAOYSA-N 3-methoxy-n,n-dimethylpropanamide Chemical compound COCCC(=O)N(C)C LBVMWHCOFMFPEG-UHFFFAOYSA-N 0.000 description 2
- YEJRWHAVMIAJKC-UHFFFAOYSA-N 4-Butyrolactone Chemical compound O=C1CCCO1 YEJRWHAVMIAJKC-UHFFFAOYSA-N 0.000 description 2
- OZJPLYNZGCXSJM-UHFFFAOYSA-N 5-valerolactone Chemical compound O=C1CCCCO1 OZJPLYNZGCXSJM-UHFFFAOYSA-N 0.000 description 2
- NLXLAEXVIDQMFP-UHFFFAOYSA-N Ammonium chloride Substances [NH4+].[Cl-] NLXLAEXVIDQMFP-UHFFFAOYSA-N 0.000 description 2
- VHUUQVKOLVNVRT-UHFFFAOYSA-N Ammonium hydroxide Chemical compound [NH4+].[OH-] VHUUQVKOLVNVRT-UHFFFAOYSA-N 0.000 description 2
- VTYYLEPIZMXCLO-UHFFFAOYSA-L Calcium carbonate Chemical compound [Ca+2].[O-]C([O-])=O VTYYLEPIZMXCLO-UHFFFAOYSA-L 0.000 description 2
- FBPFZTCFMRRESA-JGWLITMVSA-N D-glucitol Chemical compound OC[C@H](O)[C@@H](O)[C@H](O)[C@H](O)CO FBPFZTCFMRRESA-JGWLITMVSA-N 0.000 description 2
- SRBFZHDQGSBBOR-IOVATXLUSA-N D-xylopyranose Chemical compound O[C@@H]1COC(O)[C@H](O)[C@H]1O SRBFZHDQGSBBOR-IOVATXLUSA-N 0.000 description 2
- VLSVVMPLPMNWBH-UHFFFAOYSA-N Dihydro-5-propyl-2(3H)-furanone Chemical compound CCCC1CCC(=O)O1 VLSVVMPLPMNWBH-UHFFFAOYSA-N 0.000 description 2
- XTHFKEDIFFGKHM-UHFFFAOYSA-N Dimethoxyethane Chemical compound COCCOC XTHFKEDIFFGKHM-UHFFFAOYSA-N 0.000 description 2
- YCKRFDGAMUMZLT-UHFFFAOYSA-N Fluorine atom Chemical compound [F] YCKRFDGAMUMZLT-UHFFFAOYSA-N 0.000 description 2
- MHAJPDPJQMAIIY-UHFFFAOYSA-N Hydrogen peroxide Chemical compound OO MHAJPDPJQMAIIY-UHFFFAOYSA-N 0.000 description 2
- CERQOIWHTDAKMF-UHFFFAOYSA-N Methacrylic acid Chemical compound CC(=C)C(O)=O CERQOIWHTDAKMF-UHFFFAOYSA-N 0.000 description 2
- PXHVJJICTQNCMI-UHFFFAOYSA-N Nickel Chemical compound [Ni] PXHVJJICTQNCMI-UHFFFAOYSA-N 0.000 description 2
- 229920000459 Nitrile rubber Polymers 0.000 description 2
- 239000004793 Polystyrene Substances 0.000 description 2
- RTAQQCXQSZGOHL-UHFFFAOYSA-N Titanium Chemical compound [Ti] RTAQQCXQSZGOHL-UHFFFAOYSA-N 0.000 description 2
- GSEJCLTVZPLZKY-UHFFFAOYSA-N Triethanolamine Chemical compound OCCN(CCO)CCO GSEJCLTVZPLZKY-UHFFFAOYSA-N 0.000 description 2
- SLINHMUFWFWBMU-UHFFFAOYSA-N Triisopropanolamine Chemical compound CC(O)CN(CC(C)O)CC(C)O SLINHMUFWFWBMU-UHFFFAOYSA-N 0.000 description 2
- XLOMVQKBTHCTTD-UHFFFAOYSA-N Zinc monoxide Chemical compound [Zn]=O XLOMVQKBTHCTTD-UHFFFAOYSA-N 0.000 description 2
- ATMLPEJAVWINOF-UHFFFAOYSA-N acrylic acid acrylic acid Chemical compound OC(=O)C=C.OC(=O)C=C ATMLPEJAVWINOF-UHFFFAOYSA-N 0.000 description 2
- 239000000654 additive Substances 0.000 description 2
- HSFWRNGVRCDJHI-UHFFFAOYSA-N alpha-acetylene Natural products C#C HSFWRNGVRCDJHI-UHFFFAOYSA-N 0.000 description 2
- QGZKDVFQNNGYKY-UHFFFAOYSA-N ammonia Natural products N QGZKDVFQNNGYKY-UHFFFAOYSA-N 0.000 description 2
- 235000011114 ammonium hydroxide Nutrition 0.000 description 2
- 239000003429 antifungal agent Substances 0.000 description 2
- 229940121375 antifungal agent Drugs 0.000 description 2
- 239000003963 antioxidant agent Substances 0.000 description 2
- PYMYPHUHKUWMLA-UHFFFAOYSA-N arabinose Natural products OCC(O)C(O)C(O)C=O PYMYPHUHKUWMLA-UHFFFAOYSA-N 0.000 description 2
- 238000000149 argon plasma sintering Methods 0.000 description 2
- TZCXTZWJZNENPQ-UHFFFAOYSA-L barium sulfate Chemical compound [Ba+2].[O-]S([O-])(=O)=O TZCXTZWJZNENPQ-UHFFFAOYSA-L 0.000 description 2
- 239000011324 bead Substances 0.000 description 2
- 230000008901 benefit Effects 0.000 description 2
- SRBFZHDQGSBBOR-UHFFFAOYSA-N beta-D-Pyranose-Lyxose Natural products OC1COC(O)C(O)C1O SRBFZHDQGSBBOR-UHFFFAOYSA-N 0.000 description 2
- 235000019437 butane-1,3-diol Nutrition 0.000 description 2
- WERYXYBDKMZEQL-UHFFFAOYSA-N butane-1,4-diol Chemical compound OCCCCO WERYXYBDKMZEQL-UHFFFAOYSA-N 0.000 description 2
- 239000011575 calcium Substances 0.000 description 2
- 239000013522 chelant Substances 0.000 description 2
- 239000002738 chelating agent Substances 0.000 description 2
- 230000015271 coagulation Effects 0.000 description 2
- 238000005345 coagulation Methods 0.000 description 2
- 239000011362 coarse particle Substances 0.000 description 2
- 239000007859 condensation product Substances 0.000 description 2
- FYTRVXSHONWYNE-UHFFFAOYSA-N delta-octanolide Chemical compound CCCC1CCCC(=O)O1 FYTRVXSHONWYNE-UHFFFAOYSA-N 0.000 description 2
- 239000000986 disperse dye Substances 0.000 description 2
- 239000000428 dust Substances 0.000 description 2
- 150000002148 esters Chemical class 0.000 description 2
- 125000001495 ethyl group Chemical group [H]C([H])([H])C([H])([H])* 0.000 description 2
- XLLIQLLCWZCATF-UHFFFAOYSA-N ethylene glycol monomethyl ether acetate Natural products COCCOC(C)=O XLLIQLLCWZCATF-UHFFFAOYSA-N 0.000 description 2
- 238000001914 filtration Methods 0.000 description 2
- NIHNNTQXNPWCJQ-UHFFFAOYSA-N fluorene Chemical compound C1=CC=C2CC3=CC=CC=C3C2=C1 NIHNNTQXNPWCJQ-UHFFFAOYSA-N 0.000 description 2
- 239000011737 fluorine Substances 0.000 description 2
- 229910052731 fluorine Inorganic materials 0.000 description 2
- GAEKPEKOJKCEMS-UHFFFAOYSA-N gamma-valerolactone Chemical compound CC1CCC(=O)O1 GAEKPEKOJKCEMS-UHFFFAOYSA-N 0.000 description 2
- 230000002209 hydrophobic effect Effects 0.000 description 2
- JEIPFZHSYJVQDO-UHFFFAOYSA-N iron(III) oxide Inorganic materials O=[Fe]O[Fe]=O JEIPFZHSYJVQDO-UHFFFAOYSA-N 0.000 description 2
- 238000010030 laminating Methods 0.000 description 2
- 238000002844 melting Methods 0.000 description 2
- 230000008018 melting Effects 0.000 description 2
- 229910044991 metal oxide Inorganic materials 0.000 description 2
- 150000004706 metal oxides Chemical class 0.000 description 2
- 230000003020 moisturizing effect Effects 0.000 description 2
- 125000005375 organosiloxane group Polymers 0.000 description 2
- 239000012188 paraffin wax Substances 0.000 description 2
- 229910052697 platinum Inorganic materials 0.000 description 2
- 239000004417 polycarbonate Substances 0.000 description 2
- 229920000515 polycarbonate Polymers 0.000 description 2
- 229920000728 polyester Polymers 0.000 description 2
- 229920002223 polystyrene Polymers 0.000 description 2
- 239000003755 preservative agent Substances 0.000 description 2
- 238000012545 processing Methods 0.000 description 2
- HXHCOXPZCUFAJI-UHFFFAOYSA-N prop-2-enoic acid;styrene Chemical compound OC(=O)C=C.C=CC1=CC=CC=C1 HXHCOXPZCUFAJI-UHFFFAOYSA-N 0.000 description 2
- 229960004063 propylene glycol Drugs 0.000 description 2
- 235000013772 propylene glycol Nutrition 0.000 description 2
- 238000013441 quality evaluation Methods 0.000 description 2
- 230000005855 radiation Effects 0.000 description 2
- 238000011084 recovery Methods 0.000 description 2
- 239000000377 silicon dioxide Substances 0.000 description 2
- 235000000346 sugar Nutrition 0.000 description 2
- 150000008163 sugars Chemical class 0.000 description 2
- ZUHZGEOKBKGPSW-UHFFFAOYSA-N tetraglyme Chemical compound COCCOCCOCCOCCOC ZUHZGEOKBKGPSW-UHFFFAOYSA-N 0.000 description 2
- 239000010409 thin film Substances 0.000 description 2
- UMGDCJDMYOKAJW-UHFFFAOYSA-N thiourea Chemical compound NC(N)=S UMGDCJDMYOKAJW-UHFFFAOYSA-N 0.000 description 2
- 229910052719 titanium Inorganic materials 0.000 description 2
- 239000010936 titanium Substances 0.000 description 2
- 239000000984 vat dye Substances 0.000 description 2
- HDTRYLNUVZCQOY-UHFFFAOYSA-N α-D-glucopyranosyl-α-D-glucopyranoside Natural products OC1C(O)C(O)C(CO)OC1OC1C(O)C(O)C(O)C(CO)O1 HDTRYLNUVZCQOY-UHFFFAOYSA-N 0.000 description 1
- DNIAPMSPPWPWGF-VKHMYHEASA-N (+)-propylene glycol Chemical compound C[C@H](O)CO DNIAPMSPPWPWGF-VKHMYHEASA-N 0.000 description 1
- DSEKYWAQQVUQTP-XEWMWGOFSA-N (2r,4r,4as,6as,6as,6br,8ar,12ar,14as,14bs)-2-hydroxy-4,4a,6a,6b,8a,11,11,14a-octamethyl-2,4,5,6,6a,7,8,9,10,12,12a,13,14,14b-tetradecahydro-1h-picen-3-one Chemical compound C([C@H]1[C@]2(C)CC[C@@]34C)C(C)(C)CC[C@]1(C)CC[C@]2(C)[C@H]4CC[C@@]1(C)[C@H]3C[C@@H](O)C(=O)[C@@H]1C DSEKYWAQQVUQTP-XEWMWGOFSA-N 0.000 description 1
- CJKONRHMUGBAQI-YFKPBYRVSA-N (2s)-2-(trimethylazaniumyl)propanoate Chemical compound [O-]C(=O)[C@H](C)[N+](C)(C)C CJKONRHMUGBAQI-YFKPBYRVSA-N 0.000 description 1
- PHIQHXFUZVPYII-ZCFIWIBFSA-N (R)-carnitine Chemical compound C[N+](C)(C)C[C@H](O)CC([O-])=O PHIQHXFUZVPYII-ZCFIWIBFSA-N 0.000 description 1
- AVQQQNCBBIEMEU-UHFFFAOYSA-N 1,1,3,3-tetramethylurea Chemical compound CN(C)C(=O)N(C)C AVQQQNCBBIEMEU-UHFFFAOYSA-N 0.000 description 1
- LZDKZFUFMNSQCJ-UHFFFAOYSA-N 1,2-diethoxyethane Chemical compound CCOCCOCC LZDKZFUFMNSQCJ-UHFFFAOYSA-N 0.000 description 1
- VPBZZPOGZPKYKX-UHFFFAOYSA-N 1,2-diethoxypropane Chemical compound CCOCC(C)OCC VPBZZPOGZPKYKX-UHFFFAOYSA-N 0.000 description 1
- LEEANUDEDHYDTG-UHFFFAOYSA-N 1,2-dimethoxypropane Chemical compound COCC(C)OC LEEANUDEDHYDTG-UHFFFAOYSA-N 0.000 description 1
- 229940015975 1,2-hexanediol Drugs 0.000 description 1
- 229940031723 1,2-octanediol Drugs 0.000 description 1
- CYSGHNMQYZDMIA-UHFFFAOYSA-N 1,3-Dimethyl-2-imidazolidinon Chemical compound CN1CCN(C)C1=O CYSGHNMQYZDMIA-UHFFFAOYSA-N 0.000 description 1
- 229940058015 1,3-butylene glycol Drugs 0.000 description 1
- YPFDHNVEDLHUCE-UHFFFAOYSA-N 1,3-propanediol Substances OCCCO YPFDHNVEDLHUCE-UHFFFAOYSA-N 0.000 description 1
- RYHBNJHYFVUHQT-UHFFFAOYSA-N 1,4-Dioxane Chemical compound C1COCCO1 RYHBNJHYFVUHQT-UHFFFAOYSA-N 0.000 description 1
- CUVLMZNMSPJDON-UHFFFAOYSA-N 1-(1-butoxypropan-2-yloxy)propan-2-ol Chemical compound CCCCOCC(C)OCC(C)O CUVLMZNMSPJDON-UHFFFAOYSA-N 0.000 description 1
- GDXHBFHOEYVPED-UHFFFAOYSA-N 1-(2-butoxyethoxy)butane Chemical compound CCCCOCCOCCCC GDXHBFHOEYVPED-UHFFFAOYSA-N 0.000 description 1
- QWOZZTWBWQMEPD-UHFFFAOYSA-N 1-(2-ethoxypropoxy)propan-2-ol Chemical compound CCOC(C)COCC(C)O QWOZZTWBWQMEPD-UHFFFAOYSA-N 0.000 description 1
- ZFPGARUNNKGOBB-UHFFFAOYSA-N 1-Ethyl-2-pyrrolidinone Chemical compound CCN1CCCC1=O ZFPGARUNNKGOBB-UHFFFAOYSA-N 0.000 description 1
- HYLLZXPMJRMUHH-UHFFFAOYSA-N 1-[2-(2-methoxyethoxy)ethoxy]butane Chemical compound CCCCOCCOCCOC HYLLZXPMJRMUHH-UHFFFAOYSA-N 0.000 description 1
- KTSVVTQTKRGWGU-UHFFFAOYSA-N 1-[2-[2-(2-butoxyethoxy)ethoxy]ethoxy]butane Chemical compound CCCCOCCOCCOCCOCCCC KTSVVTQTKRGWGU-UHFFFAOYSA-N 0.000 description 1
- SNAQINZKMQFYFV-UHFFFAOYSA-N 1-[2-[2-(2-methoxyethoxy)ethoxy]ethoxy]butane Chemical compound CCCCOCCOCCOCCOC SNAQINZKMQFYFV-UHFFFAOYSA-N 0.000 description 1
- MQGIBEAIDUOVOH-UHFFFAOYSA-N 1-[2-[2-[2-(2-butoxyethoxy)ethoxy]ethoxy]ethoxy]butane Chemical compound CCCCOCCOCCOCCOCCOCCCC MQGIBEAIDUOVOH-UHFFFAOYSA-N 0.000 description 1
- KYXOKQMDMUXDJV-UHFFFAOYSA-N 1-acetyloxypropan-2-yl butanoate Chemical compound CCCC(=O)OC(C)COC(C)=O KYXOKQMDMUXDJV-UHFFFAOYSA-N 0.000 description 1
- YRVRIZFSHGBNSC-UHFFFAOYSA-N 1-acetyloxypropan-2-yl propanoate Chemical compound CCC(=O)OC(C)COC(C)=O YRVRIZFSHGBNSC-UHFFFAOYSA-N 0.000 description 1
- RWNUSVWFHDHRCJ-UHFFFAOYSA-N 1-butoxypropan-2-ol Chemical compound CCCCOCC(C)O RWNUSVWFHDHRCJ-UHFFFAOYSA-N 0.000 description 1
- BNXZHVUCNYMNOS-UHFFFAOYSA-N 1-butylpyrrolidin-2-one Chemical compound CCCCN1CCCC1=O BNXZHVUCNYMNOS-UHFFFAOYSA-N 0.000 description 1
- RRQYJINTUHWNHW-UHFFFAOYSA-N 1-ethoxy-2-(2-ethoxyethoxy)ethane Chemical compound CCOCCOCCOCC RRQYJINTUHWNHW-UHFFFAOYSA-N 0.000 description 1
- ZIKLJUUTSQYGQI-UHFFFAOYSA-N 1-ethoxy-2-(2-ethoxypropoxy)propane Chemical compound CCOCC(C)OCC(C)OCC ZIKLJUUTSQYGQI-UHFFFAOYSA-N 0.000 description 1
- CNJRPYFBORAQAU-UHFFFAOYSA-N 1-ethoxy-2-(2-methoxyethoxy)ethane Chemical compound CCOCCOCCOC CNJRPYFBORAQAU-UHFFFAOYSA-N 0.000 description 1
- KIAMPLQEZAMORJ-UHFFFAOYSA-N 1-ethoxy-2-[2-(2-ethoxyethoxy)ethoxy]ethane Chemical compound CCOCCOCCOCCOCC KIAMPLQEZAMORJ-UHFFFAOYSA-N 0.000 description 1
- JOLQKTGDSGKSKJ-UHFFFAOYSA-N 1-ethoxypropan-2-ol Chemical compound CCOCC(C)O JOLQKTGDSGKSKJ-UHFFFAOYSA-N 0.000 description 1
- RERATEUBWLKDFE-UHFFFAOYSA-N 1-methoxy-2-[2-(2-methoxypropoxy)propoxy]propane Chemical compound COCC(C)OCC(C)OCC(C)OC RERATEUBWLKDFE-UHFFFAOYSA-N 0.000 description 1
- DCALJVULAGICIX-UHFFFAOYSA-N 1-propylpyrrolidin-2-one Chemical compound CCCN1CCCC1=O DCALJVULAGICIX-UHFFFAOYSA-N 0.000 description 1
- OWEGMIWEEQEYGQ-UHFFFAOYSA-N 100676-05-9 Natural products OC1C(O)C(O)C(CO)OC1OCC1C(O)C(O)C(O)C(OC2C(OC(O)C(O)C2O)CO)O1 OWEGMIWEEQEYGQ-UHFFFAOYSA-N 0.000 description 1
- RYOCDGDXNMTTTB-UHFFFAOYSA-N 2-(2-acetyloxyethoxy)ethyl propanoate Chemical compound CCC(=O)OCCOCCOC(C)=O RYOCDGDXNMTTTB-UHFFFAOYSA-N 0.000 description 1
- FLPPEMNGWYFRSK-UHFFFAOYSA-N 2-(2-acetyloxypropoxy)propyl acetate Chemical compound CC(=O)OCC(C)OCC(C)OC(C)=O FLPPEMNGWYFRSK-UHFFFAOYSA-N 0.000 description 1
- VXQBJTKSVGFQOL-UHFFFAOYSA-N 2-(2-butoxyethoxy)ethyl acetate Chemical compound CCCCOCCOCCOC(C)=O VXQBJTKSVGFQOL-UHFFFAOYSA-N 0.000 description 1
- FPZWZCWUIYYYBU-UHFFFAOYSA-N 2-(2-ethoxyethoxy)ethyl acetate Chemical compound CCOCCOCCOC(C)=O FPZWZCWUIYYYBU-UHFFFAOYSA-N 0.000 description 1
- SBASXUCJHJRPEV-UHFFFAOYSA-N 2-(2-methoxyethoxy)ethanol Chemical compound COCCOCCO SBASXUCJHJRPEV-UHFFFAOYSA-N 0.000 description 1
- BJINVQNEBGOMCR-UHFFFAOYSA-N 2-(2-methoxyethoxy)ethyl acetate Chemical compound COCCOCCOC(C)=O BJINVQNEBGOMCR-UHFFFAOYSA-N 0.000 description 1
- DRLRGHZJOQGQEC-UHFFFAOYSA-N 2-(2-methoxypropoxy)propyl acetate Chemical compound COC(C)COC(C)COC(C)=O DRLRGHZJOQGQEC-UHFFFAOYSA-N 0.000 description 1
- XYVAYAJYLWYJJN-UHFFFAOYSA-N 2-(2-propoxypropoxy)propan-1-ol Chemical compound CCCOC(C)COC(C)CO XYVAYAJYLWYJJN-UHFFFAOYSA-N 0.000 description 1
- WXZZJKVGEJBSJP-UHFFFAOYSA-N 2-(diethylazaniumyl)butanoate Chemical compound CCC(C(O)=O)N(CC)CC WXZZJKVGEJBSJP-UHFFFAOYSA-N 0.000 description 1
- PJPBBNJBGKXLLH-UHFFFAOYSA-N 2-(dipropylamino)pentanoic acid Chemical compound CCCC(C(O)=O)N(CCC)CCC PJPBBNJBGKXLLH-UHFFFAOYSA-N 0.000 description 1
- RWLALWYNXFYRGW-UHFFFAOYSA-N 2-Ethyl-1,3-hexanediol Chemical compound CCCC(O)C(CC)CO RWLALWYNXFYRGW-UHFFFAOYSA-N 0.000 description 1
- FWLHAQYOFMQTHQ-UHFFFAOYSA-N 2-N-[8-[[8-(4-aminoanilino)-10-phenylphenazin-10-ium-2-yl]amino]-10-phenylphenazin-10-ium-2-yl]-8-N,10-diphenylphenazin-10-ium-2,8-diamine hydroxy-oxido-dioxochromium Chemical compound O[Cr]([O-])(=O)=O.O[Cr]([O-])(=O)=O.O[Cr]([O-])(=O)=O.Nc1ccc(Nc2ccc3nc4ccc(Nc5ccc6nc7ccc(Nc8ccc9nc%10ccc(Nc%11ccccc%11)cc%10[n+](-c%10ccccc%10)c9c8)cc7[n+](-c7ccccc7)c6c5)cc4[n+](-c4ccccc4)c3c2)cc1 FWLHAQYOFMQTHQ-UHFFFAOYSA-N 0.000 description 1
- COBPKKZHLDDMTB-UHFFFAOYSA-N 2-[2-(2-butoxyethoxy)ethoxy]ethanol Chemical compound CCCCOCCOCCOCCO COBPKKZHLDDMTB-UHFFFAOYSA-N 0.000 description 1
- JDSQBDGCMUXRBM-UHFFFAOYSA-N 2-[2-(2-butoxypropoxy)propoxy]propan-1-ol Chemical compound CCCCOC(C)COC(C)COC(C)CO JDSQBDGCMUXRBM-UHFFFAOYSA-N 0.000 description 1
- WFSMVVDJSNMRAR-UHFFFAOYSA-N 2-[2-(2-ethoxyethoxy)ethoxy]ethanol Chemical compound CCOCCOCCOCCO WFSMVVDJSNMRAR-UHFFFAOYSA-N 0.000 description 1
- MXVMODFDROLTFD-UHFFFAOYSA-N 2-[2-[2-(2-butoxyethoxy)ethoxy]ethoxy]ethanol Chemical compound CCCCOCCOCCOCCOCCO MXVMODFDROLTFD-UHFFFAOYSA-N 0.000 description 1
- GTAKOUPXIUWZIA-UHFFFAOYSA-N 2-[2-[2-(2-ethoxyethoxy)ethoxy]ethoxy]ethanol Chemical compound CCOCCOCCOCCOCCO GTAKOUPXIUWZIA-UHFFFAOYSA-N 0.000 description 1
- NXQWPMYZHPFPRY-UHFFFAOYSA-N 2-acetyloxyethyl butanoate Chemical compound CCCC(=O)OCCOC(C)=O NXQWPMYZHPFPRY-UHFFFAOYSA-N 0.000 description 1
- MRWOMAPJRAVONW-UHFFFAOYSA-N 2-acetyloxyethyl propanoate Chemical compound CCC(=O)OCCOC(C)=O MRWOMAPJRAVONW-UHFFFAOYSA-N 0.000 description 1
- POAOYUHQDCAZBD-UHFFFAOYSA-N 2-butoxyethanol Chemical compound CCCCOCCO POAOYUHQDCAZBD-UHFFFAOYSA-N 0.000 description 1
- NQBXSWAWVZHKBZ-UHFFFAOYSA-N 2-butoxyethyl acetate Chemical compound CCCCOCCOC(C)=O NQBXSWAWVZHKBZ-UHFFFAOYSA-N 0.000 description 1
- ZNQVEEAIQZEUHB-UHFFFAOYSA-N 2-ethoxyethanol Chemical compound CCOCCO ZNQVEEAIQZEUHB-UHFFFAOYSA-N 0.000 description 1
- SVONRAPFKPVNKG-UHFFFAOYSA-N 2-ethoxyethyl acetate Chemical compound CCOCCOC(C)=O SVONRAPFKPVNKG-UHFFFAOYSA-N 0.000 description 1
- VNAWKNVDKFZFSU-UHFFFAOYSA-N 2-ethyl-2-methylpropane-1,3-diol Chemical compound CCC(C)(CO)CO VNAWKNVDKFZFSU-UHFFFAOYSA-N 0.000 description 1
- JVZZUPJFERSVRN-UHFFFAOYSA-N 2-methyl-2-propylpropane-1,3-diol Chemical compound CCCC(C)(CO)CO JVZZUPJFERSVRN-UHFFFAOYSA-N 0.000 description 1
- CRWNQZTZTZWPOF-UHFFFAOYSA-N 2-methyl-4-phenylpyridine Chemical compound C1=NC(C)=CC(C=2C=CC=CC=2)=C1 CRWNQZTZTZWPOF-UHFFFAOYSA-N 0.000 description 1
- JQXYBDVZAUEPDL-UHFFFAOYSA-N 2-methylidene-5-phenylpent-4-enoic acid Chemical compound OC(=O)C(=C)CC=CC1=CC=CC=C1 JQXYBDVZAUEPDL-UHFFFAOYSA-N 0.000 description 1
- HZUFHXJTSDPZGB-UHFFFAOYSA-N 2-methylidene-5-phenylpent-4-enoic acid;prop-2-enoic acid Chemical compound OC(=O)C=C.OC(=O)C(=C)CC=CC1=CC=CC=C1 HZUFHXJTSDPZGB-UHFFFAOYSA-N 0.000 description 1
- QWGRWMMWNDWRQN-UHFFFAOYSA-N 2-methylpropane-1,3-diol Chemical compound OCC(C)CO QWGRWMMWNDWRQN-UHFFFAOYSA-N 0.000 description 1
- HCGFUIQPSOCUHI-UHFFFAOYSA-N 2-propan-2-yloxyethanol Chemical compound CC(C)OCCO HCGFUIQPSOCUHI-UHFFFAOYSA-N 0.000 description 1
- HYDWALOBQJFOMS-UHFFFAOYSA-N 3,6,9,12,15-pentaoxaheptadecane Chemical compound CCOCCOCCOCCOCCOCC HYDWALOBQJFOMS-UHFFFAOYSA-N 0.000 description 1
- QCAHUFWKIQLBNB-UHFFFAOYSA-N 3-(3-methoxypropoxy)propan-1-ol Chemical compound COCCCOCCCO QCAHUFWKIQLBNB-UHFFFAOYSA-N 0.000 description 1
- WYLXGFLVKPAASV-UHFFFAOYSA-N 3-butoxy-n,n-diethylpropanamide Chemical compound CCCCOCCC(=O)N(CC)CC WYLXGFLVKPAASV-UHFFFAOYSA-N 0.000 description 1
- LVYXPOCADCXMLP-UHFFFAOYSA-N 3-butoxy-n,n-dimethylpropanamide Chemical compound CCCCOCCC(=O)N(C)C LVYXPOCADCXMLP-UHFFFAOYSA-N 0.000 description 1
- FYGFQAJDFJYPLK-UHFFFAOYSA-N 3-butyloxiran-2-one Chemical compound CCCCC1OC1=O FYGFQAJDFJYPLK-UHFFFAOYSA-N 0.000 description 1
- SLYRAGBOHJJNNZ-UHFFFAOYSA-N 3-ethoxy-n,n-diethylpropanamide Chemical compound CCOCCC(=O)N(CC)CC SLYRAGBOHJJNNZ-UHFFFAOYSA-N 0.000 description 1
- PVKDNXFNSSLPRN-UHFFFAOYSA-N 3-ethoxy-n,n-dimethylpropanamide Chemical compound CCOCCC(=O)N(C)C PVKDNXFNSSLPRN-UHFFFAOYSA-N 0.000 description 1
- XPFCZYUVICHKDS-UHFFFAOYSA-N 3-methylbutane-1,3-diol Chemical compound CC(C)(O)CCO XPFCZYUVICHKDS-UHFFFAOYSA-N 0.000 description 1
- SXFJDZNJHVPHPH-UHFFFAOYSA-N 3-methylpentane-1,5-diol Chemical compound OCCC(C)CCO SXFJDZNJHVPHPH-UHFFFAOYSA-N 0.000 description 1
- VATRWWPJWVCZTA-UHFFFAOYSA-N 3-oxo-n-[2-(trifluoromethyl)phenyl]butanamide Chemical compound CC(=O)CC(=O)NC1=CC=CC=C1C(F)(F)F VATRWWPJWVCZTA-UHFFFAOYSA-N 0.000 description 1
- WGNAUWVQWMSSEV-UHFFFAOYSA-N 3-pentyloxiran-2-one Chemical compound CCCCCC1OC1=O WGNAUWVQWMSSEV-UHFFFAOYSA-N 0.000 description 1
- LDMRLRNXHLPZJN-UHFFFAOYSA-N 3-propoxypropan-1-ol Chemical compound CCCOCCCO LDMRLRNXHLPZJN-UHFFFAOYSA-N 0.000 description 1
- DBTMGCOVALSLOR-UHFFFAOYSA-N 32-alpha-galactosyl-3-alpha-galactosyl-galactose Natural products OC1C(O)C(O)C(CO)OC1OC1C(O)C(OC2C(C(CO)OC(O)C2O)O)OC(CO)C1O DBTMGCOVALSLOR-UHFFFAOYSA-N 0.000 description 1
- QTWLQDVFHKLZRA-UHFFFAOYSA-N 4-ethyloxetan-2-one Chemical compound CCC1CC(=O)O1 QTWLQDVFHKLZRA-UHFFFAOYSA-N 0.000 description 1
- PXRBWNLUQYZAAX-UHFFFAOYSA-N 6-Butyltetrahydro-2H-pyran-2-one Chemical compound CCCCC1CCCC(=O)O1 PXRBWNLUQYZAAX-UHFFFAOYSA-N 0.000 description 1
- JFVQYQDTHWLYHG-UHFFFAOYSA-N 6-ethyloxan-2-one Chemical compound CCC1CCCC(=O)O1 JFVQYQDTHWLYHG-UHFFFAOYSA-N 0.000 description 1
- GHBSPIPJMLAMEP-UHFFFAOYSA-N 6-pentyloxan-2-one Chemical compound CCCCCC1CCCC(=O)O1 GHBSPIPJMLAMEP-UHFFFAOYSA-N 0.000 description 1
- QTBSBXVTEAMEQO-UHFFFAOYSA-M Acetate Chemical compound CC([O-])=O QTBSBXVTEAMEQO-UHFFFAOYSA-M 0.000 description 1
- HRPVXLWXLXDGHG-UHFFFAOYSA-N Acrylamide Chemical compound NC(=O)C=C HRPVXLWXLXDGHG-UHFFFAOYSA-N 0.000 description 1
- NLHHRLWOUZZQLW-UHFFFAOYSA-N Acrylonitrile Chemical compound C=CC#N NLHHRLWOUZZQLW-UHFFFAOYSA-N 0.000 description 1
- 241000251468 Actinopterygii Species 0.000 description 1
- GUBGYTABKSRVRQ-XLOQQCSPSA-N Alpha-Lactose Chemical compound O[C@@H]1[C@@H](O)[C@@H](O)[C@@H](CO)O[C@H]1O[C@@H]1[C@@H](CO)O[C@H](O)[C@H](O)[C@H]1O GUBGYTABKSRVRQ-XLOQQCSPSA-N 0.000 description 1
- 241000894006 Bacteria Species 0.000 description 1
- 229920002799 BoPET Polymers 0.000 description 1
- BLUWGXWVYYLYMQ-UHFFFAOYSA-N C(CC)(=O)OCC(OCC(C)OC(C)=O)C Chemical compound C(CC)(=O)OCC(OCC(C)OC(C)=O)C BLUWGXWVYYLYMQ-UHFFFAOYSA-N 0.000 description 1
- OMIJTOJYJSZCHQ-UHFFFAOYSA-N C(CCC)(=O)OCC(OCC(C)OC(C)=O)C Chemical compound C(CCC)(=O)OCC(OCC(C)OC(C)=O)C OMIJTOJYJSZCHQ-UHFFFAOYSA-N 0.000 description 1
- VYZAMTAEIAYCRO-UHFFFAOYSA-N Chromium Chemical compound [Cr] VYZAMTAEIAYCRO-UHFFFAOYSA-N 0.000 description 1
- RYGMFSIKBFXOCR-UHFFFAOYSA-N Copper Chemical compound [Cu] RYGMFSIKBFXOCR-UHFFFAOYSA-N 0.000 description 1
- 229920000742 Cotton Polymers 0.000 description 1
- GUBGYTABKSRVRQ-CUHNMECISA-N D-Cellobiose Chemical compound O[C@@H]1[C@@H](O)[C@H](O)[C@@H](CO)O[C@H]1O[C@@H]1[C@@H](CO)OC(O)[C@H](O)[C@H]1O GUBGYTABKSRVRQ-CUHNMECISA-N 0.000 description 1
- FBPFZTCFMRRESA-FSIIMWSLSA-N D-Glucitol Natural products OC[C@H](O)[C@H](O)[C@@H](O)[C@H](O)CO FBPFZTCFMRRESA-FSIIMWSLSA-N 0.000 description 1
- RXVWSYJTUUKTEA-UHFFFAOYSA-N D-maltotriose Natural products OC1C(O)C(OC(C(O)CO)C(O)C(O)C=O)OC(CO)C1OC1C(O)C(O)C(O)C(CO)O1 RXVWSYJTUUKTEA-UHFFFAOYSA-N 0.000 description 1
- WQZGKKKJIJFFOK-QTVWNMPRSA-N D-mannopyranose Chemical compound OC[C@H]1OC(O)[C@@H](O)[C@@H](O)[C@@H]1O WQZGKKKJIJFFOK-QTVWNMPRSA-N 0.000 description 1
- HMFHBZSHGGEWLO-SOOFDHNKSA-N D-ribofuranose Chemical compound OC[C@H]1OC(O)[C@H](O)[C@@H]1O HMFHBZSHGGEWLO-SOOFDHNKSA-N 0.000 description 1
- RZTOWFMDBDPERY-UHFFFAOYSA-N Delta-Hexanolactone Chemical compound CC1CCCC(=O)O1 RZTOWFMDBDPERY-UHFFFAOYSA-N 0.000 description 1
- 241000196324 Embryophyta Species 0.000 description 1
- 229930091371 Fructose Natural products 0.000 description 1
- RFSUNEUAIZKAJO-ARQDHWQXSA-N Fructose Chemical compound OC[C@H]1O[C@](O)(CO)[C@@H](O)[C@@H]1O RFSUNEUAIZKAJO-ARQDHWQXSA-N 0.000 description 1
- 239000005715 Fructose Substances 0.000 description 1
- WQZGKKKJIJFFOK-GASJEMHNSA-N Glucose Natural products OC[C@H]1OC(O)[C@H](O)[C@@H](O)[C@@H]1O WQZGKKKJIJFFOK-GASJEMHNSA-N 0.000 description 1
- UFHFLCQGNIYNRP-UHFFFAOYSA-N Hydrogen Chemical compound [H][H] UFHFLCQGNIYNRP-UHFFFAOYSA-N 0.000 description 1
- 229920005731 JONCRYL® 67 Polymers 0.000 description 1
- GUBGYTABKSRVRQ-QKKXKWKRSA-N Lactose Natural products OC[C@H]1O[C@@H](O[C@H]2[C@H](O)[C@@H](O)C(O)O[C@@H]2CO)[C@H](O)[C@@H](O)[C@H]1O GUBGYTABKSRVRQ-QKKXKWKRSA-N 0.000 description 1
- 239000004166 Lanolin Substances 0.000 description 1
- GUBGYTABKSRVRQ-PICCSMPSSA-N Maltose Natural products O[C@@H]1[C@@H](O)[C@H](O)[C@@H](CO)O[C@@H]1O[C@@H]1[C@@H](CO)OC(O)[C@H](O)[C@H]1O GUBGYTABKSRVRQ-PICCSMPSSA-N 0.000 description 1
- SECXISVLQFMRJM-UHFFFAOYSA-N N-Methylpyrrolidone Chemical compound CN1CCCC1=O SECXISVLQFMRJM-UHFFFAOYSA-N 0.000 description 1
- 239000004677 Nylon Substances 0.000 description 1
- RDHQFKQIGNGIED-MRVPVSSYSA-N O-acetyl-L-carnitine Chemical compound CC(=O)O[C@H](CC([O-])=O)C[N+](C)(C)C RDHQFKQIGNGIED-MRVPVSSYSA-N 0.000 description 1
- 240000007594 Oryza sativa Species 0.000 description 1
- 235000007164 Oryza sativa Nutrition 0.000 description 1
- CBENFWSGALASAD-UHFFFAOYSA-N Ozone Chemical compound [O-][O+]=O CBENFWSGALASAD-UHFFFAOYSA-N 0.000 description 1
- SJEYSFABYSGQBG-UHFFFAOYSA-M Patent blue Chemical compound [Na+].C1=CC(N(CC)CC)=CC=C1C(C=1C(=CC(=CC=1)S([O-])(=O)=O)S([O-])(=O)=O)=C1C=CC(=[N+](CC)CC)C=C1 SJEYSFABYSGQBG-UHFFFAOYSA-M 0.000 description 1
- ALQSHHUCVQOPAS-UHFFFAOYSA-N Pentane-1,5-diol Chemical compound OCCCCCO ALQSHHUCVQOPAS-UHFFFAOYSA-N 0.000 description 1
- 239000004264 Petrolatum Substances 0.000 description 1
- 229920002845 Poly(methacrylic acid) Polymers 0.000 description 1
- 239000002202 Polyethylene glycol Substances 0.000 description 1
- 239000004721 Polyphenylene oxide Substances 0.000 description 1
- 239000004146 Propane-1,2-diol Substances 0.000 description 1
- NRCMAYZCPIVABH-UHFFFAOYSA-N Quinacridone Chemical compound N1C2=CC=CC=C2C(=O)C2=C1C=C1C(=O)C3=CC=CC=C3NC1=C2 NRCMAYZCPIVABH-UHFFFAOYSA-N 0.000 description 1
- PYMYPHUHKUWMLA-LMVFSUKVSA-N Ribose Natural products OC[C@@H](O)[C@@H](O)[C@@H](O)C=O PYMYPHUHKUWMLA-LMVFSUKVSA-N 0.000 description 1
- BQCADISMDOOEFD-UHFFFAOYSA-N Silver Chemical compound [Ag] BQCADISMDOOEFD-UHFFFAOYSA-N 0.000 description 1
- CZMRCDWAGMRECN-UGDNZRGBSA-N Sucrose Chemical compound O[C@H]1[C@H](O)[C@@H](CO)O[C@@]1(CO)O[C@@H]1[C@H](O)[C@@H](O)[C@H](O)[C@@H](CO)O1 CZMRCDWAGMRECN-UGDNZRGBSA-N 0.000 description 1
- 229930006000 Sucrose Natural products 0.000 description 1
- ATJFFYVFTNAWJD-UHFFFAOYSA-N Tin Chemical compound [Sn] ATJFFYVFTNAWJD-UHFFFAOYSA-N 0.000 description 1
- HDTRYLNUVZCQOY-WSWWMNSNSA-N Trehalose Natural products O[C@@H]1[C@@H](O)[C@@H](O)[C@@H](CO)O[C@@H]1O[C@@H]1[C@H](O)[C@@H](O)[C@@H](O)[C@@H](CO)O1 HDTRYLNUVZCQOY-WSWWMNSNSA-N 0.000 description 1
- ZJCCRDAZUWHFQH-UHFFFAOYSA-N Trimethylolpropane Chemical compound CCC(CO)(CO)CO ZJCCRDAZUWHFQH-UHFFFAOYSA-N 0.000 description 1
- XTXRWKRVRITETP-UHFFFAOYSA-N Vinyl acetate Chemical compound CC(=O)OC=C XTXRWKRVRITETP-UHFFFAOYSA-N 0.000 description 1
- 229920002433 Vinyl chloride-vinyl acetate copolymer Polymers 0.000 description 1
- HCHKCACWOHOZIP-UHFFFAOYSA-N Zinc Chemical compound [Zn] HCHKCACWOHOZIP-UHFFFAOYSA-N 0.000 description 1
- 230000001133 acceleration Effects 0.000 description 1
- IPTNXMGXEGQYSY-UHFFFAOYSA-N acetic acid;1-methoxybutan-1-ol Chemical compound CC(O)=O.CCCC(O)OC IPTNXMGXEGQYSY-UHFFFAOYSA-N 0.000 description 1
- 229960001009 acetylcarnitine Drugs 0.000 description 1
- 239000000980 acid dye Substances 0.000 description 1
- 230000009471 action Effects 0.000 description 1
- 239000008186 active pharmaceutical agent Substances 0.000 description 1
- 150000001336 alkenes Chemical class 0.000 description 1
- 150000005215 alkyl ethers Chemical class 0.000 description 1
- 239000000956 alloy Substances 0.000 description 1
- 229910045601 alloy Inorganic materials 0.000 description 1
- HDTRYLNUVZCQOY-LIZSDCNHSA-N alpha,alpha-trehalose Chemical compound O[C@@H]1[C@@H](O)[C@H](O)[C@@H](CO)O[C@@H]1O[C@@H]1[C@H](O)[C@@H](O)[C@H](O)[C@@H](CO)O1 HDTRYLNUVZCQOY-LIZSDCNHSA-N 0.000 description 1
- HMFHBZSHGGEWLO-UHFFFAOYSA-N alpha-D-Furanose-Ribose Natural products OCC1OC(O)C(O)C1O HMFHBZSHGGEWLO-UHFFFAOYSA-N 0.000 description 1
- WQZGKKKJIJFFOK-PHYPRBDBSA-N alpha-D-galactose Chemical compound OC[C@H]1O[C@H](O)[C@H](O)[C@@H](O)[C@H]1O WQZGKKKJIJFFOK-PHYPRBDBSA-N 0.000 description 1
- 229920005603 alternating copolymer Polymers 0.000 description 1
- 229910052782 aluminium Inorganic materials 0.000 description 1
- XAGFODPZIPBFFR-UHFFFAOYSA-N aluminium Chemical compound [Al] XAGFODPZIPBFFR-UHFFFAOYSA-N 0.000 description 1
- PNEYBMLMFCGWSK-UHFFFAOYSA-N aluminium oxide Inorganic materials [O-2].[O-2].[O-2].[Al+3].[Al+3] PNEYBMLMFCGWSK-UHFFFAOYSA-N 0.000 description 1
- 239000012164 animal wax Substances 0.000 description 1
- PYKYMHQGRFAEBM-UHFFFAOYSA-N anthraquinone Natural products CCC(=O)c1c(O)c2C(=O)C3C(C=CC=C3O)C(=O)c2cc1CC(=O)OC PYKYMHQGRFAEBM-UHFFFAOYSA-N 0.000 description 1
- 150000004056 anthraquinones Chemical class 0.000 description 1
- PYMYPHUHKUWMLA-WDCZJNDASA-N arabinose Chemical compound OC[C@@H](O)[C@@H](O)[C@H](O)C=O PYMYPHUHKUWMLA-WDCZJNDASA-N 0.000 description 1
- 238000013473 artificial intelligence Methods 0.000 description 1
- 239000000981 basic dye Substances 0.000 description 1
- 235000013871 bee wax Nutrition 0.000 description 1
- 239000012166 beeswax Substances 0.000 description 1
- GSCLMSFRWBPUSK-UHFFFAOYSA-N beta-Butyrolactone Chemical compound CC1CC(=O)O1 GSCLMSFRWBPUSK-UHFFFAOYSA-N 0.000 description 1
- WQZGKKKJIJFFOK-VFUOTHLCSA-N beta-D-glucose Chemical compound OC[C@H]1O[C@@H](O)[C@H](O)[C@@H](O)[C@@H]1O WQZGKKKJIJFFOK-VFUOTHLCSA-N 0.000 description 1
- GUBGYTABKSRVRQ-QUYVBRFLSA-N beta-maltose Chemical compound OC[C@H]1O[C@H](O[C@H]2[C@H](O)[C@@H](O)[C@H](O)O[C@@H]2CO)[C@H](O)[C@@H](O)[C@@H]1O GUBGYTABKSRVRQ-QUYVBRFLSA-N 0.000 description 1
- VEZXCJBBBCKRPI-UHFFFAOYSA-N beta-propiolactone Chemical compound O=C1CCO1 VEZXCJBBBCKRPI-UHFFFAOYSA-N 0.000 description 1
- 239000011230 binding agent Substances 0.000 description 1
- 229940073609 bismuth oxychloride Drugs 0.000 description 1
- 230000000740 bleeding effect Effects 0.000 description 1
- 229920001400 block copolymer Polymers 0.000 description 1
- 229910052796 boron Inorganic materials 0.000 description 1
- BMRWNKZVCUKKSR-UHFFFAOYSA-N butane-1,2-diol Chemical compound CCC(O)CO BMRWNKZVCUKKSR-UHFFFAOYSA-N 0.000 description 1
- 229910000019 calcium carbonate Inorganic materials 0.000 description 1
- 239000004204 candelilla wax Substances 0.000 description 1
- 235000013868 candelilla wax Nutrition 0.000 description 1
- 229940073532 candelilla wax Drugs 0.000 description 1
- 239000004202 carbamide Substances 0.000 description 1
- 150000001721 carbon Chemical group 0.000 description 1
- 125000002915 carbonyl group Chemical group [*:2]C([*:1])=O 0.000 description 1
- 239000004203 carnauba wax Substances 0.000 description 1
- 235000013869 carnauba wax Nutrition 0.000 description 1
- 229960004203 carnitine Drugs 0.000 description 1
- 238000006243 chemical reaction Methods 0.000 description 1
- 239000003795 chemical substances by application Substances 0.000 description 1
- 229910052804 chromium Inorganic materials 0.000 description 1
- 239000011651 chromium Substances 0.000 description 1
- 239000011248 coating agent Substances 0.000 description 1
- 239000011247 coating layer Substances 0.000 description 1
- 238000000576 coating method Methods 0.000 description 1
- 238000009833 condensation Methods 0.000 description 1
- 230000005494 condensation Effects 0.000 description 1
- 229910052802 copper Inorganic materials 0.000 description 1
- 239000010949 copper Substances 0.000 description 1
- 239000004148 curcumin Substances 0.000 description 1
- 230000002950 deficient Effects 0.000 description 1
- 238000001514 detection method Methods 0.000 description 1
- 230000002542 deteriorative effect Effects 0.000 description 1
- ZBCBWPMODOFKDW-UHFFFAOYSA-N diethanolamine Chemical compound OCCNCCO ZBCBWPMODOFKDW-UHFFFAOYSA-N 0.000 description 1
- 229940019778 diethylene glycol diethyl ether Drugs 0.000 description 1
- 229940028356 diethylene glycol monobutyl ether Drugs 0.000 description 1
- XXJWXESWEXIICW-UHFFFAOYSA-N diethylene glycol monoethyl ether Chemical compound CCOCCOCCO XXJWXESWEXIICW-UHFFFAOYSA-N 0.000 description 1
- 229940075557 diethylene glycol monoethyl ether Drugs 0.000 description 1
- SBZXBUIDTXKZTM-UHFFFAOYSA-N diglyme Chemical compound COCCOCCOC SBZXBUIDTXKZTM-UHFFFAOYSA-N 0.000 description 1
- UYAAVKFHBMJOJZ-UHFFFAOYSA-N diimidazo[1,3-b:1',3'-e]pyrazine-5,10-dione Chemical compound O=C1C2=CN=CN2C(=O)C2=CN=CN12 UYAAVKFHBMJOJZ-UHFFFAOYSA-N 0.000 description 1
- 150000002009 diols Chemical class 0.000 description 1
- SZXQTJUDPRGNJN-UHFFFAOYSA-N dipropylene glycol Chemical compound OCCCOCCCO SZXQTJUDPRGNJN-UHFFFAOYSA-N 0.000 description 1
- 239000000982 direct dye Substances 0.000 description 1
- 238000006073 displacement reaction Methods 0.000 description 1
- 239000012153 distilled water Substances 0.000 description 1
- 238000002296 dynamic light scattering Methods 0.000 description 1
- 230000005684 electric field Effects 0.000 description 1
- 230000007613 environmental effect Effects 0.000 description 1
- 239000003822 epoxy resin Substances 0.000 description 1
- RTZKZFJDLAIYFH-UHFFFAOYSA-N ether Substances CCOCC RTZKZFJDLAIYFH-UHFFFAOYSA-N 0.000 description 1
- TUEYHEWXYWCDHA-UHFFFAOYSA-N ethyl 5-methylthiadiazole-4-carboxylate Chemical compound CCOC(=O)C=1N=NSC=1C TUEYHEWXYWCDHA-UHFFFAOYSA-N 0.000 description 1
- 239000011888 foil Substances 0.000 description 1
- 235000013305 food Nutrition 0.000 description 1
- 239000000989 food dye Substances 0.000 description 1
- 229930182830 galactose Natural products 0.000 description 1
- JBFHTYHTHYHCDJ-UHFFFAOYSA-N gamma-caprolactone Chemical compound CCC1CCC(=O)O1 JBFHTYHTHYHCDJ-UHFFFAOYSA-N 0.000 description 1
- IPBFYZQJXZJBFQ-UHFFFAOYSA-N gamma-octalactone Chemical compound CCCCC1CCC(=O)O1 IPBFYZQJXZJBFQ-UHFFFAOYSA-N 0.000 description 1
- 239000011521 glass Substances 0.000 description 1
- 239000008103 glucose Substances 0.000 description 1
- KWIUHFFTVRNATP-UHFFFAOYSA-N glycine betaine Chemical compound C[N+](C)(C)CC([O-])=O KWIUHFFTVRNATP-UHFFFAOYSA-N 0.000 description 1
- PCHJSUWPFVWCPO-UHFFFAOYSA-N gold Chemical compound [Au] PCHJSUWPFVWCPO-UHFFFAOYSA-N 0.000 description 1
- 229910052737 gold Inorganic materials 0.000 description 1
- 239000010931 gold Substances 0.000 description 1
- 229920000578 graft copolymer Polymers 0.000 description 1
- IUJAMGNYPWYUPM-UHFFFAOYSA-N hentriacontane Chemical compound CCCCCCCCCCCCCCCCCCCCCCCCCCCCCCC IUJAMGNYPWYUPM-UHFFFAOYSA-N 0.000 description 1
- GCXZDAKFJKCPGK-UHFFFAOYSA-N heptane-1,2-diol Chemical compound CCCCCC(O)CO GCXZDAKFJKCPGK-UHFFFAOYSA-N 0.000 description 1
- FHKSXSQHXQEMOK-UHFFFAOYSA-N hexane-1,2-diol Chemical compound CCCCC(O)CO FHKSXSQHXQEMOK-UHFFFAOYSA-N 0.000 description 1
- XXMIOPMDWAUFGU-UHFFFAOYSA-N hexane-1,6-diol Chemical compound OCCCCCCO XXMIOPMDWAUFGU-UHFFFAOYSA-N 0.000 description 1
- 239000001257 hydrogen Substances 0.000 description 1
- 229910052739 hydrogen Inorganic materials 0.000 description 1
- 229920001477 hydrophilic polymer Polymers 0.000 description 1
- QWPPOHNGKGFGJK-UHFFFAOYSA-N hypochlorous acid Chemical compound ClO QWPPOHNGKGFGJK-UHFFFAOYSA-N 0.000 description 1
- YAMHXTCMCPHKLN-UHFFFAOYSA-N imidazolidin-2-one Chemical compound O=C1NCCN1 YAMHXTCMCPHKLN-UHFFFAOYSA-N 0.000 description 1
- 229910052738 indium Inorganic materials 0.000 description 1
- APFVFJFRJDLVQX-UHFFFAOYSA-N indium atom Chemical compound [In] APFVFJFRJDLVQX-UHFFFAOYSA-N 0.000 description 1
- 230000001678 irradiating effect Effects 0.000 description 1
- 125000000959 isobutyl group Chemical group [H]C([H])([H])C([H])(C([H])([H])[H])C([H])([H])* 0.000 description 1
- IQPQWNKOIGAROB-UHFFFAOYSA-N isocyanate group Chemical group [N-]=C=O IQPQWNKOIGAROB-UHFFFAOYSA-N 0.000 description 1
- PXZQEOJJUGGUIB-UHFFFAOYSA-N isoindolin-1-one Chemical compound C1=CC=C2C(=O)NCC2=C1 PXZQEOJJUGGUIB-UHFFFAOYSA-N 0.000 description 1
- 125000001449 isopropyl group Chemical group [H]C([H])([H])C([H])(*)C([H])([H])[H] 0.000 description 1
- 150000003951 lactams Chemical class 0.000 description 1
- 150000002596 lactones Chemical class 0.000 description 1
- 239000008101 lactose Substances 0.000 description 1
- 238000003475 lamination Methods 0.000 description 1
- 235000019388 lanolin Nutrition 0.000 description 1
- 229940039717 lanolin Drugs 0.000 description 1
- 239000002932 luster Substances 0.000 description 1
- 239000000395 magnesium oxide Substances 0.000 description 1
- CPLXHLVBOLITMK-UHFFFAOYSA-N magnesium oxide Inorganic materials [Mg]=O CPLXHLVBOLITMK-UHFFFAOYSA-N 0.000 description 1
- AXZKOIWUVFPNLO-UHFFFAOYSA-N magnesium;oxygen(2-) Chemical compound [O-2].[Mg+2] AXZKOIWUVFPNLO-UHFFFAOYSA-N 0.000 description 1
- 238000012423 maintenance Methods 0.000 description 1
- 230000014759 maintenance of location Effects 0.000 description 1
- 230000007257 malfunction Effects 0.000 description 1
- FYGDTMLNYKFZSV-UHFFFAOYSA-N mannotriose Natural products OC1C(O)C(O)C(CO)OC1OC1C(CO)OC(OC2C(OC(O)C(O)C2O)CO)C(O)C1O FYGDTMLNYKFZSV-UHFFFAOYSA-N 0.000 description 1
- 238000004519 manufacturing process Methods 0.000 description 1
- 239000012528 membrane Substances 0.000 description 1
- 229910052751 metal Inorganic materials 0.000 description 1
- 239000002184 metal Substances 0.000 description 1
- 150000002736 metal compounds Chemical class 0.000 description 1
- 229920003145 methacrylic acid copolymer Polymers 0.000 description 1
- 125000005395 methacrylic acid group Chemical group 0.000 description 1
- 125000001570 methylene group Chemical group [H]C([H])([*:1])[*:2] 0.000 description 1
- 239000010445 mica Substances 0.000 description 1
- 229910052618 mica group Inorganic materials 0.000 description 1
- 239000004200 microcrystalline wax Substances 0.000 description 1
- 235000019808 microcrystalline wax Nutrition 0.000 description 1
- 239000012184 mineral wax Substances 0.000 description 1
- 239000012170 montan wax Substances 0.000 description 1
- KWNQVYVUTAVBKF-UHFFFAOYSA-N n,n-diethyl-3-[(2-methylpropan-2-yl)oxy]propanamide Chemical compound CCN(CC)C(=O)CCOC(C)(C)C KWNQVYVUTAVBKF-UHFFFAOYSA-N 0.000 description 1
- IGGPQQNWURZLDA-UHFFFAOYSA-N n,n-diethyl-3-methoxypropanamide Chemical compound CCN(CC)C(=O)CCOC IGGPQQNWURZLDA-UHFFFAOYSA-N 0.000 description 1
- WEKGHIXSBHQVMT-UHFFFAOYSA-N n,n-diethyl-3-propan-2-yloxypropanamide Chemical compound CCN(CC)C(=O)CCOC(C)C WEKGHIXSBHQVMT-UHFFFAOYSA-N 0.000 description 1
- SVZVKTZPGYNTQK-UHFFFAOYSA-N n,n-diethyl-3-propoxypropanamide Chemical compound CCCOCCC(=O)N(CC)CC SVZVKTZPGYNTQK-UHFFFAOYSA-N 0.000 description 1
- VQAXAEVAHOSPMQ-UHFFFAOYSA-N n,n-dimethyl-3-[(2-methylpropan-2-yl)oxy]propanamide Chemical compound CN(C)C(=O)CCOC(C)(C)C VQAXAEVAHOSPMQ-UHFFFAOYSA-N 0.000 description 1
- ZIJQOYKHWORKOW-UHFFFAOYSA-N n,n-dimethyl-3-propan-2-yloxypropanamide Chemical compound CC(C)OCCC(=O)N(C)C ZIJQOYKHWORKOW-UHFFFAOYSA-N 0.000 description 1
- JQWPPDGADWFYGM-UHFFFAOYSA-N n,n-dimethyl-3-propoxypropanamide Chemical compound CCCOCCC(=O)N(C)C JQWPPDGADWFYGM-UHFFFAOYSA-N 0.000 description 1
- 125000004108 n-butyl group Chemical group [H]C([H])([H])C([H])([H])C([H])([H])C([H])([H])* 0.000 description 1
- 125000004123 n-propyl group Chemical group [H]C([H])([H])C([H])([H])C([H])([H])* 0.000 description 1
- SLCVBVWXLSEKPL-UHFFFAOYSA-N neopentyl glycol Chemical compound OCC(C)(C)CO SLCVBVWXLSEKPL-UHFFFAOYSA-N 0.000 description 1
- 229910052759 nickel Inorganic materials 0.000 description 1
- 125000000449 nitro group Chemical group [O-][N+](*)=O 0.000 description 1
- 125000000018 nitroso group Chemical group N(=O)* 0.000 description 1
- 229920001778 nylon Polymers 0.000 description 1
- LYRFLYHAGKPMFH-UHFFFAOYSA-N octadecanamide Chemical compound CCCCCCCCCCCCCCCCCC(N)=O LYRFLYHAGKPMFH-UHFFFAOYSA-N 0.000 description 1
- AEIJTFQOBWATKX-UHFFFAOYSA-N octane-1,2-diol Chemical compound CCCCCCC(O)CO AEIJTFQOBWATKX-UHFFFAOYSA-N 0.000 description 1
- JRZJOMJEPLMPRA-UHFFFAOYSA-N olefin Natural products CCCCCCCC=C JRZJOMJEPLMPRA-UHFFFAOYSA-N 0.000 description 1
- 230000001590 oxidative effect Effects 0.000 description 1
- 239000004209 oxidized polyethylene wax Substances 0.000 description 1
- 235000013873 oxidized polyethylene wax Nutrition 0.000 description 1
- BWOROQSFKKODDR-UHFFFAOYSA-N oxobismuth;hydrochloride Chemical compound Cl.[Bi]=O BWOROQSFKKODDR-UHFFFAOYSA-N 0.000 description 1
- JCGNDDUYTRNOFT-UHFFFAOYSA-N oxolane-2,4-dione Chemical compound O=C1COC(=O)C1 JCGNDDUYTRNOFT-UHFFFAOYSA-N 0.000 description 1
- 239000011087 paperboard Substances 0.000 description 1
- 235000019809 paraffin wax Nutrition 0.000 description 1
- WCVRQHFDJLLWFE-UHFFFAOYSA-N pentane-1,2-diol Chemical compound CCCC(O)CO WCVRQHFDJLLWFE-UHFFFAOYSA-N 0.000 description 1
- DGBWPZSGHAXYGK-UHFFFAOYSA-N perinone Chemical compound C12=NC3=CC=CC=C3N2C(=O)C2=CC=C3C4=C2C1=CC=C4C(=O)N1C2=CC=CC=C2N=C13 DGBWPZSGHAXYGK-UHFFFAOYSA-N 0.000 description 1
- 125000002080 perylenyl group Chemical group C1(=CC=C2C=CC=C3C4=CC=CC5=CC=CC(C1=C23)=C45)* 0.000 description 1
- CSHWQDPOILHKBI-UHFFFAOYSA-N peryrene Natural products C1=CC(C2=CC=CC=3C2=C2C=CC=3)=C3C2=CC=CC3=C1 CSHWQDPOILHKBI-UHFFFAOYSA-N 0.000 description 1
- 229940066842 petrolatum Drugs 0.000 description 1
- 239000012169 petroleum derived wax Substances 0.000 description 1
- 235000019381 petroleum wax Nutrition 0.000 description 1
- 229910052698 phosphorus Inorganic materials 0.000 description 1
- IEQIEDJGQAUEQZ-UHFFFAOYSA-N phthalocyanine Chemical compound N1C(N=C2C3=CC=CC=C3C(N=C3C4=CC=CC=C4C(=N4)N3)=N2)=C(C=CC=C2)C2=C1N=C1C2=CC=CC=C2C4=N1 IEQIEDJGQAUEQZ-UHFFFAOYSA-N 0.000 description 1
- 229940110337 pigment blue 1 Drugs 0.000 description 1
- 239000012165 plant wax Substances 0.000 description 1
- 229920006122 polyamide resin Polymers 0.000 description 1
- 229920000767 polyaniline Polymers 0.000 description 1
- 229920001692 polycarbonate urethane Polymers 0.000 description 1
- 125000003367 polycyclic group Chemical group 0.000 description 1
- 229920000647 polyepoxide Polymers 0.000 description 1
- 229920000570 polyether Polymers 0.000 description 1
- 229920001223 polyethylene glycol Polymers 0.000 description 1
- 238000006116 polymerization reaction Methods 0.000 description 1
- 230000000379 polymerizing effect Effects 0.000 description 1
- 229920000166 polytrimethylene carbonate Polymers 0.000 description 1
- 229920002451 polyvinyl alcohol Polymers 0.000 description 1
- 235000019422 polyvinyl alcohol Nutrition 0.000 description 1
- 239000011148 porous material Substances 0.000 description 1
- 239000000843 powder Substances 0.000 description 1
- XIQGQTYUPQAUBV-UHFFFAOYSA-N prop-2-enoic acid;prop-1-en-2-ylbenzene;styrene Chemical compound OC(=O)C=C.C=CC1=CC=CC=C1.CC(=C)C1=CC=CC=C1 XIQGQTYUPQAUBV-UHFFFAOYSA-N 0.000 description 1
- 229960000380 propiolactone Drugs 0.000 description 1
- 229940116423 propylene glycol diacetate Drugs 0.000 description 1
- LLHKCFNBLRBOGN-UHFFFAOYSA-N propylene glycol methyl ether acetate Chemical compound COCC(C)OC(C)=O LLHKCFNBLRBOGN-UHFFFAOYSA-N 0.000 description 1
- 150000004040 pyrrolidinones Chemical class 0.000 description 1
- 239000010453 quartz Substances 0.000 description 1
- IZMJMCDDWKSTTK-UHFFFAOYSA-N quinoline yellow Chemical compound C1=CC=CC2=NC(C3C(C4=CC=CC=C4C3=O)=O)=CC=C21 IZMJMCDDWKSTTK-UHFFFAOYSA-N 0.000 description 1
- 229920005604 random copolymer Polymers 0.000 description 1
- 239000002994 raw material Substances 0.000 description 1
- 239000000985 reactive dye Substances 0.000 description 1
- 238000001454 recorded image Methods 0.000 description 1
- 230000004044 response Effects 0.000 description 1
- 238000001223 reverse osmosis Methods 0.000 description 1
- 235000009566 rice Nutrition 0.000 description 1
- 238000000790 scattering method Methods 0.000 description 1
- 125000002914 sec-butyl group Chemical group [H]C([H])([H])C([H])([H])C([H])(*)C([H])([H])[H] 0.000 description 1
- 238000004062 sedimentation Methods 0.000 description 1
- 229910052709 silver Inorganic materials 0.000 description 1
- 239000004332 silver Substances 0.000 description 1
- 239000000600 sorbitol Substances 0.000 description 1
- 229920001909 styrene-acrylic polymer Polymers 0.000 description 1
- 239000005720 sucrose Substances 0.000 description 1
- HIFJUMGIHIZEPX-UHFFFAOYSA-N sulfuric acid;sulfur trioxide Chemical compound O=S(=O)=O.OS(O)(=O)=O HIFJUMGIHIZEPX-UHFFFAOYSA-N 0.000 description 1
- 239000000725 suspension Substances 0.000 description 1
- 150000003505 terpenes Chemical class 0.000 description 1
- 235000007586 terpenes Nutrition 0.000 description 1
- 125000000999 tert-butyl group Chemical group [H]C([H])([H])C(*)(C([H])([H])[H])C([H])([H])[H] 0.000 description 1
- 125000000383 tetramethylene group Chemical group [H]C([H])([*:1])C([H])([H])C([H])([H])C([H])([H])[*:2] 0.000 description 1
- 239000004753 textile Substances 0.000 description 1
- JOUDBUYBGJYFFP-FOCLMDBBSA-N thioindigo Chemical compound S\1C2=CC=CC=C2C(=O)C/1=C1/C(=O)C2=CC=CC=C2S1 JOUDBUYBGJYFFP-FOCLMDBBSA-N 0.000 description 1
- 229910052718 tin Inorganic materials 0.000 description 1
- 239000011135 tin Substances 0.000 description 1
- 230000007704 transition Effects 0.000 description 1
- ZIBGPFATKBEMQZ-UHFFFAOYSA-N triethylene glycol Chemical compound OCCOCCOCCO ZIBGPFATKBEMQZ-UHFFFAOYSA-N 0.000 description 1
- JLGLQAWTXXGVEM-UHFFFAOYSA-N triethylene glycol monomethyl ether Chemical compound COCCOCCOCCO JLGLQAWTXXGVEM-UHFFFAOYSA-N 0.000 description 1
- YFNKIDBQEZZDLK-UHFFFAOYSA-N triglyme Chemical compound COCCOCCOCCOC YFNKIDBQEZZDLK-UHFFFAOYSA-N 0.000 description 1
- 229910021642 ultra pure water Inorganic materials 0.000 description 1
- 239000012498 ultrapure water Substances 0.000 description 1
- 238000004804 winding Methods 0.000 description 1
- 239000001052 yellow pigment Substances 0.000 description 1
- 229910052727 yttrium Inorganic materials 0.000 description 1
- 229910052725 zinc Inorganic materials 0.000 description 1
- 239000011701 zinc Substances 0.000 description 1
- 239000011787 zinc oxide Substances 0.000 description 1
- FYGDTMLNYKFZSV-BYLHFPJWSA-N β-1,4-galactotrioside Chemical compound O[C@@H]1[C@@H](O)[C@H](O)[C@@H](CO)O[C@H]1O[C@@H]1[C@H](CO)O[C@@H](O[C@@H]2[C@@H](O[C@@H](O)[C@H](O)[C@H]2O)CO)[C@H](O)[C@H]1O FYGDTMLNYKFZSV-BYLHFPJWSA-N 0.000 description 1
- PAPBSGBWRJIAAV-UHFFFAOYSA-N ε-Caprolactone Chemical compound O=C1CCCCCO1 PAPBSGBWRJIAAV-UHFFFAOYSA-N 0.000 description 1
Images
Classifications
-
- B—PERFORMING OPERATIONS; TRANSPORTING
- B41—PRINTING; LINING MACHINES; TYPEWRITERS; STAMPS
- B41J—TYPEWRITERS; SELECTIVE PRINTING MECHANISMS, i.e. MECHANISMS PRINTING OTHERWISE THAN FROM A FORME; CORRECTION OF TYPOGRAPHICAL ERRORS
- B41J2/00—Typewriters or selective printing mechanisms characterised by the printing or marking process for which they are designed
- B41J2/005—Typewriters or selective printing mechanisms characterised by the printing or marking process for which they are designed characterised by bringing liquid or particles selectively into contact with a printing material
- B41J2/01—Ink jet
-
- B—PERFORMING OPERATIONS; TRANSPORTING
- B41—PRINTING; LINING MACHINES; TYPEWRITERS; STAMPS
- B41J—TYPEWRITERS; SELECTIVE PRINTING MECHANISMS, i.e. MECHANISMS PRINTING OTHERWISE THAN FROM A FORME; CORRECTION OF TYPOGRAPHICAL ERRORS
- B41J2/00—Typewriters or selective printing mechanisms characterised by the printing or marking process for which they are designed
- B41J2/005—Typewriters or selective printing mechanisms characterised by the printing or marking process for which they are designed characterised by bringing liquid or particles selectively into contact with a printing material
- B41J2/01—Ink jet
- B41J2/21—Ink jet for multi-colour printing
- B41J2/2107—Ink jet for multi-colour printing characterised by the ink properties
- B41J2/2114—Ejecting specialized liquids, e.g. transparent or processing liquids
- B41J2/2117—Ejecting white liquids
-
- B—PERFORMING OPERATIONS; TRANSPORTING
- B41—PRINTING; LINING MACHINES; TYPEWRITERS; STAMPS
- B41J—TYPEWRITERS; SELECTIVE PRINTING MECHANISMS, i.e. MECHANISMS PRINTING OTHERWISE THAN FROM A FORME; CORRECTION OF TYPOGRAPHICAL ERRORS
- B41J2/00—Typewriters or selective printing mechanisms characterised by the printing or marking process for which they are designed
- B41J2/005—Typewriters or selective printing mechanisms characterised by the printing or marking process for which they are designed characterised by bringing liquid or particles selectively into contact with a printing material
- B41J2/01—Ink jet
- B41J2/21—Ink jet for multi-colour printing
- B41J2/2132—Print quality control characterised by dot disposition, e.g. for reducing white stripes or banding
-
- B—PERFORMING OPERATIONS; TRANSPORTING
- B41—PRINTING; LINING MACHINES; TYPEWRITERS; STAMPS
- B41J—TYPEWRITERS; SELECTIVE PRINTING MECHANISMS, i.e. MECHANISMS PRINTING OTHERWISE THAN FROM A FORME; CORRECTION OF TYPOGRAPHICAL ERRORS
- B41J25/00—Actions or mechanisms not otherwise provided for
- B41J25/001—Mechanisms for bodily moving print heads or carriages parallel to the paper surface
-
- B—PERFORMING OPERATIONS; TRANSPORTING
- B41—PRINTING; LINING MACHINES; TYPEWRITERS; STAMPS
- B41M—PRINTING, DUPLICATING, MARKING, OR COPYING PROCESSES; COLOUR PRINTING
- B41M5/00—Duplicating or marking methods; Sheet materials for use therein
Landscapes
- Engineering & Computer Science (AREA)
- Quality & Reliability (AREA)
- Inks, Pencil-Leads, Or Crayons (AREA)
- Ink Jet Recording Methods And Recording Media Thereof (AREA)
- Ink Jet (AREA)
Description
記録媒体に記録を行う記録方法であって、
白色色材を含む白色インク組成物を前記記録媒体に付着させる白色インク付着工程と、
非白色色材を含む非白色インク組成物を前記記録媒体に付着させる非白色インク付着工
程と、を備え、
前記白色インク付着工程及び前記非白色インク付着工程を、記録ヘッドと前記記録媒体との相対的な走査により行い、
前記白色インク付着工程と、前記非白色インク付着工程を、同一の前記相対的な走査により、前記記録媒体の同一の走査領域に対して行い、
前記白色インク組成物及び前記非白色インク組成物を付着させた記録領域において、単位領域当たりの前記非白色インク組成物の付着量100質量%に対し、前記白色インク組成物の付着量が60質量%以下である。
記録媒体に記録を行う記録装置であって、
白色色材を含む白色インク組成物を前記記録媒体に付着させる白色インクヘッドと、
非白色色材を含む非白色インク組成物を前記記録媒体に付着させる非白色インクヘッドと、
インクヘッドと前記記録媒体との相対的な走査を行う走査機構と、を備え、
上記態様の記録方法により記録を行う。
本発明の一実施形態に係る記録方法は、記録媒体に記録を行う記録方法であって、白色色材を含む白色インク組成物を前記記録媒体に付着させる白色インク付着工程と、非白色色材を含む非白色インク組成物を前記記録媒体に付着させる非白色インク付着工程と、を備え、前記白色インク付着工程及び前記非白色インク付着工程を、記録ヘッドと前記記録媒体との相対的な走査により行い、前記白色インク付着工程と、前記非白色インク付着工程を、同一の前記相対的な走査により、前記記録媒体の同一の走査領域に対して行い、前記白色インク組成物及び前記非白色インク組成物を付着させた記録領域において、単位領域当たりの前記非白色インク組成物の付着量100質量%に対し、前記白色インク組成物
の付着量が60質量%以下である。
本実施形態に係る記録装置で画像を形成する記録媒体は、インク等の液体を吸収する記録面を有するものであっても、液体を吸収する記録面を有しないものであってもよい。したがって記録媒体としては、特に制限はなく、例えば、紙、インク吸収性のフィルム、布等の吸収記録媒体、印刷本紙などの低吸収記録媒体、金属、ガラス、高分子等の非吸収記録媒体などが挙げられる。
ポリウレタン、ポリエチレン、ポリプロピレン等が挙げられる。
本実施形態に係る記録方法は、白色色材を含む白色インク組成物を記録媒体に付着させる白色インク付着工程を備える。
本実施形態に係る記録方法に用いられる白色インク組成物は、白色色材を含む。以下、白色インク組成物に含有される各成分について説明する。
白色色材としては、例えば、金属酸化物、硫酸バリウム、炭酸カルシウム等の金属化合物が挙げられる。金属酸化物としては、例えば二酸化チタン、酸化亜鉛、シリカ、アルミナ、酸化マグネシウム等が挙げられる。また、白色色材には、中空構造を有する粒子を用いてもよく、中空構造を有する粒子としては、公知のものを用いることができる。
白色色材は、水中に安定的に分散できることが好適であり、そのために分散剤を使用して分散させてもよい。分散剤としては、界面活性剤、樹脂分散剤等のいずれでもよく、上記の白色色材を含む白色インク組成物中での白色色材の分散安定性を良好とできるものから選択される。また、白色色材を、例えば、オゾン、次亜塩素酸、発煙硫酸等により、白色色材表面を酸化、あるいはスルホン化して白色色材の表面を修飾することにより、自己分散型の白色色材として使用してもよい。
本実施形態に係る記録方法に用いられる白色インク組成物は、樹脂粒子を含有してもよい。樹脂粒子は、記録媒体に付着させた白色インク組成物による画像の密着性をさらに向上させることができる。
名、第一工業製薬株式会社製)、レザミン D-1060、D-2020、D-4080、D-4200、D-6300、D-6455(商品名、大日精化工業株式会社製)、タケラック WS-6021、W-512-A-6(商品名、三井化学ポリウレタン株式会社製)、サンキュアー2710(商品名、LUBRIZOL社製)、パーマリンUA-150(商品名、三洋化成工業社製)などの市販品の中から選択して用いてもよい。
ン)(昭和電工社製商品名)、ポリゾールSAE1014(商品名、スチレン-アクリル系樹脂エマルジョン、日本ゼオン社製)、サイビノールSK-200(商品名、アクリル系樹脂エマルジョン、サイデン化学社製)、AE-120A(JSR社製商品名、アクリル樹脂エマルジョン)、AE373D(イーテック社製商品名、カルボキシ変性スチレン・アクリル樹脂エマルジョン)、セイカダイン1900W(大日精化工業社製商品名、エチレン・酢酸ビニル樹脂エマルジョン)、ビニブラン2682(アクリル樹脂エマルジョン)、ビニブラン2886(酢酸ビニル・アクリル樹脂エマルジョン)、ビニブラン5202(酢酸アクリル樹脂エマルジョン)(日信化学工業社製商品名)、エリーテルKA-5071S、KT-8803、KT-9204、KT-8701、KT-8904、KT-0507(ユニチカ社製商品名、ポリエステル樹脂エマルジョン)、ハイテックSN-2002(東邦化学社製商品名、ポリエステル樹脂エマルジョン)、タケラックW-6020、W-635、W-6061、W-605、W-635、W-6021(三井化学ポリウレタン社製商品名、ウレタン系樹脂エマルジョン)、スーパーフレックス870、800、150、420、460、470、610、700(第一工業製薬社製商品名、ウレタン系樹脂エマルジョン)、パーマリンUA-150(三洋化成工業株式会社製、ウレタン系樹脂エマルジョン)、サンキュアー2710(日本ルーブリゾール社製、ウレタン系樹脂エマルジョン)、NeoRez R-9660、R-9637、R-940(楠本化成株式会社製、ウレタン系樹脂エマルジョン)、アデカボンタイター HUX-380,290K(株式会社ADEKA製、ウレタン系樹脂エマルジョン)、モビニール966A、モビニール7320(日本合成化学株式会社製)、ジョンクリル7100、390、711、511、7001、632、741、450、840、74J、HRC-1645J、734、852、7600、775、537J、1535、PDX-7630A、352J、352D、PDX-7145、538J、7640、7641、631、790、780、7610(以上、BASF社製)、NKバインダーR-5HN(新中村化学工業株式会社製)、ハイドランWLS-210(非架橋性ポリウレタン:DIC株式会社製)、ジョンクリル7610(BASF社製)等の中から選択して用いてもよい。
本実施形態に係る記録方法に用いられる白色インク組成物は、水を含有してもよい。白色インク組成物及び後述する非白色インク組成物が水系インクであると、より環境負荷を小さくすることができる。また、水系インクであると、白色インク組成物と非白色インク
組成物とが混合されやすく画質(OD値)が低下しやすいが、本実施形態に係る記録方法によれば、優れた画質により画像を形成することができる。このように、白色インク組成物は水系インクであることが好ましい。水系とは主要な溶媒成分の1つとして水を含有する組成物である。水は、白色インク組成物の主となる溶媒成分として含んでもよく、乾燥により蒸発飛散する成分である。水は、イオン交換水、限外濾過水、逆浸透水、蒸留水等の純水又は超純水のようなイオン性不純物を極力除去したものであることが好ましい。また、紫外線照射又は過酸化水素添加等により滅菌した水を用いると、インクを長期保存する場合にカビやバクテリアの発生を抑制できるので好適である。水の含有量は白色インク組成物の総量に対して好ましくは40質量%以上であり、より好ましくは45質量%以上であり、さらに好ましくは50質量%以上99質量%以下であり、特に好ましくは55質量%以上95質量%以下である。
本実施形態に係る記録方法に用いられる白色インク組成物は、有機溶剤を含有してもよい。有機溶剤の機能の一つは、記録媒体に対する白色インク組成物の濡れ性を向上させることや、白色インク組成物の保湿性を高めることが挙げられる。有機溶剤としては、エステル類、アルキレングリコールエーテル類、環状エステル類、含窒素溶剤、多価アルコール等を挙げることができる。含窒素溶剤としては環状アミド類、非環状アミド類などを挙げることができる。非環状アミド類としてはアルコキシアルキルアミド類などがあげられる。
ングリコールジメチルエーテル、エチレングリコールジエチルエーテル、エチレングリコールジブチルエーテル、ジエチレングリコールジメチルエーテル、ジエチレングリコールジエチルエーテル、ジエチレングリコールジブチルエーテル、ジエチレングリコールメチルエチルエーテル、ジエチレングリコールメチルブチルエーテル、トリエチレングリコールジメチルエーテル、トリエチレングリコールジエチルエーテル、トリエチレングリコールジブチルエーテル、トリエチレングリコールメチルブチルエーテル、テトラエチレングリコールジメチルエーテル、テトラエチレングリコールジエチルエーテル、テトラエチレングリコールジブチルエーテル、プロピレングリコールジメチルエーテル、プロピレングリコールジエチルエーテル、ジプロピレングリコールジメチルエーテル、ジプロピレングリコールジエチルエーテル、トリプロピレングリコールジメチルエーテル等のアルキレングリコールジアルキルエーテル類が挙げられる。
ることも好ましい。
%が好ましく、4~20質量%がより好ましく、8~15質量%がさらに好ましい。
らによく、さらに発色性が優れ画質がより向上する傾向にある。下限は、5質量%以上が好ましく、10質量%以上がより好ましく、15質量%以上がさらに好ましい。
本実施形態に係る記録方法に用いられる白色インク組成物は、界面活性剤を含有してもよい。界面活性剤は、白色インク組成物の表面張力を低下させ記録媒体との濡れ性を向上させる機能を備える。界面活性剤の中でも、例えば、アセチレングリコール系界面活性剤、シリコーン系界面活性剤、及びフッ素系界面活性剤を好ましく用いることができる。
2、KF-6015、KF-6017(以上商品名、信越化学工業社製)が挙げられる。
本実施形態に係る記録方法に用いられる白色インク組成物は、ワックスを含有してもよい。ワックスは、白色インク組成物による画像に滑沢を付与する機能を備えるので、白色インク組成物による画像の剥がれ等を低減できる。
本実施形態に係る記録方法に用いられる白色インク組成物は、添加剤として、尿素類、アミン類、糖類等を含有してもよい。尿素類としては、尿素、エチレン尿素、テトラメチ
ル尿素、チオ尿素、1,3-ジメチル-2-イミダゾリジノン等、及び、ベタイン類(トリメチルグリシン、トリエチルグリシン、トリプロピルグリシン、トリイソプロピルグリシン、N,N,N-トリメチルアラニン、N,N,N-トリエチルアラニン、N,N,N-トリイソプロピルアラニン、N,N,N-トリメチルメチルアラニン、カルニチン、アセチルカルニチン等)等が挙げられる。
本実施形態に係る記録方法に用いられる白色インク組成物は、さらに必要に応じて、防腐剤・防かび剤、防錆剤、キレート化剤、粘度調整剤、酸化防止剤、防黴剤等の成分を含有してもよい。
本実施形態に係る記録方法に用いられる白色インク組成物は、記録媒体への濡れ拡がり性を適切なものとする観点から、25.0℃における表面張力は、40.0mN/m以下、好ましくは38.0mN/m以下、より好ましくは35.0mN/m以下、さらに好ましくは30.0mN/m以下であることが好ましい。なお、表面張力の測定は、自動表面張力計CBVP-Z(協和界面科学社製)を用いて、25.0℃の環境下で白金プレートを組成物で濡らしたときの表面張力を確認することにより測定することができる。
本実施形態に係る記録方法は、非白色色材を含む非白色インク組成物を記録媒体に付着させる非白色インク付着工程を備える。
本実施形態に係る記録方法に用いられる非白色インク組成物は、非白色色材を含有する。
非白色インク組成物に含有される非白色色材は、前述の白色色材以外の色材のことを指す。非白色色材としては、例えば、染料、顔料等が挙げられる。非白色色材は、例えば、シアン、イエロー、マゼンタ、ブラックなどのカラー色材とすることが好ましい。
フタロン顔料などの多環式顔料、染料キレート、染色レーキ、ニトロ顔料、ニトロソ顔料、アニリンブラック、昼光蛍光顔料、カーボンブラックなどが用いられる。上記顔料は、1種単独でも、2種以上併用して用いることもできる。さらに、非白色色材として、光輝性顔料を用いてもよい。
FW2V、Color Black FW18、Color Black FW200、Color B1ack S150、Color Black S160、Color
Black S170、Printex 35、Printex U、Printex
V、Printex 140U、Special Black 6、Special Black 5、Special Black 4A、Special Black 4(以上、デグッサ(Degussa)社製)等のカーボンブラック類が挙げられる。
本実施形態に係る記録方法に用いられる非白色インク組成物は、非白色色材の他に、樹脂粒子、有機溶剤、界面活性剤、水、ワックス、添加剤、樹脂分散剤、防腐剤・防かび剤、防錆剤、キレート化剤、粘度調整剤、酸化防止剤、防黴剤等の成分を含有してもよい。
本実施形態に係る記録方法に用いられる非白色インク組成物の粘度は、20℃において、1.5mPa・s以上15.0mPa・s以下とすることが好ましく、1.5mPa・s以上7.0mPa・s以下とすることがより好ましく、1.5mPa・s以上5.5mPa・s以下とすることがより好ましい。非白色インク組成物が、インクジェット法によって記録媒体に付着される場合には、所定の画像を効率的に記録媒体に形成することが容易である。
下、好ましくは38.0mN/m以下、より好ましくは35.0mN/m以下、さらに好ましくは30.0mN/m以下であることが好ましい。なお、表面張力の測定は、上述の白色インク組成物と同様に行われる。
本実施形態に係る記録方法は、上述した白色インク付着工程及び非白色インク付着工程を、記録ヘッドと記録媒体との相対的な走査により行い、白色インク付着工程と、非白色インク付着工程を、同一の相対的な走査により、記録媒体の同一の走査領域に対して行い、白色インク組成物及び非白色インク組成物を付着させた記録領域において、単位領域当たりの非白色インク組成物の付着量100質量%に対し、白色インク組成物の付着量が60質量%以下である。
物の最大付着量が前記範囲内であると、白色インク組成物との接触界面積が増大しより混合されやすくなるため、より画質に優れる傾向にある。
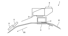
本実施形態に係る記録方法が実施される記録装置の一例について図面を参照しながら説明する。
本実施形態に係る記録方法が実施される記録装置が備える記録ヘッド2(以下、単に「ヘッド2」ともいう)は、記録媒体Mに対して相対的に走査されるものである。
記録ヘッド2としては、特に制限されるものではないが、インクジェットヘッドであることが好ましい。すなわち、上述した白色インク付着工程及び非白色インク付着工程においては、インクジェットヘッドからインクを吐出して行うことが好ましい。そうすると、本実施形態に係る記録方法が実施される記録装置1が、ヘッド2の位置を移動する態様(シリアル型)である場合には、高速な動作が可能で、より高精細な高品質の画像を高速に形成することができる。
非白色インク組成物とがより混合されやすいため、画質が劣る傾向にある。しかしながら、本実施形態に係る記録方法では、マルチパス記録においても画質に優れる画像を形成することが可能である。なお、「マルチパス記録」とは、個々の主走査方向MS上のドットの形成を、P回(Pは2以上の整数)のパスで完了する記録動作のことをいう。
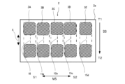
は白色インクノズル列16は、主走査方向MSの矢印S1側に配置されているが、白色インクノズル列16と非白色インクノズル列15a~15dの配置位置は特に制限されない。なお、以下において、非白色インクノズル列15a~15dのうち、記録に用い記録時にインクを吐出する部分を、非白色インク吐出ノズル列という。同様に、白色インクノズル列16のうち、記録に用い記録時に白色インク組成物を吐出する部分を、白色インク吐出ノズル列という。
図2に示すような、記録ヘッド2に白色インク組成物や非白色インク組成物を供給するカートリッジ12は、独立した複数のカートリッジを含む。カートリッジ12は、記録ヘッド2を搭載したキャリッジ9に対して着脱可能に装着される。複数のカートリッジのそれぞれには異なる種類のインク組成物が充填されており、カートリッジ12から各ノズルに白色インク組成物や非白色インク組成物が供給される。なお、本実施形態においては、カートリッジ12はキャリッジ9に装着される例を示しているが、これに限定されず、キャリッジ9以外の場所に設けられ、図示せぬ供給管によって各ノズルに供給される形態でもよい。
(MEM)は、CPU102のプログラムを格納する領域や作業領域等を確保するためのものである。CPU102は、ユニット制御回路104(UCTRL)により各ユニットを制御する。なお、記録装置1内の状況を検出器群121(DS)が監視し、その検出結果に基づいて、制御部CONTは各ユニットを制御する。
本実施形態に係る記録方法が実施される記録装置の変形例を以下に述べる。
本実施形態に係る記録方法においては、上述した白色インク付着工程と、非白色インク付着工程を、同一の相対的な走査により、記録媒体の同一の走査領域に対して行うことができればよい。そのため、記録ヘッド2は、各ノズル列において、それぞれ一部のノズルで構成されるノズル列を使用して記録するように制御してもよい。すなわち、各ノズル列が、それぞれ吐出ノズル列及び不吐出ノズル列を有するように選択してもよい。
ばよい。
図2の記録装置は、シリアル型の記録ヘッドを搭載し、シリアル型の記録方法を行うシリアル型の記録装置である。一方、記録ヘッド2は、ライン型記録ヘッドであってもよい。ライン型記録ヘッドにおいても、記録媒体Mに対して相対的に走査することができる。。そして、本実施形態に係る記録方法によれば、白色インク組成物の付着量が比較的少ない場合でも、画質に優れた画像を形成することができる。
図2に示すような記録装置1においては、記録ヘッド2の主走査と、記録媒体Mの搬送である副走査を複数回繰り返し行うことで、記録媒体Mに対して記録するものである。その一方で、記録媒体Mの搬送を行うことなく、記録媒体Mにおける一定の印刷領域に、記録ヘッド2の移動のみで画像を印刷するラテラルスキャン方式であってもよい。このようなラテラルスキャン方式であっても、白色インク付着工程と非白色インク付着工程を、同一の相対的な走査により、記録媒体の同一の走査領域に対して行うことができる。
本実施形態に係る記録方法は、記録媒体に付着した液体を乾燥させる乾燥工程や、記録媒体を加熱する工程(後加熱工程)等を備えてもよい。
本実施形態に係る記録方法は、乾燥工程を有してもよい。本実施形態に係る記録方法は、白色インク組成物及び非白色インク組成物の付着工程の前又は付着工程の際に記録媒体を乾燥する工程を備えてもよい。乾燥工程は、記録を停止して放置する手段、の他に、乾燥機構を用いて乾燥させる手段により行うことができる。乾燥機構を用いて乾燥させる手段としては、記録媒体に対して常温の送風や温風の送風を行う手段(送風式)、及び、記録媒体に熱を発生する放射線(赤外線等)を照射する手段(放射式)、記録媒体に接して記録媒体に熱を伝える部材(伝導式)、並びに、これらの手段の2種以上を組み合わせが挙げられる。乾燥工程を有する場合、これらの中でも伝導式又は送風式で行われることがより好ましい。
本実施形態に係る記録方法は、上記の各付着工程後に、さらに記録媒体を加熱する後加熱工程を備えてもよい。後加熱工程は、例えば、適宜の加熱手段を用いて行うことができる。後加熱工程は、例えば、アフターヒーター(上述の記録装置の例では加熱ヒーター5が相当する。)により行われる。また、加熱手段は、記録装置に備えられた加熱手段に限らず、他の乾燥手段を用いてもよい。これにより得られる画像を乾燥させ、より十分に定着させることができるので、例えば、記録物を早期に使用できる状態にすることができる。
本発明の一実施形態に係る記録装置は、記録媒体に記録を行う記録装置であって、白色色材を含む白色インク組成物を前記記録媒体に付着させる白色インクヘッドと、非白色色材を含む非白色インク組成物を前記記録媒体に付着させる非白色インクヘッドと、インクヘッドと前記記録媒体との相対的な走査を行う走査機構と、を備え、上述の記録方法により記録を行うものである。このような記録装置によれば、画質の優れる画像形成と、優れた印刷速度との両立を実現できる。また、記録ヘッドがシリアル型の場合には、使用するノズル列を主走査方向に投影させたときに少なくとも一部が重なるように配列させればよいので、記録ヘッドの副走査方向における長さを短くすることができ、ひいては装置全体の小型化が可能となる。
以下、本発明を実施例によってさらに具体的に説明するが、本発明はこれらの例に限定されるものではない。以下「%」は、特に記載のない限り、質量基準である。
下表1及び下表2に示す含有量で各成分を混合し、室温にて2時間撹拌した後、孔径10μmのメンブレンフィルターにてろ過することで、各白色インク組成物及び各非白色インク組成物を得た。
まず、30%アンモニア水溶液(中和剤)0.1質量部を溶解させたイオン交換水155質量部に、樹脂分散剤としてアクリル酸-アクリル酸エステル共重合体(重量平均分子量:25,000、酸価:18)4質量部を加えて溶解させた。そこに、白色色材である
二酸化チタン(C.I.ピグメントホワイト6)を40質量部加えてジルコニアビーズによるボールミルにて10時間分散処理を行った。その後、遠心分離機による遠心濾過を行って粗大粒子やゴミ等の不純物を除去して、白色色材の濃度が20質量%となるように調整し、白色色材分散液を得た。白色色材の粒子径は、平均粒子径で350nmであった。
まず、30%アンモニア水溶液(中和剤)2質量部を溶解させたイオン交換水160.5質量部に、樹脂分散剤としてアクリル酸-アクリル酸エステル共重合体(重量平均分子量:25,000、酸価:180)7.5質量部を加えて溶解させた。そこに、マゼンタ色材としてC.I.ピグメントレッド122を30質量部加えてジルコニアビーズによるボールミルにて10時間分散処理を行った。その後、遠心分離機による遠心濾過を行って粗大粒子やゴミ等の不純物を除去し、マゼンタ色材濃度が15質量%となるように調整して、非白色色材(マゼンタ色材)分散液を得た。その際のマゼンタ色材の粒子径は、平均粒子径で100nmであった。
<色材>
・二酸化チタン(白色色材):C.I.ピグメントホワイト6
・マゼンタ(非白色色材):C.I.ピグメントレッド122
<樹脂>
・スチレン・アクリル系:商品名「ジョンクリル62J」、BASFジャパン社製
<ワックス>
・ポリエチレン系:商品名「AQUACER539」、BYK社製
<界面活性剤>
・BYK348:ビックケミー・ジャパン社製商品名、シリコーン系界面活性剤
3.2.1.記録試験
上記で得られた各白色インク組成物及び各非白色インク組成物を、それぞれインクカートリッジに充填し、記録装置に搭載した。なお、記録装置としては、セイコーエプソン株式会社製「SC-S40650」を改造して使用した。また、記録装置は、記録ヘッドが主走査方向に移動する複数回の主走査と、記録媒体が副走査方向へ移動する複数回の副走査と、により記録するものとした。記録ヘッドは図4のように構成し、ノズルが副走査方向に並び白色インク組成物を吐出する白色インクノズル列(白色インクノズル列16)と、ノズルが副走査方向に並び非白色インク組成物を吐出する非白色インクノズル列(非白色インクノズル列15a~15d)と、を有するものとした。この場合において、白色インクノズル列は非白色インクノズル列と副走査方向において互いに位置が重なる部分が100%の配列であった。
<印刷方式1:同時打ち>
図4のように記録ヘッドを構成し、白色インクノズル列全体を白色インク組成物の吐出ノズル列として記録に用い、非白色インクノズル列全体を非白色インク組成物の吐出ノズル列として記録に用いた。記録ヘッドの走査中に、白色インク組成物及び非白色インク組成物の吐出が同時に行われる印刷方式(1パスで白色インク組成物及び非白色インク組成物の両者が付着)であって、白色インクノズル列及び非白色インクノズル列の全てのノズルが吐出ノズル列となる方式である。下表3及び下表4には、同時打ちの印刷方式として「同時」と記載した。
白色インクノズル列のみを白色インク組成物吐出ノズル列として記録に用い、白色インクの付着後、記録媒体を戻して、非白色インクノズル列のみを非白色インク組成物吐出ノズル列として記録に用いた。先に付着させた白色インクからなるパターンに、非白色インクからなるパターンを重ねて付着させた。すなわち、記録ヘッドの白色インク組成物の付着が行われる走査の後で、白色インク組成物が付着した領域に、非白色インク組成物の付着が行われる走査が行われる印刷方式であり、各吐出ノズル列を主走査方向に投影した場合に重なる部分を有しないものである。下表3及び下表4には、先打ちの印刷方式として「先打ち」と記載した。
<走査方式1:双方向印刷>
記録ヘッドが主走査方向へ移動しながら画像を形成する一回の動作(「パス」ともいう
。)において、パス1とパス2で記録ヘッドの主走査方向の移動方向が異なる印刷方式。下表3及び下表4には、双方向印刷として「双方向」と記載した。
パス1とパス2で記録ヘッドの主走査方向の移動方向が同じとなる印刷方式。下表3及び下表4には、単方向印刷として「単方向」と記載した。なお、記録ヘッドにおける白色インクノズル列は、パスの主走査方向で、非白色インクノズル列よりも先行側に配置した。
付着工程後の乾燥工程(二次乾燥工程)を、記録媒体の表面温度は70℃となるように行った。
上記で得られた各白色インク組成物のみを、それぞれインクカートリッジに充填し、記録装置に搭載した後24時間静置した。非白色インク組成物を用いず、白色インク組成物の記録媒体への付着量を10.8mg/inch2とした以外は実施例1と同様にして、画像の記録を行った。画像の白色度(L値)を、分光測色計「i1pro2」(製品名、X-RITE社製)によって測定し、下記の評価基準により判定した。なお、測定条件としては、光源をD50とし、観察角を2°とした。また、測定時にはISO隠ぺいカチャート(コーテック社製、商品名「KL-2A」)の黒色台紙を下地として用いた。
(評価基準)
A:L値≧75
B:75>L値≧70
C:70>L値
上記記録試験で得られた各記録物の表側における記録パターン部分の反射濃度(OD値)を、分光測色計「i1pro2」(製品名、X-RITE社製)によって測定した。なお、測定条件としては、光源をD50とし、観察角を2°とした。各実施例、各比較例では、印刷方式を同時打ち又は先打ちとしたこと以外は同じ条件とし、記録した記録パターンを作製して同様に測定した。測定された各実施例、各比較例及び各参考例におけるOD値の、先打ちの印刷方式で記録を行った参考例のOD値に対する比率(比OD値)から、下記の評価基準にて判定した。なお参考例は先打ちであるため100%とする。以下の評価試験においても同様とする。
(評価基準)
A:比OD値が100%以上である。
B:比OD値が90%以上100%未満である。
C:比OD値が80%以上90%未満である。
D:比OD値が80%未満である。
上記記録試験で得られた各記録物の記録パターン部分を、学振型摩擦堅牢度試験機「AB-301」(テスター産業社製の商品名)に白綿布(JIS L 0803準拠)を取り付けた摩擦子で、荷重200gをかけて50往復擦った。そして、各実施例、各比較例及び各参考例における剥離面積の、画質評価と同様に先打ちの印刷方式で記録を行った記録パターンの剥離面積に対する比率(剥離面積比)を、目視で観察し、下記の評価基準にて判定した。
(評価基準)
A:剥離面積比が100%以上である。
B:剥離面積比が90%以上100%未満である。
C:剥離面積比が80%以上90%未満である。
D:剥離面積比が70%以上80%未満である。
E:剥離面積比が70%未満である。
上記記録試験で得られた各記録物の印刷に要した時間を測定した。なお、このときの記録媒体はA4サイズとした。そして、各実施例、各比較例及び各参考例における印刷時間の、画質評価と同様に先打ちの印刷方式で記録を行った場合における印刷時間に対する比率(印刷時間比)を、下記の評価基準にて判定した。
(評価基準)
A:印刷時間比が80%未満である。
B:印刷時間比が80%以上100%未満である。
C:印刷時間比が100%以上である。
評価試験の結果を、上表3~上表4に示す。
記録媒体に記録を行う記録方法であって、
白色色材を含む白色インク組成物を前記記録媒体に付着させる白色インク付着工程と、
非白色色材を含む非白色インク組成物を前記記録媒体に付着させる非白色インク付着工程と、を備え、
前記白色インク付着工程及び前記非白色インク付着工程を、記録ヘッドと前記記録媒体との相対的な走査により行い、
前記白色インク付着工程と、前記非白色インク付着工程を、同一の前記相対的な走査により、前記記録媒体の同一の走査領域に対して行い、
前記白色インク組成物及び前記非白色インク組成物を付着させた記録領域において、単位領域当たりの前記非白色インク組成物の付着量100質量%に対し、前記白色インク組
成物の付着量が60質量%以下である。
前記記録ヘッドがインクジェットヘッドであり、前記白色インク付着工程及び前記非白色インク付着工程を、インクジェットヘッドからインクを吐出することで行ってもよい。
1回の走査での走査が行われる走査領域に、前記白色インク付着工程と前記非白色インク付着工程を同一の走査で前記記録媒体の同一の走査領域に対して行う走査を、複数回行ってもよい。
前記白色インク組成物及び前記非白色インク組成物を付着させた記録領域において、前記白色インク組成物の最大付着量が7mg/inch2以下であってもよい。
前記白色インク組成物の前記白色色材含有量が5~20質量%であり、前記非白色インク組成物の前記非白色色材含有量が0.5~6質量%であってもよい。
前記白色インク組成物及び前記非白色インク組成物が、それぞれ水系インクであってもよい。
前記白色インク組成物及び前記非白色インク組成物がそれぞれ、有機溶剤の含有量が30質量%以下であってもよい。
前記白色インク組成物及び前記非白色インク組成物がそれぞれ、標準沸点が150~280℃の有機溶剤を含有してもよい。
前記白色インク組成物及び前記非白色インク組成物が、それぞれ標準沸点が280℃超のポリオール有機溶剤を2質量%を超えて含有しなくてもよい。
前記白色インク組成物及び前記非白色インク組成物が、それぞれ含窒素溶剤を有機溶剤の合計含有量100質量%に対し18質量%を超えて含有しなくてもよい。
前記白色インク組成物の含窒素溶剤の含有量が前記非白色インク組成物の含窒素溶剤の含有量より少なくてもよい。
前記記録媒体が、低吸収記録媒体または非吸収記録媒体であってもよい。
前記記録媒体は、非白色記録媒体であってもよい。
記録媒体に記録を行う記録装置であって、
白色色材を含む白色インク組成物を前記記録媒体に付着させる白色インクヘッドと、
非白色色材を含む非白色インク組成物を前記記録媒体に付着させる非白色インクヘッドと、
インクヘッドと前記記録媒体との相対的な走査を行う走査機構と、を備え、
上記態様の記録方法により記録を行う。
Claims (16)
- 記録媒体に記録を行う記録方法であって、
白色色材を含む白色インク組成物を前記記録媒体に付着させる白色インク付着工程と、
非白色色材を含む非白色インク組成物を前記記録媒体に付着させる非白色インク付着工程と、を備え、
前記白色インク付着工程及び前記非白色インク付着工程を、記録ヘッドと前記記録媒体との相対的な走査により行い、
前記白色インク付着工程と、前記非白色インク付着工程を、同一の前記相対的な走査により、前記記録媒体の同一の走査領域に対して行い、
1回の走査での走査が行われる走査領域に、前記白色インク付着工程と前記非白色インク付着工程を同一の走査で前記記録媒体の同一の走査領域に対して行う走査を、複数回行い、
前記白色インク組成物及び前記非白色インク組成物を付着させた記録領域において、単位領域当たりの前記非白色インク組成物の付着量100質量%に対し、前記白色インク組成物の付着量が60質量%以下である、記録方法。 - 前記記録ヘッドがインクジェットヘッドであり、前記白色インク付着工程及び前記非白色インク付着工程を、インクジェットヘッドからインクを吐出することで行う、請求項1に記載の記録方法。
- 1回の走査での走査が行われる走査領域に、前記白色インク付着工程と前記非白色インク付着工程を同一の走査で前記記録媒体の同一の走査領域に対して行う走査を、2~24回行う、請求項1または請求項2に記載の記録方法。
- 前記白色インク組成物及び前記非白色インク組成物を付着させた記録領域において、前記白色インク組成物の最大付着量が7mg/inch2以下である、請求項1ないし請求項3のいずれか一項に記載の記録方法。
- 前記白色インク組成物の前記白色色材含有量が5~20質量%であり、前記非白色インク組成物の前記非白色色材含有量が0.5~6質量%である、請求項1ないし請求項4のいずれか一項に記載の記録方法。
- 前記白色インク組成物及び前記非白色インク組成物が、それぞれ水系インクである、請求項1ないし請求項5のいずれか一項に記載の記録方法。
- 前記白色インク組成物及び前記非白色インク組成物がそれぞれ、有機溶剤の含有量が30質量%以下である、請求項1ないし請求項6のいずれか一項に記載の記録方法。
- 前記白色インク組成物及び前記非白色インク組成物がそれぞれ、標準沸点が150~280℃の有機溶剤を含有する、請求項1ないし請求項7のいずれか一項に記載の記録方法。
- 前記白色インク組成物及び前記非白色インク組成物が、それぞれ標準沸点が280℃超のポリオール有機溶剤を2質量%を超えて含有しない、請求項1ないし請求項8のいずれか一項に記載の記録方法。
- 前記白色インク組成物及び前記非白色インク組成物が、それぞれ含窒素溶剤を有機溶剤の合計含有量100質量%に対し18質量%を超えて含有しない、請求項1ないし請求項9のいずれか一項に記載の記録方法。
- 前記白色インク組成物の含窒素溶剤の含有量が前記非白色インク組成物の含窒素溶剤の含有量より少ない、請求項1ないし請求項10のいずれか一項に記載の記録方法。
- 前記記録媒体が、低吸収記録媒体または非吸収記録媒体である、請求項1ないし請求項11のいずれか一項に記載の記録方法。
- 前記記録媒体は、非白色記録媒体である、請求項1ないし請求項12のいずれか一項に記載の記録方法。
- 前記記録ヘッドはキャリッジに搭載されている、請求項1ないし請求項13のいずれか一項に記載の記録方法。
- 前記非白色インク組成物の前記記録領域における単位領域当たりの付着量が最大付着量から最大付着量の20質量%までの領域に亘り、単位領域当たりの前記非白色インク組成物の付着量100質量%に対し、前記白色インク組成物の付着量が60質量%以下である、請求項1ないし請求項14のいずれか一項に記載の記録方法。
- 記録媒体に記録を行う記録装置であって、
白色色材を含む白色インク組成物を前記記録媒体に付着させる白色インクヘッドと、
非白色色材を含む非白色インク組成物を前記記録媒体に付着させる非白色インクヘッドと、
インクヘッドと前記記録媒体との相対的な走査を行う走査機構と、を備え、
請求項1ないし請求項15のいずれか一項に記載の記録方法により記録を行う、記録装置。
Priority Applications (3)
| Application Number | Priority Date | Filing Date | Title |
|---|---|---|---|
| JP2020219289A JP7608828B2 (ja) | 2020-12-28 | 2020-12-28 | 記録方法及び記録装置 |
| US17/562,072 US12168355B2 (en) | 2020-12-28 | 2021-12-27 | Recording method and recording apparatus |
| CN202111616770.5A CN114683697B (zh) | 2020-12-28 | 2021-12-27 | 记录方法及记录装置 |
Applications Claiming Priority (1)
| Application Number | Priority Date | Filing Date | Title |
|---|---|---|---|
| JP2020219289A JP7608828B2 (ja) | 2020-12-28 | 2020-12-28 | 記録方法及び記録装置 |
Publications (2)
| Publication Number | Publication Date |
|---|---|
| JP2022104220A JP2022104220A (ja) | 2022-07-08 |
| JP7608828B2 true JP7608828B2 (ja) | 2025-01-07 |
Family
ID=82118725
Family Applications (1)
| Application Number | Title | Priority Date | Filing Date |
|---|---|---|---|
| JP2020219289A Active JP7608828B2 (ja) | 2020-12-28 | 2020-12-28 | 記録方法及び記録装置 |
Country Status (3)
| Country | Link |
|---|---|
| US (1) | US12168355B2 (ja) |
| JP (1) | JP7608828B2 (ja) |
| CN (1) | CN114683697B (ja) |
Citations (6)
| Publication number | Priority date | Publication date | Assignee | Title |
|---|---|---|---|---|
| JP2005153314A (ja) | 2003-11-26 | 2005-06-16 | Konica Minolta Medical & Graphic Inc | 画像記録装置 |
| JP2005262553A (ja) | 2004-03-17 | 2005-09-29 | Konica Minolta Medical & Graphic Inc | 画像記録装置 |
| JP2013220640A (ja) | 2012-04-19 | 2013-10-28 | Seiko Epson Corp | 印刷制御装置および印刷画像制御方法 |
| JP2019156995A (ja) | 2018-03-14 | 2019-09-19 | セイコーエプソン株式会社 | インクセット、及び該インクセットを用いた記録方法 |
| JP2020049919A (ja) | 2018-09-28 | 2020-04-02 | セイコーエプソン株式会社 | インクジェット記録方法 |
| JP2020049783A (ja) | 2018-09-27 | 2020-04-02 | セイコーエプソン株式会社 | インクジェット記録方法及びインクジェット記録装置 |
Family Cites Families (20)
| Publication number | Priority date | Publication date | Assignee | Title |
|---|---|---|---|---|
| JP2001246767A (ja) | 2000-03-07 | 2001-09-11 | Sharp Corp | インクジェット画像形成方法及びインクジェット画像形成装置 |
| US7604693B2 (en) | 2007-01-29 | 2009-10-20 | Seiko Epson Corporation | Ink set, ink container, liquid ejecting apparatus, ink-jet recording process, and recorded article |
| US8894197B2 (en) | 2007-03-01 | 2014-11-25 | Seiko Epson Corporation | Ink set, ink-jet recording method, and recorded material |
| JP2009286998A (ja) | 2008-05-01 | 2009-12-10 | Seiko Epson Corp | インクジェット記録用インク組成物 |
| JP5515650B2 (ja) | 2008-12-09 | 2014-06-11 | セイコーエプソン株式会社 | 画像記録方法、画像記録システム |
| JP5540794B2 (ja) | 2010-03-18 | 2014-07-02 | セイコーエプソン株式会社 | 液体噴射方法、及び、液体噴射装置 |
| JP5776404B2 (ja) * | 2011-07-22 | 2015-09-09 | セイコーエプソン株式会社 | インクジェット記録装置 |
| JP5546028B2 (ja) * | 2011-09-09 | 2014-07-09 | 富士フイルム株式会社 | 複層形成用インクセット、インクジェット記録方法、及び、印刷物 |
| US8979232B2 (en) | 2011-10-11 | 2015-03-17 | Seiko Epson Corporation | Image forming apparatus and image forming method |
| JP2013095078A (ja) | 2011-11-02 | 2013-05-20 | Seiko Epson Corp | インクジェット記録方法 |
| JP2015083628A (ja) | 2013-10-25 | 2015-04-30 | セイコーエプソン株式会社 | インクセット、液滴吐出装置 |
| JP6521282B2 (ja) | 2014-09-19 | 2019-05-29 | セイコーエプソン株式会社 | 記録方法、記録装置、及びインクセット |
| WO2016098678A1 (ja) * | 2014-12-15 | 2016-06-23 | コニカミノルタ株式会社 | 活性光線硬化型インクジェットインク、インクジェット画像形成方法およびインクジェットインクを用いて画像が形成された記録媒体 |
| JP2016175988A (ja) | 2015-03-19 | 2016-10-06 | 東洋インキScホールディングス株式会社 | インクジェット記録用インキ |
| JP2018030943A (ja) * | 2016-08-24 | 2018-03-01 | セイコーエプソン株式会社 | 非白色インクジェット捺染インク組成物およびインクジェット捺染方法 |
| JP6950194B2 (ja) | 2016-12-22 | 2021-10-13 | セイコーエプソン株式会社 | 液体噴射ヘッドおよび液体噴射装置 |
| JP7005899B2 (ja) | 2017-01-10 | 2022-01-24 | 株式会社リコー | 液体吐出装置、画像形成セット、インク及び画像形成方法 |
| JP6972785B2 (ja) * | 2017-08-31 | 2021-11-24 | セイコーエプソン株式会社 | 記録方法及び記録装置 |
| JP7087443B2 (ja) | 2018-02-27 | 2022-06-21 | セイコーエプソン株式会社 | インクジェット記録方法及び記録装置 |
| JP7131241B2 (ja) * | 2018-09-21 | 2022-09-06 | セイコーエプソン株式会社 | インクジェット記録方法、インクジェット記録装置 |
-
2020
- 2020-12-28 JP JP2020219289A patent/JP7608828B2/ja active Active
-
2021
- 2021-12-27 CN CN202111616770.5A patent/CN114683697B/zh active Active
- 2021-12-27 US US17/562,072 patent/US12168355B2/en active Active
Patent Citations (6)
| Publication number | Priority date | Publication date | Assignee | Title |
|---|---|---|---|---|
| JP2005153314A (ja) | 2003-11-26 | 2005-06-16 | Konica Minolta Medical & Graphic Inc | 画像記録装置 |
| JP2005262553A (ja) | 2004-03-17 | 2005-09-29 | Konica Minolta Medical & Graphic Inc | 画像記録装置 |
| JP2013220640A (ja) | 2012-04-19 | 2013-10-28 | Seiko Epson Corp | 印刷制御装置および印刷画像制御方法 |
| JP2019156995A (ja) | 2018-03-14 | 2019-09-19 | セイコーエプソン株式会社 | インクセット、及び該インクセットを用いた記録方法 |
| JP2020049783A (ja) | 2018-09-27 | 2020-04-02 | セイコーエプソン株式会社 | インクジェット記録方法及びインクジェット記録装置 |
| JP2020049919A (ja) | 2018-09-28 | 2020-04-02 | セイコーエプソン株式会社 | インクジェット記録方法 |
Also Published As
| Publication number | Publication date |
|---|---|
| CN114683697A (zh) | 2022-07-01 |
| US12168355B2 (en) | 2024-12-17 |
| JP2022104220A (ja) | 2022-07-08 |
| CN114683697B (zh) | 2023-11-14 |
| US20220203699A1 (en) | 2022-06-30 |
Similar Documents
| Publication | Publication Date | Title |
|---|---|---|
| US11001074B2 (en) | Ink jet recording method and an ink jet recording apparatus | |
| JP7552077B2 (ja) | 記録方法 | |
| CN110293781B (zh) | 喷墨记录方法以及喷墨记录装置 | |
| US11111404B2 (en) | Printing method and printing apparatus | |
| US11267274B2 (en) | Ink jet recording method | |
| JP7275577B2 (ja) | インクジェット記録方法及びインクジェット記録装置 | |
| JP7375372B2 (ja) | インクジェット記録方法、インクジェット記録装置、インクセット | |
| JP2019167451A (ja) | インクセット及び記録方法 | |
| US11904615B2 (en) | Recording method and ink jet recording apparatus | |
| JP7608828B2 (ja) | 記録方法及び記録装置 | |
| CN114958091B (zh) | 记录方法及喷墨记录装置 | |
| JP7452070B2 (ja) | 記録方法及びインクジェット記録装置 | |
| US12311678B2 (en) | Recording method and recording apparatus | |
| US20240326499A1 (en) | Recording Method And Recording Apparatus | |
| JP2024117948A (ja) | 記録方法及び記録装置 | |
| JP2024103134A (ja) | 記録方法及び記録装置 | |
| JP2025088229A (ja) | インクセット及び記録方法 | |
| JP2025122806A (ja) | 記録方法及び記録装置 |
Legal Events
| Date | Code | Title | Description |
|---|---|---|---|
| A621 | Written request for application examination |
Free format text: JAPANESE INTERMEDIATE CODE: A621 Effective date: 20231201 |
|
| A977 | Report on retrieval |
Free format text: JAPANESE INTERMEDIATE CODE: A971007 Effective date: 20240828 |
|
| A131 | Notification of reasons for refusal |
Free format text: JAPANESE INTERMEDIATE CODE: A131 Effective date: 20240910 |
|
| A521 | Request for written amendment filed |
Free format text: JAPANESE INTERMEDIATE CODE: A523 Effective date: 20241101 |
|
| TRDD | Decision of grant or rejection written | ||
| A01 | Written decision to grant a patent or to grant a registration (utility model) |
Free format text: JAPANESE INTERMEDIATE CODE: A01 Effective date: 20241119 |
|
| A61 | First payment of annual fees (during grant procedure) |
Free format text: JAPANESE INTERMEDIATE CODE: A61 Effective date: 20241202 |
|
| R150 | Certificate of patent or registration of utility model |
Ref document number: 7608828 Country of ref document: JP Free format text: JAPANESE INTERMEDIATE CODE: R150 |



