JP7200460B2 - パッケージ構造物 - Google Patents

パッケージ構造物 Download PDF

Info

Publication number
JP7200460B2
JP7200460B2 JP2019100507A JP2019100507A JP7200460B2 JP 7200460 B2 JP7200460 B2 JP 7200460B2 JP 2019100507 A JP2019100507 A JP 2019100507A JP 2019100507 A JP2019100507 A JP 2019100507A JP 7200460 B2 JP7200460 B2 JP 7200460B2
Authority
JP
Japan
Prior art keywords
substrate
package structure
stiffener
reinforcing member
interposer
Prior art date
Legal status (The legal status is an assumption and is not a legal conclusion. Google has not performed a legal analysis and makes no representation as to the accuracy of the status listed.)
Active
Application number
JP2019100507A
Other languages
English (en)
Other versions
JP2020080398A (ja
Inventor
キム、ヒョン-ジュン
ジュン、ボン-ブ
キム、チョル-キュ
キム、ハン
Original Assignee
サムソン エレクトロ-メカニックス カンパニーリミテッド.
Priority date (The priority date is an assumption and is not a legal conclusion. Google has not performed a legal analysis and makes no representation as to the accuracy of the date listed.)
Filing date
Publication date
Application filed by サムソン エレクトロ-メカニックス カンパニーリミテッド. filed Critical サムソン エレクトロ-メカニックス カンパニーリミテッド.
Publication of JP2020080398A publication Critical patent/JP2020080398A/ja
Application granted granted Critical
Publication of JP7200460B2 publication Critical patent/JP7200460B2/ja
Active legal-status Critical Current
Anticipated expiration legal-status Critical

Links

Images

Classifications

    • HELECTRICITY
    • H01ELECTRIC ELEMENTS
    • H01LSEMICONDUCTOR DEVICES NOT COVERED BY CLASS H10
    • H01L24/00Arrangements for connecting or disconnecting semiconductor or solid-state bodies; Methods or apparatus related thereto
    • H01L24/93Batch processes
    • H01L24/95Batch processes at chip-level, i.e. with connecting carried out on a plurality of singulated devices, i.e. on diced chips
    • H01L24/97Batch processes at chip-level, i.e. with connecting carried out on a plurality of singulated devices, i.e. on diced chips the devices being connected to a common substrate, e.g. interposer, said common substrate being separable into individual assemblies after connecting
    • HELECTRICITY
    • H01ELECTRIC ELEMENTS
    • H01LSEMICONDUCTOR DEVICES NOT COVERED BY CLASS H10
    • H01L23/00Details of semiconductor or other solid state devices
    • H01L23/12Mountings, e.g. non-detachable insulating substrates
    • H01L23/13Mountings, e.g. non-detachable insulating substrates characterised by the shape
    • HELECTRICITY
    • H01ELECTRIC ELEMENTS
    • H01LSEMICONDUCTOR DEVICES NOT COVERED BY CLASS H10
    • H01L23/00Details of semiconductor or other solid state devices
    • H01L23/28Encapsulations, e.g. encapsulating layers, coatings, e.g. for protection
    • H01L23/29Encapsulations, e.g. encapsulating layers, coatings, e.g. for protection characterised by the material, e.g. carbon
    • HELECTRICITY
    • H01ELECTRIC ELEMENTS
    • H01LSEMICONDUCTOR DEVICES NOT COVERED BY CLASS H10
    • H01L23/00Details of semiconductor or other solid state devices
    • H01L23/32Holders for supporting the complete device in operation, i.e. detachable fixtures

Landscapes

  • Engineering & Computer Science (AREA)
  • Computer Hardware Design (AREA)
  • Microelectronics & Electronic Packaging (AREA)
  • Power Engineering (AREA)
  • Physics & Mathematics (AREA)
  • Condensed Matter Physics & Semiconductors (AREA)
  • General Physics & Mathematics (AREA)
  • Structure Of Printed Boards (AREA)
  • Combinations Of Printed Boards (AREA)

Description

本発明は、パッケージ構造物(Package Structure)に関する。
各種電子機器の使用が爆発的に増加するとともにデジタル技術及び半導体技術等の発達により、精密かつ複雑な電子機器の応用分野が広範囲になっている。電子機器の内部部品の密集度が高くなることにより、個々の部品(active、passive)を接続させるために必要なPCBの面積が大きくなっている。一方、バッテリーの大きさは大きくなる傾向にあり、このため、電子機器の限定された空間内にPCBを効率的に配置、装着する必要がある。
韓国登録特許第10-1324595号公報
本発明の一側面によれば、インターポーザで上下に結合された第1基板及び第2基板と、上記第1基板の上記第2基板と向かい合う一面に実装された第1素子と、上記第1基板の上記一面に上記第1素子から離隔して付着される補強材と、上記補強材の向かい側に位置するように、上記第2基板の一面に実装される第2素子と、を含むパッケージ構造物が提供される。
本発明の一実施例に係るパッケージ構造物を示す図である。 図1の一部を拡大した図である。 本発明の他の実施例に係るパッケージ構造物を示す図である。 補強材のない場合のパッケージ構造物の反りを示す図である。
本発明に係るパッケージ構造物の実施例を添付図面を参照して詳細に説明し、添付図面を参照して説明するに当たって、同一または対応する構成要素には同一の図面符号を付し、これに対する重複説明を省略する。
また、以下で使用する「第1」、「第2」等の用語は、同一または対応する構成要素を区別するための識別記号に過ぎず、同一または対応する構成要素が第1、第2等の用語により限定されることはない。
また、「結合」とは、各構成要素間の接触関係において、各構成要素間に物理的に直接接触する場合のみを意味するものではなく、他の構成が各構成要素の間に介在され、その他の構成に構成要素がそれぞれ接触している場合まで包括する概念として使用される。
スマートフォンを始めとした様々な電子機器に装着されるパッケージ構造物は、印刷回路基板と電子部品とを含む。印刷回路基板には、電子機器に必要な多くの電子部品が実装され、印刷回路基板には、回路が印刷されており、電子部品は印刷回路基板の回路を介して電気的に接続されることができる。
電子機器は、ハウジング、パッケージ構造物及びバッテリー(battery)等を含む。パッケージ構造物とバッテリーはハウジング内の空間に配置されるが、電子機器のディスプレイの大きさが大きくなっており、カメラが高解像度の機能を有する等、電子機器の仕様が高くなることにより、それによる電力消費量が増加するため、バッテリーの容量や大きさも大きくならなければならない。バッテリーの大きさが大きくなると、ハウジング内でのパッケージ構造物が占める面積が相対的に減少することになる。これは、逆に、パッケージ構造物が占める面積を小さくできれば、バッテリーに割り当てられる面積を大きくすることができるので、バッテリーの大型化が可能となることを意味する。
本発明の実施例に係るパッケージ構造物は、2つ以上の基板で形成された印刷回路基板を含み、印刷回路基板は、複層構造、スタック(stack)構造またはサンドイッチ(sandwich)構造を有する。印刷回路基板が2つ以上の基板を含む場合、印刷回路基板として使用できる面積は増加するものの、パッケージ構造物が電子機器のハウジング内で占める空間は最小化するので、さらにバッテリーが占める面積を大きくすることができる。
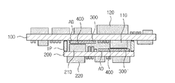
図1は、本発明の一実施例に係るパッケージ構造物を示す図であり、図2は、図1の一部を拡大した図である。
図1を参照すると、本発明の一実施例に係るパッケージ構造物は、第1基板100と、第2基板200と、インターポーザIPと、第1素子110と、補強材300と、第2素子210と、を含むことができる。
第1基板100及び第2基板200は、電子素子が実装されて印刷回路基板としての実質的な役割を担い、インターポーザIPは、第1基板100と第2基板200とを上下に接続させ、第1基板100と第2基板200とはインターポーザIPで物理的に、電気的に接続される。
インターポーザIPは、絶縁層と貫通ビアを含むことができる。
絶縁層は、単数または複数で形成されることができ、エポキシ樹脂、ポリイミド樹脂、BT樹脂等の絶縁物質で形成されることができる。具体的に、絶縁層は、PPG(prepreg)またはbuild up film(ex. Ajinomoto Build up Film)であり得る。この絶縁層は、繊維補強材、フィラー等を含むことができる。
貫通ビアは、絶縁層を貫通し、インターポーザIPの上下面を接続する。インターポーザIPの上下面には、貫通ビアに接続される接続パッドが形成されることができる。この接続パッドは、第1基板100及び第2基板200に結合することができる。ここで、インターポーザIPは、ソルダー部材により第1基板100及び第2基板200に結合することができる。
貫通ビアは、複数形成されることができ、複数の貫通ビアは、互いに離隔することができる。インターポーザIPは、内部に中空部を有するように環状に形成されることができる。この場合、複数の貫通ビアも環状のインターポーザIPに沿って、離隔して配置されることができる。
第1基板100と第2基板200のそれぞれは、板状からなり、複数の絶縁材層と複数の回路層とで構成された多層基板であることができ、回路層を基準にして8層または10層の多層基板であることができる。
第1基板100及び第2基板200の絶縁材層は、エポキシ樹脂、ポリイミド樹脂、BT樹脂、LCP(Liquid Crystal Polymer)等の絶縁物質で形成された層である。
回路層は、銅(Cu)のような金属等の伝導性物質で形成され、特定のパターンを有するように設計される。回路層は、絶縁材層の片面または両面に形成され、互いに異なる層の回路層は、絶縁材層を貫通するビア導体を介して電気的に接続されることができる。
第1基板100の一面には、第1素子110が実装される。ここで、第1基板100の一面は、第2基板200に向かい合う面である。第1素子110は、能動素子、受動素子、集積回路のうちの少なくとも1種であり、第1素子110は複数設けられることができ、複数の第1素子110は、能動素子、受動素子、集積回路のうちから多様に選択することができる。具体的に、第1素子110は、AP、Memory、BGA(Ball Grid Array)、CSP(Chip Scale Package)、LGA(Land Grid Array)等の多数の集積回路と、キャパシタ(capacitor)等の多数の受動素子と、を含むことができる。第1素子110は、ソルダー部材(図示せず)により第1基板100の表面に実装されることができる。
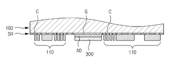
図2を参照すると、第1基板100の一面側の最外層の絶縁材層はソルダーレジストSRであり得る。すなわち、第1基板100の最外層には、ソルダーレジストSRが備えられることができる。この場合、ソルダーレジストSRは、第1基板100の回路層の一部を露出させながら回路層をカバーすることができる。特に、ソルダーレジストSRは、最外層の回路層をカバーする。最外層の回路層の一部は、有効な信号を伝達する信号伝逹回路Cであり、また他の一部は、グラウンドGであり得る。最外層の回路層のうちの信号伝逹回路Cの一部は、ソルダーレジストSRにより露出され、回路の露出された部分は、パッドとなり得る。ここで、ソルダーレジストSRには開口が形成され、最外層の回路層のうちの信号伝逹回路Cの一部は、ソルダーレジストSRの開口を介して露出される。
第1素子110は、ソルダー部材(図示せず)により上記パッドに実装されることができる。また、インターポーザIPも上記パッドに接合することができる。一方、グラウンドGもソルダーレジストSRによりカバーされ、グラウンドGの一部は、ソルダーレジストSRにより露出することができる。
インターポーザIPが内側に中空部を含む場合、第1素子110は、インターポーザIPの中空部内に位置することができる。ここで、インターポーザIPは、第1素子110を保護する機能をすることができる。
一方、第1基板100の他面には、第3素子120が実装されることができ、第3素子120は、複数設けられ、能動素子、受動素子、集積回路のうちから多様に選択することができる。第3素子120は、第1基板100の他面側の最外層の回路層に実装されることができる。第1素子110と第3素子120とは、第1基板100に形成された回路層及びビア導体を介して電気的に接続されることができる。
再び、図1を参照すると、補強材300は、第1基板100の一面に付着され、第1基板100の反りを防止することができる。補強材300は、第1素子110から離隔する。
補強材300は、第1基板100の一面において第1素子110が実装された後の残った空間に形成されることができる。第1素子110が複数形成される場合、補強材300は、複数の第1素子110の間に形成され、すべての第1素子110から離隔することができる。補強材300は、第1素子110を取り囲むように形成されることができる。
補強材300は、第1基板100の回路層に結合することができる。特に、補強材300は、第1基板100の一面側の最外層の回路層のうちのグラウンドGに結合することができる。すなわち、第1基板100の一面側の最外層の回路層のうちのグラウンドGの一部は、ソルダーレジストSRの開口により露出することができ、露出されたグラウンドGに補強材300が結合することができる。
補強材300は、第1基板100の反りを防止できるように、剛性が大きいか、歪み等の変形に耐える材質で形成することができる。補強材300は、インバー(invar)、SUS、タングステン、鉄、銅、アルミニウム等の金属で形成できるが、金属の種類が限定されることではない。一方、補強材300は、回路層よりも剛性の大きい金属を含む材質で形成されることができる。例えば、回路層は、銅で形成され、補強材300は、SUSで形成されることができる。
また、補強材300は、ダイ(die)を含むことができる。ダイは、シリコンを含む材料で形成することができる。ここで、補強材300としてのダイは、ダミー(dummy)ダイであって、電子素子として機能するものではなくてもよい。すなわち、補強材300としてのダイは、第1基板100の一面側の最外層の回路層のうちの信号伝逹回路Cに電気的に接続されなくてもよい。一方、補強材300としてのダミーダイの厚さは、第1素子110の厚さよりも小さいことができる。
補強材300は、接着部材ADで第1基板100の一面に付着されることができる。接着部材ADは、接着剤またはソルダーを含むことができる。すなわち、補強材300は、第1基板100の一面側のグラウンドGに接着剤またはソルダーで付着することができる。補強材300が金属である場合、接着剤が使用され、補強材300がダミーダイである場合、ソルダーが使用されることができるが、これに制限されない。
具体的に、補強材300が金属である場合、第1基板100の一面に付着される補強材300の面は、平坦であることができ、補強材300と第1基板100の一面との間に接着剤が介在されることができる。接着剤は、液状タイプ、またはDAF(die attach film)、テープ等のフィルムタイプであり得る。接着剤の成分は、ポリウレタン、アクリル、EVA(ethylene co-vinyl acetate)、PVAc(polyvinyl acetate)等を含むことができるが、これらに制限されない。
補強材300がダミーダイである場合、ダイは、複数の金属端子を含むことができ、金属端子には、ソルダーが結合され、ソルダーは、第1基板100の一面に結合することができる。特に、ソルダーは、第1基板100の一面側のソルダーレジストSRに直接付着されるよりも最外層の回路層のグラウンドGにさらに優れた密着力で付着されることができる。ただし、上述したように、補強材300がダミーダイである場合、必ずしもソルダーにより結合される必要はなく、接着剤により接着されることもできる。
インターポーザIPが内側に中空部を含む場合、補強材300は、インターポーザIPの中空部内に位置することができる。
第2基板200の一面には、第2素子210が実装される。ここで、第2基板200の一面は、第1基板100に向かい合う面である。特に、第2素子210は、補強材300の向かい側に配置される。これにより、第2素子210と補強材300とは、それぞれをいずれか1つの平面に投映したとき、重畳する領域が存在する。補強材300と第2素子210とは、印刷回路基板の厚さ方向(図面の上下方向)において互いに離隔することができる。
第2基板200の他面には、第4素子220が実装されることができる。この場合、第1基板100の2つの面と第2基板200の2つの面がすべて電子素子実装面として使用できるので、印刷回路基板としての使用面積が最大化することができる。
インターポーザIPが内側に中空部を含む場合、第2素子210は、インターポーザIPの中空部内に位置することができる。ここで、インターポーザIPは、第2素子210を保護する機能をすることができる。
本発明の一実施例に係るパッケージ構造物は、充填部材400をさらに含むことができる。
充填部材400は、補強材300と第2素子210との間に介在され、補強材300及び第2素子210とそれぞれ接触する。上述したように、補強材300と第2素子210とは、上下方向において互いに離隔しており、離隔することにより形成された空間に充填部材400が形成できる。
充填部材400により、補強材300及び第2素子210が固定されることができ、これにより、第1基板100及び第2基板200の反りが効果的に低減することができる。
充填部材400は、接着物質を含むことができ、ポリエステル、ポリウレタン、アクリル、EVA(ethylene co-vinyl acetate)、PVAc(polyvinyl acetate)等を含むことができる。
充填部材400は、第2素子210から発生する熱を放出、移動させることができるように、熱伝導素材(TIM、thermal interface material)を含むことができる。熱伝導素材は、空気よりも熱伝導率が50倍以上高いこともある。熱伝導素材(TIM、thermal interface material)は、サーマルコンパウンド(thermal compound)またはサーマルグリース(thermal grease)等のペーストからなることができる。サーマルコンパウンドまたはサーマルグリースは、シリコンを含むか、酸化アルミニウム(aluminium oxide)(Al)、boron nitride(BN)、酸化亜鉛(zinc oxide)(ZnO)等のセラミック材を含むか、または金属(銅、銀等)粒子を含有するゲルを含むことができる。
熱伝導素材は、サーマルテープ(thermal tape)またはサーマルパッド(thermal pad)のように付着タイプであってもよく、これは補強材300と第2素子210との間に位置し、補強材300と第2素子210のそれぞれに付着されることができる。
充填部材400は補強材300と接触し、補強材300はグラウンドGと接触するので、第2素子210から発生する熱は、充填部材400、補強材300、グラウンドGを介して放出されることができる。
図3に示すように、インターポーザIPが内側に中空部を含む場合、充填部材400は、インターポーザIPの中空部全体を充填することができる。すなわち、充填部材400は、補強材300と第2素子210との間のみではなく、それ以外の領域も充填することができる。この場合、充填部材400の広い領域により、第1基板100及び第2基板200の反りが効果的に低減でき、充填部材400が熱伝導素材である場合は、充填部材400がサーマルコンパウンドまたはサーマルグリース等のペーストからなることができ、このように、充填部材400がインターポーザIPの中空部を充填すると、放熱效果も増大できる。ここで、充填部材400は、セラミック材を含む熱伝導素材であってもよい。
一方、補強材は、第2基板200の一面にも形成されることができ、第2基板200の一面に形成された補強材300を第2の補強材300'と称し、上述した補強材300と区別する。第2の補強材300'は、第2基板200の反りを低減することができる。
第2の補強材300'は、第2素子210から離隔する。すなわち、第2の補強材300'は、第2基板200の一面に第2素子210が実装された後の残った空間に形成されることができ、第2素子210が複数である場合は、複数の第2素子210のすべてから離隔するように第2の補強材300'を形成することができる。第2の補強材300'は、第2素子210を取り囲むように形成されることができる。
第2の補強材300'は、第2基板200の回路層に結合することができる。特に、第2の補強材300'は、第2基板200の一面側の最外層の回路層のうちのグラウンドに結合することができる。すなわち、第2基板200の一面側の最外層の回路層のうちのグラウンドの一部は、ソルダーレジストの開口により露出することができ、露出されたグラウンドに第2の補強材300'が結合することができる。
第2の補強材300'は、接着部材ADにより第2基板200の一面に付着されることができる。接着部材ADは、接着剤またはソルダーを含むことができる。すなわち、第2の補強材300'は、第2基板200の一面側のグラウンドGに接着剤またはソルダーで付着されることができる。第2の補強材300'が金属である場合、液状タイプまたはフィルムタイプの接着剤が使用され、第2の補強材300'がダミーダイである場合、ソルダーを使用できるが、これに制限されない。
第2の補強材300'は、第2基板200の反りを防止できるように剛性が大きいか、歪み等の変形に耐える材質で形成することができる。第2の補強材300'は、インバー(invar)、SUS、タングステン、鉄、銅、アルミニウムなどの金属で形成することができるが、金属の種類に制限はない。
一方、第2の補強材300'は、回路層よりも剛性の大きい金属を含む材質で形成されることができる。例えば、回路層は、銅で形成され、第2の補強材300'は、SUSで形成されることができる。
また、第2の補強材300'は、ダイ(die)を含むことができる。ダイは、シリコンを含む材料で形成されることができる。ここで、第2の補強材300'としてのダイは、ダミー(dummy)ダイであって、電子素子として機能するものではなくてもよい。すなわち、第2の補強材300'としてのダイは、第2基板200の一面側の最外層の回路層のうちの信号伝逹回路Cに電気的に接続されなくてもよい。一方、補強材300としてのダミーダイの厚さは、第1素子110の厚さよりも小さいことができる。
インターポーザIPが内側に中空部を含む場合、第2の補強材300'は、インターポーザIPの中空部内に位置することができる。
第1基板100の一面に形成された第1素子110は、上記第2の補強材300'の向かい側に位置して互いに向かい合うことができ、第2の補強材300'と第1素子110 との間には、充填部材400が介在されることができる。すなわち、第2の補強材300'と第1素子110は、上下に離隔しており、充填部材400が第2の補強材300'と第1素子110との間に介在され、第2の補強材300及び第1素子110のそれぞれと接触することができる。充填部材400は、サーマルコンパウンドであってもよい。
その他に、上述した補強材300に関する説明を第2の補強材300'に同様に適用することができる。
図4を参照すると、補強材300がない場合は、第1基板100及び第2基板200に反りが発生し、第1基板100及び第2基板200の反りにより、第2素子210が第1基板100にぶつかり、第1素子110が第2基板200にぶつかることがある。しかし、本発明によれば、補強材300が第1基板100及び第2基板200の反りを低減することができるので、充填部材400が素子と基板との衝突を防止することができる。
以上、本発明の一実施例について説明したが、当該技術分野で通常の知識を有する者であれば、特許請求の範囲に記載された本発明の思想から逸脱しない範囲内で、構成要素の付加、変更、削除または追加等により本発明を多様に修正及び変更することができ、これも本発明の権利範囲内に含まれるものといえよう。
100 第1基板
200 第2基板
IP インターポーザ
300、300' 補強材
400 充填部材

Claims (13)

  1. インターポーザで上下結合した第1基板及び第2基板と、
    前記第1基板の前記第2基板に向かい合う一面に実装された第1素子と、
    前記第1基板の前記一面に、前記第1素子から離隔して付着される補強材と、
    前記補強材の向かい側に位置するように、前記第2基板の一面に実装される第2素子と、を含むパッケージ構造物。
  2. 前記補強材と前記第2素子との間に介在され、前記補強材及び前記第2素子のそれぞれと接触する充填部材をさらに含む請求項1に記載のパッケージ構造物。
  3. 前記充填部材は、熱伝導素材を含む請求項2に記載のパッケージ構造物。
  4. 前記インターポーザは、中空部を含み、
    前記第1素子、前記補強材及び前記第2素子は、前記中空部内に収容され、
    前記充填部材が前記中空部を充填する請求項2又は3に記載のパッケージ構造物。
  5. 前記インターポーザは、中空部を含み、
    前記第1素子、前記補強材及び前記第2素子は、前記中空部内に収容される請求項1~4の何れか一項に記載のパッケージ構造物。
  6. 前記第1基板の最外層には、ソルダーレジストが備えられ、
    前記ソルダーレジストは、前記第1基板の回路層を露出させ、
    前記補強材が、露出された前記回路層に付着される請求項1~5の何れか一項に記載のパッケージ構造物。
  7. 前記補強材は、前記回路層よりも剛性の大きい金属を含む材質で形成される請求項6に記載のパッケージ構造物。
  8. 前記補強材は、ダミーダイ(dummy die)を含む請求項1~7の何れか一項に記載のパッケージ構造物。
  9. 前記ダミーダイの厚さは、前記第1素子の厚さよりも小さい請求項8に記載のパッケージ構造物。
  10. 前記第1素子は、複数で構成され、
    前記補強材は、前記複数の第1素子の間に配置される請求項1~9の何れか一項に記載のパッケージ構造物。
  11. 前記補強材は、接着剤またはソルダーで付着される請求項1~10の何れか一項に記載のパッケージ構造物。
  12. 前記第2基板の前記一面に、前記第2素子から離隔して付着される第2の補強材をさらに含む請求項1~11の何れか一項に記載のパッケージ構造物。
  13. 前記第1素子と前記第2の補強材とは互いに向かい側に位置し、
    前記第1素子と前記第2の補強材との間に介在され、前記第1素子及び前記第2の補強材のそれぞれと接触する充填部材をさらに含む請求項12に記載のパッケージ構造物。
JP2019100507A 2018-11-13 2019-05-29 パッケージ構造物 Active JP7200460B2 (ja)

Applications Claiming Priority (2)

Application Number Priority Date Filing Date Title
KR10-2018-0139325 2018-11-13
KR1020180139325A KR102561946B1 (ko) 2018-11-13 2018-11-13 패키지 구조물

Publications (2)

Publication Number Publication Date
JP2020080398A JP2020080398A (ja) 2020-05-28
JP7200460B2 true JP7200460B2 (ja) 2023-01-10

Family

ID=70802507

Family Applications (1)

Application Number Title Priority Date Filing Date
JP2019100507A Active JP7200460B2 (ja) 2018-11-13 2019-05-29 パッケージ構造物

Country Status (3)

Country Link
JP (1) JP7200460B2 (ja)
KR (1) KR102561946B1 (ja)
TW (1) TWI793319B (ja)

Families Citing this family (1)

* Cited by examiner, † Cited by third party
Publication number Priority date Publication date Assignee Title
WO2025146949A1 (ko) * 2024-01-02 2025-07-10 삼성전자주식회사 열 전달 물질을 포함하는 인쇄 회로 기판을 포함하는 전자 장치

Citations (8)

* Cited by examiner, † Cited by third party
Publication number Priority date Publication date Assignee Title
US20040089943A1 (en) 2002-11-07 2004-05-13 Masato Kirigaya Electronic control device and method for manufacturing the same
JP2006173152A (ja) 2004-12-13 2006-06-29 Matsushita Electric Ind Co Ltd 中継基板と立体配線構造体
JP2006210852A (ja) 2005-01-31 2006-08-10 Toshiba Corp 表面実装型回路部品を実装する回路基板及びその製造方法
JP2006261387A (ja) 2005-03-17 2006-09-28 Matsushita Electric Ind Co Ltd モジュールとその製造方法
JP2009176931A (ja) 2008-01-24 2009-08-06 Panasonic Corp 半導体装置および電子機器
JP2013026346A (ja) 2011-07-19 2013-02-04 Toshiba Corp 半導体装置
JP2014165481A (ja) 2013-02-28 2014-09-08 Kyocer Slc Technologies Corp 半導体素子実装体
US20180190622A1 (en) 2014-03-07 2018-07-05 Bridge Semiconductor Corporation 3-d stacking semiconductor assembly having heat dissipation characteristics

Family Cites Families (9)

* Cited by examiner, † Cited by third party
Publication number Priority date Publication date Assignee Title
JP2004158700A (ja) * 2002-11-07 2004-06-03 Denso Corp 電子制御装置およびその製造方法
TWI460844B (zh) * 2009-04-06 2014-11-11 金龍國際公司 具有內嵌式晶片及矽導通孔晶粒之堆疊封裝結構及其製造方法
US8247900B2 (en) * 2009-12-29 2012-08-21 Taiwan Semiconductor Manufacturing Company, Ltd. Flip chip package having enhanced thermal and mechanical performance
TW201314935A (zh) * 2011-09-23 2013-04-01 Mke Technology Co Ltd 太陽能電池封裝結構
KR20150009728A (ko) * 2013-07-17 2015-01-27 삼성전기주식회사 전자 소자 모듈 및 그 실장 구조
KR101324595B1 (ko) 2013-08-07 2013-11-01 (주)드림텍 조립성 및 유동성이 우수한 휴대 단말기용 메인 보드
JP2016025143A (ja) * 2014-07-17 2016-02-08 イビデン株式会社 回路基板及びその製造方法
JP2016173152A (ja) * 2015-03-17 2016-09-29 Ntn株式会社 保持器および転がり軸受
WO2018125242A1 (en) * 2016-12-30 2018-07-05 Intel Corporation Microelectronic devices designed with 3d stacked ultra thin package modules for high frequency communications

Patent Citations (8)

* Cited by examiner, † Cited by third party
Publication number Priority date Publication date Assignee Title
US20040089943A1 (en) 2002-11-07 2004-05-13 Masato Kirigaya Electronic control device and method for manufacturing the same
JP2006173152A (ja) 2004-12-13 2006-06-29 Matsushita Electric Ind Co Ltd 中継基板と立体配線構造体
JP2006210852A (ja) 2005-01-31 2006-08-10 Toshiba Corp 表面実装型回路部品を実装する回路基板及びその製造方法
JP2006261387A (ja) 2005-03-17 2006-09-28 Matsushita Electric Ind Co Ltd モジュールとその製造方法
JP2009176931A (ja) 2008-01-24 2009-08-06 Panasonic Corp 半導体装置および電子機器
JP2013026346A (ja) 2011-07-19 2013-02-04 Toshiba Corp 半導体装置
JP2014165481A (ja) 2013-02-28 2014-09-08 Kyocer Slc Technologies Corp 半導体素子実装体
US20180190622A1 (en) 2014-03-07 2018-07-05 Bridge Semiconductor Corporation 3-d stacking semiconductor assembly having heat dissipation characteristics

Also Published As

Publication number Publication date
KR102561946B1 (ko) 2023-08-01
KR20200055555A (ko) 2020-05-21
TWI793319B (zh) 2023-02-21
TW202018881A (zh) 2020-05-16
JP2020080398A (ja) 2020-05-28

Similar Documents

Publication Publication Date Title
US7242092B2 (en) Substrate assembly with direct electrical connection as a semiconductor package
US6525942B2 (en) Heat dissipation ball grid array package
CN101159254B (zh) 半导体装置
KR101476385B1 (ko) 접착성 스페이싱 구조들을 갖는 마운트가능한 집적회로패키지-인-패키지 시스템
JP3110922B2 (ja) マルチチップ・モジュール
US8553420B2 (en) Enhanced stacked microelectronic assemblies with central contacts and improved thermal characteristics
US8263871B2 (en) Mount board and semiconductor module
JP5413971B2 (ja) 電子部品実装装置及びその製造方法
US8304922B2 (en) Semiconductor package system with thermal die bonding
TWI778236B (zh) 半導體裝置
KR100698526B1 (ko) 방열층을 갖는 배선기판 및 그를 이용한 반도체 패키지
KR20140057982A (ko) 반도체 패키지 및 반도체 패키지의 제조 방법
US8970044B2 (en) Integrated circuit packaging system with vertical interconnects and method of manufacture thereof
KR100768998B1 (ko) 다층인쇄회로기판을 사용한 범프접속형 칩실장모듈
JP7200460B2 (ja) パッケージ構造物
TWI391084B (zh) 具有散熱件之電路板結構
JP4627323B2 (ja) 半導体装置
JP4919689B2 (ja) モジュール基板
JP3024596B2 (ja) フィルムキャリアテープを用いたbga型半導体装置
KR20210035027A (ko) 전자 소자 모듈 및 그 제조 방법
CN120432448B (zh) 一种ic封装结构及封装方法
US20250379113A1 (en) Semiconductor package and manufacturing method thereof
JP3965867B2 (ja) 半導体パッケージ
CN100505227C (zh) 半导体封装直接电性连接的基板结构
JP2904754B2 (ja) 電子部品の実装用配線基板

Legal Events

Date Code Title Description
A621 Written request for application examination

Free format text: JAPANESE INTERMEDIATE CODE: A621

Effective date: 20211104

A977 Report on retrieval

Free format text: JAPANESE INTERMEDIATE CODE: A971007

Effective date: 20221110

TRDD Decision of grant or rejection written
A01 Written decision to grant a patent or to grant a registration (utility model)

Free format text: JAPANESE INTERMEDIATE CODE: A01

Effective date: 20221122

A61 First payment of annual fees (during grant procedure)

Free format text: JAPANESE INTERMEDIATE CODE: A61

Effective date: 20221130

R150 Certificate of patent or registration of utility model

Ref document number: 7200460

Country of ref document: JP

Free format text: JAPANESE INTERMEDIATE CODE: R150

R250 Receipt of annual fees

Free format text: JAPANESE INTERMEDIATE CODE: R250