JP7106474B2 - N-メチル-2-ピロリドンの精製方法、精製装置、回収精製方法、及び回収精製システム - Google Patents
N-メチル-2-ピロリドンの精製方法、精製装置、回収精製方法、及び回収精製システム Download PDFInfo
- Publication number
- JP7106474B2 JP7106474B2 JP2019046697A JP2019046697A JP7106474B2 JP 7106474 B2 JP7106474 B2 JP 7106474B2 JP 2019046697 A JP2019046697 A JP 2019046697A JP 2019046697 A JP2019046697 A JP 2019046697A JP 7106474 B2 JP7106474 B2 JP 7106474B2
- Authority
- JP
- Japan
- Prior art keywords
- nmp
- methyl
- pyrrolidone
- pyrrolidone solution
- purification
- Prior art date
- Legal status (The legal status is an assumption and is not a legal conclusion. Google has not performed a legal analysis and makes no representation as to the accuracy of the status listed.)
- Active
Links
Images
Landscapes
- Pyrrole Compounds (AREA)
Description
第1のサブシステム100は、原液タンク101を備えており、リチウムイオン二次電池製造システムから回収された処理対象のNMP水溶液は、水スクラバーなどのNMP回収手段(図示せず)と接続された第1のNMP水溶液供給ライン151によって原液タンク101に供給される。原液タンク101は第2のNMP水溶液供給ライン152を介して、NMP水溶液に含まれる微粒子を除去する第1の精密ろ過膜装置102と接続されている。第2のNMP水溶液供給ライン152上にはNMP水溶液を圧送するポンプ107が設けられている。第1の精密ろ過膜装置102は膜脱気装置103(後述)の上流に設けられているが、膜脱気装置103の下流、すなわち膜脱気装置103とイオン交換装置104(後述)との間に設けられてもよく、あるいは、膜脱気装置103の上流と、膜脱気装置103とイオン交換装置104との間の両方に設けられてもよい。
微粒子と溶存酸素とイオン成分が除去され1次処理液槽106に貯蔵された1次処理液は、次に第2のサブシステム200に供給され、ほとんどの水分が除去されたNMP濃縮液が生成される。1次処理液槽106は第7のNMP水溶液供給ライン251を介して、浸透気化膜装置201に接続されている。第7のNMP水溶液供給ライン251にはポンプ224が設けられている。第7のNMP水溶液供給ライン251には外部蒸気を用いた第1のヒータ205と、第1のヒータ205の上流(一次側)に位置する廃熱回収熱交換器206と、が設置されており、これらの第1のヒータ205及び廃熱回収熱交換器206によってNMP水溶液は120℃程度まで加熱される。NMP水溶液を120℃程度まで加熱することで、浸透気化膜装置201の脱水性能を高めることができる。廃熱回収熱交換器206は、第7のNMP水溶液供給ライン251を流れるNMP水溶液と、NMP濃縮液排出ライン254を流れるNMP濃縮液との間で熱交換を行う。第1のヒータ205は外部の蒸気源(図示せず)から供給される高温蒸気によってNMP水溶液を加熱する。
第2のサブシステム200で生成されたNMP濃縮液は、ほとんどの水分が除去されている。しかし、NMP濃縮液は色度成分や浸透気化膜モジュールから溶出した浸透気化膜202c,203c,204cの微粒子及びイオン成分をわずかに含むため、さらに浸透気化膜装置201の下流に位置する第3のサブシステム300で蒸留されてNMP精製液が生成される。なお、以下に述べる第3のサブシステム300は単蒸留方式を用いているが、NMP濃縮液を蒸留することが可能な限り蒸留方法は限定されず、例えば、精密蒸留方式を用いることもできる。エネルギー消費が少ないこと、装置サイズが小さいこと、操作が簡単であることなどの理由から単蒸留方式が好ましい。また、単蒸留方式の中でも、本実施形態で用いている減圧単蒸留方式は熱劣化を防止できる観点から特に望ましい。
NMP溶液からのN-メチルスクシンイミドの除去について実験を行った。N-メチル-2-ピロリジノン(関東化学製)に対し超純水を3質量%となるように添加し、さらにN-メチルスクシンイミド(東京化成工業製)を0.1質量%となるように添加したNMP溶液を調製した。ダウ・ケミカル社製のスチレン系の強塩基性アニオン交換樹脂アンバーライト(登録商標) IRA900(OH)をポリテトラフルオロエチレン製のカラムに100mL充填してイオン交換樹脂カラムとした。カラムへの充填後、カラム内のアニオン交換樹脂を水で洗浄し、洗浄後、先に調製したNMP溶液を100mL/hr、すなわちSV=1(hr-1)としてカラムに通液した。カラムから排出される液体のうち、カラム内の水がNMP溶液に置換されるまでの100mLをブローした後、カラムから排出されるNMP溶液を採取して、ガスクロマトグラフィー分析を行い、NMP濃度とN-メチルスクシンイミド濃度とを求めた。ガスクロマトグラフィー分析には島津製作所製のガスクロマトグラフGC-2014を用いた。分析条件は表1に示す通りである。得られたNMP濃度とN-メチルスクシンイミド濃度を表2に示す。
カラムに充填するアニオン交換樹脂として、アクリル系の強塩基性アニオン交換樹脂であるダウ・ケミカル社製のアンバーライト(登録商標) IRA458を使用したほかは実施例1と同様にNMP溶液の通液試験を行い、カラムから排出されるNMP溶液におけるNMP濃度とN-メチルスクシンイミド濃度とをガスクロマトグラフィー分析によって求めた。結果を表3に示す。実施例1とは異なり、N-メチルスクシンイミドを吸着除去することはできなかった。
カラムに充填するアニオン交換樹脂として、アクリル系の弱塩基性アニオン交換樹脂であるダウ・ケミカル社製のアンバーライト(登録商標) IRA96SBを使用したほかは実施例1と同様にNMP溶液の通液試験を行い、カラムから排出されるNMP溶液におけるNMP濃度とN-メチルスクシンイミド濃度とをガスクロマトグラフィー分析によって求めた。結果を表4に示す。実施例1とは異なり、N-メチルスクシンイミドを吸着除去することはできなかった。
NMP溶液からのγ-ブチロラクトンの除去について実験を行った。N-メチル-2-ピロリジノン(関東化学製)に対し超純水を3質量%となるように添加し、さらにγ-ブチロラクトン(関東化学製)を0.1質量%となるように添加したNMP溶液を調製した。ダウ・ケミカル社製のスチレン系の強塩基性アニオン交換樹脂アンバーライト(登録商標) IRA900(OH)をポリテトラフルオロエチレン製のカラムに100mL充填してイオン交換樹脂カラムとした。カラムへの充填後、カラム内のアニオン交換樹脂を水で洗浄し、洗浄後、先に調製したNMP溶液を100mL/hr、すなわちSV=1(hr-1)としてカラムに通液した。カラムから排出される液体のうち、カラム内の水がNMP溶液に置換されるまでの100mLをブローした後、カラムから排出されるNMP溶液を採取して、実施例1と同様にガスクロマトグラフィー分析を行い、NMP濃度とγ-ブチロラクトン濃度とを求めた。分析条件は表1に示す通りである。なお、水素炎イオン化検出器では水分を検出できないため、実施例1と同様に、得られたガスクロマトグラムにおける水分を除いたNMPとγ-ブチロラクトンと他の成分とのピークの面積比から、NMPとγ-ブチロラクトンの濃度を算出した。得られたNMP濃度とγ-ブチロラクトン濃度を表5に示す。
カラムに充填するアニオン交換樹脂として、アクリル系の強塩基性アニオン交換樹脂であるダウ・ケミカル社製のアンバーライト(登録商標) IRA458を使用したほかは実施例2と同様にNMP溶液の通液試験を行い、カラムから排出されるNMP溶液におけるNMP濃度とγ-ブチロラクトン濃度とをガスクロマトグラフィー分析によって求めた。結果を表6に示す。実施例2とは異なり、通液量がごく小さい領域では多少の吸着除去を行うことができたものの、全体として、γ-ブチロタクトンを十分に吸着除去することはできなかった。
カラムに充填するアニオン交換樹脂として、アクリル系の弱塩基性アニオン交換樹脂であるダウ・ケミカル社製のアンバーライト(登録商標) IRA96SBを使用したほかは実施例2と同様にNMP溶液の通液試験を行い、カラムから排出されるNMP溶液におけるNMP濃度とγ-ブチロラクトン濃度とをガスクロマトグラフィー分析によって求めた。結果を表7に示す。実施例2とは異なり、通液量がごく小さい領域では多少の吸着除去を行うことができたものの、全体として、γ-ブチロタクトンを十分に吸着除去することはできなかった。
NMP溶液からのN-メチルスクシンイミドとγ-ブチロラクトンとの同時除去について実験を行った。N-メチル-2-ピロリジノン(関東化学製)に対し超純水を3質量%となるように添加し、さらにN-メチルスクシンイミド(東京化成工業製)とγ-ブチロラクトン(関東化学製)をそれぞれ0.025質量%となるように添加したNMP溶液を調製した。ダウ・ケミカル社製のスチレン系の強塩基性アニオン交換樹脂アンバーライト(登録商標) IRA900(OH)をポリテトラフルオロエチレン製のカラムに100mL充填してイオン交換樹脂カラムとした。カラムへの充填後、カラム内のアニオン交換樹脂を水で洗浄し、洗浄後、先に調製したNMP溶液を1000mL/hr、すなわちSV=10(hr-1)としてカラムに通液した。カラムから排出される液体のうち、カラム内の水がNMP溶液に置換されるまでの100mLをブローした後、カラムから排出されるNMP溶液を採取して、実施例1と同様にガスクロマトグラフィー分析を行い、NMP、N-メチルスクシンイミドとγ-ブチロラクトンのそれぞれの濃度とを求めた。分析条件は表1に示す通りである。なお、水素炎イオン化検出器では水分を検出できないため、実施例1と同様に、得られたガスクロマトグラムにおける水分を除いたNMPとγ-ブチロラクトンとN-メチルスクシンイミドとのピークの面積比から、NMP、N-メチルスクシンイミド及びγ-ブチロラクトンの各濃度を算出した。得られた濃度を表8に示す。
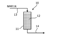
11 イオン交換樹脂塔
12 アニオン交換樹脂
13 供給配管
14 排出配管
20 蒸留塔
30 浸透気化装置
31 浸透気化膜
Claims (13)
- N-メチルスクシンイミド及びγ-ブチロラクトンの少なくとも一方を不純物として含有する、水を含有するN-メチル-2-ピロリドン溶液を精製する精製方法において、
前記N-メチル-2-ピロリドン溶液をスチレン系の強塩基性アニオン交換樹脂に通液する不純物除去工程を有することを特徴とする精製方法。 - 前記N-メチル-2-ピロリドン溶液におけるN-メチル-2-ピロリドンは、酸素の存在下で加熱蒸発されたものである、請求項1に記載の精製方法。
- 前記N-メチル-2-ピロリドン溶液は、リチウムイオン二次電池の電極製造工程から回収されたものである、請求項1または2に記載の精製方法。
- 前記不純物除去工程から排出された前記N-メチル-2-ピロリドン溶液を蒸留する第1の工程、及び、前記不純物除去工程から排出された前記N-メチル-2-ピロリドン溶液を浸透気化膜を有する浸透気化装置に供給して、前記N-メチル-2-ピロリドン溶液から水分を選択的に分離する第2の工程の少なくとも一方を有する、請求項1乃至3のいずれか1項に記載の精製方法。
- 前記N-メチル-2-ピロリドン溶液におけるN-メチルスクシンイミド濃度が0.1質量%以上である、請求項1乃至4のいずれか1項に記載の精製方法。
- 前記N-メチル-2-ピロリドン溶液を前記スチレン系の強塩基性アニオン交換樹脂に対し、1時間当たり10以下の空間速度で通液する、請求項1乃至5のいずれか1項に記載の精製方法。
- N-メチルスクシンイミド及びγ-ブチロラクトンの少なくとも一方を不純物として含有する、水を含有するN-メチル-2-ピロリドン溶液を精製する精製装置において、
スチレン系の強塩基性アニオン交換樹脂を充填したイオン交換装置を備え、
前記N-メチル-2-ピロリドン溶液が前記イオン交換装置を通液することを特徴とする精製装置。 - 前記イオン交換装置に対して前記N-メチル-2-ピロリドン溶液を1時間当たり10以下の空間速度で通液させる、請求項7に記載の精製装置。
- 前記イオン交換装置の後段に、蒸留装置及び浸透気化膜の少なくとも一方を備える、請求項7または8に記載の精製装置。
- N-メチル-2-ピロリドンを使用するNMP使用工程から再利用のためにN-メチル-2-ピロリドンを回収して精製する回収精製方法において、
前記NMP使用工程から、水を含有するN-メチル-2-ピロリドン溶液の形態でN-メチル-2-ピロリドンを回収するNMP回収工程と、
前記N-メチル-2-ピロリドン溶液をスチレン系の強塩基性アニオン交換樹脂に通液する不純物除去工程と、
を有し、
前記不純物除去工程において、前記N-メチル-2-ピロリドン溶液からN-メチルスクシンイミド及びγ-ブチロラクトンの少なくとも一方を除去することを特徴とする、回収精製方法。 - 前記不純物除去工程から排出された前記N-メチル-2-ピロリドン溶液を脱水してN-メチル-2-ピロリドン精製液を生成する脱水工程をさらに有し、
前記N-メチル-2-ピロリドン精製液が前記NMP使用工程に供給される、請求項10に記載の回収精製方法。 - N-メチル-2-ピロリドンを使用するNMP使用システムから再利用のためにN-メチル-2-ピロリドンを回収して精製する回収精製システムにおいて、
前記NMP使用システムから、水を含有するN-メチル-2-ピロリドン溶液の形態でN-メチル-2-ピロリドンを回収するNMP回収手段と、
スチレン系の強塩基性アニオン交換樹脂が充填されて前記N-メチル-2-ピロリドン溶液が通液するイオン交換装置と、
を備え、
前記イオン交換装置において前記N-メチル-2-ピロリドン溶液からN-メチルスクシンイミド及びγ-ブチロラクトンの少なくとも一方が除去されることを特徴とする、回収精製システム。 - 前記イオン交換装置の後段に、前記N-メチル-2-ピロリドン溶液を脱水してN-メチル-2-ピロリドン精製液を生成する脱水手段をさらに有し、
前記N-メチル-2-ピロリドン精製液を前記NMP使用システムに供給する、請求項12に記載の回収精製システム。
Priority Applications (1)
| Application Number | Priority Date | Filing Date | Title |
|---|---|---|---|
| CN201921676210.7U CN211660014U (zh) | 2018-10-24 | 2019-10-09 | 精制装置及回收精制系统 |
Applications Claiming Priority (2)
| Application Number | Priority Date | Filing Date | Title |
|---|---|---|---|
| JP2018213645 | 2018-11-14 | ||
| JP2018213645 | 2018-11-14 |
Publications (2)
| Publication Number | Publication Date |
|---|---|
| JP2020083870A JP2020083870A (ja) | 2020-06-04 |
| JP7106474B2 true JP7106474B2 (ja) | 2022-07-26 |
Family
ID=70909646
Family Applications (1)
| Application Number | Title | Priority Date | Filing Date |
|---|---|---|---|
| JP2019046697A Active JP7106474B2 (ja) | 2018-10-24 | 2019-03-14 | N-メチル-2-ピロリドンの精製方法、精製装置、回収精製方法、及び回収精製システム |
Country Status (1)
| Country | Link |
|---|---|
| JP (1) | JP7106474B2 (ja) |
Families Citing this family (4)
| Publication number | Priority date | Publication date | Assignee | Title |
|---|---|---|---|---|
| CN111978184A (zh) * | 2020-09-14 | 2020-11-24 | 安徽英特力工业工程技术有限公司 | 一种从nmp粗品中回收甲胺的装置 |
| CN114254714B (zh) * | 2022-02-28 | 2022-04-29 | 东莞市鹏锦机械科技有限公司 | 一种高效nmp回收方法、系统和计算机可读存储介质 |
| CN114949904A (zh) * | 2022-06-15 | 2022-08-30 | 北京袭明科技有限公司 | 一种高纯电子级n-甲基-2-吡咯烷酮生产方法及装置 |
| KR102905275B1 (ko) * | 2023-12-27 | 2025-12-29 | 솔리스 주식회사 | N-메틸-2-피롤리돈 정제시스템 및 그 방법 |
Citations (4)
| Publication number | Priority date | Publication date | Assignee | Title |
|---|---|---|---|---|
| GB2088850A (en) | 1980-12-09 | 1982-06-16 | Coal Industry Patents Ltd | Treatment of N methyl pyrrolidone |
| JP2011056484A (ja) | 2009-09-14 | 2011-03-24 | Mitsubishi Chemical Engineering Corp | Nmpの蒸留装置 |
| JP2014144938A (ja) | 2013-01-30 | 2014-08-14 | Japan Organo Co Ltd | Nmp精製システム |
| JP2016030232A (ja) | 2014-07-29 | 2016-03-07 | オルガノ株式会社 | 有機溶剤精製システム及び方法 |
Family Cites Families (1)
| Publication number | Priority date | Publication date | Assignee | Title |
|---|---|---|---|---|
| JPS62145061A (ja) * | 1985-12-20 | 1987-06-29 | Toyo Soda Mfg Co Ltd | N−メチル−2−ピロリドンの精製方法 |
-
2019
- 2019-03-14 JP JP2019046697A patent/JP7106474B2/ja active Active
Patent Citations (4)
| Publication number | Priority date | Publication date | Assignee | Title |
|---|---|---|---|---|
| GB2088850A (en) | 1980-12-09 | 1982-06-16 | Coal Industry Patents Ltd | Treatment of N methyl pyrrolidone |
| JP2011056484A (ja) | 2009-09-14 | 2011-03-24 | Mitsubishi Chemical Engineering Corp | Nmpの蒸留装置 |
| JP2014144938A (ja) | 2013-01-30 | 2014-08-14 | Japan Organo Co Ltd | Nmp精製システム |
| JP2016030232A (ja) | 2014-07-29 | 2016-03-07 | オルガノ株式会社 | 有機溶剤精製システム及び方法 |
Also Published As
| Publication number | Publication date |
|---|---|
| JP2020083870A (ja) | 2020-06-04 |
Similar Documents
| Publication | Publication Date | Title |
|---|---|---|
| JP6440156B2 (ja) | 有機溶剤精製システム及び方法 | |
| JP7106474B2 (ja) | N-メチル-2-ピロリドンの精製方法、精製装置、回収精製方法、及び回収精製システム | |
| KR101914351B1 (ko) | 알코올 정제 방법 및 장치 | |
| JP5911228B2 (ja) | 電極製造工程におけるnmp精製システム | |
| US20150232348A1 (en) | Water desalination and brine volume reduction process | |
| JP6088265B2 (ja) | Nmp精製システムおよびnmp精製方法 | |
| JP6636111B2 (ja) | 有機溶剤精製システム及び方法 | |
| WO2009043413A1 (en) | Process and plant for recovering water from air | |
| JP6088268B2 (ja) | Nmp精製システム | |
| JP5762863B2 (ja) | アルコールの精製方法及び装置 | |
| JP6415159B2 (ja) | 有機溶剤精製システム及び方法 | |
| JP6970280B2 (ja) | 有機溶剤精製システム及び方法 | |
| JP2013018748A (ja) | 電極製造工程におけるnmp精製システム | |
| JP6088267B2 (ja) | Nmp精製システム | |
| JP5373067B2 (ja) | アミン含有廃水からのアミン回収方法 | |
| JP6209352B2 (ja) | 精製アルコール中の酸化物を低減する方法及びアルコール精製装置 | |
| JP6088266B2 (ja) | Nmp精製システム | |
| CN211660014U (zh) | 精制装置及回收精制系统 | |
| JPH04308543A (ja) | 含水エタノールの精製方法 | |
| CN205500785U (zh) | 自混合酸液中回收废酸的装置 | |
| CN115974204A (zh) | 醇醛缩合反应废碱液的处理方法 | |
| CN106966374A (zh) | 自混合酸液中回收废酸的装置及方法 |
Legal Events
| Date | Code | Title | Description |
|---|---|---|---|
| A621 | Written request for application examination |
Free format text: JAPANESE INTERMEDIATE CODE: A621 Effective date: 20211110 |
|
| A977 | Report on retrieval |
Free format text: JAPANESE INTERMEDIATE CODE: A971007 Effective date: 20220622 |
|
| TRDD | Decision of grant or rejection written | ||
| A01 | Written decision to grant a patent or to grant a registration (utility model) |
Free format text: JAPANESE INTERMEDIATE CODE: A01 Effective date: 20220705 |
|
| A61 | First payment of annual fees (during grant procedure) |
Free format text: JAPANESE INTERMEDIATE CODE: A61 Effective date: 20220713 |
|
| R150 | Certificate of patent or registration of utility model |
Ref document number: 7106474 Country of ref document: JP Free format text: JAPANESE INTERMEDIATE CODE: R150 |
|
| R250 | Receipt of annual fees |
Free format text: JAPANESE INTERMEDIATE CODE: R250 |







