JP7100240B2 - 乗物用シート - Google Patents

乗物用シート Download PDF

Info

Publication number
JP7100240B2
JP7100240B2 JP2017230738A JP2017230738A JP7100240B2 JP 7100240 B2 JP7100240 B2 JP 7100240B2 JP 2017230738 A JP2017230738 A JP 2017230738A JP 2017230738 A JP2017230738 A JP 2017230738A JP 7100240 B2 JP7100240 B2 JP 7100240B2
Authority
JP
Japan
Prior art keywords
frame
actuator
seat
side frame
elastic member
Prior art date
Legal status (The legal status is an assumption and is not a legal conclusion. Google has not performed a legal analysis and makes no representation as to the accuracy of the status listed.)
Active
Application number
JP2017230738A
Other languages
English (en)
Other versions
JP2019098876A (ja
Inventor
亘 本田
Current Assignee (The listed assignees may be inaccurate. Google has not performed a legal analysis and makes no representation or warranty as to the accuracy of the list.)
TS Tech Co Ltd
Original Assignee
TS Tech Co Ltd
Priority date (The priority date is an assumption and is not a legal conclusion. Google has not performed a legal analysis and makes no representation as to the accuracy of the date listed.)
Filing date
Publication date
Application filed by TS Tech Co Ltd filed Critical TS Tech Co Ltd
Priority to JP2017230738A priority Critical patent/JP7100240B2/ja
Priority to PCT/JP2018/043869 priority patent/WO2019107451A1/ja
Priority to BR112020010496-5A priority patent/BR112020010496B1/pt
Priority to MYPI2020002698A priority patent/MY203990A/en
Priority to CN201880076047.2A priority patent/CN111386211B/zh
Priority to US16/767,167 priority patent/US11059402B2/en
Publication of JP2019098876A publication Critical patent/JP2019098876A/ja
Application granted granted Critical
Publication of JP7100240B2 publication Critical patent/JP7100240B2/ja
Active legal-status Critical Current
Anticipated expiration legal-status Critical

Links

Images

Landscapes

  • Seats For Vehicles (AREA)
  • Chairs For Special Purposes, Such As Reclining Chairs (AREA)

Description

本発明は、アクチュエータを具備する乗物用シートに係り、特にアクチュエータからの振動伝達を抑制可能な乗物用シートに関する。
乗物用シートにおいて、シートクッションに対してシートバックを傾動させるリクライニング機構を設けたものがある。例えば、特許文献1には、シートバックのサイドフレームに挿通されるリクライニング軸をアクチュエータにより回動させる機構について開示されている。
特開2016-166020号公報
ところで、上記の従来技術に係る発明では、アクチュエータがフレーム部材と接していると、アクチュエータの駆動時の振動がフレーム部材を介して伝わりやすい。ここで、アクチュエータの振動伝達を抑制するための弾性部材の取付性を向上させることが課題となっている。
本発明は、上記の課題に鑑みてなされたものであり、その目的は、アクチュエータからフレーム部材に伝わる振動を低減させるための弾性部材の取付性を向上できる乗物用シートを提供することにある。
上記課題は、本発明に係る乗物用シートによれば、乗員を支持するパッドと、左右に配されるサイドフレームを具備し、前記パッドと当接するシートバックフレームと、前記サイドフレームに取り付けられるアクチュエータと、前記サイドフレームと前記アクチュエータとの間に設けられ、前記サイドフレームと前記アクチュエータのそれぞれに当接する弾性部材と、を備え、前記アクチュエータ及び前記弾性部材は、前記サイドフレームのシート幅方向内側に取り付けられ、前記弾性部材は、前記アクチュエータに向けて延出し、前記アクチュエータの一部を被覆する被覆部を有し、前記サイドフレームは、シート幅方向に貫通した貫通孔を有し、前記アクチュエータは、前記貫通孔に挿通されるボルトを有し、前記弾性部材は前記ボルトに取り付けられ、前記サイドフレームは、前記ボルトに取り付けられる締結部材と前記弾性部材とにより挟み込まれることにより解決される。
上記の乗物用シートによれば、アクチュエータとフレーム部材との間に配される弾性部材をアクチュエータに被せた状態で、アクチュエータをフレーム部材に取り付けることができる。これにより、アクチュエータとフレーム部材との間に配される弾性部材の取り付けを容易とすることができる。
また、アクチュエータが弾性部材を介してフレーム部材に取り付けられているため、アクチュエータからフレーム部材に伝わる振動を低減させることができる。
また、アクチュエータ及び弾性部材は、サイドフレームのシート幅方向内側に取り付けられるので、サイドフレームからシート幅方向外側にアクチュエータと弾性部材が突出しない。これにより、乗物用シートをシート幅方向にコンパクトに構成できる。
また、アクチュエータとサイドフレームとの間に弾性部材を設けたことで、サイドフレームへの振動伝達を抑制できる。
また、アクチュエータがシートの幅方向外側から締結部材によってサイドフレームに締結される際に、弾性部材が傷つくことを抑制できる。
上記の乗物用シートにおいて、前記パッドは、前記弾性部材と前記サイドフレームを収容する収容空間を有するとよい。
こうすることで、パッドの収納空間内に弾性部材を配置することができる。
上記の乗物用シートにおいて、前記サイドフレームは、シート幅方向内側に凹む凹部を有し、前記アクチュエータは、前記凹部に取り付けられるとよい。
こうすることで、サイドフレームの外側から、アクチュエータのボルトが突出する長さを短くすることができる。これにより、アクチュエータのボルトがシート内部の部材と干渉することを抑制できる。
また、サイドフレームにおいて剛性の高い部分にアクチュエータを取り付けることができるので、サイドフレームの振動を効果的に抑制できる。
上記の乗物用シートにおいて、前記サイドフレームに取り付けられるエアバッグモジュールを備え、前記サイドフレームにおいて前記エアバッグモジュールを取り付ける部分は、前記凹部以外の位置であるとよい。
こうすることで、エアバッグモジュールの取付部に対して、アクチュエータの振動が伝達されることを抑制できる。これにより、エアバッグの誤作動を防止し、エアバッグを安定して展開させることができる。
上記の乗物用シートにおいて、前記サイドフレームは、ビードを有し、前記凹部の上端は、前記ビードと前記貫通孔との間に位置するとよい。
このようにサイドフレームにビードを形成したことにより、サイドフレームの剛性を向上させることができる。
上記の乗物用シートにおいて、前記シートバックフレームは、左右の前記サイドフレームの下部を連結する下部フレームを有し、前記弾性部材は、前記下部フレームとは当接していないとよい。
こうすることで、下部フレームにアクチュエータを取り付けるための貫通孔を形成する必要がなくなる。そのため、下部フレームの設計自由度を向上できる。また、下部フレームのシート幅方向の長さを短くすることができるため、下部フレームのサイズを小さくすることができる。
上記の乗物用シートにおいて、前記シートバックフレームに取り付けられる受圧部材を有し、前記受圧部材は、前記シートバックフレームに取り付けられる第1取付部と、前記第1取付部よりも下方に位置し、前記シートバックフレームに取り付けられる第2取付部と、を有し、前記弾性部材は、上下方向において、前記第1取付部と前記第2取付部との間に配置されているとよい。
こうすることで、受圧部材の第1取付部と第2取付部に、シートバックフレームを介して振動が伝達されてしまうことを抑制できる。
本発明によれば、アクチュエータからフレーム部材に伝わる振動を低減させることができる。
本発明によれば、パッドの収納空間内に弾性部材を配置することができる。
本発明によれば、乗物用シートをシート幅方向にコンパクトに構成できる。
本発明によれば、サイドフレームへの振動伝達を抑制できる。
本発明によれば、アクチュエータがシートの幅方向外側から締結部材によってフレーム部材に締結される際に、弾性部材が傷つくことを抑制できる。
本発明によれば、アクチュエータのボルトがシート内部の部材と干渉することを抑制できる。
本発明によれば、エアバッグの取付部に対して、アクチュエータの振動が伝達されることを抑制できる。
本発明によれば、サイドフレームの剛性を向上させることができる。
本発明によれば、下部フレームのサイズを小さくすることができる。
本発明によれば、受圧部材から乗員に振動が伝達されることを抑制できる。
本実施形態に係るシートの斜視図である。 シートフレームの斜視図である。 アクチュエータの取付部分の拡大図である。 図1のIV-IV断面図である。 図4におけるアクチュエータの取付部分の拡大図である。 図1のVI-VI断面図である。 アクチュエータのサイドフレームに対向する側の構成図である。 アクチュエータを取り付けたサイドフレームの状態を示す図である。
以下、図1乃至図8を参照しながら、本発明の実施の形態(以下、本実施形態)に係る乗物用シートとしてのシートSについて説明する。
本実施形態では、シートSとして、車両に搭載される車両用シートを例に挙げて説明することとするが、自動車・鉄道など車輪を有する地上走行用乗物に搭載される車両用シートに限定されるものではなく、地上以外を移動する航空機や船舶などに搭載されるシートであってもよい。
なお、以下に説明する実施形態は、本発明の理解を容易にするための一例に過ぎず、本発明を限定するものではない。すなわち、以下に説明する部材の形状、寸法、配置等については、本発明の趣旨を逸脱することなく、変更、改良され得るとともに、本発明にはその等価物が含まれることは勿論である。
なお、以下において「上下」、「前後」、「左右」の各方向は、シートSの着座者から見た時の「上下」、「前後」、「左右」の各方向に一致することとする。
[シートSの構成]
本実施形態に係るシートSは、図1に図示した外観を有している。なお、図1中、シートSの一部(具体的には、シートクッションS2の前端角部)については、図示の都合上、表皮材Rを外した構成にて図示している。
シートSは、着座者の背部を支える背もたれ部分となるシートバックS1、着座者の臀部を支える着座部分となるシートクッションS2、及び、シートバックS1の上部に配され、着座者の頭部を支えるヘッドレストS3を主な構成要素として有する。
シートバックS1は、図2に示す骨格となるシートバックフレーム10にパッドUを載置し、更にパッドUを表皮材Rで覆うことで構成されている。
シートクッションS2は、図2に示す骨格となるシートクッションフレーム20にパッドUを載置して、表皮材Rで覆うことで構成されている。
ヘッドレストS3は、不図示の芯材に不図示のクッション材を配して、表皮材Rで被覆して構成されている。
なお、シートSに設けられる表皮材Rは、例えばクロスや革等の素材からなる。
また、パッドUは、例えばウレタン発泡材を用いて、発泡成型により成型されたウレタン基材である。
[シートフレームFの構成]
次に、図2を参照しながら、シートSの骨格となるフレーム部材としてのシートフレームFの構成について説明する。
図2に示されるように、シートフレームFは、主にシートバックフレーム10とシートクッションフレーム20とにより構成される。シートバックフレーム10は、シートバックS1の骨格をなし、シートクッションフレーム20は、シートクッションS2の骨格をなす。
図2に示されるように、シートバックフレーム10は、逆さU字形の上部フレーム11と、シート幅方向左右の端部をなす一対のサイドフレーム12と、一対のサイドフレーム12の下端部を連結する下部フレーム13と、を備える。
上部フレーム11は、上部フレーム11の両側下部において、サイドフレーム12に溶接されている。
また、上部フレーム11の上端には、ヘッドレスト取付部が溶接により取り付けられる。ヘッドレスト取付部は、ヘッドレストS3から垂下する2つのヘッドレストステーが挿通される管状体である。
図2に示されるように、左右のサイドフレーム12の下端部の間にはリクライニング機構35の回動軸25が、左右のサイドフレーム12を貫通した状態で取り付けられる。
図2及び図3に示されるように、回動軸25は、アクチュエータ50が付与する動力によって回転する。具体的に説明すると、回動軸25は、アクチュエータ50に形成された挿入孔に挿通され、かつ、アクチュエータ50の出力軸と係合している。したがって、アクチュエータ50の出力軸が回転すると、当該出力軸に挿通された回動軸25が回転するようになる。この結果、回動軸25を介してアクチュエータ50の駆動力がリクライニング機構35に伝達され、最終的にリクライニング機構35が作動するようになる。
なお、図示しないリクライニング操作部を操作することによりアクチュエータ50が駆動する。これにより、リクライニング機構35を動作させ、シートクッションS2に対するシートバックS1の角度が調整可能となる。
また、サイドフレーム12は、断面コの字型の板状フレームであり、側板となる平板部分の下部には凹部12Aが形成されている。
凹部12Aは、サイドフレーム12の平板部分をシート幅方向内側に凹ませることで形成された箇所である。
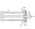
そして、図3、図4及び図8に示されるように、凹部12Aには貫通孔12Cが形成されており、貫通孔12Cには、アクチュエータ50の取付部51からシート幅方向外側に延出するボルト53が挿通される。
なお、ボルト53には、円筒状の取付部51よりも外形が僅かに大きく、中央にボルト53が挿通可能な孔が形成された弾性部材52が取り付けられる。弾性部材52は、取付部51の端部を被覆する状態で取り付けられるキャップ状の部材である。
例えば、弾性部材52はゴムにより構成されるものである。
具体的には、図5に示されるように、弾性部材52は、取付部51とサイドフレーム12の間に配される当接部52Aと、当接部52Aに設けられボルト53を通す貫通孔52Bと、当接部52Aからアクチュエータ50に向けて延出し、取付部51の一部を被覆する被覆部52Cを有する。
そして、ボルト53を弾性部材52の貫通孔52Bに通し、弾性部材52の被覆部52Cを取付部51に嵌めた状態で、シート幅方向内側からサイドフレーム12の貫通孔12Cに対して、ボルト53を通す。そして、サイドフレーム12からシート幅方向外側に突出したボルト53の端部に締結部材としてのナット54を螺合して締結する。
なお、上記のようにアクチュエータ50の取付部51には、弾性部材52を被せるように取り付けた状態で、アクチュエータ50をサイドフレーム12に取り付けることができる。これにより、弾性部材52がアクチュエータ50から外れにくくなる。また、アクチュエータ50の取付部51に弾性部材52を被せた場合には、弾性部材52の被覆部52Cを様々な角度から目視することが可能となるため、弾性部材52の取り付けを行っているか否かを容易に確認可能となる。
このようにアクチュエータ50をサイドフレーム12に対して、回動軸25以外の箇所においても固定することにより、アクチュエータ50の固定を強固なものとすることができる。
また、アクチュエータ50は、サイドフレーム12に対して直接接触していない。すなわち、アクチュエータ50とサイドフレーム12の間には弾性部材52が配される。換言すれば、弾性部材52のシート幅方向内側の面はアクチュエータ50の取付部51と当接し、弾性部材52のシート幅方向外側の面はサイドフレーム12と当接している。
このようにアクチュエータ50を、弾性部材52を介してサイドフレーム12に取り付けることで、アクチュエータ50の振動がサイドフレーム12に伝わりにくくなる。
また、弾性部材52はサイドフレーム12に対してシート幅方向内側に配されている。すなわち、サイドフレーム12を弾性部材52とナット54により挟み込むようにしている。こうすることで、ボルト53に螺合するナット54が、弾性部材52に直接接することがないため、ナット54による締結の際に、ナット54により弾性部材52が損傷することを回避できる。
なお、図3に示されるように、アクチュエータ50の取付部51はサイドフレーム12に取り付けられている一方で、下部フレーム13に対しては取り付けられていない。このように、アクチュエータ50の取付部51を、サイドフレーム12に対してのみ取り付けるようにしたことで、取付部51から振動が下部フレーム13に伝わりにくくなる。
また、図4に示されるように、アクチュエータ50は、パッドUの内部に形成された収容空間80の中に配されている。
また、図1及び図6に示されるように、サイドフレーム12のシート幅方向外側には、エアバッグモジュール60が取り付けられる。
具体的には、図2に示されるように、サイドフレーム12の平板部にはエアバッグ取付用孔12D及びエアバッグ取付用孔12Eが形成され、エアバッグ取付用孔12D及びエアバッグ取付用孔12Eにおいてエアバッグモジュール60が取り付けられる。
ここで図6に示されるように、エアバッグモジュール60は、エアバッグ61、インフレータ62、スタッドボルト63及びリテーナ64を主要な構成として有する。
エアバッグモジュール60はサイドフレーム12に対して以下のように固定されている。スタッドボルト63はインフレータ62からシート幅方向内側に延出している。そして、スタッドボルト63がサイドフレーム12のエアバッグ取付用孔12Dに挿通された状態で、シート幅方向内側からナット65を螺合して締結することにより、エアバッグモジュール60がサイドフレーム12に対して取り付けられる。
エアバッグモジュール60の動作を説明すると、インフレータ62は、車両の衝突に応じて動作信号を受け付けることでガスを発生させ、エアバッグ61はインフレータ62で発生したガスの注入を受けることで膨張する。この際、エアバッグ61は、表皮材Rの端部と、サイドフレーム12に固定された力布取付用クリップ71とにより保持される力布70を押圧することで、表皮材Rの端部を破断し、破断部からシートバックS1の外側に膨出展開する。
なお、図2に示されるように、本実施形態に係るシートSにおいては、エアバッグモジュール60を取り付けるためのエアバッグ取付用孔12D及びエアバッグ取付用孔12Eは、凹部12Aとは異なる位置に設けられる。
換言すれば、サイドフレーム12の凹部12Aの上端である段差部12Bよりもエアバッグモジュール60を取り付けるためのエアバッグ取付用孔12D及びエアバッグ取付用孔12Eは高い位置に形成される。
また、図2に示されるように、サイドフレーム12の平板部には、逆F字形のビード12Fが形成されており、サイドフレーム12の平板部の強度を向上させている。
そして、サイドフレーム12の段差部12Bは、シートフレームFの下端とサイドフレーム12の凹部12Aの間に位置する。すなわち、凹部12Aの上端は、シートフレームFの下端とサイドフレーム12の凹部12Aの間に位置する。
また、エアバッグ取付用孔12D及びエアバッグ取付用孔12Eは、ビード12Fを跨いだ位置に形成されており、これにより、エアバッグモジュール60の取り付け部の強度を向上させている。
また、図2に示されるように、シートバックフレーム10の中央部には、乗員からの荷重を受け止める受圧部材15が架設されている。具体的には、受圧部材15は、第1取付部16及び第2取付部17においてシートバックフレーム10に支持されている。
ここで、受圧部材15は、乗員の背部を支持し、例えば板バネやSバネ等の弾性部材により構成される。
第1取付部16は、サイドフレーム12に係止される部材である。また、第1取付部16は、受圧部材15よりも上部に設けられる上部フレーム11や上部フレーム11に架設されるクロスメンバに対して係止されてもよい。
第2取付部17は、第1取付部16よりも下方に設けられ、左右のサイドフレーム12を連結する下部フレーム13に係止される部材である。
このように、受圧部材15は、第1取付部16及び第2取付部17によりシートバックフレーム10に固定される。
なお、弾性部材52は、上下方向において第1取付部16と第2取付部17との間に配される。こうすることで、アクチュエータ50の振動が第1取付部16と第2取付部17を通じて受圧部材15に伝わりにくくなる。
次に、シートクッションフレーム20について説明する。
図2に示されるように、シートクッションフレーム20は、上方から見たときに方形枠状の外形形状をなす。そして、シートクッションフレーム20は、シート幅方向左右の端部をそれぞれ構成する左右のクッションサイドフレーム21と、左右のクッションサイドフレーム21の前端部を連結するパンフレーム22と、左右のクッションサイドフレーム21の後端部を連結する連結パイプ24とを主たる構成要素とする。例えば、連結パイプ24は、丸パイプ等の中空部材である。
なお、シートバックフレーム10とシートクッションフレーム20とは、リクライニング機構35及び連結ブラケット23を介して連結されており、上述したようにリクライニング機構35によりシートバックフレーム10は、シートクッションフレーム20に対する角度を調整することが可能となっている。
また、シートクッションフレーム20は、ハイト機構40を介してスライド機構30と連結している。
スライド機構30は、車体フロアに固定されたロアレール31と、ロアレール31に対して前後にスライドするアッパーレール32とを主な構成要素とする。
アッパーレール32にはハイト機構40が取り付けられており、アッパーレール32がロアレール31に対してスライドすると、アッパーレール32とともにシートフレームFがロアレール31に対してスライドすることとなる。
また、ハイト機構40は複数のリンクを有し、電動又は手動によりリンクを回動させることで、車体フロア(又はアッパーレール32)に対するシートクッションフレーム20の高さを調整可能となっている。なお、ハイト機構40には公知の機構を用いることができるため、詳細については省略する。
以上説明したように、本実施形態に係るシートSでは、アクチュエータ50の取付部51に弾性部材52を取り付け、弾性部材52を介してアクチュエータ50をサイドフレーム12に取り付けるようにした。これにより、アクチュエータ50の振動がサイドフレーム12を含むシートバックフレーム10に伝達することを抑制できる。
<まとめ>
本実施形態に係るシートS(乗物用シートの一例)は、乗員を支持するパッドUと、パッドUと当接するシートフレームF(フレーム部材の一例)と、シートフレームFに取り付けられるアクチュエータ50と、シートフレームFとアクチュエータ50との間に設けられ、シートフレームFとアクチュエータ50のそれぞれに当接する弾性部材52と、を備え、弾性部材52は、アクチュエータ50に向けて延出し、アクチュエータ50の一部を被覆する被覆部52Cを有する。
上記のシートSによれば、アクチュエータ50とシートフレームFとの間に配される弾性部材52をアクチュエータ50に被せた状態で、アクチュエータ50をシートフレームFに取り付けることができる。これにより、アクチュエータ50とシートフレームFとの間に配される弾性部材52の取り付けを容易とすることができる。
また、アクチュエータ50が弾性部材52を介してシートフレームFに取り付けられているため、アクチュエータ50からシートフレームFに伝わる振動を低減させることができる。
上記のシートSにおいて、パッドUは、弾性部材52とサイドフレーム12を収容する収容空間80を有する。
こうすることで、パッドUの収容空間80内に弾性部材52を配置することができる。
上記のシートSにおいて、アクチュエータ50及び弾性部材52は、シートフレームFのシート幅方向内側に取り付けられる。
こうすることで、シートフレームFからシート幅方向外側にアクチュエータ50と弾性部材が突出しない。これにより、シートSをシート幅方向にコンパクトに構成できる。
上記のシートSにおいて、フレーム部材は、左右に配されるサイドフレーム12を具備するシートバックフレーム10である。アクチュエータ50は、サイドフレーム12に取り付けられ、弾性部材52は、サイドフレーム12とアクチュエータ50との間に設けられ、サイドフレーム12とアクチュエータ50のそれぞれに当接する。
このように、アクチュエータ50とサイドフレーム12との間に弾性部材52を設けたことで、サイドフレーム12への振動伝達を抑制できる。
上記のシートSにおいて、サイドフレーム12は、シート幅方向に貫通した貫通孔12Cを有し、アクチュエータ50は、貫通孔12Cに挿通されるボルト53を有する。弾性部材52はボルト53に取り付けられ、サイドフレーム12は、ボルト53に取り付けられるナット54(締結部材の一例)と、弾性部材52により挟み込まれる。
こうすることで、アクチュエータ50がシートの幅方向外側からナット54によってフレーム部材に締結される際に、弾性部材が傷つくことを抑制できる。
上記のシートSにおいて、サイドフレーム12は、シート幅方向内側に凹む凹部12Aを有し、アクチュエータ50は、凹部に取り付けられる。
こうすることで、サイドフレーム12の外側から、アクチュエータ50のボルト53が突出する長さを短くすることができる。これにより、アクチュエータ50のボルト53がシート内部の部材と干渉することを抑制できる。
また、サイドフレーム12において剛性の高い部分にアクチュエータ50を取り付けることができるので、サイドフレーム12の振動を効果的に抑制できる。
上記のシートSにおいて、サイドフレーム12に取り付けられるエアバッグモジュール60を備え、サイドフレーム12においてエアバッグモジュール60を取り付ける部分は、凹部12A以外の位置である。
こうすることで、エアバッグモジュール60の取付部に対して、アクチュエータ50の振動が伝達されることを抑制できる。これにより、エアバッグの誤作動を防止し、エアバッグを安定して展開させることができる。
上記のシートSにおいて、サイドフレーム12は、ビード12Fを有し、凹部12Aの上端(段差部12B)は、ビード12Fと貫通孔12Cとの間に位置する。
このようにサイドフレーム12にビード12Fを形成したことにより、サイドフレーム12の剛性を向上させることができる。
上記のシートSにおいて、シートバックフレーム10は、左右のサイドフレーム12の下部を連結する下部フレーム13を有し、弾性部材52は、下部フレーム13とは当接していない。
こうすることで、下部フレーム13にアクチュエータ50を取り付けるための貫通孔を形成する必要がなくなる。そのため、下部フレーム13の設計自由度を向上できる。また、下部フレーム13のシート幅方向の長さを短くすることができるため、下部フレーム13のサイズを小さくすることができる。
上記のシートSは、シートバックフレーム10に取り付けられる受圧部材15を有する。受圧部材15は、シートバックフレーム10に取り付けられる第1取付部16と、第1取付部16よりも下方に位置し、シートバックフレーム10に取り付けられる第2取付部17と、を有する。弾性部材52は、上下方向において、第1取付部16と第2取付部17との間に配置されている。
こうすることで、受圧部材15の第1取付部16と第2取付部17に、シートバックフレーム10を介して振動が伝達されてしまうことを抑制できる。
[その他の実施形態]
本発明は上記の実施形態に限定されるものではない。
例えば、上記の実施形態ではシートバックフレーム10に取り付けられるアクチュエータ50の取付部51に弾性部材52を設ける例について説明したが、シートクッションフレーム20に取り付けられるアクチュエータ50に対しても弾性部材52を設けることとしてよい。
また、パッドUの一部を切り欠くことにより、シートフレームFの後方からアクチュエータ50の取付部51に取り付けた弾性部材52を確認可能なように構成してもよい。
F シートフレーム
S シート(乗物用シート)
S1 シートバック
S2 シートクッション
S3 ヘッドレスト
U パッド
R 表皮材
10 シートバックフレーム
11 上部フレーム
12 サイドフレーム
12A 凹部
12B 段差部
12C 貫通孔
12D エアバッグ取付用孔
12E エアバッグ取付用孔
12F ビード
13 下部フレーム
15 受圧部材
16 第1取付部
17 第2取付部
20 シートクッションフレーム
21 クッションサイドフレーム
22 パンフレーム
23 連結ブラケット
24 連結パイプ
25 回動軸
30 スライド機構
31 ロアレール
32 アッパーレール
35 リクライニング機構
40 ハイト機構
50 アクチュエータ
51 取付部
52 弾性部材
52A 当接部
52B 貫通孔
52C 被覆部
53 ボルト
54 ナット(締結部材)
60 エアバッグモジュール
61 エアバッグ
62 インフレータ
63 スタッドボルト
64 リテーナ
65 ナット
70 力布
71 力布取付用クリップ
80 収容空間



Claims (7)

  1. 乗員を支持するパッドと、
    左右に配されるサイドフレームを具備し、前記パッドと当接するシートバックフレームと、
    前記サイドフレームに取り付けられるアクチュエータと、
    前記サイドフレームと前記アクチュエータとの間に設けられ、前記サイドフレームと前記アクチュエータのそれぞれに当接する弾性部材と、を備え、
    前記アクチュエータ及び前記弾性部材は、前記サイドフレームのシート幅方向内側に取り付けられ、
    前記弾性部材は、前記アクチュエータに向けて延出し、前記アクチュエータの一部を被覆する被覆部を有し、
    前記サイドフレームは、シート幅方向に貫通した貫通孔を有し、
    前記アクチュエータは、前記貫通孔に挿通されるボルトを有し、
    前記弾性部材は前記ボルトに取り付けられ、
    前記サイドフレームは、前記ボルトに取り付けられる締結部材と前記弾性部材とにより挟み込まれることを特徴とする乗物用シート。
  2. 前記パッドは、前記弾性部材と前記サイドフレームを収容する収容空間を有することを特徴とする請求項1に記載の乗物用シート。
  3. 前記サイドフレームは、シート幅方向内側に凹む凹部を有し、
    前記アクチュエータは、前記凹部に取り付けられることを特徴とする請求項1又は2に記載の乗物用シート。
  4. 前記サイドフレームに取り付けられるエアバッグモジュールを備え、
    前記サイドフレームにおいて前記エアバッグモジュールを取り付ける部分は、前記凹部以外の位置であることを特徴とする請求項に記載の乗物用シート。
  5. 前記サイドフレームは、ビードを有し、
    前記凹部の上端は、前記ビードと前記貫通孔との間に位置することを特徴とする請求項又はに記載の乗物用シート。
  6. 前記シートバックフレームは、
    左右の前記サイドフレームの下部を連結する下部フレームを有し、
    前記弾性部材は、前記下部フレームとは当接していないことを特徴とする請求項乃至のいずれか一項に記載の乗物用シート。
  7. 前記シートバックフレームに取り付けられる受圧部材を有し、
    前記受圧部材は、
    前記シートバックフレームに取り付けられる第1取付部と、
    前記第1取付部よりも下方に位置し、前記シートバックフレームに取り付けられる第2取付部と、を有し、
    前記弾性部材は、上下方向において、前記第1取付部と前記第2取付部との間に配置されていることを特徴とする請求項乃至のいずれか一項に記載の乗物用シート。
JP2017230738A 2017-11-30 2017-11-30 乗物用シート Active JP7100240B2 (ja)

Priority Applications (6)

Application Number Priority Date Filing Date Title
JP2017230738A JP7100240B2 (ja) 2017-11-30 2017-11-30 乗物用シート
PCT/JP2018/043869 WO2019107451A1 (ja) 2017-11-30 2018-11-28 乗物用シート
BR112020010496-5A BR112020010496B1 (pt) 2017-11-30 2018-11-28 Assento de condução
MYPI2020002698A MY203990A (en) 2017-11-30 2018-11-28 Conveyance seat
CN201880076047.2A CN111386211B (zh) 2017-11-30 2018-11-28 乘坐物用座椅
US16/767,167 US11059402B2 (en) 2017-11-30 2018-11-28 Conveyance seat

Applications Claiming Priority (1)

Application Number Priority Date Filing Date Title
JP2017230738A JP7100240B2 (ja) 2017-11-30 2017-11-30 乗物用シート

Publications (2)

Publication Number Publication Date
JP2019098876A JP2019098876A (ja) 2019-06-24
JP7100240B2 true JP7100240B2 (ja) 2022-07-13

Family

ID=66975421

Family Applications (1)

Application Number Title Priority Date Filing Date
JP2017230738A Active JP7100240B2 (ja) 2017-11-30 2017-11-30 乗物用シート

Country Status (1)

Country Link
JP (1) JP7100240B2 (ja)

Citations (5)

* Cited by examiner, † Cited by third party
Publication number Priority date Publication date Assignee Title
JP2004074979A (ja) 2002-08-21 2004-03-11 Delta Tooling Co Ltd 車両用シートのフレーム構造
JP2006263257A (ja) 2005-03-25 2006-10-05 Aisin Seiki Co Ltd パワーシート
JP2016166020A (ja) 2016-06-24 2016-09-15 テイ・エス テック株式会社 車両用シートのシートフレーム
JP2016175422A (ja) 2015-03-18 2016-10-06 テイ・エス テック株式会社 車両用シート
JP2017158332A (ja) 2016-03-02 2017-09-07 株式会社今仙電機製作所 パワーシート装置

Patent Citations (5)

* Cited by examiner, † Cited by third party
Publication number Priority date Publication date Assignee Title
JP2004074979A (ja) 2002-08-21 2004-03-11 Delta Tooling Co Ltd 車両用シートのフレーム構造
JP2006263257A (ja) 2005-03-25 2006-10-05 Aisin Seiki Co Ltd パワーシート
JP2016175422A (ja) 2015-03-18 2016-10-06 テイ・エス テック株式会社 車両用シート
JP2017158332A (ja) 2016-03-02 2017-09-07 株式会社今仙電機製作所 パワーシート装置
JP2016166020A (ja) 2016-06-24 2016-09-15 テイ・エス テック株式会社 車両用シートのシートフレーム

Also Published As

Publication number Publication date
JP2019098876A (ja) 2019-06-24

Similar Documents

Publication Publication Date Title
JP5308010B2 (ja) 車両用シート
JPWO2013061407A1 (ja) 車両用シート及び樹脂製シートバックバネ
JP7545081B2 (ja) 車両用シート
JP7733332B2 (ja) 乗物用シート
CN111386211A (zh) 乘坐物用座椅
JP7239801B2 (ja) 乗物用シート
JP6822317B2 (ja) 乗物用シート
JP7100240B2 (ja) 乗物用シート
JP2021181305A (ja) 乗物用シート
JP7602711B2 (ja) 乗物用シート
JP5629205B2 (ja) 乗物用シート
JP2024043671A (ja) 車両用シート
JP4141939B2 (ja) 自動車の座席
JP6239850B2 (ja) 乗物用シート
WO2021261159A1 (ja) サイドエアバッグ装置
JP7769255B2 (ja) 乗物用シート
JP2015042518A (ja) 乗物用シート
JP2015145244A (ja) 乗物用シート
JP2025093310A (ja) 乗物用シート
JP6721847B2 (ja) シートフレームおよび乗物用シート
JP7433015B2 (ja) 乗物用シート
JP2010221872A (ja) 車両用シート
JP2018039506A (ja) 乗物用シート
WO2023224075A1 (ja) 乗物用シート
JP2024025653A (ja) 乗物用シート

Legal Events

Date Code Title Description
A621 Written request for application examination

Free format text: JAPANESE INTERMEDIATE CODE: A621

Effective date: 20201117

A131 Notification of reasons for refusal

Free format text: JAPANESE INTERMEDIATE CODE: A131

Effective date: 20220118

A601 Written request for extension of time

Free format text: JAPANESE INTERMEDIATE CODE: A601

Effective date: 20220317

A521 Request for written amendment filed

Free format text: JAPANESE INTERMEDIATE CODE: A523

Effective date: 20220517

TRDD Decision of grant or rejection written
A01 Written decision to grant a patent or to grant a registration (utility model)

Free format text: JAPANESE INTERMEDIATE CODE: A01

Effective date: 20220531

A61 First payment of annual fees (during grant procedure)

Free format text: JAPANESE INTERMEDIATE CODE: A61

Effective date: 20220613

R150 Certificate of patent or registration of utility model

Ref document number: 7100240

Country of ref document: JP

Free format text: JAPANESE INTERMEDIATE CODE: R150

R250 Receipt of annual fees

Free format text: JAPANESE INTERMEDIATE CODE: R250