JP7083600B2 - キャパシタ内蔵ガラス回路基板及びその製造方法 - Google Patents

キャパシタ内蔵ガラス回路基板及びその製造方法 Download PDF

Info

Publication number
JP7083600B2
JP7083600B2 JP2017103493A JP2017103493A JP7083600B2 JP 7083600 B2 JP7083600 B2 JP 7083600B2 JP 2017103493 A JP2017103493 A JP 2017103493A JP 2017103493 A JP2017103493 A JP 2017103493A JP 7083600 B2 JP7083600 B2 JP 7083600B2
Authority
JP
Japan
Prior art keywords
layer
forming
seed metal
glass
metal layer
Prior art date
Legal status (The legal status is an assumption and is not a legal conclusion. Google has not performed a legal analysis and makes no representation as to the accuracy of the status listed.)
Active
Application number
JP2017103493A
Other languages
English (en)
Other versions
JP2018200912A (ja
Inventor
毅志 田村
貴志 木津
Current Assignee (The listed assignees may be inaccurate. Google has not performed a legal analysis and makes no representation or warranty as to the accuracy of the list.)
Toppan Inc
Original Assignee
Toppan Inc
Priority date (The priority date is an assumption and is not a legal conclusion. Google has not performed a legal analysis and makes no representation as to the accuracy of the date listed.)
Filing date
Publication date
Application filed by Toppan Inc filed Critical Toppan Inc
Priority to JP2017103493A priority Critical patent/JP7083600B2/ja
Publication of JP2018200912A publication Critical patent/JP2018200912A/ja
Application granted granted Critical
Publication of JP7083600B2 publication Critical patent/JP7083600B2/ja
Active legal-status Critical Current
Anticipated expiration legal-status Critical

Links

Images

Classifications

    • YGENERAL TAGGING OF NEW TECHNOLOGICAL DEVELOPMENTS; GENERAL TAGGING OF CROSS-SECTIONAL TECHNOLOGIES SPANNING OVER SEVERAL SECTIONS OF THE IPC; TECHNICAL SUBJECTS COVERED BY FORMER USPC CROSS-REFERENCE ART COLLECTIONS [XRACs] AND DIGESTS
    • Y02TECHNOLOGIES OR APPLICATIONS FOR MITIGATION OR ADAPTATION AGAINST CLIMATE CHANGE
    • Y02PCLIMATE CHANGE MITIGATION TECHNOLOGIES IN THE PRODUCTION OR PROCESSING OF GOODS
    • Y02P70/00Climate change mitigation technologies in the production process for final industrial or consumer products
    • Y02P70/50Manufacturing or production processes characterised by the final manufactured product

Landscapes

  • Production Of Multi-Layered Print Wiring Board (AREA)

Description

本発明は、キャパシタを内蔵したガラス回路基板及びその製造方法に関する。
電子機器の高機能化及び小型化に伴って、半導体装置を構成する配線基板の高密度化の要求が高まっている。その中で、回路配線の微細化に合わせて、抵抗、キャパシタ、インダクタのような受動部品も更なる小型化が求められている。更なる小型化要求は非常に高いレベルで求められおり、これら受動部品の小型化と基板表面への高密度実装のみでは限界がある。そこでこのような問題を解決すべく、実装基板に受動素子を内蔵化する技術が提案されている(例えば、特許文献1)。特許文献1の方法では、受動素子を印刷や真空成膜法などで形成することで多層基板内に内蔵するため小型化が可能となる。さらに多層基板内に形成することによって、配線長を短くすることが可能となるので、高周波ノイズを軽減することが出来る。
一方、基板の材料としては、一般的にガラスエポキシ樹脂に代表される有機材料が用いられているが、近年ガラス基材への穴あけ技術の進歩により、例えば、300μm厚のガラス基材に対して100μm以下の小径スルーホールを150μmピッチ以下で形成できるようになってきている。このことからガラス材料を用いた電子回路基板が注目されている。ガラス基材をコアに用いた回路基板(以下、ガラス回路基板という)は、ガラスの線熱膨張係数(CTE)が2ppm~8ppmと小さくシリコンチップと整合するため実装信頼性が高く、さらに平坦性に優れるため高精度な実装が可能になる。加えて、平坦性に優れるために微細配線形成性、高速伝送性にも優れている。さらにガラスの透明性、化学的安定性、高弾性、かつ安価である特徴を生かした電子回路基板への応用が研究されており、半導体装置用インターポーザー、撮像素子用回路基板、通信機器用のLC分波器(デュプレクサ)等の製品化が期待されている。これらガラス基材をコアとする電子回路にはデカップリングコンデンサーやLC回路等を形成する必要性があることから、キャパシタを内蔵する要求が高まってきている。
しかしながら、従来のキャパシタ内蔵基板は、有機基板にキャビティーを設けチップコンデンサーを埋設する方法が行われていた。この方法では、チップコンデンサーの占有体積が大きくなるために、配線引き回しに制約が生じる問題があった。また、コア基板が有機基板である場合、チップコンデンサーの埋設により基板平坦性が低下する問題があった。さらにチップ部品との線熱膨張係数の差から、接続信頼性が低下する問題があった。
また、有機コア基板を用いて多層回路内にMIM(Metal insulator Metal)構造のキャパシタを内蔵する場合、誘電体層と比較すると有機コア基板の線熱膨張係数が大きいことが原因で、熱サイクルによって、誘電体層が剥離するあるいは誘電体層にクラックが生じる問題がある。そのため、キャパシタのショートあるいはオープン不良の発生に起因する信頼性低下の問題があった。
特開2000-151114号公報
本発明は、上述した課題を解決するためになされたものであり、電子回路、電子機器の
小型化薄型化、高信頼化の課題を達成するため、作製工程における歩留まりが高く、電気的信頼性の高いMIM構造の薄膜キャパシタを有するキャパシタ内蔵ガラス回路基板を提供することである。
上記課題を解決する手段として、本発明の請求項1に記載の発明は、貫通孔を介して表裏導通可能な、線膨張係数が、-1ppm/K以上15.0ppm/K以下であるガラス基材の少なくとも一方の面に、導体回路層と絶縁樹脂層とを交互に積層したビルドアップ層を備え、絶縁樹脂層を介して隣接する下側と上側の導体回路層の間にMIMキャパシタが備えられており、MIMキャパシタは、下側の導体回路層の一部と、誘電体層と、上部電極層と、を備えており、上部電極層は、絶縁樹脂層の上側に備えられた導体回路層と接続されているガラス回路基板において、
前記下側の導体回路層は、前期ガラス基材の少なくとも一方の面に直接積層され、かつ前記貫通孔の内壁から連続する無電解めっき層を含み、
上部電極層の下地にはシード金属層が備えられおり、
シード金属層の下地には上部密着層が備えられており、
上部密着層の下地には誘電体層が備えられており、
誘電体層の下地には下部密着層が備えられており、
上部密着層と下部密着層とは同一材料から構成されており、
上部電極層とシード金属層と上部密着層とは、平面視同一形状であり、且つ誘電体層の下面と下部密着層とは、平面視同一形状であり、
シード金属層の厚さと上部密着層の厚さの和が、前記誘電体層の厚さより厚いことを特徴とするキャパシタ内蔵ガラス回路基板である。

また、請求項2に記載の発明は、MIMキャパシタを内蔵したガラス回路基板の製造方法であって、
線膨張係数が、-1ppm/K以上15.0ppm/K以下であるガラス基材に貫通孔を形成する工程と、
前記ガラス基材の少なくとも一方の面に直接積層され、かつ前記貫通孔の内壁から連続する無電解めっき層を形成する工程と、
導体回路層を形成する工程と、絶縁樹脂層を形成する工程と、絶縁樹脂層にビアを形成する工程と、をこの順に必要な回数だけ繰り返す工程Aと、
工程Aの中で、導体回路層の一部にMIMキャパシタを形成する工程と、を備えており、
MIMキャパシタを形成する工程は、
MIMキャパシタを形成する導体回路層の部位に、下部密着層と誘電体層をこの順に形成する工程と、
誘電体層の上にレジストパターンAを形成する工程と、
そのレジストパターンAをエッチングマスクとして誘電体層を除去する工程と、
レジストパターンAを剥離する工程と、
上部密着層とシード金属層をこの順に形成する工程と、
シード金属層の上にレジストパターンBを形成する工程と、
シード金属層を電極として電解めっきによって上部電極層を形成する工程と、
レジストパターンBを剥離する工程と、
上部電極層をエッチングマスクとしてシード金属層を除去する工程と、
シード金属層をエッチングマスクとして上部密着層を除去し、更に誘電体層をエッチングマスクとして下部密着層を除去する工程と、を備えており、
上部密着層とシード金属層をこの順に形成する工程は、上部密着層とシード金属層の暑さの和が、誘電体層の厚さより大きくなるように実施することを特徴とするガラス回路基板の製造方法。
本発明のキャパシタ内蔵ガラス回路基板によれば、基材として線熱膨張係数が低く弾性率が高いガラスを使用しているため、熱サイクルによる寸法変動が少ないキャパシタ内蔵回路基板およびそれを使用した電子部品実装体を製造することが出来る。これにより、熱サイクルをかけたときの電子部品と回路基板との接続信頼性を確保することが出来る。
さらに本発明による回路基板の内蔵キャパシタの製造方法は、導体回路中の下部電極領域と、下部電極領域に形成される誘電体層と、誘電体層上に形成される上部密着層と、上部密着層上に形成されるシード金属層と、シード金属層上に形成される上部電極層からなり、シード金属層、及び、上部密着層の成膜に先立って、誘電体層の周縁端部の形状を形成する。この製造方法により上部電極層を歩留まり良く形成でき、且つ、厚みのバラつきを低減できる。そのため、電気的信頼性の高いキャパシタ内蔵ガラス回路基板を提供することが可能となる。
本発明の実施形態に係るガラス回路基板の作製方法の一例を示す概略断面図である。 図1のガラス回路基板の一部であるMIMキャパシタ形成部Aの側断面を拡大して、MIMキャパシタの作製方法を説明した説明図である。 本発明におけるキャパシタ内蔵ガラス回路基板の構成例を示した概略断面図である。 本発明におけるキャパシタ内蔵ガラス回路基板の構成例を示した概略断面図である。 本発明におけるキャパシタ内蔵ガラス回路基板の構成例を示した概略断面図である。 比較例1に係るMIMキャパシタ作製方法を説明した説明図である。
以下、本発明の実施形態に係るキャパシタ内蔵ガラス回路基板について図1から図5を用いて詳細を説明する。
図1は、本発明の実施形態に係るガラス基材100直上に1層の導体回路層105を形成してなるガラス回路基板の一部を拡大して示す概略断面図である。
図2は、図1のガラス回路基板上に形成された導体回路層105の一部であるMIMキャパシタ形成部A(図1(g)参照)にMIMキャパシタ132(図2(k)参照)を形成する一連の工程を説明する概略断面図である。
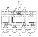
図3~図5は本発明におけるキャパシタ内蔵ガラス回路基板200、201、202を例示した概略断面図である。
なお、以下の説明において、同一要素又は同一機能を有する各部分には、同一符号を用いて、重複する説明は省略する。また、明確に判別できる各部分の符号を図から省略する場合がある。
<キャパシタ内蔵ガラス回路基板>
本発明のキャパシタ内蔵ガラス回路基板は、貫通孔を介して表裏導通可能なガラス基材の少なくとも一方の面に、導体回路層と絶縁樹脂層とを交互に積層したビルドアップ層を備え、絶縁樹脂層を介して隣接する下側と上側の導体回路層の間にMIMキャパシタが備えられており、MIMキャパシタは、下側の導体回路層の一部と、誘電体層と、上部電極層と、を備えており、上部電極層は、絶縁樹脂層の上側に備えられた導体回路層と接続されているガラス回路基板である。
本発明のキャパシタ内蔵ガラス回路基板は、上部電極層の下地にはシード金属層が備えられおり、シード金属層の下地には上部密着層が備えられており、上部密着層の下地には誘電体層が備えられており、誘電体層の下地には下部密着層が備えられており、上部密着層と下部密着層とは同一材料から構成されており、上部電極層とシード金属層と上部密着層とは、平面視同一形状であり、且つ誘電体層の下面と下部密着層とは、平面視同一形状
であり、シード金属層の厚さと上部密着層の厚さの和が、前記誘電体層の厚さより厚いことが特徴である。
<キャパシタ内蔵ガラス回路基板の製造方法>
本発明のキャパシタ内蔵ガラス回路基板の製造方法は、ガラス基材に貫通孔を形成する工程と、導体回路層を形成する工程と、絶縁樹脂層を形成する工程と、絶縁樹脂層にビアを形成する工程と、をこの順に必要な回数だけ繰り返す工程Aと、工程Aの中で、導体回路層の一部にMIMキャパシタを形成する工程と、を備えている。
MIMキャパシタを形成する工程は、MIMキャパシタを形成する導体回路層の部位に、下部密着層と誘電体層をこの順に形成する工程と、誘電体層の上にレジストパターンAを形成する工程と、そのレジストパターンAをエッチングマスクとして誘電体層を除去する工程と、レジストパターンAを剥離する工程と、上部密着層とシード金属層をこの順に形成する工程と、シード金属層の上にレジストパターンBを形成する工程と、シード金属層を電極として電解めっきによって上部電極層を形成する工程と、レジストパターンBを剥離する工程と、上部電極層をエッチングマスクとしてシード金属層を除去する工程と、シード金属層をエッチングマスクとして上部密着層を除去し、更に誘電体層をエッチングマスクとして下部密着層を除去する工程と、を備えている。
上部密着層とシード金属層をこの順に形成する工程は、上部密着層とシード金属層の暑さの和が、誘電体層の厚さより大きくなるように実施することを特徴としている。
なお、上記のレジストパターンAとBは、MIMキャパシタを作製するための異なるパターンであることを示すものであり、図2におけるレジストパターン103-1がレジストパターンAに、またレジストパターン103-2がレジストパターンBに相当する。
以下に図を使用して詳細に説明する。
(貫通孔を有するガラス基材と導体回路層の製造方法)
図1(a)に示したように、ガラス基材100を準備する。ガラス基材100は、光透過性を有する透明のガラス材料である。ガラスの成分またはガラスに含有される各成分の配合比率、更にガラスの製造方法は特に限定されない。例えば、ガラスとしては、無アルカリガラス、アルカリガラス、ホウ珪酸ガラス、石英ガラス、サファイアガラス、感光性ガラスなどが挙げられるが、ケイ酸塩を主成分とするいずれのガラス材料を用いてもよい。さらに、その他のいわゆるガラス材料を用いても良い。ただし、本発明にかかる半導体用途では、無アルカリガラスを用いるのが望ましい。また、ガラス基材100の厚みは1mm以下が好ましいが、ガラス基材100の貫通孔101形成プロセスの容易性や製造時のハンドリング性を考慮して、より好ましくは0.1mm以上0.8mm以下である。
ガラス基材100の製造方法としては、フロート法、ダウンドロー法、フュージョン法、アップドロー法、ロールアウト法などが挙げられるが、いずれの方法によって作製されたガラス材料を用いてもよく、本発明により限定されない。ガラスの線膨張係数は-1ppm/K以上15.0ppm/K以下であることが望ましい。-1ppm/K未満である場合、ガラス材料自体を選定することが困難となり安価に作成できなくなってしまう。15.0ppm/Kを超える場合、他層との熱膨張係数の差異が大きく信頼性が低下してしまう。また、本発明のキャパシタ内蔵ガラス回路基板にシリコンチップを実装する場合は、シリコンチップとの接続信頼性が低下してしまう。そのため、より好ましくは0.5ppm/K以上8.0ppm/K以下、更には1.0ppm/K以上4.0ppm/K以下であることが望ましい。
また、ガラス基材100にはあらかじめ反射防止膜またはIRカットフィルター等の機能膜が形成されていてもよい。また、強度付与、帯電防止、着色、テクスチャー制御など
の機能が付与されても良い。これら機能膜の例として、強度付与にはハードコート膜、帯電防止付与については帯電防止膜、着色については光学フィルター膜、テクスチャー制御においてはアンチグレア、光散乱膜などが挙げられるが、この限りではない。これら機能膜の形成方法としては、蒸着、スパッタリング法、ウエット方式などの成膜技術が用いられる。
続いて図1(b)に記載したようにガラス基材100に貫通孔101を形成する。貫通孔101の断面形状や径は本発明においては限定されない。例えば貫通孔101のトップ径とボトム径よりも中央部の径が狭くなるような形状でもよく、また、トップ径に対しボトム径が小さい形状などでもよい。更に、貫通孔101のトップ径とボトム径よりも中央部の径が広くなるような形状でもよい。貫通孔101の公知の形成方法としては、レーザー加工、放電加工、また感光性レジスト材料を用いる場合では、サンドブラスト加工、ドライエッチング、フッ化水素酸等によるケミカルエッチング加工が挙げられる。さらに感光性ガラスを用いても貫通孔が形成されたガラスコア基材を作製することが可能である。とりわけ、レーザー加工および放電加工が簡便でスループットが良いことから望ましい。用いることができるレーザーとしては、COレーザー、UVレーザー、ピコ秒レーザー、フェムト秒レーザーなどから選択することができる。
続いて図1(c)記載したように貫通孔101が形成されたガラス基材100の表面および貫通孔101内にシード金属層102を形成する。シード金属層102はセミアディティブ工法における配線形成工程において、電解めっきの給電層として作用する。ガラス基材100直上及び貫通孔101の内壁に設けられるシード金属層102は、例えば、スパッタ法、またはCVD法などにより形成することができる。使用する材料としては、例えば、Cu、Ni、Al、チタン、Cr、Mo、W、Ta、Au、Ir、Ru、Pd、Pt、AlSi、AlSiCu、AlCu、NiFe、ITO、IZO、AZO、ZnO、PZT、チタンN、Cu、Cu合金単体もしくはこれらを複数組み合わせたものを適用することができる。本発明では、電気特性、製造の容易性の観点およびコスト面を考慮して、ガラスと密着が良好なチタン層と銅層をこの順にスパッタリング法で形成する。ガラス基材100上の回路形成用のチタン層と銅層の合計の膜厚は、セミアディティブ法による微細な配線形成に有利なことから、1μm以下とするのが望ましい。1μmより厚い場合は、ピッチ30μm以下の微細配線形成が困難となるためである。
ガラス基材100上にチタン層と銅層を形成した後に、無電解めっき層を形成する。チタン層と銅層のみである場合、貫通孔101内部すべてに金属皮膜を形成することができずに、貫通孔101の接続信頼性低下が生じる虞がある。そのため本発明においては、無電解めっき法によって貫通孔101内に金属層を増強することで貫通孔101の接続信頼性を向上させている。無電解めっき層としては、無電解銅めっきと無電解ニッケルめっきが挙げられるが、ガラス基材100あるいはチタン層、銅層との密着性がよいことから無電解ニッケルめっきをおこなうことが好ましい。ニッケルめっき層が厚い場合には、微細な配線形成が困難となってしまうばかりでなく、膜応力増加による密着性低下してしまう。そのため、無電解ニッケルめっき厚は1μm以下が望ましい。また、より好ましくは、0.5μm以下であり、さらに好ましくは0.3μm以下である。また、無電解ニッケルめっき皮膜には還元剤に由来する共析物であるリンや、無電解ニッケルめっき液中に含まれる硫黄や鉛やビスマスなどが含まれていてもよい。以上の工程を経て、貫通孔101が形成されたガラス基材100上にシード金属層102が形成された基板(図1(c)参照)が得られる。
続いて、図1(d)に記載したように、フォトレジストパターン103を形成する。フォトレジストパターンの形成方法について説明する。まず、シード金属層102上全面にフォトレジスト層を形成する。フォトレジストの材料としては、ネガ型ドライフィルムレジスト、ネガ型液状レジスト、ポジ型液状レジストなどが挙げられるが、フォトレジスト層形成が簡便でかつ安価であるため、ネガ型フォトレジストが望ましい。フォトレジスト層形成方法としては、例えばネガ型ドライフィルムレジストであれば、ロールラミネート法、真空ラミネート法が挙げられる。液状ネガ型、あるいはポジ型レジストである場合はスリットコート、カーテンコート、ダイコート、スプレーコート、静電塗装、インクジェットコート、グラビアコート、スクリーン印刷、グラビアオフセット印刷、スピンコート、ドクターコートより選定できる。これらフォトレジスト層の形成方法は本発明においては限定されない。
続いて、フォトレジスト層に所望の回路パターンを公知のフォトリソグラフィー法によって形成する。レジストパターン103は、後に電解めっき層が形成される部分が露出するように位置あわせの上、露光、現像処理することによって形成することができる。フォトレジスト層の厚みは、後工程の電解めっき厚にも依存するが、好ましくは5μm以上、25μm以下であることがのぞましい。5μmより薄い場合、導体回路層となる電解めっき層を5μm以上にすることができなくなり、回路の接続信頼性が低下する可能性がある。25μmより厚くなる場合、ピッチ30μm以下の微細配線を形成することが困難となる。こうして図1(d)に記載するようにフォトレジストパターン103が形成されたガラス基材を得ることができる。
続いて、図1(e)に記載したように電解めっき層104を電解めっき法により形成する。電解めっき法としては、電解ニッケルめっき、電解銅めっき、電解クロムめっき、電解Pdめっき、電解金めっき、電解ロジウムめっき、電解イリジウムめっき等が挙げられるが、電解銅めっきが簡便で、安価で、電気伝導性が良好であることから望ましい。電解銅めっきの厚みは、3μm以上30μm以下であることが望ましい。3μm未満の場合、後のエッチング処理によっては回路が消失してしまう危険性があり、さらに回路の接続信頼性、電気伝導性が低下する危険性がある。電解銅めっき厚が30μmを超える場合、30μm厚超えるフォトレジスト層を形成する必要があるため製造コストがかかる。さらにはレジスト解像性が低下することから、ピッチ30μm以下の微細な配線形成が困難となってしまう。そのため、より好ましくは5μm以上、25μm以下であり、さらに好ましくは10μm以上、20μm以下であることが望ましい。
続いて、図1(f)に記載したように、電解めっきにより配線形成した後に不要となったレジストパターン103を除去することで、シード金属層102が露出される。本発明においてレジスト除去方法は限定されない。例えば、アルカリ性のレジスト剥離液によってレジストパターン103を剥離除去することが出来る。
続いて、図1(g)に記載したように、シード金属層102を除去し、回路を電気的に分断することによって、スルーホールが形成されたガラス基材上に導体回路層105を形成する。シード金属層102の除去方法は、本発明において限定されないが、無電解Ni層、銅層、チタン層を順次、化学エッチングにより除去する方法を用いることが出来る。エッチング液の種類は、除去する金属種により、良好なエッチングを可能とするエッチング液を適宜選択すれば良く、本発明においては限定されない。
(MIMキャパシタの製造方法)
続いて、図2を用いて本発明におけるMIM(Metal Insulator Metal)キャパシタの製造方法を、図1(g)のMIMキャパシタ形成部Aの拡大図である図2を用いて説明する。なお、図2は本発明の一部代表する説明図としてガラス基材100上に形成された導体回路層105上へのMIMキャパシタ132の形成方法の一例を記載してあるが、本発明ではガラス回路基板の直上にMIMキャパシタを作製することに限定されない。すなわち導体回路層105が形成されたガラス回路基板上に絶縁樹脂層を形成した後に導体回路層の形成を繰り返すことでビルドアップ層を形成し、多層回路としてもよく、多層回路中の任意の導体回路層105上にMIMキャパシタ132を形成してもよい。
図2(a)は、導体回路層105の一部を示している。続いて図2(b)に記載するように導体回路105上の全面に渡り、下部密着層110、誘電体層111を順次堆積形成する。それらの各層の成膜方法としては、真空蒸着法、スパッタリング法、イオンプレーティング法、MBE法、レーザーアブレーション法、CVD法が挙げられるが、本発明においては限定されない。
誘電体層111の下層にある下部密着層110は、誘電体層111と導体回路層105の密着性を向上させる層であり、例えばCu、Ni、Al、チタン、Cr、Mo、W、Ta、Au、Ir、Ru、Pd、Pt、AlSi、AlSiCu、AlCu、NiFe、Cu合金単体もしくはそれらを複数組み合わせたものを適用することができる。本発明の説明においては、密着性、電気伝導性、製造の容易性の観点およびコスト面を考慮して、チタン層を選択しているが、これに限定されない。下部密着層110の厚みは、本発明では規定されないが、10nm以上1μm以下であることが望ましい。10nm未満である場合、密着強度が不十分となる可能性がある。1μmを超える場合、成膜時間がかかりすぎて量産性に欠けるばかりでなく、不要部分を除去する工程でさらに時間がかかってしまう。更には10nm以上、500nm以下であることがより望ましい。また、誘電体層111と導体回路層105との密着が十分である場合は、下部密着層110がなくてもかまわない。
本発明における図2(b)に記載の誘電体層111は、絶縁性、比誘電率の観点からアルミナ、シリカ、シリコンナイトライド、タンタルオキサイド、酸化チタン、チタン酸カルシウム、チタン酸バリウム、チタン酸ストロンチウムから選択することが出来る。これらの誘電体層の厚みは、10nm以上5μm以下であることが望ましい。10nm未満である場合、絶縁性を保つことが出来ずにキャパシタとしての機能が発現しない。5μmを超える場合、成膜時間がかかりすぎて量産性に欠けるばかりでなく、不要部分を除去する工程でさらに時間がかかってしまう。より好ましくは50nm以上、1μm以下であることが望ましい。
続いて、図2(c)に記載するようにレジストパターン103-1を形成する。レジストパターン103-1の形成は、前記と同じ方法で行ってもよい。この場合、レジストパターン103-1は導体回路層105の内側に形成する。図2(c)では、断面図を用いて説明しているが、平面視において内側になるように形成する。
続いて、図2(d)にてレジストパターン103-1をエッチングマスクとして誘電体層111及び下部密着層110の不要部分を除去する。誘電体層111及び下部密着層110の除去方法は、化学エッチング法またはドライエッチング法のいずれでもよく、公知の方法を用いることができ、本発明においては限定されない。上述したように、レジストパターン103-1は導体回路層105の内側に形成にされているため、レジストパターン103-1をエッチングマスクとして不要部分を除去すると、誘電体層111は導体回路層105の内側にのみ形成される。
続いて図2(e)で、不要になったレジストパターン103-1を除去する。レジストパターン103-1の除去は、公知の方法を使用すればよく、例えばアルカリ性のレジスト剥離液で除去剥離処理を行うことが出来る。
続いて図2(f)に記載するように全面に渡り、上部密着層112とシード金属層11
3を順次堆積形成する。これらの各層の成膜方法としては、真空蒸着法、スパッタリング法、イオンプレーティング法、MBE法、レーザーアブレーション法、CVD法が挙げられるが、本発明においては限定されない。
シード金属層113の下層にある上部密着層112は、誘電体層111とシード金属層113の密着性を向上させる層であり、例えばCu、Ni、Al、チタン、Cr、Mo、W、Ta、Au、Ir、Ru、Pd、Pt、AlSi、AlSiCu、AlCu、NiFe、Cu合金単体もしくはそれらを複数組み合わせたものを適用することができる。本発明では、密着性、電気伝導性、製造の容易性の観点およびコスト面を考慮してチタン層を選択して説明しているが、これに限定することを意味するものではない。上部密着層112の厚みは本発明では規定されないが、10nm以上1μm以下であることが望ましい。10nm未満である場合、密着強度が不十分となる可能性がある。1μmを超える場合、成膜時間がかかりすぎて量産性に欠けるばかりでなく、不要部分を除去する工程でさらに時間がかかってしまう。より好ましくは10nm以上、500nm以下であることが望ましい。また、誘電体層111と上部電極層114との密着が十分である場合は、上部密着層112がなくてもかまわない。また、上部密着層112は、下部密着層110と同様の材料を選択することが、(後述するが)工程を簡略化できるため望ましい。
シード金属層113は、MIMキャパシタの上部電極層114をセミアディティブ法で電解めっき層を形成するための給電層である。シード金属層113は、例えばCu、Ni、Al、チタン、Cr、Mo、W、Ta、Au、Ir、Ru、Pd、Pt、AlSi、AlSiCu、AlCu、NiFe、Cu合金単体もしくはそれらを複数組み合わせたものを適用することができる。後工程のエッチング除去が簡便となるため、銅を好適に使用可能である。これらシード金属層113の厚みは10nm以上5μm以下であることが望ましい。10nm未満である場合、続く電解めっき工程において通電不良が発生する可能性がある。5μmを超える場合、エッチング除去に時間がかかってしまう。そのため、より好ましくは100nm以上500nm以下が望ましい。上記において、シード金属層113と上部密着層114の厚みの和が、誘電体層111の厚みよりも大きくなるように厚みを調整することが必要である。
続いて、図2(g)に記載したようにレジストパターン103-2を形成する。レジストパターン103-2の形成は、前記と同方法で行ってよい。この場合、レジストパターン103-2の開口領域は、誘電体層111の内側となるように形成する。図2(g)では、ある一例の概略断面図を用いて説明しているが、どの側面視においても平面視において内側になるように形成する。
続いて、図2(h)でシード金属層113を給電電極として、電解めっき法によって上部電極114を形成する。電解めっき法は電解ニッケルめっき、電解銅めっき、電解クロムめっき、電解Pdめっき、電解金めっき、電解ロジウムめっき、電解イリジウムめっき等が挙げられるが、電解銅めっきが、簡便で安価で、電気伝導性が良好であることから望ましい。また、電解銅めっきの厚みは3μm以上30μm以下であることが望ましい。3μm未満の場合、後のエッチング処理によっては回路が消失してしまう危険性がある。さらに回路の接続信頼性、電気伝導性が低下する危険性がある。電解銅めっき厚が30μmを超える場合、30μm厚を超えるレジスト層を形成する必要があり、製造コストがかかる。さらにはレジスト解像性が低下することから、ピッチ30μm以下の微細な配線形成が困難となってしまう。そのため、より好ましくは5μm以上、25μm以下であることが望ましい。さらには10μm以上、20μm以下であることが望ましい。上述したように、レジストパターン103-2は誘電体層111の内側に開口部が形成にされているため、シード金属層113は誘電体層111の内側にのみ形成される。
続いて、図2(i)で不要になったレジストパターン103-2を除去する。レジストパターン103-2の除去は公知の方法を適用可能である。例えばアルカリ性のレジスト剥離液で除去・剥離処理を行うことが出来る。
続いて、図2(j)でシード金属層113の不要部分を除去する。レジストパターン103-2の除去は、前記公知の方法を適用可能である。例えばアルカリ性のレジスト剥離液で剥離処理を行うことが出来る。シード金属層113の除去は、公知の化学エッチング液を用いることが出来る。さらにドライエッチング法により除去してもよい。
続いて、図2(k)において、下部密着層110、及び上部密着層112の不要部分を除去する。除去方法は、化学エッチング法またはドライエッチング法を適用可能である。いずれも公知の方法を用いることができるが、本発明においては限定されない。この場合、下部密着層110及び上部密着層112が同一材料であると、下部密着層110及び上部密着層112を一括加工処理可能なため、工程を簡略することができる。
以上の工程により、MIMキャパシタ132を形成することができる。
(キャパシタ内蔵ガラス回路基板の構成例)
続いて図3~図5を用いて、本発明によるキャパシタ内蔵回路基板200、201、202の構成例を説明する。
図3に記載のキャパシタ内蔵回路基板200のように、ガラス基材100直上の導体回路層105上にMIMキャパシタ132を形成した後に、絶縁樹脂層131、ビアホール130形成、導体回路層105の形成を公知のセミアディティブ法あるいはサブトラクティブ法を用いて形成することを繰り返すことによって、ビルドアップ層を積層し、多層配線を形成してもよい。さらに外部接続端子134を形成した後にはんだボール133を形成してもよい。
さらに図4に記載するキャパシタ内蔵回路基板201のように、絶縁樹脂層131上の導体回路層105上にMIMキャパシタ132を形成してもよい。多層配線の何れの層内にMIMキャパシタ132を形成してもよく、本発明においては限定されない。
本発明によるキャパシタ内蔵回路基板は、図3及び図4に記載のキャパシタ内蔵回路基板200、201のように片面に外部接続端子134およびはんだボール133があってもよく、図5のキャパシタ内蔵回路基板202のように、両面にあっても良い。さらに半導体チップ135やチップ部品136を搭載してもよい。
(多層配線層の形成方法)
以下に多層配線層(ビルドアップ層)の形成方法について説明する。多層配線層の形成方法は公知方法を用いることができる。
多層配線層の絶縁樹脂層131として使用できる例としては、エポキシ樹脂、ポリイミド、マレイミド樹脂、ポリエチレンテレフタラート、ポリフェニレンオキシド、液晶ポリマー及びこれらの複合材料、あるいは感光性ポリイミド樹脂、感光性ポリベンゾオキサゾール、感光性アクリル-エポキシ樹脂を用いることができる。絶縁樹脂層131の形成方法は本発明においては限定されないが、シート状のものであれば真空ラミネート、真空プレス、ロールラミネート法を用いることが出来る。液状のものであれば、スリットコート、カーテンコート、ダイコート、スプレーコート、静電塗装、インクジェットコート、グラビアコート、スクリーン印刷、グラビアオフセット印刷、スピンコート、ドクターコートより選定できる。絶縁樹脂層131の厚みであるが、好ましくは5μm以上50μm以下であることが望ましい。50μmを超える場合、絶縁樹脂層131に形成可能なビアホール130の小径化が難しくなるため、配線の高密度化が不利となってしまう。また5μm未満である場合、層間絶縁性を確保することが困難となる。
多層配線層中のビアホール130の形成は、非感光性絶縁樹脂であればレーザー加工を用いることができる。レーザーは、COレーザー、UVレーザー、ピコ秒レーザー、フェムト秒レーザーなどが挙げられるが、好ましくはUVレーザー、CO2レーザーであることが簡便で望ましい。感光性絶縁樹脂であればフォトリソグラフィー法によって形成することが出来る。ビアホール形成後に適宜、アルカリ過マンガン酸水溶液を用いたデスミア処理を行うことで、樹脂表面の粗化とビアホール内をクリーニングして導体回路層105との密着性向上を行うことが望ましい。あるいはプラズマ処理によって樹脂表面及びビア内部をクリーニングする方法を行っても良い。
導体回路層105の形成方法は、公知の方法を用いることが出来る。すなわちビアホール130形成後の絶縁樹脂層131上全面に1μm前後のシード金属層113として薄膜金属層を形成する。シード金属層113の形成方法としては、公知の無電解銅めっき、無電解ニッケルめっき、あるいはスパッタ法により、薄膜金属層を形成することが出来る。シード金属層113は無電解めっきであれば無電解銅めっき層であることが、簡便で安価であるためのぞましい。無電解めっきであれば、触媒のPd層が樹脂と銅めっき層の界面にあっても良い。スパッタ法であれば、Cu、Ni、Al、チタン、Cr、Mo、W、Ta、Au、Ir、Ru、Pd、Pt、AlSi、AlSiCu、AlCu、NiFe、Cu合金単体もしくはそれらを複数組み合わせたものを適用することができる。より好ましくは、チタン層/銅層がこの順に形成されたスパッタ層であることが、密着性良好であり、且つ後のエッチング除去が簡便となるため望ましい。絶縁樹脂層131上に金属層を形成した後の導体回路層105の形成方法は、セミアディティブ法であれば、公知のフォトリソグラフィー法によるレジストパターン形成、電解めっき、レジスト剥離、シード層除去により実施することができる。サブトラクティブ法であれば、シード金属層113上全面に電解めっき、レジストパターン形成、エッチング、レジスト剥離の工程により導体回路層105を形成することが可能である。電解めっきは電解銅めっきであることが、電気伝導性やコストの観点から望ましい。
図3及び図4の絶縁樹脂131は、最外層であれば、ソルダーレジストを用いても良く、本発明においてはどちらを用いてもよい。また、外部接続端子134に表面処理を行ってもよい。表面処理を行うことではんだボール133との接合性が向上する。表面処理は、スズやスズの合金めっき皮膜、無電解Ni-P/無電解Pd-P/Auめっき皮膜、もしくは無電解Ni-P/Auめっき皮膜などを成膜することができる。または、プレソルダー処理、または、OSP(Organic Solderability Preservaチタンve)等の有機皮膜処理が施されてもよい。はんだボール133はスクリーン印刷法、はんだボール振込み搭載法、電解めっき法等によって形成することができる。はんだボールの組成はスズ、銀、銅、ビスマス、鉛、亜鉛、インジウム、アンチモンなど一種、もしくは複数種を混合したものを用いることができ、これら金属材料の混合比は問わない。はんだの代わりにワイヤーボンディング用のパッドを設けてもよい。
<作用効果>
次に、上述したようなキャパシタ内蔵ガラス回路基板の構成とその製造方法を用いた場合の作用効果について、図2を参照にして説明する。
本実施形態の図2(b)~(f)に示したように、誘電体層111の不要部除去を行った後に、シード金属層113及び上部密着層112の成膜を行うことによって、MIMキャパシタの上部電極層114を、セミアディティブ法の電解めっき工程で形成するための給電を安定して行うことが可能である。この場合、側面において、導体回路層105とシード金属層113が絶縁材料を間に介さず配置されるため、給電経路としてシード金属層113のみならず、導体回路層105も活用できる。断線可能性の高い導体回路層105の側面における、シード金属層113の膜形成に依存しない製造方法にできるため歩留まり向上への効果が大きい。
また、図2(k)に示したように、下部密着層110及び上部密着層112が同一材料であると、除去工程一回で下部密着層110及び上部密着層112を一括加工処理可能なため、工程を簡略することができる。さらに、下部密着層110及び上部密着層112はレジストパターンなどを使用せず、上層をエッチングマスクとして不要部分の除去が可能であるため、上部密着層112と上部電極層114が平面視同一形状、且つ下部密着層110と誘電体層111の下面が平面視同一形状で形成することができる。
また、図2(f)に示したように、シード金属層113と上部密着層112の厚みの和を、誘電体層111の厚みよりも大きくすることによって、MIMキャパシタ132の上部電極層114をセミアディティブ法における電解めっき工程で形成するための給電を安定して行うことが可能である。この場合、導電性の高いシード金属層113と上部密着層112の合計膜厚が、誘電体層111の膜厚より厚くしているため、誘電体層111の段差を、埋めてしまうため、誘電体層111の端部で断線する可能性がない。そのため歩留まり良く作製可能となる。
また、図2(e)に示したように、誘電体層111は導体回路層104の内側に形成することによって、さらにMIMキャパシタの上部電極層114をセミアディティブ法で形成するための給電を安定して行うことが可能である。この場合、側面のみでなく上面部においても、導体回路層105とシード金属層113が絶縁材料を間に介さず配置されるため、給電経路としてシード金属層113のみならず、導体回路層105も活用できる。
また、図2(i)に示したように、上部電極層114は、誘電体層111の上面において、誘電体層111の内側に形成されているため、MIMキャパシタ132の静電容量を安定させることができる。誘電体層111の端部は、厚みのバラつきが相対的に大きくなるため、その領域に電界が印加されると、電界の集中や、漏れ電流に起因して特性が不安定となる。そのため、上部電極層114は、誘電体層111の上面に対して内側に形成することで、影響を緩和することができる。
<実施例1>
本発明に係るガラス基材を有する多層配線基板をもとに、図1~5を参照しながら、キャパシタ内蔵ガラス回路基板の製造方法を説明する。
(ガラスコア基板の製造工程)
まず、図1(a)に示すように、ガラス基材100(日本電気硝子株式会社製OA-10G、0.5mm厚、線熱膨張係数 3ppm/K)を準備する。続いて図1(b)に示すようにピコ秒レーザー加工機を用いて貫通孔101の径がトップ径80μm、ボトム径60μmの貫通孔101を形成した。さらに図1(c)に記載するようにガラス基材100の表裏面にシード金属層102として、スパッタ法を用いてチタンを50nm、銅を300nm、この順に成膜した。さらにスルーホール(貫通孔)101内のシード金属層の増膜(膜厚を増加させる事を指す。)を目的として0.1μm厚みの無電解ニッケルめっき層を形成した。以上よりチタン、銅、ニッケルからなるシード金属層102を形成した。続いて図1(d)に示すように25μm厚の感光性ドライフィルムレジストをガラス表層シード金属層102上にロールラミネートによって設け、フォトリソグラフィーによってレジストパターン103を形成した。次に、図1(e)に示すように15μm厚みとなるように、電解めっき層104として電解銅めっき層を形成した後に、レジストパターン103をアルカリ溶液中で剥離することにより、図1(f)に示した基板を得た。さらにシード金属層102のNi層を硝酸-過酸化水素混合エッチング液、Cu層を硫酸-過酸化水素混合エッチング液、チタン層を水酸化カリウム-過酸化水素エッチング液を用いて順次、溶解除去し、図1(g)に示したガラスコア基板を得た。このようにして、電解めっき層104の下地のシード金属層102をエッチング除去することにより、導体回路層105を形成した。図1(g)のMIMキャパシタ形成部AにMIMキャパシタが形成される。
(MIMキャパシタ製造工程)
次に、図2を用いて、本発明におけるMIMキャパシタの形成について説明する。図2(a)に記載するガラス基材100上に形成された導体回路層105上全面に、図2(B)に示した様に、チタン/アルミナ層を50nm/300nmになるようにスパッタ法で成膜した。
続いてその上部全面にドライフィルムレジストを真空ラミネートにてレジスト層を形成した。
続いて図2(c)に記載するように公知フォトリソグラフィー法によりレジストパターン103-1を形成した後に、ドライエッチング法で誘電体層111の形状を形成し(図2(d)参照)、さらにレジストパターン103をアルカリ水溶液で剥離除去した(図2(e)参照)。
続いて図2(f)に記載するように、上部全面に、上部密着層112/シード金属層113として、チタン/Cu層を50nm/350nmになるように成膜した。これは上部密着層112とシード金属層113の膜厚の合計値が、誘電体層111の厚さより大きくなるようにするためである。このようにすることで、誘電体層111が形成する段差により、シード金属層113が断線することを防ぐことができる。
続いて上部全面にドライフィルムレジストを真空ラミネートにてレジスト層を形成した。
続いて図2(g)に記載するように公知フォトリソグラフィー法によりレジストパターン103-2を形成した後に、電解銅めっきによりMIMキャパシタの上部電極114を厚さ10μmで形成した(図2(h)参照)。
さらにレジストパターン103-2をアルカリ水溶液で剥離除去後(図2(i)参照)、MIMキャパシタ形成用のシード金属層113を硫酸-過酸化水素エッチング液で溶解除去した(図2(j)参照)。
最後に上部密着層112と下部密着層110を水酸化カリウム-過酸化水素エッチング液を用いて上部密着層112と下部密着層110であるチタン層をエッチング除去することで、本発明であるMIMキャパシタを形成した(図2(k)参照)。
(キャパシタ内蔵ガラス回路基板の製造工程)
上記した様に、ガラスコア基板に導体回路層を形成し、導体回路層の一部にMIMキャパシタを形成した後、絶縁樹脂層を形成し、その絶縁樹脂層の必要な箇所にビアホールを形成し、上下層の導体回路層を電気的に接続する。その工程を繰り返すことにより、ビルドアップ層を形成することができる。
まず、MIMキャパシタを形成したガラスコア基板の表裏両面に、厚さ40μmのビルトアップ樹脂であるGX-T31(味の素ファインテクノ製)を真空ラミネートにより絶
縁樹脂層131として形成後、UVレーザー加工機で直径60μmのビアホール130を形成した(図3参照)。
さらにデスミア処理、無電解銅めっき処理によって、厚さ0.8μmの無電解銅めっき層を形成した後に、厚さ25μmのドライフィルムレジスト層を表裏両面に形成した。フォトリソグラフィーによりレジストパターンを形成後、厚さ15μmの電解銅めっきを行った後、0.8μmの無電解銅めっき層をエッチング除去し、導体回路層を表裏面に形成した。
以上の絶縁樹脂層の形成から無電解銅めっき層の除去を繰り返すことで、ビルトアップ多層回路をガラスコア基板の表裏面に各2層の導体回路層を形成した。
表裏面の最外層の絶縁樹脂層としてはソルダーレジスト層を形成し、フォトリソグラフィー工程を実施 することによって外部接続端子134を露出させ、実施例1のキャパシタ内蔵多層ガラス回路基板を得た。さらに図3に記載するように、外部接続端子134の表面にニッケル-金めっき(図示省略)を行い、さらに半田ボール133を形成することで、キャパシタ内蔵ガラス回路基板200を作製した。
<比較例1>
比較例1はその大部分が実施例1と同様のため、異なる部分のみを記載する。特に記載のない部分は実施例1と同様である。比較例1としては、シード金属層113と上部密着層112の厚みの和が、誘電体層の厚みよりも大きくならないように、図2(b)、(f)に記載の誘電体層111、上部密着層112、及びシード金属層113の厚みが実施例1とは異なるキャパシタ内蔵ガラス回路基板の作製を行った。具体的には、誘電体層111であるアルミナを300nmとし、上部密着層112であるチタンを50nm、シード金属層113であるCuを200nmになるように作製した。
<比較例2>
比較例2と実施例1とで異なる点は、実施例1ではシード金属層113、及び上部密着層112の成膜に先立って、誘電体層111の不要部を除去した工程順であるのに対して、比較例2では、誘電体層111を成膜後、続けて、上部密着層112、及びシード金属層113の成膜を行った。その状態を図6(a)に示した。以下、工程順の違いを図6(a)~(c)を用いて説明する。
図6(a)のように、ガラス基材100上に形成された導体回路層105上全面に、下部電極層110及び誘電体層111として、チタン/アルミナ層を50nm/300nmになるようスパッタ法で成膜した後、その上部全面に、上部密着層112とシード金属層113として、チタン/Cu層を50nm/200nmになるようスパッタ法で成膜した。
次に図6(b)に記載するように、フォトリソグラフィー法によりレジストパターン103-3を形成した。
その後、図6(c)に記載するように電解銅めっきによりMIMキャパシタの上部電極114を厚さ10μmで形成した。さらにレジストパターン103-3をアルカリ水溶液で剥離除去後、露出した各層をエッチング除去することで、比較例2のMIMキャパシタを形成した。
以上の実施例1、及び比較例1、2において、図2(h)及び図6(c)の上部電極層114の形成品質に顕著な差が確認された。その結果を下記に記載する。
実施例1…上部電極層114は100%形成され、厚みも狙いが10μmに対して、10μm±1μmで良好であった。
比較例1…上部電極層114は2~5%程度の未形成箇所が確認され、厚みも狙いが10μmに対して、7μm±5μmで、バラつきが大きかった。
比較例2…上部電極層114が形成されていたのは10~15%の箇所であった。
上記の上部電極層114の形成状態の差は、電解銅めっきの給電電極であるシード金属層113の導通性の差であると考えられる。
シード金属層113について、誘電体層111の上面とそれ以外の箇所の間における電気抵抗値を、テスターを用いて測定したところ、実施例1が最も低く、比較例1は実施例1より高く、比較例2においては更に高い値を示した。比較例1、2においては、15μmの導体回路層105の側面を50~350nmの厚みの下部密着層110、誘電体層111、上部密着層112、及びシード金属層113では覆うことができず、高抵抗または断線したため、上部電極層114を形成できなかったと推定できる。
上述の実施形態は一例であって、その他、具体的な細部構造等については適宜に変更可能であることは勿論である。
本発明によれば、ガラス基材を有するキャパシタ内蔵ガラス回路基板を高い信頼性で製造することが可能となる。本発明のキャパシタ内蔵ガラス回路基板は、半導体パッケージ基板、インターポーザー、光学素子用基板の製造、あるいは電子部品の製造に利用することができる。
100…ガラス基材
101…貫通孔(スルーホール)
102…シード金属層
103、103-1、103-2…レジストパターン
104…電解めっき層
105…導体回路層
110…下部密着層
111…誘電体層
112…上部密着層
113…シード金属層(MIMキャパシタ部)
114…上部電極層
130…ビアホール
131…絶縁樹脂層(ソルダーレジスト層)
132…MIMキャパシタ
133…はんだボール
134…外部接続端子
135…半導体チップ
136…チップ部品
200、201、202…キャパシタ内蔵ガラス回路基板
A…MIMキャパシタ形成部

Claims (2)

  1. 貫通孔を介して表裏導通可能な、線膨張係数が、-1ppm/K以上15.0ppm/K以下であるガラス基材の少なくとも一方の面に、導体回路層と絶縁樹脂層とを交互に積層したビルドアップ層を備え、絶縁樹脂層を介して隣接する下側と上側の導体回路層の間にMIMキャパシタが備えられており、MIMキャパシタは、下側の導体回路層の一部と、誘電体層と、上部電極層と、を備えており、上部電極層は、絶縁樹脂層の上側に備えられた導体回路層と接続されているガラス回路基板において、
    前記下側の導体回路層は、前記ガラス基材の少なくとも一方の面に直接積層され、かつ前記貫通孔の内壁から連続する無電解めっき層を含み、
    上部電極層の下地にはシード金属層が備えられており、
    シード金属層の下地には上部密着層が備えられており、
    上部密着層の下地には誘電体層が備えられており、
    誘電体層の下地には下部密着層が備えられており、
    上部密着層と下部密着層とは同一材料から構成されており、
    上部電極層とシード金属層と上部密着層とは、平面視同一形状であり、且つ誘電体層の
    下面と下部密着層とは、平面視同一形状であり、
    シード金属層の厚さと上部密着層の厚さの和が、前記誘電体層の厚さより厚いことを特
    徴とすることを特徴とする、キャパシタ内蔵ガラス回路基板。
  2. MIMキャパシタを内蔵したガラス回路基板の製造方法であって、
    線膨張係数が、-1ppm/K以上15.0ppm/K以下であるガラス基材に貫通孔を形成する工程と、
    前記ガラス基材の少なくとも一方の面に直接積層され、かつ前記貫通孔の内壁から連続する無電解めっき層を形成する工程と、
    導体回路層を形成する工程と、絶縁樹脂層を形成する工程と、絶縁樹脂層にビアを形成する工程と、をこの順に必要な回数だけ繰り返す工程Aと、
    工程Aの中で、導体回路層の一部にMIMキャパシタを形成する工程と、を備えており、
    MIMキャパシタを形成する工程は、
    MIMキャパシタを形成する導体回路層の部位に、下部密着層と誘電体層をこの順に形成する工程と、
    誘電体層の上にレジストパターンAを形成する工程と、
    そのレジストパターンAをエッチングマスクとして誘電体層を除去する工程と、
    レジストパターンAを剥離する工程と、
    上部密着層とシード金属層をこの順に形成する工程と、
    シード金属層の上にレジストパターンBを形成する工程と、
    シード金属層を電極として電解めっきによって上部電極層を形成する工程と、
    レジストパターンBを剥離する工程と、
    上部電極層をエッチングマスクとしてシード金属層を除去する工程と、
    シード金属層をエッチングマスクとして上部密着層を除去し、更に誘電体層をエッチングマスクとして下部密着層を除去する工程と、を備えており、
    上部密着層とシード金属層をこの順に形成する工程は、上部密着層とシード金属層の暑さの和が、誘電体層の厚さより大きくなるように実施することを特徴とするガラス回路基板の製造方法。

JP2017103493A 2017-05-25 2017-05-25 キャパシタ内蔵ガラス回路基板及びその製造方法 Active JP7083600B2 (ja)

Priority Applications (1)

Application Number Priority Date Filing Date Title
JP2017103493A JP7083600B2 (ja) 2017-05-25 2017-05-25 キャパシタ内蔵ガラス回路基板及びその製造方法

Applications Claiming Priority (1)

Application Number Priority Date Filing Date Title
JP2017103493A JP7083600B2 (ja) 2017-05-25 2017-05-25 キャパシタ内蔵ガラス回路基板及びその製造方法

Publications (2)

Publication Number Publication Date
JP2018200912A JP2018200912A (ja) 2018-12-20
JP7083600B2 true JP7083600B2 (ja) 2022-06-13

Family

ID=64667347

Family Applications (1)

Application Number Title Priority Date Filing Date
JP2017103493A Active JP7083600B2 (ja) 2017-05-25 2017-05-25 キャパシタ内蔵ガラス回路基板及びその製造方法

Country Status (1)

Country Link
JP (1) JP7083600B2 (ja)

Families Citing this family (16)

* Cited by examiner, † Cited by third party
Publication number Priority date Publication date Assignee Title
US10665377B2 (en) 2014-05-05 2020-05-26 3D Glass Solutions, Inc. 2D and 3D inductors antenna and transformers fabricating photoactive substrates
US11264167B2 (en) 2016-02-25 2022-03-01 3D Glass Solutions, Inc. 3D capacitor and capacitor array fabricating photoactive substrates
US12165809B2 (en) 2016-02-25 2024-12-10 3D Glass Solutions, Inc. 3D capacitor and capacitor array fabricating photoactive substrates
WO2017177171A1 (en) 2016-04-08 2017-10-12 3D Glass Solutions, Inc. Methods of fabricating photosensitive substrates suitable for optical coupler
US11101532B2 (en) 2017-04-28 2021-08-24 3D Glass Solutions, Inc. RF circulator
EP3649733A1 (en) 2017-07-07 2020-05-13 3D Glass Solutions, Inc. 2d and 3d rf lumped element devices for rf system in a package photoactive glass substrates
US10854946B2 (en) 2017-12-15 2020-12-01 3D Glass Solutions, Inc. Coupled transmission line resonate RF filter
EP3735743A4 (en) 2018-01-04 2021-03-03 3D Glass Solutions, Inc. IMPEDANCE-ADJUSTING CONDUCTIVE STRUCTURE FOR HF CIRCUITS WITH HIGH EFFICIENCY
EP3643148B1 (en) 2018-04-10 2025-12-17 3D Glass Solutions, Inc. Rf integrated power condition capacitor
AU2019344542B2 (en) 2018-09-17 2022-02-24 3D Glass Solutions, Inc. High efficiency compact slotted antenna with a ground plane
JP7257707B2 (ja) 2018-12-28 2023-04-14 スリーディー グラス ソリューションズ,インク 環状コンデンサrf、マイクロ波及びmm波システム
JP7140435B2 (ja) 2019-04-05 2022-09-21 スリーディー グラス ソリューションズ,インク ガラスベースの空基板集積導波路デバイス
EP3948954B1 (en) 2019-04-18 2023-06-14 3D Glass Solutions, Inc. High efficiency die dicing and release
WO2021211855A1 (en) 2020-04-17 2021-10-21 3D Glass Solutions, Inc. Broadband inductor
CN115621722B (zh) * 2022-11-10 2023-12-19 国网江苏省电力有限公司扬州供电分公司 一种基片集成双线馈电的对数周期偶极子天线及加工方法
CN115776778A (zh) * 2022-11-29 2023-03-10 中国兵器工业集团第二一四研究所苏州研发中心 一种基于ltcc技术的变频电路基板制作方法及变频电路

Citations (3)

* Cited by examiner, † Cited by third party
Publication number Priority date Publication date Assignee Title
JP2007116169A (ja) 2005-10-19 2007-05-10 Samsung Electro Mech Co Ltd 薄膜キャパシタが内蔵された印刷回路基板及びその製造方法
JP2009188401A (ja) 2008-02-07 2009-08-20 Ibiden Co Ltd キャパシタ内蔵プリント配線板
JP2013187249A (ja) 2012-03-06 2013-09-19 Toppan Printing Co Ltd 伝送線路構造、多層配線基板、半導体装置、および半導体システム

Family Cites Families (4)

* Cited by examiner, † Cited by third party
Publication number Priority date Publication date Assignee Title
JP2006013353A (ja) * 2004-06-29 2006-01-12 Kyocera Corp 配線基板
JP2016134497A (ja) * 2015-01-19 2016-07-25 凸版印刷株式会社 配線基板積層体及びこれを用いた半導体装置の製造方法
JP6497149B2 (ja) * 2015-03-18 2019-04-10 凸版印刷株式会社 配線基板積層体、これを用いた半導体装置及び半導体装置の製造方法
JP2017050464A (ja) * 2015-09-03 2017-03-09 凸版印刷株式会社 配線基板積層体、その製造方法及び半導体装置の製造方法

Patent Citations (3)

* Cited by examiner, † Cited by third party
Publication number Priority date Publication date Assignee Title
JP2007116169A (ja) 2005-10-19 2007-05-10 Samsung Electro Mech Co Ltd 薄膜キャパシタが内蔵された印刷回路基板及びその製造方法
JP2009188401A (ja) 2008-02-07 2009-08-20 Ibiden Co Ltd キャパシタ内蔵プリント配線板
JP2013187249A (ja) 2012-03-06 2013-09-19 Toppan Printing Co Ltd 伝送線路構造、多層配線基板、半導体装置、および半導体システム

Also Published As

Publication number Publication date
JP2018200912A (ja) 2018-12-20

Similar Documents

Publication Publication Date Title
JP7083600B2 (ja) キャパシタ内蔵ガラス回路基板及びその製造方法
JP7080579B2 (ja) 電子部品製造方法
US11516911B2 (en) Glass circuit board and stress relief layer
EP3220417B1 (en) Wiring circuit board, semiconductor device, wiring circuit board manufacturing method, and semiconductor device manufacturing method
US10923439B2 (en) Core substrate, multi-layer wiring substrate, semiconductor package, semiconductor module, copper-clad substrate, and method for manufacturing core substrate
JP7444210B2 (ja) キャパシタ内蔵ガラス回路基板
JP7139594B2 (ja) ガラスコア、多層配線基板、及びガラスコアの製造方法
JP2007208263A (ja) 薄膜キャパシタ内蔵型印刷回路基板の製造方法
JP6946745B2 (ja) ガラス回路基板及びその製造方法
JP7009958B2 (ja) キャパシタ内蔵ガラス基板の製造方法
JP2019114723A (ja) キャパシタ内蔵ガラス回路基板及びキャパシタ内蔵ガラス回路基板の製造方法
JP2010283319A (ja) 多層セラミック基板及びその製造方法
JP2019197791A (ja) キャパシタ内蔵ガラス基板、及びキャパシタ内蔵回路基板
JP7677447B2 (ja) 配線基板の製造方法
WO2024106066A1 (ja) 配線基板及び配線基板の製造方法
WO2024004566A1 (ja) ガラスコア積層構造体およびガラスコア積層構造体の製造方法
JP2024146315A (ja) 配線基板および配線基板の製造方法
KR20240063896A (ko) 지지체가 부착된 기판 및 반도체 장치
JP2023104755A (ja) 多層配線基板およびその製造方法
JP2023104750A (ja) 多層配線基板およびその製造方法

Legal Events

Date Code Title Description
A621 Written request for application examination

Free format text: JAPANESE INTERMEDIATE CODE: A621

Effective date: 20200413

A131 Notification of reasons for refusal

Free format text: JAPANESE INTERMEDIATE CODE: A131

Effective date: 20201104

A131 Notification of reasons for refusal

Free format text: JAPANESE INTERMEDIATE CODE: A131

Effective date: 20210202

A521 Request for written amendment filed

Free format text: JAPANESE INTERMEDIATE CODE: A523

Effective date: 20210329

A02 Decision of refusal

Free format text: JAPANESE INTERMEDIATE CODE: A02

Effective date: 20210622

A521 Request for written amendment filed

Free format text: JAPANESE INTERMEDIATE CODE: A523

Effective date: 20210816

C60 Trial request (containing other claim documents, opposition documents)

Free format text: JAPANESE INTERMEDIATE CODE: C60

Effective date: 20210816

A911 Transfer to examiner for re-examination before appeal (zenchi)

Free format text: JAPANESE INTERMEDIATE CODE: A911

Effective date: 20210824

C21 Notice of transfer of a case for reconsideration by examiners before appeal proceedings

Free format text: JAPANESE INTERMEDIATE CODE: C21

Effective date: 20210831

A912 Re-examination (zenchi) completed and case transferred to appeal board

Free format text: JAPANESE INTERMEDIATE CODE: A912

Effective date: 20211015

C211 Notice of termination of reconsideration by examiners before appeal proceedings

Free format text: JAPANESE INTERMEDIATE CODE: C211

Effective date: 20211019

C22 Notice of designation (change) of administrative judge

Free format text: JAPANESE INTERMEDIATE CODE: C22

Effective date: 20220222

C22 Notice of designation (change) of administrative judge

Free format text: JAPANESE INTERMEDIATE CODE: C22

Effective date: 20220322

C22 Notice of designation (change) of administrative judge

Free format text: JAPANESE INTERMEDIATE CODE: C22

Effective date: 20220412

C23 Notice of termination of proceedings

Free format text: JAPANESE INTERMEDIATE CODE: C23

Effective date: 20220419

C03 Trial/appeal decision taken

Free format text: JAPANESE INTERMEDIATE CODE: C03

Effective date: 20220531

C30A Notification sent

Free format text: JAPANESE INTERMEDIATE CODE: C3012

Effective date: 20220531

A61 First payment of annual fees (during grant procedure)

Free format text: JAPANESE INTERMEDIATE CODE: A61

Effective date: 20220601

R150 Certificate of patent or registration of utility model

Ref document number: 7083600

Country of ref document: JP

Free format text: JAPANESE INTERMEDIATE CODE: R150

R250 Receipt of annual fees

Free format text: JAPANESE INTERMEDIATE CODE: R250