JP6922397B2 - 半導体装置及びその製造方法 - Google Patents

半導体装置及びその製造方法 Download PDF

Info

Publication number
JP6922397B2
JP6922397B2 JP2017095983A JP2017095983A JP6922397B2 JP 6922397 B2 JP6922397 B2 JP 6922397B2 JP 2017095983 A JP2017095983 A JP 2017095983A JP 2017095983 A JP2017095983 A JP 2017095983A JP 6922397 B2 JP6922397 B2 JP 6922397B2
Authority
JP
Japan
Prior art keywords
layer
insulating film
amorphous
alumina
semiconductor layer
Prior art date
Legal status (The legal status is an assumption and is not a legal conclusion. Google has not performed a legal analysis and makes no representation as to the accuracy of the status listed.)
Active
Application number
JP2017095983A
Other languages
English (en)
Other versions
JP2018195626A (ja
Inventor
伊藤 健治
健治 伊藤
大悟 菊田
大悟 菊田
哲生 成田
哲生 成田
Current Assignee (The listed assignees may be inaccurate. Google has not performed a legal analysis and makes no representation or warranty as to the accuracy of the list.)
Toyota Central R&D Labs Inc
Original Assignee
Toyota Central R&D Labs Inc
Priority date (The priority date is an assumption and is not a legal conclusion. Google has not performed a legal analysis and makes no representation as to the accuracy of the date listed.)
Filing date
Publication date
Application filed by Toyota Central R&D Labs Inc filed Critical Toyota Central R&D Labs Inc
Priority to JP2017095983A priority Critical patent/JP6922397B2/ja
Publication of JP2018195626A publication Critical patent/JP2018195626A/ja
Application granted granted Critical
Publication of JP6922397B2 publication Critical patent/JP6922397B2/ja
Active legal-status Critical Current
Anticipated expiration legal-status Critical

Links

Images

Landscapes

  • Formation Of Insulating Films (AREA)
  • Junction Field-Effect Transistors (AREA)
  • Insulated Gate Type Field-Effect Transistor (AREA)

Description

本明細書が開示する技術は、電極構造体を有する半導体装置及びその製造方法に関する。
半導体装置は、半導体層と絶縁膜と電極が順に積層した電極構造体を備えていることが多い。このような電極構造体は、各種の半導体装置に採用されており、例えばMOSFET(Metal Oxside Semiconductor Field Effect Transistor)の絶縁ゲート部に採用されている。特許文献1は、電極構造体の絶縁膜の材料にアルミナ(Al)と酸化シリコン(SiO)の混晶を用いる技術を開示する。
特開2012−54341号公報
特許文献1に開示される電極構造体の絶縁膜は、アルミナと酸化シリコンの混晶によって構成されている。このため、その絶縁膜内に結晶粒界が存在しており、その結晶粒界に沿って電流が流れやすい。この結果、特許文献1の電極構造体は、リーク電流が流れやすいという問題がある。本明細書は、リーク電流が抑えられた電極構造体を有する半導体装置及びその製造方法を開示する。
本明細書が開示する電極構造体を有する半導体装置の製造方法は、絶縁膜成膜工程、熱処理工程及び電極形成工程を備えることができる。絶縁膜成膜工程では、半導体層上に少なくともアルミナと酸化シリコンが混合された非晶質層を有する絶縁膜を成膜する。絶縁膜の全体が非晶質層であってもよいし、絶縁膜の一部が非晶質層であってもよい。半導体層の材料は特に限定されるものではない。半導体層の材料は、一例では窒化物半導体層であってもよい。熱処理工程では、絶縁膜成膜工程時の成膜温度よりも高い温度で絶縁膜を熱処理する。このような熱処理工程を実施することによって、絶縁膜の膜質を向上させることができる。電極形成工程では、絶縁膜上に電極を形成する。非晶質層は、シリコン原子とアルミニウム原子の総和に対するシリコン原子の割合が13%以上という特徴を有する。この製造方法で製造される半導体装置の電極構造体の絶縁膜は、アルミナと酸化シリコンが混合された非晶質層を有する。非晶質層には結晶粒界が存在していないので、この非晶質層を介して電流が流れることが抑えられる。これにより、この製造方法で製造される半導体装置では、半導体層と電極の間を流れるリーク電流が抑えられる。さらに、この非晶質層は、シリコン原子とアルミニウム原子の総和に対するシリコン原子の割合が13%以上という特徴を有する。このため、絶縁膜の膜質向上を目的として熱処理工程を実施しても、アルミナの凝集に伴う結晶化が抑えられるので、熱処理工程の前後において非晶質層が非晶質の状態を維持することができる。
絶縁膜成膜工程は、非晶質のアルミナからなるアルミナ層と非晶質の酸化シリコンからなる酸化シリコン層を積層し、非晶質層を形成する積層工程を有していてもよい。この積層工程は、原子層堆積法を利用して、5原子層以上連続して成膜されない条件下でアルミナ層が成膜されてもよい。この製造方法によると、シリコン原子とアルミニウム原子の総和に対するシリコン原子の割合が13%以上の非晶質層を確実に製造することができる。
本明細書が開示する電極構造体を有する半導体装置は、半導体層、半導体層上に設けられる絶縁膜及び絶縁膜上に設けられる電極を備えることができる。絶縁膜は、アルミナと酸化シリコンが混合された非晶質層を有する。絶縁膜の全体が非晶質層であってもよいし、絶縁膜の一部が非晶質層であってもよい。半導体層の材料は特に限定されるものではない。半導体層の材料は、一例では窒化物半導体層であってもよい。非晶質層は、シリコン原子とアルミニウム原子の総和に対するシリコン原子の割合が13%以上である。この半導体装置では、電極構造体の絶縁膜が、アルミナと酸化シリコンが混合された非晶質層を有する。非晶質層には結晶粒界が存在していないので、この非晶質層を介して電流が流れることが抑えられる。これにより、この半導体装置では、半導体層と電極の間を流れるリーク電流が抑えられる。さらに、この非晶質層は、シリコン原子とアルミニウム原子の総和に対するシリコン原子の割合が13%以上という特徴を有する。このため、非晶質層は、絶縁膜の膜質向上を目的として実施される熱処理工程に抗して非晶質の状態を維持することができるという特徴を有する。
第1実施形態に係る半導体装置の概略構成を示す断面図。 半導体装置の電極構造体を製造するためのフロー図。 熱処理工程時の温度とX線反射率スペクトルの全反射臨界角の関係を示す図。 第2実施形態に係る半導体装置の概略構成を示す断面図。 第3実施形態に係る半導体装置の概略構成を示す断面図。 第4実施形態に係る半導体装置の概略構成を示す断面図。 第5実施形態に係る半導体装置の概略構成を示す断面図。 第6実施形態に係る半導体装置の概略構成を示す断面図。
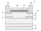
(第1実施形態)図1に示されるように、第1実施形態の半導体装置1は、MOSFETであり、半導体基板2、窒化物半導体層4、絶縁膜10、ゲート電極24、ソース電極20及びドレイン電極22を備える。後述するように、窒化物半導体層4と絶縁膜10とゲート電極24が電極構造体であり、MOSFETの絶縁ゲート部を構成する。
半導体基板2は、シリコンによって構成されている。なお、半導体基板2の材料は、その表面から窒化物半導体層4を結晶成長させることができる種類であればよく、例えば、サファイア又はSiCによって構成されていてもよい。
窒化物半導体層4は、半導体基板2の表面上に設けられており、p型窒化物半導体層6及びn型窒化物半導体層8を備える。p型窒化物半導体層6は、半導体基板2の表面上に設けられている。n型窒化物半導体層8は、p型窒化物半導体層6の表層部の一部に設けられている。この例では、一対のn型窒化物半導体層8がp型窒化物半導体層6の表層部に設けられており、p型窒化物半導体層6がn型窒化物半導体層8間に配置されている。p型窒化物半導体層6と一対のn型窒化物半導体層8は、窒化物半導体層4の表面に露出する。なお、p型窒化物半導体層6は、p型に代えてi型であってもよい。
絶縁膜10は、窒化物半導体層4の表面上に設けられている。絶縁膜10は、n型窒化物半導体層8の間に配置されているp型窒化物半導体層6の表面全体を覆うように設けられている。絶縁膜10は、アルミナ(AlО)と酸化シリコン(SiО)が結晶粒界のない状態で混合された非晶質層を有する。この例では、絶縁膜10は、その全体が非晶質層である。この例に代えて、非晶質層は、窒化物半導体層4とゲート電極24の間を隔てるように、絶縁膜10の一部に設けられていてもよい。
ゲート電極24は、絶縁膜10の表面上に設けられている。ソース電極20は、一方のn型窒化物半導体層8の表面上に設けられており、n型窒化物半導体層8にオーミック接触している。ドレイン電極22は、他方のn型窒化物半導体層8の表面上に設けられており、n型窒化物半導体層8にオーミック接触している。このように、半導体装置1は、窒化物半導体層4と絶縁膜10とゲート電極24がこの順で積層した絶縁ゲート部(電極構造体の一例)を備えており、この絶縁ゲート部がソース電極20とドレイン電極22の間に配置されている。
ゲート電極24にオン電圧が印加されると、絶縁膜10の下方のp型窒化物半導体層6に反転層が形成される。これにより、ソース電極20に接続するn型窒化物半導体層8とドレイン電極22に接続するn型窒化物半導体層8が反転層を介して接続され、ソース電極20とドレイン電極22が導通する。上記したように、絶縁膜10が非晶質で構成されており、絶縁膜10に結晶粒界が存在していない。このため、ゲート電極24にオン電圧を印加したときに、ゲート電極24から絶縁膜10を介して窒化物半導体層4に向けてリーク電流が流れることが抑えられている。
次に、半導体装置1の電極構造体の製造方法について説明する。なお、半導体装置1の製造方法において、電極構造体の製造工程以外の工程については、従来公知の工程を採用することができる。このため、以下では、半導体装置1の電極構造体の製造方法についてのみを説明し、その他の工程についての説明は省略する。
図2に示されるように、半導体装置1の電極構造体の製造方法はまず、窒化物半導体層4の表面上にアルミナ(AlО)と酸化シリコン(SiО)が混合された非晶質の絶縁膜10を形成する絶縁膜成膜工程S1を実施する。絶縁膜成膜工程S1は、非晶質のアルミナからなるアルミナ層と非晶質の酸化シリコンからなる酸化シリコン層を交互に積層する積層工程を有する。
この積層工程ではまず、原子層堆積法(ALD法)を利用して、窒化物半導体層4の表面上にアルミナ層を堆積する。原子層堆積法では、Alの原料としてトリメチルアルミニウム(TMAl)が用いられ、酸素の原料として水が用いられる。なお、酸素の原料としては、水の代わりにオゾン又は酸素ラジカルが用いられてもよい。原子層堆積法では、Alを酸化させることにより、アルミナ(AlО)を1原子層単位で積層方向に堆積したアルミナ層を形成することができる。ここでは、アルミナ(AlО)が5原子層以上連続して堆積されない条件下でアルミナ層を形成する。
続いて、原子層堆積法を利用して、アルミナ層の表面に酸化シリコン層を堆積する。原子層堆積法では、Siの原料としてトリスジメチルアミノシラン(TDMAS)が用いられ、酸素の原料として酸素ラジカルが用いられる。原子層堆積法では、Siを酸化させることにより、酸化シリコン(SiО)を1原子層単位で積層方向に堆積した酸化シリコン層を形成することができる。ここでは、酸化シリコン(SiО)が1原子層となる条件下で酸化シリコン層を形成する。
アルミナ層の厚みは2.0nm以下であることが好ましい。アルミナ層の厚みが2.0nm以下であると、アルミナ層は、アルミナ(AlО)が1原子層又はわずか数原子層が積層した、極めて薄い状態となる。アルミナ(AlО)が積層方向に薄く配置されることによって、アルミナ(AlО)は結晶粒界を生じ難くなり、アルミナ層は非晶質となる構造を維持し易くなる。また、酸化シリコン層の厚みは2.0nm以下であることが好ましい。酸化シリコン層の厚みが2.0nm以下であると、酸化シリコン(SiО)が積層方向に薄く配置され、酸化シリコン(SiО)は結晶粒界を生じ難くなり、酸化シリコン層は非晶質となる構造を維持し易くなる。このため、絶縁膜10は、非晶質のアルミナ層と非晶質の酸化シリコン層を積層したものとなり、絶縁膜10全体についても非晶質とすることができる。絶縁膜10が非晶質であると、絶縁膜10には結晶粒界がないため、絶縁膜10に電流が流れ難くなる。
上記の条件下において、アルミナ層と酸化シリコン層を交互に積層して絶縁膜10を形成する。上記したように、アルミナ層は、アルミナ(AlО)が5原子層以上連続して堆積されない条件下で形成される。このため、絶縁膜10においては、シリコン原子とアルミニウム原子の総和に対するシリコン原子の割合(100×Si/(Si+Al))が13%以上となるように調整されている。
次に、半導体装置1の電極構造体の製造方法は、絶縁膜成膜工程時の成膜温度よりも高い温度で絶縁膜10を熱処理する熱処理工程S2を実施する。熱処理工程S2は、絶縁膜成膜工程時の成膜温度よりも高い温度で実施することにより、不純物に起因して絶縁膜10内に存在していたトラップ電荷が低減され、絶縁膜10の膜質を向上させることができる。この例では、絶縁膜10内に存在するトラップ電界が低減されることにより、絶縁ゲート部の閾値電圧のバラツキが抑えられる。熱処理工程S2の熱処理温度は、400℃以上であり、1050℃以下である。熱処理工程S2の熱処理温度が400℃以上であると、絶縁膜10内に存在するトラップ電荷が低減され、絶縁膜10の膜質が向上する。熱処理工程S2の熱処理温度が1050℃以下であると、窒化物半導体層4の分解が抑えられる。
次に、半導体装置1の絶縁ゲート部の製造方法は、電極形成工程S3を実施する。電極形成工程S3は、絶縁膜10上にゲート電極24を形成し、電極構造体を完成させる。
上記したように、絶縁膜10の膜質を向上させるためには、絶縁膜10を成膜した後に熱処理工程S2が必要である。一方、熱処理工程S2を実施すると、絶縁膜10のアルミナが凝集して結晶化することが懸念される。絶縁膜10が結晶化すると、リーク電流を抑えるという効果が損なわれてしまう。
ここで、図3を参照し、熱処理工程の前後において、絶縁膜10が非晶質の状態を維持していることを検討した結果を示す。絶縁膜10の結晶化の判定は、X線反射率測定で密度変化を観測することで行った。結晶化が起こると膜密度が高くなるので、X線反射率スペクトルの全反射臨界角が高角度側にシフトする。臨界角の速度精度は±0.005°であるから、0,01°を超える臨界角の高角度側へのシフトが起これば、結晶化が生じたと推定される。図3では、横軸が熱処理工程時の熱処理温度であり、縦軸が臨界角である。検討した試料は、絶縁膜10がアルミナ(AlО)のみで形成されている例、酸化シリコン(SiО)の1原子層に対してアルミナ(AlО)の原子層の数を変えて形成された複数の例である。アルミナ(AlО)の原子層の数は、2層、3層、4層、5層及び10層である。なお、図中の括弧内の数値は、金属原子(アルミニウム原子とシリコン原子の総和)中のシリコン原子の原子比率を百分率で表したものである。
図3に示されるように、絶縁膜10がアルミナ(AlО)のみで形成されている例では、熱処理温度が800℃で結晶化が起こった。また、AlО:SiОの比率が10:1の例と5:1の例では、熱処理温度が950℃で結晶化が起こった。一方、AlО:SiОの比率が4:1の例と3:1の例では、熱処理温度が1050℃でも結晶化が起こらず、非晶質を維持していることが分かった。AlО:SiОの比率が2:1の例については、実験結果がないものの、他の実験結果の試料から推察すると、熱処理温度が1050℃であっても結晶化が起こらず、非晶質を維持していると考えられる。以上の結果から、絶縁膜10のシリコン原子とアルミニウム原子の総和に対するシリコン原子の割合が13%以上であれば、熱処理温度が400℃〜1050℃の範囲内で非晶質を維持できることが分かった。即ち、熱処理工程S2の実用的な温度範囲において、絶縁膜10が非晶質を維持できることが確認された。
上記したように、絶縁膜10は、非晶質のアルミナ層と非晶質の酸化シリコン層を交互に積層して形成されており、絶縁膜10は非晶質である。このため、半導体装置1では、ゲート電極24から絶縁膜10を介して窒化物半導体層4へ流れるリーク電流が抑えられ、絶縁膜10の絶縁破壊電界強度が高くなる。なお、例えば、非晶質のSiОからなる絶縁膜を用いても、リーク電流を抑えることができる。しかしながら、非晶質のSiОからなる絶縁膜は、誘電率が低いため、オン抵抗が高くなるという問題がある。これに対して、絶縁膜10は誘電率が高いため、絶縁膜10を有する絶縁ゲート部は、リーク電流を抑えるとともに、オン抵抗を低くすることができる。
なお、本実施形態では、絶縁膜10を構成するアルミナ層及び酸化シリコン層を、原子層堆積法を用いて成膜しているが、このような例に限定されない。例えば、化学気相堆積法(CVD法)やスパッタリング法等の公知の方法を用いて成膜してもよい。化学気相堆積法やスパッタリング法を用いて絶縁膜を形成すると、各アルミナ層及び各酸化シリコン層は1原子層からなる層にならず、数個の原子層からなる層が形成される。このような場合でも、各層の積層方向の厚みを薄くすることができるので、各層を非晶質にすることができる。このため、絶縁膜を非晶質にすることができる。なお、化学気相堆積法を用いる場合には、例えば、トリメチルアルミニウム(TMAl)と酸素ラジカルとを原料としてアルミナ層を成膜し、シラン又はテトラエトキシシラン(TEOS)と酸素ラジカルを原料として酸化シリコン層を成膜することができる。また、スパッタリング法を用いる場合には、例えば、AlОターゲットをArプラズマでスパッタリングすることでアルミナ層を成膜し、SiОターゲットをArプラズマでスパッタリングすることで酸化シリコン層を成膜できる。
また、本実施形態では、アルミナ層と酸化シリコン層を別個に成膜しているが、絶縁膜が非晶質になればよく、このような構成に限定されない。例えば、スパッタリング法を用いて、AlОターゲットとSiОターゲットを同時にスパッタリングしてもよい。
本明細書が開示する絶縁膜は、上述した電極構造体の構成への適用に限定されるものではなく、半導体層と電極との間に配置されるものであれば適用することができる。以下に図4〜8を参照して、本明細書が開示する絶縁膜を備える電極構造体を用いた半導体装置の実施形態を示す。なお、以下の絶縁膜10b、10c、10d及び10eは、上述した実施形態の絶縁膜10と同様の構成であり、非晶質のアルミナ層と非晶質の酸化シリコン層が交互に積層された構造である。
(第2実施形態)図4に示すように、第2実施形態の半導体装置1aは、半導体基板2aの表面上に設けられる窒化物半導体層4aがn型窒化ガリウム(GaN)からなる。半導体装置1aは、窒化物半導体層4aの表面上に設けられる一方の電極20aと、絶縁膜10aの表面上に設けられる他方の電極24aを備える。半導体装置1aは、例えば、キャパシタである。このような半導体装置1aにおいても、窒化物半導体層4aと他方の電極24aとの間にアルミナ層と酸化シリコン層からなる絶縁膜10aを配置することができる。したがって、半導体装置1aにおいても、半導体層4aと他方の電極24aとの間のリーク電流を抑えることができる。このように、本明細書が開示する電極構造体は、トランジスタに限定して用いられるものではない。絶縁膜を備える半導体装置であれば用いることができ、絶縁膜を介したリーク電流を抑えることができる。
(第3実施形態)図5に示すように、第3実施形態の半導体装置1bは、i型窒化ガリウム(i−GaN)層6bとi型窒化アルミニウムガリウム(i−AlGaN)層8bを備える窒化物半導体層4bを備える。i型窒化ガリウム層6bは、半導体基板2bの表面上に設けられている。i型窒化アルミニウムガリウム層8bは、i型窒化ガリウム層6bの表面上に設けられている。絶縁膜10bは、i型窒化アルミニウムガリウム層8bの表面上に設けられている。ゲート電極24bは、絶縁膜10bの表面上に設けられている。ソース電極20b及びドレイン電極22bは、i型窒化アルミニウムガリウム層8bの表面上に設けられている。このような半導体装置1bにおいても、窒化物半導体層4bとゲート電極24bとの間に絶縁膜10bを配置することによって、半導体層4bとゲート電極24bとの間を流れるリーク電流を抑えることができる。
(第4実施形態)図6に示すように、第4実施形態の半導体装置1cの窒化物半導体層4cは、i型窒化ガリウム(i−GaN)層6cと、i型窒化アルミニウムガリウム(i−AlGaN)層8cを備える。i型窒化アルミニウムガリウム層8cの表面には、SiО層30が設けられている。SiО層30からi型窒化ガリウム層6cに達するまで、SiО層30、i型窒化アルミニウムガリウム層8c及びi型窒化ガリウム層6cの一部が除去されており、除去された表面(リセス部)に絶縁膜10cが設けられている。ゲート電極24cは、絶縁膜10cの表面を、リセス部を覆うように設けられている。このような半導体装置1cにおいても、窒化物半導体層4cとゲート電極24cとの間に絶縁膜10cを配置することによって、窒化物半導体層4cとゲート電極24cとの間を流れるリーク電流を抑えることができる。
(第5実施形態)図7に示すように、第5実施形態の半導体装置1dの窒化物半導体層4dは、n型窒化ガリウム(n−GaN)層6dと、p型窒化ガリウム(p−GaN)層8dと、n型窒化ガリウム(n−GaN)層9dを備える。n型窒化ガリウム層9dからn型窒化ガリウム層6dに達するまで、n型窒化ガリウム層9d、p型窒化ガリウム層8d及びn型窒化ガリウム層6dの一部が除去されており、除去された表面に絶縁膜10dが設けられている。ゲート電極24dは、除去された部分を覆うように、絶縁膜10dの表面に設けられている。ソース電極20dは、p型窒化ガリウム層8dと、n型窒化ガリウム層9dの表面上に設けられている。ドレイン電極22dは、半導体基板2dの裏面に接するように設けられている。このような半導体装置1dにおいても、窒化物半導体層4dとゲート電極24dとの間に絶縁膜10dを配置することによって、窒化物半導体層4dとゲート電極24dとの間を流れるリーク電流を抑えることができる。
(第6実施形態)図8に示すように、第6実施形態の半導体装置1eの窒化物半導体層4eは、n型窒化ガリウム(n−GaN)層6eと、p型窒化ガリウム(p−GaN)層7eと、i型窒化ガリウム(i−GaN)層8eと、n型窒化ガリウム(n−GaN)層9eを備える。n型窒化ガリウム層6eは、半導体基板2eの表面上に設けられている。p型窒化ガリウム層7eは、n型窒化ガリウム層6eの表面上の一部に設けられている。i型窒化ガリウム層8eは、n型窒化ガリウム層6eの表面のうち、p型窒化ガリウム層7eが設けられていない部分の表面上と、p型窒化ガリウム層7eの表面上に設けられている。n型窒化ガリウム層9eは、i型窒化ガリウム層8eの表層部の一部に設けられている。絶縁膜10eは、n型窒化ガリウム層9eの間に配置されているi型窒化ガリウム層8eの表面を覆うように設けられている。ゲート電極24eは、絶縁膜10eの表面上に設けられている。ソース電極20eは、n型窒化ガリウム層9eの表面上に設けられている。ドレイン電極22eは、半導体基板2eの裏面に接するように設けられている。このような半導体装置1eにおいても、窒化物半導体層4eとゲート電極24eとの間に絶縁膜10eを配置することによって、窒化物半導体層4eとゲート電極24eとの間を流れるリーク電流を抑えることができる。
第2〜6実施形態に示すように、本明細書が開示する絶縁膜は、種々の半導体装置に用いることができる。これらの半導体装置においても、電極と半導体層との間に本明細書が開示する絶縁膜を配置することによって、電極から半導体層に流れるリーク電流を抑えることができる。
以上、本明細書に開示の技術の具体例を詳細に説明したが、これらは例示にすぎず、特許請求の範囲を限定するものではない。特許請求の範囲に記載の技術には、以上に例示した具体例を様々に変形、変更したものが含まれる。また、本明細書または図面に説明した技術要素は、単独であるいは各種の組合せによって技術的有用性を発揮するものであり、出願時請求項記載の組合せに限定されるものではない。
1:半導体装置
2:半導体基板
4:窒化物半導体層
6:p型窒化物半導体層
8:n型窒化物半導体層
10:絶縁膜
20:ソース電極
22:ドレイン電極
24:ゲート電極

Claims (6)

  1. 電極構造体を有する半導体装置の製造方法であって、
    半導体層上に少なくともアルミナと酸化シリコンが混合された非晶質層を有する絶縁膜を成膜する絶縁膜成膜工程と、
    前記絶縁膜成膜工程時の成膜温度よりも高い温度で前記絶縁膜を熱処理する熱処理工程と、
    前記絶縁膜上に電極を形成する電極形成工程と、を備えており、
    前記非晶質層は、シリコン原子とアルミニウム原子の総和に対するシリコン原子の割合が13%以上である、製造方法。
  2. 前記絶縁膜成膜工程は、非晶質のアルミナからなるアルミナ層と非晶質の酸化シリコンからなる酸化シリコン層を交互に積層し、前記非晶質層を形成する積層工程を有する、請求項1に記載の製造方法。
  3. 前記積層工程では、原子層堆積法を利用して、5原子層以上連続して成膜されない条件下で前記アルミナ層を成膜する、請求項2に記載の製造方法。
  4. 前記半導体層が、窒化物半導体層である、請求項1〜3のいずれか一項に記載の製造方法。
  5. 前記半導体層と前記絶縁膜と前記電極が絶縁ゲート部を構成する、請求項1〜4のいずれか一項に記載の製造方法。
  6. 電極構造体を有する半導体装置であって、
    半導体層と、
    前記半導体層上に設けられる絶縁膜と、
    前記絶縁膜上に設けられる電極と、を備えており、
    前記絶縁膜は、アルミナと酸化シリコンが混合された非晶質層を有しており、
    前記非晶質層は、シリコン原子とアルミニウム原子の総和に対するシリコン原子の割合が13%以上である、半導体装置。
JP2017095983A 2017-05-12 2017-05-12 半導体装置及びその製造方法 Active JP6922397B2 (ja)

Priority Applications (1)

Application Number Priority Date Filing Date Title
JP2017095983A JP6922397B2 (ja) 2017-05-12 2017-05-12 半導体装置及びその製造方法

Applications Claiming Priority (1)

Application Number Priority Date Filing Date Title
JP2017095983A JP6922397B2 (ja) 2017-05-12 2017-05-12 半導体装置及びその製造方法

Publications (2)

Publication Number Publication Date
JP2018195626A JP2018195626A (ja) 2018-12-06
JP6922397B2 true JP6922397B2 (ja) 2021-08-18

Family

ID=64569005

Family Applications (1)

Application Number Title Priority Date Filing Date
JP2017095983A Active JP6922397B2 (ja) 2017-05-12 2017-05-12 半導体装置及びその製造方法

Country Status (1)

Country Link
JP (1) JP6922397B2 (ja)

Family Cites Families (4)

* Cited by examiner, † Cited by third party
Publication number Priority date Publication date Assignee Title
JP3786566B2 (ja) * 2000-06-27 2006-06-14 株式会社東芝 半導体装置及びその製造方法
JP3773448B2 (ja) * 2001-06-21 2006-05-10 松下電器産業株式会社 半導体装置
JP3840207B2 (ja) * 2002-09-30 2006-11-01 株式会社東芝 絶縁膜及び電子素子
JP2011151366A (ja) * 2009-12-26 2011-08-04 Canon Anelva Corp 誘電体膜の製造方法

Also Published As

Publication number Publication date
JP2018195626A (ja) 2018-12-06

Similar Documents

Publication Publication Date Title
US8525274B2 (en) Semiconductor device and method of manufacturing the same
JP6251071B2 (ja) 半導体装置
JP5166576B2 (ja) GaN系半導体素子の製造方法
JP6235702B2 (ja) 半導体装置
JP2010232377A (ja) 半導体素子
KR102505057B1 (ko) 반도체 전력 디바이스를 위한 하이브리드 게이트 유전체
JP2023118942A (ja) 半導体装置
JP5306438B2 (ja) 電界効果トランジスタおよびその製造方法
JP2014045174A (ja) 窒化物半導体装置
CN106663634A (zh) 半导体器件及半导体器件的制造方法
JP2012114320A (ja) 窒化物半導体電界効果トランジスタ
CN105336789A (zh) 一种高质量MIS结构的GaN基场效应晶体管及其制备方法
JP2013004750A (ja) 化合物半導体装置及びその製造方法
JP2019050232A (ja) 半導体装置の製造方法および半導体装置
JP2013140866A (ja) 半導体装置及び半導体装置の製造方法
JP2019134164A (ja) 半導体装置および半導体装置の製造方法
JP7165328B2 (ja) 半導体装置および半導体装置の製造方法
JP6267706B2 (ja) 半導体装置およびその製造方法
WO2023008308A1 (ja) 半導体装置
JP2018200932A (ja) 半導体装置の製造方法および半導体装置
JP2014078561A (ja) 窒化物半導体ショットキバリアダイオード
JP6922397B2 (ja) 半導体装置及びその製造方法
JP2009049099A (ja) 炭化珪素半導体装置の製造方法
JP5220904B2 (ja) GaN系化合物半導体装置
JP6707995B2 (ja) 電極構造体、電極構造体を用いる半導体装置及び電極構造体の製造方法

Legal Events

Date Code Title Description
A621 Written request for application examination

Free format text: JAPANESE INTERMEDIATE CODE: A621

Effective date: 20200221

A977 Report on retrieval

Free format text: JAPANESE INTERMEDIATE CODE: A971007

Effective date: 20210308

A131 Notification of reasons for refusal

Free format text: JAPANESE INTERMEDIATE CODE: A131

Effective date: 20210323

TRDD Decision of grant or rejection written
A01 Written decision to grant a patent or to grant a registration (utility model)

Free format text: JAPANESE INTERMEDIATE CODE: A01

Effective date: 20210629

A61 First payment of annual fees (during grant procedure)

Free format text: JAPANESE INTERMEDIATE CODE: A61

Effective date: 20210712

R150 Certificate of patent or registration of utility model

Ref document number: 6922397

Country of ref document: JP

Free format text: JAPANESE INTERMEDIATE CODE: R150

R250 Receipt of annual fees

Free format text: JAPANESE INTERMEDIATE CODE: R250