JP6889875B2 - 覆工コンクリートの養生装置および養生台車 - Google Patents

覆工コンクリートの養生装置および養生台車 Download PDF

Info

Publication number
JP6889875B2
JP6889875B2 JP2017118176A JP2017118176A JP6889875B2 JP 6889875 B2 JP6889875 B2 JP 6889875B2 JP 2017118176 A JP2017118176 A JP 2017118176A JP 2017118176 A JP2017118176 A JP 2017118176A JP 6889875 B2 JP6889875 B2 JP 6889875B2
Authority
JP
Japan
Prior art keywords
curing
tunnel
lining concrete
carriage
frame
Prior art date
Legal status (The legal status is an assumption and is not a legal conclusion. Google has not performed a legal analysis and makes no representation as to the accuracy of the status listed.)
Active
Application number
JP2017118176A
Other languages
English (en)
Other versions
JP2019002210A (ja
Inventor
哲真 澤田
哲真 澤田
宏司 井藤
宏司 井藤
富弘 棚瀬
富弘 棚瀬
克英 宮島
克英 宮島
雅人 青井
雅人 青井
厚之 木村
厚之 木村
Current Assignee (The listed assignees may be inaccurate. Google has not performed a legal analysis and makes no representation or warranty as to the accuracy of the list.)
Shimizu Corp
Original Assignee
Shimizu Corp
Priority date (The priority date is an assumption and is not a legal conclusion. Google has not performed a legal analysis and makes no representation as to the accuracy of the date listed.)
Filing date
Publication date
Application filed by Shimizu Corp filed Critical Shimizu Corp
Priority to JP2017118176A priority Critical patent/JP6889875B2/ja
Publication of JP2019002210A publication Critical patent/JP2019002210A/ja
Application granted granted Critical
Publication of JP6889875B2 publication Critical patent/JP6889875B2/ja
Active legal-status Critical Current
Anticipated expiration legal-status Critical

Links

Images

Landscapes

  • Lining And Supports For Tunnels (AREA)

Description

本発明は特にトンネルの覆工コンクリートの養生装置および養生台車に関するものである。
セントルによってトンネル内周面に覆工コンクリートを打設した後、コンクリートのひび割れ等を防止するためにコンクリートの急激な乾燥や温度変化を抑える養生が行われる。従来は例えば特許文献1に示されるように、枠体の外周に養生用シートを予め張ったセントルとほぼ同長の養生台車をセントルに続いて進行させて、打設されたコンクリートの内周面を覆うように閉鎖空間を形成して養生を行うものが提案されている。
特開2010−156133
しかし、上記従来の養生台車を使用したものでは、一定長のセントルを使用して1スパンづつ覆工コンクリートの打設を繰り返して、数スパンの覆工コンクリートの養生を行う場合、養生台車は複数台必要であり、結果、養生区間全長に亘って鋼材の枠体を取り付けた養生台車が必要で、養生台車を構成する枠体の鋼材が多量に必要であり、トンネルの建設コストが膨大になるという問題がある。
また、多量の鋼材を使用するので、重量が重く、トンネル方向に移動する場合、移動作業が困難であるという問題がある。
さらに養生区間の断面方向に鋼材の枠体が組まれているので、トンネル作業空間断面が狭くなり作業の障害になるという問題もある。
そこで、本発明はこのような課題を解決するもので、数スパンに亘って養生する場合でも、低コストかつ軽量で、トンネル作業の支障にならない覆工コンクリートの養生装置および養生台車を提供することを目的とする。
上記課題を解決するために、本第1発明の覆工コンクリートの養生装置(1)は、トンネル長手方向へ移動可能で互いに、所定間隔で位置させられ、トンネル内周に沿った形状の枠体(22)を有する複数の養生台車(2A〜2C)と、
前記複数の養生台車(2A〜2C)の間に、これら養生台車(2A〜2C)の枠体(22)の周方向で間隔をおいて複数張設されたワイヤ体(3)と、
前記ワイヤ体(3)に支持されて、覆工コンクリート(Cr)の内周面に沿う内方に敷設されて、覆工コンクリート(Cr)の内周面を覆う閉鎖された養生空間(S)を形成するシート体(4)と
を備える。
本第1発明における養生装置においては、養生台車を所定間隔に配して、その間はワイヤ体で連結されているので、数スパンに亘って養生する場合でも、使用する鋼材が少なく、軽量であると共にコストダウンが図れる。また、外気遮断養生に続く、覆工コンクリートの湿潤養生を行うための養生装置を簡易に実現することができる。
本第2発明では、前記ワイヤ体(3)の一端を前方ないし後方の前記養生台車(2A,2B)に固定するとともに、前記ワイヤ体(3)の他端にウエイト(32)を装着して当該他端(32)を後方ないし前方の前記養生台車(2B,2C)に設けた懸架部材(31)に懸架する。
本第2発明によれば、養生台車間のワイヤ体は常に一定の張力が付与されるので、シート体を常に良好に支持でき、覆工コンクリートの養生ができる。また、養生台車間の間隔が変動しあるいは当該間隔が調整変更された場合でも、これに応じてワイヤ体が繰り出されあるいは戻されて、ワイヤ体の張力はウエイトによって一定に保たれる。
本第3発明の覆工コンクリートの養生台車(2A〜2C)は、トンネル長手方向へ移動可能で、トンネル内周に沿った形状の枠体(22)を有し、当該枠体(22)の周方向で間隔をおいて複数の懸架部材(31)を備えて、これら懸架部材(31)に、一端にウエイト(32)が装着されたワイヤ体(3)が懸架可能となっている。
本第3発明によれば、ワイヤ体でトンネル長手方向に長い養生装置を構成することができ、軽量で簡素な養生装置を実現できる。また、作業断面が広くなるので、トンネル作業に支障にならない養生装置を実現できる。
本第4発明の覆工コンクリートの養生台車(2A〜2C)は、トンネル(T)底部にトンネル長手方向へ平行に敷設されたレール(R)上を走行可能な車輪を有し、トンネル幅方向の左右位置にそれぞれ設けられた一対の基台(21)を備え、前記枠体(22)を一対設けて、各枠体(22)を前記一対の基台(21)のトンネル長手方向の前端間および後端間に架設する。本第4発明によれば、一対の基台上に一対の枠体を架設するだけであるから、養生台車を製作するために必要な鋼材が少なくできる。
本第5発明の覆工コンクリートの養生台車(2A〜2C)は、トンネル(T)底部にトンネル長手方向へ平行に敷設されたレール(R)上を走行可能な車輪を有し、トンネル幅方向の左右位置にそれぞれ設けられた一対の基台(21)を備え、単一の前記枠体(22)を前記一対の基台(21)のトンネル長手方向の中央部間に架設する。本第5発明においては、単一の枠体を設けるだけなので養生台車を製作するために必要な鋼材がさらに少なくなる。
上記カッコ内の符号は、後述する実施形態に記載の具体的手段との対応関係を参考的に示すものである。
以上のように、本発明の覆工コンクリートの養生装置および養生台車によれば、覆工コンクリートを数スパンに亘って養生する場合でも、低コストかつ軽量で、トンネル作業の支障にならない。また、製作時の鋼材使用量が少なく、軽量であり、コンクリート打設後からコンクリートが完全に硬化するまでの長期間養生することができる。
本発明の第1実施形態における、養生装置の全体側面図である。 図1のII−II線に沿った養生装置の横断面図で、養生台車の正面を併せて描いた図である。 図1のII−II線に沿った養生装置の横断面図で、養生台車の正面を省略した図である。 ワイヤ体懸架部の側面図である。 ワイヤ体懸架部の正面図である。 仕切板設置部の側面図である。 本発明の第2実施形態における、養生台車の側面図である。 トンネル断面内に設置した養生台車の正面図である。 養生装置の横断面図で、養生台車のさらに他の例を示す正面を併せて描いた図である。
なお、以下に説明する実施形態はあくまで一例であり、本発明の要旨を逸脱しない範囲で当業者が行う種々の設計的改良も本発明の範囲に含まれる。
(第1実施形態)
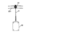
図1は湿潤養生を行う場合の養生装置1の一例を示す全体側面図である。図2は図1のII−II線に沿ったトンネルの横断面図で、この方向から見える養生台車2Bの正面を併せて描いた図であり、図3は同じくII−II線に沿ったトンネルの横断面図で、養生台車2の正面を省略した図である。養生装置1は、後述する三台の養生台車2A,2B,2Cを、長さ調整可能なジャッキ部材61,61で互いに連結したものである。そして、前側(トンネル開口から遠い側)の各養生台車2A,2Bの枠体22の円弧状部材221(図2)の後端部端縁全周に、複数のワイヤ体3の一端が周方向へ等間隔で固定されており、各ワイヤ体3はその一端から相互に平行でかつトンネル内周に略平行に後方へ延びて、その他端は、図4、図5に示すように、後側の各養生台車2B,2Cの枠体62の円弧状部材221の前端部端縁全周の対応位置に設けた懸架部材としてのシーブ31に懸架されて下方へ垂下している。垂下した各ワイヤ体3の下端にはウエイト32が装着されて、各ワイヤ体3に一定張力が付与されている。なお、最前位置の養生台車2Aは図略のモータによってレールRに沿って前後に自立移動可能である。もちろん、自立移動に代えて、前方に位置するセントルや他の養生装置に連結されて従動するものであっても良い。
図2において、養生台車2は、車輪によってレールR上を移動可能な左右の基台21(図2)上に枠体22を架設したもので、枠体22は、トンネル形状に湾曲した円弧状部材221と、円弧状部材221を支持する柱部材222と、柱部材222と円弧状部材221とを連結する連結部材223とからなっており、円弧状部材221の外周がトンネルTの内周面に沿った円弧状をなし、トンネルTの内周面に打設されたコンクリートCrの内周面から一定距離だけ内方に位置してコンクリートCrの内周面との間に円弧断面の空間を形成している。そして、枠体22の外周部の円弧状部材221には周方向へ等間隔Eをおいて複数位置に、前方の養生台車2との間にワイヤ体3が張設されている。
このような構造によって、各ワイヤ体3には一定の張力が付与されている。加えて、前後の養生台車2と養生台車2の間隔が走行中に変動しあるいは当該間隔が調整変更された場合でも、これに応じてシーブ31が回転してワイヤ体3が繰り出されあるいは戻されて、ワイヤ体3の張力はウエイト32によって常に一定に保たれる。特に、レールRの敷設状態によっては養生台車2が移動時に前後左右に揺れて前後の養生台車2と養生台車2の間隔が変動することがあるが、この場合にもワイヤ体3の張力は常に一定に保たれる。
そして、上記ワイヤ体3の外方には、トンネルTの内周面との間に、市販の防炎シートのようなシート体4が展開されて、図3に示すように、シート体4を複数のワイヤ体3で支持するようにこれらに被せられている。シート体4は区間D(図1)の長さとほぼ等しい長さが確保されており、トンネル周方向にもその円弧形状の長さに等しい幅の長さが確保されており、また、養生台車2のトンネル断面方向の左右下端においてはシート体4の下端42に適宜押さえ部材421が置かれている。これによって養生区間である区間Dの全域にわたって、打設されたコンクリートCrの内周面に沿った内方に円弧断面空間すなわち養生空間S(図3)が形成される。なお、シート体4には必要箇所にこれをワイヤ体3に係止固定するための係止具(図示略)が取り付けてある。
なお、各養生台車2A〜2Cの枠体22の外周にはワイヤ体3は無くシート体4が直接張設される。また、最前位置の養生台車2Aの前端縁全周と最後位置の養生台車2Cの後端縁全周には,図6に示すように仕切板5が突設されていて、これらシート体4と仕切板5で養生空間Sが閉鎖されている。
養生台車2の外周にはワイヤ体3は無いので上記シート体4のみが張設されている(図1)。また、養生台車2の外周部の、トンネル入り口側端縁全周には、ウレタン等の弾性変形可能な樹脂製の仕切板5がトンネルTの内周面に向けて立設されており、養生空間Sのトンネル方向後端部を閉塞している。その詳細を図6に示す。
図6において、養生台車2の端縁全周に立設された仕切板5はコンクリートCrの内周面に向けて突出し、その先端部はコンクリートCrの内周面に当接して湾曲している。このような、養生台車2Aの前端と養生台車2Cの後端に設けられた仕切板5とシート体4、および押さえ部材421,421によって捲れないようにしたシート体4の両側方の下端42、42によって、コンクリートCrの内周面を覆う、区間D(図1)の長さにほぼ等しい、円弧断面の閉鎖された養生空間Sが形成される。
なお、養生台車2B,2Cの前方(図1の右方)の円弧状部材221,221に設けたブラケット311およびシーブ32は、養生台車2A,2Bの後方の円弧状部材221,221に設けてもよい。また、ワイヤ体3を養生台車2Aの前端に固定し、養生台車2Cの後端まで1本のワイヤ体3を張設してもよい。この場合、ワイヤ体3が枠体22の上部にも張り巡らせるので、養生台車2の上部のシート体4をワイヤ体3に支持させることができる。
ここで、最前位置の養生台車2Aには液体を貯留するタンク64が設けられ、さらに養生台車2A,2Bの枠体22の外周には周方向へ間隔をおいて複数の噴霧ノズル65が設けられてその先端はシート体4を貫通して養生空間S内に位置している。養生台車2Aに搭載された図略のポンプによって配管を経て各噴霧ノズル65に圧力液体が供給され、養生空間S内に細粒化された液体が噴霧される。また、養生台車2Aにはブロア(図示略)が搭載されており、ブロアから延びるダクトがシート体4を貫通して養生空間S内に開口している。これにより、養生空間S内に噴霧された液体が、ダクトから送出される気流によって満遍なく養生空間S内に行き渡る。ここで、上記液体は、水や温度調節された湯、あるいはコンクリートの養生液、スチーム等である。
このような養生装置1を、外気遮断養生する養生装置に続いて設置することによって、外気遮断養生したコンクリートを、さらにコンクリート打設の長距離にわたって湿潤養生することができる。もちろん、湿潤養生することなく外気遮断養生をすることもできる。なお、本実施形態において、養生台車は必ずしも三台とする必要は無く、必要な複数台を設ければよい。
(第2実施形態)
図7には、本発明の第2実施形態における養生台車の側面図を示す。また、図8はこの場合の図2と同様のトンネルの横断面図である。第1実施形態における養生台車2は基台21のトンネル長さ方向の両端に枠体22を架設し、枠体22同士をブレースで連結しているが、本実施形態の養生台車2´では、車輪によってレールR上を移動可能な左右の基台21´(図8)上の、前後方向の略中央(図7)に枠体22´を架設している。枠体22´は、前記枠体22と同一構造である。すなわち、トンネル形状に湾曲した円弧状部材221´と、円弧状部材を前記基台21´を支える柱部材222´と、柱部材222´と円弧状部材221´とを連結する連結部材223´とからなっている。
円弧状部材221´の外周がトンネルTの内周面に沿った円弧状をなし、トンネルTの内周面に打設されたコンクリートCrの内周面から一定距離だけ内方に位置してコンクリートCrの内周面との間に円弧断面の空間を形成している。そして、枠体22の外周部の円弧状部材221´には周方向へ等間隔Eをおいて複数位置に、前方の養生台車2´との間にワイヤ体3が張設されている。
このような養生台車2´は、前記養生台車2Aと2B、2Bと2Cとの間に設置して、養生台車2Aと2B間のワイヤ体3やシート体4の弛みを支えることができる。また、養生台車2Aと2Cの間に設置して養生台車2Bを省略することもできる。この場合には、養生台車2´には、ワイヤ体3を固定せず、シーブ31も設けない。
(その他の実施形態)
上記各実施形態では、ワイヤ体への張力の付与をシーブとウエイトによって行っているが、例えばバネ部材等で行うようにしても良い。
なお、シーブに代えて例えば単なる棒体を、ワイヤ体を懸架する懸架部材として使用することができる。
また、養生台車と養生台車同士の間隔が変化しない場合は、ワイヤ体の両端を養生台車に固定する構造としても良い。
上記各実施形態で説明したものと異なって、養生台車2に、図9に示すように、円弧状枠部材221(図2参照)、221´(図8参照)を設けない構造としても良い。すなわち、養生台車2の上記枠体22、22´に、トンネル内周に沿った形状の枠部材221,221´を設けずに、トンネル内周方向に間隔を置いて複数の懸架部材を取り付けるようにしてもよい。たとえば、柱部材222,222´のトンネル内周面側先端や連結部材223,223´のトンネル内周面側の先端をトンネル内周に沿った形状に配して、それら先端に懸架部材を取り付けるようにしても良い。
1…養生装置、2、2‘…養生台車、22、22’…枠体、3…ワイヤ体、31…シーブ、32…ウエイト、4…シート体、2A,2B.2C…養生台車、22,22‘…枠体、Cr…覆工コンクリート、S…養生空間、T…トンネル。

Claims (5)

  1. トンネル長手方向へ移動可能で互いに、所定間隔で位置させられ、トンネル内周に沿った形状の枠体を有する複数の養生台車と、
    前記複数の養生台車の間に、これら養生台車の枠体の周方向で間隔をおいて複数張設されたワイヤ体と、
    前記ワイヤ体に支持されて、覆工コンクリートの内周面に沿う内方に敷設されて、覆工コンクリートの内周面を覆う閉鎖された養生空間を形成するシート体と
    を備える覆工コンクリートの養生装置。
  2. 前記ワイヤ体の一端を前方ないし後方の前記養生台車に固定するとともに、前記ワイヤ体の他端にウエイトを装着して当該他端を後方ないし前方の前記養生台車に設けた懸架部材に懸架した請求項1に記載の覆工コンクリートの養生装置。
  3. トンネル長手方向へ移動可能で、トンネル内周に沿った形状の枠体を有し、当該枠体の周方向で間隔をおいて複数の懸架部材を備えて、これら懸架部材に、一端にウエイトが装着されたワイヤ体が懸架可能となっている覆工コンクリートの養生台車。
  4. トンネル底部にトンネル長手方向へ平行に敷設されたレール上を走行可能な車輪を有し、トンネル幅方向の左右位置にそれぞれ設けられた一対の基台を備え、前記枠体を一対設けて、各枠体を前記一対の基台のトンネル長手方向の前端間および後端間に架設した請求項3に記載の覆工コンクリートの養生台車。
  5. トンネル底部にトンネル長手方向へ平行に敷設されたレール上を走行可能な車輪を有し、トンネル幅方向の左右位置にそれぞれ設けられた一対の基台を備え、単一の前記枠体を前記一対の基台のトンネル長手方向の中央部間に架設した請求項3に記載の覆工コンクリートの養生台車。
JP2017118176A 2017-06-16 2017-06-16 覆工コンクリートの養生装置および養生台車 Active JP6889875B2 (ja)

Priority Applications (1)

Application Number Priority Date Filing Date Title
JP2017118176A JP6889875B2 (ja) 2017-06-16 2017-06-16 覆工コンクリートの養生装置および養生台車

Applications Claiming Priority (1)

Application Number Priority Date Filing Date Title
JP2017118176A JP6889875B2 (ja) 2017-06-16 2017-06-16 覆工コンクリートの養生装置および養生台車

Publications (2)

Publication Number Publication Date
JP2019002210A JP2019002210A (ja) 2019-01-10
JP6889875B2 true JP6889875B2 (ja) 2021-06-18

Family

ID=65005738

Family Applications (1)

Application Number Title Priority Date Filing Date
JP2017118176A Active JP6889875B2 (ja) 2017-06-16 2017-06-16 覆工コンクリートの養生装置および養生台車

Country Status (1)

Country Link
JP (1) JP6889875B2 (ja)

Family Cites Families (7)

* Cited by examiner, † Cited by third party
Publication number Priority date Publication date Assignee Title
JPS63176577A (ja) * 1987-01-12 1988-07-20 株式会社竹中工務店 空気膜構造におけるインフレ−トモ−ド制御方法
JP2006089995A (ja) * 2004-09-22 2006-04-06 Fukuda Corp トンネル覆工コンクリートの養生装置
JP4552142B2 (ja) * 2005-03-17 2010-09-29 清水建設株式会社 覆工コンクリート養生設備
JP4750166B2 (ja) * 2008-09-30 2011-08-17 株式会社竹中土木 コンクリート連続体の養生装置および養生方法
KR101007691B1 (ko) * 2009-12-03 2011-01-13 (주)이화기공 에어벌룬 양생대차 및 이를 이용한 양생방법
JP5073025B2 (ja) * 2010-08-19 2012-11-14 株式会社福田組 養生装置
JP6259705B2 (ja) * 2014-04-15 2018-01-10 株式会社東宏 トンネルの養生シートの枠体の組み立て構造と組立方法

Also Published As

Publication number Publication date
JP2019002210A (ja) 2019-01-10

Similar Documents

Publication Publication Date Title
JP5818880B2 (ja) レールを搬送するための連結車両
US3337238A (en) Splash guard structure
JP2019142505A5 (ja)
JP2009108612A (ja) 覆工コンクリートの湿潤養生装置
CA2422118A1 (en) Support for a track-guided high-speed vehicle
JP6889875B2 (ja) 覆工コンクリートの養生装置および養生台車
JP4750166B2 (ja) コンクリート連続体の養生装置および養生方法
EP2669134A1 (en) Gangway side wall for a gangway between a first car of a multi-car vehicle and a second car of said vehicle comprising a side panel
JP6860314B2 (ja) 養生装置
CN102333685A (zh) 支撑底座
JP2010533616A5 (ja)
JP5229638B2 (ja) 処理装置付き洗車設備
JP4444097B2 (ja) コンクリート成型装置
ITUB20156898A1 (it) Staffa di supporto per linee di alimentazione in un telaio di uno chassis di un veicolo
JP4803907B2 (ja) 移動式組立足場
JP6889443B2 (ja) 覆工コンクリートの養生装置および養生方法
JP7590767B2 (ja) 太陽光パネルの保守装置
KR101729749B1 (ko) 엘리베이터 가이드레일용 브라켓
US1869205A (en) Folding baby carriage
KR200486053Y1 (ko) 론지 하부 도장 장치
SE505456C2 (sv) Anordning för montering av en fordonsram med ett stativ på vilket två i fordonsramen ingående sidobalkar placeras på inbördes avstånd och sammanfogas med i ramen ingående tvärbalkar
JPS5822497B2 (ja) コ−クガイド車の機体構造
JP6567194B2 (ja) 桁取付アダプター
SE532756C2 (sv) Huv för en järnvägsgodsvagn och metod för montering av densamma
ITMI970376A1 (it) Ponte elevatore per autoveicoli

Legal Events

Date Code Title Description
A621 Written request for application examination

Free format text: JAPANESE INTERMEDIATE CODE: A621

Effective date: 20200602

A977 Report on retrieval

Free format text: JAPANESE INTERMEDIATE CODE: A971007

Effective date: 20210416

TRDD Decision of grant or rejection written
A01 Written decision to grant a patent or to grant a registration (utility model)

Free format text: JAPANESE INTERMEDIATE CODE: A01

Effective date: 20210511

A61 First payment of annual fees (during grant procedure)

Free format text: JAPANESE INTERMEDIATE CODE: A61

Effective date: 20210512

R150 Certificate of patent or registration of utility model

Ref document number: 6889875

Country of ref document: JP

Free format text: JAPANESE INTERMEDIATE CODE: R150

R250 Receipt of annual fees

Free format text: JAPANESE INTERMEDIATE CODE: R250