JP6862002B2 - 複合構造体の製造方法 - Google Patents

複合構造体の製造方法 Download PDF

Info

Publication number
JP6862002B2
JP6862002B2 JP2018516641A JP2018516641A JP6862002B2 JP 6862002 B2 JP6862002 B2 JP 6862002B2 JP 2018516641 A JP2018516641 A JP 2018516641A JP 2018516641 A JP2018516641 A JP 2018516641A JP 6862002 B2 JP6862002 B2 JP 6862002B2
Authority
JP
Japan
Prior art keywords
layup
microspheres
core layer
mold
core
Prior art date
Legal status (The legal status is an assumption and is not a legal conclusion. Google has not performed a legal analysis and makes no representation as to the accuracy of the status listed.)
Active
Application number
JP2018516641A
Other languages
English (en)
Other versions
JP2018518402A (ja
Inventor
ダグラス ファーガソン、アレクサンダー
ダグラス ファーガソン、アレクサンダー
ジョージ ニューマン、アレクサンダー
ジョージ ニューマン、アレクサンダー
ポール レオン メイオール、アダム
ポール レオン メイオール、アダム
ボイコフ バレフ、テオドール
ボイコフ バレフ、テオドール
フィリップ ケーシー、ジョナサン
フィリップ ケーシー、ジョナサン
ワン、トン
グスト、マーク−アントワン ロルメール ディ
グスト、マーク−アントワン ロルメール ディ
Current Assignee (The listed assignees may be inaccurate. Google has not performed a legal analysis and makes no representation or warranty as to the accuracy of the list.)
Fergusson's Advanced Composite Technology Ltd
Original Assignee
Fergusson's Advanced Composite Technology Ltd
Priority date (The priority date is an assumption and is not a legal conclusion. Google has not performed a legal analysis and makes no representation as to the accuracy of the date listed.)
Filing date
Publication date
Application filed by Fergusson's Advanced Composite Technology Ltd filed Critical Fergusson's Advanced Composite Technology Ltd
Publication of JP2018518402A publication Critical patent/JP2018518402A/ja
Application granted granted Critical
Publication of JP6862002B2 publication Critical patent/JP6862002B2/ja
Active legal-status Critical Current
Anticipated expiration legal-status Critical

Links

Images

Classifications

    • BPERFORMING OPERATIONS; TRANSPORTING
    • B32LAYERED PRODUCTS
    • B32BLAYERED PRODUCTS, i.e. PRODUCTS BUILT-UP OF STRATA OF FLAT OR NON-FLAT, e.g. CELLULAR OR HONEYCOMB, FORM
    • B32B5/00Layered products characterised by the non- homogeneity or physical structure, i.e. comprising a fibrous, filamentary, particulate or foam layer; Layered products characterised by having a layer differing constitutionally or physically in different parts
    • B32B5/16Layered products characterised by the non- homogeneity or physical structure, i.e. comprising a fibrous, filamentary, particulate or foam layer; Layered products characterised by having a layer differing constitutionally or physically in different parts characterised by features of a layer formed of particles, e.g. chips, powder or granules
    • BPERFORMING OPERATIONS; TRANSPORTING
    • B32LAYERED PRODUCTS
    • B32BLAYERED PRODUCTS, i.e. PRODUCTS BUILT-UP OF STRATA OF FLAT OR NON-FLAT, e.g. CELLULAR OR HONEYCOMB, FORM
    • B32B37/00Methods or apparatus for laminating, e.g. by curing or by ultrasonic bonding
    • B32B37/14Methods or apparatus for laminating, e.g. by curing or by ultrasonic bonding characterised by the properties of the layers
    • B32B37/146Methods or apparatus for laminating, e.g. by curing or by ultrasonic bonding characterised by the properties of the layers whereby one or more of the layers is a honeycomb structure
    • BPERFORMING OPERATIONS; TRANSPORTING
    • B29WORKING OF PLASTICS; WORKING OF SUBSTANCES IN A PLASTIC STATE IN GENERAL
    • B29CSHAPING OR JOINING OF PLASTICS; SHAPING OF MATERIAL IN A PLASTIC STATE, NOT OTHERWISE PROVIDED FOR; AFTER-TREATMENT OF THE SHAPED PRODUCTS, e.g. REPAIRING
    • B29C70/00Shaping composites, i.e. plastics material comprising reinforcements, fillers or preformed parts, e.g. inserts
    • B29C70/04Shaping composites, i.e. plastics material comprising reinforcements, fillers or preformed parts, e.g. inserts comprising reinforcements only, e.g. self-reinforcing plastics
    • B29C70/28Shaping operations therefor
    • B29C70/30Shaping by lay-up, i.e. applying fibres, tape or broadsheet on a mould, former or core; Shaping by spray-up, i.e. spraying of fibres on a mould, former or core
    • B29C70/34Shaping by lay-up, i.e. applying fibres, tape or broadsheet on a mould, former or core; Shaping by spray-up, i.e. spraying of fibres on a mould, former or core and shaping or impregnating by compression, i.e. combined with compressing after the lay-up operation
    • B29C70/342Shaping by lay-up, i.e. applying fibres, tape or broadsheet on a mould, former or core; Shaping by spray-up, i.e. spraying of fibres on a mould, former or core and shaping or impregnating by compression, i.e. combined with compressing after the lay-up operation using isostatic pressure
    • BPERFORMING OPERATIONS; TRANSPORTING
    • B29WORKING OF PLASTICS; WORKING OF SUBSTANCES IN A PLASTIC STATE IN GENERAL
    • B29CSHAPING OR JOINING OF PLASTICS; SHAPING OF MATERIAL IN A PLASTIC STATE, NOT OTHERWISE PROVIDED FOR; AFTER-TREATMENT OF THE SHAPED PRODUCTS, e.g. REPAIRING
    • B29C70/00Shaping composites, i.e. plastics material comprising reinforcements, fillers or preformed parts, e.g. inserts
    • B29C70/68Shaping composites, i.e. plastics material comprising reinforcements, fillers or preformed parts, e.g. inserts by incorporating or moulding on preformed parts, e.g. inserts or layers, e.g. foam blocks
    • BPERFORMING OPERATIONS; TRANSPORTING
    • B32LAYERED PRODUCTS
    • B32BLAYERED PRODUCTS, i.e. PRODUCTS BUILT-UP OF STRATA OF FLAT OR NON-FLAT, e.g. CELLULAR OR HONEYCOMB, FORM
    • B32B3/00Layered products comprising a layer with external or internal discontinuities or unevennesses, or a layer of non-planar shape; Layered products comprising a layer having particular features of form
    • B32B3/02Layered products comprising a layer with external or internal discontinuities or unevennesses, or a layer of non-planar shape; Layered products comprising a layer having particular features of form characterised by features of form at particular places, e.g. in edge regions
    • B32B3/08Layered products comprising a layer with external or internal discontinuities or unevennesses, or a layer of non-planar shape; Layered products comprising a layer having particular features of form characterised by features of form at particular places, e.g. in edge regions characterised by added members at particular parts
    • BPERFORMING OPERATIONS; TRANSPORTING
    • B32LAYERED PRODUCTS
    • B32BLAYERED PRODUCTS, i.e. PRODUCTS BUILT-UP OF STRATA OF FLAT OR NON-FLAT, e.g. CELLULAR OR HONEYCOMB, FORM
    • B32B3/00Layered products comprising a layer with external or internal discontinuities or unevennesses, or a layer of non-planar shape; Layered products comprising a layer having particular features of form
    • B32B3/10Layered products comprising a layer with external or internal discontinuities or unevennesses, or a layer of non-planar shape; Layered products comprising a layer having particular features of form characterised by a discontinuous layer, i.e. formed of separate pieces of material
    • B32B3/12Layered products comprising a layer with external or internal discontinuities or unevennesses, or a layer of non-planar shape; Layered products comprising a layer having particular features of form characterised by a discontinuous layer, i.e. formed of separate pieces of material characterised by a layer of regularly- arranged cells, e.g. a honeycomb structure
    • BPERFORMING OPERATIONS; TRANSPORTING
    • B32LAYERED PRODUCTS
    • B32BLAYERED PRODUCTS, i.e. PRODUCTS BUILT-UP OF STRATA OF FLAT OR NON-FLAT, e.g. CELLULAR OR HONEYCOMB, FORM
    • B32B37/00Methods or apparatus for laminating, e.g. by curing or by ultrasonic bonding
    • B32B37/10Methods or apparatus for laminating, e.g. by curing or by ultrasonic bonding characterised by the pressing technique, e.g. using action of vacuum or fluid pressure
    • BPERFORMING OPERATIONS; TRANSPORTING
    • B32LAYERED PRODUCTS
    • B32BLAYERED PRODUCTS, i.e. PRODUCTS BUILT-UP OF STRATA OF FLAT OR NON-FLAT, e.g. CELLULAR OR HONEYCOMB, FORM
    • B32B37/00Methods or apparatus for laminating, e.g. by curing or by ultrasonic bonding
    • B32B37/10Methods or apparatus for laminating, e.g. by curing or by ultrasonic bonding characterised by the pressing technique, e.g. using action of vacuum or fluid pressure
    • B32B37/1018Methods or apparatus for laminating, e.g. by curing or by ultrasonic bonding characterised by the pressing technique, e.g. using action of vacuum or fluid pressure using only vacuum
    • BPERFORMING OPERATIONS; TRANSPORTING
    • B32LAYERED PRODUCTS
    • B32BLAYERED PRODUCTS, i.e. PRODUCTS BUILT-UP OF STRATA OF FLAT OR NON-FLAT, e.g. CELLULAR OR HONEYCOMB, FORM
    • B32B38/00Ancillary operations in connection with laminating processes
    • B32B38/08Impregnating
    • BPERFORMING OPERATIONS; TRANSPORTING
    • B32LAYERED PRODUCTS
    • B32BLAYERED PRODUCTS, i.e. PRODUCTS BUILT-UP OF STRATA OF FLAT OR NON-FLAT, e.g. CELLULAR OR HONEYCOMB, FORM
    • B32B5/00Layered products characterised by the non- homogeneity or physical structure, i.e. comprising a fibrous, filamentary, particulate or foam layer; Layered products characterised by having a layer differing constitutionally or physically in different parts
    • B32B5/02Layered products characterised by the non- homogeneity or physical structure, i.e. comprising a fibrous, filamentary, particulate or foam layer; Layered products characterised by having a layer differing constitutionally or physically in different parts characterised by structural features of a fibrous or filamentary layer
    • EFIXED CONSTRUCTIONS
    • E04BUILDING
    • E04CSTRUCTURAL ELEMENTS; BUILDING MATERIALS
    • E04C2/00Building elements of relatively thin form for the construction of parts of buildings, e.g. sheet materials, slabs, or panels
    • E04C2/30Building elements of relatively thin form for the construction of parts of buildings, e.g. sheet materials, slabs, or panels characterised by the shape or structure
    • E04C2/34Building elements of relatively thin form for the construction of parts of buildings, e.g. sheet materials, slabs, or panels characterised by the shape or structure composed of two or more spaced sheet-like parts
    • E04C2/36Building elements of relatively thin form for the construction of parts of buildings, e.g. sheet materials, slabs, or panels characterised by the shape or structure composed of two or more spaced sheet-like parts spaced apart by transversely-placed strip material, e.g. honeycomb panels
    • E04C2/365Building elements of relatively thin form for the construction of parts of buildings, e.g. sheet materials, slabs, or panels characterised by the shape or structure composed of two or more spaced sheet-like parts spaced apart by transversely-placed strip material, e.g. honeycomb panels by honeycomb structures
    • BPERFORMING OPERATIONS; TRANSPORTING
    • B29WORKING OF PLASTICS; WORKING OF SUBSTANCES IN A PLASTIC STATE IN GENERAL
    • B29KINDEXING SCHEME ASSOCIATED WITH SUBCLASSES B29B, B29C OR B29D, RELATING TO MOULDING MATERIALS OR TO MATERIALS FOR MOULDS, REINFORCEMENTS, FILLERS OR PREFORMED PARTS, e.g. INSERTS
    • B29K2509/00Use of inorganic materials not provided for in groups B29K2503/00 - B29K2507/00, as filler
    • B29K2509/08Glass
    • BPERFORMING OPERATIONS; TRANSPORTING
    • B29WORKING OF PLASTICS; WORKING OF SUBSTANCES IN A PLASTIC STATE IN GENERAL
    • B29LINDEXING SCHEME ASSOCIATED WITH SUBCLASS B29C, RELATING TO PARTICULAR ARTICLES
    • B29L2031/00Other particular articles
    • B29L2031/776Walls, e.g. building panels
    • BPERFORMING OPERATIONS; TRANSPORTING
    • B32LAYERED PRODUCTS
    • B32BLAYERED PRODUCTS, i.e. PRODUCTS BUILT-UP OF STRATA OF FLAT OR NON-FLAT, e.g. CELLULAR OR HONEYCOMB, FORM
    • B32B38/00Ancillary operations in connection with laminating processes
    • B32B2038/0052Other operations not otherwise provided for
    • B32B2038/0076Curing, vulcanising, cross-linking
    • BPERFORMING OPERATIONS; TRANSPORTING
    • B32LAYERED PRODUCTS
    • B32BLAYERED PRODUCTS, i.e. PRODUCTS BUILT-UP OF STRATA OF FLAT OR NON-FLAT, e.g. CELLULAR OR HONEYCOMB, FORM
    • B32B2250/00Layers arrangement
    • B32B2250/033 layers
    • BPERFORMING OPERATIONS; TRANSPORTING
    • B32LAYERED PRODUCTS
    • B32BLAYERED PRODUCTS, i.e. PRODUCTS BUILT-UP OF STRATA OF FLAT OR NON-FLAT, e.g. CELLULAR OR HONEYCOMB, FORM
    • B32B2250/00Layers arrangement
    • B32B2250/40Symmetrical or sandwich layers, e.g. ABA, ABCBA, ABCCBA
    • BPERFORMING OPERATIONS; TRANSPORTING
    • B32LAYERED PRODUCTS
    • B32BLAYERED PRODUCTS, i.e. PRODUCTS BUILT-UP OF STRATA OF FLAT OR NON-FLAT, e.g. CELLULAR OR HONEYCOMB, FORM
    • B32B2260/00Layered product comprising an impregnated, embedded, or bonded layer wherein the layer comprises an impregnation, embedding, or binder material
    • BPERFORMING OPERATIONS; TRANSPORTING
    • B32LAYERED PRODUCTS
    • B32BLAYERED PRODUCTS, i.e. PRODUCTS BUILT-UP OF STRATA OF FLAT OR NON-FLAT, e.g. CELLULAR OR HONEYCOMB, FORM
    • B32B2305/00Condition, form or state of the layers or laminate
    • B32B2305/02Cellular or porous
    • B32B2305/024Honeycomb
    • BPERFORMING OPERATIONS; TRANSPORTING
    • B32LAYERED PRODUCTS
    • B32BLAYERED PRODUCTS, i.e. PRODUCTS BUILT-UP OF STRATA OF FLAT OR NON-FLAT, e.g. CELLULAR OR HONEYCOMB, FORM
    • B32B2305/00Condition, form or state of the layers or laminate
    • B32B2305/02Cellular or porous
    • B32B2305/028Hollow fillers; Syntactic material
    • BPERFORMING OPERATIONS; TRANSPORTING
    • B32LAYERED PRODUCTS
    • B32BLAYERED PRODUCTS, i.e. PRODUCTS BUILT-UP OF STRATA OF FLAT OR NON-FLAT, e.g. CELLULAR OR HONEYCOMB, FORM
    • B32B2305/00Condition, form or state of the layers or laminate
    • B32B2305/08Reinforcements
    • BPERFORMING OPERATIONS; TRANSPORTING
    • B32LAYERED PRODUCTS
    • B32BLAYERED PRODUCTS, i.e. PRODUCTS BUILT-UP OF STRATA OF FLAT OR NON-FLAT, e.g. CELLULAR OR HONEYCOMB, FORM
    • B32B2305/00Condition, form or state of the layers or laminate
    • B32B2305/30Fillers, e.g. particles, powders, beads, flakes, spheres, chips
    • BPERFORMING OPERATIONS; TRANSPORTING
    • B32LAYERED PRODUCTS
    • B32BLAYERED PRODUCTS, i.e. PRODUCTS BUILT-UP OF STRATA OF FLAT OR NON-FLAT, e.g. CELLULAR OR HONEYCOMB, FORM
    • B32B2305/00Condition, form or state of the layers or laminate
    • B32B2305/38Meshes, lattices or nets
    • BPERFORMING OPERATIONS; TRANSPORTING
    • B32LAYERED PRODUCTS
    • B32BLAYERED PRODUCTS, i.e. PRODUCTS BUILT-UP OF STRATA OF FLAT OR NON-FLAT, e.g. CELLULAR OR HONEYCOMB, FORM
    • B32B2607/00Walls, panels

Landscapes

  • Engineering & Computer Science (AREA)
  • Architecture (AREA)
  • Chemical & Material Sciences (AREA)
  • Composite Materials (AREA)
  • Mechanical Engineering (AREA)
  • Civil Engineering (AREA)
  • Structural Engineering (AREA)
  • Fluid Mechanics (AREA)
  • Physics & Mathematics (AREA)
  • Life Sciences & Earth Sciences (AREA)
  • Wood Science & Technology (AREA)
  • Laminated Bodies (AREA)
  • Moulding By Coating Moulds (AREA)
  • Casting Or Compression Moulding Of Plastics Or The Like (AREA)
  • Electrical Discharge Machining, Electrochemical Machining, And Combined Machining (AREA)
  • Polyesters Or Polycarbonates (AREA)
  • Prostheses (AREA)
  • Sealing Material Composition (AREA)

Description

本発明は、ミクロスフェアを含む複合サンドイッチ構造体及びその製造方法に関する。
シンタクチックフォームコアを備える複合サンドイッチ構造体は、とりわけ、一般にその強度重量比に関して、及び特にその面外圧縮強度に関して、有利な物理特性を有する。他の利点には、腐食や火に対する耐性に加えて、断熱及び防音特性が含まれる。したがって、シンタクチックサンドイッチパネルは広範囲の用途に適しており、航空、海運、道路及び鉄道を含む運輸業において特に望ましい。他の用途には、変電所における使用を含むブラストウォールと、深海用装置を含む海用部品と、オイルリグ部品及びオイルリグ構造体と、風力タービンを含むタービン部品とが含まれる。
これらの構造体を製造する既存の方法は、様々な不都合を有する。例えば、シンタクチックフォームが単に2つのスキンの間に固着されている場合、コアとスキンとの間の固着が弱い場合があり、スキンの分離を招く可能性がある。この問題を回避するために、本技術分野では、予備硬化された多孔質シンタクチックフォームを製造し、その後スキンと共に注入することによって一体構造を作ることができることが公知である。このような方法においても、依然として複数の硬化/処理段階が要求され、機械特性が十分ではない構造体がもたらされる。他の処理手法には、ミクロスフェアとマトリックスとを所望の比率で予備混合して大量の封入空気を含む粘性の高い混合物をもたらすことが含まれる。さらに、樹脂に対するミクロスフェアの達成可能な体積分率は、多くの場合、流動要件(加工性についてのもの)によって制限され、同様に最終構造体の密度を増加させる。本技術分野ではシンタクチックプリプレグの使用も公知であるが、これらのプリプレグにおいても体積分率が制限されているとともに、これらのプリプレグはそのグリーンプリフォーム状態において壊れやすく、かつ扱いが難しく、高価である。
乾燥ミクロスフェアの単純な堆積に続くスキンの配置は、固有の一連の問題を与える。ミクロスフェアは簡単に空気で運ばれ、それらは、その流動特性によって幾何形状に対して容易に固定されることができないので、コア形状の歪みの問題を生じる。
本発明の目的は、シンタクチックコアを有するサンドイッチパネルを製造する、処理/硬化段階の数を減少させた方法を提供することであり、この方法は、ミクロスフェアの体積分率が高い構造体を作ることによって上述の問題に対処する。この構造体は、空隙をほとんど持たず、コアと補強スキンとの間の全体を単相のマトリックス材料によって良好に結合し、より少ない材料費を提案する。本発明のさらなる目的は、このような構造体を大きな及び/又は複雑な形状で無駄が最小限の状態で作る効率的な方法を提案することである。
したがって、本発明は、複合サンドイッチ構造体を製造する方法を対象とし、この方法は、
一定の面に基部レイアップを設ける工程であって、その基部レイアップは第1の補強材料層を含んで成る、基部レイアップを設ける工程と、
その基部レイアップ上にコア層を設ける工程であって、そのコア層は開放セル状構造体を含んで成り、その開放セル状構造体は固着していない粒子によって少なくとも部分的に
充填されている、コア層を設ける工程と、
そのコア層の上に頂部レイアップを設ける工程であって、その頂部レイアップは第2の補強材料層を含んで成る、頂部レイアップを設ける工程と、
圧力差によってその組立品中にマトリックス材料を案内する工程と、
そのマトリックス材料を硬化する工程と、を備える。
好適な実施形態において、粒子は中空ガラスミクロスフェアであるが、繊維状物(例えば、ミルド炭素繊維)を含む非中空かつ不規則な形状のものなど、他の種類の粒子又はそれらの組み合わせに及び得る。該粒子は固着されておらず、それらは互いに対して固着又は固定されていない粒子の形態にある。例えば、該粒子は流動可能であってよく、乾燥粒子の形態にあってよく、又は乳濁液又は懸濁液の一部であってよい。固着していない粒子が必要な位置に到達すると、それらを所定の位置に固着させるべくマトリックス材料が案内及び硬化され、それによって中実構造体が形成される。これらの粒子は、以下の種類の任意の1つを含む群から選択され得る:ミクロスフェア(中空及び中実の両方);繊維;板状体(platelet);ナノチューブ;コアシェル粒子;自己組織化高分子;フライアッシュ;ナノクレイ;溶融コロイド粒子;面を有する(faceted)粒子;角度をつけた(angular)粒子及び亜角を有する(subangular)粒子。
その組立品の周りにエンクロージャが配置されていることが有利である。そのエンクロージャは気密封止されており、そこを通してエンクロージャの内部との流体連通を可能にする1つ以上の導管を有している。その導管は、エンクロージャ内(好適にはエンクロージャとその組立品の外面との間)へのマトリックス材料の流動を可能にするために、又はエンクロージャ内から空気を除去することによって圧力差を生じさせるために、使用され得る。他の物質が、エンクロージャ内へ又はエンクロージャ外へとその導管を通過してもよい。
一実施形態において、この一定の面は鋳型の底部内面であり、鋳型は側壁を備える。鋳型を使用することによって、上にレイアップを配備するとともに特定の形状又は構造の成形を容易にするために使用可能な安定した面が設けられる。また、これによって、導管に接続するためのアクセスが簡単な入口ポート及び/又は出口ポートが1つ以上設けられ得る。導管は、樹脂ソース、真空ポンプ、空気についてのアイテム、ガスについてのアイテム、他のアイテムに対して取り付けられてよく、他のアイテムは、注入や、硬化液又は搬送液(後述する)の除去プロセスに有用なものである。さらに、鋳型は部品全体への樹脂の分配を容易にする特徴を備え得る。鋳型は、頂部レイアップ用の特定の形状又は面を付与する頂部鋳型部分を備える。
セル状構造体はハニカム材料であることが有利であり、このハニカムは開放セル状構造体を有する。ハニカム材料を使用することによって特に安定した構造がもたらされ、開放セル状構造体によって粒子がハニカム材料を充填することが可能になり、それによって、硬化するとサンドイッチ構造体の特性が向上する。ハニカムは、セル状コアの寸法を制御可能であり、そのコア内にミクロスフェアが構成されることから、サンドイッチパネルの制御された厚さ及び/又は均一化された厚さを設ける手段としても使用される。補強材料が付与される場合、パネルの総合的な厚さは極めて小さい公差内に制御され得る。このようなセル状コアを使用することによって湾曲部を有するパネルの作製も可能になり、この湾曲部を有するパネルは、充填材料の流動を抑制して、最終的な部品の幾何形状を画定すべくその充填材料を所定の位置に保持する。これに加えて、セル状コアを使用することで、き裂進展抵抗などの機械特性が改善され得る。
本発明のさらなる利点は、樹脂が案内された時にミクロスフェアの動きを抑制する能力にある。ハニカムが欠如している中で、固着していないミクロスフェアを通って樹脂が流
動する場合、そのミクロスフェアはその樹脂流動に沿って引き寄せられ、その部品にわたってミクロスフェアの分配に有意なばらつきを招くであろう。ハニカムは、ミクロスフェアの動きを抑制する一方でハニカムを通じた流体の流動を依然として可能にし、したがって、その部分にわたって一定で制御可能かつ高い体積分率を有し、そのミクロスフェアを予め固着するためのリソースを必要としない、複合フォームコア部品の生産を可能にする。
特定の用途の要件に基づき、固着していない粒子によって充填されたセル状構造体から成る非結合コア層は、鋳型の内部に作製され得るか、又は別に作製された後に鋳型へと移されて配置されることができる。後者は、最終的な形状を形成するためには複数のコア部分が互いに接合される必要がある、複雑な外形を有する部分及び/又は大きな部分の製造において特に望ましい可能性がある。移す最中にコア内に粒子を抑制するためには、搬送液を使用する(後述で説明する)及び/又はコアの両側に障壁布を使用する(後述で説明する)ことができる。
圧力差(好適には大気圧以下の圧力を含む)の使用を通して粒子を密にまとめることができ、最終的なマトリックス結合構造体の密度を減少させる。これに加えて、本発明を使用することにより提供されるミクロスフェアの高い体積分率によって、グレードの高いミクロスフェアが採用される場合には特に、より良い特定の機械性能がもたらされる。
続いてマトリックス材料をコア層及びスキン層へと案内及び硬化することによって、単一のマトリックス層を有する構造体が設けられ、有意に改善された機械特性と、層剥離及びき裂進展に対する抵抗性を有するスキン及びコア間の強い固着とが設けられる。さらなる硬化/固着工程は要求されず、有意に処理時間が節約される。さらに、特に真空が使用される場合において、樹脂案内に先立って未硬化の部品から全てのガスが排出され、空隙をほとんど持たない部品が残される。
ある特定の場合において、セル状構造体の充填とマトリックス材料の案内とに先立って粒子を搬送液と混合することは好適であり得る。これによって、幾つかの即時処理利点が得られる。
第1に、これはミクロスフェアのダストの危害を排除する。ミクロスフェアは、その重量が軽くサイズが小さいことから簡単に空気で運ばれ、健康に有害だと考えられている。第2に、ミクロスフェアと搬送液とから成る中間物質を作ることで、より簡単に扱うことが可能になる。混合物中の搬送液の量を変化させることによって、ペースト又はパン生地様のちょう度から液体のちょう度(簡単に混合、運搬、及び堆積を行うことができる)の範囲の、この混合物の様々なちょう度が達成され得る。過剰な搬送液が堆積されると、好適には真空圧力を用いることによって、混合物からその過剰な搬送液を除去することができる。ある特定の場合において、マトリックスシステム(例えば、マトリックス樹脂そのもの)又は樹脂の成分(例えば、マトリックスがエポキシ樹脂から形成されている場合はポリグリシジルエーテル)に対応する搬送液を使用することが望ましい可能性がある。これに代えて、費用、可用性、及び粘度などを考慮して、水又は他の溶剤が使用されてもよい。
第3に、過剰な搬送液の除去にあたって、凝集力及び粘着力からミクロスフェア同士がまとまり、密にまとめられた構成を形成する。好適には、その構成からガスを引き出すために真空ソースが使用され、ミクロスフェアが詰め込まれたまとまりを生産する助けとなり得る。これは、同時に、ミクロスフェアがハニカムセルの最大体積を充填していることを確実にし、低密度の最終製品の前駆体となる。また、これによって、樹脂が案内される場合のさらなる圧縮/収縮の余地が減少する。このような圧縮及び収縮は、寸法精度とコ
アに対するスキンの固着強度との減少を招く。さらに、凝集力、粘着力、及び密にまとめられた構成によって、粒子がそれら自体を互いに対して、及び別に用意可能であるセル状構造体内のハニカム壁に対して保持し、次いでその構造の一体性を保ちながらコア層を移すことができる。これは、水などの表面張力が高い搬送液の場合に特に当てはまる。
コアの様々な部分に対して特定の構造特性を加えるためには、ハニカムの様々な部分を異なる種類の粒子(例えば、ミクロスフェア及びマイクロファイバ)又はそれらの組み合わせによって充填することが望ましい可能性がある。例えば、サンドイッチ構造体の中央部分には第1の種類の粒子を用い、そのサンドイッチ構造体の周縁部においては異なる種類の粒子を使用することが望ましい可能性がある。粒子の種類は材料、密度、構造特性、並びに/又はそのサイズ及び/若しくは形状によって変化し得る。これに代えて、異なる材料で充填されたセル状構造体は、サンドイッチ構造体のコア層を配置する際に、互いに隣り合って配置されることができる。中実の/予備形成された構造体(例えば、複合体及び合金)は、局所的サンドイッチパネル特性をもたらすために使用され得る。本発明の一実施形態において、予備形成された構造体は多孔質であり、それによって、樹脂がそこを通って注入されてサンドイッチパネルのスキンと良好な固着を作ることが可能になる。
一部の状況において、コア層の少なくとも一方の側に障壁層が設けられることが好適である。障壁材料はミクロスフェアが補強材料へと動くことを阻止するものの、流体(特に、マトリックス材料及び搬送液)が使用される場所では依然としてその通過を可能にする。ミクロスフェアが補強層に移動すると、補強スキンの構造性能の制御不能な又は望ましくない変更若しくは減少が生じる。しかし、これが許容可能な又はむしろ望ましい特性である状況があり得、その場合には障壁層は除去され得る。
一方又は両方のレイアップと鋳型との間に真空媒体が設けられてよく、この真空媒体は、圧力下にあっても実質的に多孔質であり透過性がある。このような真空媒体を使用することによって、組立品にわたって流体のより速い流動が可能になり、これは同時に、サンドイッチ構造体についてのより素早い及びより完全な注入を提供する。これに加えて、補強層と鋳型との間、又は補強層と真空媒体との間に剥離材料が設けられてよい。
本開示の発明は、比較的未処理の形態の材料(乾燥繊維、乾燥粒子及び樹脂)を組み合わせるというさらなる利点を提案し、それによって、予め含浸させた繊維又は類似のものを使用するプロセスとは異なり、原料費用の有意な減少が可能になる。さらに、コアを形成する粒子を、その乾燥形態において、又は搬送液中で収集及び再使用することができ、それによって無駄が減少する。
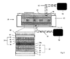
本発明における一方法の一工程を示す図。 図1の方法のさらなる工程を示す図。 図1の方法における別の工程を示す図。 本発明の一プロセスにおいて使用されるミクロスフェアの状態を示す図。 本発明において使用されるための組立品を示す図。
本発明の一実施形態は、添付の図面を参照して例としてのみここに記述される。
図1〜3では、下部内面14を有する鋳型12を含んで成る組立品10を示す。鋳型12は、その中に配置されるレイアップ構成を収容するのに十分高い側部を有する平らな開放鋳型である。下面14には、第1の導管18へと接続されている第1の開口部16が設けられる。基部レイアップ20は、下部内面14上に構成されており、
メッシュの形態の真空媒体22と、
剥離材料24と、
補強材料26と、
障壁層27と、を含んで成る。
鋳型12に基部レイアップ20が構成されると、その基部レイアップ20に対してセル状構造体28が付与され、そのセル状構造体28の上に搬送液とミクロスフェアとの均質な液体混合物が流される。この混合物は流動可能なため、セル状構造体28のプロファイルにしたがってほぼ均一な厚さに安定するものの、さらにより均等な層を確実にすべくこの混合物をより平らにすることが望ましい可能性がある。搬送液とミクロスフェアとの混合物がセル状構造体28に対して付与されると、真空ポンプ30が導管18に接続されて動作する。真空ポンプ30は、基部レイアップ20と鋳型10の内部下面14の開口部16とを通して過剰な搬送液を吸い上げる。また、これによって複数のミクロスフェアが圧縮され、より密度が高くまとめられたミクロスフェア構成が作られる。真空ポンプ30と真空メッシュ22との組み合わせによって生じさせられる圧力差により、レイアップ構成のエリア全体を通じた搬送液のほぼ均一な除去がもたらされる。過剰な搬送液が除去されると、濡れたミクロスフェアの密にまとめられた自己支持構成が後に残り、ミクロスフェア層の厚さがハニカムの厚さによって画定されるようにハニカムの上から過剰なミクロスフェアが除去される。除去されたミクロスフェアは、次いで収集及び再使用することができる。
過剰な搬送液とミクロスフェアとが除去されると、導管18が封止され、真空ポンプ30が切断され得る/オフにされ得る。続いて、ミクロスフェア28aの上に頂部レイアップ34が付与され、その頂部レイアップ34は、ミクロスフェア28a及びセル状構造体28に隣接する障壁層36と、障壁層36の上の補強材料38と、補強材料38の上面上の剥離材料40と、剥離材料40に隣り合う真空媒体42とを含んで成ることで底部レイアップ20を再現している。頂部鋳型44は浮いたコール板(caul plate)の形態であってよく、頂部レイアップ34の上に付与される。頂部鋳型44は、複合レイアップに対して圧力を付与することができるように、鋳型12の内部の空間に適合する。頂部鋳型44には開口部46が設けられ、それによってレイアップ構成内から頂部鋳型44の外側へ流体連通可能である。鋳型12の内部中空部を気密封止するために、次いで鋳型12の上を覆って真空フィルム48が配置され、そこに固定される。真空フィルム48にも、同様に開口部が設けられる。頂部鋳型44の開口部46と真空フィルム48とに対して、第2の導管52が取り付けられる。
第2の導管52は、真空ポンプ54に接続され、真空ポンプ54は、ミクロスフェアと搬送液との混合物からより多くの搬送液を除去するために動作する。搬送液の蒸発/沸騰、又はその粘度の減少を促進するために熱も付与され得、第1の導管18が開かれて、搬送液の除去を促進するためにこの組立品を通る空気の流動を可能にすることができる。別の実施形態において、搬送液が注入に使用されるマトリックス材料であるか、又はそれに対応する場合、搬送液の完全な除去は要求されず、蒸発/沸騰工程は必要とされない。障壁層27及び36は、その中に開口部が設けられて空気、搬送液、及び樹脂の通過を可能にするが、それらは、そこを通ってミクロスフェア28aが通過するのを阻止するために十分なほど小さい。
搬送液が必要な限り多く除去されると、第1の導管18は樹脂ソース56に接続され、第2の導管52に接続された真空ポンプ54が動作する。樹脂が鋳型12の開口部16を通って組立品へと引き込まれ、基部レイアップ20へと通る。その樹脂は続いてセル状構造体28へと通り、ミクロスフェア層28aを包んだ後に、通過して頂部レイアップ34へと至る。その樹脂が複合レイアップへと侵入するにつれて、組立品内の揮発性物質及び/又は空気が第2の導管52に向かって上がり、第2の導管52へと通る。組立品に完全
に樹脂が注入された時に、次いで硬化され、ミクロスフェアで充填されたセル状コア28に固着された補強スキン26及び38を有する複合サンドイッチ構造体を作ることができる。
図4では、図1〜3において示す処理中のミクロスフェア28aを示すが、簡略化のためにセル状構造体は図示しない。ミクロスフェア28aは、最初は搬送液の溶液中に存在する。次いで、真空ポンプ30及び54の動作中に混合物28から過剰な搬送液28bが除去され、ミクロスフェアがより密にまとめられる。残留搬送液が除去され、セル状構造体内において、効果的に真空60中に存在する密度が高くまとめられたミクロスフェア28aが残される。そのミクロスフェア28aには次いで樹脂58が注入され、セル状コアの所定の位置に固着、すなわち固定される。樹脂58は、複数のミクロスフェア28aの間に侵入し、それらを所定の位置に固着させ、セル状構造体と組み合わせて複合構造体のコアの一部とする。
鋳型の下面と頂部鋳型とは好適には剛直であり、それによってサンドイッチ構造体をより正確に成形することが可能になる。しかし、頂部鋳型を使用することは必須ではない。部品全体にマトリックス材料を分配させる、より良い手段を提供するために、鋳型に樹脂流動チャネルなどのさらなる特徴を組み込むことができる。また、鋳型の真空封止は、使い捨てプラスチックフィルムを使用して実行されても、又はシリコーン製のものなど再使用可能な真空バッグによって実行されてもよい。
一実施形態では、ミクロスフェアが鋳型12の壁部を必要とすることなくハニカムコア内に収容され得ることから、鋳型12は必要とされない場合がある。
搬送液の使用法に応じて、ミクロスフェアは処理要件にしたがって様々なちょう度を有し得る。例えば、搬送液が使用されずミクロスフェアが乾燥したままの場合、搬送液の除去又は蒸発の必要がなくなる。しかし、これによってミクロスフェアが簡単に空気で運ばれることができるようになり、それらを密な構成にまとめることはより難しく、湾曲部を有する形状を製造する場合にミクロスフェアが浮いてハニカムセルの外に出ることを阻止することができない。搬送液が使用される場合は、これらの問題は克服され得る。ミクロスフェアと搬送液との液体混合物及び続く過剰な搬送液の除去によって、その混合物の素早く簡単な運搬、堆積、及び拡散が可能になる。また、搬送液の凝集力によって、ミクロスフェアは密にまとめられ、一緒に保持される。これに加えて、材料の気密封止に先立ってその材料を通したガスの引き出しを行うために真空ソースを使用することによって、成形に先立ってミクロスフェアがさらに圧縮され、それによって材料内でミクロスフェアのより高い体積分率が得られる。
本発明の別の実施形態では、レイアップ構成の全体又は少なくとも一部が、まず別のエリアに用意され、次いで最終的な成形面上に移される。例えば、ハニカムコア内のミクロスフェアのコア層は、図1に開示されるプロセスと類似のプロセス、又は別のプロセスを使用することによって、別に用意されることができる。過剰な搬送液の除去に続いて、セル状コア内の粒子は濡れたままであるものの、密にまとめられる。液体の表面張力は、それらの粒子の間に化学結合が無くとも、それらの粒子をセル状構造体内に共に保持するように作用する。これによって、簡単に鋳型から除去でき、移すことができ、次いでその一体性に影響することなく異なる面/鋳型上に配置されることができる、自己支持性だが形成可能な構造体となる。この新たな面は、マトリックス材料の案内を考慮に入れた導管と、底部補強材料とを備えてよく、用意したコアの配置に先立って、任意で、真空媒体と剥離材料とがこの面上に積まれる。コアの配置の後、頂部材料層が配置され、図3に示すように、本明細書に記載のプロセスにしたがってマトリックス材料が案内及び硬化される。これによって、複雑な形状を有するサンドイッチパネルを製造するための素早く効率的な方法が可能になる。さらに、ミクロスフェアで充填された別のシートのハニカムが、大き
な部品を製造するために互いに隣り合って、又は互いの上に積まれてもよい。コア前駆体材料の複数の別のシートの間に結果として生じる任意の間隙は、続いて乾燥粒子又は搬送液中の粒子のいずれかによって充填され得る。最終的な鋳型中へのコア層の配置に先立ってそれらのコア層を用意するさらなる利益は、それらの用意に、用意プロセスの速度と効率とを改善可能な専用の鋳型を使用することができることである。
コア前駆体を用意し、続いてそれらの形成、注入、及び硬化を行うこのプロセスは、ラミネート補強を有しないシンタクチックフォームの製造に簡単に適合し得る。
樹脂は、第1の導管に接続された真空ポンプによって第1の導管よりむしろ第2の導管から注入されてよい。これに代えて、又はこれに加えて、搬送液の除去、樹脂の供給、又は真空ソースのために、本組立品にさらなる導管が付与されてもよい。マトリックス材料又は樹脂を組立品の底部から注入する利点は、揮発性物質は自然と組立品の上へと上昇することから、揮発性物質が追い払われて空隙容量が最小化され得ることである。
本発明の一態様は、従来の樹脂案内プロセスと比較した場合に極めて短い効果的な流動経路を使用してレイアップに対してマトリックス材料が付与されることである。入口ポート及び/又は出口ポートと、樹脂流動チャネル及び/又は真空メッシュと、頂部及び/又は底部レイアップに沿った剥離生地とを配置することによって、本組立品の側部に配置されているポートと比較してマトリックス材料の流動経路が減少される。従来の成形方法(例えば、樹脂トランスファ成形)とは異なり、樹脂は補強部の長さ及び幅を通ってではなく、その厚さを通って進む。したがって、総圧力変化が約1気圧のみであり得るとしても、より急な圧力勾配がこの方法によって達成され得る。これによって、樹脂の浸透に要求される時間が減少する。これに加えて、進行する距離が樹脂トランスファ成形におけるよりもはるかに短いことから、樹脂の硬化前に補強部全体を通ってその樹脂を進ませるために、より少ない圧力又は力しか必要とされない。流動経路長におけるこのような減少は、そこに対する抵抗の減少によってより素早い浸透となり、これは同様に、要求される真空強度及び/又は真空が付与される必要がある時間を減少させ、それによってその構造体の製造の費用を減少させる。
補強材料は炭素繊維又は他の材料(ガラス繊維、パラアラミドシンタクチック繊維、他の繊維材料、又はそれらの組み合わせ)の形態であってよい。また、要件によってハニカム材料も多様なものであってよく、アルミニウム、アラミド材料、ガラス繊維、プラスチック、及び他の材料を含み得る。湾曲した部品を成形するためには、鋳型の外形に共形可能である適したコア(例えば、ノーメックス(Nomex)(登録商標)などアラミドベースの材料)を使用することが好適であり得る。ハニカムコアの代わりに使用可能な他の開放セル状構造には、スペーサファブリックか、又はミクロスフェアで充填され、そのミクロスフェアを抑制することができる任意の他の構造体が含まれる。
サンドイッチ構造体の機械特性をさらに調整するために、鋳型の中に、基部レイアップ及び/又は頂部レイアップに対して、又は基部レイアップと頂部レイアップとの間に、インサートが加えられてもよい。これらは、部品の残りと共に注入されることができる中実な構造体(例えば、金属及び予備硬化された複合体)又は多孔質材料(乾燥生地又は多孔質剛体)の形態であってよい。これに加えて、又はこれに代えて、特に強化剤及び/又はミルドファイバ若しくはチョップドファイバの形態でミクロスフェアと共に添加剤が混合されてもよい。例えば、反応で誘導される相分離(RIPS強化)が樹脂の強化に使用され得る。強靭化剤の案内によって樹脂の粘性が増加しすぎる場合、このような添加剤を粉末、粒子、及び/又は繊維の形態で搬送液と混合して、低い粘性を維持する溶液、乳濁液、又は懸濁液を作ることができる。レイアップ構成から搬送液が除去されると、ミクロスフェアコア中に添加剤が残り、次いで樹脂が案内されることができ、それによって、得られる複合物構造体に対して、要求される特性を提供する。
図5では、本発明の一部として用いられ得る組立品を示す。鋳型の基部面14と頂部鋳型44とが、鋳型の側壁12aの周りを挟む。複合サンドイッチ構造体は、鋳型側壁が最終製品と一体となるようにその複合サンドイッチ構造体に結合される側壁を有して作られる。その最終製品は、側壁に結合され、そこから延びる突起部を有する複合サンドイッチ構造体を作るサンドイッチ構造体である。一形態では、複合サンドイッチ構造体は、より確実に鋳型の側壁をサンドイッチ構造体に対して取り付けるべく、その側壁を受け入れる凹部を備えてよい。図5の組立品の結果として、又はその変更として、鋳型又はその一部は、最終製品と一体であることができる。鋳型の面は、最終製品に含まれる材料によって部分的又は完全に覆われており、これによって鋳型に剥離材料を付与する必要がなくなる。これに加えて、各サンドイッチ構造体ごとに新たな鋳型面が要求されることから、鋳型の修理及び維持が不要となる。さらに、樹脂が熱可塑性マトリックス(適したアクリル樹脂など)の前駆体である場合、アクリルフィルム又はアクリルシートは、真空成型されることができ、続いて付与される複合材料と共に鋳型又は別の組立品の所定の位置に保持されることができる。このような組立品は、得られる構造体の離型をより簡単にし、鋳型に剥離部を再び付与する必要性を排除して、ゲルコート及び研磨等の使用を必要とすることなく極めて滑らかな面仕上げを設けることができる。
本明細書に開示されている本発明の一実施形態の態様は、本発明の異なる態様に追加して用いられても、代替として用いられてよい。例えば、一実施形態の方法の一工程は、別の実施形態の一工程に対する追加の工程として使用されても、代替として使用されてもよい。

Claims (17)

  1. 複合サンドイッチ構造体の製造方法において、
    一定の面に基部レイアップを設ける工程であって、前記基部レイアップは第1の補強材料層を含んで成る、基部レイアップを設ける工程と、
    前記基部レイアップ上にコア層を設ける工程であって、前記コア層は開放セル状構造体を含んで成り、前記開放セル状構造体は固着していないミクロスフェアによって少なくとも部分的に充填されている、コア層を設ける工程と、
    前記コア層の上に頂部レイアップを設ける工程であって、前記頂部レイアップは第2の補強材料層を含んで成る、頂部レイアップを設ける工程と、
    前記開放セル状構造体に少なくとも部分的に前記ミクロスフェアが導入された後で、圧力差によって前記コア層中にマトリックス材料を案内することによって、前記マトリックス材料が前記コア層を充填し、前記ミクロスフェアをあるべき位置にて結合する、前記マトリックス材料を案内する工程と、
    前記マトリックス材料を硬化する工程と、を備える方法。
  2. 前記開放セル状構造体はハニカム材料であり、前記ハニカムは開放セル状構造体を有する、請求項1に記載の方法。
  3. 前記コア層は前記ミクロスフェアとは異なる特性を有した少なくとも1種類のさらなる粒子を含み、前記セル状構造体のセルには前記ミクロスフェアを含む2種類以上の粒子が充填される、請求項1又は2に記載の方法。
  4. 第1の群のセルは1種類のミクロスフェア又はミクロスフェアの組み合わせで充填されており、第2の群のセルは異なる種類のミクロスフェア又はミクロスフェアの組み合わせで充填されている、請求項3に記載の方法。
  5. 予備形成された構造体が、局所的サンドイッチ構造体特性をもたらすために前記コア層の複数の領域に配置されている、請求項1〜4の何れか一項に記載の方法。
  6. 前記セル状構造体を充填している前記ミクロスフェアは、搬送液と混合されている、請求項1〜5の何れか一項に記載の方法。
  7. 前記搬送液は、注入に使用される前記マトリックス材料である、請求項6に記載の方法。
  8. 過剰な搬送液が除去される、請求項6に記載の方法。
  9. 前記基部レイアップ、前記コア層及び前記頂部レイアップは気密封止されたエンクロージャ内に封止され、前記エンクロージャには、前記エンクロージャの内部との流体連通を可能にする1つ以上の導管が設けられる、請求項1〜8の何れか一項に記載の方法。
  10. 前記マトリックス材料は前記導管を介して前記気密封止されたエンクロージャ内に提供される、請求項9に記載の方法。
  11. 固着していないミクロスフェアを有する前記コア層が前記基部レイアップ上に直接に載置される、請求項1〜10の何れか一項に記載の方法。
  12. 前記基部レイアップ上に移すのに先立って、固着していないミクロスフェアを有する前記コア層が用意される、請求項1〜10の何れか一項に記載の方法。
  13. 用意された複数のコア層は、型において互いに隣り合って、又は互いの上に配置される、請求項12に記載の方法。
  14. 前記コア層の少なくとも一方の側に障壁層を設ける、請求項1〜13の何れか一項に記載の方法。
  15. 前記面は鋳型の底部内面であり、前記鋳型は側壁を備える、請求項1〜14の何れか一項に記載の方法。
  16. 前記マトリックスは圧力差によって分配し、前記圧力差は、1つ以上の導管を介して前記気密封止されたエンクロージャに連結している真空ソースを使用して生じる、請求項9又は10に記載の方法。
  17. 前記基部レイアップと前記鋳型との間、前記頂部レイアップと前記鋳型又は真空バッグとの間、又はその両方に剥離材料を設ける、請求項13及び請求項13を引用する請求項14,15の何れか一項に記載の方法。
JP2018516641A 2015-06-10 2016-06-10 複合構造体の製造方法 Active JP6862002B2 (ja)

Applications Claiming Priority (3)

Application Number Priority Date Filing Date Title
GB1510065.4A GB2539228B (en) 2015-06-10 2015-06-10 A method of making a composite structure
GB1510065.4 2015-06-10
PCT/GB2016/051717 WO2016198883A1 (en) 2015-06-10 2016-06-10 A method of making a composite structure

Publications (2)

Publication Number Publication Date
JP2018518402A JP2018518402A (ja) 2018-07-12
JP6862002B2 true JP6862002B2 (ja) 2021-04-21

Family

ID=53785237

Family Applications (1)

Application Number Title Priority Date Filing Date
JP2018516641A Active JP6862002B2 (ja) 2015-06-10 2016-06-10 複合構造体の製造方法

Country Status (18)

Country Link
US (1) US11059244B2 (ja)
EP (1) EP3307533B1 (ja)
JP (1) JP6862002B2 (ja)
KR (1) KR102510311B1 (ja)
CN (2) CN118254395A (ja)
AU (1) AU2016276134B2 (ja)
BR (1) BR112017026442B1 (ja)
CA (1) CA3026978C (ja)
DK (1) DK3307533T3 (ja)
ES (1) ES2929530T3 (ja)
GB (1) GB2539228B (ja)
HR (1) HRP20221321T1 (ja)
MX (1) MX2017015966A (ja)
PL (1) PL3307533T3 (ja)
PT (1) PT3307533T (ja)
SG (1) SG11201811820SA (ja)
TW (1) TWI753858B (ja)
WO (1) WO2016198883A1 (ja)

Families Citing this family (7)

* Cited by examiner, † Cited by third party
Publication number Priority date Publication date Assignee Title
CN108372666B (zh) * 2018-02-26 2020-06-23 常州市新创智能科技有限公司 一种内嵌金属板的碳纤维拉挤型材及制作工艺
US12076946B2 (en) 2018-08-08 2024-09-03 Fast Build Systems Pty Ltd Preform, composite structure and panel, and methods of forming same
CN109648890B (zh) * 2018-12-25 2020-12-29 中国航空工业集团公司基础技术研究院 一种自支撑半浸渗自粘非屈曲预定型织物的制备方法
CN112140589B (zh) * 2019-06-28 2023-03-24 江苏金风科技有限公司 真空灌注方法及清洁方法
DE102020200820A1 (de) 2020-01-23 2021-07-29 Rolls-Royce Deutschland Ltd & Co Kg Herstellungsverfahren für einen Schichtverbund und Triebwerksbauteil
CN111186147B (zh) * 2020-02-24 2021-10-08 江苏亨睿碳纤维科技有限公司 连续纤维混杂短切纤维制备轻量化汽车零部件的成型方法
CN117246027B (zh) * 2023-11-20 2024-01-23 江苏晶昱宝环境科技有限公司 高密度复合隔音板压合组装设备

Family Cites Families (25)

* Cited by examiner, † Cited by third party
Publication number Priority date Publication date Assignee Title
GB9111621D0 (en) * 1991-05-30 1991-07-24 Short Brothers Plc Noise attenuation panel
US5445861A (en) * 1992-09-04 1995-08-29 The Boeing Company Lightweight honeycomb panel structure
US5455096A (en) * 1993-09-20 1995-10-03 United Technologies Corporation Complex composite sandwich structure having a laminate and a foaming ashesive therein and a method for making the same
AT401757B (de) * 1994-04-07 1996-11-25 Greiner & Soehne C A Mehrlagiges bauelement aus thermisch verformbarem kunststoffschaum
JPH08156150A (ja) * 1994-12-06 1996-06-18 Suzuki Sogyo Co Ltd 中空コア材を使用したサンドイッチ構造体並びにその製造方法
US5569508A (en) * 1995-01-03 1996-10-29 The Boeing Company Resin transfer molding with honeycomb core and core filler
CA2195050A1 (en) * 1996-01-29 1997-07-30 Mark David Thiede-Smet Low-weight and water-resistant honeycomb sandwich panels made by resin transfer molding process
US6030483A (en) * 1996-09-10 2000-02-29 Wilson; Graeme Paul Method of forming laminates using a tessellated core
US7563504B2 (en) * 1998-03-27 2009-07-21 Siemens Energy, Inc. Utilization of discontinuous fibers for improving properties of high temperature insulation of ceramic matrix composites
FR2790526B1 (fr) * 1999-03-04 2001-10-12 Cit Alcatel Agencement structurel reducteur de choc
JP4013573B2 (ja) * 2002-02-07 2007-11-28 東レ株式会社 遮音パネルの施工方法
JP4010271B2 (ja) * 2003-04-17 2007-11-21 トヨタ自動車株式会社 Frpサンドイッチパネル用ハニカム構造体
JP2005022171A (ja) * 2003-06-30 2005-01-27 Mitsubishi Heavy Ind Ltd 複合材サンドイッチパネル用コア、複合材サンドイッチパネル、及びその製造方法
EP1741686B1 (en) * 2004-04-30 2011-04-13 NGK Insulators, Ltd. Honeycomb structure and method for producing same
US7776392B2 (en) * 2005-04-15 2010-08-17 Siemens Energy, Inc. Composite insulation tape with loaded HTC materials
US7988809B2 (en) * 2004-09-01 2011-08-02 Hexcel Corporation Aircraft floor and interior panels using edge coated honeycomb
US7507461B2 (en) * 2004-09-01 2009-03-24 Hexcel Corporation Edge coating for honeycomb used in panels with composite face sheets
JP2006198866A (ja) * 2005-01-20 2006-08-03 Mitsubishi Rayon Co Ltd サンドイッチ構造材料用コア材及びサンドイッチ構造材料の製造方法
JP2008290441A (ja) * 2007-04-25 2008-12-04 Sekisui Chem Co Ltd 強化プラスチック製サンドイッチ材の製造方法
US8292214B2 (en) * 2008-01-18 2012-10-23 The Boeing Company Vibration damping for wing-to-body aircraft fairing
GB2470618B (en) * 2009-09-14 2011-08-24 Alexander Fergusson An improved method of and apparatus for making a composite material
BR112013008497A2 (pt) * 2010-10-08 2016-08-16 Fredy Iseli peça de suporte de um composto de colmeia, bem como processo para o seu revestimento
WO2013015932A1 (en) * 2011-07-22 2013-01-31 Dow Global Technologies Llc Process for producing cemented and skinned ceramic honeycomb structures
JP5836730B2 (ja) * 2011-09-26 2015-12-24 三菱電機株式会社 難燃性複合材料およびエレベータのかご用部材
DK2610053T3 (da) * 2011-12-28 2019-09-23 Siemens Gamesa Renewable Energy As Sandwichkernemateriale

Also Published As

Publication number Publication date
JP2018518402A (ja) 2018-07-12
GB2539228B (en) 2017-07-26
SG11201811820SA (en) 2019-01-30
EP3307533A1 (en) 2018-04-18
KR102510311B1 (ko) 2023-03-14
BR112017026442B1 (pt) 2022-01-18
CN107872998A (zh) 2018-04-03
BR112017026442A2 (pt) 2018-08-14
CA3026978C (en) 2021-06-01
MX2017015966A (es) 2018-07-06
GB2539228A (en) 2016-12-14
US20180147799A1 (en) 2018-05-31
PL3307533T3 (pl) 2022-11-28
WO2016198883A1 (en) 2016-12-15
DK3307533T3 (da) 2022-11-07
KR20180037175A (ko) 2018-04-11
HRP20221321T1 (hr) 2022-12-23
GB201510065D0 (en) 2015-07-22
ES2929530T3 (es) 2022-11-30
TWI753858B (zh) 2022-02-01
US11059244B2 (en) 2021-07-13
CA3026978A1 (en) 2016-12-15
CN118254395A (zh) 2024-06-28
TW201707947A (zh) 2017-03-01
EP3307533B1 (en) 2022-08-03
AU2016276134A1 (en) 2018-01-18
PT3307533T (pt) 2022-11-03
AU2016276134B2 (en) 2020-10-22

Similar Documents

Publication Publication Date Title
JP6862002B2 (ja) 複合構造体の製造方法
CN102481731B (zh) 制造先进复合材料部件的方法
CN102695598B (zh) 用于制备复合材料的方法
US8034268B2 (en) Method for manufacturing lightweight composite fairing bar
CN102510800A (zh) 制造复合材料的方法和装置
JP5044220B2 (ja) 炭素発泡体複合ツールおよび炭素発泡体複合ツールを使用するための方法
CN103958142B (zh) 预成形件的制造方法和纤维强化塑料成形体的制造方法
CN105802136A (zh) 一种三维织物增强多孔复合材料的制备方法
CN114030268A (zh) 具备高强胶接性能的蜂窝夹层结构复合材料的制备方法
JP6025841B2 (ja) マスターレスのレイアップマンドレルツール
JP2008290441A (ja) 強化プラスチック製サンドイッチ材の製造方法
WO2008137952A2 (en) Microparticle breather layer for use in composite part manufacture
EP4395987A1 (en) Film-bonded infusion
CN1933952B (zh) 碳泡沫复合材料工具及其使用方法
Ma et al. Laminating Processes of Thermoset Sandwich Composites
JP2007176163A (ja) 繊維強化プラスチックの製造方法
RU2317210C1 (ru) Способ изготовления многослойной панели
MX2008004426A (en) A method for producing a fibre-reinforced product
JPH08187785A (ja) 多孔質コアを有する複合成形品の製造方法およびその成形材料

Legal Events

Date Code Title Description
A621 Written request for application examination

Free format text: JAPANESE INTERMEDIATE CODE: A621

Effective date: 20190527

A977 Report on retrieval

Free format text: JAPANESE INTERMEDIATE CODE: A971007

Effective date: 20200318

A131 Notification of reasons for refusal

Free format text: JAPANESE INTERMEDIATE CODE: A131

Effective date: 20200401

A601 Written request for extension of time

Free format text: JAPANESE INTERMEDIATE CODE: A601

Effective date: 20200630

A521 Request for written amendment filed

Free format text: JAPANESE INTERMEDIATE CODE: A523

Effective date: 20200930

TRDD Decision of grant or rejection written
A01 Written decision to grant a patent or to grant a registration (utility model)

Free format text: JAPANESE INTERMEDIATE CODE: A01

Effective date: 20210302

A61 First payment of annual fees (during grant procedure)

Free format text: JAPANESE INTERMEDIATE CODE: A61

Effective date: 20210324

R150 Certificate of patent or registration of utility model

Ref document number: 6862002

Country of ref document: JP

Free format text: JAPANESE INTERMEDIATE CODE: R150

R250 Receipt of annual fees

Free format text: JAPANESE INTERMEDIATE CODE: R250