JP6830386B2 - 測定ヘッド - Google Patents

測定ヘッド Download PDF

Info

Publication number
JP6830386B2
JP6830386B2 JP2017061952A JP2017061952A JP6830386B2 JP 6830386 B2 JP6830386 B2 JP 6830386B2 JP 2017061952 A JP2017061952 A JP 2017061952A JP 2017061952 A JP2017061952 A JP 2017061952A JP 6830386 B2 JP6830386 B2 JP 6830386B2
Authority
JP
Japan
Prior art keywords
slider
measurement
measuring head
posture
guide
Prior art date
Legal status (The legal status is an assumption and is not a legal conclusion. Google has not performed a legal analysis and makes no representation as to the accuracy of the status listed.)
Expired - Fee Related
Application number
JP2017061952A
Other languages
English (en)
Other versions
JP2018163125A (ja
Inventor
松宮 貞行
貞行 松宮
智之 宮崎
智之 宮崎
修一 上山
修一 上山
秀幸 新井
秀幸 新井
Current Assignee (The listed assignees may be inaccurate. Google has not performed a legal analysis and makes no representation or warranty as to the accuracy of the list.)
Mitutoyo Corp
Original Assignee
Mitutoyo Corp
Priority date (The priority date is an assumption and is not a legal conclusion. Google has not performed a legal analysis and makes no representation as to the accuracy of the date listed.)
Filing date
Publication date
Application filed by Mitutoyo Corp filed Critical Mitutoyo Corp
Priority to JP2017061952A priority Critical patent/JP6830386B2/ja
Priority to US15/933,840 priority patent/US10551184B2/en
Priority to DE102018204654.9A priority patent/DE102018204654A1/de
Priority to CN201810259347.6A priority patent/CN108662996B/zh
Publication of JP2018163125A publication Critical patent/JP2018163125A/ja
Application granted granted Critical
Publication of JP6830386B2 publication Critical patent/JP6830386B2/ja
Expired - Fee Related legal-status Critical Current
Anticipated expiration legal-status Critical

Links

Images

Classifications

    • GPHYSICS
    • G01MEASURING; TESTING
    • G01BMEASURING LENGTH, THICKNESS OR SIMILAR LINEAR DIMENSIONS; MEASURING ANGLES; MEASURING AREAS; MEASURING IRREGULARITIES OF SURFACES OR CONTOURS
    • G01B21/00Measuring arrangements or details thereof, where the measuring technique is not covered by the other groups of this subclass, unspecified or not relevant
    • G01B21/02Measuring arrangements or details thereof, where the measuring technique is not covered by the other groups of this subclass, unspecified or not relevant for measuring length, width, or thickness
    • G01B21/06Measuring arrangements or details thereof, where the measuring technique is not covered by the other groups of this subclass, unspecified or not relevant for measuring length, width, or thickness specially adapted for measuring length or width of objects while moving
    • GPHYSICS
    • G01MEASURING; TESTING
    • G01BMEASURING LENGTH, THICKNESS OR SIMILAR LINEAR DIMENSIONS; MEASURING ANGLES; MEASURING AREAS; MEASURING IRREGULARITIES OF SURFACES OR CONTOURS
    • G01B21/00Measuring arrangements or details thereof, where the measuring technique is not covered by the other groups of this subclass, unspecified or not relevant
    • GPHYSICS
    • G01MEASURING; TESTING
    • G01BMEASURING LENGTH, THICKNESS OR SIMILAR LINEAR DIMENSIONS; MEASURING ANGLES; MEASURING AREAS; MEASURING IRREGULARITIES OF SURFACES OR CONTOURS
    • G01B21/00Measuring arrangements or details thereof, where the measuring technique is not covered by the other groups of this subclass, unspecified or not relevant
    • G01B21/02Measuring arrangements or details thereof, where the measuring technique is not covered by the other groups of this subclass, unspecified or not relevant for measuring length, width, or thickness
    • G01B21/04Measuring arrangements or details thereof, where the measuring technique is not covered by the other groups of this subclass, unspecified or not relevant for measuring length, width, or thickness by measuring coordinates of points
    • G01B21/047Accessories, e.g. for positioning, for tool-setting, for measuring probes
    • GPHYSICS
    • G01MEASURING; TESTING
    • G01BMEASURING LENGTH, THICKNESS OR SIMILAR LINEAR DIMENSIONS; MEASURING ANGLES; MEASURING AREAS; MEASURING IRREGULARITIES OF SURFACES OR CONTOURS
    • G01B13/00Measuring arrangements characterised by the use of fluids
    • G01B13/02Measuring arrangements characterised by the use of fluids for measuring length, width or thickness
    • G01B13/03Measuring arrangements characterised by the use of fluids for measuring length, width or thickness by measuring coordinates of points
    • GPHYSICS
    • G01MEASURING; TESTING
    • G01BMEASURING LENGTH, THICKNESS OR SIMILAR LINEAR DIMENSIONS; MEASURING ANGLES; MEASURING AREAS; MEASURING IRREGULARITIES OF SURFACES OR CONTOURS
    • G01B5/00Measuring arrangements characterised by the use of mechanical techniques
    • G01B5/004Measuring arrangements characterised by the use of mechanical techniques for measuring coordinates of points
    • G01B5/008Measuring arrangements characterised by the use of mechanical techniques for measuring coordinates of points using coordinate measuring machines
    • GPHYSICS
    • G01MEASURING; TESTING
    • G01BMEASURING LENGTH, THICKNESS OR SIMILAR LINEAR DIMENSIONS; MEASURING ANGLES; MEASURING AREAS; MEASURING IRREGULARITIES OF SURFACES OR CONTOURS
    • G01B9/00Measuring instruments characterised by the use of optical techniques
    • G01B9/02Interferometers
    • G01B9/02049Interferometers characterised by particular mechanical design details
    • G01B9/0205Interferometers characterised by particular mechanical design details of probe head

Landscapes

  • Physics & Mathematics (AREA)
  • General Physics & Mathematics (AREA)
  • A Measuring Device Byusing Mechanical Method (AREA)
  • Length Measuring Devices With Unspecified Measuring Means (AREA)
  • Fluid Mechanics (AREA)
  • Engineering & Computer Science (AREA)
  • Automation & Control Theory (AREA)

Description

本発明は、ワーク表面を測定対象とする測定ヘッドに関し、特に、測定ヘッドに内蔵されたモータ動力の補助機構の改良に関する。
ワークの表面形状のうち、高い精度が要求される測定領域と、比較的低い精度であっても許容される測定領域と、の両方を含んでいるワークを測定する場合に適した三次元測定機が知られている(特許文献1参照)。これは、門型のCNC三次元座標測定機と、この測定機によって3軸方向に移動可能に設けられた測定ヘッドとを組み合せた構造である。
門型の三次元測定機は、ベースと、このベースの上面に水平方向へ移動可能に設けられたX軸テーブルと、ベースに立設されたコラムと、このコラムに支持されたビームと、ビームに沿って移動可能に設けられたY軸スライダと、このY軸スライダに昇降可能に設けられたZ軸スライダと、このZ軸スライダに連結されたスピンドルとを備えたものが一般的であり、特許文献1ではスピンドルの先端に測定ヘッドを取付けたことに特徴がある。測定ヘッド1は、図7のように、三次元測定機のスピンドルの先端に着脱可能に設けられたZ軸スライド機構2と、これによってZ軸方向に移動可能に支持されたY軸スライド機構3と、これによってY軸方向に移動可能に支持されたX軸スライド機構4と、このX軸スライド機構4によってX軸方向に移動可能に支持されたプローブ5とを備えた構成である。
特許文献1によれば、測定ヘッドの駆動機構2〜4がプローブ5を移動させることで、小さい領域での高精度測定が行われ、三次元測定機の駆動機構が測定ヘッド1を移動させることで、大きい領域での低〜中程度の精度による測定がスムーズに行われる。
特開2010−256121号公報
図7のように、従来の測定ヘッドのZ軸スライド機構2には、略鉛直方向に伸縮するバネ6が設けられ、スライダ7とガイド8を連結している。これは、Z軸スライド機構の動力源である電動モータM1がスライダ7を上昇させる場合に、そのモータへの負荷を軽減し、鉛直方向のモータ駆動性能(位置決め、一定速度、高速移動など)を高めるためのもので、ここでは、モータ動力の補助機構と呼ぶ。
しかしながら、図7のバネによるモータ動力の補助機構は、Z軸スライダ7の移動方向が略鉛直になるように測定ヘッドの姿勢が定まっていないと、適切に機能しない。また、測定中も測定ヘッドの姿勢が一定であることを要する。測定姿勢を変えると、Y軸又はX軸スライド機構の駆動用モータM2,M3の負荷が変化してしまい、各モータの駆動性能が維持されないからである。また、駆動性能を維持するには姿勢変更の都度、各モータのゲイン調整をやり直す必要がある。
測定姿勢に制約があることは特許文献1のように使用される測定ヘッドに限られたものではなく、何らかの移動装置に取り付けて使用される測定ヘッド全般に共通する。発明者らはこのような測定姿勢の制限を取り除くべく、鋭意研究に取り組んできた。
本発明は、上記課題を解決するもので、従来の測定ヘッドに内蔵された駆動用モータ動力の補助機構を改良して、測定姿勢に依存しないモータ駆動特性を発揮し、任意の姿勢で測定可能な測定ヘッドを提供することを目的とする。
すなわち、本発明の測定ヘッドは、
第1測定軸用の第1スライダ、案内用の第1ガイド、及び、駆動用の第1モータと、
前記第1測定軸と平行でない第2測定軸用の第2スライダ、前記第1スライダに固定された案内用の第2ガイド、及び、駆動用の第2モータと、
前記第2スライダに保持されたワーク検知用のプローブと、
を備え、前記各スライダの移動に伴って前記プローブにワーク表面を検出させる測定ヘッドであって、
該測定ヘッドは、外部の任意の移動装置に前記第1ガイドを介して着脱可能であり、
前記第1スライダと前記第1ガイドを接続し前記第1測定軸方向に伸縮自在の第1流体圧シリンダと、
前記第2スライダと前記第2ガイドを接続し前記第2測定軸方向に伸縮自在の第2流体圧シリンダと、
該測定ヘッドの測定姿勢に応じて、前記第1流体圧シリンダ及び前記第2流体圧シリンダへ供給する流体の圧力を変更する第1流体圧変更手段および第2流体圧変更手段と、
を備えることを特徴とする。
本発明の測定ヘッドの作用を説明する。測定ヘッドは、門型の三次元測定機(図2)や多関節型の移動装置(図5)などに取り付けられる。このような外部の移動装置によって、測定ヘッドの測定姿勢が任意に設定され、かつ、測定ヘッドが所望の位置に移動した状態で、プローブが各測定軸方向にスライドしてワーク表面を検知する。測定ヘッドは、ワーク表面を検知した際の各測定軸のスライダの移動量に基づいて、ワーク表面の位置情報を取得する。なお、測定ヘッドの測定軸は2軸以上あればよい。例えば、第1測定軸に沿ってプローブをワークに接近・離間させ、第2測定軸に沿ってプローブを次の測定位置に移動させるという方法であれば、外部の移動装置に保持された測定ヘッドの位置や姿勢を変えないで、プローブの移動だけでの測定が可能である。
本発明の測定ヘッドが、測定軸ごとに流体圧シリンダとその流体圧の変更手段とを有し、測定ヘッドの測定姿勢(例えば、鉛直下方向を基準とする各測定軸の傾斜角)に応じて、第1流体圧シリンダおよび第2流体圧シリンダへの流体圧を個別に変更する。第1流体圧シリンダは、第1流体圧変更手段が調整した流体圧に基づく力で第1スライダを付勢する。つまり、第1スライダを押すか、引く。その付勢力が第1スライダに作用する重力の第1測定軸方向の分力に相当する大きさになっていればよい。同様に、第2流体圧シリンダは、第2流体圧変更手段が調整した流体圧に基づく力で第2スライダを付勢する。その付勢力が第2スライダに作用する重力の第2測定軸方向の分力に相当する大きさになっていればよい。
本発明の効果を説明する。複数のスライダによってプローブをそれぞれの測定軸方向に移動させる構造の測定ヘッドでは、その測定姿勢に応じて、各スライダに作用する重力の影響が大きく変化する。そこで本発明の測定ヘッドは、測定姿勢に応じて、各流体圧シリンダの付勢力を変更し、各スライダに対して個別に調整した付勢力を加えるようにした。これにより、測定姿勢の変化に伴うモータの負荷の変動をゼロ若しくは非常に小さく抑えることができ、測定姿勢に依存しないモータの駆動性能を発揮させることができる。つまり、測定ヘッドの性能・機能を損なうことなく、あらゆる測定姿勢をとり得る測定ヘッドを提供することができる。
本発明の測定ヘッドにおいては、さらに、該測定ヘッドの測定姿勢を検知する姿勢検出手段を備え、前記各流体圧変更手段は、前記姿勢検出手段からの姿勢情報に基づいて前記流体の圧力を変更することが好ましい。姿勢検出の方法としては、例えば、鉛直方向を感知するセンサを測定ヘッドに固定して、その検出値から測定ヘッドの姿勢を判断する方法がある。他にも、基準となる目印を撮像するカメラをヘッドに固定して、目印の画像を処理して測定ヘッドの姿勢を判断してもよい。
本発明の測定ヘッドにおいては、前記第2スライダと前記プローブの間に、前記第1測定軸および前記第2測定軸のいずれとも平行でない第3測定軸用の第3スライダと、前記第2スライダに固定された案内用の第3ガイドと、駆動用の第3モータとが設けられ、
前記プローブは、前記第3ガイドおよび前記第3スライダを介在して、前記第2スライダに保持され、
該測定ヘッドは、さらに、前記第3スライダと前記第3ガイドを接続し前記第3測定軸方向に伸縮自在の第3流体圧シリンダと、
該測定ヘッドの測定姿勢に応じて、前記第3流体圧シリンダへ供給する流体の圧力を変更する第3流体圧変更手段と、を備えることが好ましい。
この構成のようにプローブの測定軸を3方向に設ける場合、モータ動力の補助機構を2方向の場合と同様に設けるだけでよい。
以上のように、本発明によれば、測定姿勢に依存しないモータ駆動特性を発揮することができ、言い換えると、測定姿勢が変更しても測定ヘッドの性能及び機能は損われず、任意の姿勢で測定可能な測定ヘッドを提供することができる。また、多関節型の移動装置や門型の三次元測定機などの様々なタイプの移動装置に適用することが可能で、測定ヘッドの用途も拡大する。
本発明の第一実施形態に係る測定ヘッドの全体構成を示す立体図である。 前記測定ヘッドを門型の三次元測定機に使用する形態を示す図である。 前記測定ヘッドの姿勢に応じた自動調圧レギュレータ及び流路切換弁の動作を説明する図である。 前記使用形態の変形例を示す図である。 本発明の第二実施形態に係る多関節型の三次元測定機を示す図である。 前記多関節型の三次元測定機を使用する形態を示す図である。 従来の測定ヘッドの構造を示す立体図である。
本発明の第一実施形態に係る測定ヘッドについて図面に基づいて説明する。
図1は本発明に係る測定ヘッド10の立体図であり、その補助機構の制御ブロック図を重ねて示したものである。測定ヘッド10は、プローブ20と、プローブの駆動装置30と、制御装置40とから構成され、外部の移動装置に保持された状態で、プローブ駆動装置30の動作に伴うプローブ20の動きによってワーク表面を検出する。
プローブ駆動装置30は、第1〜第3測定軸系の各スライド機構50〜70と、姿勢検出器80とから成る。第1〜第3測定軸は、互いに平行でない3つの軸からなり、この測定ヘッド10の固有軸である。そのため、例えば鉛直下向きと各測定軸との交角は、測定ヘッド10の姿勢に応じて変化する。以下の説明では、互いに直交する3つの測定軸を使う。
第1測定軸系のスライド機構50は、第1スライダ51、第1スライダの案内用ガイド52、及び、スライダ駆動用の第1モータ53と、そのモータ動力の第1補助機構54と、第1測定軸のスケールセンサとを有する。第1スライダ51には第1モータ53によって駆動するボールネジが内蔵されている。第1スライダ51の一方の側面側には案内用ガイド52が設けられている。この案内用ガイド52の前面(第1スライダ51と対向する面)には第1スライダ51用のスライド面が形成されている。これにより、第1スライダ51は案内用ガイド52の前面に沿って第1測定軸方向にスライド可能な構成となっている。また、案内用ガイド52の背面は着脱部になっている。着脱部には、この測定ヘッド10を外部の移動装置に着脱するための治具が形成されている。
第2測定軸系のスライド機構60は、第1測定軸に直交する第2測定軸に関するもので、第1測定軸系のスライド機構50の下方に設けられている。スライド機構60は、第2スライダ61、第2スライダの案内用ガイド62、及び、スライダ駆動用の第2モータ63と、そのモータ動力の第2補助機構64と、第2測定軸のスケールセンサとを有する。ここで、第2ガイド62は、第1スライダ51の下面に固定されている。第2ガイド62の下面には第2スライダ61が設けられている。第2スライダ61は、第2ガイド62の下面に沿って第2測定軸方向にスライド可能な構成となっている。
第3測定軸系のスライド機構70は、第1および第2測定軸の両方と直交する第3測定軸に関するもので、第2測定軸系のスライド機構60の下方に設けられている。スライド機構70は、第3スライダ71、第3スライダの案内用ガイド(第2スライダ61と一体形成されている)、及び、スライダ駆動用の第3モータ73と、そのモータ動力の第3補助機構74と、第3測定軸のスケールセンサとを有する。第3スライダ71は、第2スライダ61の下面に形成されている第3スライダの案内用ガイドに設けられており、第2スライダ61の下面に沿って第3測定軸方向にスライド可能な構成となっている。
以下に、本発明に特徴的なモータ動力の補助機構54〜74について詳しく説明する。
第1補助機構54は、第1エアシリンダ(流体圧シリンダに相当)55、第1自動調圧レギュレータ(流体圧変更手段に相当)57及び第1電磁切換弁(流路切換手段に相当)56を備える。一組の第1エアシリンダ55は、第1測定軸方向に伸縮自在に配置され、第1スライダ51と第1ガイド52を接続する。丁度、第1スライダ51を挟むように2本の第1エアシリンダ55が配置され、ロッド側の先端が第1ガイド52から延設されたアーム部に固定され、反ロッド側の先端が第1スライダ51の側部に固定されている。
第1ガイド52には、測定ヘッド10の測定姿勢を検知する姿勢検出器80が取り付けられている。姿勢検出器80は、検出信号を制御装置40に送り、そこでヘッドの姿勢が判断される。第1自動調圧レギュレータ57は、制御回路40からの圧力指令値に基づいて、第1エアシリンダ55へ供給するエアー圧力を変更する。第1自動調圧レギュレータ57は、例えばダイヤフラム式の調圧機構を備えたものでもよい。指令値に応じて内蔵の電動機の回転力が変化し、ダイヤフラムへの押力が調整される。特に、チェック弁付きのレギュレータが好ましい。これは、第1エアシリンダ55の付勢方向とは逆方向にスライダ51を移動させる際に、第1自動調圧レギュレータ57の2次側に生じる背圧を逃がして、移動を円滑に行うためである。
第1電磁切換弁56は、第1自動調圧レギュレータ57からの圧縮空気の供給先を選ぶことができる。すなわち、第1エアシリンダ55のロッド側の供給口、反ロッド側の供給口のいずれか一方から他方に切り換える流路切換手段として機能する。一例として、3ポート、2ポジションのシングルソレノイド式の電磁切換弁を図1に示す。図1のようにソレノイドを励磁しない場合は、スプリング力でスプールが第1位置を維持し、圧縮空気がシリンダの反ロッド側供給口に送られる。シリンダのロッド側供給口は開放になる。一方、ソレノイドを励磁すれば、スプールが第2位置を維持し、第1自動調圧レギュレータ57からの圧縮空気がシリンダのロッド側供給口に送られる。シリンダの反ロッド側供給口は開放になる。
第1電磁切換弁56は、測定ヘッド10の測定姿勢が変化した際、具体的には対応する測定軸方向が水平方向をまたいで変化する場合に(例えば、測定軸の正の向きが水平方向よりも下向きの状態から上向きに変化した場合など)、エアーの供給先を切り換える。
第2補助機構64は、第2エアシリンダ65、第2電磁切換弁66及び第2自動調圧レギュレータ67を備える。一組の第2エアシリンダ65は、第2測定軸方向に伸縮自在に配置され、第2スライダ61と第2ガイド62を接続する。丁度、第2ガイド62を挟むように2本のエアシリンダ65が配置され、ロッド側の先端が第2スライダ61の上面に固定され、反ロッド側の先端が第2ガイド62の側部に固定されている。
第2自動調圧レギュレータ67は、姿勢検出手段80からの姿勢情報に基づいて、第2エアシリンダ65へ供給するエアー圧力を変更する。第2電磁切換弁66は、第2自動調圧レギュレータ67からのエアーの供給先をエアシリンダのロッド側の供給口および反ロッド側の供給口のいずれか一方から他方に切り換える。
第3補助機構74は、第3エアシリンダ75、第3電磁切換弁76及び第3自動調圧レギュレータ77を備える。一組の第3エアシリンダ75は、第3測定軸方向に伸縮自在に配置され、第3スライダ71と第3ガイド(第2スライダ61)を接続する。丁度、第2スライダ61を挟むように2本のエアシリンダ75が配置され、ロッド側の先端が第2スライダ61の側面に固定され、反ロッド側の先端が第3スライダ71の側部に固定されている。
第3自動調圧レギュレータ77は、第1、第2と同様に第3エアシリンダ75へのエアー圧力を変更する。第3電磁切換弁76は、第3自動調圧レギュレータ77からのエアーの供給先をエアシリンダのロッド側の供給口および反ロッド側の供給口のいずれか一方から他方に切り換える。
プローブ20は、先端に測定子が付いた棒状のスタイラスと、このスタイラスを支持する円筒状の支持部とから成る。スタイラスの支持部は、第3スライダ71に保持されている。
測定ヘッド10の制御装置40は、姿勢検出器80からの信号に基づいて、ヘッドの姿勢を判断するとともに、その姿勢に基づいて各自動調圧レギュレータ57,67,77へエアー圧力の指令値を送る。また、ヘッドの姿勢に基づいて電磁切換弁56,66,76へ選択した流路の指令値を送る。この制御装置40は、三次元測定機などの外部の移動装置の制御装置に組み込まれていてもよい。
測定ヘッド10の使用例を図2に示す。測定ヘッド10は、CNC三次元座標測定機100のスピンドル170に任意の姿勢で取り付けられている。三次元測定機100は、X軸テーブル120、Y軸及びZ軸スライダ150,160を各々動作させて測定ヘッド10を所望位置へ移動させる。三次元測定機100の各移動軸(X〜Z軸)に設けられたスケールセンサ(測定ヘッド10に内蔵のスケールセンサと区別する)が、テーブル120及びスライダ150,160の位置情報を検出し、三次元測定機100の制御装置に送る。制御装置は、これらの検出値によって測定ヘッド10の位置座標を得る。
次に、測定ヘッド10は、プローブ20を第1〜第3測定軸方向にスライドさせてワーク表面Wを検知させる。ワーク表面を検知した際の測定ヘッド10の各スライダ51,61,71の移動量を各々のスケールセンサが読み取って、三次元測定機100の制御装置に送る。制御装置は、これらの読取値によってワーク表面の位置座標を得る。
測定ヘッド10のプローブ駆動装置30だけの動作で、例えば、第1工程でプローブ20をワークWに接近させ、ワーク表面を検出する。そして、プローブ20を離間させた後、第2工程でプローブ20を次の測定位置に移動させる。その後、第1工程と同様にワーク表面を検出する。このような工程により、三次元測定機100のスピンドル170に保持された測定ヘッド10の位置や姿勢を変えずに、測定ヘッド10によるプローブ20の移動だけでワーク表面の座標測定ができる。
測定ヘッド10の測定姿勢は、姿勢検出器80の検出信号に基づいて制御装置40が判断する。制御手段40は、測定姿勢に応じた各自動調圧レギュレータ57〜77の圧力指令値を表データなどから読み出して、指令値をレギュレータに送る。制御装置40からの圧力指令値を受けて、各自動調圧レギュレータ57〜77は、内蔵された電動機の回転力を変化させて、接続するエアシリンダへの供給圧力を個別に調整する。また、制御装置40は、測定姿勢に応じて圧縮空気の流路を選択し、その流路への切換指令値を電磁切換弁56〜76に送る。
第1エアシリンダ55は、第1自動調圧レギュレータ57が調整したエアー圧力で第1スライダ51を付勢する。つまり、第1スライダ51を押すか、引くかである。各測定軸に対するエアー圧力の指令値は、各エアシリンダ55〜75の付勢力が各スライダ51〜71に作用する重力の測定軸方向の分力に相当する大きさになるように、設定されている。
制御装置40には、例えば、図3に示す関係に設定された測定姿勢とエアー圧力の表データが記憶されている。ここでは、鉛直下向きに対する第1〜第3測定軸の傾斜角θ1〜θ3を用いて測定姿勢を表す。説明上、各測定軸の正の向きを、エアシリンダのロッド側から反ロッド側を見る方向に定める(図1中の座標軸を参照)。
第1測定軸の第1エアシリンダ55に着目して説明する。
傾斜角θ1=0°(第1測定軸:鉛直下向き)の場合、エアー圧力を最大(100%)とし、供給先を反ロッド側とする。図3(A)参照。
θ=45°では、エアー圧力を71%とし、供給先を反ロッド側とする。図3(B)参照。
θ=90°(水平)の場合、エアー圧力を最小(0%)とする。供給先はどちらでもよいが、ここでは、直前の状態(例えば反ロッド側)を維持するものとする。図3(C)参照。
θ=135°では、エアー圧力を71%とし、供給先をロッド側とする。図3(D)参照。
θ=180°(鉛直上向き)の場合、エアー圧力を最大(100%)とし、供給先をロッド側とする。図3(E)参照。
なお、第1電磁切換弁56は、第1測定軸方向がどのように変化するか対応して、例えば次のように動作する。図3(C)のように第1測定軸が水平(θ=90°)になった場合は、その直前の傾き状態における流路を維持する。さらに第1測定軸が水平状態を超えて、逆方向に傾いた場合(θ<90°の傾斜からθ>90°の傾斜に変化した場合。又は、これとは逆に、θ>90°の傾斜からθ<90°の傾斜に変化した場合)は、エアーの供給先、つまり、流路を切り換える。
本実施形態の測定ヘッド10による効果について説明する。
(1)測定姿勢に応じて各スライダ51〜71に作用する重力の影響は大きく変化するが、測定ヘッド10の構成であれば、測定姿勢に応じて各エアシリンダ55〜75の付勢力を変更し、各スライダ51〜71に対して個別に調整した付勢力を加えるようにしたので、姿勢変化に伴う各モータ53〜73の負荷変動をゼロ若しくは非常に小さく抑えることができる。これにより、測定姿勢に依存しないモータの駆動性能が発揮され、測定ヘッドの性能・機能を損なわずに、あらゆる測定姿勢をとり得る測定ヘッド10を提供できる。
(2)図2のような門型のCNC三次元座標測定機100に測定ヘッドを適用するといった測定ヘッドの用途を拡大させることができる。
(3)三次元測定機100のスピンドル170への測定ヘッド10の取り付け姿勢の自由度が上がる。
(4)測定ヘッド10に追加する機械要素を実質的にエアシリンダ55〜75だけとすることができる。図7のバネを利用した場合とほとんど構造の変化がなくて済み、小型の測定ヘッドを維持し易い。
なお、図4に本実施形態に係る測定ヘッドの変形例を示す。すなわち、上記の測定ヘッド10の構成にさらに姿勢変更手段90を設けることで、測定ヘッド10Aに自己姿勢変更機能を付与することができる。図4の姿勢変更手段90は、一例に過ぎないが、三次元測定機100のスピンドル170に着脱自在なベース部91と、このベース部91に保持された球状部92とを有する。球状部92は、ベース部91に対して姿勢を任意に変えられるように支持されている。このような球状部92に測定ヘッド10Aの第1ガイド52を固定すればよい。つまり、スピンドル170に対するベース部91の取付姿勢を変えなくても、取付け後に、プローブ20の向きを姿勢変更手段90の可動範囲内で自由に変更することができる。
この変形例では、姿勢変更手段90が、三次元測定機100のスピンドル170と測定ヘッド10の第1ガイド52の間に設けた。一方、図4の姿勢変更手段90を、図1に示した測定ヘッド10の第3スライダ71とプローブ20の間に設ける場合もある。しかし、こうすると姿勢変更手段90の自重が各スライダ51〜71に作用してしまう。つまり、測定ヘッド10の末端質量が増加することになり、測定ヘッド10の固有振動数の低下や、測定の高速化の障害になり易い。従って、前述の変形例の測定ヘッド10Aの方が優れている。
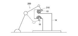
次に、本発明の第二実施形態に係る多関節型の三次元測定機について図面に基づいて説明する。図5は前述の実施形態の測定ヘッド10を、ロボットアーム200のような多関節型の移動装置に適用した三次元測定機を示す。ロボットアーム200によって測定ヘッド10を所望の位置および姿勢に保持することができるので、例えば、ベルトコンベヤで運搬される大型の製品や部品を、その状態のままオンラインで測定できる。
図6に基づいて、この多関節型の三次元測定機による測定方法の一例を説明する。
ロボットアーム200が、図示しない交換ラックに掛けられている測定ヘッド10を取りにいく。
次に、測定ヘッド10は、ロボットアーム200先端の保持部210に保持された状態で、ベルトコンベヤ上の加工部品Wの測定箇所へ持っていかれ、所望の姿勢に維持される。
次に、前述の姿勢検出器80(図1)によって測定ヘッド10の姿勢を検出し、その姿勢に応じて各測定軸のエアシリンダ55〜75への供給エアーの流路を決定し、エアー圧力を調整する。
次に、測定ヘッド10を単独で動作させて、プローブ20により測定箇所の表面性状を測定する。
測定後は、測定ヘッド10を保持したまま次の測定指令を待ってもよいし、測定ヘッド10をラックに戻して他の測定や加工などの作業に進んでもよい。
このように多関節型の三次元測定機への測定ヘッド10の適用といった用途が可能になった。すなわち、測定ヘッド10にエアシリンダ55〜75を利用したモータ動力の補助機構54〜74を設けたので、どのような測定姿勢でも測定ヘッド10のモータ駆動が安定する。従って、本実施形態のような複雑な動きをするロボットアーム200に測定ヘッド10を取り付ける場合であっても、測定ヘッド10のプローブ駆動機構30が測定姿勢の違いに基づく重力の影響を受けにくく、測定ヘッド10の安定測定が実現した。
10,10A 測定ヘッド
20 プローブ
30 プローブ駆動装置
40 制御装置
50,60,70 第1〜第3スライド機構
51,61,71 第1〜第3スライダ
52,62 第1,第2ガイド
53,63,73 第1〜第3モータ
54,64,74 第1〜第3補助機構
55,65,75 第1〜第3エアシリンダ(第1〜第3流体圧シリンダ)
56,66,76 第1〜第3電磁切換弁(第1〜第3流路切換手段)
57,67,77 第1〜第3自動調圧レギュレータ(第1〜第3流体圧変更手段)
80 姿勢検出器(姿勢検出手段)
100 門型の三次元測定機(移動装置)
200 ロボットアーム(移動装置)

Claims (3)

  1. 第1測定軸用の第1スライダ、案内用の第1ガイド、及び、駆動用の第1モータと、
    前記第1測定軸と平行でない第2測定軸用の第2スライダ、前記第1スライダに固定された案内用の第2ガイド、及び、駆動用の第2モータと、
    前記第2スライダに保持されたワーク検知用のプローブと、
    を備え、前記各スライダの移動に伴って前記プローブにワーク表面を検出させる測定ヘッドであって、
    該測定ヘッドは、外部の任意の移動装置に前記第1ガイドを介して着脱可能であり、
    前記第1スライダと前記第1ガイドを接続し前記第1測定軸方向に伸縮自在の第1流体圧シリンダと、
    前記第2スライダと前記第2ガイドを接続し前記第2測定軸方向に伸縮自在の第2流体圧シリンダと、
    該測定ヘッドの測定姿勢に応じて、前記第1流体圧シリンダ及び前記第2流体圧シリンダへ供給する流体の圧力を変更する第1流体圧変更手段および第2流体圧変更手段と、
    を備えることを特徴とする測定ヘッド。
  2. 請求項1記載の測定ヘッドにおいて、さらに、該測定ヘッドの測定姿勢を検知する姿勢検出手段を備え、
    前記各流体圧変更手段は、前記姿勢検出手段からの姿勢情報に基づいて前記流体の圧力を変更することを特徴とする測定ヘッド。
  3. 請求項1または2記載の測定ヘッドにおいて、
    前記第2スライダと前記プローブの間に、前記第1測定軸および前記第2測定軸のいずれとも平行でない第3測定軸用の第3スライダと、前記第2スライダに固定された案内用の第3ガイドと、駆動用の第3モータとが設けられ、
    前記プローブは、前記第3ガイドおよび前記第3スライダを介在して、前記第2スライダに保持され、
    該測定ヘッドは、さらに、前記第3スライダと前記第3ガイドを接続し前記第3測定軸方向に伸縮自在の第3流体圧シリンダと、
    該測定ヘッドの測定姿勢に応じて、前記第3流体圧シリンダへ供給する流体の圧力を変更する第3流体圧変更手段と、を備えることを特徴とする測定ヘッド。
JP2017061952A 2017-03-27 2017-03-27 測定ヘッド Expired - Fee Related JP6830386B2 (ja)

Priority Applications (4)

Application Number Priority Date Filing Date Title
JP2017061952A JP6830386B2 (ja) 2017-03-27 2017-03-27 測定ヘッド
US15/933,840 US10551184B2 (en) 2017-03-27 2018-03-23 Measuring head
DE102018204654.9A DE102018204654A1 (de) 2017-03-27 2018-03-27 Messkopf
CN201810259347.6A CN108662996B (zh) 2017-03-27 2018-03-27 测头

Applications Claiming Priority (1)

Application Number Priority Date Filing Date Title
JP2017061952A JP6830386B2 (ja) 2017-03-27 2017-03-27 測定ヘッド

Publications (2)

Publication Number Publication Date
JP2018163125A JP2018163125A (ja) 2018-10-18
JP6830386B2 true JP6830386B2 (ja) 2021-02-17

Family

ID=63450657

Family Applications (1)

Application Number Title Priority Date Filing Date
JP2017061952A Expired - Fee Related JP6830386B2 (ja) 2017-03-27 2017-03-27 測定ヘッド

Country Status (4)

Country Link
US (1) US10551184B2 (ja)
JP (1) JP6830386B2 (ja)
CN (1) CN108662996B (ja)
DE (1) DE102018204654A1 (ja)

Families Citing this family (5)

* Cited by examiner, † Cited by third party
Publication number Priority date Publication date Assignee Title
JP6830386B2 (ja) * 2017-03-27 2021-02-17 株式会社ミツトヨ 測定ヘッド
CN110243323B (zh) * 2019-06-18 2024-10-29 苏州博达特机电科技有限公司 一种用于鲁班锁的在线测量装置
CN111679137A (zh) * 2020-05-26 2020-09-18 江西源盛泰电子科技有限公司 一种背光屏检测治具
JP2022037326A (ja) * 2020-08-25 2022-03-09 株式会社オプティム プログラム、方法、及びシステム
CN116678741B (zh) * 2023-05-31 2023-10-27 涿州市紫阳机械设备科技有限公司 一种具有检测功能的机械零部件加工设备

Family Cites Families (19)

* Cited by examiner, † Cited by third party
Publication number Priority date Publication date Assignee Title
US4389781A (en) * 1981-08-10 1983-06-28 The Bendix Corporation Pneumatic counterbalance for a coordinate measuring machine
DE4424225A1 (de) * 1994-07-09 1996-01-11 Zeiss Carl Fa Tastkopf für Koordinatenmeßgeräte
DE10100350A1 (de) * 2001-01-05 2002-07-11 Zeiss Carl Tastkopf für ein Koordinatenmeßgerät
JP4330388B2 (ja) * 2003-07-28 2009-09-16 株式会社ミツトヨ 倣いプローブ
US7395607B1 (en) * 2005-06-14 2008-07-08 Discovery Technology International, Lllp Rotational and translational microposition apparatus and method
EP2092269B1 (en) * 2006-11-20 2019-05-01 Hexagon Technology Center GmbH Coordinate measurement machine with improved joint
JP5371532B2 (ja) 2009-04-23 2013-12-18 株式会社ミツトヨ 三次元測定機
JP5451180B2 (ja) * 2009-05-22 2014-03-26 株式会社ミツトヨ 真円度測定機
JP2011135751A (ja) * 2009-12-25 2011-07-07 Nikon Corp 駆動装置および測定装置
US8432119B2 (en) * 2010-04-14 2013-04-30 Babcock & Wilcox Technical Services Y-12, Llc Method and apparatus for characterizing and enhancing the functional performance of machine tools
CN103562672B (zh) * 2011-01-19 2016-09-28 瑞尼斯豪公司 用于机床设备的模拟测量探头
CN201983771U (zh) * 2011-03-22 2011-09-21 青岛麦科三维测量设备有限公司 气动平衡装置及三坐标测量机
JP6611168B2 (ja) * 2015-04-07 2019-11-27 株式会社ミツトヨ プローブ測定力調整装置
JP6649013B2 (ja) * 2015-08-27 2020-02-19 株式会社ミツトヨ プローブヘッド回転機構
JP6584892B2 (ja) 2015-09-24 2019-10-02 ジヤトコ株式会社 車両のセーリングストップ制御方法及び制御装置
JP6769764B2 (ja) * 2016-07-19 2020-10-14 株式会社ミツトヨ 測定プローブ及び測定装置
DE102017100992A1 (de) * 2017-01-19 2018-07-19 Carl Mahr Holding Gmbh Messvorrichtung und Verfahren zum Betreiben einer Messvorrichtung
JP2018151187A (ja) * 2017-03-10 2018-09-27 株式会社島津製作所 走査型プローブ顕微鏡
JP6830386B2 (ja) * 2017-03-27 2021-02-17 株式会社ミツトヨ 測定ヘッド

Also Published As

Publication number Publication date
US20180274914A1 (en) 2018-09-27
JP2018163125A (ja) 2018-10-18
DE102018204654A1 (de) 2018-09-27
CN108662996A (zh) 2018-10-16
CN108662996B (zh) 2021-09-10
US10551184B2 (en) 2020-02-04

Similar Documents

Publication Publication Date Title
JP6830386B2 (ja) 測定ヘッド
US7076883B2 (en) Scanning probe
JP4875180B2 (ja) 微細接触力調整機構を有する接触式計測装置
CA2807204C (en) Device for error correction for cnc machines
US10107618B2 (en) Coordinate measuring machine
CN102564368B (zh) 坐标测量用测头单元及坐标测量机
CN105716559A (zh) 坐标测量机、探测系统以及补偿探针元件处的力的方法
US20160084631A1 (en) Roundness measurement device and control method
US10422629B2 (en) Method and apparatus for determining a plurality of spatial coordinates on a measurement object
JP5355037B2 (ja) 精度測定方法及び数値制御工作機械の誤差補正方法並びに誤差補正機能を有した数値制御工作機械
EP2141445B1 (en) Measuring instrument
JP2008241608A (ja) ワーク基準点機上検出方法及びその方法を用いた加工装置
JP6800421B1 (ja) 測定装置及び測定方法
JP2020517939A (ja) 測定装置カウンターバランス
US20070180962A1 (en) Control method for a machine tool with numerical control
CN113950650B (zh) 调整量推定装置、调整量推定方法及记录介质
JP2025036506A (ja) 形状測定装置
JP2010201581A (ja) 工作機械のワーク姿勢制御装置
JP7637329B2 (ja) 形状測定装置
JP2008279535A (ja) 加工装置、および加工方法
CN109397090A (zh) 测量装置
JP2005249710A (ja) 形状測定機
KR101369857B1 (ko) 이동식 3차원 치수 측정장치
JP2002154028A (ja) 加工装置の移動ステージ機構
KR101307195B1 (ko) 이동식 3차원치수 측정장치

Legal Events

Date Code Title Description
A621 Written request for application examination

Free format text: JAPANESE INTERMEDIATE CODE: A621

Effective date: 20200213

A977 Report on retrieval

Free format text: JAPANESE INTERMEDIATE CODE: A971007

Effective date: 20201217

TRDD Decision of grant or rejection written
A01 Written decision to grant a patent or to grant a registration (utility model)

Free format text: JAPANESE INTERMEDIATE CODE: A01

Effective date: 20210105

A61 First payment of annual fees (during grant procedure)

Free format text: JAPANESE INTERMEDIATE CODE: A61

Effective date: 20210126

R150 Certificate of patent or registration of utility model

Ref document number: 6830386

Country of ref document: JP

Free format text: JAPANESE INTERMEDIATE CODE: R150

LAPS Cancellation because of no payment of annual fees