JP6763243B2 - 光照射器 - Google Patents

光照射器 Download PDF

Info

Publication number
JP6763243B2
JP6763243B2 JP2016174200A JP2016174200A JP6763243B2 JP 6763243 B2 JP6763243 B2 JP 6763243B2 JP 2016174200 A JP2016174200 A JP 2016174200A JP 2016174200 A JP2016174200 A JP 2016174200A JP 6763243 B2 JP6763243 B2 JP 6763243B2
Authority
JP
Japan
Prior art keywords
light
window member
lamp
processed
transmitting window
Prior art date
Legal status (The legal status is an assumption and is not a legal conclusion. Google has not performed a legal analysis and makes no representation as to the accuracy of the status listed.)
Active
Application number
JP2016174200A
Other languages
English (en)
Other versions
JP2018040915A (ja
Inventor
優 塩崎
優 塩崎
鶴岡 和之
和之 鶴岡
Current Assignee (The listed assignees may be inaccurate. Google has not performed a legal analysis and makes no representation or warranty as to the accuracy of the list.)
Ushio Denki KK
Original Assignee
Ushio Denki KK
Priority date (The priority date is an assumption and is not a legal conclusion. Google has not performed a legal analysis and makes no representation as to the accuracy of the date listed.)
Filing date
Publication date
Application filed by Ushio Denki KK filed Critical Ushio Denki KK
Priority to JP2016174200A priority Critical patent/JP6763243B2/ja
Publication of JP2018040915A publication Critical patent/JP2018040915A/ja
Application granted granted Critical
Publication of JP6763243B2 publication Critical patent/JP6763243B2/ja
Active legal-status Critical Current
Anticipated expiration legal-status Critical

Links

Images

Landscapes

  • Diffracting Gratings Or Hologram Optical Elements (AREA)
  • Exposure Of Semiconductors, Excluding Electron Or Ion Beam Exposure (AREA)
  • Cleaning Or Drying Semiconductors (AREA)

Description

本発明は、真空紫外線を利用した光照射器に関する。さらに詳しくは、半導体素子や液晶パネル等の製造工程におけるレジストの光アッシング処理、ナノインプリント法におけるテンプレートのパターン面に付着したレジストの除去処理、液晶用ガラス基板やシリコンウエハ等のドライ洗浄処理、プリント基板製造工程におけるデスミア処理などに好適に適用することができる光照射器に関する。
従来、半導体素子や液晶パネル等の製造工程においては、レジストの光アッシング処理や、ガラス基板およびシリコンウエハなどに対するドライ洗浄処理が行われる。これらの処理を実行するための手法としては、真空紫外線を利用する光洗浄処理が知られている。
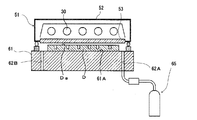
真空紫外線を利用する光洗浄処理においては、真空紫外線を含む光を放射する紫外線ランプを備えた光照射器が光洗浄装置として用いられている。そして、光照射器の或る種のものは、図3に示すように、被処理物Dを載置する載置台61と、紫外線ランプ30を有する光源ユニット51とを備えている(例えば、特許文献1参照。)。
この光照射器において、光源ユニット51は、下面に開口部を有する略直方体の箱型形状のケーシング52を備えており、当該開口部に平板状の光透過窓部材53が気密に配設されたものである。ここに、光透過窓部材53としては、例えば合成石英ガラスなどの真空紫外線透過性材料よりなるものが用いられる。また、ケーシング52の内部には、複数(図3の例においては5本)の紫外線ランプ30が平行に並ぶよう配置され、不活性ガスが充填されている。
また、載置台61は、光源ユニット51の下方において、当該載置台61の被処理物載置面61Aが、間隙を介して光透過窓部材53に対向するよう配置されている。この載置台61には、ガス供給用孔62Aとガス排出用孔62Bとが形成されており、当該ガス供給用孔62Aは、ガス供給手段65に接続されている。このガス供給手段65は、真空紫外線を受けることによって活性種が生成される活性種源を含有する処理用ガスを、載置台61に載置された被処理物Dと光透過窓部材53との間に形成される間隙に供給するものである。
このような構成の光照射器においては、光洗浄処理中には、複数の紫外線ランプ30が一斉に点灯され、当該複数の紫外線ランプ30からの真空紫外線が、光透過窓部材53を介して、載置台61に載置された被処理物Dに照射されると共に、当該被処理物Dと当該光透過窓部材53との間の間隙を流通する処理用ガスにも照射される。そして、処理用ガスに真空紫外線が照射されることにより、当該処理用ガスに含まれる活性種源が分解されて活性種が生成される。その結果、被処理物Dの被処理面Daに到達する真空紫外線、および、真空紫外線により生成される活性種によって、被処理面Daの光洗浄処理が行われる。
特開2015−111611号公報
真空紫外線を利用する光洗浄処理においては、被処理物の被処理面の温度が上昇するに従って活性種による作用(光洗浄作用)が大きくなり、光洗浄処理を効率よく行うことができる。そのため、光照射器としては、載置台に、被処理物を80〜400℃程度に加熱する加熱手段が設けられたものがある。
しかしながら、被処理物が加熱されることによれば、黒体輻射(黒体放射)により当該被処理物から赤外線(熱線)が放射され、その赤外線が光透過窓部材を透過して紫外線ランプに吸収されることから、当該紫外線ランプが加熱されることとなる。また、紫外線ランプは、加熱手段が設けられた載置台からの直接の熱輻射(熱放射)によっても加熱される。そして、紫外線ランプが加熱されることによれば、当該紫外線ランプのランプ温度が上昇し、発光管(発光管を構成するガラス)の紫外線透過率の低下を招き、また特に紫外線ランプとしてキセノンエキシマランプを用いた場合には、キセノンエキシマ分子の発光効率の低下を招く。そのため、被処理物および処理用ガスに対して効率的に真空紫外線を照射することができなくなり、結果として、光洗浄処理の効率を低下させることになる。
この光照射器における、紫外線ランプが加熱されることに起因する光洗浄処理の効率低下の問題は、載置台に加熱手段が設けられている場合に顕著であるが、加熱手段が設けられていない場合においても生じるものである。具体的に説明すると、光照射器においては、載置台に加熱手段が設けられていない場合においても、紫外線を吸収した被処理物の輻射熱(放射熱)が光透過窓部材を透過して紫外線ランプに吸収され、その結果、紫外線ランプが加熱される。
光照射器において、熱輻射(熱放射)から紫外線ランプを遮蔽するために、光透過窓部材の表面に、赤外線カットフィルタを配設することが考えられる。
しかしながら、光透過窓部材において、赤外線カットフィルタを、紫外線ランプ側の表面に配設した場合には、当該赤外線カットフィルタの構成物質が真空紫外線によって分解され、その分解生成物が紫外線ランプに付着することに起因して、当該紫外線ランプに係る照度が低下する、という問題がある。また、載置台側の表面に配設した場合においても、赤外線カットフィルタに真空紫外線が照射されることによって生じる分解生成物(赤外線カットフィルタの構成物質由来の分解生成物)が、被処理物の表面に付着して、当該被処理物が汚染する、という問題がある。
このように、光照射器において、光透過窓部材の表面に赤外線カットフィルタを配設することは、現実的ではない。
本発明は、以上のような事情に基づいてなされたものであって、その目的は、加熱状態にある被処理物の輻射熱(放射熱)によって紫外線ランプが加熱されることを抑制することができ、よって加熱状態にある被処理物に対して効率よく真空紫外線を照射することのできる光照射器を提供することにある。
本発明の光照射器は、加熱状態にある被処理物を載置する載置台と、
前記載置台上の被処理物に対して真空紫外線を照射する紫外線ランプと、
前記被処理物と前記紫外線ランプとの間に位置される光透過窓部材と
を有する光照射器において、
前記光透過窓部材は、少なくとも前記被処理物の側の表面にフォトニック構造を有しており、
前記フォトニック構造は、前記真空紫外線のピーク波長の透過率が、前記加熱状態にある被処理物からの放射光のピーク波長の透過率よりも高いものであり、
前記載置台は、前記光透過窓部材と前記被処理物との間隔を3mm以下に設定可能に構成されていることを特徴とする。
本発明の光照射器においては、前記紫外線ランプは、ピーク波長が172nmの光を放射するキセノンエキシマランプであり、
前記フォトニック構造は、複数の凸部が周期的に配列されることによって構成されており、当該凸部のピッチP〔μm〕と当該凸部の幅W〔μm〕と当該凸部の高さH〔μm〕とが下記の関係式(1)〜関係式(3)を満たすことが好ましい。
関係式(1):
1.5≦P≦8.0
関係式(2):
W=P/2
関係式(3):
(1・W)≦H≦(5・W)
本発明の光照射器においては、光透過窓部材が、少なくとも被処理物の側の表面にフォトニック構造を有しており、当該フォトニック構造が、紫外線ランプからの真空紫外線のピーク波長の透過率が、加熱状態にある被処理物からの放射光のピーク波長の透過率よりも高いものとされ、光透過窓部材と前記被処理物との間隔を3mm以下としている。そのため、加熱状態にある被処理物の熱輻射(熱放射)によって紫外線ランプが加熱されることを抑制することができ、よって加熱状態にある被処理物に対して効率よく真空紫外線を照射することができる。
本発明の光照射器の構成の一例を、被処理物と共に示す説明用断面図である。 図1の光照射器における光透過窓部材のフォトニック構造を示す説明図である。 光洗浄装置として用いられる、従来の光照射器の構成の一例を、被処理物と共に示す説明用断面図である。
以下、本発明の光照射器の実施の形態について説明する。
図1は、本発明の光照射器の構成の一例を、被処理物と共に示す説明用断面図である。
この光照射器10は、加熱状態にある被処理物Dに対して真空紫外線(具体的には、波長222nm以下の紫外線)を照射することにより、当該被処理物Dを処理するものであり、例えば略平板状の被処理物Dが載置される載置台15と、当該載置台15の平坦な被処理物載置面15Aの上方に配設された、真空紫外線を含む光を放射する紫外線ランプ30を具備する光源ユニット20とを備えている。ここに、本明細書中において、「加熱状態にある被処理物」とは、被処理物に対して真空紫外線を照射する紫外線ランプとは別個に設けられた専用の加熱手段によって加熱されること、および、紫外線ランプからの光が照射されることに伴って加熱されることなどにより、被処理面の温度が250℃以上とされた被処理物を示す。
光照射器10において、載置台15は、上方(図1における上方)に開口を有する略直方体の箱型形状のケーシング11の内部に配置されている。このケーシング11の開口は、光源ユニット20によって閉塞されている。このように、内部に載置台15が配置されたケーシング11の開口が光源ユニット20によって閉塞されることにより、光源ユニット20の下方(図1における下方)に処理室S1が形成されている。
この図の例において、載置台15は、直方体状の形状を有しており、ケーシング11の内部において、当該ケーシング11の各側面部の内面に接触しない状態で当該ケーシング11の底面部11Aの中央部分に配置されている。また、載置台15においては、被処理物載置面15Aの中央部分に、光源ユニット20からの光(複数の紫外線ランプ30からの光)の照度の面内均一性の高い領域、すなわち有効照射領域が形成されている。この有効照射領域には被処理物Dが載置される。また、ケーシング11においては、互いに対向する側面部11B,11Cに、載置台15を介して対向するように、側面部11Bにはガス供給用孔12Aが形成され、側面部11Cにはガス排出用孔12Bが形成されている。ガス供給用孔12Aには、ガス供給手段(図示省略)が接続されている。
また、載置台15には、被処理物Dを加熱する加熱手段(図示省略)が設けられていることが好ましい。
載置台15に加熱手段が設けられていることによれば、被処理物Dを、被処理面Daが均一に加熱された状態とすることができる。そのため、被処理面Daを、高い均一性で効率的に処理することができる。
この図の例において、載置台15には、ヒータよりなる加熱手段が設けられており、当該加熱手段は、被処理物Dを、被処理面Daの温度が400〜500℃程度となるように加熱することのできるものである。
光源ユニット20は、下面部21Aに開口部を有する直方体の箱型形状のランプハウス21を備えている。このランプハウス21の開口部には、光透過窓部材40が気密に設けられている。このようにして、ランプハウス21の内部には、密閉されたランプ室S2が形成されている。このランプ室S2は、ランプハウス21の下面部21Aおよび光透過窓部材40によって処理室S1と分離されている。
そして、ランプハウス21の内部、すなわちランプ室S2には、複数(図1の例においては5本)の棒状の紫外線ランプ30が、光透過窓部材40に対向して配設されている。これらの複数の紫外線ランプ30は、中心軸が光透過窓部材40に平行な同一水平面内において互いに平行に伸びるよう一定の間隔(図1においては等間隔)で並列している。これらの複数の紫外線ランプ30には、冷却手段(図示省略)が設けられている。ここに、冷却手段は、空冷ブロックまたは水冷ブロックよりなり、紫外線ランプ30を250℃以下に冷却することのできるものである。紫外線ランプ30を冷却する冷却手段が設けられていることにより、紫外線ランプ30が過熱されることに起因して生じる弊害の発生をより一層抑制することができる。具体的には、発光管(具体的には、発光管を構成するガラス)の紫外線透過率(具体的には、真紫外線透過率)の低下を抑制することができ、また、特に紫外線ランプ30としてエキシマランプを用いた場合には、エキシマ分子が乖離することに起因する発光効率の低下を抑制することができる。また、ランプ室S2には、載置台15に載置された被処理物Dの被処理面Daに対して、複数の紫外線ランプ30からの光(真空紫外線)を有効に利用して均一照射することができるよう、当該複数の紫外線ランプ30の上方に、共通の反射ミラー31が配設されている。また、ランプハウス21には、ランプ室S2において複数の紫外線ランプ30からの真空紫外線が大気(酸素)に吸収されることのないように、例えば窒素ガスなどの不活性ガスによって当該ランプ室S2の内部をパージするパージ手段(図示省略)が設けられている。
紫外線ランプ30としては、真空紫外線を含む光を放射するものであれば、公知の種々のランプを用いることができる。
紫外線ランプ30の具体例としては、ピーク波長(中心波長)が172nmの光(真空紫外線)を放射するキセノンエキシマランプ(Xe2 エキシマランプ)、および、ピーク波長(中心波長)が146nmの光(真空紫外線)を放射するクリプトンエキシマランプ(Kr2 エキシマランプ)、および、ピーク波長(中心波長)が222nmの光(真空紫外線)を放射するクリプトンクロライドエキシマランプ(KrClエキシマランプ)などが挙げられる。そして、これらのうちでは、発光効率および高照度照射の観点から、ピーク波長が172nmの光を放射するキセノンエキシマランプが好適に用いられる。
この図の例においては、紫外線ランプ30として、ピーク波長が172nmの光を放射する、円棒状のキセノンエキシマランプが用いられている。
光透過窓部材40は、略平板状であって、上面41Aが複数の紫外線ランプ30と対向し、かつ、下面41Bが載置台15の被処理物載置面15Aと対向するように配設される。すなわち、光源ユニット20を構成する複数の紫外線ランプ30は、光透過窓部材40を介して被処理物載置面15Aと対向するように配設されている。このようにして、光透過窓部材40は、載置台15の被処理物載置面15Aに載置された被処理物Dと複数の紫外線ランプ30との間に位置するように配置される。
この図の例において、光透過窓部材40は、載置台15に載置された被処理物Dの被処理面Daに僅かな間隙を介して対向するように配置されている。この光透過窓部材40と被処理物Dとの間隙の厚みは、処理効率の観点から、3mm以下、好ましくは1mm以下とされる。
そして、光透過窓部材40は、両面(具体的には、上面41Aおよび下面41B)または片面に、フォトニック構造45を有している。ここに、本明細書中において、「フォトニック構造」とは、屈折率が周期的に変化する2次元または3次元の凹凸構造を示す。具体的には、表面において複数の凸部が設けられ、それらの複数の凸部が周期的に配列されることによって構成されてなる凹凸構造(図2参照)、および、表面に複数の凹部が設けられ、それらの複数の凹部が周期的に配列されることによって構成されてなる凹凸構造などを示す。
このフォトニック構造45は、紫外線ランプ30からの光における真空紫外線のピーク波長の透過率(以下、「ランプ真空紫外線透過率」ともいう。)が、加熱状態にある被処理物Dからの放射光のピーク波長の透過率(以下、「被処理物赤外線透過率」ともいう。)よりも高いものである。ここに、本明細書中において、「被処理物からの放射光のピーク波長」とは、加熱状態にある被処理物において黒体輻射(黒体放射)により放射される放射光(具体的には、赤外線を含む光)のピーク波長、すなわち黒体放射スペクトルにおけるピーク波長を示す。
具体的に説明すると、フォトニック構造45は、屈折率が周期的に変化する凹凸構造の光学特性を利用して、紫外線ランプ30からの光(真空紫外線)および加熱状態にある被処理物Dからの放射光(赤外線)の反射および透過を、波長選択的に制御することにより、ランプ真空紫外線透過率を、被処理物赤外線透過率よりも高くしたものである。ここに、「屈折率が周期的に変化する凹凸構造の光学特性」とは、屈折率が周期的に変化する凹凸構造(フォトニック構造)において、「フォトニックバンドギャップ」と称される光の禁止帯が形成され、その禁止帯にて、或る特定の波長域の光が進行することができなくなる、という特性を示す。
この図の例において、光透過窓部材40は、両面(上面41Aおよび下面41B)にフォトニック構造45を有しており、当該両面の各々に形成されたフォトニック構造45は、いずれも、複数の凸部46が2次元周期的に配列されることによって構成されてなる凹凸構造(2次元凹凸構造)よりなるものである。また、光透過窓部材40の両面において、フォトニック構造45は、中央部分に形成されており、上面41Aにおけるフォトニック構造45の形成領域と、下面41Bにおけるフォトニック構造45の形成領域とは、互いに対向している。
光透過窓部材40が両面または片面にフォトニック構造45を有しており、当該フォトニック構造45が、ランプ真空紫外線透過率が被処理物赤外線透過率よりも高いものであることにより、当該光透過窓部材40が赤外線(具体的には、加熱状態にある被被処理物Dからの放射光に含まれる赤外線)を選択的に遮蔽する機能(具体的には、反射する機能)を有するものとなる。すなわち、光透過窓部材40が、真空紫外線透過性を損なうことなく、赤外線に対する遮蔽機能(反射機能)を有するものとなる。
光透過窓部材40のフォトニック構造45は、図2に示されているように、複数の凸部46が周期的に配列されることによって構成されてなる凹凸構造(以下、「凸部配列凹凸構造」ともいう。)であることが好ましい。その凸部配列凹凸構造を構成する複数の凸部46の形状は、柱状のものであることが好ましく、その柱状形状の具体例としては、例えば、円柱状および角柱状(具体的には、直四角柱状等)などが挙げられる。
そして、凸部配列凹凸構造の形状は、紫外線ランプ30の種類などに応じ、被処理物Dの加熱状態(被処理面Daの温度)などを考慮して適宜に定められる。
具体的には、凸部配列凹凸構造の形状は、紫外線ランプ30が、ピーク波長が172nmの光(真空紫外線)を放射するキセノンエキシマランプよりなる場合には、凸部46のピッチP〔μm〕と凸部46の幅W〔μm〕と凸部46の高さH〔μm〕とが下記の関係式(1)〜関係式(3)を満たすことが好ましい。
関係式(1):
1.5≦P≦8.0
関係式(2):
W=P/2
関係式(3):
(1・W)≦H≦(5・W)
光透過窓部材40のフォトニック構造45が上記の関係式(1)〜関係式(3)を満たすことにより、当該フォトニック構造45を、ランプ真空紫外線透過率が被処理物赤外線透過率よりも高いものとすることができる。
具体的には、凸部46のピッチPが4μmであって凸部46の幅Wが2μmであり、凸部46の高さHが8μmである形状、凸部46のピッチPが7μmであって凸部46の幅Wが3.5μmであり、凸部46の高さHが17.5μmである形状、および、凸部46のピッチPが8μmであって凸部46の幅Wが4μmであり、凸部46の高さHが12μmである形状などが挙げられる。
光透過窓部材40において、フォトニック構造45は、少なくとも下面41Bに形成されていることが好ましい。すなわち、光透過窓部材40が片面にフォトニック構造45を有するものである場合には、当該フォトニック構造45が下面41Bに形成されていることが好ましい。
また、光透過窓部材40においては、上面41Aおよび下面41Bの両方にフォトニック構造45が形成されていることがより好ましい。
具体的に説明すると、2次元の凹凸構造よりなるフォトニック構造では、当該フォトニック構造が設けられた面に対して垂直に入射する光、および当該面に対して垂直入射に近い角度(具体的には、例えば20°程度)で入射する低角度成分の光は、有効に反射することができる。然るに、フォトニック構造が設けられた面に対する入射角度が高角度(具体的には、例えば50°〜60°程度以上)の高角度成分の光は、入射角度が高くなるに従い、反射率が低下する。よって、光透過窓部材40においては、フォトニック構造45が、少なくとも、より被処理物Dの近くに位置する下面41Bに形成されていることが好ましい。
また、光透過窓部材40において、下面41Bと共に上面41Aにもフォトニック構造45を設けることにより、上面41Aにおいても、或る特定の波長域の光が進行することができなくなることから、より有効に特定の波長域をカットすることが可能になる。
また、光透過窓部材40が両面にフォトニック構造45を有するものである場合には、上面41Aにおけるフォトニック構造45と下面41Bにおけるフォトニック構造45とは、同一の形状を有していてもよく、異なる形状を有していてもよい。
この図の例において、上面41Aにおけるフォトニック構造45と下面41Bにおけるフォトニック構造45とは、同一の形状を有しており、光透過窓部材40の厚み方向に垂直な平面に関して面対称とされている。
光透過窓部材40を構成する材料としては、紫外線ランプ30からの真空紫外線に対して透過性を有し、必要に応じて、処理室S1に供給される処理用ガスおよび処理室S1において生じる生成ガス(具体的には、処理用ガスに真空紫外線が照射されることによって生じるガス、および、被処理面Daが処理されることによって生じるガス等)に対する耐性を有するものが用いられる。
光透過窓部材40を構成する材料の具体例としては、例えば石英ガラスが挙げられる。この石英ガラスは、真空紫外線透過性を有すると共に、加熱状態にある被処理物Dからの放射光(赤外線)に対する透過性を有するものである。
また、光透過窓部材40の厚みは、例えば3〜10mmである。
このように両面または片面にフォトニック構造45を有する光透過窓部材40は、例えば、ナノインプリント法により、製造することができる。
ガス供給手段から供給される処理用ガスとしては、活性種源を含むものが用いられる。
処理用ガスに含まれる活性種源としては、真空紫外線を受けることによって活性種が生成されるものが挙げられる。活性種源の具体例としては、活性種として、酸素(O2 )およびオゾン(O3 )などの酸素ラジカルを生じさせるものなどが挙げられる。
このような光照射器10においては、紫外線ランプ30からの光(真空紫外線)を、加熱状態にある被処理物Dの被処理面Daに対して、光透過窓部材40を介して照射することにより、被処理物Dの表面処理が行われる。
具体的に説明すると、先ず、被処理物Dが配置された処理室S1に、処理用ガスが、ガス供給用孔12Aを介して供給されることにより、処理室S1が処理用ガス雰囲気とされる。また、ランプ室S2は、不活性ガスが供給されることにより、不活性ガス雰囲気とされる。次いで、被処理物Dが、加熱手段によって加熱されることにより、加熱状態とされる。そして、光源ユニット20を構成する複数の紫外線ランプ30が一斉に点灯されることにより、当該複数の紫外線ランプ30からの光(真空紫外線)が光透過窓部材40を介して被処理面Daに向かって放射される。これにより、被処理面Daに到達する真空紫外線、および真空紫外線により処理用ガスから生成される活性種によって、被処理面Daの処理が行われる。
而して、光照射器10においては、被処理物Dが、加熱手段によって加熱されること、および、光源ユニット20(複数の紫外線ランプ30)からの光(紫外線)を吸収することによって加熱状態とされ、その加熱状態にある被処理物Dからは、黒体輻射(黒体放射)により放射光(赤外線を含む光)が放射される。然るに、光透過窓部材40が、上面41Aおよび下面41Bの両方にフォトニック構造45を有していることから、加熱状態にある被処理物Dからの放射光(赤外線)は、光透過窓部材40によって遮蔽(反射)され、よって熱輻射(熱放射)によって紫外線ランプ30が加熱されることを抑制することができる。その結果、加熱状態にある被処理物Dからの放射光が照射されることに起因する複数の紫外線ランプ30のランプ温度上昇が抑制される。しかも、光透過窓部材40においては、赤外線カットフィルタを用いることなく当該光透過窓部材40の光透過特性を制御して熱輻射(熱放射)から複数の紫外線ランプ30を遮蔽していることから、赤外線カットフィルタを利用する場合のように、紫外線ランプ30や被処理物Dが汚染されることがない。このようにして、光源ユニット20を構成する紫外線ランプ30のランプ温度が上昇することに起因する発光管(発光管を構成するガラス)の紫外線透過率の低下およびキセノンエキシマ分子の発光効率の低下の発生が抑制され、また、光源ユニット20を構成する紫外線ランプ30が汚染されることに起因する当該紫外線ランプ30に係る照度低下の発生が防止される。
従って、光照射器10によれば、加熱状態にある被処理物Dに対して効率よく真空紫外線を照射することができ、よって被処理物Dの被処理面Daを効率的に処理することができる。
また、光照射器10においては、紫外線ランプ30の熱輻射によるランプ温度上昇が抑制されることから、平板状(表面にフォトニック構造を有していない形状)の光透過窓部材を備えた従来の光照射器に比して、冷却手段を駆動するために必要とされる電力量を小さくすることが可能となる。
この光照射器10は、半導体素子や液晶パネル等の製造工程におけるレジストの光アッシング処理、ナノインプリント法におけるテンプレートのパターン面に付着したレジストの除去処理、液晶用ガラス基板やシリコンウエハ等のドライ洗浄処理、プリント基板製造工程におけるデスミア処理などに好適に適用することができる。
以上、本発明の実施の形態について説明したが、本発明は上記の実施の形態に限定されるものではなく、種々の変更を加えることができる。
例えば、光照射器全体の構造は、図1に示すものに限定されず、種々の構造を採用することができる。
以下、本発明の実験例について説明する。
〔実験例1〕
一面(以下、「フォトニック構造面」ともいう。)にフォトニック構造を有する略平板状の板状部材(以下、「実験用板状部材(A)」ともいう。)を用意した。この実験用板状部材(A)において、フォトニック構造は、柱状の凸部のピッチが4μmであって凸部の幅が2μmであり、凸部の高さが8μmである形状の凸部配列凹凸構造である。
実験用板状部材(A)のフォトニック構造面に対して、ピーク波長が172nmの光を放射するキセノンエキシマランプからの光(波長172nmの光)を照射することによって波長172nmの光に対する透過率を測定したところ、95%であった。また、実験用板状部材(A)のフォトニック構造面に対して、波長4μmの光を放射するレーザダイオードの光(波長4μmの光)を照射することによって波長4μmの光に対する透過率を測定したところ、37%であった。
以上の結果から、上記の関係式(1)〜関係式(3)を満たすフォトニック構造においては、波長172nmの真空紫外線の透過率が、黒体放射スペクトル(具体的には、温度400℃に係る黒体放射スペクトル)におけるピーク波長の透過率よりも高くなることが確認された。
10 光照射器
11 ケーシング
11A 底面部
11B,11C 側面部
12A ガス供給用孔
12B ガス排出用孔
15 載置台
15A 被処理物載置面
20 光源ユニット
21 ランプハウス
21A 下面部
30 紫外線ランプ
31 反射ミラー
40 光透過窓部材
41A 上面
41B 下面
45 フォトニック構造
46 凸部
51 光源ユニット
52 ケーシング
53 光透過窓部材
61 載置台
61A 被処理物載置面
62A ガス供給用孔
62B ガス排出用孔
65 ガス供給手段
S1 処理室
S2 ランプ室
D 被処理物
Da 被処理面

Claims (2)

  1. 加熱状態にある被処理物を載置する載置台と、
    前記載置台上の被処理物に対して真空紫外線を照射する紫外線ランプと、
    前記被処理物と前記紫外線ランプとの間に位置される光透過窓部材と
    を有する光照射器において、
    前記光透過窓部材は、少なくとも前記被処理物の側の表面にフォトニック構造を有しており、
    前記フォトニック構造は、前記真空紫外線のピーク波長の透過率が、前記加熱状態にある被処理物からの放射光のピーク波長の透過率よりも高いものであり、
    前記載置台は、前記光透過窓部材と前記被処理物との間隔を3mm以下に設定可能に構成されていることを特徴とする光照射器。
  2. 前記紫外線ランプは、ピーク波長が172nmの光を放射するキセノンエキシマランプであり、
    前記フォトニック構造は、複数の凸部が周期的に配列されることによって構成されており、当該凸部のピッチP〔μm〕と当該凸部の幅W〔μm〕と当該凸部の高さH〔μm〕とが下記の関係式(1)〜関係式(3)を満たすことを特徴とする請求項1に記載の光照射器。
    関係式(1):
    1.5≦P≦8.0
    関係式(2):
    W=P/2
    関係式(3):
    (1・W)≦H≦(5・W)
JP2016174200A 2016-09-07 2016-09-07 光照射器 Active JP6763243B2 (ja)

Priority Applications (1)

Application Number Priority Date Filing Date Title
JP2016174200A JP6763243B2 (ja) 2016-09-07 2016-09-07 光照射器

Applications Claiming Priority (1)

Application Number Priority Date Filing Date Title
JP2016174200A JP6763243B2 (ja) 2016-09-07 2016-09-07 光照射器

Publications (2)

Publication Number Publication Date
JP2018040915A JP2018040915A (ja) 2018-03-15
JP6763243B2 true JP6763243B2 (ja) 2020-09-30

Family

ID=61625814

Family Applications (1)

Application Number Title Priority Date Filing Date
JP2016174200A Active JP6763243B2 (ja) 2016-09-07 2016-09-07 光照射器

Country Status (1)

Country Link
JP (1) JP6763243B2 (ja)

Family Cites Families (9)

* Cited by examiner, † Cited by third party
Publication number Priority date Publication date Assignee Title
JPH03278860A (ja) * 1990-03-29 1991-12-10 Toshiba Lighting & Technol Corp 紫外線照射装置
JP3859259B2 (ja) * 1995-07-13 2006-12-20 三星電子株式会社 紫外線照射装置
JPH1110101A (ja) * 1997-06-18 1999-01-19 Nikon Corp 光洗浄装置
US7498574B2 (en) * 2004-06-17 2009-03-03 Ion Optics, Inc. Tunable photonic crystal
JP5172239B2 (ja) * 2007-02-23 2013-03-27 三菱レイヨン株式会社 光学的ローパスフィルタ及びその製造方法
JP2010186815A (ja) * 2009-02-10 2010-08-26 Nec Corp 紫外線照射装置および紫外線照射方法
JP2011186096A (ja) * 2010-03-08 2011-09-22 Mitsubishi Electric Corp 光学フィルタ
SG10201706424RA (en) * 2012-01-19 2017-09-28 Supriya Jaiswal Materials, components, and methods for use with extreme ultraviolet radiation in lithography and other applications
JP5987815B2 (ja) * 2013-12-06 2016-09-07 ウシオ電機株式会社 アッシング方法およびアッシング装置

Also Published As

Publication number Publication date
JP2018040915A (ja) 2018-03-15

Similar Documents

Publication Publication Date Title
JP5861696B2 (ja) 光照射装置
JP5590578B2 (ja) 偏光素子とフィルタのユニット
JP5765504B1 (ja) 光照射装置
KR20080086817A (ko) 액체 필터를 갖는 자외광 조사 장치
JP2014032325A (ja) 液晶パネルの製造装置及び液晶パネルの製造方法
KR20080026069A (ko) 자외선 조사 챔버의 세정방법
US20120236274A1 (en) Liquid crystal panel manufacturing apparatus and method for manufacturing the liquid crystal panel
JP6763243B2 (ja) 光照射器
JP5987815B2 (ja) アッシング方法およびアッシング装置
CN108698078A (zh) 具有分体的紫外偏转镜的紫外固化装置
JP6135764B2 (ja) デスミア処理装置
TWI534512B (zh) Polarized light irradiation device
JP6123649B2 (ja) アッシング装置および被処理物保持構造体
JP2000150551A (ja) リードフレームの表面処理機構およびその方法
JP6459578B2 (ja) 光処理装置および光処理方法
JP2016219656A (ja) 光処理装置および光処理方法
US20180243802A1 (en) Device for applying a liquid medium which is exposed to uv radiation to a substrate
JP4626056B2 (ja) 紫外線照射装置
TWI638245B (zh) Light processing device and light processing method
TWI453786B (zh) Light irradiation device
JP2016152358A (ja) 光処理装置および光処理方法
KR20070066181A (ko) 반도체 제조 장치

Legal Events

Date Code Title Description
RD03 Notification of appointment of power of attorney

Free format text: JAPANESE INTERMEDIATE CODE: A7423

Effective date: 20190131

A621 Written request for application examination

Free format text: JAPANESE INTERMEDIATE CODE: A621

Effective date: 20190312

A131 Notification of reasons for refusal

Free format text: JAPANESE INTERMEDIATE CODE: A131

Effective date: 20200225

A521 Request for written amendment filed

Free format text: JAPANESE INTERMEDIATE CODE: A523

Effective date: 20200420

RD04 Notification of resignation of power of attorney

Free format text: JAPANESE INTERMEDIATE CODE: A7424

Effective date: 20200706

TRDD Decision of grant or rejection written
A01 Written decision to grant a patent or to grant a registration (utility model)

Free format text: JAPANESE INTERMEDIATE CODE: A01

Effective date: 20200811

A61 First payment of annual fees (during grant procedure)

Free format text: JAPANESE INTERMEDIATE CODE: A61

Effective date: 20200824

R151 Written notification of patent or utility model registration

Ref document number: 6763243

Country of ref document: JP

Free format text: JAPANESE INTERMEDIATE CODE: R151

R250 Receipt of annual fees

Free format text: JAPANESE INTERMEDIATE CODE: R250

R250 Receipt of annual fees

Free format text: JAPANESE INTERMEDIATE CODE: R250