JP6700610B2 - 車載用流体機械 - Google Patents

車載用流体機械 Download PDF

Info

Publication number
JP6700610B2
JP6700610B2 JP2017003621A JP2017003621A JP6700610B2 JP 6700610 B2 JP6700610 B2 JP 6700610B2 JP 2017003621 A JP2017003621 A JP 2017003621A JP 2017003621 A JP2017003621 A JP 2017003621A JP 6700610 B2 JP6700610 B2 JP 6700610B2
Authority
JP
Japan
Prior art keywords
common mode
winding
choke coil
mode choke
vehicle
Prior art date
Legal status (The legal status is an assumption and is not a legal conclusion. Google has not performed a legal analysis and makes no representation as to the accuracy of the status listed.)
Active
Application number
JP2017003621A
Other languages
English (en)
Other versions
JP2018112147A (ja
Inventor
俊輔 安保
俊輔 安保
史大 賀川
史大 賀川
芳樹 永田
芳樹 永田
Current Assignee (The listed assignees may be inaccurate. Google has not performed a legal analysis and makes no representation or warranty as to the accuracy of the list.)
Toyota Industries Corp
Original Assignee
Toyota Industries Corp
Priority date (The priority date is an assumption and is not a legal conclusion. Google has not performed a legal analysis and makes no representation as to the accuracy of the date listed.)
Filing date
Publication date
Application filed by Toyota Industries Corp filed Critical Toyota Industries Corp
Priority to JP2017003621A priority Critical patent/JP6700610B2/ja
Priority to DE102018100047.2A priority patent/DE102018100047A1/de
Priority to KR1020180001476A priority patent/KR101953508B1/ko
Priority to US15/865,349 priority patent/US10707770B2/en
Publication of JP2018112147A publication Critical patent/JP2018112147A/ja
Application granted granted Critical
Publication of JP6700610B2 publication Critical patent/JP6700610B2/ja
Active legal-status Critical Current
Anticipated expiration legal-status Critical

Links

Images

Classifications

    • FMECHANICAL ENGINEERING; LIGHTING; HEATING; WEAPONS; BLASTING
    • F04POSITIVE - DISPLACEMENT MACHINES FOR LIQUIDS; PUMPS FOR LIQUIDS OR ELASTIC FLUIDS
    • F04BPOSITIVE-DISPLACEMENT MACHINES FOR LIQUIDS; PUMPS
    • F04B49/00Control, e.g. of pump delivery, or pump pressure of, or safety measures for, machines, pumps, or pumping installations, not otherwise provided for, or of interest apart from, groups F04B1/00 - F04B47/00
    • F04B49/06Control using electricity
    • F04B49/065Control using electricity and making use of computers
    • HELECTRICITY
    • H02GENERATION; CONVERSION OR DISTRIBUTION OF ELECTRIC POWER
    • H02KDYNAMO-ELECTRIC MACHINES
    • H02K11/00Structural association of dynamo-electric machines with electric components or with devices for shielding, monitoring or protection
    • H02K11/02Structural association of dynamo-electric machines with electric components or with devices for shielding, monitoring or protection for suppression of electromagnetic interference
    • BPERFORMING OPERATIONS; TRANSPORTING
    • B60VEHICLES IN GENERAL
    • B60HARRANGEMENTS OF HEATING, COOLING, VENTILATING OR OTHER AIR-TREATING DEVICES SPECIALLY ADAPTED FOR PASSENGER OR GOODS SPACES OF VEHICLES
    • B60H1/00Heating, cooling or ventilating [HVAC] devices
    • B60H1/32Cooling devices
    • B60H1/3204Cooling devices using compression
    • B60H1/3222Cooling devices using compression characterised by the compressor driving arrangements, e.g. clutches, transmissions or multiple drives
    • FMECHANICAL ENGINEERING; LIGHTING; HEATING; WEAPONS; BLASTING
    • F04POSITIVE - DISPLACEMENT MACHINES FOR LIQUIDS; PUMPS FOR LIQUIDS OR ELASTIC FLUIDS
    • F04BPOSITIVE-DISPLACEMENT MACHINES FOR LIQUIDS; PUMPS
    • F04B35/00Piston pumps specially adapted for elastic fluids and characterised by the driving means to their working members, or by combination with, or adaptation to, specific driving engines or motors, not otherwise provided for
    • F04B35/01Piston pumps specially adapted for elastic fluids and characterised by the driving means to their working members, or by combination with, or adaptation to, specific driving engines or motors, not otherwise provided for the means being mechanical
    • FMECHANICAL ENGINEERING; LIGHTING; HEATING; WEAPONS; BLASTING
    • F04POSITIVE - DISPLACEMENT MACHINES FOR LIQUIDS; PUMPS FOR LIQUIDS OR ELASTIC FLUIDS
    • F04BPOSITIVE-DISPLACEMENT MACHINES FOR LIQUIDS; PUMPS
    • F04B35/00Piston pumps specially adapted for elastic fluids and characterised by the driving means to their working members, or by combination with, or adaptation to, specific driving engines or motors, not otherwise provided for
    • F04B35/04Piston pumps specially adapted for elastic fluids and characterised by the driving means to their working members, or by combination with, or adaptation to, specific driving engines or motors, not otherwise provided for the means being electric
    • FMECHANICAL ENGINEERING; LIGHTING; HEATING; WEAPONS; BLASTING
    • F04POSITIVE - DISPLACEMENT MACHINES FOR LIQUIDS; PUMPS FOR LIQUIDS OR ELASTIC FLUIDS
    • F04BPOSITIVE-DISPLACEMENT MACHINES FOR LIQUIDS; PUMPS
    • F04B39/00Component parts, details, or accessories, of pumps or pumping systems specially adapted for elastic fluids, not otherwise provided for in, or of interest apart from, groups F04B25/00 - F04B37/00
    • F04B39/12Casings; Cylinders; Cylinder heads; Fluid connections
    • HELECTRICITY
    • H01ELECTRIC ELEMENTS
    • H01FMAGNETS; INDUCTANCES; TRANSFORMERS; SELECTION OF MATERIALS FOR THEIR MAGNETIC PROPERTIES
    • H01F27/00Details of transformers or inductances, in general
    • H01F27/34Special means for preventing or reducing unwanted electric or magnetic effects, e.g. no-load losses, reactive currents, harmonics, oscillations, leakage fields
    • H01F27/346Preventing or reducing leakage fields
    • HELECTRICITY
    • H02GENERATION; CONVERSION OR DISTRIBUTION OF ELECTRIC POWER
    • H02KDYNAMO-ELECTRIC MACHINES
    • H02K11/00Structural association of dynamo-electric machines with electric components or with devices for shielding, monitoring or protection
    • H02K11/30Structural association with control circuits or drive circuits
    • H02K11/33Drive circuits, e.g. power electronics
    • HELECTRICITY
    • H02GENERATION; CONVERSION OR DISTRIBUTION OF ELECTRIC POWER
    • H02MAPPARATUS FOR CONVERSION BETWEEN AC AND AC, BETWEEN AC AND DC, OR BETWEEN DC AND DC, AND FOR USE WITH MAINS OR SIMILAR POWER SUPPLY SYSTEMS; CONVERSION OF DC OR AC INPUT POWER INTO SURGE OUTPUT POWER; CONTROL OR REGULATION THEREOF
    • H02M7/00Conversion of AC power input into DC power output; Conversion of DC power input into AC power output
    • H02M7/003Constructional details, e.g. physical layout, assembly, wiring or busbar connections
    • HELECTRICITY
    • H02GENERATION; CONVERSION OR DISTRIBUTION OF ELECTRIC POWER
    • H02MAPPARATUS FOR CONVERSION BETWEEN AC AND AC, BETWEEN AC AND DC, OR BETWEEN DC AND DC, AND FOR USE WITH MAINS OR SIMILAR POWER SUPPLY SYSTEMS; CONVERSION OF DC OR AC INPUT POWER INTO SURGE OUTPUT POWER; CONTROL OR REGULATION THEREOF
    • H02M7/00Conversion of AC power input into DC power output; Conversion of DC power input into AC power output
    • H02M7/42Conversion of DC power input into AC power output without possibility of reversal
    • H02M7/44Conversion of DC power input into AC power output without possibility of reversal by static converters
    • H02M7/48Conversion of DC power input into AC power output without possibility of reversal by static converters using discharge tubes with control electrode or semiconductor devices with control electrode
    • H02M7/53Conversion of DC power input into AC power output without possibility of reversal by static converters using discharge tubes with control electrode or semiconductor devices with control electrode using devices of a triode or transistor type requiring continuous application of a control signal
    • H02M7/537Conversion of DC power input into AC power output without possibility of reversal by static converters using discharge tubes with control electrode or semiconductor devices with control electrode using devices of a triode or transistor type requiring continuous application of a control signal using semiconductor devices only, e.g. single switched pulse inverters
    • HELECTRICITY
    • H03ELECTRONIC CIRCUITRY
    • H03HIMPEDANCE NETWORKS, e.g. RESONANT CIRCUITS; RESONATORS
    • H03H7/00Multiple-port networks comprising only passive electrical elements as network components
    • H03H7/01Frequency selective two-port networks
    • H03H7/0115Frequency selective two-port networks comprising only inductors and capacitors
    • BPERFORMING OPERATIONS; TRANSPORTING
    • B60VEHICLES IN GENERAL
    • B60HARRANGEMENTS OF HEATING, COOLING, VENTILATING OR OTHER AIR-TREATING DEVICES SPECIALLY ADAPTED FOR PASSENGER OR GOODS SPACES OF VEHICLES
    • B60H1/00Heating, cooling or ventilating [HVAC] devices
    • B60H1/32Cooling devices
    • B60H2001/3286Constructional features
    • B60H2001/3292Compressor drive is electric only
    • HELECTRICITY
    • H01ELECTRIC ELEMENTS
    • H01FMAGNETS; INDUCTANCES; TRANSFORMERS; SELECTION OF MATERIALS FOR THEIR MAGNETIC PROPERTIES
    • H01F17/00Fixed inductances of the signal type
    • H01F2017/0093Common mode choke coil

Landscapes

  • Engineering & Computer Science (AREA)
  • Power Engineering (AREA)
  • Mechanical Engineering (AREA)
  • General Engineering & Computer Science (AREA)
  • Physics & Mathematics (AREA)
  • Electromagnetism (AREA)
  • Microelectronics & Electronic Packaging (AREA)
  • Thermal Sciences (AREA)
  • Computer Hardware Design (AREA)
  • Inverter Devices (AREA)
  • Compressor (AREA)

Description

本発明は、車載用流体機械に関する。
従来から、電動モータと、電動モータを駆動させる駆動装置とを備えている車載用流体機械が知られている(例えば特許文献1参照)。特許文献1には、駆動装置が、車両に搭載されている直流電源から入力される直流電力を交流電力に変換する点が記載されている。
特開2010−156271号公報
ここで、駆動装置に入力される直流電力には、コモンモードノイズ及びノーマルモードノイズの双方が混入し得る。この場合、これらのノイズによって、駆動装置による電動モータの駆動に支障が生じ得る。すると、車載用流体機械の運転に支障が生じ得る。
特に、ノーマルモードノイズの周波数は、車載用流体機械が搭載される車両の種類に応じて異なる。このため、多数の車種に適用できるという汎用性の観点に着目すれば、広い周波数帯域のノーマルモードノイズを低減できることが好ましい。かといって、車両に搭載される関係上、車載用流体機械の大型化は好ましくない。
本発明は、上述した事情を鑑みてなされたものであり、その目的は駆動装置に入力される直流電力に含まれるコモンモードノイズ及びノーマルモードノイズを好適に低減できる車載用流体機械を提供することである。
上記目的を達成する車載用流体機械は、流体が吸入されるハウジングと、前記ハウジング内に収容されている電動モータと、前記電動モータを駆動させるものであって直流電力が入力される駆動装置と、を備え、前記駆動装置は、前記直流電力に含まれるコモンモードノイズ及びノーマルモードノイズを低減させるローパスフィルタ回路と、前記ローパスフィルタ回路によって前記コモンモードノイズ及び前記ノーマルモードノイズが低減された直流電力を交流電力に変換するインバータ回路と、を備え、前記ローパスフィルタ回路は、環状のリングコア、及び、前記リングコアに巻回された第1巻線及び第2巻線を有するコモンモードチョークコイルと、前記コモンモードチョークコイルに対して電気的に接続されたコンデンサと、を有し、前記第1巻線と前記第2巻線とは、前記リングコアの中心軸方向と直交する方向に対向配置されており、前記リングコアは、前記中心軸方向と前記両巻線の対向方向との双方に直交する方向に延びた第1延設部及び第2延設部を有し、前記第1巻線の少なくとも一部は、前記第1延設部に巻回されており、前記第2巻線の少なくとも一部は、前記第2延設部に巻回されており、前記リングコアは、前記両延設部の延設方向の両外側端面であって、前記両巻線が巻回されていない第1非巻回側面及び第2非巻回側面を有し、前記駆動装置は、前記コモンモードチョークコイルにて発生する磁力線によって渦電流が発生する位置に設けられ、非磁性体の導電性材料で構成されたダンピング部を備え、前記ダンピング部は、開口部を有する有底箱形状の第1パーツ及び第2パーツを含み、前記第1パーツは、前記第1非巻回側面を覆う第1底部と、前記第1底部から前記第2パーツに向けて起立するとともに前記両延設部の延設方向から見て前記コモンモードチョークコイルを囲む枠状であって、前記第1パーツの前記開口部である第1開口部を区画する第1先端部を有する第1側部と、を備え、前記第2パーツは、前記第2非巻回側面を覆う第2底部と、前記第2底部から前記第1パーツに向けて起立するとともに前記両延設部の延設方向から見て前記コモンモードチョークコイルを囲む枠状であって、前記第2パーツの前記開口部である第2開口部を区画する第2先端部を有する第2側部と、を備え、前記第1パーツ及び前記第2パーツは、前第1開口部及び前記第2開口部が対向している状態で、前記両延設部の延設方向から協働して前記コモンモードチョークコイルを収容しており、前記第1先端部と前記第2先端部との間には隙間が形成されていることを特徴とする。
かかる構成によれば、駆動装置に入力される直流電力に含まれるコモンモードノイズは、コモンモードチョークコイルによって低減される。また、コモンモードチョークコイルにノーマルモード電流が流れることにより、コモンモードチョークコイルには磁力線(漏れ磁束)が発生する。これにより、コモンモードチョークコイルを含むローパスフィルタ回路を用いてノーマルモードノイズを低減できる。したがって、ノーマルモードノイズを低減させる専用のコイルを設けることなく、コモンモードノイズ及びノーマルモードノイズの双方を低減できる。よって、駆動装置の大型化を抑制でき、それを通じて車載用流体機械の大型化を抑制できる。
また、両パーツは互いの開口部同士が対向している状態で協働してコモンモードチョークコイルを収容しているため、コモンモードチョークコイルは、両パーツによって覆われている。かかる構成において、コモンモードチョークコイルにて発生した磁力線(漏れ磁束)によって、両パーツにて渦電流が発生することにより、ローパスフィルタ回路のQ値が下がる。したがって、ダンピング抵抗を設けることなく、ローパスフィルタ回路のQ値を下げることができる。よって、ローパスフィルタ回路の共振周波数付近の周波数を有するノーマルモードノイズを低減できるため、ノーマルモードノイズを低減可能な周波数帯域を広げることができ、汎用性の向上を図ることができる。
また、本構成によれば、2つのパーツで協働してコモンモードチョークコイルを収容する構成を採用しているため、1つのパーツでコモンモードチョークコイルを収容する構成と比較して、比較的容易にコモンモードチョークコイルを収容できる。
また、中心軸方向と直交する方向に両巻線が対向配置されているコモンモードチョークコイルにおいては、両巻線の対向方向と中心軸方向との双方に直交する方向から磁束が漏れ易い。この点、本構成によれば、両パーツは、中心軸方向と前記両巻線の対向方向との双方に直交する方向である両延設部の延設方向からコモンモードチョークコイルを収容しているため、コモンモードチョークコイルから漏れる漏れ磁束が両パーツを貫き易い。これにより、ローパスフィルタ回路のQ値を下げる効果であるダンピング効果の向上を図ることができる。
更に、漏れ磁束が集中し易い両非巻回側面が両底部によって覆われているため、コモンモードチョークコイルの漏れ磁束が両底部を貫き易い。これにより、両側部において渦電流が発生し易い。当該渦電流は、枠状の両側部を、その周方向に流れ、両延設部の延設方向から見て閉ループを形成する。したがって、両延設部の延設方向に流れる漏れ磁束を打ち消す方向の磁束が生じる。よって、ダンピング効果の更なる向上を図ることができる。
そして、第1先端部と第2先端部との間には隙間が形成されているため、両先端部が当接することに起因して両パーツの位置決めが行われることを抑制できる。これにより、両先端部が当接する位置にて両パーツが配置されてしまい、両パーツとコモンモードチョークコイルとの寸法誤差に起因して、非巻回側面と底部との対向距離が変動してしまう事態を抑制できる。よって、上記寸法誤差に起因する両パーツのダンピング効果のばらつきを抑制できる。
上記車載用流体機械について、前記第1巻線は、巻回密度が相対的に高低となった第1高密度部及び第1低密度部を有し、前記第2巻線は、巻回密度が相対的に高低となった第2高密度部及び第2低密度部を有し、前記隙間は、前記コモンモードチョークコイルにおける前記第1高密度部及び前記第2高密度部の部分に形成されているとよい。
上記車載用流体機械について、前記駆動装置は、前記インバータ回路及び前記ローパスフィルタ回路が設けられる回路基板を備え、前記第1側部には、前記第1先端部から前記第1側部の途中位置まで前記第1底部に向けて凹んだ第1凹部が形成されており、前記第2側部には、前記第2先端部から前記第2側部の途中位置まで前記第2底部に向けて凹んだ第2凹部が形成されており、前記第1巻線及び前記第2巻線から引き出された各端子は、前記第1凹部又は前記第2凹部を介して前記回路基板に形成された端子孔に挿通されているとよい。
かかる構成によれば、ダンピング効果を確保しつつ、コモンモードチョークコイルと回路基板とを電気的に接続できる。特に、凹部が形成されている箇所は側部の途中位置までであるため、少なくとも側部の底部側は閉じた枠状となっている。これにより、側部において、渦電流が流れる閉ループを形成することができるため、ダンピング効果を確保できる。
上記車載用流体機械は、前記電動モータによって駆動されるものであって前記ハウジング内に吸入された流体を圧縮する圧縮部を備えた車載用電動圧縮機であるとよい。
かかる構成によれば、車載用電動圧縮機において上述した効果を得ることができる。
この発明によれば、駆動装置に入力される直流電力に含まれるコモンモードノイズ及びノーマルモードノイズを好適に低減できる。
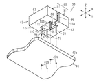
車載用電動圧縮機の概要を示す概要図。 駆動装置の分解斜視図。 コモンモードチョークコイルと両パーツとの分解斜視図。 両巻線が巻回されたリングコアの正面図。 駆動装置の分解斜視図。 ダンピング部によって収容されたコモンモードチョークコイルの正面図。 図6の7−7線に対応した駆動装置の断面図。 駆動装置及び電動モータの回路図。 ローパスフィルタ回路のゲインの周波数特性を示すグラフ。
以下、車載用流体機械の一実施形態について説明する。本実施形態の車載用流体機械は、流体を圧縮する圧縮部を備えた車載用電動圧縮機であり、当該車載用電動圧縮機は、車載用空調装置に用いられる。すなわち、本実施形態における車載用電動圧縮機の圧縮対象の流体は冷媒である。
図1に示すように、車載用空調装置200は、車載用電動圧縮機10と、車載用電動圧縮機10に対して流体としての冷媒を供給する外部冷媒回路201とを備えている。外部冷媒回路201は、例えば熱交換器及び膨張弁等を有している。車載用空調装置200は、車載用電動圧縮機10によって冷媒が圧縮され、且つ、外部冷媒回路201によって冷媒の熱交換及び膨張が行われることによって、車内の冷暖房を行う。
車載用空調装置200は、当該車載用空調装置200の全体を制御する空調ECU202を備えている。空調ECU202は、車内温度やカーエアコンの設定温度等を把握可能に構成されており、これらのパラメータに基づいて、車載用電動圧縮機10に対してON/OFF指令等といった各種指令を送信する。
車載用電動圧縮機10は、外部冷媒回路201から冷媒が吸入される吸入口11aが形成されたハウジング11を備えている。
ハウジング11は、伝熱性を有する材料(例えばアルミニウム等の金属)で形成されている。ハウジング11は、車両のボディに接地されている。
ハウジング11は、互いに組み付けられた吸入ハウジング12と吐出ハウジング13とを有している。吸入ハウジング12は、一方向に開口した有底筒状であり、板状の底壁部12aと、底壁部12aの周縁部から吐出ハウジング13に向けて起立した側壁部12bとを有している。底壁部12aは例えば略板状であり、側壁部12bは例えば略筒状である。吐出ハウジング13は、吸入ハウジング12の開口を塞いだ状態で吸入ハウジング12に組み付けられている。これにより、ハウジング11内には内部空間が形成されている。
吸入口11aは、吸入ハウジング12の側壁部12bに形成されている。詳細には、吸入口11aは、吸入ハウジング12の側壁部12bのうち吐出ハウジング13よりも底壁部12a側に配置されている。
ハウジング11には、冷媒が吐出される吐出口11bが形成されている。吐出口11bは、吐出ハウジング13、詳細には吐出ハウジング13における底壁部12aと対向する部位に形成されている。
車載用電動圧縮機10は、ハウジング11内に収容された回転軸21、圧縮部22及び電動モータ23を備えている。
回転軸21は、ハウジング11に対して回転可能な状態で支持されている。回転軸21は、その軸線方向が板状の底壁部12aの厚さ方向(換言すれば筒状の側壁部12bの軸線方向)と一致する状態で配置されている。回転軸21と圧縮部22とは連結されている。
圧縮部22は、ハウジング11内における吸入口11a(換言すれば底壁部12a)よりも吐出口11b側に配置されている。圧縮部22は、回転軸21が回転することによって、吸入口11aからハウジング11内に吸入された冷媒を圧縮し、その圧縮された冷媒を吐出口11bから吐出させるものである。なお、圧縮部22の具体的な構成は、スクロールタイプ、ピストンタイプ、ベーンタイプ等任意である。
電動モータ23は、ハウジング11内における圧縮部22と底壁部12aとの間に配置されている。電動モータ23は、ハウジング11内にある回転軸21を回転させることにより、圧縮部22を駆動させるものである。電動モータ23は、例えば回転軸21に対して固定された円筒形状のロータ24と、ハウジング11に固定されたステータ25とを有する。ステータ25は、円筒形状のステータコア26と、ステータコア26に形成されたティースに捲回されたコイル27とを有している。ロータ24及びステータ25は、回転軸21の径方向に対向している。コイル27が通電されることによりロータ24及び回転軸21が回転し、圧縮部22による冷媒の圧縮が行われる。
図1に示すように、車載用電動圧縮機10は、電動モータ23を駆動させるものであって直流電力が入力される駆動装置30と、駆動装置30を収容する収容室S0を区画するカバー部材31とを備えている。
カバー部材31は、伝熱性を有する非磁性体の導電性材料(例えばアルミニウム等の金属)で構成されている。
カバー部材31は、ハウジング11、詳細には吸入ハウジング12の底壁部12aに向けて開口した有底筒状である。カバー部材31は、開口端が底壁部12aに突き合せられた状態で、ボルト32によってハウジング11の底壁部12aに取り付けられている。カバー部材31の開口は、底壁部12aによって塞がれている。収容室S0は、カバー部材31と底壁部12aとによって形成されている。
収容室S0は、ハウジング11外に配置されており、底壁部12aに対して電動モータ23とは反対側に配置されている。圧縮部22、電動モータ23及び駆動装置30は、回転軸21の軸線方向に配列されている。
カバー部材31にはコネクタ33が設けられており、駆動装置30はコネクタ33と電気的に接続されている。コネクタ33を介して、車両に搭載された車載用蓄電装置203から駆動装置30に直流電力が入力されるとともに、空調ECU202と駆動装置30とが電気的に接続されている。車載用蓄電装置203は、車両に搭載された直流電源であり、例えば二次電池やキャパシタ等である。
図1に示すように、駆動装置30は、回路基板40と、回路基板40に設けられたインバータ回路41と、コネクタ33とインバータ回路41とを電気的に接続するのに用いられる2本の接続ラインEL1,EL2と、接続ラインEL1,EL2上に設けられたローパスフィルタ回路42と、を備えている。
回路基板40は板状である。回路基板40は、底壁部12aに対して回転軸21の軸線方向に所定の間隔を隔てて対向配置されている。回路基板40は、底壁部12aに対向する基板面40aを有している。
図2に示すように、回路基板40には、端子孔40bと、端子孔40bに挿通される端子と電気的に接続される配線部40cとが形成されている。配線部40cは、両接続ラインEL1,EL2の少なくとも一部を構成している。詳細には、配線部40cは、コネクタ33とローパスフィルタ回路42との電気的接続、及び、ローパスフィルタ回路42とインバータ回路41との電気的接続に用いられている。
なお、配線部40cは、基板面40aに形成されていてもよいし、基板面40aとは反対側の面に形成されていてもよいし、複数層に形成されていてもよい。また、配線部40cの具体的な構造は任意であり、例えば基板に実装又は埋め込まれた配線パターンであってもよいし、バスバーのような棒状又は平板状等であってもよい。
第1接続ラインEL1は、コネクタ33を介して、車載用蓄電装置203の+端子に電気的に接続されているとともに、インバータ回路41と接続されている。第2接続ラインEL2は、コネクタ33を介して、車載用蓄電装置203の−端子に電気的に接続されているとともに、インバータ回路41と接続されている。車載用蓄電装置203からコネクタ33に入力される直流電力は、両接続ラインEL1,EL2上を伝送する。
両接続ラインEL1,EL2上に設けられたローパスフィルタ回路42は、インバータ回路41の入力側に設けられている。ローパスフィルタ回路42は、コネクタ33からの直流電力が入力されるように構成されている。ローパスフィルタ回路42は、駆動装置30に入力される直流電力に含まれるノーマルモードノイズ及びコモンモードノイズを低減(減衰)させる。
コモンモードノイズとは、両接続ラインEL1,EL2に同一方向の電流が流れるノイズである。当該コモンモードノイズは、例えば駆動装置30(換言すれば車載用電動圧縮機10)と車載用蓄電装置203とが、両接続ラインEL1,EL2以外の経路(例えば車両のボディ等)を介して電気的に接続されている場合に生じ得る。
ノーマルモードノイズとは、直流電力に重畳された所定の周波数を有するノイズであって、瞬間的に見れば両接続ラインEL1,EL2に、互いに逆方向の電流が流れるノイズである。ノーマルモードノイズは、駆動装置30に入力される直流電力に含まれる流入リップル成分とも言える。なお、ローパスフィルタ回路42の具体的な構成については後述する。
インバータ回路41は、配線部40cを介して、ローパスフィルタ回路42の出力側に電気的に接続されている。インバータ回路41には、ローパスフィルタ回路42から出力された直流電力、すなわちローパスフィルタ回路42によってノーマルモードノイズ及びコモンモードノイズが低減された直流電力が入力される。
インバータ回路41は、上記直流電力を交流電力に変換するものである。詳細には、図1に示すように、インバータ回路41は、複数のスイッチング素子Qu1,Qu2,Qv1,Qv2,Qw1,Qw2(以降単に各スイッチング素子Qu1〜Qw2という。)を有する三相インバータである。各スイッチング素子Qu1〜Qw2が周期的にON/OFFすることにより、直流電力が交流電力に変換される。
インバータ回路41は、配線部40cの一部と底壁部12aに形成された気密端子(図示略)とを介して、電動モータ23のコイル27に電気的に接続されている。インバータ回路41にて変換された交流電力は、コイル27に入力される。これにより、電動モータ23が駆動する。
なお、本実施形態では、インバータ回路41は、基板面40aと底壁部12aとの間に配置されているが、これに限られず、基板面40aとは反対側の面に設けられていてもよいし、回路基板40の側方に設けられていてもよい。
次に、図1,2に加えて、図3〜図7等を用いてローパスフィルタ回路42の詳細な構成について説明する。なお、図示の都合上、図3においては、絶縁部111を省略して示す。
図3に示すように、ローパスフィルタ回路42は、コモンモードチョークコイル50を備えている。
コモンモードチョークコイル50は、環状のリングコア51を有している。本実施形態のリングコア51は、その中心軸方向から見て角丸長方形の環状(リング状)である。リングコア51は、リングコア51の中心軸方向から見て長手方向に直線状に延びた一対の長辺部61,71と、リングコア51の中心軸方向から見て短手方向に直線状に延びた一対の短辺部62,72とを有している。
一対の長辺部61,71は互いに対向しており、一対の短辺部62,72は互いに対向している。一対の長辺部61,71の対向方向と、一対の短辺部62,72の対向方向とは互いに直交している。
なお、説明の便宜上、以降の説明において、一対の長辺部61,71の対向方向をX方向とし、一対の短辺部62,72の対向方向をY方向とし、リングコア51の中心軸方向をZ方向とする。X方向は、リングコア51の短手方向とも言えるし、両短辺部62,72の延設方向とも言える。また、Y方向は、リングコア51の長手方向とも言えるし、両長辺部61,71の延設方向とも言える。X方向、Y方向及びZ方向はそれぞれ、互いに直交している。
ちなみに、本実施形態では、図1及び図2に示すように、コモンモードチョークコイル50は、Z方向が回転軸21の軸線方向と一致した状態で配置されている。但し、コモンモードチョークコイル50の配置方向は、これに限られず任意である。例えば、コモンモードチョークコイル50は、X方向又はY方向が回転軸21の軸線方向に一致する状態で配置されてもよい。
リングコア51は、第1長辺部61に対してY方向の両側に設けられた一対の第1コーナ部63と、第2長辺部71に対してY方向の両側に設けられた一対の第2コーナ部73とを有している。第1コーナ部63は、第1長辺部61と両短辺部62,72とを繋いでおり、第2コーナ部73は、第2長辺部71と両短辺部62,72とを繋いでいる。各コーナ部63,73は、湾曲しており、Z方向から見て扇状である。
図3及び図4に示すように、コモンモードチョークコイル50は、リングコア51に巻回された第1巻線64及び第2巻線74を備えている。
第1巻線64は、第1長辺部61におけるY方向の中央部61aを含む第1長辺部61の全体と、第1コーナ部63とに巻回されている。すなわち、第1長辺部61及び第1コーナ部63は、第1巻線64が巻回された第1巻回部である。
第1巻線64は、巻回密度が相対的に高低となった第1高密度部64a及び第1低密度部64bとを有している。巻回密度とは、巻回軸方向の単位長さ当たりの巻数である。第1高密度部64aの巻回密度は、第1低密度部64bの巻回密度よりも高い。
第1高密度部64aは、第1長辺部61の中央部61a及びその周辺に設けられており、第1低密度部64bは、第1高密度部64aの両側に配置されている。詳細には、第1低密度部64bは、第1長辺部61におけるY方向の両端部と第1コーナ部63とに配置されている。
なお、第1コーナ部63が湾曲している関係上、第1コーナ部63に巻回されている第1巻線64の巻回密度は、第1長辺部61に巻回されている第1巻線64の巻回密度よりも低くなり易い。
第2巻線74は、第2長辺部71におけるY方向の中央部71aを含む第2長辺部71の全体と、第2コーナ部73とに巻回されている。すなわち、第2長辺部71及び第2コーナ部73は、第2巻線74が巻回された第2巻回部である。
第2巻線74は、巻回密度が相対的に高低となった第2高密度部74a及び第2低密度部74bとを有している。第2高密度部74aの巻回密度は、第2低密度部74bの巻回密度よりも高い。
第2高密度部74aは、第2長辺部71の中央部71a及びその周辺に設けられており、第2低密度部74bは、第2高密度部74aの両側に配置されている。詳細には、第2低密度部74bは、第2長辺部71におけるY方向の両端部と第2コーナ部73とに配置されている。
なお、第2コーナ部73が湾曲している関係上、第2コーナ部73に巻回されている第2巻線74の巻回密度は、第2長辺部71に巻回されている第2巻線74の巻回密度よりも低くなり易い。
図4に示すように、両短辺部62,72には両巻線64,74が巻回されていない。すなわち、両短辺部62,72は、両巻線64,74が巻回されていない非巻回部と言える。このため、短辺部62,72の側面62a,72aは、両巻線64,74が巻回されていない。短辺部62,72の側面62a,72aは、リングコア51のY方向の両外側端面である。説明の便宜上、以降の説明において、第1短辺部62の側面62aを第1非巻回側面62aとも言い、第2短辺部72の側面72aを第2非巻回側面72aとも言う。両非巻回側面62a,72aは、両長辺部61,71の延設方向であるY方向に対して交差(詳細には直交)している面であり、本実施形態ではX方向及びZ方向に延びている。両非巻回側面62a,72aは、Y方向に対向配置されている。
本実施形態では、第1長辺部61が「第1延設部」に対応し、第2長辺部71が「第2延設部」に対応する。また、両高密度部64a,74aの巻回軸方向は互いに一致しており、詳細にはY方向である。
両巻線64,74は、リングコア51の中心軸方向であるZ方向と直交する一方向であるX方向に互いに対向配置されている。なお、両巻線64,74の対向方向とリングコア51の中心軸方向とに着目すれば、両長辺部61,71の延設方向は、両巻線64,74の対向方向とリングコア51の中心軸方向との双方に交差(好ましくは直交)する方向であると言える。
両巻線64,74の巻数(ターン数)は同一に設定されている。両巻線64,74は、両巻線64,74に同一方向の電流であるコモンモード電流が流れる場合には互いに強め合う磁束が発生する一方、両巻線64,74に互いに逆方向の電流であるノーマルモード電流が流れる場合には互いに打ち消しあう磁束が発生するように巻回されている。
但し、図4の一点鎖線に示すように、両巻線64,74にノーマルモード電流が流れている状況であっても、磁束の一部は漏れており、コモンモードチョークコイル50には漏れ磁束(換言すれば磁力線)Bxが発生している。このため、コモンモードチョークコイル50は、ノーマルモード電流に対して所定のインダクタンスを有している。換言すれば、コモンモードチョークコイル50は、コモンモード電流に対してはインピーダンス(詳細にはインダクタンス)が相対的に大きくなり、ノーマルモード電流に対してはインピーダンスが相対的に小さくなるように構成されている。
ここで、両短辺部62,72には両巻線64,74が巻回されていないため、リングコア51から磁束が漏れ易くなっている。これにより、リングコア51全体に巻線が巻回されている構成と比較して、漏れ磁束Bxが大きくなり易い。更に、巻線64,74には低密度部64b,74bが含まれている。このため、巻線64,74が高密度部64a,74aのみで形成されている構成と比較して、漏れ磁束Bxが大きくなり易い。
ちなみに、既に説明した通り、リングコア51は、直線状の部分を有さない円形のリング状ではなく、直線状の長辺部61,71及び短辺部62,72と、湾曲した各コーナ部63,73とを有する非円形状に形成されている。この各コーナ部63,73に巻回される巻線64,74の巻回密度は、自ずと直線状に形成されている箇所と比較して、低くなり易い。この点に着目すれば、直線状の長辺部61,71及び短辺部62,72と、湾曲した各コーナ部63,73とを有するリングコア51は、高密度部64a,74aと低密度部64b,74bとが生じる形状であると言える。
図4に示すように、漏れ磁束Bxは、両巻線64,74のそれぞれに発生しており、両非巻回側面62a,72aのうち一方から他方へ向かうY方向に延びたループを形成している。漏れ磁束Bxは、長辺部61,71の側面よりも、高密度部64a,74aの巻回軸方向と交差(詳細には直交)している両非巻回側面62a,72aに集中し易い。特に、本実施形態では、巻線64,74は、長辺部61,71だけでなく、コーナ部63,73にも巻回されているため、各コーナ部63,73の側面から磁束は漏れにくく、漏れ磁束Bxは両非巻回側面62a,72aに集中し易い。
コモンモードチョークコイル50は、第1巻線64から引き出された第1入力端子65及び第1出力端子66と、第2巻線74から引き出された第2入力端子75及び第2出力端子76とを有している。各端子65,66,75,76は、リングコア51の内側に配置されており、Z方向に延びている。本実施形態では、両入力端子65,75は、第1非巻回側面62aよりもコモンモードチョークコイル50の中央に近い位置に配置されており、両出力端子66,76は、第2非巻回側面72aよりもコモンモードチョークコイル50の中央に近い位置に配置されている。図5に示すように、各端子65,66,75,76は、回路基板40の端子孔40bに挿通されて、配線部40cに電気的に接続されている。これにより、コモンモードチョークコイル50が回路基板40に取り付けられている。
かかる構成において、両入力端子65,75は、配線部40cを介してコネクタ33に電気的に接続されており、当該両入力端子65,75には車載用蓄電装置203からの直流電力が入力される。両出力端子66,76は、配線部40cを介してインバータ回路41に電気的に接続されている。
図1に示すように、ローパスフィルタ回路42は、コモンモードチョークコイル50に電気的に接続されているXコンデンサ80を備えている。また、本実施形態では、駆動装置30は、Xコンデンサ80とは別に設けられた2つのYコンデンサ81,82を備えている。
本実施形態では、コモンモードチョークコイル50と各コンデンサ80〜82とは、基板面40aと底壁部12aとの間に配置されている。但し、これに限られず、これらコモンモードチョークコイル50及び各コンデンサ80〜82の少なくとも1つが基板面40aとは反対側の面に設けられていてもよいし、回路基板40の側方に設けられていてもよい。
各コンデンサ80〜82はそれぞれ端子を有しており、当該端子が端子孔40bに挿通された状態で回路基板40に固定されている。これにより、各コンデンサ80〜82は、コモンモードチョークコイル50とインバータ回路41とに電気的に接続された状態で回路基板40に取り付けられている。なお、各コンデンサ80〜82の電気的接続の具体的な態様については後述する。
駆動装置30は、コモンモードチョークコイル50にて発生する磁力線(漏れ磁束Bx)によって渦電流Ieが発生する位置に設けられたダンピング部90を備えている。
図2及び図3等に示すように、ダンピング部90は、第1パーツ91及び第2パーツ101を含む。パーツ91,101は、一方向に開口した開口部92,102を有する有底箱形状である。両パーツ91,101は、互いの開口部92,102が対向している状態で配置されている。詳細には、両パーツ91,101は、Z方向と直交し且つX方向と交差(好ましくは直交)する方向、すなわちY方向に両開口部92,102同士が互いに対向している状態で配置されている。両パーツ91,101は、協働してコモンモードチョークコイル50を収容している。この場合、コモンモードチョークコイル50は、一部を除き、両パーツ91,101によって覆われている。
図6に示すように、ダンピング部90(詳細には両パーツ91,101)は、コモンモードチョークコイル50にて発生する漏れ磁束Bxが貫く位置、詳細には漏れ磁束Bxと交差する位置に設けられており、漏れ磁束Bxが貫くことによって当該漏れ磁束Bxを打ち消す方向の磁束Byを発生させる渦電流Ieが流れるように構成されている。詳細には、ダンピング部90(詳細には両パーツ91,101)は、例えばアルミニウムや真鍮等といった非磁性体の導電性材料で構成されており、その比透磁率は例えば「0.9〜3」に設定されているとよい。
図6及び図7に示すように、第1パーツ91は、第1非巻回側面62aを覆っている第1底部93と、第1底部93から第2パーツ101に向けて起立した第1側部94とを有している。
第1底部93は、Y方向から見て第1非巻回側面62aよりも一回り大きく形成された板状である。第1底部93は、第1非巻回側面62aとY方向に対向する位置に配置されている。
第1側部94は、Y方向から見てコモンモードチョークコイル50を囲んでいる枠状である。第1側部94は、両長辺部61,71をまとめて囲んでいる。第1側部94は、コモンモードチョークコイル50における中央よりも第1非巻回側面62a側を覆っている。両巻線64,74のうち第1非巻回側面62a側の部分は、第1側部94によって覆われている。第1側部94は、第1開口部92を区画する第1先端部95を有している。
なお、本実施形態では、第1底部93は矩形板状であり、第1側部94は第1底部93の周縁から起立し且つY方向から見て矩形の枠状である。但し、第1底部93及び第1側部94の具体的な形状はこれに限られず任意である。例えば、第1底部93は楕円形状等のオーバル形状でもよい。
図5に示すように、第1側部94には、第1先端部95から第1底部93に向けて凹んだ第1凹部96が形成されている。第1凹部96は、第1側部94のうち回路基板40と対向する部分に形成されており、第1先端部95から第1側部94の途中位置までY方向に延びている。
両入力端子65,75は、第1凹部96を介して端子孔40bに挿通されている。詳細には、両入力端子65,75は、第1凹部96内を通って回路基板40に向けて延びて端子孔40bに挿通されている。これにより、両入力端子65,75と第1パーツ91との干渉が回避されている。
図6及び図7に示すように、第2パーツ101は、第2非巻回側面72aを覆っている第2底部103と、第2底部103から第1パーツ91に向けて起立した第2側部104とを有している。
第2底部103は、第1底部93と同一形状である。第2底部103は、Y方向から見て第2非巻回側面72aよりも一回り大きく形成された板状である。第2底部103は、第2非巻回側面72aとY方向に対向する位置に配置されている。第1底部93と第2底部103とは、Y方向に対向配置されている。
第2側部104は、第1側部94と同一形状である。第2側部104は、Y方向から見てコモンモードチョークコイル50を囲んでいる枠状である。第2側部104は、両長辺部61,71をまとめて囲んでいる。第2側部104は、コモンモードチョークコイル50における中央よりも第2非巻回側面72a側を覆っている。両巻線64,74のうち第2非巻回側面72a側の部分は、第2側部104によって覆われている。第2側部104は、第2開口部102を区画する第2先端部105を有している。
図5に示すように、第2側部104には、第2先端部105から第2底部103に向けて凹んだ第2凹部106が形成されている。第2凹部106は、第2側部104のうち回路基板40と対向する部分に形成されており、第2先端部105から第2側部104の途中位置までY方向に延びている。
両出力端子66,76は、第2凹部106を介して端子孔40bに挿通されている。詳細には、両出力端子66,76は、第2凹部106内を通って回路基板40に向けて延びて端子孔40bに挿通されている。これにより、両出力端子66,76と第2パーツ101との干渉が回避されている。すなわち、両巻線64,74から引き出された各端子65,66,75,76は、両凹部96,106のいずれか一方を介して回路基板40の端子孔40bに挿通されている。
図7に示すように、駆動装置30は、コモンモードチョークコイル50とダンピング部90とを絶縁する絶縁部111を備えている。絶縁部111は、例えば絶縁フィルムや、コモンモードチョークコイル50の表面に施された絶縁コーティングである。絶縁部111によって、コモンモードチョークコイル50とダンピング部90とが短絡しないようになっている。
なお、各端子65,66,75,76は、絶縁部111を貫通している。但し、各端子65,66,75,76と両パーツ91,101とが短絡しないように、各端子65,66,75,76の基端部は絶縁コーティングされている。
ここで、絶縁部111は、底部93,103と非巻回側面62a,72aとの間にも介在している。底部93,103と非巻回側面62a,72aとは、絶縁部111を介して密着している。この場合、底部93,103と非巻回側面62a,72aとの対向距離Y1は、絶縁部111の厚さと同一となっている。
本実施形態では、第1側部94及び第2側部104は、Y方向から見てコモンモードチョークコイル50よりも一回り大きく形成されている。このため、絶縁部111と両側部94,104とは離間している。
但し、これに限られず、絶縁部111と両側部94,104とは接触していてもよい。この場合、コモンモードチョークコイル50の熱を両パーツ91,101に好適に伝達することができ、コモンモードチョークコイル50の放熱性の向上を図ることができる。
ちなみに、絶縁部111の具体的な構成は任意であり、例えば、両パーツ91,101の内面に施された絶縁コーティングでもよい。なお、図示の都合上、図7においては、絶縁部111を実際よりも厚く示す。
両パーツ91,101は、コモンモードチョークコイル50に対してY方向から取り付けられており、底部93,103と非巻回側面62a,72aとが絶縁部111を介して密着している状態で位置決めされている。これにより、対向距離Y1が一定(絶縁部111の厚さ)となっている。換言すれば、両パーツ91,101は、当該両パーツ91,101及びコモンモードチョークコイル50の寸法誤差に関わらず対向距離Y1が一定となるように、コモンモードチョークコイル50に対して位置決めされていると言える。
なお、コモンモードチョークコイル50に対する両パーツ91,101の位置決めを行う位置決め部の具体的な構成は、任意であり、例えば係止や嵌合等であってもよいし、接着材で接着させてもよい。また、駆動装置30は、両パーツ91,101を、Y方向から挟持する挟持部を有する構成でもよい。この場合であっても、両パーツ91,101のY方向の位置ずれが規制された状態で、両パーツ91,101がコモンモードチョークコイル50に取り付けられる。挟持部としては、例えば両パーツ91,101を互いに近づける方向に付勢する一対の付勢部等が考えられる。
図7に示すように、両パーツ91,101は、両先端部95,105同士がY方向に対向した状態で離間している。このため、第1先端部95と第2先端部105との間には隙間112が形成されている。隙間112は、底部93,103と非巻回側面62a,72aとの対向距離Y1よりも大きく形成されている。両巻線64,74のうち隙間112(両先端部95,105間)に対応する部分は、ダンピング部90によって覆われていない。
隙間112は、両長辺部61,71におけるY方向の中央部61a,71aに形成されている。このため、両巻線64,74の高密度部64a,74aのうち上記隙間112に対応する部分、詳細には両長辺部61,71の中央部61a,71aに巻回されている部分は、ダンピング部90によって覆われていない。また、両巻線64,74のうち両凹部96,106に対応する部分もダンピング部90によって覆われていない。
ちなみに、第1パーツ91は、第1底部93と第1側部94とによって第1パーツ収容室S1を形成しており、第2パーツ101は、第2底部103と第2側部104とによって第2パーツ収容室S2を形成しているとも言える。第1パーツ収容室S1と第2パーツ収容室S2とは、Y方向に対向配置されている。この場合、コモンモードチョークコイル50は、第1パーツ収容室S1と第2パーツ収容室S2とに収容されているとも言える。すなわち、両パーツ91,101は、互いの開口部92,102同士が対向している状態で、協働してコモンモードチョークコイル50を収容しているとも言える。詳細には、両パーツ91,101は、Z方向と直交し且つ両巻線64,74の対向方向であるX方向と交差(本実施形態では直交)する方向からコモンモードチョークコイル50を収容している。
また、ダンピング部90の両パーツ91,101は、ハウジング11(詳細には底壁部12a)と接触しており、両者は熱交換可能となっている。これにより、ハウジング11を用いて両パーツ91,101を冷却できる。
次に電動モータ23及び駆動装置30の電気的構成について説明する。
図8に示すように、電動モータ23のコイル27は、例えばu相コイル27u、v相コイル27v及びw相コイル27wを有する三相構造となっている。各コイル27u〜27wは例えばY結線されている。
インバータ回路41は、u相コイル27uに対応するu相スイッチング素子Qu1,Qu2と、v相コイル27vに対応するv相スイッチング素子Qv1,Qv2と、w相コイル27wに対応するw相スイッチング素子Qw1,Qw2と、を備えている。各スイッチング素子Qu1〜Qw2は例えばIGBT等のパワースイッチング素子である。なお、スイッチング素子Qu1〜Qw2は、還流ダイオード(ボディダイオード)Du1〜Dw2を有している。
各u相スイッチング素子Qu1,Qu2は接続線を介して互いに直列に接続されており、その接続線はu相コイル27uに接続されている。そして、各u相スイッチング素子Qu1,Qu2の直列接続体は、両接続ラインEL1,EL2に電気的に接続されており、上記直列接続体には、車載用蓄電装置203からの直流電力が入力されている。
なお、他のスイッチング素子Qv1,Qv2,Qw1,Qw2については、対応するコイルが異なる点を除いて、u相スイッチング素子Qu1,Qu2と同様の接続態様である。この場合、各スイッチング素子Qu1〜Qw2は、両接続ラインEL1,EL2に接続されていると言える。
駆動装置30は、各スイッチング素子Qu1〜Qw2のスイッチング動作を制御する制御部113を備えている。制御部113は、例えば、1つ以上の専用のハードウェア回路、及び/又は、コンピュータプログラム(ソフトウェア)に従って動作する1つ以上のプロセッサ(制御回路)によって実現することができる。プロセッサは、CPU並びに、RAM及びROM等のメモリを含み、メモリは、例えば各種処理をプロセッサに実行させるように構成されたプログラムコードまたは指令を格納している。メモリすなわちコンピュータ可読媒体は、汎用または専用のコンピュータでアクセスできるあらゆる利用可能な媒体を含む。
制御部113は、コネクタ33を介して空調ECU202と電気的に接続されており、空調ECU202からの指令に基づいて、各スイッチング素子Qu1〜Qw2を周期的にON/OFFさせる。詳細には、制御部113は、空調ECU202からの指令に基づいて、各スイッチング素子Qu1〜Qw2をパルス幅変調制御(PWM制御)する。より具体的には、制御部113は、キャリア信号(搬送波信号)と指令電圧値信号(比較対象信号)とを用いて、制御信号を生成する。そして、制御部113は、生成された制御信号を用いて各スイッチング素子Qu1〜Qw2のON/OFF制御を行うことにより直流電力を交流電力に変換する。
図8に示すように、ローパスフィルタ回路42は、回路的にはコネクタ33とインバータ回路41との間に設けられている。
コモンモードチョークコイル50は、両接続ラインEL1,EL2上に設けられている。ここで、既に説明した通り、コモンモードチョークコイル50は、ノーマルモード電流が流れた場合に漏れ磁束Bxを発生させる。この点を鑑みれば、コモンモードチョークコイル50は、両巻線64,74とは別に、仮想ノーマルモードコイルL1,L2を有しているとみなすことができる。すなわち、本実施形態のコモンモードチョークコイル50は、等価回路的には、両巻線64,74と仮想ノーマルモードコイルL1,L2との双方を有している。仮想ノーマルモードコイルL1,L2と巻線64,74とは直列に接続されている。
Xコンデンサ80は、コモンモードチョークコイル50に対して後段(インバータ回路41側)に設けられており、両接続ラインEL1,EL2に電気的に接続されている。コモンモードチョークコイル50とXコンデンサ80とによってLC共振回路が構成されている。すなわち、本実施形態のローパスフィルタ回路42は、コモンモードチョークコイル50を含むLC共振回路である。
かかる構成において、ローパスフィルタ回路42のカットオフ周波数fcは、上記キャリア信号の周波数であるキャリア周波数fpよりも低く設定されている。なお、キャリア周波数fpは、各スイッチング素子Qu1〜Qw2のスイッチング周波数とも言える。
車両には、車載用機器として例えばPCU(パワーコントロールユニット)204が、駆動装置30とは別に搭載されている。PCU204は、車載用蓄電装置203から供給される直流電力を用いて、車両に搭載されている走行用モータ等を駆動させる。すなわち、本実施形態では、PCU204と駆動装置30とは、車載用蓄電装置203に対して並列に接続されており、車載用蓄電装置203は、PCU204と駆動装置30とで共用されている。
PCU204は、例えば、昇圧スイッチング素子を有し且つ当該昇圧スイッチング素子を周期的にON/OFFさせることにより車載用蓄電装置203の直流電力を昇圧させる昇圧コンバータ205と、車載用蓄電装置203に並列に接続された電源用コンデンサ206とを備えている。また、図示は省略するが、PCU204は、昇圧コンバータ205によって昇圧された直流電力を、走行用モータが駆動可能な駆動電力に変換する走行用インバータを備えている。
かかる構成においては、昇圧スイッチング素子のスイッチングに起因して発生するノイズが、ノーマルモードノイズとして、駆動装置30に流入する。換言すれば、ノーマルモードノイズには、昇圧スイッチング素子のスイッチング周波数に対応したノイズ成分が含まれている。そして、昇圧スイッチング素子のスイッチング周波数は車種に応じて異なるため、ノーマルモードノイズの周波数は、車種に応じて変動することとなる。なお、昇圧スイッチング素子のスイッチング周波数に対応したノイズ成分とは、当該スイッチング周波数と同一周波数のノイズ成分だけでなく、その高調波成分を含み得る。
両Yコンデンサ81,82は、互いに直列に接続されている。詳細には、駆動装置30は、第1Yコンデンサ81の一端と第2Yコンデンサ82の一端とを接続するバイパスラインEL3を備えている。当該バイパスラインEL3は車両のボディに接地されている。
また、両Yコンデンサ81,82の直列接続体は、コモンモードチョークコイル50とXコンデンサ80との間に設けられており、コモンモードチョークコイル50に電気的に接続されている。第1Yコンデンサ81の上記一端とは反対側の他端は、第1接続ラインEL1、詳細には第1接続ラインEL1のうち第1巻線64(第1出力端子66)とインバータ回路41とを接続する部分に接続されている。第2Yコンデンサ82における上記一端とは反対側の他端は、第2接続ラインEL2、詳細には第2接続ラインEL2のうち第2巻線74(第2出力端子76)とインバータ回路41とを接続する部分に接続されている。
次に、本実施形態の作用として、ローパスフィルタ回路42の周波数特性について図9を用いて説明する。図9は、流入するノーマルモードノイズに対するローパスフィルタ回路42のゲイン(減衰量)Gの周波数特性を示すグラフである。なお、図9の実線は、ダンピング部90がある場合を示し、図9の二点鎖線は、ダンピング部90がない場合を示す。また、図9において、横軸の周波数は対数で示す。ゲインGは、ノーマルモードノイズを低減できる量を示すパラメータの一種である。
図9の二点鎖線に示すように、ダンピング部90が存在しない場合には、ローパスフィルタ回路42(詳細にはコモンモードチョークコイル50とXコンデンサ80とを含むLC共振回路)のQ値が比較的高くなっている。このため、ローパスフィルタ回路42の共振周波数f0に近い周波数のノーマルモードノイズは低減されにくくなっている。換言すれば、ローパスフィルタ回路42の共振周波数f0に近い周波数のノーマルモードノイズは大きくなり易い。
一方、本実施形態では、コモンモードチョークコイル50にて発生する磁力線(漏れ磁束Bx)によって渦電流Ieが発生する位置にダンピング部90が設けられている。ダンピング部90は、漏れ磁束Bxが貫く位置に設けられており、漏れ磁束Bxが貫くことによって当該漏れ磁束Bxを打ち消す方向の磁束Byが生じるような渦電流Ieを発生させるように構成されている。これにより、ダンピング部90がローパスフィルタ回路42のQ値を下げるものとして機能する。したがって、図9の実線に示すように、ローパスフィルタ回路42のQ値が低くなっている。よって、ローパスフィルタ回路42の共振周波数f0付近の周波数を有するノーマルモードノイズも、ローパスフィルタ回路42によって低減される。
ちなみに、仮想ノーマルモードコイルL1,L2のインダクタンスは、ダンピング部90の存在によって低くなる。このため、本実施形態のローパスフィルタ回路42の共振周波数f0は、ダンピング部90がない場合と比較して、若干高くなっている。
ここで、図9に示すように、車両の仕様に基づいて要求されるゲインGの許容値を許容ゲインGthとする。そして、ノーマルモードノイズの周波数が共振周波数f0と同一である場合においてローパスフィルタ回路42のゲインGが許容ゲインGthとなるQ値を特定Q値とする。かかる構成において、本実施形態では、ダンピング部90によって、ローパスフィルタ回路42のQ値が特定Q値よりも下がっている。このため、ノーマルモードノイズの周波数が共振周波数f0と同一である場合におけるローパスフィルタ回路42のゲインGが許容ゲインGthよりも小さく(絶対値としては大きく)なっている。換言すれば、ダンピング部90は、ローパスフィルタ回路42のQ値を上記特定Q値よりも下げるように構成されている。
なお、ダンピング部90によってローパスフィルタ回路42のQ値が低くなる一考察としては例えば以下の説明が考えられる。但し、以下の説明は一考察であり、これに基づいてダンピング部90の有効性が否定されるものではない。
漏れ磁束Bxを打ち消す方向の磁束Byは、コモンモードチョークコイル50が形成する漏れ磁束Bxに対して磁気抵抗として機能する。このため、漏れ磁束Bxの発生要因であるコモンモードチョークコイル50を流れるノーマルモード電流の流れが、漏れ磁束Bxを打ち消す方向の磁束Byによって阻害される。すなわち、漏れ磁束Bxを打ち消す方向の磁束Byは、ノーマルモード電流に対する抵抗成分として機能する。
ここで、漏れ磁束Bxを打ち消す方向の磁束Byは、ダンピング部90にて発生する渦電流Ieが大きくなるほど大きくなり易い。ダンピング部90にて発生する渦電流Ieは、ノーマルモードノイズが大きいほど、大きくなり易い。そして、ノーマルモードノイズ(ノーマルモード電流)は、ローパスフィルタ回路42の共振周波数f0に近い周波数において大きくなり易い。このため、漏れ磁束Bxを打ち消す方向の磁束Byは、ローパスフィルタ回路42の共振周波数f0に近い周波数において大きくなり易い。したがって、ローパスフィルタ回路42の共振周波数f0に近い周波数では、ダンピング部90による抵抗成分が大きくなり易い。よって、ローパスフィルタ回路42のQ値が下がる。
以上詳述した本実施形態によれば、以下の効果を奏する。
(1)車載用流体機械としての車載用電動圧縮機10は、流体としての冷媒が吸入されるハウジング11と、ハウジング11内に収容されている電動モータ23と、電動モータ23を駆動させるものであって直流電力が入力される駆動装置30とを備えている。駆動装置30は、直流電力に含まれるコモンモードノイズ及びノーマルモードノイズを低減(減衰)させるローパスフィルタ回路42と、ローパスフィルタ回路42によって両ノイズが低減された直流電力を交流電力に変換するインバータ回路41と、を有している。ローパスフィルタ回路42は、環状のリングコア51、及び、リングコア51に巻回された両巻線64,74を有するコモンモードチョークコイル50と、コモンモードチョークコイル50に対して電気的に接続されたXコンデンサ80と、を含む。
かかる構成において、駆動装置30は、コモンモードチョークコイル50にて発生する漏れ磁束Bx(磁力線)によって渦電流Ieが発生する位置に設けられたダンピング部90を備えている。ダンピング部90は、開口部92,102を有する有底箱形状のパーツ91,101を含む。両パーツ91,101は、互いの開口部92,102同士が対向している状態で、協働してコモンモードチョークコイル50を収容している。
かかる構成によれば、駆動装置30に入力される直流電力に含まれるコモンモードノイズは、コモンモードチョークコイル50によって低減される。また、コモンモードチョークコイル50にノーマルモード電流が流れることにより、漏れ磁束Bxが発生する。これにより、互いに電気的に接続されたコモンモードチョークコイル50及びXコンデンサ80を含むローパスフィルタ回路42を用いてノーマルモードノイズを低減できる。したがって、ノーマルモードノイズを低減させる専用のコイルを設けることなく、コモンモードノイズ及びノーマルモードノイズの双方が低減された直流電力をインバータ回路41に入力させることができる。よって、駆動装置30の大型化を抑制でき、それを通じて車載用電動圧縮機10の大型化を抑制できる。
また、コモンモードチョークコイル50は、両パーツ91,101によって覆われている。これにより、ローパスフィルタ回路42のQ値が下がる。したがって、ダンピング抵抗を設けることなく、ローパスフィルタ回路42のQ値を下げることができるため、車載用電動圧縮機10の大型化を抑制しつつ、汎用性の向上を図ることができる。
詳述すると、既に説明した通り、仮にローパスフィルタ回路42のQ値が高い場合、ローパスフィルタ回路42の共振周波数f0に近い周波数のノーマルモードノイズが低減されにくくなる。このため、Q値が高いローパスフィルタ回路42は、共振周波数f0に近い周波数のノーマルモードノイズに対しては有効に機能しない場合がある。したがって、駆動装置30の誤動作やローパスフィルタ回路42の寿命低下等が懸念され、共振周波数f0に近い周波数のノーマルモードノイズを発生させる車種には適用できないという不都合が生じる。これに対して、本実施形態では、ダンピング部90によってQ値が低くなっているため、共振周波数f0に近い周波数のノーマルモードノイズも低減される。すなわち、ローパスフィルタ回路42がノーマルモードノイズを低減可能な周波数帯域、換言すれば本駆動装置30が対応可能な周波数帯域に、ローパスフィルタ回路42の共振周波数f0を含めることができる。これにより、ローパスフィルタ回路42が低減可能なノーマルモードノイズの周波数帯域を広くでき、それを通じて幅広い車種に本車載用電動圧縮機10を適用することができる。
ここで、例えばQ値を下げるために、コモンモードチョークコイル50に対して直列にダンピング抵抗を設けることも考えられる。しかしながら、ダンピング抵抗は、比較的高い電流に対応する必要があるため、比較的大型なものとなり易く、電力損失及び発熱量も大きくなり易い。このため、放熱性等も考慮してダンピング抵抗を設置する必要があり、車載用電動圧縮機10の大型化が懸念される。
これに対して、本実施形態では、ダンピング部90には渦電流Ieが発生するが、当該渦電流Ieはダンピング抵抗に流れる電流より低いため、ダンピング部90の発熱量は小さくなり易い。これにより、車載用電動圧縮機10の大型化の抑制と両ノイズの低減との両立を図りつつ、汎用性の向上を図ることができる。
特に、本実施形態では、2つのパーツ91,101で協働してコモンモードチョークコイル50を収容する構成を採用しているため、1つのパーツでコモンモードチョークコイル50を収容する構成と比較して、比較的容易にコモンモードチョークコイル50を収容することができる。
特に、仮に1つのパーツでコモンモードチョークコイル50を収容しようとすると、当該パーツにコモンモードチョークコイル50が挿入可能な開口部を形成し、当該開口部からコモンモードチョークコイル50を挿入することが考えられる。この場合、コモンモードチョークコイル50の一面の全体が、ダンピング部によって覆われないことになり、ローパスフィルタ回路42のQ値を下げる効果(以下、単に「ダンピング効果」という。)が低下し易いという不都合が生じ易い。
詳細には、例えば、ダンピング部が、コモンモードチョークコイル50全体を収容可能な大きさであって、Y方向に開口し且つコモンモードチョークコイル50が挿入可能な大きさの開口部を有する1つのパーツで構成されている場合、両非巻回側面62a,72aのうちいずれか一方がダンピング部によって覆われない。このため、漏れ磁束Bxがダンピング部を貫きにくい。また、例えば、ダンピング部が、コモンモードチョークコイル50全体を収容可能な大きさであって、X方向又はZ方向に開口し且つコモンモードチョークコイル50が挿入可能な大きさの開口部を有する1つのパーツで構成されている場合、ダンピング部は、Y方向から見て囲まれた枠状ではなく一方が空いたU字状となる。このため、Y方向から見て閉ループの渦電流Ieが流れにくい。これに対して、本実施形態では、ダンピング部90が2つのパーツ91,101で構成されているため、上記のような不都合を抑制できる。
なお、ローパスフィルタ回路42のQ値を下げることによって、共振周波数f0付近の周波数を有するノーマルモードノイズを低減できる点に着目すれば、ダンピング効果とは、共振周波数f0付近の周波数を有するノーマルモードノイズに対する低減効果とも言える。
(2)ダンピング部90は、コモンモードチョークコイル50から発生する漏れ磁束Bxが貫く位置に設けられている。ダンピング部90は、漏れ磁束Bxが貫くことによって当該漏れ磁束Bxを打ち消す方向の磁束Byを発生させる渦電流Ieが流れるように構成されている。これにより、(1)の効果を得ることができる。
(3)両巻線64,74は、リングコア51の中心軸方向であるZ方向と直交するX方向に対向配置されている。両パーツ91,101は、Z方向及びX方向の双方と交差する方向からコモンモードチョークコイル50を収容している。詳細には、両パーツ91,101は、Y方向に対向配置されており、互いの開口部92,102同士がY方向に対向している。かかる構成によれば、両巻線64,74がX方向に対向配置されているコモンモードチョークコイル50においては、両巻線64,74の対向方向と中心軸方向との双方に直交する方向であるY方向から磁束が漏れ易い。この点、両パーツ91,101は、中心軸方向と直交し且つ両巻線64,74の対向方向と交差する方向からコモンモードチョークコイル50を収容しているため、漏れ磁束Bxが両パーツ91,101を貫き易い。換言すれば、両パーツ91,101を貫かない漏れ磁束Bxの量を低減できる。したがって、ダンピング効果の向上を図ることができる。
(4)リングコア51は、Y方向に延びた第1長辺部61及び第2長辺部71を有している。第1巻線64の一部は第1長辺部61に巻回されており、第2巻線74の一部は第2長辺部71に巻回されている。リングコア51は、両長辺部61,71の延設方向であるY方向の両外側端面であって、両巻線64,74が巻回されていない一対の非巻回側面62a,72aを有している。
かかる構成において、パーツ91,101は、非巻回側面62a,72aを覆う底部93,103と、底部93,103から起立するとともにY方向から見てコモンモードチョークコイル50を囲む枠状の側部94,104とを有している。側部94,104は、パーツ91,101の開口部92,102を区画する先端部95,105を有している。
かかる構成によれば、漏れ磁束Bxが集中し易い非巻回側面62a,72aが底部93,103によって覆われているため、漏れ磁束Bxが両底部93,103を貫き易い。また、漏れ磁束Bxが両底部93,103を貫くことによって、側部94,104において渦電流Ieが発生する。当該渦電流Ieは、枠状の側部94,104の周方向に流れる。すなわち、渦電流Ieは、Y方向から見て閉ループを形成する。したがって、Y方向に流れる漏れ磁束Bxを打ち消す方向の磁束Byが生じ易い。よって、ダンピング効果の更なる向上を図ることができる。
ここで、仮に有底箱形状の2つのパーツを用いてコモンモードチョークコイル50を収容しようとする場合、例えば両パーツをX方向から取り付けることも考えられる。この場合、側部は、X方向から見て枠状となっており、Y方向から見た場合には枠状とならない。かかる構成においては、Y方向から見て閉ループの渦電流Ieが発生しにくいため、漏れ磁束Bxに対する影響が小さくなり易い。
これに対して、本実施形態では、上記のように、Y方向から見て枠状の側部94,104が存在するため、Y方向から見て閉ループの渦電流Ieが発生し易い。これにより、漏れ磁束Bxを打ち消す方向の磁束Byを発生させることができ、ダンピング効果の更なる向上を図ることができる。
(5)側部94,104は、Y方向から見て、隙間やスリットが形成されていない閉じた枠状となっている。これにより、側部94,104を周方向に流れる渦電流Ieが隙間やスリット等によって阻害されないため、渦電流Ieを高くすることができ、それを通じてダンピング効果を高めることができる。
(6)両先端部95,105の間には隙間112が形成されている。かかる構成によれば、両パーツ91,101とコモンモードチョークコイル50との寸法誤差に起因する非巻回側面62a,72aと底部93,103との対向距離Y1の変動を抑制でき、それを通じて両パーツ91,101のダンピング効果のばらつきを抑制できる。
詳述すると、両パーツ91,101によるダンピング効果は、非巻回側面62a,72aと底部93,103との対向距離Y1に応じて変動する。このため、安定したダンピング効果を得るためには、対向距離Y1を一定にする必要がある。
ここで、仮に両パーツ91,101が、両先端部95,105に隙間112が形成されないように構成されている場合、両パーツ91,101は、両先端部95,105同士が当接した位置にて位置決めされ得る。この場合、両パーツ91,101とコモンモードチョークコイル50との寸法誤差に起因して、対向距離Y1が変動し得る。
これに対して、本実施形態によれば、隙間112が形成されているため、両先端部95,105が当接した位置にて両パーツ91,101が位置決めされることがない。すなわち、上記寸法誤差に対応させて上記隙間112が変動することにより、対向距離Y1を一定に確保できる。これにより、上述した効果を得ることができる。
(7)両パーツ91,101は、非巻回側面62a,72aと底部93,103とが絶縁部111を介して密着した状態で位置決めされている。これにより、対向距離Y1を小さくできるため、ダンピング効果の向上を図ることができる。
(8)コモンモードチョークコイル50における隙間112に対応する部分は、ダンピング部90によって覆われないため、ダンピング効果の低下という不都合が懸念される。これに対して、本実施形態では、隙間112は、リングコア51の長辺部61,71における延設方向の中央部61a,71aに形成されている。当該長辺部61,71の中央部61a,71aは、巻線64,74(詳細には高密度部64a,74a)が存在している部分であり、当該部分からは磁束が漏れにくい。これにより、隙間112が形成されていることに起因する上記不都合を抑制できる。
(9)駆動装置30は、インバータ回路41及びローパスフィルタ回路42が設けられる回路基板40を備えている。側部94,104には、先端部95,105から側部94,104の途中位置まで底部93,103に向けて凹んだ凹部96,106が形成されている。第1巻線64から引き出された第1入力端子65及び第1出力端子66、及び、第2巻線74から引き出された第2入力端子75及び第2出力端子76は、両凹部96,106のいずれかを介して、回路基板40に形成された端子孔40bに挿通されている。かかる構成によれば、コモンモードチョークコイル50と回路基板40とを電気的に接続できる。
ここで、単にコモンモードチョークコイル50と回路基板40とを電気的に接続する観点に着目すれば、先端部95,105から底部93,103まで延びたスリットを形成することも考えられる。しかしながら、上記のようなスリットが形成されると、Y方向から見て閉じた閉ループが形成されにくい。このため、渦電流Ieが発生しにくい。この点、本実施形態によれば、凹部96,106が形成されている箇所は側部94,104の途中位置までであるため、側部94,104が閉じた枠状を維持している。これにより、閉ループを形成することができるため、ダンピング効果を確保できる。
特に、両側部94,104の先端部95,105側は、底部93,103側や両パーツ91,101の底部93,103と比較して、ダンピング効果の寄与度が小さい。このため、凹部96,106を形成することによるダンピング効果への影響が小さい。したがって、ダンピング効果の低下を抑制しつつ、コモンモードチョークコイル50と回路基板40とを電気的に接続できる。
(10)各端子65,66,75,76は、両非巻回側面62a,72aよりもコモンモードチョークコイル50の中央寄りに配置されている。これにより、凹部96,106の凹み寸法を小さくできるため、側部94,104を周方向に流れる渦電流Ieの断面積を大きくできる。よって、凹部96,106を形成することに起因するダンピング効果の低下を抑制できる。
(11)インバータ回路41は、複数のスイッチング素子Qu1〜Qw2を有し、当該複数のスイッチング素子Qu1〜Qw2がPWM制御されることによって直流電力を交流電力に変換するものである。そして、ローパスフィルタ回路42のカットオフ周波数fcは、各スイッチング素子Qu1〜Qw2のPWM制御に用いられるキャリア信号の周波数であるキャリア周波数fpよりも低く設定されている。これにより、各スイッチング素子Qu1〜Qw2のスイッチングに起因したリップルノイズがローパスフィルタ回路42によって低減(減衰)されるため、上記リップルノイズが車載用電動圧縮機10外に流出することを抑制できる。つまり、ローパスフィルタ回路42は、PCU204の動作時には車載用電動圧縮機10に流入するノーマルモードノイズ及びコモンモードノイズを低減させるものとして機能し、車載用電動圧縮機10の動作時にはリップルノイズの流出を低減させるものとして機能する。
ここで、ローパスフィルタ回路42が低減可能なノーマルモードノイズの周波数帯域を広くする観点に着目すれば、共振現象の発生を回避するために、共振周波数f0を、想定されるノーマルモードノイズの周波数帯域よりも高くすることも考えられる。しかしながら、この場合、ローパスフィルタ回路42のカットオフ周波数fcも高くなるため、上記のようにカットオフ周波数fcをキャリア周波数fpよりも低くすることが困難となる。かといって、カットオフ周波数fcの上昇に伴ってキャリア周波数fpを高くすることは、各スイッチング素子Qu1〜Qw2のスイッチング損失が大きくなる点で好ましくない。
これに対して、本実施形態では、ダンピング部90によって共振周波数f0に近い周波数のノーマルモードノイズを低減させることが可能となっているため、共振周波数f0を、想定されるノーマルモードノイズの周波数帯域に合わせて高くする必要がない。したがって、キャリア周波数fpを過度に高くすることなくカットオフ周波数fcをキャリア周波数fpよりも低くできる。よって、インバータ回路41の電力損失の増大化等を抑制しつつ、各スイッチング素子Qu1〜Qw2のスイッチングに起因したリップルノイズが車載用電動圧縮機10外に流出することを抑制できる。
なお、上記実施形態は以下のように変更してもよい。
○ 両パーツ91,101は、Z方向と直交し且つX方向及びY方向の双方と交差する斜め方向からコモンモードチョークコイル50を収容してもよい。また、両パーツ91,101は、Z方向から収容してもよいし、X方向から収容してもよい。要は、開口部92,102同士が対向する対向方向は、Y方向に限られず任意である。
○ 第1巻線64は、第1長辺部61のみに巻回され、第1コーナ部63に巻回されていなくてもよい。要は、第1巻線64の少なくとも一部が第1長辺部61に巻回されていればよい。第2巻線74についても同様である。
○ 第1巻線64は、第1長辺部61に代えて、第1短辺部62に巻回されてもよい。同様に、第2巻線74は、第2長辺部71に代えて、第2短辺部72に巻回されてもよい。この場合、ダンピング部の両パーツは、X方向から取り付けられるとよい。
○ リングコア51の全体が、両巻線64,74によって巻回されてもよい。すなわち、リングコア51において、巻線が巻回されていない非巻回部が形成されていなくてもよい。換言すれば、リングコア51の中心軸方向及び両巻線64,74の対向方向の双方に直交したY方向に対して交差する面である短辺部62,72の側面62a,72aには、両巻線64,74が巻回されていてもよい。この場合であっても、上記側面62a,72aに漏れ磁束Bxは集中し易い。
○ リングコア51は、各コーナ部63,73が存在しない円形でもよい。この場合、両巻線64,74の巻回密度は、周方向に関わらず一定になっていてもよい。すなわち、巻線64,74が高密度部64a,74aと低密度部64b,74bとの双方を有することは必須ではない。
○ 底部93,103や側部94,104に隙間やスリットが形成されていてもよいし、貫通孔が形成されていてもよい。また、両パーツ91,101の少なくとも一部がメッシュ状となっていてもよいし、両パーツ91,101の少なくとも一部に凹部やエンボス又はパンチング孔等が形成されていてもよい。要は、側部94,104は、完全に閉じた枠状でなくてもよい。
○ 両パーツ91,101は同一形状であったが、これに限られない。例えば、両側部94,104のY方向の寸法が異なっていてもよい。
○ 両パーツ91,101の一部がオーバーラップする構成でもよい。例えば、両パーツ91,101の先端部95,105同士が重なってもよい。この場合、両先端部95,105が突き合わないように、両パーツ91,101のうち一方の側部は他方の側部よりも一回り大きく形成されているとよい。すなわち、隙間112は必須ではない。
○ 隙間112の位置は、長辺部61,71のY方向の中央部61a,71aに限られず、両非巻回側面62a,72aよりも上記中央部61a,71aに近い位置であってもよいし、それ以外の位置でもよい。
○ 凹部96,106に代えて、底部93,103に貫通孔が形成されてもよい。この場合、各端子65,66,75,76は、上記貫通孔を介して回路基板40の端子孔40bに挿通される構成でもよい。また、凹部96,106を省略して、隙間112から各端子65,66,75,76を通してもよい。
○ 非巻回側面62a,72aと底部93,103とは、絶縁部111を介して密着していなくてもよい。例えば、非巻回側面62a,72aと絶縁部111との間、又は、底部93,103と絶縁部111との間にスペースがあってもよい。
○ カバー部材31の形状は、有底筒状に限られない。例えば、底壁部12aから側壁部12bとは反対方向に起立した環状のリブが設けられている構成においては、カバー部材31は、リブと突き合わせられた状態で取り付けられた板状でもよい。この場合、底壁部12aとリブとカバー部材31とによって、収容室S0が形成される。要は、収容室S0を区画する具体的な構成は任意である。
○ リングコア51の形状は任意であり、例えば、UUコア、EEコア及びトロイダルコア等を用いてもよい。また、リングコア51は、完全に閉じたリング状である必要はなく、隙間が形成されている構成であってもよい。
○ ローパスフィルタ回路42の具体的な回路構成は、実施形態のものに限られない。例えば、Xコンデンサ80が2つ設けられた構成でもよい。また、ローパスフィルタ回路は、π型やT型等任意である。
○ Yコンデンサ81,82を省略してもよい。すなわち、駆動装置30において、Yコンデンサは必須ではない。但し、コモンモードノイズを好適に低減できる点に着目すれば、Yコンデンサがある方が好ましい。
○ 昇圧コンバータ205を省略してもよい。この場合、ノーマルモードノイズとしては、例えば走行用インバータのスイッチング素子のスイッチング周波数に起因するノイズが考えられる。
○ 車載用機器は、PCU204に限られず、周期的にON/OFFするスイッチング素子を有しているものであれば任意である。例えば、車載用機器は、駆動装置30とは別に設けられたインバータ等であってもよい。
○ 実施形態の車載用電動圧縮機10は、所謂インライン型であったが、これに限られず、例えば駆動装置30がハウジング11に対して回転軸21の径方向外側に配置された所謂キャメルバック型であってもよい。要は、駆動装置30の設置位置は任意である。
○ 車載用電動圧縮機10は、車載用空調装置200に用いられていたが、これに限られない。例えば、車両に燃料電池が搭載されている場合には、車載用電動圧縮機10は燃料電池に空気を供給する空気供給装置に用いられてもよい。すなわち、圧縮対象の流体は、冷媒に限られず、空気など任意である。
○ 車載用流体機械は、圧縮部22を備えた車載用電動圧縮機10に限られず、任意である。例えば、車載用流体機械が搭載される車両が燃料電池車両である場合には、車載用流体機械は、燃料電池に水素を供給する車載用電動ポンプでもよい。
○ 上記各別例同士を組み合わせてもよいし、上記各別例と実施形態とを適宜組み合わせてもよい。
次に、上記実施形態及び別例から把握できる好適な一例について以下に記載する。
(イ)流体が吸入されるハウジングと、前記ハウジング内に収容されている電動モータと、前記電動モータを駆動させるものであって直流電力が入力される駆動装置と、を備え、前記駆動装置は、前記直流電力に含まれるコモンモードノイズ及びノーマルモードノイズを低減させるローパスフィルタ回路と、前記ローパスフィルタ回路によって前記コモンモードノイズ及び前記ノーマルモードノイズが低減された直流電力を交流電力に変換するインバータ回路と、を備え、前記ローパスフィルタ回路は、環状のリングコア、及び、前記リングコアに巻回された第1巻線及び第2巻線を有するコモンモードチョークコイルと、前記コモンモードチョークコイルに対して電気的に接続されたコンデンサと、を有し、前記駆動装置は、開口部を有する有底箱形状の第1パーツ及び第2パーツを有するダンピング部を備え、前記第1パーツ及び前記第2パーツは、前記コモンモードチョークコイルにて発生する漏れ磁束が貫く位置に設けられており、当該漏れ磁束が貫くことによって渦電流が流れるように構成されており、前記第1パーツ及び前記第2パーツは、互いの前記開口部同士が対向している状態で、協働して前記コモンモードチョークコイルを収容していることを特徴とする車載用流体機械。
「前記第1パーツ及び前記第2パーツ」が「漏れ磁束が貫くことによって渦電流が流れるように構成されて」いるとは、例えば第1パーツ及び第2パーツが非磁性体の導電性材料で構成されていることが考えられる。
10…車載用電動圧縮機、11…ハウジング、21…回転軸、22…圧縮部、23…電動モータ、30…駆動装置、40…回路基板、40b…端子孔、41…インバータ回路、42…ローパスフィルタ回路、50…コモンモードチョークコイル、51…リングコア、61…第1長辺部(第1延設部)、62…第1短辺部、62a…第1非巻回側面、64…第1巻線、65…第1入力端子、66…第1出力端子、71…第2長辺部(第2延設部)、72…第2短辺部、72a…第2非巻回側面、74…第2巻線、75…第2入力端子、76…第2出力端子、80…Xコンデンサ(コンデンサ)、90…ダンピング部、91…第1パーツ、92…第1開口部、93…第1底部、94…第1側部、95…第1先端部、96…第1凹部、101…第2パーツ、102…第2開口部、103…第2底部、104…第2側部、105…第2先端部、106…第2凹部、111…絶縁部、112…隙間、Bx…漏れ磁束、Ie…渦電流、f0…共振周波数、fc…カットオフ周波数、fp…キャリア周波数。

Claims (4)

  1. 流体が吸入されるハウジングと、
    前記ハウジング内に収容されている電動モータと、
    前記電動モータを駆動させるものであって直流電力が入力される駆動装置と、
    を備え、
    前記駆動装置は、
    前記直流電力に含まれるコモンモードノイズ及びノーマルモードノイズを低減させるローパスフィルタ回路と、
    前記ローパスフィルタ回路によって前記コモンモードノイズ及び前記ノーマルモードノイズが低減された直流電力を交流電力に変換するインバータ回路と、
    を備え、
    前記ローパスフィルタ回路は、
    環状のリングコア、及び、前記リングコアに巻回された第1巻線及び第2巻線を有するコモンモードチョークコイルと、
    前記コモンモードチョークコイルに対して電気的に接続されたコンデンサと、
    を有し、
    前記第1巻線と前記第2巻線とは、前記リングコアの中心軸方向と直交する方向に対向配置されており、
    前記リングコアは、前記中心軸方向と前記両巻線の対向方向との双方に直交する方向に延びた第1延設部及び第2延設部を有し、
    前記第1巻線の少なくとも一部は、前記第1延設部に巻回されており、
    前記第2巻線の少なくとも一部は、前記第2延設部に巻回されており、
    前記リングコアは、前記両延設部の延設方向の両外側端面であって、前記両巻線が巻回されていない第1非巻回側面及び第2非巻回側面を有し、
    前記駆動装置は、前記コモンモードチョークコイルにて発生する磁力線によって渦電流が発生する位置に設けられ、非磁性体の導電性材料で構成されたダンピング部を備え、
    前記ダンピング部は、開口部を有する有底箱形状の第1パーツ及び第2パーツを含み、
    前記第1パーツは、
    前記第1非巻回側面を覆う第1底部と、
    前記第1底部から前記第2パーツに向けて起立するとともに前記両延設部の延設方向から見て前記コモンモードチョークコイルを囲む枠状であって、前記第1パーツの前記開口部である第1開口部を区画する第1先端部を有する第1側部と、を備え、
    前記第2パーツは、
    前記第2非巻回側面を覆う第2底部と、
    前記第2底部から前記第1パーツに向けて起立するとともに前記両延設部の延設方向から見て前記コモンモードチョークコイルを囲む枠状であって、前記第2パーツの前記開口部である第2開口部を区画する第2先端部を有する第2側部と、を備え、
    前記第1パーツ及び前記第2パーツは、前第1開口部及び前記第2開口部が対向している状態で、前記両延設部の延設方向から協働して前記コモンモードチョークコイルを収容しており、
    前記第1先端部と前記第2先端部との間には隙間が形成されていることを特徴とする車載用流体機械。
  2. 前記第1巻線は、巻回密度が相対的に高低となった第1高密度部及び第1低密度部を有し、
    前記第2巻線は、巻回密度が相対的に高低となった第2高密度部及び第2低密度部を有し、
    前記隙間は、前記コモンモードチョークコイルにおける前記第1高密度部及び前記第2高密度部の部分に形成されている請求項1に記載の車載用流体機械。
  3. 前記駆動装置は、前記インバータ回路及び前記ローパスフィルタ回路が設けられる回路基板を備え、
    前記第1側部には、前記第1先端部から前記第1側部の途中位置まで前記第1底部に向けて凹んだ第1凹部が形成されており、
    前記第2側部には、前記第2先端部から前記第2側部の途中位置まで前記第2底部に向けて凹んだ第2凹部が形成されており、
    前記第1巻線及び前記第2巻線から引き出された各端子は、前記第1凹部又は前記第2凹部を介して前記回路基板に形成された端子孔に挿通されている請求項1又は請求項2に記載の車載用流体機械。
  4. 前記車載用流体機械は、前記電動モータによって駆動されるものであって前記ハウジング内に吸入された流体を圧縮する圧縮部を備えた車載用電動圧縮機である請求項1〜のうちいずれか一項に記載の車載用流体機械。
JP2017003621A 2017-01-12 2017-01-12 車載用流体機械 Active JP6700610B2 (ja)

Priority Applications (4)

Application Number Priority Date Filing Date Title
JP2017003621A JP6700610B2 (ja) 2017-01-12 2017-01-12 車載用流体機械
DE102018100047.2A DE102018100047A1 (de) 2017-01-12 2018-01-03 On-Board Fluidmaschine
KR1020180001476A KR101953508B1 (ko) 2017-01-12 2018-01-05 차량 탑재용 유체 기계
US15/865,349 US10707770B2 (en) 2017-01-12 2018-01-09 On-board fluid machine

Applications Claiming Priority (1)

Application Number Priority Date Filing Date Title
JP2017003621A JP6700610B2 (ja) 2017-01-12 2017-01-12 車載用流体機械

Publications (2)

Publication Number Publication Date
JP2018112147A JP2018112147A (ja) 2018-07-19
JP6700610B2 true JP6700610B2 (ja) 2020-05-27

Family

ID=62636528

Family Applications (1)

Application Number Title Priority Date Filing Date
JP2017003621A Active JP6700610B2 (ja) 2017-01-12 2017-01-12 車載用流体機械

Country Status (4)

Country Link
US (1) US10707770B2 (ja)
JP (1) JP6700610B2 (ja)
KR (1) KR101953508B1 (ja)
DE (1) DE102018100047A1 (ja)

Families Citing this family (13)

* Cited by examiner, † Cited by third party
Publication number Priority date Publication date Assignee Title
DE112017001684T5 (de) * 2016-03-31 2018-12-13 Kabushiki Kaisha Toyota Jidoshokki Fahrzeugseitiger elektrischer Kompressor
CN109121459B (zh) 2016-03-31 2020-11-20 株式会社丰田自动织机 车载用电动压缩机
DE112017001797T5 (de) * 2016-03-31 2018-12-20 Kabushiki Kaisha Toyota Jidoshokki Fahrzeugeigene Leistungsumwandlungsvorrichtung
JP7027795B2 (ja) * 2017-10-19 2022-03-02 株式会社ジェイテクト モータ装置
DE102019001161A1 (de) * 2019-02-16 2020-08-20 Diehl Aviation Gilching Gmbh Kältemittelverdichter und Verfahren zum Betreiben eines Kältemittelverdichters
JP7081554B2 (ja) * 2019-03-29 2022-06-07 株式会社豊田自動織機 電動圧縮機
JP7093747B2 (ja) * 2019-06-07 2022-06-30 本田技研工業株式会社 電力制御装置及び駆動ユニット
DE102019123457A1 (de) * 2019-09-02 2021-03-04 Tdk Electronics Ag Tiefpassfilter
JP7184004B2 (ja) 2019-09-25 2022-12-06 株式会社豊田自動織機 車載用電動圧縮機
JP7213447B2 (ja) * 2019-09-25 2023-01-27 株式会社豊田自動織機 車載用電動圧縮機
JP7342758B2 (ja) * 2020-03-25 2023-09-12 株式会社豊田自動織機 車載用電動圧縮機
JP7347299B2 (ja) * 2020-03-31 2023-09-20 株式会社豊田自動織機 電動圧縮機
JP7722218B2 (ja) * 2022-02-22 2025-08-13 株式会社豊田自動織機 電動圧縮機

Family Cites Families (31)

* Cited by examiner, † Cited by third party
Publication number Priority date Publication date Assignee Title
JPH03286511A (ja) * 1990-04-03 1991-12-17 Hitachi Ferrite Ltd ノイズフィルタ
JP3003067B2 (ja) * 1993-05-26 2000-01-24 日本電信電話株式会社 多線条平衡通信線用emcフィルタ
JPH0766041A (ja) * 1993-08-30 1995-03-10 Berunikusu:Kk インダクタ
JP3159071B2 (ja) * 1996-08-01 2001-04-23 株式会社日立製作所 放熱フィンを有する電気装置
US7317374B2 (en) * 2003-01-03 2008-01-08 Nucore, Inc. Self-damped inductor
JP2005294358A (ja) * 2004-03-31 2005-10-20 Tdk Corp インダクタ
US8373952B2 (en) * 2006-09-29 2013-02-12 Rockwell Automation Technologies, Inc. Integrated DC link inductor and common mode current sensor winding
JP4840921B2 (ja) * 2006-10-10 2011-12-21 Necトーキン株式会社 インダクタンス素子
JP5039515B2 (ja) * 2007-11-22 2012-10-03 三菱重工業株式会社 電動圧縮機
JP5138551B2 (ja) * 2008-11-06 2013-02-06 サンデン株式会社 インバータ一体型電動圧縮機
JP5302669B2 (ja) 2008-12-26 2013-10-02 三菱重工業株式会社 車載用インバータ一体型電動圧縮機
US20130049918A1 (en) * 2011-08-25 2013-02-28 Futurewei Technologies, Inc. Common Mode Choke Apparatus and Method
US20130301327A1 (en) * 2012-05-14 2013-11-14 General Electric Company System and method of parallel converter current sharing
JP5884795B2 (ja) * 2013-09-03 2016-03-15 株式会社豊田自動織機 電動圧縮機
JP5831514B2 (ja) * 2013-09-03 2015-12-09 株式会社豊田自動織機 電動圧縮機
JP6217667B2 (ja) * 2015-02-19 2017-10-25 株式会社豊田自動織機 電動圧縮機
JP6217668B2 (ja) * 2015-02-20 2017-10-25 株式会社豊田自動織機 電動圧縮機
JP6256382B2 (ja) * 2015-02-27 2018-01-10 株式会社豊田自動織機 電動圧縮機
JP6350753B2 (ja) * 2015-06-29 2018-07-04 株式会社村田製作所 電源回路
US10003241B2 (en) * 2015-07-07 2018-06-19 Kabushiki Kaisha Toyota Jidoshokki Vehicle inverter device and motor-driven compressor
JP6500760B2 (ja) * 2015-11-30 2019-04-17 株式会社デンソー 電力変換装置
JP2017184329A (ja) * 2016-03-28 2017-10-05 株式会社豊田自動織機 インバータ制御装置及び車載流体機械
DE112017001797T5 (de) * 2016-03-31 2018-12-20 Kabushiki Kaisha Toyota Jidoshokki Fahrzeugeigene Leistungsumwandlungsvorrichtung
JP6443377B2 (ja) * 2016-03-31 2018-12-26 株式会社豊田自動織機 流体機械
JP6690498B2 (ja) * 2016-10-31 2020-04-28 株式会社豊田自動織機 車載用電動圧縮機
JP6942963B2 (ja) * 2017-01-12 2021-09-29 株式会社豊田自動織機 車載用流体機械
JP6724838B2 (ja) * 2017-03-28 2020-07-15 株式会社豊田自動織機 車載用電動圧縮機
US9985515B1 (en) * 2017-05-25 2018-05-29 Alexei V. Nikitin Controllers for regulated power inverters, AC/DC, and DC/DC converters
JP6879253B2 (ja) * 2018-03-30 2021-06-02 株式会社豊田自動織機 車載用電動圧縮機
DE102019204138A1 (de) * 2018-03-30 2019-10-02 Kabushiki Kaisha Toyota Jidoshokki Fahrzeuginterner motorgetriebener Kompressor
JP6881379B2 (ja) * 2018-03-30 2021-06-02 株式会社豊田自動織機 車載用電動圧縮機

Also Published As

Publication number Publication date
US20180198350A1 (en) 2018-07-12
KR101953508B1 (ko) 2019-02-28
DE102018100047A1 (de) 2018-07-12
KR20180083255A (ko) 2018-07-20
US10707770B2 (en) 2020-07-07
JP2018112147A (ja) 2018-07-19

Similar Documents

Publication Publication Date Title
JP6700610B2 (ja) 車載用流体機械
JP6942963B2 (ja) 車載用流体機械
JP6631698B2 (ja) 車載用電動圧縮機
JP6587023B2 (ja) 車載用の電動圧縮機
JP6673468B2 (ja) 車載用電動圧縮機
JP6690498B2 (ja) 車載用電動圧縮機
US10003241B2 (en) Vehicle inverter device and motor-driven compressor
US10544805B2 (en) On-vehicle motor-driven compressor
JP6881379B2 (ja) 車載用電動圧縮機
US11482962B2 (en) On-vehicle motor-driven compressor
JP2020167776A (ja) 電動圧縮機

Legal Events

Date Code Title Description
A621 Written request for application examination

Free format text: JAPANESE INTERMEDIATE CODE: A621

Effective date: 20190408

A977 Report on retrieval

Free format text: JAPANESE INTERMEDIATE CODE: A971007

Effective date: 20200124

A131 Notification of reasons for refusal

Free format text: JAPANESE INTERMEDIATE CODE: A131

Effective date: 20200128

A521 Written amendment

Free format text: JAPANESE INTERMEDIATE CODE: A523

Effective date: 20200311

TRDD Decision of grant or rejection written
A01 Written decision to grant a patent or to grant a registration (utility model)

Free format text: JAPANESE INTERMEDIATE CODE: A01

Effective date: 20200401

A61 First payment of annual fees (during grant procedure)

Free format text: JAPANESE INTERMEDIATE CODE: A61

Effective date: 20200414

R151 Written notification of patent or utility model registration

Ref document number: 6700610

Country of ref document: JP

Free format text: JAPANESE INTERMEDIATE CODE: R151