JP6671878B2 - 仮設足場用部材 - Google Patents

仮設足場用部材 Download PDF

Info

Publication number
JP6671878B2
JP6671878B2 JP2015143820A JP2015143820A JP6671878B2 JP 6671878 B2 JP6671878 B2 JP 6671878B2 JP 2015143820 A JP2015143820 A JP 2015143820A JP 2015143820 A JP2015143820 A JP 2015143820A JP 6671878 B2 JP6671878 B2 JP 6671878B2
Authority
JP
Japan
Prior art keywords
wedge
temporary scaffold
notch
temporary
pipe
Prior art date
Legal status (The legal status is an assumption and is not a legal conclusion. Google has not performed a legal analysis and makes no representation as to the accuracy of the status listed.)
Active
Application number
JP2015143820A
Other languages
English (en)
Other versions
JP2017025537A (ja
Inventor
孝範 真田
孝範 真田
基篤 藤原
基篤 藤原
光大 河合
光大 河合
茂 星山
茂 星山
Current Assignee (The listed assignees may be inaccurate. Google has not performed a legal analysis and makes no representation or warranty as to the accuracy of the list.)
Sankyo Co Ltd
Original Assignee
Sankyo Co Ltd
Priority date (The priority date is an assumption and is not a legal conclusion. Google has not performed a legal analysis and makes no representation as to the accuracy of the date listed.)
Filing date
Publication date
Application filed by Sankyo Co Ltd filed Critical Sankyo Co Ltd
Priority to JP2015143820A priority Critical patent/JP6671878B2/ja
Publication of JP2017025537A publication Critical patent/JP2017025537A/ja
Application granted granted Critical
Publication of JP6671878B2 publication Critical patent/JP6671878B2/ja
Active legal-status Critical Current
Anticipated expiration legal-status Critical

Links

Images

Landscapes

  • Mutual Connection Of Rods And Tubes (AREA)

Description

本発明は、例えば建築現場等で組み立てられる仮設足場において用いられる仮設足場用部材に関し、特に、クサビを用いて支柱に固定する構造を有する仮設足場用部材に関する。
従来、マンション等の増改築や改修工事(塗装、タイル貼り、防水補修又はひび補修等)が実施される建築現場においては、建築物の周囲に作業者が高所作業を行うための仮設足場が組み立てられる。仮設足場を構成する複数の部材同士、例えば支柱に水平材を連結する機構の一例としては、クサビを用いることで脱落を防止するクサビ緊結式足場が知られている。
このクサビ緊結式足場の例としては、特許文献1(実開平1−64539号公報)等が知られている。この仮設足場は、支柱に複数の掛止孔が設けられた取り付けフランジを所定間隔ごとに設け、当該取り付けフランジの掛止孔のいずれかに水平材を位置合わせした状態にフランジに嵌め合わせて水平材を取り付ける。この状態で、水平材のクサビ挿通孔
と取り付けフランジの掛止孔にクサビを上下方向に挿入することで、支柱と水平材を連結するものである。
このクサビ緊結式足場では、クサビが支柱又は水平材と分離した状態となっているため、クサビの紛失や固定作業が煩雑であるという問題を有していた。この問題を防止するために、例えば、特許文献2(特開平11−182027号公報)等のように、水平材に設けられたクサビ挿通孔を上下で異なる形状とし、下側のクサビ挿通孔のみ通過できるように抜け止め用の突起を形成したクサビを用いることで、水平材とクサビとを一体化しクサビの紛失などの問題を解消したものが公知となっている。このクサビ緊結式足場は、水平材とクサビとが一体化になっているため、クサビを上側に引き上げた状態で保持して水平材を取り付けフランジに嵌め合わせ、その後、引き上げたクサビを掛止孔及び水平材のクサビ挿通孔に挿入することで、支柱と水平材との連結作業を行う。
実開平1−64539号公報 特開平11−182027号公報 特開2013−256857号公報
しかし、特許文献2に記載のクサビ緊結式足場では、支柱と水平材とを組み付ける際に、クサビを上に引っ張った状態に支持しておく必要があった。すなわち、クサビを上側に引き抜いた状態で支持しておかないと、重力によりクサビが落ちてクサビが上下のクサビ挿通孔に縦方向に挿入された状態となり、当該クサビが邪魔となって水平材を取り付けフランジに嵌め込む作業の差し障りになっていた。
このため、特許文献3(特開2013−256857号公報)には、支柱への取り付け及び取り外しの良好な作業性を確保するために、クサビを水平材中央側に倒した状態として収納状態に保持する空間部を設けた仮設足場用部材が開示されている。
しかし、2本の支柱の間に水平材を懸架する場合において、支柱間の距離と水平材の長さ寸法はほぼ同じに構成されているため、取り付けフランジの嵌め込み作業には、ハンマーなどで打ち込みを行ない嵌め込み又は取り外しを行う必要がある。この場合、当該ハンマーの打ち込みによる振動で、クサビが移動して下側のクサビ挿通孔に落ち込むことが多く、依然として倒した状態に収納したクサビが動かないように支持する必要があった。このため、水平材の取り付け作業の手間は依然として大きく、作業性が悪くなるという問題が生じていた。
さらに、上記特許文献1〜3に記載の仮設足場用部材は、連結部材を円筒形のパイプ部材の両端に溶接することで構成されている。ここで、連結部材は、1枚の金属板を左右方向に対向するように折り曲げ、当該折り曲げ部分が対向する隙間をクサビ挿通孔として形成するとともに、前記取り付けフランジを挿通するフランジ嵌合口を先端側に設けるために、横方向に伸びるスリットを形成させる必要がある。このため、当該連結部材の製造工程が煩雑で、製造コストがかさむという問題があった。
したがって、本発明が解決しようとする技術的課題は、組み付け及び取り外しの作業性を高めることができる簡単に製造可能な仮設足場用部材を提供することである。
本発明は、上記技術的課題を解決するために、以下の構成の仮設足場用部材を提供する。
本発明の第1態様によれば、複数の掛止孔を有する取り付けフランジが設けられた支柱にくさび部材によって固定される仮設足場用部材であって、
周方向に対向して配置され幅寸法が異なる一対のくさび用切り欠きと、前記取り付けフランジを嵌め込むフランジ用切り欠きが、それぞれ端部に設けられた円筒形のパイプ部材と、
それぞれの前記くさび用切り欠きを挟むように前記パイプ部材に挿入固定される挿入足部と、前記挿入足部の間に位置し前記くさび用切り欠きの開口外で屈曲して前記くさび用切り欠きの開口部分を閉塞する略U字形の閉塞部を有する線材で構成された連結部材と、を備え、
前記くさび部材は、両端近傍に一方のくさび用切り欠きのみを通過可能な抜け止め突起が設けられ、前記連結部材によって前記くさび用切り欠きに挿通された状態で遊嵌されることを特徴とする、仮設足場用部材を提供する。
本発明の第2態様によれば、前記パイプ部材は、少なくとも幅広の前記くさび用切り欠きの端部に、前記くさび部材を係持する係持片を有していることを特徴とする、第1態様の仮設足場用部材を提供する。
本発明の第3態様によれば、前記フランジ用切り欠きは、前記パイプ部材の両端にそれぞれ1箇所のみ設けられていることを特徴とする、第1又は第2態様の仮設足場用部材を提供する。
本発明の第4態様によれば、前記連結部材の前記挿入足部と前記閉塞部は、断面円形の線材で構成されていることを特徴とする、第1から第3態様のいずれか1つの仮設足場用部材を提供する。
本発明の第5態様によれば、前記連結部材は、前記一対の楔用切り欠きをそれぞれ閉塞する前記閉塞部に連続する前記挿入足部が、前記フランジ用切り欠きの後側で連結した1本の線材で構成されていることを特徴とする、第4態様の仮設足場用部材を提供する。
本発明の第6態様によれば、前記連結部材は、前記くさび用切り欠きの開口側部分が、支柱の軸に沿った方向に前記パイプ部材の表面から突出するように構成されていることを特徴とする、第1から第5態様のいずれか1つの仮設足場用部材を提供する。
本発明の第7態様によれば、前記くさび部材は、幅広の前記くさび用切り欠き側が細くなるテーパー状に構成されており、尖端側が前記パイプ部材中央側に屈曲していることを特徴とする、第1から第6態様のいずれか1つの仮設足場用部材を提供する。
本発明によれば、円筒形のパイプ部材に切り欠きを設けることで、くさび及び取り付けフランジを挿入する構成を簡単にすることができると共に、当該くさび用切り欠きに挿入されているくさび部材を連結部材で切り欠き内に遊嵌することができることから、製造を容易にすることができる。また、くさび部材は、一方のくさび用切り欠きのみを通過可能に構成されているため、くさび部材をパイプ部材に対して自由に移動させることができ、不使用時にパイプ部材内へ収納可能で、また、取り付け時における引き出し作業などの作業性を向上させることができる。
本発明の仮設足場用部材の概略構成を示す斜視図である。 図1の仮設足場用部材の端部と支柱の構成を示す拡大斜視図である。 図1の仮設足場用部材と支柱とが連結した状態を示す斜視図である。 図1の仮設足場用部材の組み立て構成を示す組み立て分解斜視図である。 図1の仮設足場用部材の組み立て構成を示す分解正面図である。 くさび部材を省略した図1の仮設足場用部材の平面図である。 くさび部材を省略した図1の仮設足場用部材の底面図である。 くさび部材を省略した図1の仮設足場用部材の側面図である。 くさび部材を収納空間に収納した状態を示す図1の仮設足場用部材の正面図である。 くさび部材を係持片に係持させた状態を示す図1の仮設足場用部材の正面図である。 くさび部材を引き出した状態を示す図1の仮設足場用部材の正面図である。 図11のXII−XII線における断面図である。 くさび部材を収納空間に収納して上下反転させた状態を示す図1の仮設足場用部材の正面図である。
以下、本発明の実施形態に係る仮設足場用部材について、図面を参照しながら説明する。
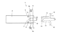
図1は、本発明の仮設足場用部材の概略構成を示す図である。図2は仮設足場用部材の端部と支柱の構成を示す拡大斜視図である。図3は仮設足場用部材と支柱とが連結した状態を示す斜視図である。図4は仮設足場用部材の組み立て構成を示す組み立て分解斜視図である。
図1に示す仮設足場用部材1は、取り付けフランジ101が所定間隔ごとに設けられた支柱100に固定されるものであり、パイプ部材2の両端に、連結金具3とくさび部材4が設けられている。
支柱100に設けられている取り付けフランジ101は、図2,図3に示すように、支柱100の軸に対して垂直な向きに4方向に伸びる挿入片102を有する平板状の部材であり、4つの挿入片102のそれぞれに掛止孔103が設けられている。隣り合う挿入片102の間は、支柱100の外径と略等しい径を有する弧状104に構成されており、収納,運搬時などにおいて支柱100をコンパクトに束ねることができるようになっている。
仮設足場用部材1は、図1においては、全長が隣り合う支柱100間の間隔に構成されているが、これは、2方向に連続して配置された隣り合う支柱100の長辺の間隔に合わせて構成されたものであり、例えば、長辺の間隔は例えば約1800mmで、短辺に沿って配置される場合は、支柱100間の間隔に合わせて長辺よりも短く構成される。またパイプ部材2は、図4に示すように、パイプ本体2aとその両端に溶接される一対の加工パイプ2bとで構成されており、パイプ本体2aを伸縮自在に構成して仮設足場用部材1の長さ調整ができるように構成されていてもよい。ただし、パイプ部材は、所望の長さを有する一本のパイプの両端を加工して構成することも可能である。
パイプ部材2は、例えば外径46mmの鋼製のパイプであり、両端にくさび用切り欠き5,6とフランジ用切り欠き7の2種類の切り欠きがパイプ部材2の軸方向に沿って伸びるように設けられている。くさび用切り欠き5,6は、パイプ部材2の周方向に対向して配置され、図4に示すくさび用切り欠き5は下側のくさび用切り欠き6に対して、長く幅狭に構成されている。上側のくさび用切り欠き5の幅寸法Aは、後述するくさび部材の本体部分4aの幅寸法Cに対してやや大きく構成されており、下側のくさび用切り欠き6の幅寸法Bは、くさび部材4の抜け止め突起4b,4c部分の幅寸法よりも大きく構成され
ている。
また、下側のくさび用切り欠き6の端部には、係持片8が設けられている。係持片8は、下側のくさび用切り欠き6の端部を上側に折り返して構成されており、下側のくさび用切り欠き6の幅寸法Bと略等しく構成される。
フランジ用切り欠き7は、一対のくさび用切り欠き5,6の間に設けられており、本実施形態では、パイプ部材2の両端に1箇所ずつ設けられている。フランジ用切り欠き7は、支柱100に設けられている取り付けフランジ101の挿入片102を挿入するための部材であり、その幅寸法は、取り付けフランジ101の厚み寸法に応じて決定される。
くさび用切り欠き5,6の側方には、溶接加工孔9が設けられている。溶接加工孔9は、後述するパイプ部材2に挿入された連結金具3をパイプ部材2に溶接するための加工孔である。
連結金具3は、1本の線材を折り曲げて構成され、くさび用切り欠き5,6の開口部分を閉塞して、くさび部材4をくさび用切り欠き5,6に挿通した状態で遊嵌する。連結金具3としては、本実施形態では、一例として直径φ5の断面円形の綱線が用いられている。
連結金具3は、くさび用切り欠きの開口部分を閉塞するように略U字形に構成されており、挿入足部11と閉塞部12とを備える。上下のくさび用切り欠き5,6にそれぞれ対応する4つの挿入足部11は、パイプ部材2の内部に内接する位置に設けられ、フランジ用切り欠き7の奥側で屈曲部13により連結される。屈曲部13は、フランジ用切り欠き7とくさび用切り欠き5,6に挟まれた舌片10の近傍を補強する。
挿入足部11の間に存在する閉塞部12は、支柱100の軸方向に沿って上下に屈曲して構成されており、支柱100表面の曲面に沿って面取り14が施されている。また、後述するように上側の閉塞部12には、くさび部材4の取り付けフランジ101への挿入障害を防止する面取り14aが施されている。
図4に示すように、連結金具3の2つの挿入足部11の水平方向の離間距離Dは、下側のくさび用切り欠き6の幅寸法Bと略同じに構成されており、連結金具3のパイプ部材2への挿入時に係持片8によって案内され、位置決めされる。また、図5に示すように2つの挿入足部11の上下方向の離間距離Eは、取り付けフランジ101の厚み寸法に応じて決定すればよく、本実施形態では、フランジ用切り欠き7の幅寸法Fより若干狭く構成される。
連結金具3は、図6,図7,図8に示すように、屈曲部13をフランジ用切り欠き7側に配置し、挿入足部11の間に係持片8が配置されるようにパイプ部材2に挿入する。パイプ部材2に挿入された挿入足部11は、くさび用切り欠き5,6の左右に存在する舌片10に沿って案内され、閉塞部12がパイプ部材2の端部に当接するまで挿入される。この挿入位置で上述のように溶接加工孔9から溶接材料を接合部分に供給して溶接することでパイプ部材2に固定される。
くさび部材4は、図2に示すように、パイプ部材2のくさび用切り欠き5,6に挿入された状態で連結金具3が当該くさび用切り欠き5,6の開口を閉塞することでくさび用切り欠き5,6内に遊嵌される。
くさび部材4は、本体部分4aの上下端に抜け止め突起4bが設けられた構成であり、
抜け止め突起4bの部分は、下側のくさび用切り欠き6の幅寸法Bよりも小さく下側のくさび用切り欠き6を通過できるように構成されているが、上側のくさび用切り欠き5は通過できないような幅寸法となっている。このため、くさび部材4は、上側のくさび用切り欠き5を通じて上方側に抜脱しないようになっている。
本体部分4aは、例えば長さ寸法が100mm程度に構成され、下側に向かうにつれて細くなるテーパー形状であり、尖端部分4dがパイプ部材の中央側方向に屈曲している。本体部分4aが屈曲形状を有することにより,くさび部材4の操作性及び収納性を向上させることができる。
図9は、くさび部材を収納空間に収納した状態を示す仮設足場用部材の正面図である。図9に示すように、くさび部材4をパイプ部材2の内部に収納する際、くさび部材4の下端をパイプ部材2の内側に向け、かつくさび部材4を斜め方向に倒しながらパイプ部材2の内部の収納空間15に挿入することができる。このとき、本体部分4aの下端が屈曲することで、斜め方向からみたくさび部材4の実質的な長さを短くすることができ、より寝かした状態で収納させることが可能である。
また、図9に示すように、フランジ用切り欠き7にくさび部材4が存在しないので、くさび部材4を収納空間15に挿入した状態で、支柱への取り付けを行うことができる。したがって、不使用時に収納したくさび部材4を取出す手間を省略することができるので、作業性を向上させることができる。
図10は、くさび部材を係持片に係持させた状態を示す仮設足場用部材の正面図である。図10に示すように、くさび部材4を係持片8に立てかけて自立した状態にした場合でも、パイプ部材2の上方部分ではくさび部材4が傾斜した状態となり、支柱100側に倒れにくくすることができる。このため、くさび部材4を自立した状態に維持しやすい。
上記のように、本実施形態の仮設足場用部材は、くさび部材4を収納空間15に挿入した状態で支柱100への取り付けを行なうことができるが、取り付け後にくさび部材4を取出す場合には、支柱100が邪魔になることがある。このため、事前にくさび部材4を収納空間15から取出して取り付けを行うことが望まれることがある。このとき、本実施形態にかかる仮設足場用部材では、くさび部材4を係止片8に立てかけて自立した状態にし、かつ係止片8によって、くさび部材4の下端が下側のくさび用切り欠き6に落ちた状態となることを防止することができる。また、尖端4dが屈曲していることで、パイプ部材2の上方部分ではくさび部材4が傾斜し支柱100側に倒れにくく、自立した状態を維持することができる。
図11は、くさび部材を引き出した状態を示す仮設足場用部材の正面図である。図12は、図11のXII−XII線における断面図である。図11に示すように、本実施形態の仮設足場用部材は、くさび部材4を上限まで引き出し、下側の抜け止め突起4cを上側のくさび用切り欠き5に係止させた状態でも、本体部分4aの下端が屈曲していることにより、くさび部材を傾斜した状態とすることで、くさび部材4の姿勢を維持しやすくすることができる。
すなわち、抜け止め突起4cが屈曲した尖端部分4dに設けられていることにより、図11に示す姿勢のくさび部材4には、くさび部材4をより傾斜させる方向の力が働くため、抜け止め突起4cには、上向きのモーメントが加わる。このため、抜け止め突起4cがパイプ部材2の端部側へ滑動することが抑制され、くさび部材4の姿勢を維持しやすくすることができる。
図13は、くさび部材を収納空間に収納して上下反転させた状態を示す仮設足場用部材の正面図である。くさび部材4が収納状態にある仮設足場用部材の取り付け位置までの運搬時に、仮設足場用部材1が上下反転する場合があるが、本実施形態にかかる仮設足場用部材は、くさび部材4の外部への飛び出しを有効に防止することができる。
すなわち、図13に示すように、連結金具3の閉塞部12によって、くさび部材4がパイプ部材2の端部側へスライドすることが防止されるため、くさび部材4がパイプ部材2の外側に飛び出すことがない。このため、くさび部材の下端側が上側のくさび用切り欠き5が設けられている内壁側へ落下し、くさび部材4の傾斜角度がより大きくなるため、上下に張り出した閉塞部12にくさび部材4の上端が当接し、くさび部材4のパイプ部材2の軸方向への滑動を防止する。このため、くさび部材4が外部へ飛び出ことが防止され、運搬時の作業手間を軽減することができる。
本実施形態の仮設足場用部材1によれば、上記のようにして、くさび部材4の大部分がパイプ部材2の収納空間15に収納される。仮設足場の組立時には、仮設足場用部材1は、この収納状態で支柱100に取付けることが可能である。すなわち、作業者は、くさび部材4を収納した状態で支柱100の取り付けフランジ101をフランジ用切り欠き7に陥入することが可能である。この場合、くさび部材4は、パイプ部材2収納空間15に収納されているので、例えば作業者は片手で仮設足場用部材1を支持して、取り付けフランジ101への取り付けが可能である。
なお、この仮設足場用部材1の組み付け作業は、支柱間の間隔と仮設足場用部材1の長さ寸法が略同じであるため、ハンマーなどを用いて仮設足場用部材1を打ち込みする必要があるが、フランジ用切り欠き7が一方のみに設けられているため、過侵入が防止される。
また、支柱100への取り付け作業において、仮設足場用部材1を立てた状態で運搬した場合でも、くさび部材4の飛び出しが防止され、作業手間を増大させることがない。
さらに、上記の通り、支柱100への取り付け後のくさび部材4の取り出し作業が支柱により邪魔となる場合は、事前にくさび部材を取出しておき、図10に示すくさび部材4を係止片8に立てかけて自立した状態、又は図11に示すくさび部材4を上限まで引き上げた状態としても、その姿勢を安定したまま維持しやすい。
その後、作業者は、くさび部材4の上端部を把持して持ち上げ、くさび部材4の尖端4dを取り付けフランジ101の掛止孔103に挿通させ、下側のくさび用切り欠き6からくさび部材4の尖端4dを突出させる。そして、作業者は、くさび部材4の上端部をハンマー等で衝打することにより、図3に示したように、仮設足場用部材1は支柱100の取り付けフランジ101に強固に固定される。
このように、本実施形態によれば、くさび部材4をパイプ部材2の収納空間15に収納した状態で仮設足場用部材1を容易に支柱100に取付けることができとともに、運搬時のくさび部材4の飛び出しの防止、さらに、くさび部材を引き出した状態の姿勢の安定性を確保することができる。そのため、仮設足場の組立時、仮設足場用部材1を支柱100に取付ける際の作業性を向上させることができる。また、仮設足場の解体時、仮設足場用部材1を支柱100から取外すときも、上記と同様の作用を奏することができる。
また、本実施形態の仮設足場用部材1によれば、くさび部材4パイプ部材2の収納空間15に収納することができるので、保管時や運搬時のスペースを少なくすることができる。すなわち、例えば図9に示すように、多数の仮設足場用部材1を束ねた場合に、できる
限り隙間を少なくすることができ、さらに、仮設足場用部材1の運搬時には、従来の構成のように突出部分をなくすことができるので、例えばくさび部材4を損傷の可能性を低くすることができる。
さらに、取り付け金具は線材を折り曲げ加工することで構成されるため、容易に製造することができる。
なお、本発明は上記実施形態に限定されるものではなく、その他種々の態様で実施可能である。例えば、連結金具3は、上下でそれぞれ独立して構成されていてもよく、また、フランジ用切り欠き7は、対向位置に一対で構成されていてもよい。
また、仮設足場用部材は、上記実施形態では、隣り合う支柱間に連結される水平材を例示しているが、有孔の取り付けフランジを有する支柱に連結する他の部材にも広く適用可能であり、例えば、ブラケット、手摺り材、枠材などに広く適用することができる。
1 仮設足場用部材
2 パイプ部材
2a パイプ本体
2b 加工パイプ
3 連結金具
4 くさび部材
4a 本体
4b,4c 抜け止め突起
4d 尖端
5,6 くさび用切り欠き
7 フランジ用切り欠き
8 係持片
9 溶接加工孔
10 舌片
11 挿入足部
12 閉塞部
13 屈曲部
14,14a 面取り
15 収納空間
100 支柱
101 取り付けフランジ
102 挿入片
103 掛止孔
104 弧状




Claims (7)

  1. 複数の掛止孔を有する取り付けフランジが設けられた支柱にくさび部材によって固定される仮設足場用部材であって、
    周方向に対向して配置され幅寸法が異なる一対のくさび用切り欠きと、前記取り付けフランジを嵌め込むフランジ用切り欠きが、それぞれ端部に設けられた円筒形のパイプ部材と、
    それぞれの前記くさび用切り欠きを挟むように前記パイプ部材に挿入固定される挿入足部と、前記挿入足部の間に位置し前記くさび用切り欠きの開口外で屈曲して前記くさび用切り欠きの開口部分を閉塞する略U字形の閉塞部を有する線材で構成された連結部材と、を備え、
    前記くさび部材は、両端近傍に一方のくさび用切り欠きのみを通過可能な抜け止め突起が設けられ、前記連結部材によって前記くさび用切り欠きに挿通された状態で遊嵌されることを特徴とする、仮設足場用部材。
  2. 前記パイプ部材は、少なくとも幅広の前記くさび用切り欠きの端部に、前記くさび部材を係持する係持片を有していることを特徴とする、請求項1に記載の仮設足場用部材。
  3. 前記フランジ用切り欠きは、前記パイプ部材の両端にそれぞれ1箇所のみ設けられていることを特徴とする、請求項1又は2に記載の仮設足場用部材。
  4. 前記連結部材の前記挿入足部と前記閉塞部は、断面円形の線材で構成されていることを特徴とする、請求項1から3のいずれか1つ記載の仮設足場用部材。
  5. 前記連結部材は、前記一対の楔用切り欠きをそれぞれ閉塞する前記閉塞部に連続する前記挿入足部が、前記フランジ用切り欠きの後側で連結した1本の線材で構成されていることを特徴とする、請求項1から4のいずれか1つに記載の仮設足場用部材。
  6. 前記連結部材の閉塞部は、支柱の軸に沿った方向に前記パイプ部材の表面から突出するように構成されていることを特徴とする、請求項1から5のいずれか1つ記載の仮設足場用部材。
  7. 前記くさび部材は、幅広の前記くさび用切り欠き側が細くなるテーパー状に構成されており、尖端側が前記パイプ部材中央側に屈曲していることを特徴とする、請求項1〜6のいずれか1つに記載の仮設足場用部材。
JP2015143820A 2015-07-21 2015-07-21 仮設足場用部材 Active JP6671878B2 (ja)

Priority Applications (1)

Application Number Priority Date Filing Date Title
JP2015143820A JP6671878B2 (ja) 2015-07-21 2015-07-21 仮設足場用部材

Applications Claiming Priority (1)

Application Number Priority Date Filing Date Title
JP2015143820A JP6671878B2 (ja) 2015-07-21 2015-07-21 仮設足場用部材

Related Child Applications (1)

Application Number Title Priority Date Filing Date
JP2019101014A Division JP6749618B2 (ja) 2019-05-30 2019-05-30 仮設足場用部材

Publications (2)

Publication Number Publication Date
JP2017025537A JP2017025537A (ja) 2017-02-02
JP6671878B2 true JP6671878B2 (ja) 2020-03-25

Family

ID=57949292

Family Applications (1)

Application Number Title Priority Date Filing Date
JP2015143820A Active JP6671878B2 (ja) 2015-07-21 2015-07-21 仮設足場用部材

Country Status (1)

Country Link
JP (1) JP6671878B2 (ja)

Families Citing this family (1)

* Cited by examiner, † Cited by third party
Publication number Priority date Publication date Assignee Title
CN107252844A (zh) * 2017-06-29 2017-10-17 来安荣盛金属制品有限公司 一种便捷式脚手架连接套盘及其生产工艺

Family Cites Families (5)

* Cited by examiner, † Cited by third party
Publication number Priority date Publication date Assignee Title
JPH0531158Y2 (ja) * 1987-10-19 1993-08-10
JP4023756B2 (ja) * 1997-12-24 2007-12-19 光洋機械産業株式会社 仮設足場用連結金具におけるクサビの取付け方法
US20060039746A1 (en) * 2004-08-11 2006-02-23 Stringer Matthew D Connecting device for scaffolding
JP2008202322A (ja) * 2007-02-21 2008-09-04 Shinwa Kk 足場用手すり枠
JP5904668B2 (ja) * 2012-06-12 2016-04-13 光洋機械産業株式会社 仮設足場用部材

Also Published As

Publication number Publication date
JP2017025537A (ja) 2017-02-02

Similar Documents

Publication Publication Date Title
KR200483799Y1 (ko) 배관 거치대
JP2017089218A (ja) 天井枠吊り下げ構造
JP6749618B2 (ja) 仮設足場用部材
JP6671878B2 (ja) 仮設足場用部材
JP2010019055A (ja) クランプ機構
JP3201716U (ja) 仮設足場用部材
JP6832554B1 (ja) 先行手摺
JP5588799B2 (ja) 配線・配管材引出装置及び配線・配管材引出具
JP6251711B2 (ja) 抜け防止取付け金具
JP2018028250A (ja) クサビ部材による管体接続装置
JP5210644B2 (ja) 保管パレットの連結構造および連結棒
JP5968391B2 (ja) 仮設足場
KR200412739Y1 (ko) 가설구조물용 핸드레일 지지브라켓
JP4636960B2 (ja) 間仕切パネル装置
JP4546890B2 (ja) 間仕切パネル装置
JP2015218576A (ja) 足場拡幅用ブラケット及びその取付方法
KR20210054239A (ko) 앵커볼트 고정구
JP7364528B2 (ja) 床付き布わく
JP6118685B2 (ja) チェーン引き金物
JP5166353B2 (ja) 単管足場支柱用の足場板受け金具及び足場板受け装置
JP3204520U (ja) 簡易ステップ及び足場構造
JP6926741B2 (ja) 足場板
JP6184164B2 (ja) 枠組足場用手すり枠
JP3119713U (ja) コンクリート型枠傾倒防止具
JP6308970B2 (ja) 足場用ブラケット

Legal Events

Date Code Title Description
A621 Written request for application examination

Free format text: JAPANESE INTERMEDIATE CODE: A621

Effective date: 20180531

A977 Report on retrieval

Free format text: JAPANESE INTERMEDIATE CODE: A971007

Effective date: 20190327

A131 Notification of reasons for refusal

Free format text: JAPANESE INTERMEDIATE CODE: A131

Effective date: 20190402

A521 Request for written amendment filed

Free format text: JAPANESE INTERMEDIATE CODE: A523

Effective date: 20190530

A131 Notification of reasons for refusal

Free format text: JAPANESE INTERMEDIATE CODE: A131

Effective date: 20191008

A521 Request for written amendment filed

Free format text: JAPANESE INTERMEDIATE CODE: A523

Effective date: 20191021

TRDD Decision of grant or rejection written
A01 Written decision to grant a patent or to grant a registration (utility model)

Free format text: JAPANESE INTERMEDIATE CODE: A01

Effective date: 20200225

A61 First payment of annual fees (during grant procedure)

Free format text: JAPANESE INTERMEDIATE CODE: A61

Effective date: 20200304

R150 Certificate of patent or registration of utility model

Ref document number: 6671878

Country of ref document: JP

Free format text: JAPANESE INTERMEDIATE CODE: R150

R250 Receipt of annual fees

Free format text: JAPANESE INTERMEDIATE CODE: R250