JP5904668B2 - 仮設足場用部材 - Google Patents

仮設足場用部材 Download PDF

Info

Publication number
JP5904668B2
JP5904668B2 JP2012146049A JP2012146049A JP5904668B2 JP 5904668 B2 JP5904668 B2 JP 5904668B2 JP 2012146049 A JP2012146049 A JP 2012146049A JP 2012146049 A JP2012146049 A JP 2012146049A JP 5904668 B2 JP5904668 B2 JP 5904668B2
Authority
JP
Japan
Prior art keywords
wedge
connecting member
surface opening
flange
wedge member
Prior art date
Legal status (The legal status is an assumption and is not a legal conclusion. Google has not performed a legal analysis and makes no representation as to the accuracy of the status listed.)
Active
Application number
JP2012146049A
Other languages
English (en)
Other versions
JP2013256857A (ja
Inventor
上田 実
実 上田
Current Assignee (The listed assignees may be inaccurate. Google has not performed a legal analysis and makes no representation or warranty as to the accuracy of the list.)
KYC MACHINE INDUSTORY CO., LTD.
Original Assignee
KYC MACHINE INDUSTORY CO., LTD.
Priority date (The priority date is an assumption and is not a legal conclusion. Google has not performed a legal analysis and makes no representation as to the accuracy of the date listed.)
Filing date
Publication date
Application filed by KYC MACHINE INDUSTORY CO., LTD. filed Critical KYC MACHINE INDUSTORY CO., LTD.
Priority to JP2012146049A priority Critical patent/JP5904668B2/ja
Publication of JP2013256857A publication Critical patent/JP2013256857A/ja
Application granted granted Critical
Publication of JP5904668B2 publication Critical patent/JP5904668B2/ja
Active legal-status Critical Current
Anticipated expiration legal-status Critical

Links

Images

Landscapes

  • Mutual Connection Of Rods And Tubes (AREA)

Description

本発明は、例えば建築現場等で組み立てられる仮設足場において用いられる仮設足場用部材に関するものである。
従来、マンション等の増改築や改修工事(塗装、タイル貼り、防水補修又はひび補修等)が実施される建築現場においては、建築物の周囲に作業者が高所作業を行うための仮設足場が組み立てられる。仮設足場としては、例えば各部材を連結する際、くさび部材が用いられるくさび緊結式足場が知られている(例えば特許文献1参照)。
図9は、従来のくさび緊結式足場において支柱21に取付けられる水平材22を示した図である。同図によれば、支柱21には所定間隔を隔ててフランジ23が設けられ、フランジ23には、複数のフランジ孔24が形成されている。複数のフランジ孔24のうちいずれかのフランジ孔24には、水平材22が嵌合されて取付けられる。
水平材22は、円筒状のパイプ部材25と、その両端に設けられた連結部材26と、連結部材26と支柱21のフランジ23とを連結するためのくさび部材27とを備えている。
連結部材26は、側面視で略わに口状に形成されている。すなわち、連結部材26は、支柱21側の側面に側面開口28が形成され、その上面にくさび部材27を挿入するための上面開口29が形成され、その下面に、挿入されたくさび部材27が突出される下面開口30がそれぞれ形成されている。側面開口28、上面開口29及び下面開口30は、それぞれ連結部材26の内部で連通されている。
くさび部材27は長尺状に形成され、その上端部には、ハンマー等で衝打される幅広の衝打部27aが形成されている。また、くさび部材27の下端部には、幅方向に突出した突出部31が形成されている。
上記構成において、仮設足場の組立時に水平材22を支柱21に取付ける際、図9に示すように、連結部材26の側面開口28をフランジ23にあてがう。次いで、図10に示すように、くさび部材27を上面開口29と、フランジ23のフランジ孔24とに挿入し、先端を連結部材26の下面開口30から突出させる。その後、衝打部27aを例えばハンマー等で衝打することにより、くさび部材27は、フランジ孔24に強固に固定され、これにより水平材22は支柱21に取付けられる。
しかしながら、このような水平材22においては、以下に示す問題点があった。すなわち、連結部材26の側面開口28をフランジ23にあてがう場合、図11に示すように、くさび部材27が連結部材26の内部に縦方向に挿入された状態では、くさび部材27が邪魔になり連結部材26をフランジ23にあてがうことができない。そのため、図12に示すように、くさび部材27が邪魔にならないように、くさび部材27を連結部材26の上方に載置させその状態を保持しながら連結部材26をフランジ23にあてがう必要がある。
ところが、このような状態で連結部材26をフランジ23にあてがおうとすると、くさび部材27が不安定となり、水平材22をフランジ23に取付ける際、作業性が損なわれるといった問題点があった。また、仮設足場の解体時に、フランジ23から水平材22を取外すときも、同様の問題点が生じていた。
また、上記水平材22は、多数の水平材22が例えば一箇所にまとめられて保管されたり他の建築現場等に運搬されたりする。しかしながら、上記水平材22では、図11及び図12に示すように、連結部材26からくさび部材27が突出した状態となっているため、水平材22の保管時又は運搬時に大きなスペースを要するといった問題点があった。
また、連結部材26からくさび部材27が突出しているため、運搬時の振動等でくさび部材27の先端が他の部材と衝突しくさび部材27が損傷するといった問題点も生じていた。
実開昭63−3754号公報
本発明は、上記した事情のもとで考え出されたものであって、支柱への取付け時及び取外し時に良好な作業性を有しかつ少ないスペースで保管及び運搬を行うことのできる仮設足場用部材を提供することをその課題とする。
本発明によって提供される仮設足場用部材は、複数の掛止孔を有するフランジが設けられた支柱に取付けられる仮設足場用部材であって、円筒状のパイプ部材と、前記パイプ部材の少なくとも一端に連通するように接続され、前記フランジを上下方向に狭み込むための側面開口、上面に形成された上面開口及び下面に形成された下面開口をそれぞれ有する連結部材と、前記連結部材の上面開口、前記フランジの掛止孔及び前記連結部材の下面開口にこの順序でそれぞれ挿入することにより前記フランジと前記連結部材とを連結するための略長尺状のくさび部材とを有し、前記連結部材及びそれに連通されたパイプ部材には、前記くさび部材の未使用時に、前記くさび部材を収納状態に保持する空間部が設けられていることを特徴としている。
本発明の仮設足場用部材において、前記連結部材は、前記上面開口の長手方向の長さが、前記くさび部材の下部先端が前記パイプ部材に向けて斜め方向に挿入可能な長さに形成されており、前記パイプ部材の内表面の一部は、連通する前記連結部材及び前記パイプ部材に前記くさび部材が収納状態に保持される際、前記くさび部材の先端が当接される当接部とされているとよい。
本発明の仮設足場用部材において、前記くさび部材の上端部には、前記くさび部材全体が前記連結部材の上面開口から内部に入り込まないように、前記連結部材の上面開口縁に掛止される突出部が形成されているとよい。
本発明によれば、連結部材及びそれに連通されたパイプ部材には、くさび部材の未使用時に、くさび部材を収納状態に保持する空間部が設けられているので、くさび部材を連結部材及びパイプ部材に収納した状態で支柱への取付け及び取外しを行うことができる。そのため、その際の作業性を向上させることができる。また、保管や運搬をできる限り少ないスペースで行うことができ、運搬時の振動等で部材を損傷することを抑制することができる。
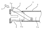
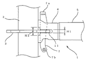
本発明に係る仮設足場用部材としての水平材が支柱に取付けられる場合の部分分解斜視図である。 水平材及び支柱の部分側面図である。 連結部材の外形図であり、(a)は平面図を示し、(b)は底面図を示す。 くさび部材を収納した状態の水平材を示す部分側面図である。 くさび部材を収納した状態の水平材を示す部分側面図である。 くさび部材を収納した状態の水平材を示す部分断面図である。 水平材を支柱に取付ける際の作用を説明するための図であり、(a)は取付ける前の状態を示し、(b)は取付けられた後の状態を示す。 水平材を運搬するときの概略図である。 従来の水平材が支柱に取付けられる場合の部分分解斜視図である。 従来の水平材の部分断面図である。 従来の水平材の部分側面図である。 従来の水平材を支柱に取付けるときの状態を示す図である。
以下、本発明の実施の形態につき、図面を参照して具体的に説明する。
図1は、本発明に係る仮設足場用部材としての水平材1が支柱2に取付けられる場合の部分分解斜視図であり、図2は、水平材1及び支柱2の部分側面図である。図3は、連結部材の外形図であり、(a)は平面図を示し、(b)は底面図を示す。
本発明に係る仮設足場用部材としての水平材1は、建築工事現場等の仮設足場において、支柱2間に介在されて設けられ、上下方向に延びた支柱2を支持するための部材である。支柱2は、仮設足場において建築物(図略)の外面に沿って所定間隔を隔てて複数立設されている。各支柱2には、上下方向に所定間隔を隔てて複数のフランジ3が設けられている。各フランジ3には、例えば四方に向くように4つの掛止孔4が形成されている。これらの掛止孔4には例えば水平材1が掛止され、これにより水平材1は支柱2に取付けられる。
水平材1は、円筒状のパイプ部材5と、パイプ部材5の両端に設けられた連結部材6と(図1では片端のみ記載されている。)、連結部材6の内部に貫入されるくさび部材7とによって構成されている。
パイプ部材5は、内部に空間部5a(図1参照)が形成されており、パイプ部材5の直径は例えば約42.7mmとされ、パイプ部材5の板厚は例えば約2.3mmとされている。パイプ部材5の両端には、連結部材6が例えば溶接されて接続される。
連結部材6は、水平材1を支柱2のフランジ3に掛止させるためのものである。連結部材6は、全体形状が略円筒状とされ、支柱2側が略わに口状に形成されるとともに、側面視で支柱2側に向かうほど広がるようにテーパが形成されている。連結部材6は、内部に空間部6a(図3参照)が形成されている。連結部材6には、この空間部6aに連通され、フランジ3を上下方向から狭み込むための側面開口11が形成されている。側面開口11は、一方の側面から支柱2側の側面及び他方の側面にわたって水平方向に連続するように形成されている。
側面開口11において一方の側面及び他方の側面の開口高さH1(図2参照)は、支柱2のフランジ3の厚みよりやや大とされている。また、側面開口11において支柱2側の側面の開口高さH2は、側面の開口高さH1より大とされている。これにより、水平材1を支柱2に取付ける際、フランジ3に連結部材6の側面開口11をあてがい易くなるといった利点がある。
連結部材6は、図3(a)に示すように、その上面に支柱2側近傍からパイプ部材5側の周端に至って上面開口12が形成されている。上面開口12の幅W1(奥行き方向の幅)は、くさび部材7の厚みよりやや大とされている。
また、上面開口12の長さL(厳密には連結部材6にパイプ部材5が溶接されて接続された後の開口長さ)は、くさび部材7の長さの約1/2とされている。具体的には、例えば上面開口12の長さLは、約50mmとされ、くさび部材7の長さは約100mmとされる。すなわち、連結部材6の上面開口12は、従来の構成の連結部材6に比べ比較的長く形成されている。そのため、後述するようにくさび部材7を連結部材6及びパイプ部材5の内部に収納する際、くさび部材7の下端をパイプ部材5側に向け、かつくさび部材7を斜め方向に倒しながら連結部材6及びパイプ部材5の内部に挿入することができる。
連結部材6は、図3(b)に示すように、その下面が支柱2側近傍からパイプ部材5側の周端に至って下面開口13が形成されている。下面開口13のパイプ部材5側の幅W2は、くさび部材7の厚みよりやや大とされている。下面開口13のうち支柱2側の幅W3は、パイプ部材5側の幅W2に比べやや幅広に形成されている。より具体的には、下面開口13の支柱2側の幅W3は、くさび部材7のうち突出部7b(後述)の形成部分が貫通可能な幅とされる一方、パイプ部材5側の幅W2は、上記突出部7bの形成部分が貫通不可の幅とされている。このパイプ部材5側の幅W2は、上面開口12の幅W1と同程度とされている。
くさび部材7は、長尺状に形成され、上端部7aは奥行き方向に幅広に形成されている。くさび部材7は、この上端部7aにより上面開口12の周縁で掛止され、くさび部材7全体が上面開口12を通じて連結部材6の内部に入り込まないようになっている。また、くさび部材7の下端部近傍には、奥行き方向に突出した突出部7bが形成されている。くさび部材7は、この突出部7bにより、この形成部分が連結部材6の内部に挿入可能である一方、上面開口12を通じて上方側に抜脱しないようになっている。
上記水平材1の構成によれば、くさび部材7をパイプ部材5及び連結部材6の内部に収納することが可能となる。まず、くさび部材7が収納されるときの手順について説明する。通常、くさび部材7は、図4に示すように、連結部材6に対して上下方向に延びた状態で収納されている。このとき、くさび部材7は、その上端部7aが連結部材6の上面開口12の上端で支持され、連結部材6の内部に入りこまない。
例えば作業者は、この状態で白矢印Aに示すように、くさび部材7の上端部7aを把持し、下面開口13の幅広部分をくさび部材7の突出部7bが通過するように持ち上げる。次いで、作業者は、くさび部材7の突出部7bが連結部材6の空間部6aに位置するまでくさび部材7を移動させ、その後、図5の白矢印Bに示すように、くさび部材7の上端部7aを連結部材5の先端側に倒す。
そして、作業者は、図6に示すように、くさび部材7の先端がパイプ部材5の空間部5aに向かうようにくさび部材7を押し込む。これにより、くさび部材7は、パイプ部材5の空間部5a及び連結部材6の空間部6aに収納され、くさび部材7の大部分が外部に突出しないようにされる。このとき、パイプ部材5の内表面の一部は、くさび部材7の先端と当接される。
本実施形態の水平材1によれば、上記のようにして、くさび部材7の大部分がパイプ部材5及び連結部材6の空間部5a,6aに収納される。仮設足場の組立時には、水平材1は、この収納状態で支柱2に取付けられる。すなわち、作業者は、図7に示すように、この状態で支柱2のフランジ3に水平材1の連結部材6をあてがう。この場合、くさび部材7は、パイプ部材5及び連結部材6の空間部5a,6aに収納されているので、例えば作業者は片手で水平材1を容易に支持して、フランジ3に連結部材6をあてがうことができる。
その後、作業者は、くさび部材7の上端部7aを把持して持ち上げ、くさび部材7の先端をフランジ3の掛止孔4に挿通させ、連結部材6の下面開口13からくさび部材7の先端を突出させる。そして、作業者は、くさび部材7の上端部7aをハンマー等で衝打することにより、図2に示したように、水平材1は支柱2のフランジ3に強固に固定される。
このように、本実施形態によれば、くさび部材7をパイプ部材5及び連結部材6の空間部5a,6aに収納した状態で水平材1を容易に支柱2に取付けることができる。そのため、仮設足場の組立時、水平材1を支柱2に取付ける際の作業性を向上させることができる。また、仮設足場の解体時、水平材1を支柱2から取外すときも、上記と同様の作用を奏することができる。
また、本実施形態の水平材1によれば、くさび部材7を連結部材6及びパイプ部材5の空間部5a,6aに収納することができるので、保管時や運搬時のスペースを少なくすることができる。すなわち、多数の水平材1を例えば図8に示すように、できる限り隙間を少なくしてハニカム状に並べてバンド15等で束ねることができる。したがって、保管時には保管スペースを有効利用できるとともに、運搬時には大量の水平材1を運搬することができる。
さらに、水平材1の運搬時には、従来の構成のように突出部分をなくすことができるので、例えばくさび部材7を損傷することを抑制することができる。
なお、本発明の範囲は上述した実施の形態に限定されるものではなく、発明の範囲を逸脱しない範囲で種々の変更を行うことができる。例えば上記実施形態における水平材1を構成するパイプ部材5、連結部材6及びくさび部材7等の各部材の数、形態、大きさ及び構造等は、上記実施形態に限るものではなく適宜設計変更可能である。
また、本発明に係るくさび部材の収納構造は、水平材に限るものではなく、フランジを有する支柱に連結される部材、例えば壁当て部材やブラケット等に適用することができる。
1 水平材
2 支柱
3 フランジ
4 掛止孔
5 パイプ部材
5a 空間部(パイプ部材の)
6 連結部材
6a 空間部(連結部材の)
7 くさび部材
7a 上端部
11 側面開口
12 上面開口
13 下面開口

Claims (3)

  1. 複数の掛止孔を有するフランジが設けられた支柱に取り付けられる仮設足場用部材であって、
    円筒状のパイプ部材と、
    前記パイプ部材の少なくとも一端に連通するように接続され、前記フランジを上下方向に狭み込むための側面開口、上面に形成された上面開口及び下面に形成された下面開口をそれぞれ有する連結部材と、
    前記連結部材の上面開口、前記フランジの掛止孔及び前記連結部材の下面開口にこの順序でそれぞれ挿入することにより前記フランジと前記連結部材とを連結するための略長尺状のくさび部材とを有し、
    前記連結部材及びそれに連通されたパイプ部材には、
    前記くさび部材の未使用時に、前記くさび部材を収納状態に保持する空間部が設けられていることを特徴とする、仮設足場用部材。
  2. 前記連結部材は、
    前記上面開口の長手方向の長さが、前記くさび部材の下部先端が前記パイプ部材に向けて斜め方向に挿入可能な長さに形成されており、
    前記パイプ部材の内表面の一部は、
    連通する前記連結部材及び前記パイプ部材に前記くさび部材が収納状態に保持される際、前記くさび部材の先端が当接される当接部とされている、請求項1に記載の仮設足場用部材。
  3. 前記くさび部材の上端部には、
    前記くさび部材全体が前記連結部材の上面開口から内部に入り込まないように、前記連結部材の上面開口縁に掛止される突出部が形成されている、請求項1または2に記載の仮設足場用部材。
JP2012146049A 2012-06-12 2012-06-12 仮設足場用部材 Active JP5904668B2 (ja)

Priority Applications (1)

Application Number Priority Date Filing Date Title
JP2012146049A JP5904668B2 (ja) 2012-06-12 2012-06-12 仮設足場用部材

Applications Claiming Priority (1)

Application Number Priority Date Filing Date Title
JP2012146049A JP5904668B2 (ja) 2012-06-12 2012-06-12 仮設足場用部材

Publications (2)

Publication Number Publication Date
JP2013256857A JP2013256857A (ja) 2013-12-26
JP5904668B2 true JP5904668B2 (ja) 2016-04-13

Family

ID=49953501

Family Applications (1)

Application Number Title Priority Date Filing Date
JP2012146049A Active JP5904668B2 (ja) 2012-06-12 2012-06-12 仮設足場用部材

Country Status (1)

Country Link
JP (1) JP5904668B2 (ja)

Cited By (1)

* Cited by examiner, † Cited by third party
Publication number Priority date Publication date Assignee Title
CN106013750A (zh) * 2016-07-07 2016-10-12 山东枣建建设集团有限公司 盘扣直插式快捷安拆支撑架及其施工方法

Families Citing this family (5)

* Cited by examiner, † Cited by third party
Publication number Priority date Publication date Assignee Title
DE102011001796A1 (de) 2011-04-05 2012-10-11 Wilhelm Layher Verwaltungs-Gmbh Gerüststiel
WO2012163340A1 (de) * 2011-06-01 2012-12-06 Wilhelm Layher Verwaltungs-Gmbh Anordnung eines gerüstbauteils und eines vertikalen gerüstelements
JP6671878B2 (ja) * 2015-07-21 2020-03-25 株式会社三共 仮設足場用部材
JP7231925B2 (ja) * 2018-03-23 2023-03-02 Krh株式会社 仮設足場用連結構造体
JP7563699B2 (ja) * 2020-04-07 2024-10-08 株式会社三共 仮設足場用緊結部材

Family Cites Families (3)

* Cited by examiner, † Cited by third party
Publication number Priority date Publication date Assignee Title
FR2513290A1 (fr) * 1981-09-24 1983-03-25 Ciotat Chantiers Navals Echafaudages de type tubulaire, procede de montage et traverses horizontales de ces echafaudages
JP2525362Y2 (ja) * 1990-10-24 1997-02-12 株式会社廣瀬清三郎商店 仮設構造物の継手部構造
JP4023756B2 (ja) * 1997-12-24 2007-12-19 光洋機械産業株式会社 仮設足場用連結金具におけるクサビの取付け方法

Cited By (1)

* Cited by examiner, † Cited by third party
Publication number Priority date Publication date Assignee Title
CN106013750A (zh) * 2016-07-07 2016-10-12 山东枣建建设集团有限公司 盘扣直插式快捷安拆支撑架及其施工方法

Also Published As

Publication number Publication date
JP2013256857A (ja) 2013-12-26

Similar Documents

Publication Publication Date Title
JP5904668B2 (ja) 仮設足場用部材
US11525272B2 (en) Anti-seismic performance reinforcement and crack repair structure of masonry structure and construction method of same
KR100997243B1 (ko) 건축용 조립식 동바리
JP7250712B2 (ja) バルコニー装置
US20040089786A1 (en) Form panel and panel holding member
KR20110077744A (ko) 이종재질 거푸집간의 연결고정장치
JP2010059765A (ja) 土台と柱の締結構造
JP6263440B2 (ja) 仮設構築物用ブレース
JP6091212B2 (ja) くさび着脱機構、くさび着脱工具及びこれを用いたくさび着脱方法
JP5875000B2 (ja) 仮設用手摺
JP6295029B2 (ja) 杭の埋め込み方法
KR20090006472U (ko) 조립식 강관파일의 두부 보강장치
JP3201716U (ja) 仮設足場用部材
JP2019173549A (ja) 仮設足場用部材
JP6607476B1 (ja) 丁張装置
JP7298886B2 (ja) 筒状構造物の周囲に足場を設置する方法
JP3197050U (ja) 足場材
JP6993639B2 (ja) コンクリート構造物の補強構造及び補強方法、構造物接続兼用補強鉄筋ランナ
JP2018071331A (ja) ツーバイフォー建物のアンカーガイド工法
KR200412739Y1 (ko) 가설구조물용 핸드레일 지지브라켓
JP4918521B2 (ja) 仮設用支柱及びその製造方法
JP6587802B2 (ja) 配筋用スペーサおよび配筋方法
JP2015218576A (ja) 足場拡幅用ブラケット及びその取付方法
KR20130004588U (ko) 건축용 가설구조물
JP2014009460A (ja) 足場用手摺の連結具

Legal Events

Date Code Title Description
A621 Written request for application examination

Free format text: JAPANESE INTERMEDIATE CODE: A621

Effective date: 20150527

TRDD Decision of grant or rejection written
A977 Report on retrieval

Free format text: JAPANESE INTERMEDIATE CODE: A971007

Effective date: 20160309

A01 Written decision to grant a patent or to grant a registration (utility model)

Free format text: JAPANESE INTERMEDIATE CODE: A01

Effective date: 20160314

A61 First payment of annual fees (during grant procedure)

Free format text: JAPANESE INTERMEDIATE CODE: A61

Effective date: 20160314

R150 Certificate of patent or registration of utility model

Ref document number: 5904668

Country of ref document: JP

Free format text: JAPANESE INTERMEDIATE CODE: R150

R250 Receipt of annual fees

Free format text: JAPANESE INTERMEDIATE CODE: R250

R250 Receipt of annual fees

Free format text: JAPANESE INTERMEDIATE CODE: R250

R250 Receipt of annual fees

Free format text: JAPANESE INTERMEDIATE CODE: R250

R250 Receipt of annual fees

Free format text: JAPANESE INTERMEDIATE CODE: R250

R250 Receipt of annual fees

Free format text: JAPANESE INTERMEDIATE CODE: R250

R250 Receipt of annual fees

Free format text: JAPANESE INTERMEDIATE CODE: R250

R250 Receipt of annual fees

Free format text: JAPANESE INTERMEDIATE CODE: R250