JP6667965B2 - コネクタ - Google Patents

コネクタ Download PDF

Info

Publication number
JP6667965B2
JP6667965B2 JP2017168048A JP2017168048A JP6667965B2 JP 6667965 B2 JP6667965 B2 JP 6667965B2 JP 2017168048 A JP2017168048 A JP 2017168048A JP 2017168048 A JP2017168048 A JP 2017168048A JP 6667965 B2 JP6667965 B2 JP 6667965B2
Authority
JP
Japan
Prior art keywords
arm
housing
connector housing
mating
fitting
Prior art date
Legal status (The legal status is an assumption and is not a legal conclusion. Google has not performed a legal analysis and makes no representation as to the accuracy of the status listed.)
Active
Application number
JP2017168048A
Other languages
English (en)
Other versions
JP2019046636A (ja
Inventor
亮介 大福
亮介 大福
Current Assignee (The listed assignees may be inaccurate. Google has not performed a legal analysis and makes no representation or warranty as to the accuracy of the list.)
Yazaki Corp
Original Assignee
Yazaki Corp
Priority date (The priority date is an assumption and is not a legal conclusion. Google has not performed a legal analysis and makes no representation as to the accuracy of the date listed.)
Filing date
Publication date
Application filed by Yazaki Corp filed Critical Yazaki Corp
Priority to JP2017168048A priority Critical patent/JP6667965B2/ja
Priority to DE102018214603.9A priority patent/DE102018214603B4/de
Priority to US16/119,009 priority patent/US10305221B2/en
Priority to CN201811011217.7A priority patent/CN109428225B/zh
Publication of JP2019046636A publication Critical patent/JP2019046636A/ja
Application granted granted Critical
Publication of JP6667965B2 publication Critical patent/JP6667965B2/ja
Active legal-status Critical Current
Anticipated expiration legal-status Critical

Links

Images

Classifications

    • HELECTRICITY
    • H01ELECTRIC ELEMENTS
    • H01RELECTRICALLY-CONDUCTIVE CONNECTIONS; STRUCTURAL ASSOCIATIONS OF A PLURALITY OF MUTUALLY-INSULATED ELECTRICAL CONNECTING ELEMENTS; COUPLING DEVICES; CURRENT COLLECTORS
    • H01R13/00Details of coupling devices of the kinds covered by groups H01R12/70 or H01R24/00 - H01R33/00
    • H01R13/62Means for facilitating engagement or disengagement of coupling parts or for holding them in engagement
    • H01R13/627Snap or like fastening
    • H01R13/6271Latching means integral with the housing
    • H01R13/6273Latching means integral with the housing comprising two latching arms
    • HELECTRICITY
    • H01ELECTRIC ELEMENTS
    • H01RELECTRICALLY-CONDUCTIVE CONNECTIONS; STRUCTURAL ASSOCIATIONS OF A PLURALITY OF MUTUALLY-INSULATED ELECTRICAL CONNECTING ELEMENTS; COUPLING DEVICES; CURRENT COLLECTORS
    • H01R13/00Details of coupling devices of the kinds covered by groups H01R12/70 or H01R24/00 - H01R33/00
    • H01R13/46Bases; Cases
    • H01R13/502Bases; Cases composed of different pieces
    • H01R13/506Bases; Cases composed of different pieces assembled by snap action of the parts
    • HELECTRICITY
    • H01ELECTRIC ELEMENTS
    • H01RELECTRICALLY-CONDUCTIVE CONNECTIONS; STRUCTURAL ASSOCIATIONS OF A PLURALITY OF MUTUALLY-INSULATED ELECTRICAL CONNECTING ELEMENTS; COUPLING DEVICES; CURRENT COLLECTORS
    • H01R13/00Details of coupling devices of the kinds covered by groups H01R12/70 or H01R24/00 - H01R33/00
    • H01R13/62Means for facilitating engagement or disengagement of coupling parts or for holding them in engagement
    • H01R13/627Snap or like fastening
    • H01R13/6275Latching arms not integral with the housing
    • HELECTRICITY
    • H01ELECTRIC ELEMENTS
    • H01RELECTRICALLY-CONDUCTIVE CONNECTIONS; STRUCTURAL ASSOCIATIONS OF A PLURALITY OF MUTUALLY-INSULATED ELECTRICAL CONNECTING ELEMENTS; COUPLING DEVICES; CURRENT COLLECTORS
    • H01R13/00Details of coupling devices of the kinds covered by groups H01R12/70 or H01R24/00 - H01R33/00
    • H01R13/64Means for preventing incorrect coupling
    • H01R13/641Means for preventing incorrect coupling by indicating incorrect coupling; by indicating correct or full engagement

Landscapes

  • Details Of Connecting Devices For Male And Female Coupling (AREA)

Description

本発明は、コネクタに関する。
1対のコネクタハウジングを嵌合させて形成されるコネクタは、一方のコネクタハウジングを他方のコネクタハウジングの嵌合位置まで挿入することにより、各コネクタハウジングに収容された端子同士が電気的に接続されるとともに、コネクタハウジング同士が係止される。しかし、この種のコネクタは、嵌合作業が手作業で行われるため、一方のコネクタハウジングが正規の嵌合位置まで挿入されない中途嵌合(非係止状態)であることに気付かずに嵌合作業を終了して、事後的に係止が外れてしまうおそれがある。
そこで、このようなコネクタハウジングの中途嵌合を防ぐため、嵌合位置保証ロックを備えたコネクタが提案されている(特許文献1参照)。
特許文献1のコネクタは、メス端子が収容された筒状のメスハウジングと、オス端子が収容されメスハウジングと嵌合する筒状のオスハウジングと、メスハウジングの外側にスライド可能に装着された筒状の嵌合保証部材と、メスハウジングに片持ち状に支持されオスハウジングに向かって延在するメスロックと、嵌合保証部材に片持ち状に支持されオスハウジングに向かって延在する嵌合保証ロックと、オスハウジングの外面から突出してメスロック及び嵌合保証ロックを係止する係止突起とを備えている。係止突起には、メスロックの先端側の係止部と嵌合保証ロックの先端側の係止爪がそれぞれ乗り上がる傾斜面を有している。
このような構成において、嵌合保証部材が装着されたメスハウジングにオスハウジングを挿入すると、まず、メスロックの係止部が係止突起の傾斜面を乗り越えて係止突起に係止され、続いて、嵌合保証ロックの係止爪が、係止突起の傾斜面及びメスロックの係止部を乗り越えて、メスロックの係止部を介して係止突起に係止される。このように、メスロックを介して嵌合保証ロックが係止突起に係止されるので、ハウジングの嵌合が保証される。
特開2012−64461号公報
特許文献1では、ハウジングの嵌合過程において、メスロックの係止部と嵌合保証ロックの係止爪とは、係止突起の傾斜面上を順次摺動することによってそれぞれ弾性変位する。このため、メスロックの係止部が傾斜面上を摺動している間は、メスロックが傾斜面から受ける反力の分力がコネクタ嵌合に対する反発力としてメスハウジングに作用し、作業者が嵌合作業を中止するとメスハウジングは押し戻される。また、嵌合保証ロックの係止爪が傾斜面上を摺動している間は、嵌合保証ロックが傾斜面から受ける反力の分力がコネクタ嵌合に対する反発力として嵌合保証部材に作用し、作業者が嵌合作業を中止するとメスハウジングは嵌合保証部材を介して押し戻される。作業者は、係る反発力を感じることによって嵌合途中であることを認識することが可能となる。
ここで、メスロックの最大変位を抑えてコネクタ全体の小型化を図る等の理由により、係止突起の頂面を嵌合方向と略平行な平坦面状に形成する場合がある。この場合、メスロックが係止突起に係止する前に嵌合保証ロックが係止突起の頂面に乗り上がると、嵌合保証ロックの乗り上がり時からコネクタ嵌合までの期間は反発力が作用せず、作業者に中途嵌合であることを認識させることができない可能性がある。特に嵌合直前にそれまで作用していた反発力が作用しなくなると、作業者はコネクタ嵌合状態に達したと誤認して、中途嵌合のまま嵌合作業を終了する可能性がある。
そこで本発明は、嵌合直前まで反発力を確実に作用させることが可能なコネクタの提供を目的とする。
上記目的を達成するため、本発明の第1の態様のコネクタは、相手コネクタハウジングに対する嵌合方向への移動により前記相手コネクタハウジングと嵌合するコネクタハウジングと、前記コネクタハウジングの外側にスライド移動可能に取付けられ、前記コネクタハウジング前記相手コネクタハウジングと嵌合が完了したコネクタ嵌合状態で前記コネクタハウジングに対して前記嵌合方向にスライド移動することにより前記相手コネクタハウジングと係止する嵌合保証部材と、を備える。
前記コネクタハウジングには、前記相手コネクタハウジングとの嵌合側を固定端として前記コネクタハウジングに片持ち状に支持されて前記嵌合方向に沿って反嵌合側へ延びるアーム基端部と、前記アーム基端部に対して前記コネクタハウジングの内側へ傾斜するように前記アーム基端部の先端から反嵌合側のアーム先端へ向かって延びるアーム傾斜部とが一体形成された反発アームが設けられている。前記嵌合保証部材は、前記反発アームに外側から対向して前記反発アームの外側への変位を規制するアーム変位規制部を有する。前記アーム傾斜部の内側傾斜面には、前記コネクタハウジングの前記嵌合方向への移動によって前記相手コネクタハウジングのアーム当接部の先端部が内側から当接して摺動する。前記反発アームは、前記アーム当接部の先端部が前記アーム先端に向かって前記内側傾斜面上を摺動することにより、前記アーム当接部と前記アーム変位規制部とに挟まれた状態で、前記アーム当接部の先端部に外側へ押圧されて直線状に延びるように弾性変形する。前記アーム傾斜部は、前記コネクタハウジングと前記相手コネクタハウジングと嵌合が完了する前に前記アーム当接部の前記先端部が前記内側傾斜面上の摺動を開始し、前記コネクタハウジングと前記相手コネクタハウジングと嵌合が完了するまで前記アーム当接部の前記先端部が前記内側傾斜面上に位置するように設けられている。


上記構成では、相手コネクタハウジングのアーム当接部の先端部は、コネクタハウジングと相手コネクタハウジングとが嵌合する前に反発アームの内側傾斜面上の摺動を開始し、コネクタハウジングと相手コネクタハウジングとが嵌合するまで内側傾斜面上に位置する。内側傾斜面上のアーム当接部の先端部は、内側傾斜面から反力を受け、係る反力の分力がコネクタ嵌合に対する反発力としてコネクタハウジングに作用する。従って、嵌合直前まで反発アームによる反発力を作用させることができ、中途嵌合を防止することができる。
また、コネクタ嵌合状態において、コネクタハウジングの反発アームは、相手コネクタハウジングのアーム当接部と嵌合保証部材のアーム変位規制部との間に挟まれて弾性変形した状態に保持されるので、相手コネクタハウジング及び嵌合保証部材に対するコネクタハウジングのガタつきを反発アームの弾性力(復元力)によって防止することができる。
本発明の第2の態様は、第1の態様のコネクタであって、前記コネクタハウジングは、前記相手コネクタハウジングの外側に配置されるアウターハウジングを有する。前記反発アームは、前記アウターハウジングの一部にスリットによって区画形成された板状である。
上記構成では、アウターハウジングの一部を反発アームとして機能させるので、反発アームを設けることに起因してコネクタ全体が大型化することがない。
また、コネクタ嵌合状態において、反発アームは、アーム当接部とアーム変位規制部との間に挟まれて弾性変形し、嵌合方向に沿って直線状に延びるので、アウターハウジングの一部を反発アームとして機能させることによるアウターハウジングの剛性の低下を抑制することができる。
本発明によれば、嵌合直前まで反発力を確実に作用させることができる。
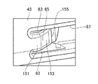
本発明の一実施形態のコネクタの分解斜視図である。 メスコネクタユニットの外観斜視図である。 CPA本係止状態の外観斜視図である。 コネクタ嵌合前の縦断面図である。 コネクタ嵌合途中の縦断面図である。 コネクタ嵌合途中の縦断面図である。 コネクタ嵌合状態の縦断面図である。 CPA本係止状態の縦断面図である。 反発アームの拡大図である。 コネクタ嵌合途中の横断面図である。 コネクタ嵌合途中の横断面図である。 CPA本係止状態の横断面図である (a)は図10のA部拡大図、(b)は図11のB部拡大図、(c)は図12のC部拡大図である。
以下、本発明を実施するためのコネクタの一実施形態について図面を参照して説明する。図1は、本実施形態のコネクタ11の分解斜視図、図2は、メスハウジング13にCPA21とシール部材23とサイドリテーナ25とを装着したメスコネクタユニット(コネクタユニット)12の外観斜視図、図3はコネクタ嵌合状態の外観斜視図、図4〜図8はコネクタ嵌合前からCPA本係止までの動きを表す縦断面図である。なお、以下では、相手コネクタと嵌合する方向を前方(嵌合方向)、相手コネクタから離間する方向を後方(反嵌合方向)、嵌合方向と略直交するコネクタ高さ方向(高さ方向)の一側(図4の上方)を上方、他側(図4の下方)を下方、嵌合方向及びコネクタ高さ方向と略直交するコネクタ幅方向(幅方向)を左右方向として説明する。
(コネクタ11の概略構成)
図1に示すように、コネクタ11は、筒状のメスハウジング(コネクタハウジング)13と、筒状のオスハウジング(相手コネクタハウジング)15と、メスハウジング13に収容されるメス端子17と、オスハウジング15に収容されるオス端子19と、メスハウジング13の外面に嵌合方向でスライド可能に装着される筒状のCPA(嵌合保証部材)21と、メスハウジング13に装着される環状のシール部材23と、メスハウジング13に装着されるサイドリテーナ25とを備えて構成される。メスハウジング13とCPA21とシール部材23とサイドリテーナ25とは、メスコネクタユニット12を構成する。本実施形態のコネクタ11は、2対のメス端子17とオス端子19とをそれぞれ接続させるものであり、メスハウジング13には2個のメス端子17が収容され、オスハウジング15には2個のオス端子19が収容される。
(オスハウジング15)
オスハウジング15は、合成樹脂製であって、例えば車両等に搭載された図示しない電気機器の器壁に直結されている。図1に示すように、オスハウジング15は、器壁に対応する基端部27と、基端部27から嵌合方向に延出する円筒状のフード部29とを有している。基端部27には、図4に示すように、フード部29の内周面と軸方向に連続する内周面を有する有底の空間31が形成され、この空間31の奥側には嵌合方向に向かって突出するタブ状のオス端子19が固定されている。
フード部29の外周の上面には、上係止突起33が突出して設けられる。上係止突起33は、図4に示すように、後方に向かって突出高さが増大する上傾斜面35と、上傾斜面35の上端(後端)と連なり、前後方向に沿って延びる上平坦面37と、上平坦面37の後端と連なり、略垂直に切り立つ上係止面39とを有している。上平坦面37は、上傾斜面35に対して、幅方向の長さが大きく設定され、前後方向の長さが短く設定されている。同様に、フード部29の外周の下面には、下係止突起34が突出して設けられる。下係止突起34は、後方に向かって突出高さが増大する下傾斜面(他の傾斜面)36と、下傾斜面36の下端(後端)と連なり、前後方向に沿って延びる下平坦面38とを有している。下平坦面38は、下傾斜面36に対して、幅方向の長さが大きく設定され、前後方向の長さが短く設定されている。上係止突起33と下係止突起34とは上下略対称に形成され、嵌合方向において、上傾斜面35と下傾斜面36とは略同範囲に、上平坦面37と下平坦面38とは略同範囲にそれぞれ配置されている。
フード部29の左右の側壁は、メスハウジング13との嵌合時にメスハウジング13の後述する反発アーム65に内側から対向する領域(左右のアーム当接部131)をそれぞれ有する。
(メスハウジング13)
メスハウジング13は、合成樹脂製であって、図4に示すように、筒状のインナーハウジング41と、インナーハウジング41の外周面と間隔をあけてこの外周面を包囲する筒状のアウターハウジング43とを連ねて形成される。インナーハウジング41の外周面とアウターハウジング43の内周面との隙間には、オスハウジング15のフード部29が挿入される。
インナーハウジング41には、後方からメス端子17が挿入される2つのメス端子収容室45が形成される。各メス端子収容室45は、インナーハウジング41の先端部に形成された挿入口47(図1参照)を介して外部に開放され、各挿入口47からタブ状のオス端子19が挿入される。
インナーハウジング41は、アウターハウジング43の前端面よりも前方に張り出して形成され、アウターハウジング43に包囲されたインナーハウジング41の円筒状の外周面にシール部材23が装着される。アウターハウジング43から前方へ張り出した角筒状のインナーハウジング前部44の外周面には、サイドリテーナ25が装着される。
メスハウジング13の外周面には、弾性変位可能なハウジングアーム51が形成される。ハウジングアーム51は、門型に形成され、メスハウジング13(インナーハウジング41)の外周面に片持ち状に支持されて、インナーハウジング41の外周面と略平行にオスハウジング15に向かって延在する左右1対の弾性アーム片53と、各弾性アーム片53の前端部同士を幅方向に架橋する係止片55とを有している。係止片55は、両ハウジング13,15の嵌合時に、オスハウジング15の上係止突起33に係止される。
ハウジングアーム51は、その後端部を支点として、係止片55が上方(外方)に搖動して弾性変位(撓み変形)可能になっている。ハウジングアーム51は、1対の弾性アーム片53の前端部にそれぞれ片持ち状に支持され、後方に向かって延出する門型のロックアーム57が連設されている。ロックアーム57は、ハウジングアーム51の係止状態の解除時にメスハウジング13(インナーハウジング41)に向かう係止解除操作方向へ押下される係止解除操作部59を有している。係止解除操作部59は、メスハウジング13(インナーハウジング41)の後部(反嵌合側)から外側(上方)へ離間して、弾性アーム片53よりも高い位置に配置されている。係止解除操作部59が係止解除操作方向へ押下されて変位することにより、上方(反係止方向)への係止解除力がロックアーム57を介して係止片55に付与される。
メスハウジング13は、アウターハウジング43の前端上部の左右両端から立ち上がって幅方向を横断し、係止片55を外側(上方)から覆うメスハウジングブリッジ61を有している。メスハウジングブリッジ61は、オスハウジング15の上傾斜面35による係止片55の弾性変位を許容する位置であって、係止片55の移動範囲の外側(上方)近傍に配置されている。
メスハウジング13は、図1及び図9に示すように、アウターハウジング43の左右の側壁の一部を上下1対のスリット63により切り欠いて区画形成された左右1対の反発アーム65を有している。反発アーム65には、平板状のアーム基端部151と平板状のアーム傾斜部153とが一体形成されている。アーム基端部151は、前端(オスハウジング15との嵌合側の先端)がアウターハウジング43の側壁と連続し、前端を固定端としてアウターハウジング43に片持ち状に支持されて前後方向(嵌合方向)に沿って後方(反嵌合側)へ延びる。アーム傾斜部153は、アーム基端部151の先端(後端)から曲折し、アーム基端部151に対してアウターハウジング43の内側へ傾斜するように後方(反嵌合側)のアーム先端(自由端)155へ向かって延びる。各反発アーム65は、アウターハウジング43の左右両側で前後方向に延在する1対の案内溝67の前端部にそれぞれ位置し、上下のスリット63は案内溝67から前方へ延びる。なお、アーム傾斜部153は、湾曲板状であってもよい。
(サイドリテーナ25)
サイドリテーナ25は、合成樹脂製であり、図1に示すように、幅方向の一方(側方)が開口するU状断面のリテーナ本体105と、リテーナ本体の前端を覆うリテーナ前板部107とを有する。リテーナ前板部107には、2つの挿入口109が形成されている。挿入口109は、サイドリテーナ25が後述する本係止位置に設定された状態でインナーハウジング41の挿入口47と連通し、挿入口47,109からオス端子19が挿入される。
リテーナ本体105は、上下に離間して相対向するリテーナ上面部111及びリテーナ下面部113と、リテーナ上面部111の端縁とリテーナ下面部113の端縁とを連続するリテーナ湾曲面部115とを一体的に有する。リテーナ上面部111の開口側の端縁には、嵌合方向に沿って直線状に延びるリテーナ突起(図示省略)が下方へ突設されている。
インナーハウジング前部44の上面には、隔壁119を挟んで並ぶ本係止溝121と仮係止溝123とが設けられ、隔壁119と本係止溝121と仮係止溝123とは、嵌合方向に沿って直線状に延びる。本係止溝121は、インナーハウジング前部44の上面から突出するインナーハウジング前部44の側壁上端部127と隔壁119との間に区画され、仮係止溝123は、インナーハウジング前部44の上面から突出する溝形成突起129と隔壁119との間に区画される。
サイドリテーナ25をインナーハウジング前部44へ装着する場合、サイドリテーナ25の側方の開口を僅かに拡げ、開口からサイドリテーナ25の内側にインナーハウジング前部44を挿入して、幅方向(装着方向)へ移動させる。サイドリテーナ25を装着方向へ移動させると、リテーナ突起は、仮係止溝123に進入して係止し(仮係止位置)、さらに装着方向へ移動させると、本係止溝121に進入して係止する(本係止位置)。
仮係止位置に設定されたサイドリテーナ25は、メス端子収容室45へのメス端子17の挿入を許容するとともに、挿入されたメス端子17に係止してメス端子17の抜取りを禁止する。これに対し、本係止位置に設定されたサイドリテーナ25は、メス端子収容室45に対するメス端子17の挿入及び抜取りの双方を禁止する。
(CPA21)
CPA21は、合成樹脂製であって、メスハウジング13に後方から被せられ、嵌合方向にスライド可能に装着されている。すなわち、メスハウジング13に対するCPA21の可動方向(ロック方向及び反ロック方向)は、オスハウジング15に対してメスハウジング13が嵌合及び嵌合解除する方向(嵌合方向及び反嵌合方向)と同方向に設定されている。CPA21には、幅方向に間隔をあけて立ち上がり、メスハウジング13の外側で相対向する左右1対の側壁87と、各側壁87の上端部同士を架橋する支持壁89が形成され、支持壁89の中央部には、オスハウジング15に向かって延在するCPA上アーム91が形成される。左右の側壁87の後部内面には、メスハウジング13の左右の案内溝67にそれぞれ案内される左右1対の突条部79が突設され(図10参照)、左右の側壁87の後端の間は、CPA21の剛性を確保するための平板状のCPAブリッジ81によって連結されている。
図10に示すように、突条部79には、内側へ突出する離脱防止突起141が設けられる。離脱防止突起141の前部には、前方に向かって外側へ傾斜するガイド面143が形成され、インナーハウジング41の後端には、外側へ突出する左右1対のストッパ突起145が形成される。
左右の側壁87は、メスハウジング13に装着された状態でメスハウジング13の反発アーム65に外側から対向して反発アーム65の外側への変位を規制する領域(左右のアーム変位規制部135)をそれぞれ有する。各アーム変位規制部135は、離脱防止突起141の前方に位置する。
CPA上アーム91は、支持壁89に片持ち状に支持されており、オスハウジング15のフード部29に向かって下方に傾倒して設けられる。CPA上アーム91の先端部には、下方に延出する上係止爪93が形成され、上係止爪93の下部前面には傾斜面95が形成される。CPA上アーム91は、後端部を支点として、上係止爪93が上方(外方)に搖動して弾性変位(撓み変形)可能になっている。本実施形態では、CPA21がメスハウジング13に装着されると、CPA上アーム91の上係止爪93(傾斜面95)がロックアーム57の係止解除操作部59を乗り越えてハウジングアーム51の係止片55の後端部に当接し、両ハウジング13,15の嵌合時には係止片55の後端部を嵌合方向(前方)に押圧する。
CPA21は、CPA上アーム91と対向する位置(略180度離れた位置)に片持ち状に支持され、オスハウジング15に向かって延在するCPA下アーム99を有している。CPA下アーム99の先端部には、CPA21の内方に延出する下係止爪101が形成され、下係止爪101の上部前面には傾斜面103が形成される。CPA下アーム99は、CPA上アーム91と同様に、後端部を支点として下係止爪101が下方(外方)に搖動して弾性変位(撓み変形)可能になっている。
(コネクタ11の嵌合手順)
次に、本実施形態のコネクタ11の嵌合手順を説明しつつ、上述したコネクタ11のその他の構成を説明する。以下では、電気機器の器壁に直結されたオスハウジング15に対してメスハウジング13を近づけたときのコネクタ11の動作を例に説明する。
まず、メスハウジング13にシール部材23を装着し、サイドリテーナ25をアウターハウジング43から張り出したインナーハウジング前部44の仮係止位置に装着する。続いて、メスハウジング13のメス端子収容室45に後方から電線18が接続されたメス端子17を挿入し、サイドリテーナ25を本係止位置(正規位置)までスライドさせる。これにより、メス端子17はサイドリテーナ25に抜け止め係止される。
次に、メスハウジング13に後方からCPA21を装着する。このとき、CPA21は、1対の突条部79が案内溝67に案内される。そして、ストッパ突起145がガイド面143を乗り越えて離脱防止突起141の後方の仮係止位置(CPA仮係止位置)へ達すると、CPA21がメスハウジング13に抜け止め係止される(CPA仮係止)。また、CPA上アーム91は、メスハウジング13の係止解除操作部59を乗り越えてハウジングアーム51の内側を移動し、係止片55の後端面と当接する。このように、CPA上アーム91が係止片55と当接することで、CPA21がオスハウジング15を嵌合方向に押し込むことが可能になるから、嵌合時におけるCPA21とメスハウジング13との位置精度が高められ、組付作業性が向上する。
メスハウジング13に対してCPA21を前方に移動させると、CPA上アーム91が係止片55と当接する。これにより、メスハウジング13はCPA21とともに前方に移動する。反対に、メスハウジング13に対してCPA21を後方に移動させると、ストッパ突起145が離脱防止突起141に係止される。これにより、メスハウジング13はCPA21とともに後方に移動する。
CPA仮係止状態でメスハウジング13をオスハウジング15の位置に合わせ、CPA21を嵌合方向(前方)に押し込むと、オスハウジング15のフード部29にメスハウジング13のインナーハウジング41が挿入され、オス端子19の先端部が挿入口47に挿入された状態となる。この段階では、ハウジングアーム51とCPA上アーム91は、何れも上係止突起33と離れており、撓み変形が生じていない。また、CPA下アーム99も下係止突起34と離れており、撓み変形が生じていない。さらに、反発アーム65のアーム傾斜部153もアーム当接部131と離れており、撓み変形が生じていない
CPA21を嵌合方向にさらに押し込むと、図4に示すように、ハウジングアーム51の係止片55は、上係止突起33の上傾斜面35に到達して乗り上がり、上方(反係止方向)へ弾性変位を伴って上傾斜面35上の摺動を開始し、ハウジングアーム51は、係止片55が上傾斜面35に押し付けられて上方に弾性変形する。これにより、上傾斜面35にはハウジングアーム51の復元力が作用し、オスハウジング15は、メスハウジング13によって嵌合方向と反対方向に付勢され、メスハウジング13は、オスハウジング15から反作用を受ける。その結果、CPA21を掴んでいる手を離すと、メスハウジング15はCPA21とともに嵌合方向と反対方向に押し戻される。なお、図4の状態では、CPA下アーム99は下係止突起34と離れており、撓み変形が生じていない。
また、図10及び図13(a)に示すように、メスハウジング13の反発アーム65のアーム傾斜部153の内側傾斜面157がオスハウジング15のアーム当接部131の先端部133に到達し、アーム当接部131の先端部133が、アーム傾斜部153の内側傾斜面157に内側から当接して乗り上がり、反発アーム65の弾性変形を伴って内側傾斜面157上の摺動を開始し、反発アーム65は、アーム当接部131の先端部133によって外側へ押圧され、アーム当接部131とCPA21のアーム変位規制部135との間に挟まれる範囲の拡大に従って直線状(平板状)に延びるように弾性変形を開始する。これにより、アーム当接部131には反発アーム65の復元力が作用し、オスハウジング15は、メスハウジング13によって嵌合方向と反対方向に付勢され、メスハウジング13は、オスハウジング15から反作用を受ける。その結果、CPA21を掴んでいる手を離すと、メスハウジング15はCPA21とともに嵌合方向と反対方向に押し戻される。
なお、反発アーム65の屈曲角度(アーム基端部151に対するアーム傾斜部153の傾斜角度)は、嵌合が進む(アーム当接部131の先端部133がメスハウジング13の後方へ移動する)に従って大きくなる(平板状に近づく)。
図4の状態からCPA21を嵌合方向にさらに押し込むと、図5に示すように、CPA上アーム91の上係止爪93は、上係止突起33の上傾斜面35に到達して乗り上がり、上傾斜面35上の摺動を開始し、CPA上アーム91は、上係止爪93が上傾斜面35に押し付けられて上方に弾性変形する。これにより、上傾斜面35にはCPA上アーム91の復元力が作用し、オスハウジング15は、CPA21によって嵌合方向と反対方向に付勢され、CPA21は、オスハウジング15から反作用を受ける。また、CPA上アーム91の上係止爪93が上係止突起33の上傾斜面35上の摺動を開始した時点では、ハウジングアーム51の係止片55も上傾斜面35上を未だ摺動中であり、メスハウジング13は、係止片55の弾性変位による上傾斜面35からの反作用も受ける。さらに、CPA上アーム91の上係止爪93が上傾斜面35上の摺動を開始するのと略同じタイミングで、CPA下アーム99の下係止爪101が下係止突起34の下傾斜面36上の摺動を開始し、CPA下アーム99は、下係止爪101が下傾斜面36に押し付けられて下方に弾性変形する。これにより、下傾斜面36にはCPA下アーム99の復元力が作用し、オスハウジング15は、CPA21によって嵌合方向と反対方向に付勢され、CPA21は、オスハウジング15から反作用を受ける。
また、図11及び図13(b)に示すように、アーム当接部131の先端部133はアーム傾斜部153の内側傾斜面157上に位置し、アーム当接部131には反発アーム65の復元力が継続して作用し、メスハウジング13はオスハウジング15から反作用を受ける。
図5の状態からCPA21を嵌合方向にさらに押し込むと、図6に示すように、ハウジングアーム51の係止片55は、上傾斜面35を乗り越えて上平坦面37に到達する。これにより、ハウジングアーム51の復元力は上傾斜面35に作用しなくなり、ハウジングアーム51は、オスハウジング15を押し戻すことができなくなる。
一方、CPA上アーム91の上係止爪93は、係止片55が上平坦面37に乗り上げた時点で、未だ上傾斜面35に位置する。従って、CPA21は、上係止爪93の弾性変位による上傾斜面35からの反作用を受ける。同様に、係止片55が上平坦面37に乗り上げた時点で、CPA下アーム99の下係止爪101も未だ下傾斜面36に位置する。従って、CPA21は、下係止爪101の弾性変位による下傾斜面36からの反作用も受ける。
また、アーム傾斜部153は、係止片55が上平坦面37に乗り上げた時点で、アーム当接部131の先端部133がアーム傾斜部153の内側傾斜面157上を継続して摺動するように設定され、メスハウジング13は、反発アーム65の弾性変形による反嵌合方向への反発力を受ける。
図6の状態からCPA21を嵌合方向にさらに押し込むと、係止片55が上平坦面37を移動する間、アーム当接部131の先端部133は反発アーム65のアーム先端155に未だ到達せず、アーム当接部131の先端部133はアーム傾斜部153の内側傾斜面157上を摺動し続ける。
そして、図7に示すように、係止片55が上平坦面37を通過すると、係止片55は下方(係止方向)へ復元変位して上係止突起33の上係止面39に係止され、両ハウジング13,15は互いにロックされた状態(コネクタ嵌合状態)となる。係る嵌合完了と略同時に、図12及び図13(c)に示すように、アーム当接部131の先端部133が反発アーム65のアーム先端155に到達し、反発アーム65は、アーム当接部131とアーム変位規制部135とに挟まれた状態で略直線状(略平板状)に延び、アーム当接部131に完全に乗り上がり、アーム当接部131とアーム変位規制部135との間に収容される。
なお、コネクタ嵌合状態においても、アーム当接部131の先端部133が反発アーム65のアーム先端155に未だ到達せず、アーム当接部131の先端部133がアーム傾斜部153の内側傾斜面157上に位置するように設定してもよい。また、係止片55と上係止突起33とが係止した時点で、CPA上アーム91の上係止爪93が未だ上傾斜面35上に位置するように設定してもよい。この場合、CPA21は、上係止爪93の弾性変位による上傾斜面35からの反作用を受けることができる。同様に、係止片55と上係止突起33とが係止した時点で、CPA下アーム99の下係止爪101が未だ下傾斜面36に位置するように設定してもよい。この場合、CPA21は、下係止爪101の弾性変位による下傾斜面36からの反作用を受けることができる。
続いて、上係止爪93は、上平坦面37を通過し、上係止突起33に係止された係止片55を乗り越えた後、図8に示すように、復元変位して、係止片55を挟む姿勢で上係止面39に係止される(CPA本係止)。このように、CPA上アーム91が上係止突起33に係止された状態(CPA21がCPA本係止位置に設定された状態)では常に両ハウジング13,15がロック状態となっているから、CPA上アーム91の嵌合(CPA本係止)によって、両ハウジング13,15の嵌合が保証される。また、係止片55は、上係止突起33と上係止爪93との間に挟まれるため、メスハウジング13の外れが抑制される。なお、下係止爪101は、下平坦面38を通過した後、上係止爪93の係止と略同じタイミングで、復元変位して下係止突起34に係止される。
このように、本実施形態では、反発アーム65のアーム傾斜部153は、メスハウジング13とオスハウジング15とが嵌合する前にオスハウジング15のアーム当接部131の先端部133がアーム傾斜部153の内側傾斜面157上の摺動を開始し、メスハウジング13とオスハウジング15とが嵌合するまでアーム当接部131の先端部133が内側傾斜面157上に位置するように設けられている。内側傾斜面157上のアーム当接部131の先端部133は、内側傾斜面157から反力を受け、係る反力の分力がコネクタ嵌合に対する反発力としてメスハウジング13に作用する。従って、嵌合直前まで反発アーム65による反発力を作用させることができ、中途嵌合を防止することができる。
コネクタ嵌合状態において、メスハウジング13の反発アーム65は、オスハウジング15のアーム当接部131とCPA21のアーム変位規制部135との間に挟まれて弾性変形した状態に保持されるので、オスハウジング15及びCPA21に対するメスハウジング13のガタつきを反発アーム65の弾性力(復元力)によって防止することができる。
アウターハウジング43の一部を反発アーム65として機能させるので、反発アーム65を設けることに起因してコネクタ11全体が大型化することがない。
また、コネクタ嵌合状態において、反発アーム65は、アーム当接部131とアーム変位規制部135との間に挟まれて弾性変形し、前後方向に沿って直線状に延びるので、アウターハウジング43の一部を反発アーム65として機能させることによるアウターハウジング43の剛性の低下を抑制することができる。
以上、本発明の各実施形態を図面により詳述してきたが、上記の各実施形態は本発明の例示にしか過ぎないものであり、請求項に記載された範囲内において変更・変形することが可能である。
例えば、上記実施形態では、CPA上アーム91は、上係止爪93がハウジングアーム51の係止片55を介して上係止突起33に係止される例を説明したが、この例に限られるものではなく、例えば、係止片55と上係止爪93が互いに異なる係止面に係止されるように構成することもできる。
11 コネクタ
12 メスコネクタユニット
13 メスハウジング(コネクタハウジング)
15 オスハウジング(相手コネクタハウジング)
17 メス端子
19 オス端子
21 CPA(嵌合保証部材)
25 サイドリテーナ
29 フード部
33 上係止突起
34 下係止突起
35 上傾斜面
36 下傾斜面
37 上平坦面
38 下平坦面
44 インナーハウジング前部
51 ハウジングアーム
53 弾性アーム片
55 係止片
61 メスハウジングブリッジ
63 スリット
65 反発アーム
71 ロック部
81 CPAブリッジ
91 CPA上アーム
93 上係止爪
99 CPA下アーム
101 下係止爪
131 アーム当接部
133 アーム当接部の先端部
135 アーム変位規制部
151 アーム基端部
153 アーム傾斜部
155 アーム先端
157 アーム傾斜部の内側傾斜面

Claims (2)

  1. 相手コネクタハウジングに対する嵌合方向への移動により前記相手コネクタハウジングと嵌合するコネクタハウジングと、
    前記コネクタハウジングの外側にスライド移動可能に取付けられ、前記コネクタハウジング前記相手コネクタハウジングと嵌合が完了したコネクタ嵌合状態で前記コネクタハウジングに対してスライド移動することにより前記相手コネクタハウジングと係止する嵌合保証部材と、を備え、
    前記コネクタハウジングには、前記相手コネクタハウジングとの嵌合側を固定端として前記コネクタハウジングに片持ち状に支持されて前記嵌合方向に沿って反嵌合側へ延びるアーム基端部と、前記アーム基端部に対して前記コネクタハウジングの内側へ傾斜するように前記アーム基端部の先端から反嵌合側のアーム先端へ向かって延びるアーム傾斜部とが一体形成された反発アームが設けられ、
    前記嵌合保証部材は、前記反発アームに外側から対向して前記反発アームの外側への変位を規制するアーム変位規制部を有し、
    前記アーム傾斜部の内側傾斜面には、前記コネクタハウジングの前記嵌合方向への移動によって前記相手コネクタハウジングのアーム当接部の先端部が内側から当接して摺動し、
    前記反発アームは、前記アーム当接部の先端部が前記アーム先端に向かって前記内側傾斜面上を摺動することにより、前記アーム当接部と前記アーム変位規制部とに挟まれた状態で、前記アーム当接部の先端部に外側へ押圧されて直線状に延びるように弾性変形し、
    前記アーム傾斜部は、前記コネクタハウジングと前記相手コネクタハウジングと嵌合が完了する前に前記アーム当接部の前記先端部が前記内側傾斜面上の摺動を開始し、前記コネクタハウジングと前記相手コネクタハウジングと嵌合が完了するまで前記アーム当接部の前記先端部が前記内側傾斜面上に位置するように設けられてい
    とを特徴とするコネクタ。
  2. 請求項1に記載のコネクタであって、
    前記コネクタハウジングは、前記相手コネクタハウジングの外側に配置されるアウターハウジングを有し、
    前記反発アームは、前記アウターハウジングの一部にスリットによって区画形成された板状である
    ことを特徴とするコネクタ。
JP2017168048A 2017-08-31 2017-08-31 コネクタ Active JP6667965B2 (ja)

Priority Applications (4)

Application Number Priority Date Filing Date Title
JP2017168048A JP6667965B2 (ja) 2017-08-31 2017-08-31 コネクタ
DE102018214603.9A DE102018214603B4 (de) 2017-08-31 2018-08-29 Verbinder
US16/119,009 US10305221B2 (en) 2017-08-31 2018-08-31 Connector
CN201811011217.7A CN109428225B (zh) 2017-08-31 2018-08-31 连接器

Applications Claiming Priority (1)

Application Number Priority Date Filing Date Title
JP2017168048A JP6667965B2 (ja) 2017-08-31 2017-08-31 コネクタ

Publications (2)

Publication Number Publication Date
JP2019046636A JP2019046636A (ja) 2019-03-22
JP6667965B2 true JP6667965B2 (ja) 2020-03-18

Family

ID=65321926

Family Applications (1)

Application Number Title Priority Date Filing Date
JP2017168048A Active JP6667965B2 (ja) 2017-08-31 2017-08-31 コネクタ

Country Status (4)

Country Link
US (1) US10305221B2 (ja)
JP (1) JP6667965B2 (ja)
CN (1) CN109428225B (ja)
DE (1) DE102018214603B4 (ja)

Families Citing this family (21)

* Cited by examiner, † Cited by third party
Publication number Priority date Publication date Assignee Title
JP6783077B2 (ja) * 2016-06-15 2020-11-11 矢崎総業株式会社 コネクタ
DE112018004653B4 (de) * 2017-08-31 2025-02-20 Yazaki Corporation Elementen-Verriegelungsstruktur
JP6933126B2 (ja) * 2017-12-26 2021-09-08 住友電装株式会社 コネクタハウジング及びコネクタ
JP6774471B2 (ja) * 2018-10-02 2020-10-21 矢崎総業株式会社 コネクタ
KR102647188B1 (ko) * 2018-11-14 2024-03-13 현대자동차주식회사 커넥터 장치
US11251560B2 (en) * 2019-03-11 2022-02-15 TE Connectivity Services Gmbh Terminal position assurance member with multiple latches
CN111755905B (zh) * 2019-03-27 2022-03-25 住友电装株式会社 连接器和连接器装置
JP6936280B2 (ja) * 2019-06-04 2021-09-15 矢崎総業株式会社 コネクタ
KR102714467B1 (ko) * 2019-07-22 2024-10-07 현대자동차주식회사 커넥터의 단자 보호 장치
JP7348090B2 (ja) * 2020-01-24 2023-09-20 日本航空電子工業株式会社 コネクタ組立体
JP7032467B2 (ja) * 2020-03-09 2022-03-08 矢崎総業株式会社 コネクタのロック構造
EP3886264B1 (en) * 2020-03-27 2023-11-08 Aptiv Technologies Limited Sealed electrical connector
CN216121010U (zh) * 2020-04-28 2022-03-22 富士康(昆山)电脑接插件有限公司 插头连接器及与之对接的插座连接器
JP7074804B2 (ja) * 2020-06-19 2022-05-24 矢崎総業株式会社 ケーブルアッセンブリ
CN114520435B (zh) * 2020-11-18 2025-10-21 泰科电子(上海)有限公司 适配器、插头连接器组件和连接器组件
CN119812692A (zh) 2021-01-19 2025-04-11 株式会社Lg新能源 电极端子的铆接结构、包括其的圆柱形电池单元、电池组和车辆
JP7411164B2 (ja) 2021-03-02 2024-01-11 いすゞ自動車株式会社 コネクタ取り外し規制構造
CN114447703B (zh) * 2022-01-06 2024-05-14 中航光电科技股份有限公司 插头及连接器组件
JP7596045B2 (ja) 2022-10-21 2024-12-09 矢崎総業株式会社 コネクタ嵌合構造
JP2024165489A (ja) * 2023-05-17 2024-11-28 矢崎総業株式会社 コネクタ構造、嵌合位置保障ロック及び第1コネクタ
JP2025179560A (ja) * 2024-05-28 2025-12-10 住友電装株式会社 コネクタ

Family Cites Families (15)

* Cited by examiner, † Cited by third party
Publication number Priority date Publication date Assignee Title
JPH0650268U (ja) * 1992-12-07 1994-07-08 住友電装株式会社 コネクタ
JP3417533B2 (ja) * 1997-07-31 2003-06-16 矢崎総業株式会社 コネクタ接続構造
JP3276324B2 (ja) * 1997-08-08 2002-04-22 矢崎総業株式会社 コネクタの嵌脱構造
JP3920055B2 (ja) * 2001-04-12 2007-05-30 矢崎総業株式会社 半嵌合防止コネクタの組み付け方法及び半嵌合防止コネクタ
JP4820279B2 (ja) * 2006-12-22 2011-11-24 矢崎総業株式会社 コネクタ
JP2011181232A (ja) * 2010-02-26 2011-09-15 Jst Mfg Co Ltd 半嵌合防止コネクタ構造
JP5653150B2 (ja) 2010-09-16 2015-01-14 矢崎総業株式会社 半嵌合防止コネクタ
JP6287987B2 (ja) * 2015-07-22 2018-03-07 住友電装株式会社 コネクタ
JP6580464B2 (ja) * 2015-11-06 2019-09-25 矢崎総業株式会社 コネクタ
JP6243897B2 (ja) * 2015-12-15 2017-12-06 矢崎総業株式会社 コネクタ
JP6210391B2 (ja) * 2016-01-27 2017-10-11 住友電装株式会社 コネクタ
JP6611644B2 (ja) 2016-03-18 2019-11-27 グローリー株式会社 紙葉類集積機構及び紙葉類処理装置
TWM532681U (zh) * 2016-07-14 2016-11-21 Amphenol Ltw Technology Co Ltd 推鎖式電連接器對接結構
JP6523221B2 (ja) * 2016-07-29 2019-05-29 矢崎総業株式会社 コネクタ
JP6445495B2 (ja) * 2016-07-29 2018-12-26 矢崎総業株式会社 コネクタ

Also Published As

Publication number Publication date
US10305221B2 (en) 2019-05-28
US20190067875A1 (en) 2019-02-28
DE102018214603A1 (de) 2019-02-28
DE102018214603B4 (de) 2023-10-05
JP2019046636A (ja) 2019-03-22
CN109428225B (zh) 2020-03-13
CN109428225A (zh) 2019-03-05

Similar Documents

Publication Publication Date Title
JP6667965B2 (ja) コネクタ
JP6839294B2 (ja) コネクタ
JP4031374B2 (ja) 半嵌合防止コネクタ
CN111129863A (zh) 连接器
CN109616829B (zh) 连接器
JP6839293B2 (ja) 部材の係止構造
CN111193152B (zh) 连接器装置
JP2008543026A (ja) 端子位置保証装置を有するコネクタ組立体
JP2019067744A (ja) コネクタ
CN113228427A (zh) 连接器
CN111052514B (zh) 连接器
US20050002734A1 (en) Connector
JP6004279B2 (ja) コネクタ
JP6839292B2 (ja) コネクタ及びコネクタユニット
CN113557641B (zh) 连接器位置保证构件
JP2020155222A (ja) コネクタ
JP2001057269A (ja) コネクタ
CN112821134B (zh) 连接器
CN112038818B (zh) 连接器
JP2011065932A (ja) 雌型コネクタ
JP4826516B2 (ja) コネクタ
JP7243551B2 (ja) コネクタ
JP2024080962A (ja) コネクタ
JP2024080963A (ja) コネクタ、及び、コネクタ対
JP2024074565A (ja) コネクタ

Legal Events

Date Code Title Description
A621 Written request for application examination

Free format text: JAPANESE INTERMEDIATE CODE: A621

Effective date: 20181119

A977 Report on retrieval

Free format text: JAPANESE INTERMEDIATE CODE: A971007

Effective date: 20190828

A131 Notification of reasons for refusal

Free format text: JAPANESE INTERMEDIATE CODE: A131

Effective date: 20190906

A521 Request for written amendment filed

Free format text: JAPANESE INTERMEDIATE CODE: A523

Effective date: 20191028

TRDD Decision of grant or rejection written
A01 Written decision to grant a patent or to grant a registration (utility model)

Free format text: JAPANESE INTERMEDIATE CODE: A01

Effective date: 20200124

A61 First payment of annual fees (during grant procedure)

Free format text: JAPANESE INTERMEDIATE CODE: A61

Effective date: 20200225

R150 Certificate of patent or registration of utility model

Ref document number: 6667965

Country of ref document: JP

Free format text: JAPANESE INTERMEDIATE CODE: R150

R250 Receipt of annual fees

Free format text: JAPANESE INTERMEDIATE CODE: R250

S531 Written request for registration of change of domicile

Free format text: JAPANESE INTERMEDIATE CODE: R313531

R350 Written notification of registration of transfer

Free format text: JAPANESE INTERMEDIATE CODE: R350

R250 Receipt of annual fees

Free format text: JAPANESE INTERMEDIATE CODE: R250

R250 Receipt of annual fees

Free format text: JAPANESE INTERMEDIATE CODE: R250

R250 Receipt of annual fees

Free format text: JAPANESE INTERMEDIATE CODE: R250