JP6661925B2 - 制御装置、ロボットおよびロボットシステム - Google Patents

制御装置、ロボットおよびロボットシステム Download PDF

Info

Publication number
JP6661925B2
JP6661925B2 JP2015175430A JP2015175430A JP6661925B2 JP 6661925 B2 JP6661925 B2 JP 6661925B2 JP 2015175430 A JP2015175430 A JP 2015175430A JP 2015175430 A JP2015175430 A JP 2015175430A JP 6661925 B2 JP6661925 B2 JP 6661925B2
Authority
JP
Japan
Prior art keywords
work surface
robot
arm
hand
control device
Prior art date
Legal status (The legal status is an assumption and is not a legal conclusion. Google has not performed a legal analysis and makes no representation as to the accuracy of the status listed.)
Active
Application number
JP2015175430A
Other languages
English (en)
Other versions
JP2017052015A (ja
Inventor
篤 原田
篤 原田
健至 恩田
健至 恩田
Current Assignee (The listed assignees may be inaccurate. Google has not performed a legal analysis and makes no representation or warranty as to the accuracy of the list.)
Seiko Epson Corp
Original Assignee
Seiko Epson Corp
Priority date (The priority date is an assumption and is not a legal conclusion. Google has not performed a legal analysis and makes no representation as to the accuracy of the date listed.)
Filing date
Publication date
Application filed by Seiko Epson Corp filed Critical Seiko Epson Corp
Priority to JP2015175430A priority Critical patent/JP6661925B2/ja
Priority to US15/256,979 priority patent/US10195744B2/en
Priority to CN201610808829.3A priority patent/CN106493711B/zh
Publication of JP2017052015A publication Critical patent/JP2017052015A/ja
Application granted granted Critical
Publication of JP6661925B2 publication Critical patent/JP6661925B2/ja
Active legal-status Critical Current
Anticipated expiration legal-status Critical

Links

Images

Classifications

    • BPERFORMING OPERATIONS; TRANSPORTING
    • B25HAND TOOLS; PORTABLE POWER-DRIVEN TOOLS; MANIPULATORS
    • B25JMANIPULATORS; CHAMBERS PROVIDED WITH MANIPULATION DEVICES
    • B25J13/00Controls for manipulators
    • B25J13/08Controls for manipulators by means of sensing devices, e.g. viewing or touching devices
    • B25J13/085Force or torque sensors
    • BPERFORMING OPERATIONS; TRANSPORTING
    • B25HAND TOOLS; PORTABLE POWER-DRIVEN TOOLS; MANIPULATORS
    • B25JMANIPULATORS; CHAMBERS PROVIDED WITH MANIPULATION DEVICES
    • B25J13/00Controls for manipulators
    • B25J13/08Controls for manipulators by means of sensing devices, e.g. viewing or touching devices
    • B25J13/081Touching devices, e.g. pressure-sensitive
    • B25J13/084Tactile sensors
    • BPERFORMING OPERATIONS; TRANSPORTING
    • B25HAND TOOLS; PORTABLE POWER-DRIVEN TOOLS; MANIPULATORS
    • B25JMANIPULATORS; CHAMBERS PROVIDED WITH MANIPULATION DEVICES
    • B25J9/00Programme-controlled manipulators
    • B25J9/0081Programme-controlled manipulators with leader teach-in means
    • BPERFORMING OPERATIONS; TRANSPORTING
    • B25HAND TOOLS; PORTABLE POWER-DRIVEN TOOLS; MANIPULATORS
    • B25JMANIPULATORS; CHAMBERS PROVIDED WITH MANIPULATION DEVICES
    • B25J9/00Programme-controlled manipulators
    • B25J9/16Programme controls
    • B25J9/1628Programme controls characterised by the control loop
    • B25J9/1633Programme controls characterised by the control loop compliant, force, torque control, e.g. combined with position control
    • YGENERAL TAGGING OF NEW TECHNOLOGICAL DEVELOPMENTS; GENERAL TAGGING OF CROSS-SECTIONAL TECHNOLOGIES SPANNING OVER SEVERAL SECTIONS OF THE IPC; TECHNICAL SUBJECTS COVERED BY FORMER USPC CROSS-REFERENCE ART COLLECTIONS [XRACs] AND DIGESTS
    • Y10TECHNICAL SUBJECTS COVERED BY FORMER USPC
    • Y10STECHNICAL SUBJECTS COVERED BY FORMER USPC CROSS-REFERENCE ART COLLECTIONS [XRACs] AND DIGESTS
    • Y10S901/00Robots
    • Y10S901/02Arm motion controller
    • Y10S901/09Closed loop, sensor feedback controls arm movement
    • YGENERAL TAGGING OF NEW TECHNOLOGICAL DEVELOPMENTS; GENERAL TAGGING OF CROSS-SECTIONAL TECHNOLOGIES SPANNING OVER SEVERAL SECTIONS OF THE IPC; TECHNICAL SUBJECTS COVERED BY FORMER USPC CROSS-REFERENCE ART COLLECTIONS [XRACs] AND DIGESTS
    • Y10TECHNICAL SUBJECTS COVERED BY FORMER USPC
    • Y10STECHNICAL SUBJECTS COVERED BY FORMER USPC CROSS-REFERENCE ART COLLECTIONS [XRACs] AND DIGESTS
    • Y10S901/00Robots
    • Y10S901/46Sensing device

Landscapes

  • Engineering & Computer Science (AREA)
  • Robotics (AREA)
  • Mechanical Engineering (AREA)
  • Human Computer Interaction (AREA)
  • Manipulator (AREA)

Description

本発明は、制御装置、ロボットおよびロボットシステムに関するものである。
従来から、例えば精密機器等の製造において各種部品の把持や組立等の作業を行うロボットと、このロボットを制御する制御装置とを備えたロボットシステムが知られている。このようなロボットシステムにおいて、ロボットに作業をさせる際には、一般的に、ロボットが作業する作業面をロボットにティーチングする。
ロボットのティーチング方法の一例が、例えば、特許文献1に開示されている。
特許文献1には、部品の把持等を行うハンドを先端部に取り付けることができるアームを有するロボット本体と、ロボット本体を制御する制御装置とを備えるロボット(ロボットシステム)について開示されている。この特許文献1では、ハンドの代わりにアームの先端部にティーチングペンダントを接続し、ティーチングペンダントを用いてロボットに対して作業面のティーチングを行っている。
特許第3671694号公報
しかし、このような従来のティーチングペンダントを用いたティーチング方法では、一般的に、ユーザー(作業者)が作業面とティーチングペンダントとの接触を確認するため、ユーザーによって接触の判断に差が生じてしまう。
また、実際に部品の把持等を行うハンドとは異なるティーチングペンダントを用いてティーチングを行っているため、作業面に対するハンドの位置や姿勢を高精度にティーチングすることができないという問題がある。例えば、ハンドと作業面が接触していない状態で作業面が特定された場合、ロボットが正確に作業を行うことができないという問題がある。
本発明は、上述の課題の少なくとも一部を解決するためになされたものであり、以下の本発明により実現することが可能である。
本発明の制御装置は、アームと、前記アームに設けられたエンドエフェクターと、前記アームに設けられていて力を検出する力検出器と、を有するロボットを制御する制御装置であって、
前記エンドエフェクターの第1部分を作業面に接近させて、前記力検出器からの出力に基づいて前記第1部分と前記作業面との接触を検出した後、前記第1部分とは異なる前記エンドエフェクターの第2部分を前記作業面に接近させて、前記力検出器からの出力に基づいて前記第2部分と前記作業面との接触を検出し、前記作業面に対する前記エンドエフェクターの位置を前記ロボットに教示させることを特徴とする。
このような制御装置によれば、力検出器を備えたロボットを制御することにより、作業面に対するエンドエフェクターの位置をより高精度に教示させることができる。
また、本発明の制御装置によれば、教示において、エンドエフェクターの第1部分を作業面に接触させた後、第1部分とは異なる第2部分を作業面に接触させるため、ロボットに、作業面に対するエンドエフェクターの位置および姿勢を高精度に教示することができる。
本発明の制御装置では、前記第2部分の前記作業面への接近は、前記第1部分を前記作業面に接触させた状態で、前記第1部分を支点として前記エンドエフェクターの姿勢を変化させる動作を含むことが好ましい。
これにより、ロボットに、作業面に対するエンドエフェクターの位置および姿勢を特に高精度に教示することができる。
本発明の制御装置では、前記第1部分が前記作業面に接触したときの前記力検出器の出力と、前記第2部分が前記作業面に接触したときの前記力検出器の出力とから、教示点を求めることが好ましい。
このように、複数の検出結果を基に教示点を求めることができるので、教示点の位置の精度をより高めることができる。その結果、ロボットに、作業面に対するエンドエフェクターの位置をより高精度に教示することができる。
本発明の制御装置では、前記第1部分が前記作業面に接触したときの前記力検出器の出力と、前記第2部分が前記作業面に接触したときの前記力検出器の出力とから、前記エンドエフェクターの姿勢を求めることが好ましい。
このように、複数の検出結果を基に教示点を求めることができるので、作業面に対するエンドエフェクターの姿勢の精度をより高めることができる。その結果、ロボットに、作業面に対するエンドエフェクターの姿勢をより高精度に教示することができる。
本発明の制御装置では、前記第2部分を前記作業面に接触させた後、前記第1部分および前記第2部分とは異なる前記エンドエフェクターの第3部分を前記作業面に接近させて、前記力検出器からの出力に基づいて前記第3部分と前記作業面との接触を検出することが好ましい。
これにより、ロボットに、作業面に対するエンドエフェクターの位置および姿勢をより高精度に教示することができる。
本発明の制御装置では、前記作業面上の少なくとも3つの箇所において、前記作業面に対する前記エンドエフェクターの位置を検出することが好ましい。
これにより、作業面の座標系をより高精度に求めることができる。
本発明の制御装置では、前記少なくとも3つの箇所における教示点をそれぞれ求め、少なくとも3つの前記教示点から、前記作業面の座標系を求めることが好ましい。
これにより、作業面の座標系をより高精度に求めることができる。
本発明の制御装置では、前記少なくとも3つの箇所における前記エンドエフェクターの姿勢をそれぞれ求め、少なくとも3つの前記エンドエフェクターの姿勢から、前記作業面が平面であるか否かを判断することが好ましい。
これにより、作業面の状態をより正確に把握することができる。
本発明の制御装置では、前記ロボットが有する前記アームは、第1回動軸周りに回動可能な第1アームと、前記第1アームに設けられていて前記第1回動軸の軸方向とは異なる軸方向である第2回動軸周りに回動可動な第2アームと、を有することが好ましい。
このような構成のロボットに対して、特に、本発明の制御装置による効果を顕著に発揮することができる。
本発明のロボットは、本発明の制御装置により制御されることを特徴とする。
これにより、作業面に対するエンドエフェクターの位置および姿勢を高精度に教示することができる制御装置により制御されるロボットを提供することができる。
本発明のロボットシステムは、本発明の制御装置と、
前記制御装置により制御されるロボットと、を備えることを特徴とする。
これにより、作業面に対するエンドエフェクターの位置および姿勢を高精度に教示することができる制御装置と、その制御装置により制御されるロボットとを備えるロボットシステムを提供することができる。
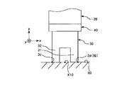
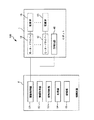
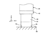
本発明のロボットシステムの好適な実施形態を示す図である。 図1に示すロボットシステムのブロック図である。 図1に示すロボットの概略図である。 図1に示すロボットが有するハンドの概略図である。 図1に示すロボットに教示する作業面を示す図である。 図1に示すロボットに対する作業面の教示について説明するためのフローチャートである。 図6に示す教示点の算出を説明するためのフローチャートである。 ハンドの第1部分と作業面とが接触した状態を示す図である。 ハンドの第2部分と作業面とが接触した状態を示す図である。 ハンドの第2部分と作業面とが接触した状態を示す図である。 ハンドの第3部分と作業面とが接触した状態を示す図である。
以下、本発明の制御装置、ロボットおよびロボットシステムを添付図面に示す好適な実施形態に基づいて詳細に説明する。
《ロボットシステム》
図1は、本発明のロボットシステムの好適な実施形態を示す図である。図2は、図1に示すロボットシステムのブロック図である。図3は、図1に示すロボットの概略図である。図4は、図1に示すロボットが有するハンドの概略図である。図5は、図1に示すロボットに教示する作業面を示す図である。図6は、図1に示すロボットに対する作業面の教示について説明するためのフローチャートである。図7は、図6に示す教示点の算出を説明するためのフローチャートである。図8は、ハンドの第1部分と作業面とが接触した状態を示す図である。図9および図10は、それぞれ、ハンドの第2部分と作業面とが接触した状態を示す図である。図11は、ハンドの第3部分と作業面とが接触した状態を示す図である。
なお、以下では、説明の都合上、図1中の上側を「上」または「上方」、下側を「下」または「下方」と言う。また、図1中の基台側を「基端」または「上流」、その反対側(ハンド側)を「先端」または「下流」と言う。また、図1中の上下方向を「鉛直方向」とし、左右方向を「水平方向」とする。
図1に示すロボットシステム100は、ロボット1と、ロボット1の作動を制御する制御装置5と、を備えている。このロボットシステム100は、例えば、腕時計のような精密機器等を製造する製造工程等で用いることができる。
〈ロボット〉
図1に示すロボット1は、精密機器やこれを構成する部品(対象物)の給材、除材、搬送および組立等の作業を行うことができる。
ロボット1は、6軸の垂直多関節ロボットであり、基台11と、基台11に接続されたロボットアーム20と、ロボットアーム20の先端部に設けられた力検出器40とハンド30と、を有する。また、図2に示すように、ロボット1は、ロボットアーム20を駆動させる動力を発生させる複数の駆動源13や複数のモータードライバー12を備えている。
図1に示す基台11は、ロボット1を任意の設置箇所に取り付ける部分である。なお、基台11の設置箇所は、特に限定されず、例えば、床、壁、天井、移動可能な台車上などが挙げられる。
ロボットアーム20は、第1アーム21(アーム)と、第2アーム22(アーム)と、第3アーム23(アーム)と、第4アーム24(アーム)と、第5アーム25(アーム)と、第6アーム26(アーム)とを有する。第1アーム21と第2アーム22と第3アーム23と第4アーム24と第5アーム25と第6アーム26とは、基端側から先端側に向ってこの順に連結されている。第1アーム21は、基台11に接続されている。第6アーム26の先端には、例えば、各種部品等を把持するハンド30(エンドエフェクター)が着脱可能に取り付けられている。
図3に示すように、基台11と第1アーム21とは、関節171(ジョイント)を介して連結されている。第1アーム21は、基台11に対し、鉛直方向と平行な第1回動軸O1を回動中心として回動可能となっている。
第1アーム21と第2アーム22とは、関節172(ジョイント)を介して連結されている。第2アーム22は、第1アーム21に対し、水平方向と平行な第2回動軸O2を回動中心として回動可能となっている。第2回動軸O2は、第1回動軸O1と直交している。
第2アーム22と第3アーム23とは、関節173(ジョイント)を介して連結されている。第3アーム23は、第2アーム22に対し、水平方向と平行な第3回動軸O3を回動中心として回動可能となっている。第3回動軸O3は、第2回動軸O2と平行である。
第3アーム23と第4アーム24とは、関節174(ジョイント)を介して連結されている。第4アーム24は、第3アーム23に対し、第3アーム23の中心軸方向と平行な第4回動軸O4を回動中心として回動可能となっている。
第4アーム24と第5アーム25とは、関節175(ジョイント)を介して連結されている。第5アーム25は、第4アーム24に対し、第5回動軸O5を回動中心として回動可能となっている。第5回動軸O5は、第4回動軸O4と直交している。
第5アーム25と第6アーム26とは、関節176(ジョイント)を介して連結されている。第6アーム26は、第5アーム25に対し、第6回動軸O6を回動中心とて回動可能となっている。第6回動軸O6は、第5回動軸O5と直交している。
図2に示すように、各アーム21〜26には、それぞれ、サーボモーター等のモーターおよび減速機を有する複数の駆動源13が設けられている。すなわち、ロボット1は、アーム21〜26に対応した数(本実施形態では6つ)の駆動源13を有している。そして、各アーム21〜26は、それぞれ、対応する駆動源に電気的に接続された複数(本実施形態では6つ)のモータードライバー12を介して制御装置5により制御されている。なお、モータードライバーは、基台11内に収納されている。
また、各駆動源13には、例えば、エンコーダー、ロータリーエンコーダー等の角度センサー(図示せず)が設けられている。これにより、各駆動源13が有するモーターまたは減速機の回転軸の回転角度を検出することができる。
図1に示すように、力検出器40は、円形の板状をなし、第6アーム26の先端部に設けられている。この力検出器40は、第6アーム26とハンド30との間に位置している。
図4に示すように、力検出器40は、互いに直交する3つの軸(x軸、y軸、z軸)方向の並進力成分Fx、Fy、Fzおよび3つの軸(x軸、y軸、z軸)周りの回転力成分(モーメント)Mx、My、Mzの6成分を検出することができる6軸力覚センサーである。3つの軸(x軸、y軸、z軸)は、x軸およびy軸が力検出器40の先端面(基端面)に平行であり、z軸が力検出器40の厚さ方向に平行である。
このような力検出器40によって、ロボット1は、ハンド30にかかる力やモーメントを検出することができる。
なお、本実施形態では、力検出器40は、第6アーム26の先端部に設けられているが、力検出器40の設置箇所は、ハンド30にかかる力やモーメントを検出することができる位置であれば如何なる箇所であってもよい。例えば、力検出器40は、第6アーム26の基端部に設けられていてもよい。
図1および図4に示すように、第6アーム26の先端部(ロボットアーム20の先端部)には、力検出器40を介して、ハンド30(エンドエフェクター)が着脱可能に取り付けられている。このハンド30は、2本の指31、32を有しており、指31、32で例えば各種部品等を把持することができる。
図4に示すように、本実施形態では、ハンド30は、その基端面の中心O30(および、2つの指31、32の間の領域の中心)が、アーム26の第6回動軸O6上に位置するようにロボットアーム20に取り付けられている。
なお、本実施形態では、前述したように、ハンド30は、ロボットアーム20に対して着脱可能に設けられているが、ロボットアーム20に対して固設されていてもよい。また、本実施形態では、ハンド30は、2本の指31、32を有しているが、ハンド30の指の数は、任意であり、例えば、3本や4本等であってもよい。また、本実施形態では、エンドエフェクターとしてハンド30を用いているが、エンドエフェクターとしては、ハンド30以外の構成であってもよく、各種部品等に対する作業(例えば、把持、持ち上げまたは吸着)を行うことができる構成であれば如何なる構成であってもよい。また、エンドエフェクターのロボットアーム20に対する数や配置は、図示のものに限定されない。
以上、ロボット1の構成について簡単に説明した。このような構成のロボット1は、前述したように、6つ(複数)のアーム21〜26を有する垂直多関節ロボットであるため、駆動範囲が広く、高い作業性を発揮することができる。
〈制御装置〉
図1に示す制御装置5は、ロボット1の各部を制御する。この制御装置5は、例えば、CPU(Central Processing Unit)やROM(read only memory)およびRAM(Random Access Memory)が内蔵されたパーソナルコンピューター(PC)等で構成することができる。
図2に示すように、制御装置5は、駆動制御部51と、情報取得部52と、接触判断部53と、処理部54と、記憶部55と、を備える。
駆動制御部51は、各アーム21〜26の駆動を担う各駆動源13の駆動を制御する。例えば、駆動制御部51は、力検出器40および角度センサー(図示せず)の検出結果(信号)に基づき、各アーム21〜26をそれぞれ独立して駆動させたり停止させたりすることができる。
情報取得部52は、力検出器40で検出された検出結果を取得する。
接触判断部53は、情報取得部52で取得した検出結果(並進力成分Fx、Fy、Fzおよび回転力成分Mx、My、Mz)と、後述する記憶部55に記憶されている情報(ハンド30と作業面60とが接触したときに力検出器40から出力される検出結果)とを基に、ハンド30が作業面60(図5参照)に接触したか否かを判断する。
処理部54は、情報取得部52で取得した検出結果を基に、ハンド30の教示点や姿勢を求めたりする。
記憶部55は、制御装置50が各種処理を行うためのプログラムやデータ等を記憶する。また、記憶部55には、例えば、ハンド30が作業面60に接触したときに力検出器40から出力される検出結果等の情報(データベース)が予め記憶されている。
なお、このような制御装置5は、本実施形態では、図1に示すように、ロボット1とは、別体で設けられているが、ロボット1に内蔵されていてもよい。
以上、ロボットシステム100の基本的な構成について簡単に説明した。
このようなロボットシステム100では、ロボット1が作業面60において各種部品の把持等の作業を行うに際し、ロボット1に、図5に示すような作業面60に対するハンド30の位置や姿勢を教示(ティーチング)する。
ロボット1の作業では、ハンド30(具体的には、指31の先端面および指32の先端面)を作業面60に対してほぼ平行にすることで、ハンド30による作業性が向上する。作業面60は、例えば、作業台上の面や、ロボット1が組立等を行う部品が有する面である。このロボット1が作業をする作業面60は一定の向きになっているとは限らない。そこで、ロボット1に、図5に示すような作業面60に対するハンド30の位置や姿勢を教示する。
図6に示すように、ロボット1の教示は、教示点の算出(ステップS100)と、作業面の座標系の算出(ステップS200)と、作業面に対するハンドの位置および姿勢の教示(ステップS300)と、を有している。
なお、以下の説明では、図5に示すように、最終的に求める作業面60の座標系が、X軸およびY軸を含むX−Y面に平行で、Z軸を法線とする場合について説明する。
[教示点の算出(ステップS100)]
まず、教示点の算出(ステップS100)を行う。
図7に示すフローを参照しつつ、教示点の算出(ステップS100)について説明する。この教示点の算出(ステップS100)では、作業面60上の互いに離れた任意の3つの箇所A、B、C(3つの測定点)におけるハンド30の教示点を算出する。
まず、箇所Aにおける教示点を求める。
図7に示すように、駆動制御部51の指令によりロボットアーム20を駆動して、ハンド30の箇所A(目的箇所)への接近(移動)を開始する(ステップS1)。ここで、ハンド30を箇所Aへ接近させる際、作業面60に対してハンド30を傾けた状態で接近させる。
上記のようにしてハンド30を箇所Aへ接近させていき、情報取得部52にて取得した力検出器40からの検出結果を基に、接触判断部53にてハンド30が作業面60に接触したか否かを判断する(ステップS2)。接触したと判断されるまでハンド30の箇所Aへの接近を続け、接触したと判断された場合には、駆動制御部51の指令によりロボットアーム20の駆動を停止する(ステップS3)。
ハンド30が作業面60に接触した場合、例えば、ハンド30は、図8に示すような状態となる。ここで、ハンド30の作業面60に最初に接触した部分を「第1部分3a」とする。本実施形態では、第1部分3aは、指31の先端面のうちの一端とする。また、この1回目の接触では、指32が作業面60に接触していない。
次に、第1部分3aが作業面60に接触したときの力検出器40の検出結果(並進力成分Fx、Fy、Fzおよび回転力成分Mx、My、Mz)を記憶部55にて記憶(記録)する(ステップS4)。
次に、ハンド30の、第1軸周りの姿勢の変更を開始する(ステップS5)。ここでは、第1部分3aを作業面60に接触させた状態のまま、第1部分3aを支点としてハンド30を第1軸(図示の場合、y軸)周りに、かつ、ハンド30の先端部が作業面60に接触する方向に回動させる。
上記のようにしてハンド30を回動させていき、情報取得部52にて取得した力検出器40からの検出結果を基に接触判断部53にてハンド30の第1部分3aとは異なる第2部分3bが作業面60に接触したか否かを判断する(ステップS6)。第2部分3bが接触したと判断されるまでハンド30を第1軸周りに回動させ、第2部分3bが接触したと判断された場合には、駆動制御部51の指令によりロボットアーム20の駆動を停止する
(ステップS7)。
第2部分3bが接触すると、ハンド30は、例えば、図9および図10に示すような状態となる。本実施形態では、第2部分3bは、指31の先端面のうちの第1部分3aとは反対側の端とする。また、図10に示すように、2回目の接触では、指32が作業面60に接触していない。
次に、第1部分3aおよび第2部分3bが作業面60に接触したときの力検出器40の検出結果(並進力成分Fx、Fy、Fzおよび回転力成分Mx、My、Mz)を記憶部55にて記憶(記録)する(ステップS8)。
次に、ハンド30の、第2軸周りの姿勢の変更を開始する(ステップS9)。ここでは、第1部分3aおよび第2部分3bを作業面60に接触させた状態のまま、第1部分3aおよび第2部分3bを通る線分(仮想線)を支軸としてハンド30を第2軸(図示の場合、y軸)周りに、かつ、ハンド30の先端部が作業面60に接触する方向に回動させる。
上記のようにしてハンド30を回動させていき、情報取得部52にて取得した力検出器40からの検出結果を基に接触判断部53にてハンド30の第1部分3aおよび第2部分3bとは異なる第3部分3cが作業面60に接触したか否かを判断する(ステップS10)。第3部分3cが接触したと判断されるまでハンド30を第2軸周りに回動させ、第3部分3cが接触したと判断された場合には、駆動制御部51の指令によりロボットアーム20の駆動を停止する(ステップS11)。
第3部分3cが接触すると、例えば、ハンド30は、図11に示すような状態となる。本実施形態では、第3部分3cは、指32の先端面とする。この3回目のハンド30の接触で、ハンド30の先端面(指31および指32の各先端面)全体が作業面60に接触する。
次に、第1部分3a、第2部分3bおよび第3部分3cが作業面60に接触したときの力検出器40の検出結果(並進力成分Fx、Fy、Fzおよび回転力成分Mx、My、Mz)を記憶部55にて記憶(記録)する(ステップS12)。
次に、ステップS4、S8、S12にて記憶(記録)した力検出器40の検出結果(並進力成分Fx、Fy、Fzおよび回転力成分Mx、My、Mz)を基に、処理部54にて、教示点X10の位置と、作業面60に対するハンド30の姿勢とを求める(ステップS13)。なお、本実施形態では、ハンド30の先端部の中心(具体的には、2つの指31、32の間の領域の中心)を教示点X10として求める。
そして、求めた教示点X10の位置と、作業面60に対するハンド30の姿勢とを記憶部55に記憶(記録)する(ステップS14)。
以上のようにして、箇所Aにおける教示点X10および作業面60に対するハンド30の姿勢が算出される。このように、複数の部分(第1部分3a、第2部分3bおよび第3部分3c)から教示点X10および作業面60に対するハンド30の姿勢を求めているため、教示点X10の位置の精度および作業面60に対するハンド30の姿勢の精度をより高めることができる。
また、同様にして、箇所Bおよび箇所Cにおける各教示点X10および作業面60に対するハンド30の姿勢についても求める。これにより、3つの箇所(箇所A、B、C)における教示点X10および作業面60に対するハンド30の姿勢が算出される。
[作業面の座標系の算出(ステップS200)]
次に、図6に示すように、作業面の座標系の算出(ステップS200)を行う。
作業面の座標系の算出(ステップS200)では、処理部54にて、3の箇所A、B、Cにおける各教示点X10を基にして作業面60の座標系を求める。3の箇所A、B、Cで、それぞれ、前述したように、複数の部分から教示点X10を算出しているため、作業面60の座標系をより高精度に求めることができる。
また、作業面の座標系の算出(ステップS200)では、処理部54にて、3の箇所A、B、Cにおけるハンド30の姿勢から、作業面60が平面であるか否かを判断する。例えば、3つの箇所A、B、CにおけるX軸周りに回転力成分MxとY軸周りの回転力成分Myとが、所定の差以内であれば作業面60が平面であると判断する。すなわち、3つの箇所A、B、Cにおける各回転力成分Mx、Myが、ほぼ同等であれば、作業面60が平面であると判断する。一方、3つの箇所A、B、Cにおける各回転力成分Mx、Myが、所定の範囲外である場合、作業面60は平面でなく、曲面であったり、凹凸等があったりすると判断する。これにより、作業面60の状態をより正確に把握することができる。
[作業面に対するハンドの位置の教示(ステップS300)]
次に、図6に示すように、作業面に対するハンドの位置の教示(ステップS300)に行う。
作業面に対するハンドの位置の教示(ステップS300)では、作業面60の座標系を基にロボット1に作業面60に対するハンド30の位置および姿勢を教示する。
以上のような作業面の教示(ステップS300)を経て、ロボット1の教示は終了する(図6参照)。
以上、ロボット1の教示について説明した。
以上説明したように、ロボットシステム100では、制御装置5が、力検出器40を備えたロボット1を制御しているため、作業面60に対するハンド30の位置をより高精度に教示させることができる。このため、ティーチングペンダントのような教示専用のツールを用いることを省くことができ、ユーザー(作業者)による作業面60とハンド30との接触の判断を省くことができる。
また、本実施形態では、前述したように、ロボット1の教示において、ハンド30の第1部分3aを作業面60に接触させた後、第1部分3aを作業面60に接触させたまま、第1部分3aとは異なる第2部分3bを作業面60に接触させている。その後、第1部分3aおよび第2部分3bを作業面60に接触させたまま、第1部分3aおよび第2部分3bとは異なる第3部分3cを作業面60に接触させている。このように、本実施形態では、ロボット1の教示において、第1部分3a、第2部分3bおよび第3部分3cと、この順にハンド30を作業面60に接触させていく、いわゆる倣い動作を行っている。そのため、第1部分3a、第2部分3bおよび第3部分3cをより確実に接触させることができるので、ロボット1に、作業面60に対するハンド30の位置および姿勢を高精度に教示することができる。
特に、第2部分3bを接触させる際、第1部分3aを支点としてハンド30を第1軸周りに、すなわち、1つの軸回りに回動させている。同様に、第3部分3cを接触させる際、第1部分3aおよび第2部分3bを通る仮想線を支軸としてハンド30を第2軸周りに、すなわち、前述した第1軸とは異なる1つの軸回りに回動させている。このように、本実施形態では、ハンド30の異なる部分(第1部分3a、第2部分3bおよび第3部分3c)を順に接触させていくので、各部分をより確実に接触させることができ、よって、ハンド30の先端面全体を作業面60により容易にかつより確実に接触させることができる。そのため、作業面60の座標系およびハンド30の姿勢をより高精度に求めることができ、その結果、ロボット1に、作業面60に対するハンド30の位置および姿勢をより高精度に教示することができる。
また、前述したように、ハンド30を箇所Aに最初に接近させる際、作業面60に対してハンド30を傾けた状態で接近させている。すなわち、作業面60に対してハンド30を1回目に接触させる際に、作業面60のX、Y、Z軸に対して交差する方向にハンド30を傾けた状態で接近させている。これにより、作業面60に対してハンド30を1回目に接触させる際に、作業面60に対してハンド30の第1部分3aのみを接触させることができる。そのため、その後、第2部分3bと第3部分3cとをこの順に接触させ易くなり、よって、ハンド30の先端面全体をより容易かつより確実に作業面60に接触させることができる。
また、本実施形態では、前述したように、教示されるロボット1が、垂直多関節ロボットである。このような構成のロボット1が作業を行う作業面60は、一定な箇所であるとは限らないことが多い。そのため、垂直多関節ロボットであるロボット1に対して、前述したような教示を行うことで、ロボット1の作業性をより高めることができる。
なお、前述したように、ロボット1の教示において、求めた教示点の数は3つであるが、教示点の数は、ロボット1が垂直多関節ロボットである場合には、少なくとも3つ以上であればよく、その数は限定されず任意である。
また、本実施形態では、ロボット1が垂直多関節ロボットである場合を例に説明したが、水平多関節ロボットである場合には、第3部分3cの接触を省略してもよい。また、水平多関節ロボットである場合には、箇所Cの接触を省略してもよい。すなわち、少なくとも2つの接触部分から1つの教示点を求め、そして、少なくとも2つ教示点を算出すればよい。
なお、水平多関節ロボットとしては、例えば、基台と、基台に接続され、水平方向に延びている第1アーム(第nアーム)と、第1アームに接続され、水平方向に延びる部分を有する第2アーム(第(n+1)アーム)とを有する構成が挙げられる。
また、前述したロボット1の教示では、ステップS200にて、作業面60の座標系を算出したが、予め設定されている基準面(仮想面)の座標系に対する作業面60全体の座標を求めてもよい。
以上、本発明の制御装置、ロボットおよびロボットシステムを、図示の実施形態に基づいて説明したが、本発明はこれに限定されるものではなく、各部の構成は、同様の機能を有する任意の構成のものに置換することができる。また、他の任意の構成物が付加されていてもよい。また、本発明は、前記各実施形態のうちの、任意の2以上の構成(特徴)を組み合わせたものであってもよい。
また、前記実施形態では、ロボットが有するロボットアームの回動軸の数は、6つであるが、本発明では、これに限定されず、ロボットアームの回動軸の数は、例えば、2つ、3つ、4つ、5つまたは7つ以上でもよい。また、前記実施形態では、ロボットが有するアームの数は、6つであるが、本発明では、これに限定されず、ロボットが有するアームの数は、例えば、2つ、3つ、4つ、5つ、または、7つ以上でもよい。
また、前記実施形態では、ロボットが有するロボットアームの数は、1つであるが、本発明では、これに限定されず、ロボットが有するロボットアームの数は、例えば、2つ以上でもよい。すなわち、ロボットは、例えば、双腕ロボット等の複数腕ロボットであってもよい。
100…ロボットシステム、1…ロボット、3a…第1部分、3b…第2部分、3c…第3部分、5…制御装置、11…基台、12…モータードライバー、13…駆動源、20…ロボットアーム、21…第1アーム、22…第2アーム、23…第3アーム、24…第4アーム、25…第5アーム、26…第6アーム、30…ハンド、31…指、32…指、40…力検出器、50…制御装置、51…駆動制御部、52…情報取得部、53…接触判断部、54…処理部、55…記憶部、60…作業面、171…関節、172…関節、173…関節、174…関節、175…関節、176…関節、A…箇所、B…箇所、C…箇所、O1…第1回動軸、O2…第2回動軸、O3…第3回動軸、O4…第4回動軸、O5…第5回動軸、O6…第6回動軸、O30…中心、S100…ステップ、S200…ステップ、S300…ステップ、S1…ステップ、S2…ステップ、S3…ステップ、S4…ステップ、S5…ステップ、S6…ステップ、S7…ステップ、S8…ステップ、S9…ステップ、S10…ステップ、S11…ステップ、S12…ステップ、S13…ステップ、S14…ステップ、X10…教示点

Claims (10)

  1. アームと、前記アームに設けられたエンドエフェクターと、前記アームに設けられていて力を検出する力検出器と、を有するロボットを制御する制御装置であって、
    前記エンドエフェクターの第1部分を作業面に接近させて、前記力検出器からの出力に基づいて前記第1部分と前記作業面との接触を検出した後、前記第1部分とは異なる前記エンドエフェクターの第2部分を前記作業面に接近させて、前記力検出器からの出力に基づいて前記第2部分と前記作業面との接触を検出し、前記作業面に対する前記エンドエフェクターの位置を前記ロボットに教示させ
    前記第2部分を前記作業面に接触させた後、前記第1部分および前記第2部分とは異なる前記エンドエフェクターの第3部分を前記作業面に接近させて、前記力検出器からの出力に基づいて前記第3部分と前記作業面との接触を検出することを特徴とする制御装置。
  2. 前記第2部分の前記作業面への接近は、前記第1部分を前記作業面に接触させた状態で、前記第1部分を支点として前記エンドエフェクターの姿勢を変化させる動作を含む請求項1に記載の制御装置。
  3. 前記第1部分が前記作業面に接触したときの前記力検出器の出力と、前記第2部分が前記作業面に接触したときの前記力検出器の出力とから、教示点を求める請求項1または2に記載の制御装置。
  4. 前記第1部分が前記作業面に接触したときの前記力検出器の出力と、前記第2部分が前記作業面に接触したときの前記力検出器の出力とから、前記エンドエフェクターの姿勢を求める請求項1ないし3のいずれか1項に記載の制御装置。
  5. 前記作業面上の少なくとも3つの箇所において、前記作業面に対する前記エンドエフェクターの位置を検出する請求項1ないしのいずれか1項に記載の制御装置。
  6. 前記少なくとも3つの箇所における教示点をそれぞれ求め、少なくとも3つの前記教示点から、前記作業面の座標系を求める請求項に記載の制御装置。
  7. 前記少なくとも3つの箇所における前記エンドエフェクターの姿勢をそれぞれ求め、少なくとも3つの前記エンドエフェクターの姿勢から、前記作業面が平面であるか否かを判断する請求項5または6に記載の制御装置。
  8. 前記ロボットが有する前記アームは、第1回動軸周りに回動可能な第1アームと、前記第1アームに設けられていて前記第1回動軸の軸方向とは異なる軸方向である第2回動軸周りに回動可動な第2アームと、を有する請求項1ないしのいずれか1項に記載の制御装置。
  9. 請求項1ないしのいずれか1項に記載の制御装置により制御されることを特徴とするロボット。
  10. 請求項1ないしのいずれか1項に記載の制御装置と、
    前記制御装置により制御されるロボットと、を備えることを特徴とするロボットシステム。
JP2015175430A 2015-09-07 2015-09-07 制御装置、ロボットおよびロボットシステム Active JP6661925B2 (ja)

Priority Applications (3)

Application Number Priority Date Filing Date Title
JP2015175430A JP6661925B2 (ja) 2015-09-07 2015-09-07 制御装置、ロボットおよびロボットシステム
US15/256,979 US10195744B2 (en) 2015-09-07 2016-09-06 Control device, robot, and robot system
CN201610808829.3A CN106493711B (zh) 2015-09-07 2016-09-07 控制装置、机器人以及机器人系统

Applications Claiming Priority (1)

Application Number Priority Date Filing Date Title
JP2015175430A JP6661925B2 (ja) 2015-09-07 2015-09-07 制御装置、ロボットおよびロボットシステム

Publications (2)

Publication Number Publication Date
JP2017052015A JP2017052015A (ja) 2017-03-16
JP6661925B2 true JP6661925B2 (ja) 2020-03-11

Family

ID=58190031

Family Applications (1)

Application Number Title Priority Date Filing Date
JP2015175430A Active JP6661925B2 (ja) 2015-09-07 2015-09-07 制御装置、ロボットおよびロボットシステム

Country Status (3)

Country Link
US (1) US10195744B2 (ja)
JP (1) JP6661925B2 (ja)
CN (1) CN106493711B (ja)

Families Citing this family (10)

* Cited by examiner, † Cited by third party
Publication number Priority date Publication date Assignee Title
JP6710946B2 (ja) * 2015-12-01 2020-06-17 セイコーエプソン株式会社 制御装置、ロボットおよびロボットシステム
CN108858182B (zh) * 2017-05-08 2023-01-10 精工爱普生株式会社 机器人的控制装置及控制方法以及机器人系统
JP2019027920A (ja) * 2017-07-31 2019-02-21 セイコーエプソン株式会社 力検出装置およびロボット
CN107584493B (zh) * 2017-08-29 2020-08-14 成都乐创自动化技术股份有限公司 一种捕捉目标示教点的方法及系统
JP2019051578A (ja) * 2017-09-19 2019-04-04 セイコーエプソン株式会社 ロボット、ロボットシステム、及びロボット制御装置
JP7052308B2 (ja) * 2017-11-15 2022-04-12 セイコーエプソン株式会社 センサー、およびロボット
JP2021062436A (ja) * 2019-10-11 2021-04-22 セイコーエプソン株式会社 教示方法
JP2021062443A (ja) * 2019-10-11 2021-04-22 セイコーエプソン株式会社 教示方法
JP7620391B2 (ja) * 2020-03-18 2025-01-23 株式会社東芝 制御装置、検査システム、制御方法、プログラム、及び記憶媒体
JP7619070B2 (ja) * 2021-02-10 2025-01-22 セイコーエプソン株式会社 教示装置、教示方法および教示プログラム

Family Cites Families (19)

* Cited by examiner, † Cited by third party
Publication number Priority date Publication date Assignee Title
JP2787891B2 (ja) * 1993-09-08 1998-08-20 三菱電機株式会社 レーザロボットの自動教示装置
JP3671694B2 (ja) 1998-09-18 2005-07-13 株式会社デンソー ロボットのティーチング方法およびその装置
JP2001038660A (ja) * 1999-07-26 2001-02-13 Toshiba Mach Co Ltd 教示用エンドエフェクタと、ロボットの教示方法
JP4264778B2 (ja) * 1999-07-26 2009-05-20 東芝機械株式会社 作業用ロボットおよび教示点位置・姿勢データ測定方法
US7558647B2 (en) * 2006-01-13 2009-07-07 Panasonic Corporation Device and method for controlling robot arm, robot and program based on object-dependent impedance
JP5013270B2 (ja) * 2006-02-02 2012-08-29 株式会社安川電機 ロボットシステム
JP2010023184A (ja) * 2008-07-18 2010-02-04 Fanuc Ltd 作業座標系の設定方法及び作業座標系の異常検出方法
JP4598849B2 (ja) * 2008-09-03 2010-12-15 ファナック株式会社 嵌合の詰まり状態を修正する嵌合装置
EP2431138A4 (en) * 2009-01-09 2014-06-04 Panasonic Corp CONTROL DEVICE AND CONTROL METHOD FOR A ROBOT ARM, ROBOT, CONTROL PROGRAM FOR THE ROBOT ARM AND INTEGRATED ELECTRONIC CIRCUIT
JP5459486B2 (ja) * 2010-01-26 2014-04-02 株式会社Ihi ロボットのキャリブレーション方法および装置
WO2012101955A1 (ja) * 2011-01-27 2012-08-02 パナソニック株式会社 ロボットアームの制御装置及び制御方法、ロボット、ロボットアーム制御プログラム、並びに、集積電子回路
JP5915214B2 (ja) * 2012-02-01 2016-05-11 セイコーエプソン株式会社 ロボット装置、組立て方法、及び組立てプログラム
JP5695223B2 (ja) * 2012-05-23 2015-04-01 パナソニックIpマネジメント株式会社 ロボット、ロボットの制御装置、制御方法、及び制御プログラム
SG11201506524XA (en) * 2013-02-20 2015-09-29 Ihi Corp Force control robot and method for controlling same
JP2014176940A (ja) * 2013-03-15 2014-09-25 Yaskawa Electric Corp ロボットシステム、ロボット制御方法及び被加工物の製造方法
JP6468741B2 (ja) * 2013-07-22 2019-02-13 キヤノン株式会社 ロボットシステム及びロボットシステムの校正方法
CN104608128A (zh) * 2013-11-01 2015-05-13 精工爱普生株式会社 机器人、控制装置、机器人系统、以及机器人控制方法
CN105313127A (zh) * 2014-06-02 2016-02-10 精工爱普生株式会社 机器人、机器人的控制方法以及机器人的控制装置
JP2015226968A (ja) * 2014-06-02 2015-12-17 セイコーエプソン株式会社 ロボット、ロボットシステム、制御装置、及び制御方法

Also Published As

Publication number Publication date
CN106493711A (zh) 2017-03-15
US10195744B2 (en) 2019-02-05
JP2017052015A (ja) 2017-03-16
US20170066137A1 (en) 2017-03-09
CN106493711B (zh) 2021-04-16

Similar Documents

Publication Publication Date Title
JP6661925B2 (ja) 制御装置、ロボットおよびロボットシステム
JP6733239B2 (ja) 制御装置及びロボットシステム
JP6511715B2 (ja) ロボット制御装置、ロボットシステム、及びロボット
US10434646B2 (en) Robot control apparatus, robot, and robot system
JP6746990B2 (ja) ロボット制御装置及びロボットシステム
JP6663978B2 (ja) ツールオフセットを決定するシステムおよび方法
US10960542B2 (en) Control device and robot system
JP2015182142A (ja) ロボット、ロボットシステム及び教示方法
JP2018118365A (ja) 制御装置およびロボットシステム
US10537988B2 (en) Controller, robot and robot system
JP7187765B2 (ja) ロボット制御装置
CN108068110A (zh) 控制装置、机器人及机器人系统
JP2017205819A (ja) ロボット、制御装置、及びロボットシステム
JP2014155994A (ja) ロボットおよびロボット制御装置
JPWO2017175340A1 (ja) 最適化装置及びそれを備えた垂直型多関節ロボット
JP2015085499A (ja) ロボット、ロボットシステム、制御装置及び制御方法
JP2019063879A (ja) シミュレーション装置、ロボット制御装置およびロボット
JP2020157475A (ja) 制御装置、ロボットシステム及びロボット制御方法
JP2015089578A (ja) ロボットシステム
CN112643683B (zh) 示教方法
WO2025028401A1 (ja) ロボットシステム
JP2020040185A (ja) ロボットアーム、ロボットアームを用いたロボット装置、ロボットアームの制御方法、制御プログラム及び記録媒体
JP2019141976A (ja) 制御装置、ロボットの制御方法およびロボットシステム
KR20170133143A (ko) 로봇 팔 제어 장치 및 방법

Legal Events

Date Code Title Description
A621 Written request for application examination

Free format text: JAPANESE INTERMEDIATE CODE: A621

Effective date: 20180725

RD05 Notification of revocation of power of attorney

Free format text: JAPANESE INTERMEDIATE CODE: A7425

Effective date: 20180905

RD03 Notification of appointment of power of attorney

Free format text: JAPANESE INTERMEDIATE CODE: A7423

Effective date: 20181115

A977 Report on retrieval

Free format text: JAPANESE INTERMEDIATE CODE: A971007

Effective date: 20190726

A131 Notification of reasons for refusal

Free format text: JAPANESE INTERMEDIATE CODE: A131

Effective date: 20190806

A521 Written amendment

Free format text: JAPANESE INTERMEDIATE CODE: A523

Effective date: 20190930

TRDD Decision of grant or rejection written
A01 Written decision to grant a patent or to grant a registration (utility model)

Free format text: JAPANESE INTERMEDIATE CODE: A01

Effective date: 20200114

A61 First payment of annual fees (during grant procedure)

Free format text: JAPANESE INTERMEDIATE CODE: A61

Effective date: 20200127

R150 Certificate of patent or registration of utility model

Ref document number: 6661925

Country of ref document: JP

Free format text: JAPANESE INTERMEDIATE CODE: R150