JP6574585B2 - 直動案内ユニット - Google Patents

直動案内ユニット Download PDF

Info

Publication number
JP6574585B2
JP6574585B2 JP2015057205A JP2015057205A JP6574585B2 JP 6574585 B2 JP6574585 B2 JP 6574585B2 JP 2015057205 A JP2015057205 A JP 2015057205A JP 2015057205 A JP2015057205 A JP 2015057205A JP 6574585 B2 JP6574585 B2 JP 6574585B2
Authority
JP
Japan
Prior art keywords
end cap
linear motion
guide unit
path
motion guide
Prior art date
Legal status (The legal status is an assumption and is not a legal conclusion. Google has not performed a legal analysis and makes no representation as to the accuracy of the status listed.)
Active
Application number
JP2015057205A
Other languages
English (en)
Other versions
JP2016176531A (ja
JP2016176531A5 (ja
Inventor
成政 板橋
成政 板橋
Current Assignee (The listed assignees may be inaccurate. Google has not performed a legal analysis and makes no representation or warranty as to the accuracy of the list.)
Nippon Thompson Co Ltd
Original Assignee
Nippon Thompson Co Ltd
Priority date (The priority date is an assumption and is not a legal conclusion. Google has not performed a legal analysis and makes no representation as to the accuracy of the date listed.)
Filing date
Publication date
Application filed by Nippon Thompson Co Ltd filed Critical Nippon Thompson Co Ltd
Priority to JP2015057205A priority Critical patent/JP6574585B2/ja
Publication of JP2016176531A publication Critical patent/JP2016176531A/ja
Publication of JP2016176531A5 publication Critical patent/JP2016176531A5/ja
Application granted granted Critical
Publication of JP6574585B2 publication Critical patent/JP6574585B2/ja
Active legal-status Critical Current
Anticipated expiration legal-status Critical

Links

Images

Landscapes

  • Bearings For Parts Moving Linearly (AREA)
  • Sealing Of Bearings (AREA)

Description

この発明は,例えば,長尺な軌道レール及び該軌道レール上を転動体を介して相対移動する潤滑手段を備えたスライダから構成されている直動案内ユニットに関する。
従来,直動案内ユニットは,長尺の軌道レール又は軌道軸に対して,スライダを複数のローラやボールである転動体を介して相対摺動自在に構成したユニットであり,転動体は軌道レールとスライダとの間に形成される軌道路とスライダに設けられたリターン路と方向転換路からなる循環路を無限循環するものである。該直動案内ユニットでは,軌道路と転動体との間における潤滑を確保するため,潤滑剤を定期的に供給即ち給油することによって達成されている。しかしながら,近年,機械装置や設備等について,潤滑メンテナンスのコスト削減のために,それらの構成部品となる直動案内ユニットについても,長期間の潤滑メンテナンスフリーに対応できるものが求められている。
本出願人は,直動案内ユニットについて上記の課題を解決するため,先に直動案内ユニットを開発して特許出願した。該直動案内ユニットは,転動体への潤滑剤の供給即ち給油を方向転換路内において行い,潤滑供給手段の構成を単純化し,確実に安定して給油して潤滑メンテナンスフリーを達成するものである。該直動案内ユニットは,エンドキャップの端面側から方向転換路に連通する連通孔を形成し,エンドキャップの端面に形成された凹部に潤滑剤含浸の多孔質成形体から成る貯油板を配設し,貯油板の突出部を連通孔に嵌入して突出部の端面が方向転換路の壁面の一部を形成して露出している。方向転換路を転走するローラは,貯油板の突出部に接触し,それによって,貯油板の突出部を通じてローラに潤滑剤が供給され,循環路を転走するローラが潤滑されるように構成されている(例えば,特許文献1参照)。
また,本出願人は,直動案内ユニットとして,転動体への潤滑剤の給油を方向転換路で行い,給油手段の構成を単純化したものを開発し,先に特許出願した。該直動案内ユニットは,エンドキャップの端面に凹部を形成し,凹部に方向転換路に連通する開口部を形成している。エンドキャップに配設された多孔質成形体は,エンドキャップに形成した凹部の深部に嵌入される貯留部,連係部及び導出部を備えている。上記凹部に潤滑剤含浸の多孔質成形体を配設し,導出部の端面の接触面を方向転換路の開口部に露出させる。方向転換路を転走するローラは,接触面に接触し,導出部を通じてローラに潤滑剤が給油され,軌道路を転動するローラが給油される(例えば,特許文献2参照)。
特開2007−100951号公報 特開2008−82433号公報
上記の特許文献に開示された直動案内ユニットは,転動体への潤滑剤の供給を方向転換路内で行うものであり,エンドキャップの方向転換路内を転走する転動体は,同じくエンドキャップ内に設けられて潤滑剤を含浸した潤滑体である貯油板の突出部に接触し,それによって貯油板の突出部を通じて転動体に潤滑剤が供給され,循環路を転走する転動体が潤滑されるように構成されている。しかしながら,上記直動案内ユニットでは,小形タイプでは貯油板に含浸できる潤滑油量が少ないという問題があり,潤滑メンテナンスフリー期間も短くなってしまうという問題があった。また,直動案内ユニットは,それが組み込まれる機械装置や設備における潤滑メンテナンス工数の削減のニーズや,省資源や環境負荷低減を目的とした潤滑剤の使用量を削減するための,より長期間の潤滑メンテナンスフリーに対応できるものが求められている。そこで,直動案内ユニットについて,方向転換路内で転動体に直接潤滑剤を供給する場合において,潤滑体である貯油板に如何に多量の潤滑剤を含浸保持させることができ,また,潤滑剤供給量を抑制し,潤滑剤を転動体に長期間にわたって適正量だけスムーズに的確に供給できるという潤滑メンテナンスフリーの構造を開発することが望まれていた
そこで,直動案内ユニットについて,エンドキャップの凹部に配設する貯油板や多孔質成形体に更に多量の潤滑剤を保持させるため,エンドキャップの凹部に潤滑剤を含浸したフェルト等の含油部材を装填することが考えられる。本出願人は,上記の課題を解決するため,エンドキャップの凹部に配設する貯油板の形状を考慮し,転動体に供給される潤滑剤の量を調節する直動案内ユニットを開発して,先に特許出願した(例えば,特願2013−188056号参照)。該直動案内ユニットは,エンドキャップ内に配設する含油部材を多孔質成形体の貯油板と繊維状の含油部材から構成し,エンドキャップ内の空きスペースを有効に活用して含油部材を装填し,エンドキャップに設けた油孔から含油部材に再給油できるようにし,長期間にわたって潤滑を達成し潤滑のメンテナンスフリーを実現するものである。
また,本出願人は,直動案内ユニットについて,貯油板を貯油板本体と突出部品から構成し,該突出部品の成形密度を高くして,直動案内ユニットの運転初期の潤滑剤の給油量を抑え,貯油板本体を突出部品よりも低い成形密度に構成し,含油量を増やす構造に構成した(例えば,特願2013−198404号参照)。該直動案内ユニットは,転動体への潤滑剤の給油を方向転換路において行うため,潤滑剤を含浸した貯油板を異なった成形密度の多孔質成形体から成る突出部品と貯油板本体とから構成し,確実に安定して長期に給油して長期間にわたっての潤滑のメンテナンスフリーを実現せんとしたものである。
ところで.上記直動案内ユニットでは,転動体を保持する保持板をケーシングに配設するために保持バンドが使用されており,該保持バンドの固定をエンドキャップの端面に形成した保持バンド溝に嵌入して行っている。そのため,エンドキャップの端面に形成された凹部に保持バンド溝による遮断壁が形成されるのが通常であり,エンドキャップの凹部に潤滑剤を充填した場合に,該凹部に充填された潤滑剤を多量にするため,保持バンド溝で遮断された凹部にも潤滑剤を充填して,該充填された潤滑剤を貯油板へと移行できるように構成し,それに従って,凹部に充填された潤滑剤を密封することができるかの課題があった。
この発明の目的は,上記の課題を解決することであり,小形の直動案内ユニットに適用して好ましいものであり,小形の高密度に成形した貯油板をエンドキャップの方向転換路の近傍の凹部に配設し,貯油板以外の凹部のスペースに潤滑剤を充填し,エンドキャップの凹部スペースを有効に活用して潤滑剤を多量にエンドキャップに保持させ,転動体を確実に潤滑できるように循環路を転走する転動体への給油をスライダに設けた方向転換路内において行い,貯油板の突出部に方向転換路を転走する転動体に接触させ,転動体に給油し,潤滑剤の転動体への供給の潤滑メンテナンスフリーを実現しながら,潤滑寿命を延長できることを特徴とする直動案内ユニットを提供することである。
この発明は,長手方向両側面に第1軌道面が形成された長尺の軌道レール,前記軌道レールに両袖部が跨架して転動体を介して相対摺動可能なスライダから成り,前記スライダは,前記第1軌道面に対応し且つ共働して軌道路を構成する第2軌道面と該第2軌道面に沿って伸びるリターン路とが形成されたケーシング,前記ケーシングの両端面にそれぞれ配設され且つ前記軌道路と前記リターン路とを円弧状に連通する方向転換路が形成されたエンドキャップ,前記エンドキャップに配設されて前記方向転換路を転走する前記転動体に接触して潤滑剤を供給する貯油板,及び前記エンドキャップの端面に配設されたエンドシールを有しており,前記転動体が前記軌道路,前記リターン路及び一対の前記方向転換路から構成された循環路を転走することから成る直動案内ユニットにおいて,
前記エンドキャップの前記端面側の周囲部分は前記エンドシールに設けたシール部材で密封されており,前記貯油板は前記エンドキャップの前記端面側に形成された凹部に配設され,前記貯油板以外の前記凹部の領域には前記潤滑剤が充填されており,前記エンドシールには,前記エンドキャップの前記端面に形成された保持バンド溝に嵌入する突起部を備えており,前記突起部には前記凹部に充填された前記潤滑剤が通過できる通孔が形成されており,前記貯油板は,前記凹部に配設された本体部と前記本体部に一体的な突出部から成り,前記エンドキャップの前記凹部には前記方向転換路に開口する貫通孔が形成され,前記貫通孔には前記貯油板の前記突出部が嵌入されて前記突出部の先端の給油面が前記方向転換路に露出していることを特徴とする直動案内ユニットに関する。
また,前記貯油板は,前記エンドキャップに形成された前記凹部に比較して小形に形成されており,前記貯油板が配設された以外の領域の前記凹部には,前記潤滑剤を含浸した不織布,フェルトや綿の繊維状物質から成る含油部材が装填されているものである。
また,前記エンドシールは,前記シール部材と前記シール部材が固着された芯金部材から構成されている。また,前記エンドキャップの前記凹部に配設された前記貯油板は.前記エンドシールにバックアップされて前記エンドキャップの前記凹部に挟持されているものである。
また,この直動案内ユニットは,前記エンドシールには,前記エンドシールの外周縁部と前記エンドシールに形成された取付け用孔やグリースニップルの取付け用孔等の通孔の周縁回りに前記シール部材が配設されており,前記エンドキャップに形成された前記凹部が密閉されて前記凹部に充填された前記潤滑剤が漏洩せずに密封されているものである。
また,前記エンドキャップに形成された前記保持バンド溝は,幅方向に平行に延びる一対のリブ部の間に形成され,それぞれの前記リブ部の両端部は前記エンドキャップの周囲を形成する縁部と同一面であり,それぞれの前記リブ部の前記両端部間の中央部には前記エンドシールの前記突起部を嵌入する嵌入凹部が形成されているものである。
また,前記転動体は前記軌道路を転動する転動面と該転動面の両端の端面から成り,前記循環路は,前記スライダの前記袖部に一対ずつ形成されて四条列に形成され,前記貯油板は前記エンドキャップの前記端面に一対ずつ配設され,前記エンドキャップの袖部に形成された前記方向転換路が長手方向に隔置して外側方向転換路と内側方向転換路とが互いにたすき掛けに交差状態に形成され,前記エンドキャップに形成された前記貫通孔は前記外側方向転換路に開口するように形成されているものである。
また,この直動案内ユニットでは,前記エンドキャップの一方側の一対の前記方向転換路と他方側の一対の前記方向転換路とでは,前記外側方向転換路と前記内側方向転換路とが手前側と奥側とで入れ替わって形成されているものである。
また,前記エンドキャップの前記袖部に形成された前記貫通孔は,左右の前記袖部で形成位置が異なっており,前記循環路を転走する前記転動体は保持板によって前記ケーシングに保持され,前記保持板は保持バンドにより前記ケーシングの前記軌道路に保持され,前記保持バンドの両端部が前記エンドキャップの前記保持バンド溝に嵌入係止して前記保持バンドが前記エンドキャップに固定されているものである。
また,前記貯油板は,ポリエチレン又はポリプロピレンの超高分子量の合成樹脂微粒子を押し固めて加熱成形されて,前記合成樹脂微粒子間に連通状態に保形された多数のオープンポアを備えた多孔部を有する多孔質成形体から成り,前記多孔部には前記潤滑剤が含浸されている。
この発明による直動案内ユニットは,上記のように,エンドキャップの凹部に配設する貯油板を凹部に比較して小形に形成し,貯油板の配設以外の凹部領域に潤滑剤を充填し,貯油板を本体部とそれから突出した突出部とから構成し,エンドキャップに形成した方向転換路に連通する貫通孔を形成し,該貫通孔に突出部を嵌合し,突出部の先端面が方向転換路を転走する転動体に接触して潤滑され,貯油板を形成する多孔質成形体の成形密度が従来のものよりも高密度に形成して,転動体への給油を適正に行い,エンドキャップに貯油される潤滑剤を増加させることができ,突出部を通じて転動体へ給油して消費されるにつれて,凹部内の潤滑剤が貯油板の本体部を通じて突出部へ毛細管現象で移行して転動体に適正に給油され,貯油板の成形密度を所望に製造し易くなり,また,貯油板は,突出部を貫通孔に嵌着するだけで組み立てることができ,構造が簡単で容易に製造することができ,転動体には運転初期から安定した均一な供給量を給油でき,その結果,潤滑寿命が延長され,更なる長期間の潤滑メンテナンスフリーを実現することができる。また,この直動案内ユニットは,エンドキャップの凹部はエンドシールによって密封されているので,凹部内に充填された潤滑剤は漏洩することなく,しかも,貯油板を凹部に比較して小形に形成して前記凹部のスペースを大きくし,貯油板以外の凹部のスペースに潤滑剤を直接充填したので,スライダに保持させる潤滑剤の保持量がアップし,また,エンドシールの突起部に通孔を形成するだけで,大幅な変更を必要としないので,既存の直動案内ユニットにも本願発明の技術的思想を適用できる。
この発明による直動案内ユニットの外観を一部破断した断面で示す斜視図である。 図1の直動案内ユニットを構成するスライダを示す分解斜視図である。 図1の直動案内ユニットを示す正面図である。 図3の直動案内ユニットのA−A位置における断面を示す断面図である。 この発明による直動案内ユニットにおける循環路が位置する領域を示す断面図である。 この発明による直動案内ユニットを構成するエンドキャップに貯油板を配設した状態を示す正面図である。 図6のエンドキャップのB−B位置におけるエンドキャップを示す断面図である。 この直動案内ユニットを構成するエンドキャップを示す正面図である。 図8のエンドキャップを示す背面図である。 図8のエンドキャップを示す側面図である。 この直動案内ユニットを構成するエンドシールを示す正面図である。 図11のエンドシールを示す背面図である。 図11のエンドシールを示す側面図である。 図11のエンドシールを示す平面図である。 この直動案内ユニットを構成するエンドキャップに組み込まれる貯油板を示す正面図である。 図15の貯油板を示す側面図である。
以下,図面を参照して,この発明による潤滑部材を備えた直動案内ユニットの実施例について説明する。この直動案内ユニットは,長手方向両側面16に一対の軌道面12(第1軌道面)がそれぞれ形成された長尺の軌道レール1,軌道レール1に両袖部32が跨架して転動体であるローラ5を介して相対摺動可能なスライダ2から成り,スライダ2は,軌道面12に対応してそれぞれ形成された軌道面13(第2軌道面)と該軌道面13に沿ってそれぞれ伸びるリターン路22とがそれぞれ形成されたケーシング3,ケーシング3の両端面29に配設され且つ軌道面12と軌道面13で形成される軌道路21とリターン路22とを円弧状にそれぞれ連通する方向転換路23がそれぞれ形成された一対のエンドキャップ4,エンドキャップ4にそれぞれ配設されて方向転換路23を転走するローラ5に接触してローラ5に潤滑剤を供給する貯油板9,及びエンドキャップ4の端面24にそれぞれ配設された一対のエンドシール6を有している。スライダ2は,軌道レール1の上面61の上方に位置する上部33,及び上部33の両側から軌道レール1の側面16に沿って垂下する袖部32から構成されている。ローラ5は,軌道路21,リターン路22及び一対の方向転換路23から構成された循環路20を転走する。一対の循環路20のうち一方のローラ5は,スライダ2の下方向負荷を受ける下側の軌道路21からケーシング3の上側のリターン路22に循環し,また,他方のローラ5は,スライダ2の上方向負荷を受ける上側の軌道路21からケーシング3の下側のリターン路22に循環するように構成されている。ローラ5は,その形状が円筒ころに形成されている。また,循環路20を転走するローラ5及びセパレータ19は,軌道路21においてケーシング3とエンドキャップ4とに取り付けられた保持板41によってローラ5の端面38が保持されて円筒外周面の転動面37でそれぞれ転動するように組み込まれている。保持板41は,エンドキャップ4に両端が保持バンド溝25に固定された保持バンド28によってスライダ2に装着されている。一対の循環路20のうち一方の循環路20は,負荷路である軌道路21,リターン路22,及び短円状即ち内側方向転換路23Bと長円状即ち外側方向転換路23Aで構成され,同様に,他方の循環路20は,一方の循環路20にたすき掛けに交差して構成されている。転動体である複数のローラ5は,各ローラ5間にローラ5同士の接触を防止するためにセパレータ19が介在されている。
この直動案内ユニットでは,スライダ2は,ケーシング3の端面29に,エンドキャップ4,エンドキャップ4の凹部14に配設した貯油板9及びエンドシール6を重ね,次いで,固定ボルト42をエンドシール6に形成した取付け用孔53,及びエンドキャップ4に形成した取付け用孔54に通して,固定ボルト42をケーシング3に形成した取付け用ねじ孔(図示せず)に螺入して組立られている。この直動案内ユニットは,エンドキャップ4の端面24に形成された外周縁部49に,エンドシール6の端面52が接すると共に貯油板9を覆ってバックアップして配置されている。エンドキャップ4には,給油孔55及び給油溝56を通じて循環路20に潤滑剤を供給できるように,給油孔55にグリースニップル43が取り付けられている。グリースニップル43は,エンドシール6に形成された取付け用孔57,エンドキャップ4の給油孔55に螺入して取り付けることができる。また,軌道レール1には,ベースに軌道レール1を固定するため取付け用孔17が形成され,また,ケーシング3には,各種の物体を取り付けるため取付け用ねじ孔18が形成されている。また,リターン路22は,スライダ2を構成するケーシング3に形成された嵌挿孔59に嵌挿されたスリーブ45の通し孔で形成されている。スリーブ45は,ケーシング3の嵌挿孔59に遊嵌状態に配設されており,ケーシング3の両端面29に配置されたエンドキャップ4の接続管部60によってスライダ2に固定状態に取り付けられている。エンドキャップ4は,方向転換路23の内周面を形成するスペーサ8と,方向転換路23の外周面を形成するエンドキャップ本体7とから構成されている。エンドキャップ4の背面において,エンドキャップ本体7に形成された嵌合凹部に,長円状の外側方向転換路23Aを形成するスペーサ8と,短円状の内側方向転換路23Bを形成するスペーサ8とが互いに交差状態に組み合わさってそれぞれ配設されている。方向転換路23の外周面を形成するエンドキャップ本体7と,方向転換路23の内周面を形成するスペーサ8とが共働して方向転換路23が形成されている。この直動案内ユニットでは,スライダ2の袖部32に形成された一対の循環路20は,軌道路21,リターン路22,長円状の外側方向転換路23Aとスペーサ8とで形成された方向転換路23,及び短円状の内側方向転換路23Bとスペーサ8とで形成された方向転換路23によってそれぞれ形成されることになる。また,エンドキャップ4は,ケーシング3に対して位置決めされ,エンドキャップ4の取付け用孔54に通じて固定ボルト42でケーシング3に固定されるので,スリーブ45がエンドキャップ4の接続管部60に当接することによってスリーブ45とエンドキャップ4とが位置合わせされ,ケーシング3のリターン路22とエンドキャップ4の接続管部60とは合致するようになる。従って,スリーブ45とエンドキャップ4の接続管部60とが端面同士が当接することによって,リターン路22と方向転換路23との断面矩形状の循環路20が段差無く接続されている。エンドキャップ4に形成された方向転換路23とケーシング3の嵌挿孔59に嵌合したスリーブ45に形成されたリターン路22とが段差無く連通することにより,ローラ5は,方向転換路23からリターン路22へ,及びリターン路22から方向転換路23へとスムーズに転動循環することができる。
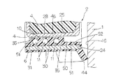
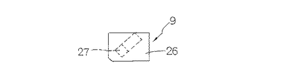
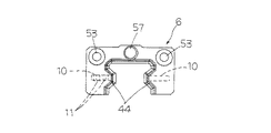
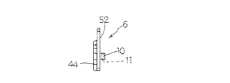
この発明による直動案内ユニットは,特に,エンドキャップ4の端面24側の周囲部分がエンドシール6に設けたシール部材30で密封されており,貯油板9がエンドキャップ4に形成された凹部14に配設されており,貯油板9以外の凹部14の領域には潤滑剤34が充填されていることを特徴としている。エンドシール6には,エンドキャップ4の端面24に形成された保持バンド溝25に嵌入する突起部10を備えており,突起部10には凹部14に充填された潤滑剤34を通過させる複数(図では3個)の通孔11が形成されている。また,貯油板9は,凹部14に配設された本体部26と本体部26に一体的な突出部27から構成されている。この直動案内ユニットは,エンドキャップ4には凹部14から方向転換路23に連通して開口する貫通孔15が形成されており,貫通孔15には貯油板9の突出部27が嵌入されており,方向転換路23を転走するローラ5の転動面37が突出部27の給油面58に接触してローラ5に給油されることを特徴としている。エンドシール6の突起部10に形成した通孔11は,エンドキャップ4の凹部14に充填された潤滑剤を貯油板9の位置する方へ移動させる機能を有しており,凹部14に充填された潤滑剤がエンドキャップ4に設けた保持バンド溝25に流動を妨げられることがない。また,貯油板9は,エンドキャップ4の凹部14に比較して小さく形成されており,しかも成形密度は適正に転動体のローラ5に給油できるように高密度に形成され,実施例では貯油板9は方向転換路23の近辺に位置する。凹部14の他の領域には,潤滑剤34が充填され,潤滑剤34が高粘度のグリースの場合には,凹部14の他の領域には潤滑剤34だけが充填される。潤滑剤34が低粘度の潤滑油の場合には,潤滑剤34を保持するため,不織布,フェルトや綿の繊維状物質から成る含油部材36が装填される(図5)。
更に,この直動案内ユニットでは,エンドシール6は,シール部材30とシール部材30が固着された芯金部材31から構成されており,軌道レール1の回りに位置する縁部には,軌道レール1とスライダ2との間をシールするため,リップ部44が設けられている。エンドキャップ4の凹部14に配設された貯油板9はエンドシール6にバックアップされてエンドキャップ4の凹部14内に挟持されている。この直動案内ユニットは,エンドシール6には,エンドシール6の外周縁部48とエンドシール6に形成された取付け用孔53やグリースニップル43の取付け用孔57等の通孔の周縁回りにシール部材30が配設されており,エンドキャップ4に形成された凹部14が密閉されて凹部14に充填された潤滑剤34が漏洩せずに密封されている。また,エンドキャップ4に形成された保持バンド溝25は,側方に平行に延びるリブ部50の間に形成され,リブ部50の両端部51はエンドキャップ4の周囲を形成する縁部49と同一面であり,リブ部50の両端部51間の中央部は,エンドシール6の突起部10が嵌入する嵌入凹部35に形成されている。
また,転動体であるローラ5は,軌道路21を転動する転動面37と該転動面37の両端の端面38から形成されている。エンドキャップ4は,軌道レール1の上面61の上方に位置する上部40,及び上部40の両側から軌道レール1の側面16に沿って垂下する袖部39から構成されている。循環路20は,スライダ2の袖部32に一対ずつ形成されて四条列に形成され,貯油板9は,エンドキャップ4の端面24に一対ずつ配設され,エンドキャップ4の袖部39に形成された方向転換路23が長手方向に隔置して外側方向転換路23Aと内側方向転換路23Bとが互いにたすき掛けに交差状態に形成され,エンドキャップ4に形成された貫通孔15は,凹部14から外側方向転換路23Aに連通して開口するように形成されている。また,エンドキャップ4の一方側の一対の方向転換路23と他方側の一対の方向転換路23とでは,外側方向転換路23Aと内側方向転換路23Bとが手前側と奥側とで入れ替わった状態になって形成されている。また,エンドキャップ4の袖部39に形成された貫通孔15は,左右の袖部39で形成位置が異なっており,循環路20を転走するローラ5は保持板41によってケーシング3に保持されている。保持板41は,保持バンド28によりケーシング3の軌道路21に保持されており,保持バンド28の両端部46は,エンドキャップ4の保持バンド溝25に嵌入係止して,保持バンド28がエンドキャップ4に固定されている。
また,貯油板9は,ポリエチレン又はポリプロピレンの超高分子量の合成樹脂微粒子を押し固めて加熱成形されて,合成樹脂微粒子間に連通状態に保形された多数のオープンポアを備えた多孔部を有する焼結樹脂の多孔質成形体から成り,多孔部には潤滑剤が含浸されており,焼結樹脂の成形密度は.例えば,0.60g/cm3 〜0.70g/cm3 である。また,貯油板9は,エンドキャップ4とエンドシール6との間で,エンドキャップ本体7の凹部14に配設されて,エンドシール6の端面52でバックアップされている。具体的には,貯油板9は,エンドキャップ4に形成された凹部14に配設された本体部26と,本体部26と一体構造に形成され且つエンドキャップ4の外側方向転換路23Aに開口する貫通孔15に嵌入する突出部27とから構成されている。また,この直動案内ユニットでは,エンドキャップ4の貫通孔15から外側方向転換路23Aに漏れ出さないように構成されているものであり,貫通孔15が開口している凹部14の底面と,貯油板9の本体部26の突起部27側の端面は密接状態になっているので,凹部14に充填した潤滑剤は,貯油板9と凹部14との間や貫通孔15と突部27の間を伝って外側方向転換路23Aに漏れ出すことはない。図示していないが,凹部14にゴム製のパッキンを配置してもよい。この時,パッキンは,凹部14の底面の貫通孔15の開口部の回りに配置する。凹部14の底面と貯油板9の凹部14の底面側の間にパッキンを配置して密封することによって,凹部14に充填した潤滑剤が貫通孔15を伝って外側方向転換路23Aに漏れ出すことが防止される。また,貯油板9の本体部26は,潤滑剤を含浸しており,潤滑剤が消費されるにつれてエンドキャップ4の凹部14に充填された潤滑剤が毛細管現象で吸い込まれ,潤滑剤は突出部27に移行する。突出部27の先端の給油面58は,方向転換路23を転走する転動体であるローラ5に接触して潤滑剤を直接供給するように配設されている。エンドキャップ4の方向転換路23の外側方向転換路23Aに開口する貫通孔15は,ローラ5が転走する方向に伸びる長孔に形成されており,突出部27は,平行に伸びて長孔に嵌入する中実体に形成されている。
この発明による直動案内ユニットは,工作機械,各種組立装置,搬送機械,各種ロボット,半導体製造装置,精密機械,測定・検査装置,医療機器,マイクロマシン等の各種装置における摺動部に組み込んで利用され,潤滑メンテナンスフリー期間を更に延長して,転動体への良好な潤滑,循環路での転動体の滑らかな転走を発揮できる。
1 軌道レール
2 スライダ
3 ケーシング
4 エンドキャップ
5 ローラ(転動体)
6 エンドシール
9 貯油板
10 突起部
11 通孔
12 軌道面(第1軌道面)
13 軌道面(第2軌道面)
14 凹部
15 貫通孔
16 側面
20 循環路
21 軌道路
22 リターン路
23 方向転換路
23A 外側方向転換路
23B 内側方向転換路
24,29,38 端面
25 保持バンド溝
26 本体部
27 突出部
28 保持バンド
30 シール部材
31 芯金部材
32,39 袖部
34 潤滑剤
35 嵌凹部
36 繊維状物質
37 転動面
41 保持板
46,51 端部
48,49 外周縁部
50 リブ部

Claims (10)

  1. 長手方向両側面に第1軌道面が形成された長尺の軌道レール,前記軌道レールに両袖部が跨架して転動体を介して相対摺動可能なスライダから成り,前記スライダは,前記第1軌道面に対応し且つ共働して軌道路を構成する第2軌道面と該第2軌道面に沿って伸びるリターン路とが形成されたケーシング,前記ケーシングの両端面にそれぞれ配設され且つ前記軌道路と前記リターン路とを円弧状に連通する方向転換路が形成されたエンドキャップ,前記エンドキャップに配設されて前記方向転換路を転走する前記転動体に接触して潤滑剤を供給する貯油板,及び前記エンドキャップの端面に配設されたエンドシールを有しており,前記転動体が前記軌道路,前記リターン路及び一対の前記方向転換路から構成された循環路を転走することから成る直動案内ユニットにおいて,
    前記エンドキャップの前記端面側の周囲部分は前記エンドシールに設けたシール部材で密封されており,前記貯油板は前記エンドキャップの前記端面側に形成された凹部に配設され,前記貯油板以外の前記凹部の領域には前記潤滑剤が充填されており,前記エンドシールには,前記エンドキャップの前記端面に形成された保持バンド溝に嵌入する突起部を備えており,前記突起部には前記凹部に充填された前記潤滑剤が通過できる複数の通孔が形成されており,前記貯油板は,前記凹部に配設された本体部と前記本体部に一体的な突出部から成り,前記エンドキャップの前記凹部には前記方向転換路に開口する貫通孔が形成され,前記貫通孔には前記貯油板の前記突部が嵌入されて前記突出部の先端の給油面が前記方向転換路に露出していることを特徴とする直動案内ユニット。
  2. 前記貯油板は,前記エンドキャップに形成された前記凹部に比較して小形に形成されており,前記貯油板が配設された以外の領域の前記凹部には,前記潤滑剤を含浸した不織布,フェルトや綿の繊維状物質から成る含油部材が装填されていることを特徴とする請求項1に記載の直動案内ユニット。
  3. 前記エンドシールは,前記シール部材と前記シール部材が固着された芯金部材から構成されていることを特徴とする請求項1又は2に記載の直動案内ユニット。
  4. 前記エンドキャップの前記凹部に配設された前記貯油板は.前記エンドシールにバックアップされて前記エンドキャップの前記凹部に挟持されていることを特徴とする請求項1〜3のいずれか1項に記載の直動案内ユニット。
  5. 前記エンドシールには,前記エンドシールの外周縁部と前記エンドシールに形成された取付け用孔やグリースニップルの取付け用孔等の通孔の周縁回りに前記シール部材が配設されており,前記エンドキャップに形成された前記凹部が密閉されて前記凹部に充填された前記潤滑剤が漏洩せずに密封されていることを特徴とする請求項1〜4のいずれか1項に記載の直動案内ユニット。
  6. 前記エンドキャップに形成された前記保持バンド溝は,幅方向に平行に延びる一対のリブ部の間に形成され,それぞれの前記リブ部の両端部は前記エンドキャップの周囲を形成する縁部と同一面であり,それぞれの前記リブ部の前記両端部間の中央部には前記エンドシールの前記突起部を嵌入する嵌入凹部が形成されていることを特徴とする請求項1〜5のいずれか1項に記載の直動案内ユニット。
  7. 前記転動体は前記軌道路を転動する転動面と該転動面の両端の端面から成り,前記循環路は,前記スライダの前記袖部に一対ずつ形成されて四条列に形成され,前記貯油板は前記エンドキャップの前記端面に一対ずつ配設され,前記エンドキャップの袖部に形成された前記方向転換路が長手方向に隔置して外側方向転換路と内側方向転換路とが互いにたすき掛けに交差状態に形成され,前記エンドキャップに形成された前記貫通孔は前記外側方向転換路に開口するように形成されていることを特徴とする請求項1〜6のいずれか1項に記載の直動案内ユニット。
  8. 前記エンドキャップの一方側の一対の前記方向転換路と他方側の一対の前記方向転換路とでは,前記外側方向転換路と前記内側方向転換路とが手前側と奥側とで入れ替わって形成されていることを特徴とする請求項7に記載の直動案内ユニット。
  9. 前記エンドキャップの前記袖部に形成された前記貫通孔は,左右の前記袖部で形成位置が異なっており,前記循環路を転走する前記転動体は保持板によって前記ケーシングに保持され,前記保持板は保持バンドにより前記ケーシングの前記軌道路に保持され,前記保持バンドの両端部が前記エンドキャップの前記保持バンド溝に嵌入係止して前記保持バンドが前記エンドキャップに固定されていることを特徴とする請求項に記載の直動案内ユニット。
  10. 前記貯油板は,ポリエチレン又はポリプロピレンの超高分子量の合成樹脂微粒子を押し固めて加熱成形されて,前記合成樹脂微粒子間に連通状態に保形された多数のオープンポアを備えた多孔部を有する多孔質成形体から成り,前記多孔部には前記潤滑剤が含浸されていることを特徴とする請求項1〜9のいずれか1項に記載の直動案内ユニット。
JP2015057205A 2015-03-20 2015-03-20 直動案内ユニット Active JP6574585B2 (ja)

Priority Applications (1)

Application Number Priority Date Filing Date Title
JP2015057205A JP6574585B2 (ja) 2015-03-20 2015-03-20 直動案内ユニット

Applications Claiming Priority (1)

Application Number Priority Date Filing Date Title
JP2015057205A JP6574585B2 (ja) 2015-03-20 2015-03-20 直動案内ユニット

Publications (3)

Publication Number Publication Date
JP2016176531A JP2016176531A (ja) 2016-10-06
JP2016176531A5 JP2016176531A5 (ja) 2018-04-05
JP6574585B2 true JP6574585B2 (ja) 2019-09-11

Family

ID=57069674

Family Applications (1)

Application Number Title Priority Date Filing Date
JP2015057205A Active JP6574585B2 (ja) 2015-03-20 2015-03-20 直動案内ユニット

Country Status (1)

Country Link
JP (1) JP6574585B2 (ja)

Families Citing this family (2)

* Cited by examiner, † Cited by third party
Publication number Priority date Publication date Assignee Title
CN115681351A (zh) * 2022-09-28 2023-02-03 上海莱恩精密机床附件有限公司 花键结构和花键组件
CN115717627B (zh) * 2022-11-11 2024-08-06 惠州深科达智能装备有限公司 可润滑的滑块及直线导轨

Family Cites Families (4)

* Cited by examiner, † Cited by third party
Publication number Priority date Publication date Assignee Title
DE4331013C2 (de) * 1993-08-12 1998-04-09 Schaeffler Waelzlager Ohg Abstreifereinheit für ein Lagerelement
JP3980778B2 (ja) * 1998-11-06 2007-09-26 日本トムソン株式会社 直動案内ユニット
JP4584888B2 (ja) * 2006-09-27 2010-11-24 日本トムソン株式会社 直動案内ユニット
JP5945161B2 (ja) * 2012-05-25 2016-07-05 日本トムソン株式会社 直動案内ユニット

Also Published As

Publication number Publication date
JP2016176531A (ja) 2016-10-06

Similar Documents

Publication Publication Date Title
JP6236261B2 (ja) 直動案内ユニット
JP4584888B2 (ja) 直動案内ユニット
JP4035241B2 (ja) 潤滑装置を備えた直動案内ユニット
JP4521305B2 (ja) 直動案内ユニット
JP4685723B2 (ja) 直動案内ユニット
JP5164699B2 (ja) 直動転がり案内ユニット用の潤滑部材および直動転がり案内ユニット用のスライダ
JP5945161B2 (ja) 直動案内ユニット
JP5550918B2 (ja) 直動案内ユニット
JP5767561B2 (ja) 直動案内ユニット
JP6445788B2 (ja) 直動転がり案内ユニット
JP6574585B2 (ja) 直動案内ユニット
JP2013245751A5 (ja)
JP4469705B2 (ja) 直動案内ユニット
JP6393496B2 (ja) 潤滑部材を備えた直動案内ユニット
JP6650226B2 (ja) 直動案内ユニット
TW201447129A (zh) 線性導引裝置用供油裝置、線性導引裝置
JP2018035860A (ja) 曲動転がり案内ユニット及びそのスライダへの転動体の装填方法
JP6234758B2 (ja) 潤滑部材を備えた直動案内ユニット
WO2015068653A1 (ja) 転がり軸受案内装置
JP5938196B2 (ja) 直動転がり案内ユニット
JP6407566B2 (ja) 直動転がり案内ユニット
JP2013204753A (ja) 直動案内ユニット
JP6055345B2 (ja) 貯油板を備えた直動案内ユニット
JP2012229794A (ja) 直動案内装置の潤滑剤含有ポリマ部材
JP2016056936A (ja) 転がり軸受案内装置

Legal Events

Date Code Title Description
A521 Request for written amendment filed

Free format text: JAPANESE INTERMEDIATE CODE: A523

Effective date: 20180226

A621 Written request for application examination

Free format text: JAPANESE INTERMEDIATE CODE: A621

Effective date: 20180226

A977 Report on retrieval

Free format text: JAPANESE INTERMEDIATE CODE: A971007

Effective date: 20181207

A131 Notification of reasons for refusal

Free format text: JAPANESE INTERMEDIATE CODE: A131

Effective date: 20190115

A521 Request for written amendment filed

Free format text: JAPANESE INTERMEDIATE CODE: A523

Effective date: 20190304

TRDD Decision of grant or rejection written
A01 Written decision to grant a patent or to grant a registration (utility model)

Free format text: JAPANESE INTERMEDIATE CODE: A01

Effective date: 20190806

A61 First payment of annual fees (during grant procedure)

Free format text: JAPANESE INTERMEDIATE CODE: A61

Effective date: 20190819

R150 Certificate of patent or registration of utility model

Ref document number: 6574585

Country of ref document: JP

Free format text: JAPANESE INTERMEDIATE CODE: R150

R250 Receipt of annual fees

Free format text: JAPANESE INTERMEDIATE CODE: R250

R250 Receipt of annual fees

Free format text: JAPANESE INTERMEDIATE CODE: R250