JP6528283B2 - 熱交換器 - Google Patents

熱交換器 Download PDF

Info

Publication number
JP6528283B2
JP6528283B2 JP2016063299A JP2016063299A JP6528283B2 JP 6528283 B2 JP6528283 B2 JP 6528283B2 JP 2016063299 A JP2016063299 A JP 2016063299A JP 2016063299 A JP2016063299 A JP 2016063299A JP 6528283 B2 JP6528283 B2 JP 6528283B2
Authority
JP
Japan
Prior art keywords
plate
flow path
fluid
header
plate fin
Prior art date
Legal status (The legal status is an assumption and is not a legal conclusion. Google has not performed a legal analysis and makes no representation as to the accuracy of the status listed.)
Active
Application number
JP2016063299A
Other languages
English (en)
Other versions
JP2017180857A (ja
Inventor
健二 名越
健二 名越
憲昭 山本
憲昭 山本
崇裕 大城
崇裕 大城
一彦 丸本
一彦 丸本
Current Assignee (The listed assignees may be inaccurate. Google has not performed a legal analysis and makes no representation or warranty as to the accuracy of the list.)
Panasonic Intellectual Property Management Co Ltd
Original Assignee
Panasonic Intellectual Property Management Co Ltd
Priority date (The priority date is an assumption and is not a legal conclusion. Google has not performed a legal analysis and makes no representation as to the accuracy of the date listed.)
Filing date
Publication date
Application filed by Panasonic Intellectual Property Management Co Ltd filed Critical Panasonic Intellectual Property Management Co Ltd
Priority to JP2016063299A priority Critical patent/JP6528283B2/ja
Priority to PCT/JP2017/007274 priority patent/WO2017169411A1/ja
Priority to CN201780019208.XA priority patent/CN108885072B/zh
Priority to DE112017001593.6T priority patent/DE112017001593T5/de
Publication of JP2017180857A publication Critical patent/JP2017180857A/ja
Application granted granted Critical
Publication of JP6528283B2 publication Critical patent/JP6528283B2/ja
Active legal-status Critical Current
Anticipated expiration legal-status Critical

Links

Images

Classifications

    • FMECHANICAL ENGINEERING; LIGHTING; HEATING; WEAPONS; BLASTING
    • F28HEAT EXCHANGE IN GENERAL
    • F28DHEAT-EXCHANGE APPARATUS, NOT PROVIDED FOR IN ANOTHER SUBCLASS, IN WHICH THE HEAT-EXCHANGE MEDIA DO NOT COME INTO DIRECT CONTACT
    • F28D1/00Heat-exchange apparatus having stationary conduit assemblies for one heat-exchange medium only, the media being in contact with different sides of the conduit wall, in which the other heat-exchange medium is a large body of fluid, e.g. domestic or motor car radiators
    • F28D1/02Heat-exchange apparatus having stationary conduit assemblies for one heat-exchange medium only, the media being in contact with different sides of the conduit wall, in which the other heat-exchange medium is a large body of fluid, e.g. domestic or motor car radiators with heat-exchange conduits immersed in the body of fluid
    • F28D1/03Heat-exchange apparatus having stationary conduit assemblies for one heat-exchange medium only, the media being in contact with different sides of the conduit wall, in which the other heat-exchange medium is a large body of fluid, e.g. domestic or motor car radiators with heat-exchange conduits immersed in the body of fluid with plate-like or laminated conduits
    • FMECHANICAL ENGINEERING; LIGHTING; HEATING; WEAPONS; BLASTING
    • F28HEAT EXCHANGE IN GENERAL
    • F28DHEAT-EXCHANGE APPARATUS, NOT PROVIDED FOR IN ANOTHER SUBCLASS, IN WHICH THE HEAT-EXCHANGE MEDIA DO NOT COME INTO DIRECT CONTACT
    • F28D9/00Heat-exchange apparatus having stationary plate-like or laminated conduit assemblies for both heat-exchange media, the media being in contact with different sides of a conduit wall
    • F28D9/0062Heat-exchange apparatus having stationary plate-like or laminated conduit assemblies for both heat-exchange media, the media being in contact with different sides of a conduit wall the conduits for one heat-exchange medium being formed by spaced plates with inserted elements
    • FMECHANICAL ENGINEERING; LIGHTING; HEATING; WEAPONS; BLASTING
    • F28HEAT EXCHANGE IN GENERAL
    • F28FDETAILS OF HEAT-EXCHANGE AND HEAT-TRANSFER APPARATUS, OF GENERAL APPLICATION
    • F28F3/00Plate-like or laminated elements; Assemblies of plate-like or laminated elements
    • F28F3/02Elements or assemblies thereof with means for increasing heat-transfer area, e.g. with fins, with recesses, with corrugations
    • F28F3/04Elements or assemblies thereof with means for increasing heat-transfer area, e.g. with fins, with recesses, with corrugations the means being integral with the element
    • FMECHANICAL ENGINEERING; LIGHTING; HEATING; WEAPONS; BLASTING
    • F28HEAT EXCHANGE IN GENERAL
    • F28FDETAILS OF HEAT-EXCHANGE AND HEAT-TRANSFER APPARATUS, OF GENERAL APPLICATION
    • F28F3/00Plate-like or laminated elements; Assemblies of plate-like or laminated elements
    • F28F3/08Elements constructed for building-up into stacks, e.g. capable of being taken apart for cleaning

Landscapes

  • Engineering & Computer Science (AREA)
  • Physics & Mathematics (AREA)
  • Thermal Sciences (AREA)
  • Mechanical Engineering (AREA)
  • General Engineering & Computer Science (AREA)
  • Heat-Exchange Devices With Radiators And Conduit Assemblies (AREA)

Description

本開示は、熱交換器に関し、特に、冷媒が流れる板状のプレートフィンを積層して構成された積層型プレートフィンの熱交換器に関する。
異なる熱エネルギーを有する流体間において、熱エネルギーを交換するために使用される熱交換器としては、多くの機器で用いられており、特に積層型プレートフィンの熱交換器は、例えば家庭用および車両用の空気調和機、コンピュータ、および各種電気機器などにおいて広く用いられている。
積層型プレートフィンの熱交換器は、板状のプレートフィンの中に形成された流路を流れる流体(冷媒)と、積層されたプレートフィンの間を流れる流体(空気)との間で熱交換を行う形式である。
上記のような積層型プレートフィンの熱交換器の分野においては、軽量化、小型化および熱交換の効率化を目的として各種の構成が提案されている(例えば、特許文献1および特許文献2参照)。
特許第3965901号公報 実用新案登録第3192719号公報
上記のように、積層型プレートフィンの熱交換器の分野においては、軽量化、小型化および効率化を目的としてプレートフィンを厚みが薄く熱伝導率の高い材料で形成することが提案されている。また、熱交換器の熱交換能力を高めるために、プレートフィンの中に形成された流路に対して、従来の熱交換器に比べて高い圧力で流体(冷媒)を流すことが検討されている。
熱交換器の分野において、厚みが薄く熱伝導率の高い材料でプレートフィンを形成することは、軽量化、小型化、および効率化をもたらす点で有利であるが、信頼性の点で問題を有するものであった。特に、プレートフィンの中に形成された流路に対して高圧の冷媒を流す構成を提供しようとする場合には、プレートフィンにおける冷媒の流路が変形し、冷媒の流量と流速においてバラツキが生じ、熱交換器としての性能低下を招くおそれがあった。さらに、場合によっては厚みの薄いプレートフィンにおいて冷媒流路から冷媒が漏洩してしまうという課題があった。
本開示は、軽量化、小型化および熱交換の効率化を達成すると共に、高圧の冷媒が流れる構成であっても信頼性の高い熱交換器を提供することを目的とする。
本開示の一態様の熱交換器としては、
第1流体が流れる流路を有する複数のプレートフィンを積層したプレートフィン積層体と、
前記プレートフィン積層体における積層方向の両端に設けられたエンドプレートと、
前記エンドプレートに接続され、前記プレートフィン積層体における各プレートフィンの流路に流れる前記第1流体が通過する給排管と、を備え、
前記プレートフィン積層体の積層間に第2流体を流して、前記第1流体と前記第2流体との間で熱交換する熱交換器であって、
前記プレートフィンは、
前記流路を構成する凹面を対向する位置に有する2つの板状部材を含み、対向して固着された前記2つの板状部材のそれぞれの前記凹面により流路が構成され、
前記プレートフィン積層体における前記エンドプレートと対向する位置に前記一方の板状部材が配設され、
前記エンドプレートと対向して配設された前記一方の板状部材は、凹面を有する面が前記エンドプレートと接触するように設けられている。
また、本開示の一態様の熱交換器としては、
第1流体が流れる流路を有する複数のプレートフィンを積層したプレートフィン積層体と、
前記プレートフィン積層体における積層方向の両端に設けられたエンドプレートと、
前記エンドプレートに接続され、前記プレートフィン積層体における各プレートフィンの流路に流れる前記第1流体が通過する給排管と、を備え、
前記プレートフィン積層体の積層間に第2流体を流して、前記第1流体と前記第2流体との間で熱交換する熱交換器であって、
前記プレートフィンは、
前記第1流体が並行に流れるように、直線状の第1流体流路を複数有する流路領域と、
前記流路領域の各第1流体流路と前記給排管とを連通させるヘッダ流路を有するヘッダ領域と、を含み、
前記エンドプレートは、流路支持用凸部を有し、前記流路支持用凸部が前記エンドプレートと対向する前記プレートフィンにおける流路の外壁と当接するように構成されている。
本開示によれば、軽量化、小型化および効率化を達成すると共に、高圧の冷媒が流れる構成であっても信頼性の高い熱交換器を提供することができる。
本開示に係る実施形態の積層型プレートフィン熱交換器の外観を示す斜視図 本実施形態の積層型プレートフィン熱交換器におけるプレートフィンを示す平面図 本実施形態の積層型プレートフィン熱交換器におけるプレートフィンの構成を一部を拡大して示す分解図 本実施形態の積層型プレートフィン熱交換器における冷媒流路の各種断面形状を示す図 本実施形態の積層型プレートフィン熱交換器におけるプレートフィン積層体におけるプレートフィンの一部を示す平面図 図5に示したプレートフィン積層体をVI−VI線により切断した断面を示す斜視図 本実施形態において、厚みの異なる板材を加工したヘッダ領域あるいは冷媒流路の一部を示す断面図 本実施形態において、異なるプレートフィンが積層されてプレートフィン積層体が構成されたことを示す図 図8に示したプレートフィン積層体をIX−IX線により切断した断面を示す斜視図 本実施形態において、プレートフィン積層体に位置決めピンが装着された状態を示す斜視図 本実施形態において、位置決めピンが装着されたプレートフィン積層体を拡大して示した断面図 本開示に係る実施形態の変形例を示すプレートフィンの平面図 本開示に係る実施形態の変形例を示すプレートフィンの平面図 本開示に係る実施形態の変形例を示すプレートフィンの平面図 本実施形態におけるプレートフィン積層体の上端に設けられた上部エンドプレートを示す斜視図 本実施形態におけるプレートフィン積層体の下端に設けられた下部エンドプレートを示す斜視図 本実施形態におけるプレートフィン積層体のヘッダ領域と上部エンドプレートとを示す拡大斜視図 本実施形態におけるプレートフィン積層体と下部エンドプレートとの接合状態を示す拡大斜視図 本開示に係る実施形態の変形例を示すプレートフィン積層体と下部エンドプレートとの接合状態を示す拡大斜視図 図19に示した下部エンドプレートの上面を示す平面図 本開示に係る実施形態の変形例を示すプレートフィン積層体と下部エンドプレートとの接合状態を示す拡大斜視図 図21に示した下部エンドプレートの上面を示す平面図(a)と側面図(b) 本開示に係る実施形態の変形例を示すプレートフィン積層体と下部エンドプレートとの接合状態を示す拡大斜視図 図23に示した下部エンドプレートの上面を示す平面図(a)と側面図(b) 本開示に係る実施形態の変形例を示すプレートフィン積層体と下部エンドプレートとの接合状態を示す拡大斜視図 本開示に係る実施形態の変形例を示すプレートフィン積層体の斜視図
本開示に係る第1の態様の熱交換器は、
第1流体が流れる流路を有する複数のプレートフィンを積層したプレートフィン積層体と、
前記プレートフィン積層体における積層方向の両端に設けられたエンドプレートと、
前記エンドプレートに接続され、前記プレートフィン積層体における各プレートフィンの流路に流れる前記第1流体が通過する給排管と、を備え、
前記プレートフィン積層体の積層間に第2流体を流して、前記第1流体と前記第2流体との間で熱交換する熱交換器であって、
前記プレートフィンは、
前記流路を構成する凹面を対向する位置に有する2つの板状部材を含み、対向して固着された前記2つの板状部材のそれぞれの前記凹面により流路が構成され、
前記プレートフィン積層体における前記エンドプレートと対向する位置に前記板状部材の一方が配設され、
前記エンドプレートと対向して配設された前記一方の板状部材は、凹面を有する面が前記エンドプレートと接触するように設けられて、第1の態様の熱交換器が構成されている。
本開示に係る第2の態様の熱交換器は、前記の第1の態様における前記エンドプレートが、当該エンドプレートに対向する前記一方の板状部材の少なくとも一部の凹面に対応した凸部を有し、前記エンドプレートの前記凸部が前記一方の板状部材の少なくとも一部の凹面に接触するように構成されてもよい。
本開示に係る第3の態様の熱交換器は、前記の第1の態様において、前記エンドプレートが、当該エンドプレートに対向する前記一方の板状部材の凹面の形状に対応した凹面形状を有し、前記エンドプレートの前記凹面形状と、前記一方の板状部材の前記凹面とにより前記第1流体が流れる流路が構成されてもよい。
本開示に係る第4の態様の熱交換器においては、前記の第1の態様における前記プレートフィンを構成する前記2つの板状部材のそれぞれは、前記第1流体が並行に流れる直線状の第1流体流路を形成する第1流体流路用凹部を複数有する流路領域と、
前記第1流体流路と前記給排管とを連通させるヘッダ流路を形成するヘッダ流路用凹部を有するヘッダ領域と、を含み、
前記エンドプレートは、前記エンドプレートに対向する前記一方の板状部材のヘッダ領域における前記ヘッダ流路の前記ヘッダ流路用凹部に対応したエンドプレート凸部を有し、前記エンドプレート凸部が前記ヘッダ流路用凹部に接触するように構成されてもよい。
本開示に係る第5の態様の熱交換器において、前記の第1の態様における前記プレートフィンを構成する前記2つの板状部材のそれぞれは、前記第1流体が並行に流れる直線状の第1流体流路を形成する第1流体流路用凹部を複数有する流路領域と、
前記第1流体流路と前記給排管とを連通させるヘッダ流路を形成するヘッダ流路用凹部を有するヘッダ領域と、を含み、
前記エンドプレートは、当該エンドプレートに対向する前記一方の板状部材と同じ構成の流路領域とヘッダ領域とを有してもよい。
本開示に係る第6の態様の熱交換器は、前記の第4または第5の態様の前記プレートフィンにおいて、前記ヘッダ領域が両側に設けられ、両側の前記ヘッダ領域の前記ヘッダ流路が対称的な形状を有するように構成されてもよい。
本開示に係る第7の態様の熱交換器は、前記の第4または第5の態様の前記プレートフィンにおいて、前記ヘッダ領域が一端側に設けられ、前記給排管が前記ヘッダ領域に対応する位置に設けられてもよい。
本開示に係る第8の態様の熱交換器は、
第1流体が流れる流路を有する複数のプレートフィンを積層したプレートフィン積層体と、
前記プレートフィン積層体における積層方向の両端に設けられたエンドプレートと、
前記エンドプレートに接続され、前記プレートフィン積層体における各プレートフィンの流路に流れる前記第1流体が通過する給排管と、を備え、
前記プレートフィン積層体の積層間に第2流体を流して、前記第1流体と前記第2流体との間で熱交換する熱交換器であって、
前記プレートフィンは、
前記第1流体が並行に流れるように、直線状の第1流体流路を複数有する流路領域と、
前記流路領域の各第1流体流路と前記給排管とを連通させるヘッダ流路を有するヘッダ領域と、を含み、
前記エンドプレートは、流路支持用凸部を有し、前記流路支持用凸部が前記エンドプレートと対向する前記プレートフィンにおける流路の外壁と当接するように構成されてもよい。
本開示に係る第9の態様の熱交換器において、前記の第8の態様の前記エンドプレートが有する前記流路支持用凸部は、前記第1流体流路に沿って直線状の峰形状であってもよい。
本開示に係る第10の態様の熱交換器は、前記の第8の態様における前記エンドプレートが有する前記流路支持用凸部は、前記第2流体の流れ方向に沿って複数配設された突起であってもよい。
本開示に係る第11の態様の熱交換器は、前記の第8から第10の態様のいずれか一つの態様において、前記プレートフィン積層体の積層方向の両端に設けられた2つのエンドプレートを前記積層方向に直交する方向の両側で挟み付けるように構成されたサイドプレートをさらに備えてもよい。
本開示に係る第12の態様の熱交換器は、前記の第8から第11の態様のいずれか一つの態様の前記プレートフィンにおいて、前記ヘッダ領域が両側に設けられ、両側の前記ヘッダ領域の前記ヘッダ流路が対称的な形状を有するように構成されてもよい。
本開示に係る第13の態様の熱交換器は、前記の第8から第11の態様のいずれか一つの態様の前記プレートフィンにおいて、前記ヘッダ領域が一端側に設けられ、前記給排管が前記ヘッダ領域に対応する位置に設けられてもよい。
以下、本開示の熱交換器に係る実施形態として、積層型プレートフィン熱交換器について、添付の図面を参照しながら説明する。なお、本開示の熱交換器は、以下の実施形態に記載した積層型プレートフィン熱交換器の構成に限定されるものではなく、以下の実施形態において説明する技術的思想と同等の熱交換器の構成を含むものである。以下で説明する実施形態は、本発明の一例を示すものであって、実施形態において示される構成、機能、動作などは、例示であり、本開示を限定するものではない。以下の実施の形態における構成要素のうち、最上位概念を示す独立請求項に記載されていない構成要素については、任意の構成要素として説明される。
図1は、本実施形態の積層型プレートフィン熱交換器(以下、単に熱交換器と称する)1の外観を示す斜視図である。図1に示すように、本実施形態の熱交換器1は、第1流体である冷媒が給入される給入管(入口ヘッダ)4と、長方形の板状である複数のプレートフィン2aを積層して構成されたプレートフィン積層体2と、プレートフィン2aの中に形成された流路を流れた冷媒を排出する排出管(出口ヘッダ)5とを有している。なお、本実施形態においては、給入管4およぼ排出管5を合わせて給排管と称する。
また、複数のプレートフィン2aが積層されて構成されたプレートフィン積層体2の積層方向の両端(上下端)には、長方形のプレートフィン2aと平面視が略同一形状のエンドプレート3a、3bが設けられている。エンドプレート3a、3bは、剛性を有する板材で形成されており、例えばアルミニウム、アルミニウム合金、ステンレスなどの金属材を研削により金属加工して形成されている。エンドプレート3a、3bは、積層されたプレートフィン2aを上下から挟むように配設されており、積層されたプレートフィン2aの積層間が所定間隔に確実に保持されるように構成されている。
本実施形態においては、プレートフィン積層体2の積層方向が鉛直方向であり、プレートフィン積層体2の上端に配設した上部エンドプレート3aに給排管4、5が設けられた構成である。なお、上部エンドプレート3aにおいては、プレートフィン積層体2の長手方向の両側端部近傍に給入管4と排出管5がそれぞれ設けられている。従って、給入管4から給入された第1流体である冷媒が各プレートフィン2aの内部に形成された複数の流路を水平方向に流れて排出管5から排出される構成である。
上記のように構成された本実施形態の熱交換器1においては、第1流体である冷媒がプレートフィン積層体2の各プレートフィン2aの内部の複数の流路を長手方向に並行に流れる構成である。一方、第2流体である空気は、プレートフィン積層体2におけるプレートフィン2aの積層間に形成された隙間を通り抜ける構成である。このように構成された熱交換器1は、プレートフィン積層体2において第1流体と第2流体との熱交換が行われる。
本実施形態の熱交換器1におけるプレートフィン積層体2は、二種類の流路構成を有するプレートフィン2a(6、7)が積層されて構成されている。二種類のプレートフィン2aの第1プレートフィン6と第2プレートフィン7は、プレートフィン積層体2において交互に配置されている。
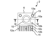
まず、本実施形態の熱交換器1に用いられている第1プレートフィン6について説明する。図2は、第1プレートフィン6を示す平面図である。図2に示すように、第1プレートフィン6は、長手方向の両側に形成されたヘッダ領域Hと、両側のヘッダ領域Hの間に形成された流路領域Pとを有している。
第1プレートフィン6の両側に形成されたヘッダ領域Hには、給入管4からの冷媒、または排出管5への冷媒が流れるヘッダ開口8が形成されている。また、ヘッダ領域Hには、ヘッダ開口8からの冷媒、またはヘッダ開口8への冷媒が流れるヘッダ流路10がそれぞれに形成されており、第1プレートフィン6の両側に形成されたそれぞれのヘッダ流路10は対称的な形状を有している。本実施の形態にいては、第1プレートフィン6の両側に配設されたヘッダ流路10は、後述するように、第1プレートフィン6の平面視の中心を対称の中心とした点対称の形状を有する。
第1プレートフィン6において、両側のヘッダ領域Hの間に形成された流路領域Pには、給入管4から排出管5に冷媒を流すための複数の冷媒流路(第1流体流路)11が形成されている。複数の冷媒流路11は、長手方向に並行に形成されており、両側にあるヘッダ領域Hのヘッダ流路10と連通している。
図2に示すように、両側のヘッダ領域Hにおけるそれぞれの略中央には円形の貫通孔であるヘッダ開口8が形成されており、ヘッダ開口8の周りには冷媒が流れるヘッダ流路10が形成されている。ヘッダ流路10は、ヘッダ開口8の外周において上下に膨出するよう形成された外周流路10aと、この外周流路10aにおける流路領域P側(第1プレートフィン6の中央側)から短手方向に延びる一本の迂回流路10bと、この迂回流路10bを流路領域Pにおける各冷媒流路11に繋ぐ多分岐流路10cと、含む。第1プレートフィン6の両側に設けられたヘッダ流路10は、対称的な形状を有している。例えば、図2に示す左側のヘッダ流路10の迂回流路10bは、その外周流路10aの流路領域P側から短手方向の一方(図2の上方向)に延びており、右側のヘッダ流路10の迂回流路10bは、その外周流路10aの流路領域P側から短手方向の他方(図2の下方向)に延びている。即ち、第1プレートフィン6の両側に設けられたヘッダ流路10は、第1プレートフィン6の平面視における中心を対称の中心とした点対称の形状を有している。
ヘッダ流路10において、第1プレートフィン6の短手方向に延びた迂回流路10bは、流路領域Pにおいて並列している複数の冷媒流路11に対して分岐して連通する多分岐流路10cに繋がっている。迂回流路10bが多分岐流路10cと繋がっている位置は、第1プレートフィン6の短手方向における最も端の冷媒流路11の流路延長上にある。従って、図2に示すように、ヘッダ流路10は、外周流路10aから延びる迂回流路10bと多分岐流路10cとによりU字状に形成されており、迂回流路10bと多分岐流路10cとにより、折り返すように形成されている。即ち、第1プレートフィン6の両側の迂回流路10bと多分岐流路10cは、第1プレートフィン6の平面視における中心を対称の中心とした点対称の形状を有している。このように構成されたヘッダ流路10において、迂回流路10bを通った冷媒が、第1プレートフィン6の短手方向における最も端の冷媒流路11から順次、並設された冷媒流路11に冷媒が送り込まれる。
図2に示すように、流路領域Pには、冷媒流路11に隣接するように、複数の突起12(第1ダボ:12a、第2ダボ:12b)が所定間隔を有して形成されている。これらの突起12(12a、12b)は、二種類の形状(特に、突出長さが異なる)を有している。第1ダボ12aは、流路領域支持部であり、流路領域Pの縁部(図2においては下側の縁部)に突設されている。第1ダボ12aは、プレートフィン積層体2において積層方向で隣接するプレートフィン2aにおける流路領域Pの縁部と当接するよう構成されている。このように、第1ダボ12aが隣接するプレートフィン2aの流路領域Pの縁部と当接することにより、隣接するプレートフィン2aの積層間の距離が所定の長さに確実に規定される。
第2ダボ12bは、流路支持部であり、流路領域Pにおいて並設された冷媒流路11の流路間に所定間隔を有して配設されている。本実施形態においては、第2ダボ12bが第1ダボ12aと共に第2流体(空気)の流れ方向と沿って並ぶように配設されている。第2ダボ12bは、プレートフィン積層体2において積層方向で隣接するプレートフィン2aにおける冷媒流路11に対向するように配置されており、隣接するプレートフィン2aにおける冷媒流路11の管壁(外壁)に当接する。このように、第2ダボ12bが隣接するプレートフィン2aの冷媒流路11の外壁に当接するため、隣接するプレートフィン2aと冷媒流路11との間の隙間が所定の長さに確実に規定される。
なお、第1ダボ12aと第2ダボ12bは、プレートフィン積層体2の積層間に流れる第2流体(空気:B)の流れ方向に対して千鳥配列に配設してもよく、少なくとも第2ダボ12bが第2流体の流れ方向に対して千鳥配列に配設されていればよい。このように構成することにより、プレートフィン積層体2の積層間に流れる第2流体が乱流となり、流路が確保され、熱伝達率を向上させている。
また、第1プレートフィン6において、各ヘッダ領域Hには位置決め用の貫通孔である位置決め孔13が2つ形成されている。位置決め孔13は、複数のプレートフィン2a(6、7)を積層するときの位置決め孔であり、位置決め孔13に位置決めピンを装着して他のプレートフィン2aとの積層位置が高精度に保持される。なお、位置決めピンとしては、位置決め孔に挿入された状態で固着されてもよく、熱交換器としての剛性を高める構成としてもよい。一方、熱交換器の軽量化などのために最終的に位置決めピンを熱交換器から引き抜く構成としてもよい。
また、位置決め孔13の外周部分には上下に膨出した位置決め外周部13aが形成されている。この位置決め外周部13aは冷媒が流れる流路とは異なる空間を形成している。位置決め外周部13aは、後述するように積層方向に隣接するプレートフィン2a(6、7)の間で当接して、積層方向に隣接するプレートフィン2aの間に所定間隔を保持するヘッダ領域支持機能を有するヘッダ領域支持部となる。
ヘッダ領域Hに形成されるヘッダ流路10(10a、10b、10c)および位置決め孔13の周りに形成される位置決め外周部13aは、第1プレートフィン6の上面および下面において、所定の高さを有して突出するように形成されている。なお、ヘッダ流路10(10a、10b、10c)および位置決め外周部13aにおける突出面(上端面および下端面)は、平坦面に形成されている。従って、ヘッダ流路10(10a、10b、10c)において流れ方向に直交する縦断面形状は、突出部分(上端部分および下端部分)が平坦な矩形形状を有している。
本実施形態においては、ヘッダ流路10および位置決め外周部13aの高さは、プレートフィン積層体2において積層方向で隣接するプレートフィン2a間の隙間(距離)の半分の長さ(1/2ピッチ)に形成されている。このため、積層方向に隣接するプレートフィン2aのヘッダ領域Hにおいては、ヘッダ流路10の管壁(外壁)と位置決め外周部13aが、対向するヘッダ流路10の管壁(外壁)と位置決め外周部13aとにそれぞれ当接する。当接するヘッダ流路10の外壁は平坦な面であるため、例えばロウ付けなどにより確実に固着され得る面となる。従って、プレートフィン積層体2におけるそれぞれのプレートフィン2aのヘッダ領域Hは、予め設定した所定間隔を確実に有して積層された状態となる。
図3は、プレートフィン積層体2における第1プレートフィン6の構成の一部を拡大して示した分解図である。第1プレートフィン6は、アルミニウム、アルミニウム合金、ステンレスなどの金属板で形成されている。なお、プレートフィン積層体2において、第1プレートフィン6と交互に積層される第2プレートフィン7も第1プレートフィン6と同じ材料により形成されている。
図3に示すように、第1プレートフィン6は、芯材に少なくとも一つのロウ材層が形成された板材をプレス加工した第1板状部材6aと、同じ構成の板材をプレス加工した第2板状部材6bとをはり合わせることにより形成されている。第1板状部材6aおよび第2板状部材6bにおいて、ヘッダ領域Hにおけるヘッダ流路10および位置決め孔13の周りに形成される位置決め外周部13a、そして流路領域Pにおける冷媒流路11、突起(第1ダボ12aおよび第2ダボ12b)12は、それぞれが形成される形状にプレス加工される。
前述のように、ヘッダ領域Hに形成された外周流路10a、迂回流路10bおよび多分岐流路10cで構成されたヘッダ流路10、および位置決め孔13の周りに形成された位置決め外周部13aは、第1プレートフィン6の上面および下面において突出して形成されており、それぞれが積層方向で隣接するプレートフィン2aとの間の距離の半分(1/2ピッチ)の同じ高さを有している。また、ヘッダ流路10における外周流路10a、迂回流路10bおよび多分岐流路10cは、流路領域Pに並設された冷媒流路11に比して幅広に形成されており、流れ方向に直交する縦断面形状が矩形形状を有している。一方、流路領域Pに形成される冷媒流路11においては、水力直径が1mm以下が望ましい。
なお、本実施形態においては、冷媒流路11の断面形状(冷媒が流れる方向に直交する断面形状)が円形形状で説明するが、本開示においては円形形状に限定されるものではない。なお、本開示において、円形形状とは、円形、楕円、および閉鎖曲線で形成された複合曲線形状も含むものとする。本開示における冷媒流路11としては、例えば、図4に示すように、冷媒が流れる方向に直交する断面形状が、円形形状の他に、矩形形状などを含み、積層方向の一方側にのみ突出した形状、または積層方向の両側に突出して形成され構成を含む。なお、冷媒流路の各種断面形状を示す図4においては、冷媒流路11が2枚の板状部材で形成されていることを示すために離れた状態で示しているが、実際は2枚の板状部材は当接して所定の断面形状を有する冷媒流路11が形成されている。
図5は、プレートフィン積層体2における第1プレートフィン6のヘッダ領域Hの近傍を示す平面図である。図6は、図5に示したプレートフィン積層体2をVI−VI線により切断した断面を示す斜視図である。図6のプレートフィン積層体2に示すように、プレートフィン積層体2は第1プレートフィン6と第2プレートフィン7が交互に積層されて構成されている。図6においては、4枚のプレートフィン(6、7)が積層された状態を示しているが、これは一部であり、プレートフィン積層体2においては多数枚のプレートフィン(6、7)が交互に積層される。
プレートフィン積層体2は、第1プレートフィン6と第2プレートフィン7のそれぞれのヘッダ領域Hにおけるヘッダ流路10の外壁(平坦面)が、積層方向で隣接するプレートフィン(6、7)のヘッダ流路10の外壁(平坦面)に積層方向で当接する。図6においては、外周流路10aの外壁の平坦面が、積層方向で隣接するプレートフィン(6、7)の外周流路10aの外壁の平坦面に当接していることが示されている。本実施形態において、ヘッダ流路10を流れる冷媒は、ヘッダ流路10において高い圧力が加えられているが、ヘッダ流路10の管壁(外壁)が隣接するプレートフィン(6、7)のヘッダ流路10の管壁(外壁)に固着されているため、ヘッダ流路10における管壁の膨出が規制されており、耐圧構成となっている。このため、本実施形態の構成においては、ヘッダ流路10に流れる冷媒の圧力を高く設定することが可能となり、効率の高い熱交換を信頼性高く行うことができる。
なお、ヘッダ領域Hにおけるヘッダ流路10の管壁のみを他の部位より厚みのある厚肉部で形成するように構成してもよい。図7は、厚みの異なる板材をプレス成形により加工したヘッダ領域Hの一部を示した断面図である。図7に示すように、ヘッダ領域Hにおけるヘッダ流路10の管壁部分を他の部分と比して厚みが厚い厚肉部で構成することにより、さらに高い圧力の冷媒に対しても確実に対応することが可能な熱交換器の構成となる。
また、流路領域Pにおける冷媒流路11の管壁のみを、図7に示すように、他の部位より厚みの厚い厚肉部で構成してもよい。このように構成することにより、冷媒流路11において更に高い圧力の冷媒に対応可能な構成となる。
図6に示したように、本実施形態のプレートフィン積層体2においては第1プレートフィン6と第2プレートフィン7は交互に積層されている。第2プレートフィン7は、第1プレートフィン6と実質的に同様の構成、形状を有しているが、流路領域Pにおける冷媒流路11と突起12(第1ダボ12a、第2ダボ12b)のそれぞれの形成位置が第1プレートフィン6と異なっている。
図8は、第1プレートフィン6と第2プレートフィン7が積層されてプレートフィン積層体2が構成されていることを示す図である。図8に示すように、第2プレートフィン7においては、流路領域Pの冷媒流路11が第1プレートフィン6の第2ダボ12bに対向する位置となっている。即ち、第2プレートフィン7の流路領域Pにおける冷媒流路11が、第1プレートフィン6の流路領域Pにおける冷媒流路11の間の位置に対向するよう配置される。第1プレートフィン6と第2プレートフィン7が積層されたプレートフィン積層体2においては、流路支持部である第2ダボ12bが対向する冷媒流路11の管壁(外壁)に確実に当接する構成である。
本実施形態のプレートフィン積層体2においては、流路領域Pにおける第1流体Aが流れる方向に直交する断面において、交互に積層された第1プレートフィン6と第2プレートフィン7における冷媒流路11が、千鳥配列となるよう構成されている。この千鳥配列の具体的な構成としては、後述する図18参照。
また、第2プレートフィン7の流路領域Pにおける縁部に形成された流路領域支持部である第1ダボ12aは、隣接する第1プレートフィン6の流路領域Pの縁部に当接して固着される構成である。従って、流路領域支持部である第1ダボ12aの突出高さは、流路支持部である第2ダボ12bの突出高さより、冷媒流路11の高さの分だけ高くなっている。
図9は、図8に示したプレートフィン積層体2をIX−IX線により切断した断面を示す斜視図である。図9に示すプレートフィン積層体2においては、上から順に第1プレートフィン6、第2プレートフィン7、第1プレートフィン6、および第2プレートフィン7の4枚のみを積層した状態を示している。図9に示すように、第1プレートフィン6における流路領域Pの第1ダボ12aは、対向する第2プレートフィン7における流路領域Pの縁部に当接している。また、第2プレートフィン7における流路領域Pの第1ダボ12aは、対向する第1プレートフィン6における流路領域Pの縁部に当接している。
一方、第1プレートフィン6における流路領域Pの第2ダボ12bは、対向する第2プレートフィン7における流路領域Pの冷媒流路11の管壁(外壁)に当接している。また、第2プレートフィン7における流路領域Pの第2ダボ12bは、対向する第1プレートフィン6における流路領域Pの冷媒流路11の管壁(外壁)に当接している。
なお、本開示においては、プレートフィン積層体2における積層されたプレートフィン2a(6、7)はロウ付けにより固着される構成で説明するが、本開示はこの構成に限定されるものではなく、他の耐熱性のある固定方法、例えば機械的な接続方法、化学的な接合部材を用いた固着方法を用いてもよい。
上記のように、本実施形態のプレートフィン積層体2においては、流路領域Pの第1ダボ12aが対向するフィンプレート(6、7)の流路領域Pの縁部を確実に支持し、積層間に所定の隙間が確保される。本実施形態においては、流路領域Pの第1ダボ12aがプレートフィン積層体2における流路領域支持部となる。
また、流路領域Pの第2ダボ12bが対向するフィンプレート(6、7)の冷媒流路11の管壁(外壁)に当接する構成であり、この点においてもプレートフィン積層体2におけるフィンプレート(6、7)と冷媒流路11との積層間に所定の間隔が保持される構成となる。本実施形態においては、流路領域Pの第2ダボ12bがプレートフィン積層体2における流路支持部となる。
なお、上記の実施形態においては、流路領域Pの第1ダボ12aが対向するフィンプレート(6、7)の流路領域Pの縁部に当接する構成で述べたが別の構成でも対応可能である。例えば、流路領域Pの縁部に形成される流路領域支持部である第1ダボ12aを、流路領域凸部とし、対向するフィンプレート(6、7)の流路領域Pの縁部に流路領域凹部を形成して、流路領域凸部と流路領域凹部が嵌合するように構成してもよい。
[位置決めピンによる積層]
本実施形態のプレートフィン積層体2においては、複数のプレートフィン2a(6、7)が所定位置に容易に、且つ確実に積層できるように、位置決めピン9が装着されるように構成されている。図10は、プレートフィン積層体2に位置決めピン9が装着された状態を示す斜視図である。図11は、位置決めピン9が装着されたプレートフィン積層体2を拡大して示した断面図である。図11の断面図は図10における符号XIで示した面で切断した図である。
本実施形態においては、位置決めピン9がそれぞれのプレートフィン2a(6、7)のヘッダ領域Hに形成された貫通孔である位置決め孔13に挿入されてロウ付けされる構成である。このため、プレートフィン積層体2は機械的構造が強化されると共に、冷媒に対する耐圧強度が格段に強化された構成となる。なお、本実施形態においては、位置決めピン9としてアルミニウム金属棒が用いられている。
本実施形態においては、図2に示したように、流路領域Pに形成された流路領域支持部である第1ダボ12aおよび流路支持部である第2ダボ12bが、第2流体Bである空気の流れ方向と平行に並んで配置されている。このように、積層間において複数の突起が並んで配設されているため、プレートフィン積層体2における積層間に流れる第2流体(空気)Bに対する流路抵抗を少なくすることができる。このように構成することにより、本実施形態のプレートフィン積層体2においては、第2流体が積層間に流れるときに生じる音を低減することが可能となる。
[プレートフィンの変形例]
なお、本開示に係る熱交換器のプレートフィン積層体2におけるプレートフィン2aの変形例としては、突起12(12a、12b)の配置を変更した構成がある。例えば、プレートフィン積層体2における積層間に設けられる複数の突起12(12a、12b)を千鳥配列に配置することにより、積層間を通る第2流体Bにおいて乱流を発生させて、熱交換効率を高める構成としてもよい。図12は、プレートフィン積層体2における積層間に複数の突起12(12a、12b)を千鳥配列に配設した構成を示したプレートフィン2bの平面図である。この構成においても、流路領域支持部である第1ダボ12aは、対向する流路領域Pの縁部に当接し、流路支持部である第2ダボ12bは、対向する流路領域Pの冷媒流路11の管壁(外壁)に当接するよう構成されている。
また、積層間における複数の突起12を風上側より風下側を多く形成することにより、積層間を通る第2流体Bにおいて乱流を発生させて、熱交換効率を高める構成としてもよい。なお、少なくとも、突起12における第1ダボ12aの数が、第2流体B(空気)の流れ方向において、風下側が風上側より多くの突起12を有する構成であればよい。このように風下側の突起12を風上側より多く設けることにより、流速が遅くなる風下側における熱伝達率を高めることが可能となる。図13は、第2流体Bである空気の流れ方向において、風下側の突起12が風上側の突起12より多く設けた構成を示したプレートフィン2cの平面図である。この構成においても、流路領域支持部である第1ダボ12aは、対向する流路領域Pの縁部に当接し、流路支持部である第2ダボ12bは、対向する流路領域Pの冷媒流路の管壁(外壁)に当接する。
上記のように、本実施形態におけるプレートフィン積層体2の積層間に設ける複数の突起12の配置構成に関しては、各種の構成を提示することができるが、熱交換器の仕様、構成、および使用者の要望に応じて最適な構成が選択される。
また、熱交換器1におけるプレートフィン積層体2の更なる変形例について説明する。前述の実施形態におけるプレートフィン積層体2においては、長手方向の両側端部近傍に給入管4と排出管5がそれぞれ接続される構成であり、それぞれのプレートフィン2aの両側にヘッダ領域Hが形成されて2つのヘッダ開口8が設けられた構成である(図2参照)。
図14は、プレートフィン積層体の変形例を示す図であり、プレートフィン積層体を構成するプレートフィン2dを示す平面図である。図14に示すように、プレートフィン2dにおける一方の端部側(図14においては左側)のみにヘッダ領域Hが形成されており、その他の領域が流路領域Pとなっている。即ち、この変形例のプレートフィン積層体においては、長手方向の一方の端部近傍の領域に給入管と排出管が接続される構成である。図14に示すプレートフィン2dにおいて、左側に示すヘッダ領域Hに給入側のヘッダ開口8aと、排出側のヘッダ開口8bの両方が形成される。
図14のプレートフィン2dにおいては、給入側のヘッダ開口8aの開口形状が排出側のヘッダ開口8bの開口形状より大きな直径を有している。これは、当該熱交換器が凝縮器として使用される場合であるが、その場合、熱交換された後の冷媒の体積が小さくなるためである。また、給入側のヘッダ開口8aからの冷媒は、流路領域Pにおいて並設された複数の冷媒流路11aを流れ、プレートフィン2dにおける端部近傍(図14における右側端部近傍)において折り返す構成である。流路領域Pにおいては、給入側のヘッダ開口8aからの冷媒が流れ込む冷媒流路11aと、端部近傍において折り返した後に冷媒が流れる、排出側のヘッダ開口8bへ流れる冷媒流路11bとが形成されている。なお、当該熱交換器が蒸発器として使用される場合は出入り口は上記の逆となる。
また、図14に示すように、排出側のヘッダ開口8bへ流れる並設された冷媒流路11bの本数は、給入側のヘッダ開口8aからの冷媒が流れ込む並設された冷媒流路11aの本数より少なく設定されている。これは、ヘッダ開口8a、8bの直径が異なることと同じ理由であり、熱交換された後の冷媒の体積が小さくなるためである。
また、図14に示す構成のプレートフィン2dにおいては、給入側のヘッダ開口8aからの冷媒が流れ込む冷媒流路11aが形成された領域と、排出側のヘッダ開口8bへ流れる冷媒流路11bが形成された領域との間には、プレートフィン内における冷媒同士の熱伝導を低減する目的(断熱)で複数の開口16が形成されている。
[エンドプレート]
次に、本実施の形態の熱交換器1におけるプレートフィン積層体2の積層方向の両端(上下端)に設けられたエンドプレート(3a、3b)について説明する。図15はプレートフィン積層体2の積層方向の上端に設けられた上部エンドプレート3aを示す斜視図であり、図16はプレートフィン積層体2の積層方向の下端に設けられた下部エンドプレート3bを示す斜視図である。図17は、プレートフィン積層体2におけるヘッダ領域Hと上部エンドプレート3aとの接合状態を示す拡大斜視図である。
本実施の形態においては、前述したように、プレートフィン積層体2を構成する第1プレートフィン6および第2プレートフィン7は、それぞれが2枚の板状部材(6aと6b、7aと7b)をはり合わせて形成されている。即ち、第1プレートフィン6は、プレス加工された第1板状部材6aと第2板状部材6bとをはり合わせて形成されており、第2プレートフィン7は、プレス加工された第1板状部材7aと第2板状部材7bとをはり合わせて形成されている。
本実施形態におけるプレートフィン積層体2は、第1プレートフィン6および第2プレートフィン7が交互に積層されており、プレートフィン積層体2の最上端部には第1プレートフィン6の片側である第2板状部材6bのみが配設されている(図17参照)。従って、プレートフィン積層体2の最上端面は、流路形成のための細い溝である凹みを有するが、この最上端面の多くが平坦面で構成されている。このため、プレートフィン積層体2の最上端面における平坦面が上部エンドプレート3aの下面との接触面である接合面(ロウ付け面)となり、接合面積が大きくなる。
図17に示すように、プレートフィン積層体2の最上端面上に配設される上部エンドプレート3aにおけるプレートフィン積層体2に対向する面にはエンドプレート凸部30が形成されている。このエンドプレート凸部30は、対向する第2板状部材6bにおける流路形成のための凹みに対応する形状を有している。このため、上部エンドプレート3aがプレートフィン積層体2の最上面上に配設されたとき、上部エンドプレート3aのエンドプレート凸部30が第2板状部材6bにおける流路形成のための凹みに嵌まり込む。
なお、上部エンドプレート3aに形成されるエンドプレート凸部30としてはヘッダ領域Hにおける幅広の流路形成のための凹部のみに形成されていてもよい。これは、流路領域Pにおける流路形成のための凹部(溝)は幅が狭く十分な当接面が確保されるためである。本実施形態においては、具体例として、プレートフィン積層体2の最上面として第1プレートフィン6の第2板状部材6bが配設された例で説明するが、これは一例であり、プレートフィン積層体2の最上面は、積層順に応じて第1プレートフィン6または第2プレートフィン7におけるいずれかの片側で構成されていればよい。
図18は、プレートフィン積層体2の最下端面と下部エンドプレート3bとの接合状態を示す拡大斜視図である。図18に示すように、本実施形態においては、プレートフィン積層体2の最下端部には第2プレートフィン7の片側である第1板状部材7aのみが配設されている。従って、プレートフィン積層体2の最下端面は、流路形成のための凹みを有するが、この最下端面における大部分が平坦面で構成されている。従って、プレートフィン積層体2の最下端面と下部エンドプレート3bとの間には十分な接合面積が確保される。
[プレートフィン積層体およびエンドプレートの変形例]
図19から図25は、プレートフィン積層体とエンドプレートの各種変形例を示す図である。
図19は、プレートフィン積層体2の最下端面と下部エンドプレート31bとの接合状態を示す拡大斜視図である。図19に示すように、プレートフィン積層体2の最下端には第2プレートフィン7の片側である第1板状部材7aが配設されている。プレートフィン積層体2の最下端面は、第1板状部材7aにおいて第1流体流路である冷媒流路11の上半分を構成する第1流体流路用凹部11aの下向きの凹面を有する面により構成されている。第1流体流路用凹部11aの凹面(溝)を有する面が下向きとなり下部エンドプレート31bの上面と接触している。
図20は、下部エンドプレート31bの上面を示す平面図である。図19および図20に示すように、下部エンドプレート31bの上面には、当該下部エンドプレート31bに対向する第1板状部材7aと同じ構成の流路領域Pおよびヘッダ領域Hとを有する。即ち、下部エンドプレート31bの長手方向の両側にヘッダ領域Hが形成され、ヘッダ領域Hに挟まれた中央部分に流路領域Pが形成されている。
図20に示すように、下部エンドプレート31bの上面におけるヘッダ領域Hにはヘッダ流路用凹部32が形成され、流路領域Pには直線状の複数の冷媒流路用凹部(溝)33が並行に形成されている。なお、下部エンドプレート31bにおけるヘッダ領域Hのヘッダ流路用凹部32は、プレートフィン(6、7)におけるヘッダ開口8の円形と実質的に同じ円形を有する有底凹部で構成されている。このヘッダ流路用凹部32は給排管と連通したヘッダ開口8の冷媒を堰き止めている。
上記のように、下部エンドプレート31bに形成された流路領域Pの冷媒流路用凹部(溝)33は、対向する第2プレートフィン7の片側である第1板状部材7aに形成された冷媒流路用凹部11aと同じ位置に同じ形状を有している。そのため、下部エンドプレート31bは、当該下部エンドプレート31bと対向する第1板状部材7aにより、ヘッダ領域Hには冷媒溜まりとなるヘッダ流路が形成され、流路領域Pにはプレートフィン積層体2における冷媒流路11と同じ冷媒流路が形成される。その結果、このように構成された熱交換器においては、下部エンドプレート31bと最下端の第1板状部材7aとにより冷媒流路が形成され、熱交換効率を更に高めることが可能な構成となる。
なお、図19および図20に示したプレートフィン積層体2の最下端面と下部エンドプレート31bの構成に関しては、プレートフィン積層体2の最上端面と上部エンドプレートの下面においても同様に構成して、プレートフィン積層体2の最上端面と上部エンドプレートの下面との間に冷媒流路を形成することが可能となる。
図21および図22は、さらに別の構成のプレートフィン積層体21と下部エンドプレート34bを示す図である。図21は、プレートフィン積層体21の最下端と下部エンドプレート34bとの接合状態を示す拡大斜視図である。図22は、下部エンドプレート34bの上面を示す平面図(a)と側面図(b)である。図21に示す構成においては、プレートフィン積層体21の最下端には第2プレートフィン7が配設されている。即ち、この変形例においては、プレートフィン積層体21は、2つの板状部材(6aと6b、7aと7b)が張り合わされて構成された第1プレートフィン6と第2プレートフィン7が交互に積層されて構成されている。従って、本変形例においては、プレートフィン積層体21の最下端には、積層順に応じて第1プレートフィン6または第2プレートフィン7のいずれかが配設される構成となる。
図22に示すように、下部エンドプレート34bの上面には、複数の突起(35、36)が形成されており、プレートフィン積層体21の最下端にある、例えば第2プレートフィン7を支持するように構成されている。下部エンドプレート34bの上面に形成された複数の突起(35、36)においては、第2プレートフィン7の冷媒流路11を支持する流路支持用凸部35と、第2プレートフィン7の流路領域Pを支持する流路領域支持用凸部36とに分かれる。図21に示すように、流路支持用凸部35と流路領域支持用凸部36は、二種類の形状(特に、突出長さが異なる)を有している。
下部エンドプレート34bの流路領域支持用凸部36は、第2プレートフィン7における流路領域Pの縁部と当接するよう構成されている。このように、流路領域支持用凸部36が第2プレートフィン7の流路領域Pの縁部と当接することにより、下部エンドプレート34bと第2プレートフィン7との間の距離が所定の長さに確実に規定される。
流路支持用凸部35は、流路支持部であり、対向する第2プレートフィン7の流路領域Pにおいて並設された冷媒流路11の位置に配設されている。本変形例においては、流路支持用凸部35が流路領域支持用凸部36と共に第2流体(空気)の流れ方向に沿って並ぶように配設されている。流路支持用凸部35は、冷媒流路11に対向するように配置されており、第2プレートフィン7の冷媒流路11の管壁(外壁)に当接する。このように、流路支持用凸部35が第2プレートフィン7の冷媒流路11の管壁(外壁)に当接するため、下部エンドプレート34bの上面と最下端にある第2プレートフィン7との間の隙間が所定の長さに確実に規定される。
なお、下部エンドプレート34bの上面に形成された複数の突起(35、36)は、プレートフィン積層体21に流れる第2流体(空気:B)の流れ方向に対して千鳥配列に配設してもよい。また、複数の突起(35、36)は、風上側より風下側を多く形成してもよい。
なお、図21および図22に示したプレートフィン積層体21の最下端面と下部エンドプレート34bの構成に関しては、プレートフィン積層体21の最上端面と上部エンドプレートの下面においても同様に構成することが可能となる。
図23および図24は、さらに別の構成の下部エンドプレート37bを示す図である。図23は、プレートフィン積層体21の最下端と下部エンドプレート37bとの接合状態を示す拡大斜視図である。図24は、下部エンドプレート37bの上面を示す平面図(a)と側面図(b)である。図23に示す構成において、プレートフィン積層体21は、前述の図21に示したプレートフィン積層体21の構成と同じである。即ち、この変形例においては、プレートフィン積層体21は、第1プレートフィン6と第2プレートフィン7が交互に積層されて構成されており、プレートフィン積層体21の最下端には、第1プレートフィン6または第2プレートフィン7のいずれかが積層順に応じて配設される構成である。
図24に示すように、下部エンドプレート37bの上面には、長手方向に延設された複数の突部(38、39)が形成されており、プレートフィン積層体21の最下端にある、例えば第2プレートフィン7を支持するように構成されている。下部エンドプレート37bの上面に峰形状に突出して形成された複数の突部(38、39)においては、第2プレートフィン7の冷媒流路11を支持する流路支持用凸部38と、第2プレートフィン7の流路領域Pを支持する流路領域支持用凸部39とに分かれる。図23に示すように、流路支持用凸部38と流路領域支持用凸部39は、二種類の形状(特に、突出長さが異なる)を有している。
下部エンドプレート37bの流路領域支持用凸部39は、第2プレートフィン7における流路領域Pの縁部と当接する。このように、流路領域支持用凸部39が第2プレートフィン7の流路領域Pの縁部と当接することにより、下部エンドプレート37bと第2プレートフィン7との間の距離が所定の長さに確実に規定される。
流路支持用凸部38は、流路支持部であり、対向する第2プレートフィン7の流路領域Pにおいて並設された冷媒流路11の位置に配設されている。流路支持用凸部38は、冷媒流路11に対向するように配置されており、第2プレートフィン7の冷媒流路11の管壁(外壁)に確実に当接する。このように、流路支持用凸部38が第2プレートフィン7の冷媒流路11の管壁(外壁)に当接するため、下部エンドプレート37bの上面と最下端にある第2プレートフィン7との間の隙間が所定の長さに確実に規定される。
なお、図23および図24に示したプレートフィン積層体21の最下端面と下部エンドプレート37bの構成に関しては、プレートフィン積層体21の最上端面と上部エンドプレートの下面においても同様に構成することが可能となる。
図25は、さらに別の構成の下部エンドプレート40bを示す図である。図25は、プレートフィン積層体21の最下端と下部エンドプレート40bとの接合状態を示す拡大斜視図である。図25に示す構成において、プレートフィン積層体21は、前述の図21に示したプレートフィン積層体21の構成と同じである。図25に示す構成においては、下部エンドプレート40bの上面には、前述の図21に示した流路支持用凸部である突起35と、流路領域支持用凸部である突起36が形成されている。また、下部エンドプレート40bの上面には、プレートフィン積層体21の最下端に配設された、例えば第2プレートフィン7における流路支持部である第2ダボ12bに当接して接合されるダボ支持凸部41が形成されている。ダボ支持凸部41は、長手方向に延設された峰形状の突部であり、対向する第2プレートフィン7における冷媒流路11の間に延設されている。また、ダボ支持凸部41は、第2プレートフィン7において冷媒流路11の間に設けられた第2ダボ12bと確実に当接する高さを有している。なお、プレートフィン積層体21の最下端に配設されるプレートフィン(6、7)の縁部に形成された第1ダボ12aは、下部エンドプレート40bの上面に当接する高さを有している。
なお、図25に示したプレートフィン積層体21の最下端面と下部エンドプレート40bの構成に関しては、プレートフィン積層体21の最上端面と上部エンドプレートの下面においても同様に構成することが可能となる。
また、前述の図14に変形例を示したように、プレートフィン積層体におけるプレートフィンの一方の端部側(図14においては左側)のみにヘッダ領域Hが形成された構成例においても、図19から図25に示した変形例の構成を適用することが可能であることは言うまでもない。
[サイドプレート]
図26は、本開示の熱交換器において、プレートフィン積層体2の上下端に設けたエンドプレート3a、3bを両側面側から挟むように1組のサイドプレート17、18を設けた変形例を示す斜視図である。図26に示す変形例は、プレートフィン積層体2において給入管4が接続された一方のヘッダ領域H側の側面側が、第1サイドプレート17により上下から挟み付けられるように構成されている。また、プレートフィン積層体2において排出管5が接続された他方のヘッダ領域H側の側面側が、第2サイドプレート18により上下から挟み付けられるように構成されている。第1サイドプレート17には、給入管4が貫通する上部開口17aと、プレートフィン積層体2のヘッダ領域に対して第2流体Bである空気が流れ込むように側面開口17bが形成されている。同様に、第2サイドプレート18には、排出管5が貫通する上部開口18aと、プレートフィン積層体2のヘッダ領域Hに対して第2流体Bである空気が流れ込むように側面開口18bが形成されている。
上記ように、図26に示した変形例においてはプレートフィン積層体2の両側からヘッダ領域H部分の上下を挟むように1組のサイドプレート17、18が設けられているため、エンドプレート3a、3bとしての厚みを薄くして簡単な構成としても、プレートフィン積層体2を構成するプレートフィン2aにおけるヘッダ領域Hのヘッダ流路10の管壁を上下から所定圧力で確実に押さえることができる構成となる。このように構成されたプレートフィン積層体2は、所望の高い圧力の冷媒をプレートフィン積層体2に流すことができ、効率の高い熱交換が可能な構成となる。
なお、図26においては、図1に示したプレートフィン積層体2に対する構成例として説明したが、図19から図25を用いて説明した変形例の構成においても、1組のサイドプレート17、18を設けて、プレートフィン積層体を上下か挟み付ける構成とすることが可能である。このような変形例の構成においても、プレートフィン積層体を上下から所定圧力で確実に押さえることができ、所望の高い圧力の冷媒をプレートフィン積層体に流すことができ、効率の高い熱交換が可能な構成となる。
上記のように、本開示に係る熱交換器の構成においては、軽量化、小型化および高い熱交換の効率化を達成することができると共に、プレートフィン積層体におけるプレートフィンに高圧の冷媒が流れる構成であっても信頼性が高く、熱交換効率の高い熱交換器となる。
本開示は、軽量化および小型化された装置であって、信頼性および効率の高い熱交換を実施できるため、市場価値の高い熱交換器となる。
1 熱交換器
2 プレートフィン積層体
2a プレートフィン
3 エンドプレート
4 給入管(入口ヘッダ)
5 排出管(出口ヘッダ)
6 第1プレートフィン
7 第2プレートフィン
8 ヘッダ開口
9 位置決めピン
10 ヘッダ流路
10a 外周流路
10b 迂回流路
10c 多分岐流路
11 冷媒流路(第1流体流路)
12 突起
12a 第1ダボ(流路領域支持部)
12b 第2ダボ(流路支持部)
13 位置決め孔
13a 位置決め外周部(ヘッダ領域支持部)
17 第1サイドプレート
18 第2サイドプレート

Claims (11)

  1. 第1流体が流れる流路を有する複数のプレートフィンを積層したプレートフィン積層体と、
    前記プレートフィン積層体における積層方向の両端に設けられたエンドプレートと、
    前記エンドプレートに接続され、前記プレートフィン積層体における各プレートフィンの流路に流れる前記第1流体が通過する給排管と、を備え、
    前記プレートフィン積層体の積層間に第2流体を流して、前記第1流体と前記第2流体との間で熱交換する熱交換器であって、
    前記プレートフィンは、
    前記流路を構成する凹面を対向する位置に有する2つの板状部材を含み、対向して固着された前記2つの板状部材のそれぞれの前記凹面により流路が構成され、
    前記プレートフィン積層体における前記エンドプレートと対向する位置に前記2つの板状部材の一方が配設され、
    前記エンドプレートと対向して配設された前記一方の板状部材は、凹面を有する面が前記エンドプレートと接触するように設けられ、
    前記エンドプレートは、当該エンドプレートに対向する前記一方の板状部材の少なくとも一部の凹面に対応した凸部を有し、前記エンドプレートの前記凸部が前記一方の板状部材の少なくとも一部の凹面に接触するように構成された熱交換器。
  2. 第1流体が流れる流路を有する複数のプレートフィンを積層したプレートフィン積層体と、
    前記プレートフィン積層体における積層方向の両端に設けられたエンドプレートと、
    前記エンドプレートに接続され、前記プレートフィン積層体における各プレートフィンの流路に流れる前記第1流体が通過する給排管と、を備え、
    前記プレートフィン積層体の積層間に第2流体を流して、前記第1流体と前記第2流体との間で熱交換する熱交換器であって、
    前記プレートフィンは、
    前記流路を構成する凹面を対向する位置に有する2つの板状部材を含み、対向して固着された前記2つの板状部材のそれぞれの前記凹面により流路が構成され、
    前記プレートフィン積層体における前記エンドプレートと対向する位置に前記板状部材の一方が配設され、
    前記エンドプレートと対向して配設された前記一方の板状部材は、凹面を有する面が前記エンドプレートと接触し、
    前記エンドプレートは、当該エンドプレートに対向する前記一方の板状部材の凹面の形状に対応した凹面形状を有し、前記エンドプレートの前記凹面形状と、前記一方の板状部材の前記凹面とにより前記第1流体が流れる流路が構成された熱交換器。
  3. 第1流体が流れる流路を有する複数のプレートフィンを積層したプレートフィン積層体と、
    前記プレートフィン積層体における積層方向の両端に設けられたエンドプレートと、
    前記エンドプレートに接続され、前記プレートフィン積層体における各プレートフィンの流路に流れる前記第1流体が通過する給排管と、を備え、
    前記プレートフィン積層体の積層間に第2流体を流して、前記第1流体と前記第2流体との間で熱交換する熱交換器であって、
    前記プレートフィンは、
    前記流路を構成する凹面を対向する位置に有する2つの板状部材を含み、対向して固着された前記2つの板状部材のそれぞれの前記凹面により流路が構成され、
    前記プレートフィン積層体における前記エンドプレートと対向する位置に前記板状部材の一方が配設され、
    前記エンドプレートと対向して配設された前記一方の板状部材は、凹面を有する面が前記エンドプレートと接触し、
    前記プレートフィンを構成する前記2つの板状部材のそれぞれは、前記第1流体が並行に流れる直線状の第1流体流路を形成する第1流体流路用凹部を複数有する流路領域と、
    前記第1流体流路と前記給排管とを連通させるヘッダ流路を形成するヘッダ流路用凹部を有するヘッダ領域と、を含み、
    前記エンドプレートは、前記エンドプレートに対向する前記一方の板状部材のヘッダ領域における前記ヘッダ流路の前記ヘッダ流路用凹部に対応したエンドプレート凸部を有し、前記エンドプレート凸部が前記ヘッダ流路用凹部に接触するように構成された熱交換器。
  4. 第1流体が流れる流路を有する複数のプレートフィンを積層したプレートフィン積層体と、
    前記プレートフィン積層体における積層方向の両端に設けられたエンドプレートと、
    前記エンドプレートに接続され、前記プレートフィン積層体における各プレートフィンの流路に流れる前記第1流体が通過する給排管と、を備え、
    前記プレートフィン積層体の積層間に第2流体を流して、前記第1流体と前記第2流体との間で熱交換する熱交換器であって、
    前記プレートフィンは、
    前記流路を構成する凹面を対向する位置に有する2つの板状部材を含み、対向して固着された前記2つの板状部材のそれぞれの前記凹面により流路が構成され、
    前記プレートフィン積層体における前記エンドプレートと対向する位置に前記板状部材の一方が配設され、
    前記エンドプレートと対向して配設された前記一方の板状部材は、凹面を有する面が前記エンドプレートと接触し、
    前記プレートフィンを構成する前記2つの板状部材のそれぞれは、前記第1流体が並行に流れる直線状の第1流体流路を形成する第1流体流路用凹部を複数有する流路領域と、
    前記第1流体流路と前記給排管とを連通させるヘッダ流路を形成するヘッダ流路用凹部を有するヘッダ領域と、を含み、
    前記エンドプレートは、当該エンドプレートに対向する前記一方の板状部材と同じ構成の流路領域とヘッダ領域とを有する熱交換器。
  5. 前記プレートフィンにおいて、前記ヘッダ領域が両側に設けられ、両側の前記ヘッダ領域の前記ヘッダ流路が対称的な形状を有するように構成された請求項3または4に記載の熱交換器。
  6. 前記プレートフィンにおいて、前記ヘッダ領域が一端側に設けられ、前記給排管が前記ヘッダ領域に対応する位置に設けられた請求項3または4に記載の熱交換器。
  7. 第1流体が流れる流路を有する複数のプレートフィンを積層したプレートフィン積層体と、
    前記プレートフィン積層体における積層方向の両端に設けられたエンドプレートと、
    前記エンドプレートに接続され、前記プレートフィン積層体における各プレートフィンの流路に流れる前記第1流体が通過する給排管と、を備え、
    前記プレートフィン積層体の積層間に第2流体を流して、前記第1流体と前記第2流体との間で熱交換する熱交換器であって、
    前記プレートフィンは、
    前記第1流体が並行に流れるように、直線状の第1流体流路を複数有する流路領域と、
    前記流路領域の各第1流体流路と前記給排管とを連通させるヘッダ流路を有するヘッダ領域と、を含み、
    前記エンドプレートは、流路支持用凸部を有し、前記流路支持用凸部が前記エンドプレートと対向する前記プレートフィンにおける流路の外壁と当接するように構成され、
    前記エンドプレートが有する前記流路支持用凸部は、前記第1流体流路に沿って直線状の峰形状である熱交換器。
  8. 前記エンドプレートが有する前記流路支持用凸部は、前記第2流体の流れ方向に沿って複数配設された突起である請求項7に記載の熱交換器。
  9. 前記プレートフィン積層体の積層方向の両端に設けられた2つのエンドプレートを前記積層方向に直交する方向の両側で挟み付けるように構成されたサイドプレートをさらに備える請求項7または8に記載の熱交換器。
  10. 前記プレートフィンにおいて、前記ヘッダ領域が両側に設けられ、両側の前記ヘッダ領域の前記ヘッダ流路が対称的な形状を有するように構成された請求項7から9のいずれか一項に記載の熱交換器。
  11. 前記プレートフィンにおいて、前記ヘッダ領域が一端側に設けられ、前記給排管が前記ヘッダ領域に対応する位置に設けられた請求項7から9のいずれか一項に記載の熱交換器。
JP2016063299A 2016-03-28 2016-03-28 熱交換器 Active JP6528283B2 (ja)

Priority Applications (4)

Application Number Priority Date Filing Date Title
JP2016063299A JP6528283B2 (ja) 2016-03-28 2016-03-28 熱交換器
PCT/JP2017/007274 WO2017169411A1 (ja) 2016-03-28 2017-02-27 熱交換器
CN201780019208.XA CN108885072B (zh) 2016-03-28 2017-02-27 热交换器
DE112017001593.6T DE112017001593T5 (de) 2016-03-28 2017-02-27 Wärmetauscher

Applications Claiming Priority (1)

Application Number Priority Date Filing Date Title
JP2016063299A JP6528283B2 (ja) 2016-03-28 2016-03-28 熱交換器

Publications (2)

Publication Number Publication Date
JP2017180857A JP2017180857A (ja) 2017-10-05
JP6528283B2 true JP6528283B2 (ja) 2019-06-12

Family

ID=59963130

Family Applications (1)

Application Number Title Priority Date Filing Date
JP2016063299A Active JP6528283B2 (ja) 2016-03-28 2016-03-28 熱交換器

Country Status (4)

Country Link
JP (1) JP6528283B2 (ja)
CN (1) CN108885072B (ja)
DE (1) DE112017001593T5 (ja)
WO (1) WO2017169411A1 (ja)

Families Citing this family (8)

* Cited by examiner, † Cited by third party
Publication number Priority date Publication date Assignee Title
JP2019100565A (ja) * 2017-11-29 2019-06-24 パナソニックIpマネジメント株式会社 熱交換器及びそれを用いた冷凍システム
JP2019100564A (ja) * 2017-11-29 2019-06-24 パナソニックIpマネジメント株式会社 熱交換器およびそれを用いた冷凍システム
JP2020118369A (ja) * 2019-01-24 2020-08-06 パナソニックIpマネジメント株式会社 プレートフィン積層型熱交換器およびそれを用いた冷凍システム
CN112066599A (zh) * 2019-06-11 2020-12-11 广东美的制冷设备有限公司 换热器和空调器
CN113819787A (zh) * 2020-06-19 2021-12-21 浙江盾安热工科技有限公司 换热扁管及具有其的换热器
CN114076545B (zh) * 2020-08-21 2024-04-02 广东美的制冷设备有限公司 换热器及具有其的空调器
JP7594395B2 (ja) * 2020-09-18 2024-12-04 サンデン株式会社 熱交換器
JP2025021160A (ja) * 2023-07-31 2025-02-13 パナソニックIpマネジメント株式会社 熱交換器およびそれを備える空気調和機

Family Cites Families (12)

* Cited by examiner, † Cited by third party
Publication number Priority date Publication date Assignee Title
JP2737987B2 (ja) * 1989-03-09 1998-04-08 アイシン精機株式会社 積層型蒸発器
JP3301100B2 (ja) * 1991-01-31 2002-07-15 株式会社デンソー 蒸発器および冷凍サイクル装置
JPH1089881A (ja) * 1996-09-17 1998-04-10 Zexel Corp 積層型熱交換器
JP2001208487A (ja) * 2000-01-28 2001-08-03 Mitsubishi Heavy Ind Ltd 燃焼触媒一体蒸発装置
JP4328445B2 (ja) * 2000-03-01 2009-09-09 昭和電工株式会社 積層型熱交換器
JP3965901B2 (ja) * 2000-10-27 2007-08-29 株式会社デンソー 蒸発器
CN101874191B (zh) * 2007-10-23 2013-03-06 东京滤器株式会社 板层积式热交换器
JP5486841B2 (ja) * 2009-05-21 2014-05-07 三菱電機株式会社 ドロンカップ型熱交換器
EP2975352B1 (en) * 2013-04-16 2019-02-27 Panasonic Intellectual Property Management Co., Ltd. Heat exchanger
CN104567509B (zh) * 2015-01-23 2016-06-22 杭州沈氏节能科技股份有限公司 一种翅片型换热单元及制作方法及含有该单元的换热器
CN106500531A (zh) * 2015-09-07 2017-03-15 扬州派斯特换热设备有限公司 全焊接板式换热器
JP6504367B2 (ja) * 2016-03-28 2019-04-24 パナソニックIpマネジメント株式会社 熱交換器

Also Published As

Publication number Publication date
CN108885072A (zh) 2018-11-23
DE112017001593T5 (de) 2018-12-27
JP2017180857A (ja) 2017-10-05
CN108885072B (zh) 2020-06-02
WO2017169411A1 (ja) 2017-10-05

Similar Documents

Publication Publication Date Title
JP6504367B2 (ja) 熱交換器
JP6528283B2 (ja) 熱交換器
CN113424009B (zh) 热交换器
JP6116702B2 (ja) 積層型ヘッダー、熱交換器、熱交換器の製造方法、及び、空気調和装置
JP5892453B2 (ja) 熱交換器
CN107532867B (zh) 层叠型集管、热交换器、及空气调节装置
KR102634169B1 (ko) 적층 플레이트형 열교환기
TW200538695A (en) Heat exchanger and method of producing the same
JP4482997B2 (ja) 積層式熱交換器およびその製造方法
JP2005326068A (ja) 熱交換器用プレート及び熱交換器
JP6267954B2 (ja) プレート式熱交換器
JP2021081158A (ja) 熱交換器
JP2005207725A (ja) 熱交換器
JP2005083623A (ja) 熱交換ユニット及び積層型熱交換器
CN113474613B (zh) 热交换器
JP2005308232A (ja) 熱交換器
JP6720890B2 (ja) 積層型熱交換器
JP2000329490A (ja) 積層型熱交換器
JP2005300062A (ja) 熱交換器及びその製造方法
JP2023163331A (ja) プレートフィン積層型熱交換器
JP2006220387A (ja) 熱交換器及びその製造方法
JP2007163114A (ja) プレート積層型熱交換器
JP2016223648A (ja) 熱交換器、熱交換モジュールおよび熱交換器の製造方法
WO2015015683A1 (ja) 熱交換器

Legal Events

Date Code Title Description
A621 Written request for application examination

Free format text: JAPANESE INTERMEDIATE CODE: A621

Effective date: 20180220

A131 Notification of reasons for refusal

Free format text: JAPANESE INTERMEDIATE CODE: A131

Effective date: 20180828

A521 Request for written amendment filed

Free format text: JAPANESE INTERMEDIATE CODE: A523

Effective date: 20181025

TRDD Decision of grant or rejection written
A01 Written decision to grant a patent or to grant a registration (utility model)

Free format text: JAPANESE INTERMEDIATE CODE: A01

Effective date: 20190402

A61 First payment of annual fees (during grant procedure)

Free format text: JAPANESE INTERMEDIATE CODE: A61

Effective date: 20190425

R151 Written notification of patent or utility model registration

Ref document number: 6528283

Country of ref document: JP

Free format text: JAPANESE INTERMEDIATE CODE: R151