JP6524904B2 - 発光装置 - Google Patents

発光装置 Download PDF

Info

Publication number
JP6524904B2
JP6524904B2 JP2015249237A JP2015249237A JP6524904B2 JP 6524904 B2 JP6524904 B2 JP 6524904B2 JP 2015249237 A JP2015249237 A JP 2015249237A JP 2015249237 A JP2015249237 A JP 2015249237A JP 6524904 B2 JP6524904 B2 JP 6524904B2
Authority
JP
Japan
Prior art keywords
light emitting
light
emitting element
covering member
emitting device
Prior art date
Legal status (The legal status is an assumption and is not a legal conclusion. Google has not performed a legal analysis and makes no representation as to the accuracy of the status listed.)
Active
Application number
JP2015249237A
Other languages
English (en)
Other versions
JP2017117858A (ja
Inventor
有一 山田
有一 山田
山田 元量
元量 山田
Current Assignee (The listed assignees may be inaccurate. Google has not performed a legal analysis and makes no representation or warranty as to the accuracy of the list.)
Nichia Corp
Original Assignee
Nichia Corp
Priority date (The priority date is an assumption and is not a legal conclusion. Google has not performed a legal analysis and makes no representation as to the accuracy of the date listed.)
Filing date
Publication date
Application filed by Nichia Corp filed Critical Nichia Corp
Priority to JP2015249237A priority Critical patent/JP6524904B2/ja
Priority to US15/387,649 priority patent/US10090441B2/en
Publication of JP2017117858A publication Critical patent/JP2017117858A/ja
Priority to US16/111,239 priority patent/US10553763B2/en
Priority to JP2019089318A priority patent/JP6985615B2/ja
Application granted granted Critical
Publication of JP6524904B2 publication Critical patent/JP6524904B2/ja
Priority to US16/727,923 priority patent/US11139418B2/en
Priority to US17/485,506 priority patent/US11631789B2/en
Active legal-status Critical Current
Anticipated expiration legal-status Critical

Links

Images

Classifications

    • HELECTRICITY
    • H10SEMICONDUCTOR DEVICES; ELECTRIC SOLID-STATE DEVICES NOT OTHERWISE PROVIDED FOR
    • H10HINORGANIC LIGHT-EMITTING SEMICONDUCTOR DEVICES HAVING POTENTIAL BARRIERS
    • H10H20/00Individual inorganic light-emitting semiconductor devices having potential barriers, e.g. light-emitting diodes [LED]
    • H10H20/80Constructional details
    • H10H20/84Coatings, e.g. passivation layers or antireflective coatings
    • H10H20/841Reflective coatings, e.g. dielectric Bragg reflectors
    • HELECTRICITY
    • H10SEMICONDUCTOR DEVICES; ELECTRIC SOLID-STATE DEVICES NOT OTHERWISE PROVIDED FOR
    • H10HINORGANIC LIGHT-EMITTING SEMICONDUCTOR DEVICES HAVING POTENTIAL BARRIERS
    • H10H20/00Individual inorganic light-emitting semiconductor devices having potential barriers, e.g. light-emitting diodes [LED]
    • H10H20/80Constructional details
    • H10H20/85Packages
    • H10H20/8506Containers
    • HELECTRICITY
    • H10SEMICONDUCTOR DEVICES; ELECTRIC SOLID-STATE DEVICES NOT OTHERWISE PROVIDED FOR
    • H10HINORGANIC LIGHT-EMITTING SEMICONDUCTOR DEVICES HAVING POTENTIAL BARRIERS
    • H10H20/00Individual inorganic light-emitting semiconductor devices having potential barriers, e.g. light-emitting diodes [LED]
    • H10H20/80Constructional details
    • H10H20/85Packages
    • H10H20/851Wavelength conversion means
    • H10H20/8514Wavelength conversion means characterised by their shape, e.g. plate or foil
    • HELECTRICITY
    • H10SEMICONDUCTOR DEVICES; ELECTRIC SOLID-STATE DEVICES NOT OTHERWISE PROVIDED FOR
    • H10HINORGANIC LIGHT-EMITTING SEMICONDUCTOR DEVICES HAVING POTENTIAL BARRIERS
    • H10H20/00Individual inorganic light-emitting semiconductor devices having potential barriers, e.g. light-emitting diodes [LED]
    • H10H20/80Constructional details
    • H10H20/85Packages
    • H10H20/855Optical field-shaping means, e.g. lenses
    • HELECTRICITY
    • H10SEMICONDUCTOR DEVICES; ELECTRIC SOLID-STATE DEVICES NOT OTHERWISE PROVIDED FOR
    • H10HINORGANIC LIGHT-EMITTING SEMICONDUCTOR DEVICES HAVING POTENTIAL BARRIERS
    • H10H20/00Individual inorganic light-emitting semiconductor devices having potential barriers, e.g. light-emitting diodes [LED]
    • H10H20/80Constructional details
    • H10H20/85Packages
    • H10H20/857Interconnections, e.g. lead-frames, bond wires or solder balls
    • HELECTRICITY
    • H01ELECTRIC ELEMENTS
    • H01LSEMICONDUCTOR DEVICES NOT COVERED BY CLASS H10
    • H01L2224/00Indexing scheme for arrangements for connecting or disconnecting semiconductor or solid-state bodies and methods related thereto as covered by H01L24/00
    • H01L2224/01Means for bonding being attached to, or being formed on, the surface to be connected, e.g. chip-to-package, die-attach, "first-level" interconnects; Manufacturing methods related thereto
    • H01L2224/10Bump connectors; Manufacturing methods related thereto
    • H01L2224/15Structure, shape, material or disposition of the bump connectors after the connecting process
    • H01L2224/16Structure, shape, material or disposition of the bump connectors after the connecting process of an individual bump connector
    • H01L2224/161Disposition
    • H01L2224/16151Disposition the bump connector connecting between a semiconductor or solid-state body and an item not being a semiconductor or solid-state body, e.g. chip-to-substrate, chip-to-passive
    • H01L2224/16221Disposition the bump connector connecting between a semiconductor or solid-state body and an item not being a semiconductor or solid-state body, e.g. chip-to-substrate, chip-to-passive the body and the item being stacked
    • H01L2224/16225Disposition the bump connector connecting between a semiconductor or solid-state body and an item not being a semiconductor or solid-state body, e.g. chip-to-substrate, chip-to-passive the body and the item being stacked the item being non-metallic, e.g. insulating substrate with or without metallisation
    • HELECTRICITY
    • H01ELECTRIC ELEMENTS
    • H01LSEMICONDUCTOR DEVICES NOT COVERED BY CLASS H10
    • H01L2224/00Indexing scheme for arrangements for connecting or disconnecting semiconductor or solid-state bodies and methods related thereto as covered by H01L24/00
    • H01L2224/73Means for bonding being of different types provided for in two or more of groups H01L2224/10, H01L2224/18, H01L2224/26, H01L2224/34, H01L2224/42, H01L2224/50, H01L2224/63, H01L2224/71
    • H01L2224/732Location after the connecting process
    • H01L2224/73201Location after the connecting process on the same surface
    • H01L2224/73203Bump and layer connectors
    • H01L2224/73204Bump and layer connectors the bump connector being embedded into the layer connector
    • HELECTRICITY
    • H10SEMICONDUCTOR DEVICES; ELECTRIC SOLID-STATE DEVICES NOT OTHERWISE PROVIDED FOR
    • H10HINORGANIC LIGHT-EMITTING SEMICONDUCTOR DEVICES HAVING POTENTIAL BARRIERS
    • H10H20/00Individual inorganic light-emitting semiconductor devices having potential barriers, e.g. light-emitting diodes [LED]
    • H10H20/80Constructional details
    • H10H20/85Packages
    • H10H20/852Encapsulations
    • H10H20/853Encapsulations characterised by their shape
    • HELECTRICITY
    • H10SEMICONDUCTOR DEVICES; ELECTRIC SOLID-STATE DEVICES NOT OTHERWISE PROVIDED FOR
    • H10HINORGANIC LIGHT-EMITTING SEMICONDUCTOR DEVICES HAVING POTENTIAL BARRIERS
    • H10H20/00Individual inorganic light-emitting semiconductor devices having potential barriers, e.g. light-emitting diodes [LED]
    • H10H20/80Constructional details
    • H10H20/85Packages
    • H10H20/855Optical field-shaping means, e.g. lenses
    • H10H20/856Reflecting means

Landscapes

  • Led Device Packages (AREA)

Description

本開示は、発光装置に関する。
近年、様々な電子部品が提案され、また実用化されており、これらに求められる性能も高くなっている。例えば、液晶テレビに使用されるバックライトや一般照明器具等では、デザイン製が重要視され、より薄型化の要望が高く、発光装置自体の小型化の要望が高い。
例えば特許文献1には、二次光学レンズをLEDと組み合わせてバットウイング配光の配光特性を実現し、短い照射距離で光を均一に拡散させることで器具の薄型化が可能となる発光装置が開示されている。
特開2006−114863号公報
しかしながら、LEDとレンズとを組み合わせる方法では、レンズと空気層の界面での反射光やLEDからの直射光が、レンズの下部に位置する基板の上面に形成されている拡散反射部に入射すると、光散乱によるレンズ上面方向への出射光により直上方向の光度が上昇してしまう。これにより、上面方向の光度を十分に低下させることができず、所望の配光特性が得られない場合がある。
本発明に係る実施形態は、かかる事情に鑑みてなされたものであり、レンズ下部の反射特性を制御することで、上面方向への光抜けを抑制し、輝度ムラを改善した発光装置を提供する。
本実施形態に係る発光装置は、支持体と、前記支持体上に形成された導体配線と、を有する基体と、前記基体上に載置され、前記導体配線と電気的に接続された発光素子と、前記発光素子の、前記基体側に配置される面と対向する面側に形成された反射膜と、前記発光素子及び前記基体の一部を被覆する透光性の被覆部材と、を有し、前記基体の前記被覆部材に被覆されていない領域の前記発光素子の発光ピーク波長に対する平均反射率が、前記基体の前記被覆部材に被覆された領域の前記発光素子の発光ピーク波長に対する平均反射率よりも高い。
また、別の実施形態に係る発光装置は、支持体と、前記支持体上に形成された導体配線と、を有する基体と、前記基体上に載置され、前記導体配線と電気的に接続された発光素子と、前記発光素子及び前記基体の一部を被覆し、前記発光素子の直上部に凹部を有する被覆部材と、を有し、前記基体の前記被覆部材に被覆されていない領域の前記発光素子の発光ピーク波長に対する平均反射率が、前記基体の前記被覆部材に被覆された領域の前記発光素子の発光ピーク波長に対する平均反射率よりも高い。
本発明に係る実施形態によれば、上面方向への光抜けを抑制し、輝度ムラを改善した発光装置を提供することができる。
第1実施形態の発光装置の一部を示す上面図である。 図1におけるA−A線断面図である。 第1実施形態の発光装置の全体構造の一例を示す上面図である。 第2実施形態の発光装置の一部を示す断面図である。 第3実施形態の発光装置の一部を示す断面図である。 第4実施形態の発光装置の一部を示す断面図である。 第5実施形態の発光装置の一部を示す断面図である。 実施例2の発光装置を示す上面図である。 実施例2の発光装置を示す断面図である。 実施例1の発光装置の配光特性図である。 実施例2の発光装置の配光特性図である。
以下に図面を参照しながら、本発明を実施するための最良の形態を詳細に説明する。ただし、以下に示す形態は、技術思想を具体化するための発光装置を例示するものであって、本発明を以下のものに限定しない。
[第1実施形態]
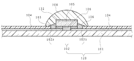
図1、図2、及び図3に示すように、第1実施形態に係る発光装置は、支持体101と、支持体101上に形成された導体配線102を有する基体120と、基体120の上に載置され、導体配線102と電気的に接続された発光素子105と、発光素子105及び基体120の一部を被覆する透光性の被覆部材108と、を主に備えている。
図2は、図1のA−A線における断面図である。図2に示すように、発光素子105は、その上面に反射膜122を有している。発光素子105の上面とは、発光素子105が有する面のうち、基体120の側に配置される面(以下「第1の面」ともいう)と対向する面(以下「第2の面」ともいう)のことをいうものとする。なお、発光素子105は、第1の面と第2の面との間に複数の側面を有している。
基体120は、絶縁部材からなる支持体101と、支持体101の表面に形成された導体配線102を有する。図2に示すように、発光素子105は、支持体101の上面に設けられた正負一対の導体配線102a及び120bに跨るように、接合部材103を介してフリップチップ実装されている。発光素子105の下面と基体120の上面の隙間や、発光素子105の側面にはアンダーフィル材料106が配置されていてもよい。
導体配線102のうち、電気的な接続を行わない領域には絶縁部材からなる光反射層104が形成されている。
被覆部材108は、透光性の部材であり、基体120の上面に、発光素子105を被覆するように設けられている。被覆部材108は、基体120と直接接触していてもよい。
被覆部材108は、印刷やディスペンサ塗布が可能である粘度に調整され、加熱処理や光を照射することで硬化することができる。被覆部材108の形状としては、例えば、略半球形状や、断面視において縦長の凸形状、上面視において円形状や楕円形状となるように形成されていてもよい。
基体120の上面であって、被覆部材108に被覆されていない領域の平均反射率は、被覆部材108に被覆された領域の平均反射率よりも高くなるようにされている。通常、発光素子105からの光を効率よく取り出すために、発光素子105の近傍は反射層で覆われるが、発光素子近傍で反射された光が発光素子105の直上方向から取り出されることで、均一な発光を得るために輝度を下げたい箇所の輝度が上昇することになる。
そこで、本実施形態では、被覆部材の底面と基板の上面との境界面で反射される光の量を低減させるために、基板の被覆部材108に覆われた領域の発光素子の発光ピーク波長に対する平均反射率を、被覆部材の外側に位置する領域の発光素子の発光波長に対する平均反射率よりも低く設定する。これにより、被覆部材108内部での光の拡散反射の影響を低減させて上方への光抜けを抑制することができる。
なお、本明細書中で「平均反射率」とは、反射率を測定したい領域内での各部材の反射率を、各部材の面積割合を考慮して平均した値のことを指すものとする。
例えば、一対の導体配線102aと102bとの間の溝部130(図1参照)は、導体配線120の上面よりも反射率を高く設定してもよい。
反射率の測定は、分光反射率測定器によって測定することができる。反射率の測定に用いる試料は実際に用いる形状と異なる形状の試料で測定してもよいが、厚みや層構成によって反射率が変化する場合、実際に用いるものと同等の厚みおよび層構成で測定を行うものとする。
本実施形態では、発光ピーク波長が430〜460nmの青色発光素子を用い、被覆部材108との接合面となる導体配線102の上面をCuで形成することにより、被覆部材108で覆われる領域の反射率を低下させている。図1に示すように、光反射層の開口104aが、被覆部材108の外側に位置するようにすることが好ましい。また、本明細書において反射率とは、特に断りがない限り、用いる発光素子の発光ピーク波長に対する反射率のことをいうものとする。なお、後述する波長変換部材を用いる場合は、発光素子の発光波長及び波長変換部材の発光波長を考慮してもよく、この場合は後述する第2実施形態において説明する。
基体の被覆部材108に被覆された領域の平均反射率は、例えば60%以下が好ましく、50%以下、さらに好ましくは40%以下である。一方、基体の被覆部材108に被覆されていない領域の平均反射率は70%以上であることが好ましい。これにより、発光素子105から離れた領域では反射率を高くすることができるため、輝度ムラの改善された発光装置とすることができる。
ここで、被覆部材108に被覆された領域の平均反射率と、基体の被覆部材108に被覆されていない領域の平均反射率の差が、20%以上あることが好ましく、25%以上あることがさらに好ましい。これにより輝度ムラを改善することができる。
発光素子105の第2の面に形成される反射膜は、金属膜であってもよく、誘電体多層膜(DBR膜)であってもよい。これにより、発光素子105の上方向への光は反射膜122で反射され、発光素子105の直上の光量が抑制され、バットウイング型の配光特性とすることができる。発光素子105に直接形成することができるため、バットウイングレンズが不要となり、発光装置の厚みを小さくすることが可能である。
反射膜122は、発光素子105の発光波長に対して、入射角に対する反射率角度依存性を有していることが好ましい。具体的には、反射膜122の反射率は、垂直入射よりも斜め入射の方が低くなるように設定されている。これにより、発光素子直上における輝度の変化が緩やかになり、発光素子直上が暗点になる等、極端に暗くなることを抑制することができる。
(発光装置の全体構成の例示)
図3に例示するように、本実施形態における発光装置は、発光素子が被覆された複数の被覆部材108をマトリクス状に配置していてもよい。用いる発光素子の数や配置は、目的及び用途に応じて適宜選択することができる。被覆部材108から露出された領域は、その大部分が光反射層104で被覆されている。
このように構成された発光装置の上方に、シート等の波長変換板、拡散板等を配置することで白色のバックライト光源とすることができる。なお、波長変換された光が光反射層104に入射されるため、光反射層104は発光素子の発光ピーク波長に加え、波長変換後の発光波長に対して反射率が高いことが好ましい。
本実施形態によれば、発光素子105から取り出される光の配光特性を理想的な形とすることが可能となり、バックライト用の光源として用いる場合の輝度ムラを改善することができる。
[第2実施形態]
図4に、第2実施形態にかかる発光装置の断面図を示す。
本実施形態は、図4に示すように発光素子105と反射膜122の間に、波長変換層109が配置されている点が第1実施形態の発光装置と異なっており、それ以外は第1実施形態と同様に構成することができる。
発光素子105から出射された光の一部は、波長変換層109により波長変換される。さらに発光素子105の上方向への光は反射膜122で反射され、発光素子105の直上の光量が抑制され、バットウイング型の配光特性とすることができる。波長変換層109は、図4に示すように発光素子105の第2の面及び複数の側面を被覆する。波長変換層109の上面には、反射膜122を有している。
本実施形態においても、波長変換されない光を考慮して、発光素子の発光ピーク波長における反射率を第1実施形態と同様に設定することで発光素子の直上方向から取り出される光を抑制することができる。
さらに、波長変換された光を考慮して、波長変換された光のピーク波長に対しても、同様に設定することが好ましい。つまり、基体の被覆部材に被覆されていない領域の波長変換部材の発光ピーク波長に対する平均反射率が、被覆部材に被覆された領域の波長変換部材の発光ピーク波長に対する平均反射率よりも高くなるようにすることが好ましい。
波長変換層109は、例えば、窒化物系半導体を発光層とする発光素子からの光を吸収し、異なる波長の光に波長変換するものであればよい。例えば、樹脂材料に蛍光物質を含有させたものを好適に用いることができる。
以上のように構成された第2実施形態の発光装置は、照射面までの光学距離を短縮可能な白色光源を提供することができる。
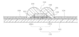
[第3実施形態]
図5に、第3実施形態にかかる発光装置の断面図を示す。
本実施形態の発光素子105はランバーシアン型の配光特性を有する発光素子105であり、発光素子105から出射された光をバットウイング型の配光特性にするために、被覆部材108の上面の中央部がくぼんだ形状とされている点が実施形態1の発光装置と異なっている。第1実施形態では発光素子105の第2の面に反射膜122が形成されていたが、本実施形態では光反射膜は形成されておらず、被覆部材108の、発光素子105の第2の面側の直上部に凹部134を有している。それ以外の構成は実施形態1の発光装置と同様に構成することができる。
以上のように構成された第3実施形態の発光装置は、被覆部材108の上面に凹部134を有し、いわゆるバットウイングレンズとなっている。発光素子の上面から出射された光を全反射および屈折を用いることで配光特性を制御しており、光反射膜を有するバットウイング配光の発光素子を用いる凹部134を有しないレンズと比較して、側面方向への出射光量はレンズ形状の影響が支配的となるため、形状の制御により、たとえば配光角80°以上の側面方向への光強度を小さくすることができる。
[第4実施形態]
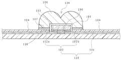
図6に、第4実施形態にかかる発光装置の断面図を示す。
本実施形態では、図6に示すように、被覆部材108の下面中央部の発光素子105を収容するために設けられた入射面側凹部136を除く底面(すなわち、入射面側凹部136の外側の、基体120の上面と対向する面)に、光吸収部材107を配置し、二次レンズとして発光素子105上に被せるようにしている点が第3実施形態の発光装置と異なっている。それ以外の構成は、第3実施形態と同様に構成することができる。この二次レンズは、いわゆるバットウイングレンズである。
入射面側凹部136は、発光素子105を収容するために、発光素子105より大きく形成されている。発光素子105と被覆部材108は直接接していてもよいし、樹脂等の接合部材を介して接していてもよい。また、発光素子105と被覆部材108が接していなくてもよい。
光吸収部材107は、被覆部材108の底面に、後述する光吸収部材を塗布するなどして形成することができる。
光吸収部材107の反射率は、発光素子の発光ピーク波長に対して50%以下であることが好ましく、40%以下であることがより好ましい。このとき、特定の波長域のみを吸収する材料を用いれば、その他の波長域の光を選択的に反射することもできる。また、光吸収部材107は発光素子105より低い位置に配置することが好ましい。これは、発光素子から出射された光が光吸収部材107へ入射する量を低減させるためである。光による劣化を防ぐため、無機物を用いるのが好ましい。具体的には、カーボンブラック、四酸化三鉄、チタンブラック等を好適に用いることができる。
以上のように構成された第4実施形態の発光装置は、二次レンズ内部での反射光を底面で吸収することで、反射光の集光や散乱を抑えることができる。
[第5実施形態]
図7に、第5実施形態にかかる発光装置の断面図を示す。
本実施形態では、図7に示すように、基体の上面と被覆部材の下面の間に、光反射層104と光吸収部材107が積層されており、被覆部材108の外縁と基体120の上面との接触箇所に光吸収部材107を上面視において円環状に形成するものである。例えば図7に示すように、光吸収部材107の内側端部が被覆部材108内に配置され、外側端部が被覆部材108の外側に位置するように形成される。それ以外の構成は実施形態1の発光装置と同様に構成することができる。
本実施形態においても、第1実施形態と同様の効果が得られる。
また、本実施形態では、発光素子105周辺の導体配線を絶縁材料で被覆できるため、たとえば静電気等による発光素子105の故障リスクを低減することができる。
以下に、各実施形態の発光装置の各構成部材に適した材料等について説明する。
(基体120)
基体120は、発光素子105を載置するための部材であり、各図に示されるように、発光素子105に電力を供給するための導体配線102と、導体配線102を配置し絶縁分離するための支持体101を有する。
(支持体101)
支持体101の材料としては、例えば、セラミックス、フェノール樹脂、エポキシ樹脂、ポリイミド樹脂、BTレジン、ポリフタルアミド(PPA)、ポリエチレンテレフタレート(PET)等の樹脂が挙げられる。なかでも、低コストと、成型容易性の点から、支持体の材料としてこれらの樹脂を選択することが好ましい。支持体の厚さは適宜選択することができ、ロール・ツー・ロール方式で製造可能なフレキシブル基板、あるいはリジット基板のいずれであってもよい。リジット基板は湾曲可能な薄型リジット基板であってもよい。あるいは、耐熱性及び耐光性に優れた発光装置とするためには、セラミックスを支持体101の材料として選択することが好ましい。
セラミックスとしては、例えば、アルミナ、ムライト、フォルステライト、ガラスセラミックス、窒化物系(例えば、AlN)、炭化物系(例えば、SiC)、LTCC等が挙げられる。
また、支持体101を構成する材料に樹脂を用いる場合は、ガラス繊維や、SiO、TiO、Al等の無機フィラーを樹脂に混合し、機械的強度の向上、熱膨張率の低減、光反射率の向上等を図ることもできる。また、支持体101としては、一対の導体配線102を絶縁分離できるものであればよく、金属部材に絶縁層を形成している、いわゆる金属基板を用いてもよい。
(導体配線102)
導体配線102は、発光素子105の電極と電気的に接続され、外部からの電流(電力)を供給するための部材である。すなわち、外部から通電させるための電極またはその一部としての役割を担うものである。通常、正と負の少なくとも2つ(例えば、図1及び図2に示す102a及び102b)に離間して形成される。
導体配線102は、発光素子105の載置面となる基体の、少なくとも上面に形成される。導体配線102の材料は、支持体101として用いられる材料や製造方法等によって適宜選択することができる。例えば、支持体101の材料としてセラミックスを用いる場合は、導体配線102の材料は、セラミックスシートの焼成温度にも耐え得る高融点を有する材料が好ましく、例えば、タングステン、モリブデンのような高融点の金属を用いるのが好ましい。さらに、その上に鍍金やスパッタリング、蒸着などにより、ニッケル、金、銀など他の金属材料にて被覆してもよい。
また、支持体101の材料としてガラスエポキシ樹脂を用いる場合は、導体配線102の材料は、加工し易い材料が好ましい。導体配線102は、支持体の一面又は両面に、蒸着、スパッタ、めっき等の方法によって形成することができる。プレスにより金属箔を貼りつけてもよい。また、配線部は、印刷法又はフォトリソグラフィー等を用いてマスキングし、エッチング工程によって、所定の形状にパターニングすることができる。
被覆部材に被覆された領域の平均反射率を調整するために、用いる発光素子105の発光波長に対して導体配線102の最表面の材料を選択することが好ましい。
例えば、発光ピーク波長が420〜500nmの光に対してはCuやAuを選択することが好ましい。
(接合部材103)
接合部材103は、発光素子105を支持体101または導体配線102に固定するための部材である。絶縁性の樹脂や導電性の部材が挙げられ、図2に示すようなフリップチップ実装の場合は導電性の部材が用いられる。具体的にはAu含有合金、Ag含有合金、Pd含有合金、In含有合金、Pb−Pd含有合金、Au−Ga含有合金、Au−Sn含有合金、Sn含有合金、Sn−Cu含有合金、Sn−Cu−Ag含有合金、Au−Ge含有合金、Au−Si含有合金、Al含有合金、Cu−In含有合金、金属とフラックスの混合物等を挙げることができる。
接合部材103としては、液状、ペースト状、固体状(シート状、ブロック状、粉末状、ワイヤ状)のものを用いることができ、組成や基体の形状等に応じて、適宜選択することができる。また、これらの接合部材103は、単一部材で形成してもよく、あるいは、数種のものを組み合わせて用いてもよい。なお、導体配線102との電気的接続を同時にとらない場合は、固定とは別にワイヤを用いて発光素子105の電極と導体配線102とを電気的に接続してもよい。
(光反射層104)
導体配線102は、発光素子105や他材料と電気的に接続する部分以外は光反射層104で被覆されている事が好ましい。すなわち、図2に示されるように、基体120上には、導体配線102を絶縁被覆するためのレジストが配置されていても良く、光反射層104はレジストとして機能させることができる。後述する樹脂材料に白色系のフィラーを含有させることにより、光の漏れや吸収を防いで、発光装置の光取り出し効率を向上させることもできる。
白色系のフィラーを含有させる樹脂材料は、発光素子からの光の吸収が少ない材料であり、絶縁性であればよい。例えば、エポキシ、シリコーン、変性シリコーン、ウレタン樹脂、オキセタン樹脂、アクリル、ポリカーボネイト、ポリイミド等を用いることができる。これらは単独で使用してもよく、組み合わせて使用してもよい。また、白色系のフィラーとしては、SiO、AlO3、Al(OH)3、MgCO3、TiO、ZrO、ZnO、Nb、MgO、Mg(OH)2、SrO、In、TaO、HfO、SeO、Y等の酸化物、SiN、AlN、AlON等の窒化物、MgF等のフッ化物等が挙げられる。これらは、単独で用いてもよいし、混合して用いてもよい。
(発光素子105)
発光素子105は、公知のものを利用することができる。例えば、発光素子105として発光ダイオードを用いるのが好ましい。
発光素子105は、任意の波長のものを選択することができる。例えば、青色、緑色の発光素子としては、窒化物系半導体(InAlGa1−x−yN、0≦X、0≦Y、X+Y≦1)を用いたものを用いることができる。また、赤色の発光素子としては、GaAlAs、AlInGaPなどを用いることができる。さらに、これ以外の材料からなる半導体発光素子を用いることもできる。用いる発光素子の組成や発光色、大きさや、個数などは目的に応じて適宜選択することができる。
波長変換材料を備えた発光装置とする場合には、その波長変換材料を効率良く励起できる短波長が発光可能な窒化物半導体(InAlGa1−x−yN、0≦X、0≦Y、X+Y≦1)が好適に挙げられる。半導体層の材料やその混晶度によって発光波長を種々選択することができる。同一面側に正負の電極を有するものであってもよいし、異なる面に正負の電極を有するものであってもよい。
本実施形態の発光素子は、基板と、その基板の上に積層された半導体層を有する。この半導体層には、順にn側半導体層、活性層、p側半導体層が形成されており、n側半導体層にn電極が形成されており、p側半導体層にp電極が形成されている。本実施の形態における基板は、半導体層と反対側の面に誘電体多層膜による反射鏡を形成したサファイア基板である。
これらの発光素子105の電極は、図2に示すように、接合部材103を介して支持体の表面の導体配線102にフリップチップ実装されており、電極の形成された面と略垂直な面、すなわち透光性のサファイア基板側面を光取り出し面としている。発光素子105は、正と負に絶縁分離された2つの導体配線102に跨るように配置されて、接合部材103によって接合されている。この発光素子105の実装方法は、半田ペーストを用いた実装方法の他、例えばバンプを用いた実装方法とすることができる。
また、発光素子としては小型のパッケージ品を用いることも可能である。
(アンダーフィル材料106)
発光素子105と支持体101の間にアンダーフィル材料106が形成されている。アンダーフィル材料106は、熱膨張率を発光素子に近づけることと、発光素子105からの光が支持体101で散乱反射するのを防ぐことを目的として、フィラーや色素を含有してもよい。
アンダーフィル材料106の材料は、発光素子からの光による劣化が少ない材料であればよい。例えば、エポキシ、シリコーン、変性シリコーン、ウレタン樹脂、オキセタン樹脂、アクリル、ポリカーボネイト、ポリイミド等を用いることができる。
アンダーフィル材料106に含有するフィラーや色素としては、発光波長の光を吸収するフィラーや色素であれば光がより反射されにくくなり、光の散乱を防ぐことができる。
また、光による劣化を防ぐため、光吸収材料には無機化合物を用いるのが好ましい。ここで、フィラーの反射率は発光波長の光に対して50%以下であることが好ましく、40%以下であることがより好ましい。
また、フィラーの粒径は、1nm以上10μm以下が好ましい。フィラーの粒径をこの範囲とすることで、アンダーフィル材料としての樹脂流動性が良くなり、狭い隙間でも問題なく被覆することができる。なお、フィラーの粒径は、好ましくは、100nm以上5μm以下、さらに好ましくは200nm以上2μm以下である。また、フィラーの形状は、球形でも鱗片形状でもよい。
なお、アンダーフィル材料が透光性を有さない場合には、たとえば配置部やアンダーフィルの材料を適宜選択および調整することにより、発光素子の側面が、アンダーフィル材料によって被覆されていないようにすることが好ましい。発光素子の側面を光取り出し面として確保するためである。
(被覆部材108)
本形態における封止部材は、発光素子を外部環境から保護するとともに、発光素子から出力される光を光学的に制御するため、発光素子を被覆するように支持体上に配置させる部材である。
被覆部材108の材料として、エポキシ樹脂やシリコーン樹脂あるいはそれらを混合させた樹脂などの透光性樹脂や、ガラスなどとすることができる。これらのうち、耐光性および成形のしやすさを考慮して、シリコーン樹脂を選択することが好ましい。
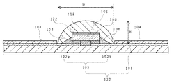
また、被覆部材108の最頂点が、基体120の上面から2mm以下の高さにある請ことが好ましい。これにより、照射面までの光学距離を小さくすることができる。
さらに、被覆部材108は、図2に示すようにその幅Wが最も小さく見える側面から観察した時の高さHが、その幅Wの0.5倍以下であることが好ましい。これにより、高さが0.5倍より高い場合と比較して広配光にすることができる。
さらに、透光性樹脂には、発光素子からの光を吸収して発光素子からの出力光とは異なる波長の光を発する波長変換材料や、発光素子からの光を拡散させるための拡散剤を含有させることができる。また、発光素子の発光色に対応させて、着色剤を含有させることもできる。
直上光度を抑える観点からは、被覆部材108には光拡散性がない方が好ましいが、成形時に必要なチキソトロピー性を与えるための必要最低限の光拡散材が、被覆部材に添加されていてもよい。
被覆部材108は、発光素子を被覆するように圧縮成型や射出成型によって形成することができる。その他、被覆部材108の材料の粘度を最適化して、発光素子105の上に滴下もしくは描画して、材料自体の表面張力によって、各図に示されるような形状を形成することができる。
後者の形成方法による場合には、金型を必要とすることなく、より簡便な方法で封止部材を形成することができる。また、このような形成方法による封止部材の材料の粘度を調整する手段として、その材料本来の粘度の他、上述したような蛍光体や拡散剤を利用することもできる。
(蛍光物質)
蛍光物質は、例えば、Eu、Ce等のランタノイド系元素で主に賦活される、窒化物系蛍光体、酸窒化物系蛍光体を用いることができる。より具体的には、大別して下記(D1)〜(D3)にそれぞれ記載された中から選ばれる少なくともいずれか1以上であることが好ましい。
(D1)Eu等のランタノイド系、Mn等の遷移金属系の元素により主に賦活される、アルカリ土類ハロゲンアパタイト、アルカリ土類金属ホウ酸ハロゲン、アルカリ土類金属アルミン酸塩、アルカリ土類金属硫化物、アルカリ土類金属チオガレート、アルカリ土類金属窒化ケイ素、ゲルマン酸塩等の蛍光体
(D2)Ce等のランタノイド系元素で主に賦活される、希土類アルミン酸塩、希土類ケイ酸塩、アルカリ土類金属希土類ケイ酸塩等の蛍光体
(D3)Eu等のランタノイド系元素で主に賦活される、有機または有機錯体等の蛍光体
中でも、前記(D2)のCe等のランタノイド系元素で主に賦活される希土類アルミン酸塩蛍光体であるYAG(Yttrium Aluminum Garnet)系蛍光体が好ましい。YAG系蛍光体は、次の(D21)〜(D24)などの組成式で表される。
(D21)YAl12:Ce
(D22)(Y0.8Gd0.2Al12:Ce
(D23)Y(Al0.8Ga0.212:Ce
(D24)(Y,Gd)(Al,Ga)12:Ce
また、例えば、Yの一部または全部をTb、Lu等で置換してもよい。具体的には、TbAl12:Ce、LuAl12:Ce等でもよい。さらに、前記した蛍光体以外の蛍光体であって、同様の性能、作用、効果を有する蛍光体も使用することができる。
封止部材中に、波長変換部材を含有させることにより、所望の波長を有する光を出射できる発光装置となる。
以下、本発明に係る実施例について詳述する。なお、本発明は以下に示す実施例のみに限定されないことは言うまでもない。
図1及び図2は、実施例1にかかる発光装置の上面図および断面図を示す。
図1に示されるように、本実施例における支持体101は、支持体に設けられた正負一対の導体配線102a、102bに跨がるように、接合部材103を介して発光素子105がフリップチップ実装されている。導体配線102のうち、電気的な接続を行わない領域には光反射層104を形成している。発光素子105の下部および側面には透光性のアンダーフィル材料106が形成され、アンダーフィル材料106を直接被覆するように、被覆部材108が形成されている。
本実施例では、支持体101はガラスエポキシ基材、導体配線102は厚みが35μmのCu材、光反射層104はエポキシ系白色ソルダーレジストを用いている。
また、発光素子105は1辺が600μmの正方形で、厚みが150μmで上面に誘電体多層膜を製膜した窒化物系青色LEDを用いている。アンダーフィル材106はシリコーン樹脂を用いる。被覆部材108はシリコーン樹脂を用い、略ドーム状に形成されている。
本実施例の被覆部材108には光拡散性が無い方が好ましいが、封止部材のチキソトロピー性を与えるためにシリカ系ナノフィラーを添加している。
被覆部材108の底面積に対し、被覆部材108に接触する導体配線102の面積割合は90%、溝部130の面積割合は10%となっている。また、導電配線の発光素子の発光波長に対する反射率は50%、溝部の発光素子の発光波長に対する反射率は80%となっている。被覆部材108に覆われた領域の面積割合を考慮した平均反射率は53%となる。これに対し、光反射層104の発光素子の発光波長に対する反射率は80%である。
図8に実施例2の発光装置の上面図を、図9に図8のB−B線断面図を示す。実施例2の発光装置は実施例1の発光装置に対し、被覆部材108に接触する導体配線102の面積割合を変更したものである。実施例2の発光装置では、光反射層104が被覆部材108の下部にも配置されており、発光素子の近傍でのみ、導体配線が光反射層104から露出されている。光反射層の開口104aは、被覆部材108の下部に位置している。
実施例2の発光装置では、被覆部材108の底面積に対し、被覆部材108に接触する導体配線の面積割合は23%、光反射層104の面積割合が72%、溝部130の面積割合は5%となっている。また、導体配線の発光素子の発光波長に対する反射率は50%、光反射層及び溝部の発光素子の発光波長に対する反射率は80%となっている。被覆部材108に覆われた領域の面積割合を考慮した平均反射率は73%となる。
図10に実施例1の発光装置の配光特性図を、図11に実施例2の発光装置の配光特性図を示す。実施例2の発光装置では配向角度が0°の領域において相対光度が0.47程度までしか下がらないのに対し、被覆部材108に覆われた領域平均反射率を60%以下とした実施例1の場合は、相対光度が低くなる領域において相対光度が0.35程度まで下がり、上面方向の光度を十分に低下させることができることがわかる。つまり、被覆部材と接する部分の表面の反射率を調整することで、所望の配光特性を得ることが可能となる。
101 支持体
102 導体配線
103 接合部材
104 光反射層
104a 光反射層の開口
105 発光素子
106 アンダーフィル材料
107 光吸収部材
108 被覆部材
109 波長変換層
122 反射膜
130 溝部

Claims (10)

  1. 支持体と、前記支持体上に形成された導体配線と、を有する基体と、
    前記基体上に載置され、前記導体配線と電気的に接続された発光素子と、
    前記発光素子の、前記基体側に配置される面と対向する面側に、前記発光素子と接して形成された反射膜と、
    前記発光素子及び前記基体の一部を被覆する透光性の被覆部材と、を有し、
    前記被覆部材は、その幅が最も小さく見える側面から観察した時の高さが前記幅の0.5倍以下であり、
    前記基体の前記被覆部材に被覆されていない領域の前記発光素子の発光ピーク波長に対する平均反射率が、前記基体の前記被覆部材に被覆された領域の前記発光素子の発光ピーク波長に対する平均反射率よりも高く、
    前記発光素子は、サファイア基板と、サファイア基板の上に積層された半導体を有し、前記サファイア基板は前記半導体が積層された面と反対側の面に前記反射膜を有するとともに、前記サファイア基板の側面が光取り出し面となる、発光装置。
  2. 前記基体の前記被覆部材に被覆された領域の前記発光素子の発光ピーク波長に対する平均反射率が60%以下である、請求項1に記載の発光装置。
  3. 前記基体の前記被覆部材に被覆されていない領域の前記発光素子の発光ピーク波長に対する平均反射率が70%以上である、請求項1または2のいずれかに記載の発光装置。
  4. 前記導体配線の最表面にCuを有する請求項1〜3のいずれか1項に記載の発光装置。
  5. 前記被覆部材は、前記基体と直接接触している請求項1〜4のいずれか1項に記載の発光装置。
  6. 前記被覆部材の最頂点が、前記基体の上面から2mm以下の高さにある請求項1〜5のいずれか1項に記載の発光装置。
  7. 前記基体の前記被覆部材に被覆された領域の少なくとも一部に光吸収部を有する請求項1〜6のいずれか1項に記載の発光装置。
  8. 前記被覆部材の底面に光吸収部を有する請求項1〜6のいずれか1項に記載の発光装置。
  9. 前記反射膜は、反射率の角度依存性を有する、請求項1に記載の発光装置。
  10. 前記反射膜は、誘電体多層膜である、請求項1に記載の発光装置。
JP2015249237A 2015-12-22 2015-12-22 発光装置 Active JP6524904B2 (ja)

Priority Applications (6)

Application Number Priority Date Filing Date Title
JP2015249237A JP6524904B2 (ja) 2015-12-22 2015-12-22 発光装置
US15/387,649 US10090441B2 (en) 2015-12-22 2016-12-22 Light emitting device
US16/111,239 US10553763B2 (en) 2015-12-22 2018-08-24 Light emitting device
JP2019089318A JP6985615B2 (ja) 2015-12-22 2019-05-09 発光装置
US16/727,923 US11139418B2 (en) 2015-12-22 2019-12-27 Light emitting device
US17/485,506 US11631789B2 (en) 2015-12-22 2021-09-27 Light emitting device

Applications Claiming Priority (1)

Application Number Priority Date Filing Date Title
JP2015249237A JP6524904B2 (ja) 2015-12-22 2015-12-22 発光装置

Related Child Applications (1)

Application Number Title Priority Date Filing Date
JP2019089318A Division JP6985615B2 (ja) 2015-12-22 2019-05-09 発光装置

Publications (2)

Publication Number Publication Date
JP2017117858A JP2017117858A (ja) 2017-06-29
JP6524904B2 true JP6524904B2 (ja) 2019-06-05

Family

ID=59066404

Family Applications (1)

Application Number Title Priority Date Filing Date
JP2015249237A Active JP6524904B2 (ja) 2015-12-22 2015-12-22 発光装置

Country Status (2)

Country Link
US (4) US10090441B2 (ja)
JP (1) JP6524904B2 (ja)

Families Citing this family (19)

* Cited by examiner, † Cited by third party
Publication number Priority date Publication date Assignee Title
JP6524904B2 (ja) * 2015-12-22 2019-06-05 日亜化学工業株式会社 発光装置
JP7284366B2 (ja) * 2017-08-29 2023-05-31 日亜化学工業株式会社 発光装置
JP7077202B2 (ja) 2017-10-26 2022-05-30 晶元光電股▲ふん▼有限公司 発光装置
CN108052898B (zh) * 2017-12-12 2021-10-01 京东方科技集团股份有限公司 指纹识别传感器、显示装置以及指纹识别方法
US10338325B1 (en) * 2018-06-01 2019-07-02 International Business Machines Corporation Nanofiller in an optical interface
JP7014966B2 (ja) * 2018-09-28 2022-02-02 日亜化学工業株式会社 発光装置
JP7001937B2 (ja) * 2019-03-28 2022-02-04 日亜化学工業株式会社 発光装置
US11227985B2 (en) 2019-03-28 2022-01-18 Nichia Corporation Light-emitting device
JP7226131B2 (ja) * 2019-06-25 2023-02-21 豊田合成株式会社 発光装置及びその製造方法
JP7295437B2 (ja) 2019-11-29 2023-06-21 日亜化学工業株式会社 発光装置
KR102801220B1 (ko) 2020-03-17 2025-04-30 삼성전자주식회사 광원 모듈 및 이를 이용한 디스플레이 패널
KR102873277B1 (ko) 2020-05-08 2025-10-20 삼성전자주식회사 발광 장치
CN113345994B (zh) * 2021-07-20 2021-11-12 华引芯(武汉)科技有限公司 发光半导体封装结构和其封装单元及显示模组
KR20230014508A (ko) 2021-07-21 2023-01-30 삼성전자주식회사 디스플레이 장치 및 그 제조 방법
EP4328638A4 (en) * 2021-10-27 2024-11-06 Samsung Electronics Co., Ltd. Display device and manufacturing method therefor
CN117643196A (zh) 2021-12-22 2024-03-01 三星电子株式会社 显示装置及其光源装置
KR20230163859A (ko) * 2022-05-24 2023-12-01 삼성전자주식회사 디스플레이 장치 및 그 광원 장치
JP7594195B2 (ja) 2022-07-13 2024-12-04 日亜化学工業株式会社 発光装置の製造方法及び発光装置
US12241622B2 (en) * 2023-01-19 2025-03-04 Samsung Electronics Co., Ltd. Light source apparatus and display apparatus

Family Cites Families (39)

* Cited by examiner, † Cited by third party
Publication number Priority date Publication date Assignee Title
JPS5435523B2 (ja) 1973-05-22 1979-11-02
DE19629920B4 (de) * 1995-08-10 2006-02-02 LumiLeds Lighting, U.S., LLC, San Jose Licht-emittierende Diode mit einem nicht-absorbierenden verteilten Braggreflektor
WO2000079605A1 (fr) * 1999-06-23 2000-12-28 Citizen Electronics Co., Ltd. Diode électroluminescente
JP2001257381A (ja) * 2000-03-13 2001-09-21 Sharp Corp 発光ダイオードおよびその製造方法並びに照明装置
US7112916B2 (en) * 2002-10-09 2006-09-26 Kee Siang Goh Light emitting diode based light source emitting collimated light
JP2005135224A (ja) 2003-10-31 2005-05-26 Toshiba Social Automation Systems Co Ltd 情報処理機器
KR101080355B1 (ko) 2004-10-18 2011-11-04 삼성전자주식회사 발광다이오드와 그 렌즈
US7375379B2 (en) * 2005-12-19 2008-05-20 Philips Limileds Lighting Company, Llc Light-emitting device
JP4049186B2 (ja) 2006-01-26 2008-02-20 ソニー株式会社 光源装置
JP2007311401A (ja) 2006-05-16 2007-11-29 Idec Corp Led発光デバイス及びその製造方法
JP4103932B2 (ja) 2007-06-20 2008-06-18 ソニー株式会社 光源装置、表示装置
JP4107349B2 (ja) 2007-06-20 2008-06-25 ソニー株式会社 光源装置、表示装置
JP5427174B2 (ja) * 2008-06-23 2014-02-26 パナソニック株式会社 発光装置、面発光装置及び表示装置
US8957439B2 (en) * 2008-12-02 2015-02-17 Koninklijke Philips Electronics N.V. LED assembly
JP2010232252A (ja) 2009-03-26 2010-10-14 Unon Giken:Kk 白色反射層を有するカバーレイフィルム
JP2011040715A (ja) * 2009-07-17 2011-02-24 Toray Ind Inc Led実装基板およびその製造方法
JP5273081B2 (ja) 2010-03-30 2013-08-28 豊田合成株式会社 半導体発光素子
CN102439195B (zh) 2010-04-27 2014-09-03 株式会社新柯隆 半导体发光元件基板的制造方法
JP2012216763A (ja) 2011-03-25 2012-11-08 Sharp Corp 発光装置、照明装置、および表示装置
KR101561754B1 (ko) * 2011-04-28 2015-10-19 가부시키가이샤 아사히 러버 렌즈 부착 광반도체 장치 및 그 제조방법
JP5796209B2 (ja) * 2011-05-23 2015-10-21 パナソニックIpマネジメント株式会社 発光装置及びそれを用いた照明装置
KR101905535B1 (ko) 2011-11-16 2018-10-10 엘지이노텍 주식회사 발광 소자 패키지 및 이를 구비한 조명 장치
JP2013191748A (ja) * 2012-03-14 2013-09-26 Mitsubishi Chemicals Corp 半導体発光装置
JP6116822B2 (ja) 2012-06-15 2017-04-19 シャープ株式会社 発光装置、面光源装置及び発光装置の製造方法
JP2014007340A (ja) * 2012-06-26 2014-01-16 Mitsubishi Chemicals Corp Ledパッケージの製造方法、液状白色樹脂の輸送方法および液状白色シリコーン樹脂の梱包方法
JP5994472B2 (ja) * 2012-08-09 2016-09-21 日亜化学工業株式会社 発光装置
WO2014057591A1 (ja) 2012-10-12 2014-04-17 エルシード株式会社 半導体発光素子及びその製造方法
CN104769356B (zh) * 2012-10-30 2019-04-19 首尔半导体株式会社 用于表面照明的透镜和发光模块
KR102075982B1 (ko) * 2013-03-15 2020-02-12 삼성전자주식회사 반도체 발광소자 패키지
US9793434B2 (en) 2013-04-16 2017-10-17 El-Seed Corporation LED element and method of manufacturing the same
JP6255747B2 (ja) 2013-07-01 2018-01-10 日亜化学工業株式会社 発光装置
JP2015087552A (ja) 2013-10-30 2015-05-07 昭和電工株式会社 レンズ、発光装置および照明装置
JP6273124B2 (ja) * 2013-11-08 2018-01-31 シチズン電子株式会社 Led照明装置
JP6221696B2 (ja) * 2013-11-29 2017-11-01 日亜化学工業株式会社 発光装置の製造方法および発光装置
JP5553292B1 (ja) 2013-12-03 2014-07-16 エルシード株式会社 Led素子
JP2015138704A (ja) * 2014-01-23 2015-07-30 スリーエム イノベイティブ プロパティズ カンパニー 発光素子モジュール
KR102203950B1 (ko) 2014-02-05 2021-01-19 삼성디스플레이 주식회사 광원 모듈, 이를 포함하는 백라이트 어셈블리 및 표시 장치
RU2672643C2 (ru) * 2014-03-28 2018-11-16 Асахи Раббер Инк. Светораспределительная линза
JP6524904B2 (ja) * 2015-12-22 2019-06-05 日亜化学工業株式会社 発光装置

Also Published As

Publication number Publication date
US10553763B2 (en) 2020-02-04
US10090441B2 (en) 2018-10-02
US20220013694A1 (en) 2022-01-13
JP2017117858A (ja) 2017-06-29
US20200135979A1 (en) 2020-04-30
US11631789B2 (en) 2023-04-18
US20180366617A1 (en) 2018-12-20
US11139418B2 (en) 2021-10-05
US20170179345A1 (en) 2017-06-22

Similar Documents

Publication Publication Date Title
JP6524904B2 (ja) 発光装置
US11031532B2 (en) Light emitting device
JP7096512B2 (ja) 発光装置
CN107275301B (zh) 发光装置
US10879436B2 (en) Light emitting device
TWI780180B (zh) 發光裝置、整合式發光裝置及發光模組
JP6693044B2 (ja) 発光装置およびその製造方法
TW202301711A (zh) 光源
CN107408610B (zh) 发光器件
CN108963056B (zh) 发光装置
JP2014093311A (ja) 発光装置およびその製造方法
JP6985615B2 (ja) 発光装置
JP6326830B2 (ja) 発光装置及びそれを備える照明装置
JP5899734B2 (ja) 発光装置
TW202329489A (zh) 發光裝置
JP7007606B2 (ja) 発光装置およびその製造方法

Legal Events

Date Code Title Description
A977 Report on retrieval

Free format text: JAPANESE INTERMEDIATE CODE: A971007

Effective date: 20171218

A131 Notification of reasons for refusal

Free format text: JAPANESE INTERMEDIATE CODE: A131

Effective date: 20171226

A601 Written request for extension of time

Free format text: JAPANESE INTERMEDIATE CODE: A601

Effective date: 20180223

A521 Request for written amendment filed

Free format text: JAPANESE INTERMEDIATE CODE: A523

Effective date: 20180424

A131 Notification of reasons for refusal

Free format text: JAPANESE INTERMEDIATE CODE: A131

Effective date: 20181002

A521 Request for written amendment filed

Free format text: JAPANESE INTERMEDIATE CODE: A523

Effective date: 20181120

TRDD Decision of grant or rejection written
A01 Written decision to grant a patent or to grant a registration (utility model)

Free format text: JAPANESE INTERMEDIATE CODE: A01

Effective date: 20190409

A61 First payment of annual fees (during grant procedure)

Free format text: JAPANESE INTERMEDIATE CODE: A61

Effective date: 20190422

R150 Certificate of patent or registration of utility model

Ref document number: 6524904

Country of ref document: JP

Free format text: JAPANESE INTERMEDIATE CODE: R150

R250 Receipt of annual fees

Free format text: JAPANESE INTERMEDIATE CODE: R250

R250 Receipt of annual fees

Free format text: JAPANESE INTERMEDIATE CODE: R250

R250 Receipt of annual fees

Free format text: JAPANESE INTERMEDIATE CODE: R250