JP6497997B2 - 動力伝達軸 - Google Patents

動力伝達軸 Download PDF

Info

Publication number
JP6497997B2
JP6497997B2 JP2015055776A JP2015055776A JP6497997B2 JP 6497997 B2 JP6497997 B2 JP 6497997B2 JP 2015055776 A JP2015055776 A JP 2015055776A JP 2015055776 A JP2015055776 A JP 2015055776A JP 6497997 B2 JP6497997 B2 JP 6497997B2
Authority
JP
Japan
Prior art keywords
shaft
shaft member
seal
power transmission
diameter
Prior art date
Legal status (The legal status is an assumption and is not a legal conclusion. Google has not performed a legal analysis and makes no representation as to the accuracy of the status listed.)
Active
Application number
JP2015055776A
Other languages
English (en)
Other versions
JP2016176496A (ja
Inventor
康史 穐田
康史 穐田
浩倫 駒井
浩倫 駒井
Current Assignee (The listed assignees may be inaccurate. Google has not performed a legal analysis and makes no representation or warranty as to the accuracy of the list.)
Hitachi Astemo Ltd
Original Assignee
Hitachi Automotive Systems Ltd
Priority date (The priority date is an assumption and is not a legal conclusion. Google has not performed a legal analysis and makes no representation as to the accuracy of the date listed.)
Filing date
Publication date
Application filed by Hitachi Automotive Systems Ltd filed Critical Hitachi Automotive Systems Ltd
Priority to JP2015055776A priority Critical patent/JP6497997B2/ja
Priority to CN201610059014.XA priority patent/CN105987085B/zh
Priority to US15/060,821 priority patent/US10767705B2/en
Priority to DE102016204070.7A priority patent/DE102016204070A1/de
Publication of JP2016176496A publication Critical patent/JP2016176496A/ja
Application granted granted Critical
Publication of JP6497997B2 publication Critical patent/JP6497997B2/ja
Active legal-status Critical Current
Anticipated expiration legal-status Critical

Links

Images

Classifications

    • FMECHANICAL ENGINEERING; LIGHTING; HEATING; WEAPONS; BLASTING
    • F16ENGINEERING ELEMENTS AND UNITS; GENERAL MEASURES FOR PRODUCING AND MAINTAINING EFFECTIVE FUNCTIONING OF MACHINES OR INSTALLATIONS; THERMAL INSULATION IN GENERAL
    • F16DCOUPLINGS FOR TRANSMITTING ROTATION; CLUTCHES; BRAKES
    • F16D3/00Yielding couplings, i.e. with means permitting movement between the connected parts during the drive
    • F16D3/02Yielding couplings, i.e. with means permitting movement between the connected parts during the drive adapted to specific functions
    • F16D3/06Yielding couplings, i.e. with means permitting movement between the connected parts during the drive adapted to specific functions specially adapted to allow axial displacement
    • FMECHANICAL ENGINEERING; LIGHTING; HEATING; WEAPONS; BLASTING
    • F16ENGINEERING ELEMENTS AND UNITS; GENERAL MEASURES FOR PRODUCING AND MAINTAINING EFFECTIVE FUNCTIONING OF MACHINES OR INSTALLATIONS; THERMAL INSULATION IN GENERAL
    • F16DCOUPLINGS FOR TRANSMITTING ROTATION; CLUTCHES; BRAKES
    • F16D3/00Yielding couplings, i.e. with means permitting movement between the connected parts during the drive
    • F16D3/84Shrouds, e.g. casings, covers; Sealing means specially adapted therefor
    • F16D3/843Shrouds, e.g. casings, covers; Sealing means specially adapted therefor enclosed covers
    • F16D3/848Shrouds, e.g. casings, covers; Sealing means specially adapted therefor enclosed covers allowing relative movement of joint parts due to sliding between parts of the cover
    • FMECHANICAL ENGINEERING; LIGHTING; HEATING; WEAPONS; BLASTING
    • F16ENGINEERING ELEMENTS AND UNITS; GENERAL MEASURES FOR PRODUCING AND MAINTAINING EFFECTIVE FUNCTIONING OF MACHINES OR INSTALLATIONS; THERMAL INSULATION IN GENERAL
    • F16JPISTONS; CYLINDERS; SEALINGS
    • F16J15/00Sealings
    • F16J15/16Sealings between relatively-moving surfaces

Landscapes

  • Engineering & Computer Science (AREA)
  • General Engineering & Computer Science (AREA)
  • Mechanical Engineering (AREA)
  • Motor Power Transmission Devices (AREA)
  • Shafts, Cranks, Connecting Bars, And Related Bearings (AREA)
  • Sealing Devices (AREA)

Description

本発明は、例えば車両の変速装置から駆動輪に動力を伝達する動力伝達軸の改良技術に関する。
近時、例えば車両に取り付けられる動力伝達軸(プロペラシャフト)は、軸方向の前端部が車両のトランスミッション側に接続された筒状部材と、軸方向の後端部がデファレンシャルキャリア側に接続され、前記筒状部材に軸方向から接続された軸部材と、を備えている。
前記筒状部材は、後端部の内周面に雌スプラインが形成されている一方、軸部材は、前端部の外周面に、前記雌スプラインに軸方向から挿通係合する雄スプラインが形成されている。これら両スプラインが軸方向から係合することによって、例えば車両の衝突時などに前記トランスミッションから筒状部材に過度な入力荷重が作用すると、前記筒状部材が前記両スプラインを介して軸部材の方向へ相対移動して衝撃を緩和するようになっている。
また、前記筒状部材の後端部と前記軸部材の前端部との間に、大小段差径状のブーツが介装されている。このブーツは、合成ゴムによって筒状一体に形成され、軸方向の大径な一端部が前記筒状部材の後端部外周面にブーツバンドによって締結固定されている一方、軸方向の小径な他端部が前記軸部材の前端部外周面に同じくブーツバンドによって締結固定されている。これによって、前記筒状部材と軸部材の間のシールを確保するようになっている。
特開平10−258646号公報(図1)
しかしながら、前記特許文献1に記載された動力伝達軸にあっては、前記筒状部材の後端部外周面と軸部材の前端部外周面との間に、筒状のブーツを介装していることから、このブーツの外径分だけ動力伝達軸の外径が大きくなってしまうと共に、軸方向の両端部をそれぞれブーツバンドによって固定してことから部品点数が増加して製造コストの高騰が余儀なくされている。
本発明は、前記従来の技術的課題に鑑みて案出されたもので、動力伝達軸の大径化と部品点数の増加を抑制し得る動力伝達軸を提供することを目的としている。
本発明は、第1の軸部材であって、前記第1の軸部材の軸方向において、前記第1の軸部材の一端部から順に、前記第1の軸部材の外周面に形成された雄スプラインと、大径部と、小径部と、を有し、
前記大径部は、前記雄スプラインが形成された雄スプライン形成部の外径よりも小径に形成され、
前記小径部は、前記大径部の外径よりも小径に形成された、
前記第1の軸部材と、
第2の軸部材であって、前記第1の軸部材の前記雄スプラインから前記大径部までが挿入され、前記第2の軸部材の回転軸線方向において、前記第2の軸部材の一端部から順に、シール収容部と、雌スプラインと、を有し、
前記雌スプラインは、前記第2の軸部材の内周面に形成され、前記第1の軸部材の前記雄スプラインが挿入されて、前記第2の軸部材の回転軸線の方向において、前記雄スプラインと移動可能に係合し、
前記シール収容部は、前記第2軸部材の回転軸線に対する径方向において、前記第1の軸部材の前記大径部と対向する位置に設けられ、前記雌スプラインの内径よりも大きな内径に形成された、
前記第2の軸部材と、
前記シール収容部と前記大径部との間に収容されたシール部材と、
前記第2の軸部材の一端部に固定されて、前記シール部材の一部を支持するリテーナ部材と、
を備えたことを特徴としている。
本発明によれば、動力伝達軸の大径化の抑制と、部品点数の増加を抑制することができる。
本発明の第1実施形態に係る車両用プロペラシャフトの全体側面図である。 本発明の第1実施形態を示す図1のA部拡大図である。 本実施形態におけるフロント側シャフトとリア側シャフトが互いに短縮方向へ移動した状態を拡大して示す縦断面図である。 本実施形態におけるフロント側シャフトとリア側シャフトが互いに伸長方向へ移動した状態を拡大して示す縦断面図である。 第2実施形態における要部を拡大して示す縦断面図である。 第3実施形態における要部を拡大して示す縦断面図である。 第4本実施形態における要部を拡大して示す縦断面図である。 本実施形態におけるフロント側シャフトとリア側シャフトが互いに短縮方向へ移動した状態を拡大して示す縦断面図である。 第5本実施形態における要部を示す縦断面図である。 第6本実施形態における要部を拡大して示す縦断面図である。 本実施形態に供されるリテーナ部材を示す側面図である。 第7本実施形態における要部を拡大して示す縦断面図である。 本実施形態におけるフロント側シャフトとリア側シャフトが互いに短縮方向へ移動した状態を拡大して示す縦断面図である。 第8本実施形態における要部を拡大して示す縦断面図である。 第9本実施形態における要部を拡大して示す縦断面図である。
以下、本発明にかかる動力伝達軸を車両用プロペラシャフトに適用した実施形態を図面に基づいて詳述する。
この車両用プロペラシャフトは、図1に示すように、車両フロント側の第1シャフト1と、リア側の第2シャフト2とを備え、該両シャフト1,2は等速ジョイント3を介して連結されている。前記第1シャフト1は、前端部が第1継手機構である第1十字継手4及びトランスファ軸4aを介して図外のトランスミッションに連結されていると共に、後端部にセンタベアリング5が設けられている。このセンタベアリング5を、車体に固定されたベアリングサポート6で弾性的に支持されることにより、プロペラシャフト全体の撓みが抑制されるようになっている。
一方、前記第2シャフト2は、後端部が第2継手機構である第2十字継手7を介して図外のリアデファレンシャルの入力軸と連結されている。
前記第1シャフト1は、図1にも示すように、車両前方側の円筒状の筒状部材(第2の軸部材)であるフロント側シャフト8と、後方側の軸部材(第1軸部材)である円筒状のリア側シャフト9とによって軸方向に2分割形成されている。
前記フロント側シャフト8は、前記第1十字継手4と摩擦圧接によって接合された薄肉円筒状の金属製の第1チューブ10と、該第1チューブ10の後端部に軸方向から溶接によって接合された比較的肉厚な円筒状の金属製の第2チューブ11と、から構成されている。
前記第2チューブ11は、図2にも示すように、リア側シャフト9の一端部である後端部11a側の周壁内周に筒状の雌スプライン形成部12が形成されていると共に、該雌スプライン形成部12の内周に係合部の一つである雌スプライン13が軸方向に沿って形成されている。前記雌スプライン形成部12は、第2チューブ11の一端部である後端部側の一部に形成されて、この全面に渡って前記雌スプライン13が形成されている。
また、この雌スプライン形成部12のさらに後端側には円筒面14が連続的に形成されていると共に、該円筒面14の後端側にシール収容部であるシール収容溝15が形成されている。
該シール収容溝15は、円環状に切欠形成されて、軸方向の前端側が径方向に沿って形成された内側壁面15aを有していると共に、軸方向の後端側に円環状の開口部15bが形成されている。
前記シール収容溝15の内部には、シール部材であるシールリング16が嵌着保持されている。このシールリング16は、合成ゴム材によって円環状に形成されて、図示のように、前記リア側シャフト9が前記開口部15b側から第2チューブ11内に挿入された状態で、前記リア側シャフト9の後述する外周シール面9bと前記シール収容溝15の底面15cとの間に圧縮変形されつつ弾接保持されていると共に、雌スプライン13側の一側縁が前記内側壁面15aに当接して軸方向の位置決めがなされている。一方、この状態でのシールリング16の他側縁は、前記開口部15bに臨んで配置されている。
また、前記第2チューブ11は、後端部11aの外周面に小径段差状の圧入用円筒面17が形成されていると共に、該圧入用円筒面17の先端部が後端部11aの外端縁をカットする形のテーパ面17aが形成されている。前記圧入用円筒面17は、軸方向に沿って所定長さに形成され、後述するリテーナ部材20の外筒部20aが軸方向から圧入して固定されるようになっていると共に、前記テーパ面17aが前記リテーナ部材20の圧入時のガイド面として機能するようになっている。
前記リア側シャフト9は、内部中空状の筒状金属材によって一体に形成されて、前記フロント側シャフト8側の前端部9aの外周面に雄スプライン形成部18が軸方向に沿って形成されていると共に、該雄スプライン形成部18の外周に前記雌スプライン13に軸方向から係合する係合部の一つである雄スプライン19が軸方向に沿って形成されている。
また、リア側シャフト9の前記雄スプライン19よりも後端側の外周面には、前記雄スプライン形成部18よりも小径な外周シール面9bが形成されていると共に、該外周シール面9bよりも後端側にはさらに段差小径状の摺動面9cが形成されている。
前記リテーナ部材20は、図2〜図4に示すように、鉄系金属プレートをプレスによって横断面ほぼコ字形状に折曲形成され、前記圧入用円筒面17の外面に圧入される円筒状の外筒部20aと、第2チューブ11の軸直角方向に折曲された円盤状の保持部20bとから構成されている。
前記外筒部20aは、内径が前記圧入用円筒面17の外径より僅かに小さく形成されて圧入代が確保されていると共に、軸方向の長さが前記圧入用円筒面17の軸方向長さよりも僅かに小さく設定されている。
前記保持部20bは、リテーナ部材20が第2チューブ11の圧入用円筒面17に最大に圧入された位置で内端面20cが第2チューブ11の後端面11bに当接してリテーナ部材20の最大圧入を規制するようになっていると共に、該最大の圧入位置で前記シール収容溝15の開口部15bを覆って、前記シールリング16の他端縁に当接して該シールリング16を前記内側壁面15aと協働して挟持するようになっている。
また、前記保持部20bの中央に貫通形成された挿通孔20dは、その内径Rが前記リア側シャフト9の雄スプライン形成部18の外径R1とほぼ同じ大きさに形成されていると共に、通常時には、図2に示すように、リア側シャフト9の外周シール面9bとの間に環状の隙間Sが形成されている。
また、リテーナ20は、リア側シャフト9の前端部9aが前記開口部15bからフロント側シャフト8の内部に挿入されて、雌雄スプライン13,19が係合された後に、前記保持部20bが内方へ折曲形成されるようになっている。
〔本実施形態の作用〕
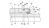
したがって、例えば車両の衝突時などにおいて、前記トランスファ側から第1十字継手4を介して第1シャフト1のフロント側シャフト8に、図2の矢印で示すような左側軸方向、あるいは右側軸方向から過度な入力荷重が作用すると、前記フロント側シャフト8の第2チューブ11に対して、雌スプライン13と雄スプライン19を介してリア側シャフト9方向への大きな移動力が働く。
そうすると、図3に示すように、前記雌スプライン13が雄スプライン19上を軸方向へ摺動しつつ前記第2チューブ11の内周面がリア側シャフト9の外周面に沿って摺動してフロント側シャフト8がリア側シャフト9に対して短縮方向へ相対移動する。
このとき、前記シールリング16は、図3に示すように、外周部が前記シール収容溝15の内側壁面15aによってフロント側シャフト8の右軸方向移動に伴って同方向へ押し出されて、内周部が前記リア側シャフト9の外周シール面9bと摺動面9c上を摺接しながら移動する。
すなわち、前記シールリング16は、雄スプライン19とは反対側の軸方向へ離間する形でリア側シャフト9の外周シール面9bと摺動面9c上をスムーズに摺動する。このため、シールリング16が、前記各スプライン13,19間に噛み込まれることない。
したがって、前記フロント側シャフト8がリア側シャフト9に対して摺動する際に、シールリング16が摺動抵抗にならなくなることから荷重の増加を抑制でき、前記フロント側シャフト8とリア側シャフト9による衝撃吸収性能の低下を十分に抑制することができる。
一方、前記フロント側シャフト8とリア側シャフト9に、図2に示す位置から互い伸長する方向(図4の矢印方向)へ過度な入力荷重が作用すると、前記フロント側シャフト8の第2チューブ11とリア側シャフト9に対して、雌スプライン13と雄スプライン19を介して互いに伸長方向への大きな移動力が働く。
そうすると、図4に示すように、前記雌スプライン13と雄スプライン19が互いに軸方向へ摺動しつつ前記第2チューブ11の内周面がリア側シャフト9の外周面に沿って摺動して両シャフト8、9がそれぞれ伸長方向へ移動する。
このとき、前記シールリング16は、図4に示すように、両シャフト8、9の相対的な左右軸方向の移動に伴って後端部が前記リテーナ部材20の保持部20bによって図中左方向へ押し出されて、内周部が前記リア側シャフト9の外周シール面9bを摺動しつつ雄スプライン19の一端部上に乗り上げる。
と同時に、前記リテーナ部材20の保持部20bの挿通孔20dの開口縁が雄スプライン形成部18の一端部外縁に形成された傾斜面18aに係止して両シャフト8、9の互いの伸長方向のそれ以上の移動を抑制する。
したがって、この場合も前記シールリング16は、雄スプライン19に近接する方向へ移動する形でリア側シャフト9の外周シール面9b上をスムーズに摺動する。このため、シールリング16が、前記各スプライン13,19間に噛み込まれることない。
したがって、前記フロント側シャフト8とリア側シャフト9との相対的な伸長移動によって摺動する際に、シールリング16が摺動抵抗にならなくなることから荷重の増加を抑制でき、前記フロント側シャフト8とリア側シャフト9による衝撃吸収性能の低下を十分に抑制することができる。
これに対して、前記従来の公報に記載された技術は、軸部材とチューブとを可断ピンによって結合して前記両者の軸方向の移動を規制するようになっており、例えば前述したように軸部材からチューブ方向へ過度な入力荷重が発生した際には、前記可断ピンを破断することによって衝撃を吸収するようになっているが、軸部材とチューブの伸長のみではなく短縮時にも前記可断ピンによって軸方向の衝撃の十分な吸収作用が得られなくなるおそれがある。
しかし、本実施形態では、従来のような可断ピンを全く用いずに、単に、主として前記両スプライン13、19の軸方向の摺動抵抗とシールリング16の摺動のみであるから、衝撃吸収性能の低下を十分に抑制できるのである。
また、前記挿通孔20dの開口縁が雄スプライン形成部18の傾斜面18aに係止して両シャフト8、9の互いの伸長方向の移動が規制された時点で、一旦、衝撃荷重が作用するもののさらに同一方向へ大きな荷重が作用する場合は、前記リテーナ部材20の外筒部20aが圧入用円筒面17から軸方向へ抜け出して両シャフト8,9の互いの伸長方向の移動を許容して衝撃荷重を吸収する。
さらに、前記リテーナ部材20は、フロント側シャフト8(第2チューブ11)の後端部側に設けられて、シールリング16の外端部を覆う形で保持していることから、該シールリング16の保持性が向上して車両の前輪側から跳ね上げられた土や泥水などの異物が両スプライン13,19間へ浸入するのを十分に阻止することができる。
特に、本実施形態では、従来技術のように、前記フロント側シャフト8とリア側シャフト9の間を、該両者8,9間の外周側にゴムブーツを被嵌してシールするのではなく、フロント側シャフト8(第2チューブ11)の内周面に形成されたシール収容溝15内に嵌着固定されたシールリング16によってシールするようにしたため、動力伝達軸の小径化が図れる。
しかも、複数のブーツバンドなども不要になることから、部品点数を削減することができ、この結果、コストの低減化が可能になる。
また、前記リテーナ部材20は、前記シール収容溝15の開口部15bを閉塞していることから、前記シールリング16を内側壁面15aと相まって安定に保持できる。したがって、シールリング16の良好なシール性能を維持できると共に耐久性の向上が図れる。
なお、このリテーナ部材20は、前記フロント側シャフト8の短縮移動時には、保持部20bの挿通孔20dがリア側シャフト9の外周面に摺動することなく移動するようになっていることから、前記フロント側シャフト8の摺動抵抗にならない。
〔第2実施形態〕
図5は本発明の第2実施形態を示し、前記第2チューブ11の後端部11aの後端縁から内周面の奥まった位置にシール収容溝15が形成され、このシール収容溝15の外側部に円環状のリテーナ収容溝21が形成されている。また、該リテーナ収容溝21の内部に、拡縮方向へ弾性変形可能なリテーナ部材22が保持されている。
前記第2チューブ11の後端部11aの後端開口11cは、外側の内周面が均一系の円環面に形成されていると共に、この円環面から内側の内周面11dが外側からリテーナ収容溝21方向に掛けて漸次縮径状のテーパ状に形成されている。
前記リテーナ収容溝21は、前記シール収容溝15の外側に連続的に配置されて、内径がシール収容溝15よりも大径に形成されていると共に、その軸方向巾Wが前記リテーナ部材22の巾W1よりも大きく形成されている。
前記リテーナ部材22は、拡縮変形可能なばね力を有する金属材によって円環状に形成されていると共に、円周方向の所定位置に、例えば傾斜状の切断面が形成されて該対向する一対の切断面を介して拡径と縮径方向へ弾性変形可能になっている。このリテーナ部材22は、内径が拡径変形した状態で前記リア側シャフト9の外周シール面9bの外径よりも大きく形成されている。
また、このリテーナ部材22は、図5に示すように、リテーナ収容溝21に弾性的に収容保持されている際には、環状内側面22aによって前記シールリング16の他端部に当接支持するようになっている。
したがって、リテーナ部材22をリテーナ収容溝21内に収容するには、予め前記シールリング16をシール収容溝15内に収容保持しておいた状態で、前記リテーナ部材22を持って前記第1シャフト11の後端開口11cから円環面内に平行に挿入する。ここからシールリング16の外側面22bをリテーナ収容溝21方向へ押し込むと、内側外周縁が前記テーパ状の内周面11dに摺接しながら内方への押圧力が作用する。このため、リテーナ部材22は、自身の拡径方向の弾性力に抗して縮径変形しながら移動し、リテーナ収容溝21内に嵌入すると弾性復帰力によって拡径変形して外周面がリテーナ収容溝21の内底面に弾接する。このとき、リテーナ部材22の内側面が、前記シールリング16の外周部に当接して支持する。
以上のように、本実施形態では、第1実施形態と同様な作用効果が得られ、特に、リテーナ部材22を第2チューブ11の内周側のリテーナ収容溝21内に収容保持したことから、第1実施形態と同じく動力伝達軸の外径を小径化できると共に、部品点数の削減が図れる。
しかも、前記リテーナ部材22を、リテーナ収容溝21に対してワンタッチで収容固定することができることから、第1実施形態のような圧入固定したり、圧入後に保持部20bを内方へ折曲変形する場合に比較して組付作業が容易になる。
〔第3実施形態〕
図6は第3実施形態を示し、シール部材とリテーナ部材を一体化したもので、いわゆるオイルシールのような構造としたものである。
すなわち、前記第2チューブ11は、後端部11aの内周面にほぼ均一径のシール収容溝15が形成されている。
前記リテーナ部材23は、ほぼコ字形状に折曲形成されて、前記シール収容溝15の内周面に圧入される外筒部23aと、該外筒部23aの外端縁から軸直角方向へ折曲形成された保持部23bと、から構成されている。前記外筒部23aは、外径が前記シール収容溝15の内周面の内径よりも僅かに大きく形成されて圧入代が確保されている。
一方、前記保持部23bは、中央部に挿通孔23cが貫通形成され、外挿通孔23cの内径Rが前記雌スプライン形成部18の外径とほぼ同一に形成されている。
前記シール部材24は、断面ほぼ逆コ字形状に形成されて、外周部24aが前記外筒部23aと保持部23bの各内面に例えば加硫接着などによって結合されていると共に、内周部24bの内周面やシールリップ24cが前記リア側シャフト9の外周シール面9bに当接している。
なお、前記シール収容溝15の内側壁面15aと該内側壁面15aに対向するリテーナ部材23とシール部材24の各前端面との間には、前記リテーナ部材23の圧入時の干渉防止する環状空間CSが形成されている。
本実施形態の前記構成によれば、第1実施形態と同様な作用効果が得られると共に、特に、リテーナ部材23もシール収容溝15内に収容したことから動力伝達軸のさらなる小径化が図れる。
しかも、リテーナ部材23とシール部材24を一体化したことから、この点でも部品点数の削減が図れてコストの低減化が図れると共に、全体の前記シール収容溝15内への組み込み作業がワンタッチで行うことが可能になる。
〔第4実施形態〕
図7は第4実施形態を示し、前記リア側シャフト9の外周シール面9bの軸方向ほぼ中央位置に、シールリング25を嵌着収容した円環状のシール収容溝26が形成されていると共に、第2チューブ11の後端部11aの内周側の内径が均一な円筒面14にリテーナ部材27が圧入固定されている。
このリテーナ部材27は、ほぼ円筒状に形成されて、先端部27aがテーパ状の外周面27cと内周面27dによって先端先細り状に形成されていると共に、前記円筒面14に圧入された状態では、内周面27aによって前記シールリング25の外周部を圧接してシールリング25をシール収容溝26の底面間で圧縮変形するようになっている。
したがって、各構成部材を組み付けるには、まず、前記シールリング25をシール収容溝26内に嵌着固定した状態で前記リア側シャフト9を第2チューブ11内に両スプライン13,19を介して所定位置まで挿通する。
その後、前記リテーナ部材27を、先端部27a側から前記円筒面14に圧入して行くと、前記先端部27aがテーパ状の外周面27cによって後端部11aの後端開口の孔縁との干渉を避けると共に、テーパ状の内周面27dが前記シールリング25の外周部との干渉を避けながら進出させて図7に示す所定位置まで圧入させる。
これによって、リテーナ部材27の組付作業が簡単に終了すると共に、シールリング25をシール収容溝26内において適度な圧縮力によって保持することが可能になることから、良好なシール性能を確保できる。
そして、図8の矢印で示すように、前記フロント側シャフト8とリア側シャフト9に互いに圧縮方向の過度な入力荷重が発生した場合は、フロント側シャフト8を介してリテーナ部材27が、前記シールリング25の外周部を摺動して離間する方向へ移動するだけとなる。このため、衝撃吸収性能の低下をさらに十分に抑制することが可能になる。
本実施形態では、シールリング25とリテーナ部材27の外径を可及的に小さくできるので、動力伝達軸の小径化を促進できる。
特にシールリング25は、断面積を小さくできるので製造コストも低減できる。
また、リテーナ部材27の構造も単に円筒状に形成するだけであるから、構造が簡素化されて製造も容易である。
〔第5実施形態〕
図9は第5実施形態を示し、基本構造は第1実施形態と同様であるが、異なるところは、前記リア側シャフト9を円筒状ではなく中実状に形成したものである。他の構成は、第1実施形態と同様であるから、同様の作用効果が得られる。
〔第6実施形態〕
図10は第6実施形態を示し、これも基本構造は第1実施形態と同じであるが、主としてリテーナ部材20の形状を変更したものである。
すなわち、前記第2チューブ11の後端部11aの外周面に円環状の係止溝30が形成されている。この係止溝30は、横断面ほぼ矩形状に形成されて、底面30aの後端縁から立ち上がった後端壁面30bは軸直角方向へほぼ垂直面として形成されているのに対して、底面30aの前端縁から立ち上がった前端壁面30cは底面30aから前方へ傾斜テーパ状に形成されて逃げ面として形成されている。
一方、前記リテーナ部材20は、第1実施形態のものと同様に、鉄系金属プレートを横断面ほぼコ字形状に折曲形成されて、円筒状の外筒部20aと、第2チューブ11の軸直角方向に折曲された円盤状の保持部20bと、を備え、さらに前記外筒部20aの前端部に前記係止溝30に係止する複数の係止爪20eが一体に形成されている。
この各係止爪20eは、図11に示すように、円周方向の等間隔位置に軸方向に沿って形成された複数の切り込み部20fによって互いに分離形成されて、前記リテーナ部材20を第2チューブ11の後端部11aに軸方向から嵌合した後に、前記外筒部20aの前端縁から内方へ折曲変形させることによって前記係合溝30に係止させるようになっている。
したがって、この実施形態では、リテーナ部材20を第2チューブ11の後端部11aに固定するには、前記外筒部20aを前記後端部11aの外周に圧入するのではなく、前記各係止爪20eが予め真っ直ぐに開かれた状態で前記外筒部20aを後端部11aの外周に軸方向から嵌合させた後に、前記各係止爪20eをプレスなどによって内方へ折曲変形(かしめる)ことによって、前記係止溝30の後端壁面30bの外周縁に係止させて固定する。
このため、前記リテーナ部材20を、第2チューブ11の後端部11aに対してさらにする強固に固定することができる。
また、前記各係止爪20eを内方へ折曲変形させる際には、前記係止溝30の前端壁面30cが逃げ面となることから、斯かる折曲変形(かしめ)作業が容易になる。
他の構成は、第1実施形態と同じであるから、同様な作用効果が得られることは勿論である
〔第7実施形態〕
図12は第7実施形態を示し、前記リア側シャフト9の外周シール面9bが、前記雄スプライン形成部18の外周縁の近傍に該外周縁から摺動面9c方向へなだらかな傾斜面9dに形成されている。
リテーナ部材20は、第1実施形態と同じく、断面ほぼコ字形状に形成されて、外筒部20aと保持部20bとからなり、外筒部20aの外周面が前記第2チューブ11の後端部11aの内周に形成された円筒面14の内周面に圧入固定されている。
シール部材としてのシールリング16は、リア側シャフト9の先端部9aが第2チューブ11内に所定量挿通されて雌雄スプライン13,19がスプライン係合している正常な組付の状態時には、外周部が前記リテーナ部材20の内周側に弾接保持されていると共に、内周部が前記外周シール面9bの傾斜面9dに弾接して圧縮変形している。
したがって、この実施形態も第1実施形態と同様な作用効果が得られると共に、特に、前記リテーナ部材20の外径を小さくしたので、動力伝達軸の外径をさらに小さくすることが可能になる。
また、図13の矢印で示すように、前記フロント側シャフト8とリア側シャフト9に、短縮方向へ過度な入力荷重が発生すると、前記シールリング16は、内周部が前記傾斜面9d上を摺動面9c方向へ摺動して外周シール面9bとの間が離間した状態になる。
このため、シールリング16による摺動抵抗が十分に低減できることから衝撃吸収作用が良好になる。
〔第8実施形態〕
図14は第8実施形態を示し、基本構造は第1実施形態とほぼ同一であるが、異なるところは、リテーナ部材20の保持部20bの内周部が後方へ膨出形成され、該膨出部20gの内部にシールリング16が収容保持されているところにある。
前記リテーナ部材20は、プレス成形によって一体に形成されており、第2チューブ11の後端部11aの圧入用円筒面17に圧入固定される外筒部20aと、該外筒部20aの軸方向ほぼ中央位置から軸直角方向に折曲形成された円環状の保持部20bと、を有している。
前記保持部20bは、前述した内周部の膨出部20gが段差小径状に階段状に折曲形成されて、この内部と前記後端部11aの後端面11bとの間に前記シールリング16を挟持状態に収容保持している。
前記シールリング16は、第1実施形態のものなどに比較して小径に形成されて、内周部が前記リア側シャフト9の外周シール面9bに弾接している。
したがって、この実施形態も第1実施形態と同様な作用効果が得られることは勿論のこと、リテーナ部材20を単にプレス成形によって折曲形成されて、該リテーナ部材20を利用してシールリング16を直接保持したことから、前記後端部11a内周面の切削加工が不要になる。
このため、製造作業が容易になり、コストの低減化が図れる。
〔第9実施形態〕
図15は第9実施形態を示し、基本構成は第1実施形態と同じであるが、第2チューブ11の後端部11aの後端面11bに円筒状の圧入用溝31が切欠形成されている。この圧入用溝31は、その深さがリテーナ部材20の外筒部20aの軸方向長さよりも僅かに大きく形成されて、該外筒部20aが係入可能になっていると共に、内周側の壁面31aの先端側が開口端に向かって拡径したテーパ面31bが形成されている。
前記リテーナ部材20は、外周部20aの外径が第1実施形態のものよりも小さく形成されて、該外筒部20aが前記圧入用溝31に軸方向から前記テーパ面31bに案内されつつ奥まで係入された際に、外筒部20aの内周面が前記テーパ面31bより先端側の壁面30aに圧入されて全体が固定されるようになっている。
シール部材であるシールリング16は、第1実施形態と同じくシール収容溝15の内に収容保持されて、リテーナ部材20の保持部20bの内端面とシール収容溝15の内側壁面15aとの間に挟持状態に保持されていると共に、シール収容溝15の外周面とリア側シャフト9の外周シール面9bとの間で圧縮変形されながら保持されている。
したがって、第1実施形態と同様な作用効果が得られるが、さらにリテーナ部材20の外径が小さいことから動力伝達軸の外径を第1実施形態のものよりも小径化できる。
本発明は、前記各実施形態の構成に限定されるものではなく、例えば動力伝達軸として船舶用などに適用することができ、また、シール収容溝の深さやシールリングの断面径の大きさなどは動力伝達軸の適用対象や外径の大きさなどによって任意に設定することができる。
前記実施形態から把握される発明の技術的思想について以下に説明する。
〔請求項a〕請求項8に記載の動力伝達軸において、
前記軸部材は、前記雄スプラインが形成された雄スプライン形成部と、該雄スプライン形成部よりも他端側に形成され、前記シール部材が当接可能な外周シール面を備えたことを特徴とする動力伝達軸。
この発明によれば、前記軸部材と筒状部材が互いに短縮移動した際に、前記シール部材は雄スプライン側ではなく前記外周シール面側に移動することからシール部材の各スプライン間への噛み込みが抑制される。
〔請求項b〕請求項aに記載の動力伝達軸において、
前記リテーナ部材は、前記軸部材が挿通する挿通孔を有し、
該挿通孔の内径は、少なくとも前記外周シール面の外径よりも大きく形成されていることを特徴とする動力伝達軸。
この発明によれば、前記軸部材と筒状部材は、前記リテーナ部材の挿通孔を介して互いにスプライン摺動されることからリテーナ部材が妨げとなることはない。
〔請求項c〕請求項8に記載の動力伝達軸において、
前記シール部材とリテーナ部材は一体的に形成されて、該両者が前記シール収容部内に収容されていることを特徴とする動力伝達軸。
シール部材とリテーナ部材が一体に形成されていることから、部品点数の増加が抑制できる。
〔請求項d〕請求項bに記載の動力伝達軸において、
前記リテーナ部材は、前記両スプラインが互いに軸方向へ摺動した際に、前記挿通孔の孔縁が前記軸部材の外周面に形成された雄スプライン形成部に軸方向から係止することを特徴とする動力伝達軸。
この発明によれば、前記挿通孔の孔縁が係止することで、それ以上の前記軸部材と筒状部材の互いの抜けだしを抑制できる。
〔請求項e〕請求項dに記載の動力伝達軸において、
前記リテーナ部材の挿通孔の内径は、前記軸部材の雄スプラインの歯先の内径よりも小さいことを特徴とする動力伝達軸。
この発明によれば、前記挿通孔と歯先の内径差を利用して軸部材と筒状部材との互いに抜けだしを抑制できる。
〔請求項f〕請求項aに記載の動力伝達軸において、
前記リテーナ部材は、前記筒状部材の内周面に自身の弾性変形力によって嵌着固定されていることを特徴とする動力伝達軸。
この発明によれば、リテーナ部材の拡縮径方向の弾性変形を利用して取り付けることができるので、その取り付け作業が容易になる。
〔請求項g〕請求項fに記載の動力伝達軸において、
前記筒状部材の内周面に、前記リテーナ部材が嵌着固定される凹状の嵌着溝が形成されていることを特徴とする動力伝達軸。
リテーナ部材を嵌着溝に嵌着固定することによって該リテーナ部材の位置決め性が良好になる。
〔請求項h〕請求項8に記載の動力伝達軸において、
前記リテーナ部材は、前記筒状部材の内周面と前記シール部材の外周面との間に配置されている一方、
前記シール部材は、前記軸部材の外周面とリテーナ部材の内周面との間に圧縮状態で配置されていることを特徴とする動力伝達軸。
この発明では、シール部材の外径を小さくすることが可能になる。
〔請求項i〕請求項8に記載の動力伝達軸において、
車両に取り付けられた際に、前記筒状部材の他端側が車両の後方側となるように配置されていることを特徴とする動力伝達軸。
両スプライン間への異物の浸入を抑制できる。
〔請求項j〕請求項9に記載の動力伝達軸において、
前記第1の軸部材の係合部は雄スプラインによって構成され、
前記第1の軸部材は、軸方向の一端側に前記雄スプラインが形成された雄スプライン形成部と、該雄スプライン形成部よりも他端側に形成された一般部とを有し、
前記リテーナ部材の挿通孔の内径は、少なくとも前記一般部の外径よりも大きく形成されていることを特徴とする動力伝達軸。
この発明によれば、リテーナ部材の挿通孔の内径が一般部よりも大きいことから、第1の軸部材と第2の軸部材の短縮方向の摺動時における移動の妨げにならない。
1…第1シャフト
2…第2シャフト
8…フロント側シャフト(第2の軸部材・筒状部材)
9…リア側シャフト(第1の軸部材・軸部材)
9b…外周シール面
9a…前端部(一端部)
10…第1チューブ
11…第2チューブ
11a…後端部()
11b…後端面
12…雌スプライン形成部
13…雌スプライン(係合部)
15・26…シール収容溝(シール収容部)
15a…内側端面
16・25…シールリング(シール部材)
17…圧入用円筒面
18…雄スプライン形成部
19…雄スプライン(係合部)
20・22・23・27…リテーナ部材
24…シール部材

Claims (8)

  1. 第1の軸部材であって、前記第1の軸部材の軸方向において、前記第1の軸部材の一端部から順に、前記第1の軸部材の外周面に形成された雄スプラインと、大径部と、小径部と、を有し、
    前記大径部は、前記雄スプラインが形成された雄スプライン形成部の外径よりも小径に形成され、
    前記小径部は、前記大径部の外径よりも小径に形成された、
    前記第1の軸部材と、
    第2の軸部材であって、前記第1の軸部材の前記雄スプラインから前記大径部までが挿入され、前記第2の軸部材の回転軸線方向において、前記第2の軸部材の一端部から順に、シール収容部と、雌スプラインと、を有し、
    前記雌スプラインは、前記第2の軸部材の内周面に形成され、前記第1の軸部材の前記雄スプラインが挿入されて、前記第2の軸部材の回転軸線の方向において、前記雄スプラインと移動可能に係合し、
    前記シール収容部は、前記第2軸部材の回転軸線に対する径方向において、前記第1の軸部材の前記大径部と対向する位置に設けられ、前記雌スプラインの内径よりも大きな内径に形成された、
    前記第2の軸部材と、
    前記シール収容部と前記大径部との間に収容されたシール部材と、
    前記第2の軸部材の一端部に固定されて、前記シール部材の一部を支持するリテーナ部材と、
    を備えたことを特徴とする動力伝達軸。
  2. 請求項1に記載の動力伝達軸において、
    前記シール収容部は、第2の軸部材の一端部の内周面に形成された円環溝によって形成され、該円環溝の径方向壁面と、前記リテーナ部材に有する保持部と、によって隔成されていることを特徴とする動力伝達軸。
  3. 請求項1に記載の動力伝達軸において、
    前記第1の軸部材は、前記雄スプライン形成部よりも他端側に形成されて、前記シール部材の内周部が当接する外周シール面と、を有することを特徴とする動力伝達軸。
  4. 請求項3に記載の動力伝達軸において、
    前記リテーナ部材は、前記第1の軸部材が挿通する挿通孔を有すると共に、該挿通孔の内径は、前記第1の軸部材の少なくとも前記外周シール面の外径よりも大きく形成されていることを特徴とする動力伝達軸。
  5. 請求項1に記載の動力伝達軸において、
    前記シール部材と前記リテーナ部材は、一体に形成されていると共に、該両者が前記シール収容部内に収容保持されていることを特徴とする動力伝達軸。
  6. 請求項3に記載の動力伝達軸において、
    前記リテーナ部材は、第1の軸部材と第2の軸部材が前記雌雄スプラインの軸方向への移動を介して短縮方向へ摺動した際に、前記雄スプライン形成部に軸方向から衝接することを特徴とする動力伝達軸。
  7. 請求項1に記載の動力伝達軸において、
    前記第2の軸部材の一端部側が、車両の後方側の位置となるように配置したことを特徴とする動力伝達軸。
  8. 軸方向の一端部から順に、外周面に形成された雄スプラインと、大径部と、小径部とを有する軸部材であって、
    前記大径部は、前記雄スプラインが形成された雄スプライン形成部の外径よりも小径に形成され、
    前記小径部は、前記大径部の外径よりも小径に形成された、
    軸部材と、
    前記軸部材の前記雄スプラインから前記大径部までが内部に挿入され、前記軸部材の回転軸線方向において、前記軸方向の一端部から順に、シール収容部と、雌スプラインと、を有する筒状部材であって、
    内部に挿入された前記雄スプラインが前記雌スプラインに移動可能に係合して前記軸部材が結合され、
    前記シール収容部は、前記軸部材の回転軸線に対する径方向において、前記軸部材の前記大径部と対向する位置に設けられ、前記雌スプラインの内径よりも大きな内径に形成された、
    前記筒状部材と、
    前記軸部材と筒状部材が互いに軸方向へ摺動した際に、スプライン係合状態にある前記雌雄スプラインが軸方向へ摺動して軸方向の衝撃を吸収する衝撃吸収部と、
    前記シール収容部の内部に収容され、前記両スプライン間への異物の浸入を抑制するシール部材と、
    を備えたことを特徴とする動力伝達軸。
JP2015055776A 2015-03-19 2015-03-19 動力伝達軸 Active JP6497997B2 (ja)

Priority Applications (4)

Application Number Priority Date Filing Date Title
JP2015055776A JP6497997B2 (ja) 2015-03-19 2015-03-19 動力伝達軸
CN201610059014.XA CN105987085B (zh) 2015-03-19 2016-01-28 动力传递轴
US15/060,821 US10767705B2 (en) 2015-03-19 2016-03-04 Propeller shaft
DE102016204070.7A DE102016204070A1 (de) 2015-03-19 2016-03-11 Kraftübertragungswelle

Applications Claiming Priority (1)

Application Number Priority Date Filing Date Title
JP2015055776A JP6497997B2 (ja) 2015-03-19 2015-03-19 動力伝達軸

Publications (2)

Publication Number Publication Date
JP2016176496A JP2016176496A (ja) 2016-10-06
JP6497997B2 true JP6497997B2 (ja) 2019-04-10

Family

ID=56853268

Family Applications (1)

Application Number Title Priority Date Filing Date
JP2015055776A Active JP6497997B2 (ja) 2015-03-19 2015-03-19 動力伝達軸

Country Status (4)

Country Link
US (1) US10767705B2 (ja)
JP (1) JP6497997B2 (ja)
CN (1) CN105987085B (ja)
DE (1) DE102016204070A1 (ja)

Families Citing this family (16)

* Cited by examiner, † Cited by third party
Publication number Priority date Publication date Assignee Title
JP6367659B2 (ja) * 2014-09-18 2018-08-01 日立オートモティブシステムズ株式会社 動力伝達軸及び車両用プロペラシャフト
EP3135939A1 (en) * 2015-08-25 2017-03-01 Tirsan Kardan Sanayi Ve Ticaret Anonim Sirketi An additional embodiment in cardan shaft sliding group
CN113357275B (zh) * 2016-10-11 2024-03-08 日立安斯泰莫株式会社 驱动轴
DE102017100356A1 (de) * 2017-01-10 2018-07-12 Gkn Driveline Deutschland Gmbh Wellenverbindung
DE102018106484B4 (de) 2018-03-20 2025-10-09 Rolls-Royce Deutschland Ltd & Co Kg Getriebefan-Triebwerk und Keilwellenanordnung
JP2020060219A (ja) * 2018-10-06 2020-04-16 トヨタ自動車株式会社 車両用プロペラシャフトのスプライン伸縮軸
JP7441000B2 (ja) * 2018-11-05 2024-02-29 日立Astemo株式会社 プロペラシャフトおよびその製造方法
JP7147509B2 (ja) * 2018-11-22 2022-10-05 日本精工株式会社 トルク伝達軸
FR3095841B1 (fr) * 2019-05-06 2021-04-30 Safran Trans Systems Gorge de joint rapportée pour accouplement par cannelures
DE102019120225A1 (de) * 2019-07-26 2021-01-28 Schaeffler Technologies AG & Co. KG Ventil und Vorrichtung zur Regelung von Drücken eines Strömungsmittels mit dem Ventil sowie Vorrichtung zur Sicherung des Ventils in dem Getriebebauteil
US11891112B2 (en) * 2020-06-30 2024-02-06 Steering Solutions Ip Holding Corporation Intermediate shaft axial retention device
CN112922953B (zh) * 2021-01-26 2021-11-19 中国航发沈阳发动机研究所 一种传动轴轴向限位结构及其组装方法
DE102021204654A1 (de) 2021-05-07 2022-11-10 Zf Friedrichshafen Ag Spannvorrichtung, Getriebeanordnung sowie Fahrzeug
CN114233742B (zh) * 2021-12-16 2023-03-24 北京动力机械研究所 一种基于柔性花键连接的分段轴传动结构
CN119844542A (zh) * 2023-10-17 2025-04-18 中国航发商用航空发动机有限责任公司 航空发动机附件传动系统
CN120487781B (zh) * 2025-07-21 2025-10-31 万向钱潮股份公司 一种传动轴及车辆

Family Cites Families (25)

* Cited by examiner, † Cited by third party
Publication number Priority date Publication date Assignee Title
US3123990A (en) * 1964-03-10 Lubrication arrangement for tele-
US1541007A (en) * 1921-07-18 1925-06-09 William H Thiemer Slip-end spline connection for universal joints and the like
US1496236A (en) * 1921-11-07 1924-06-03 Cleveland Universal Parts Comp Lubricator for shafts
US1973702A (en) * 1933-03-31 1934-09-18 Frank V Cooke Slip joint
US2072090A (en) * 1935-10-10 1937-03-02 Borg Warner Double universal joint assembly
GB1585177A (en) * 1976-09-04 1981-02-25 Gkn Transmissions Ltd Splined joints
JP2521695Y2 (ja) * 1991-08-06 1996-12-25 株式会社松井製作所 プロペラシャフト
JP2571501Y2 (ja) * 1992-03-13 1998-05-18 光洋精工株式会社 ドライブシャフト
JPH061854U (ja) * 1992-06-15 1994-01-14 光洋精工株式会社 ドライブシャフト装置
JPH0659630U (ja) * 1993-01-29 1994-08-19 光洋精工株式会社 ドライブシャフト
JP3670437B2 (ja) 1997-03-18 2005-07-13 株式会社日立製作所 衝撃吸収可能な動力伝達装置
JPH11230184A (ja) * 1998-02-17 1999-08-27 Nippon Seiko Kk スプライン結合の抜止め
DE19813153C2 (de) 1998-03-19 2000-01-27 Montblanc Simplo Gmbh Füllfederhalter
DE60201644T2 (de) * 2001-08-22 2005-03-24 Dana Corp., Toledo Gleitverbindung mit Druckausgleichsanordnung
EP1286067B1 (en) * 2001-08-22 2004-10-20 Dana Corporation Pressure regulator assembly for use with a slip joint in a driveshaft assembly
FR2830912B1 (fr) * 2001-10-15 2003-12-19 Nacam Dispositif d'accouplement en rotation de deux arbres telescopiques
US6863613B2 (en) * 2003-05-13 2005-03-08 Torque Traction Technologies, Inc. Sealed axially displaceable slip joint
CN101852251A (zh) * 2010-06-01 2010-10-06 杭州万向传动轴有限公司 一种空心轴叉花键副
JP5516157B2 (ja) * 2010-07-06 2014-06-11 株式会社ジェイテクト 動力伝達軸装置
JP2012051384A (ja) * 2010-08-31 2012-03-15 Nsk Ltd 車両ステアリング用伸縮軸
DE102013203762A1 (de) * 2013-03-06 2014-09-11 Schaeffler Technologies Gmbh & Co. Kg Steckwellensystem, Differenzial mit Steckwellensystem, Ölführung in Wellensystemen von Getrieben und Stahl-Ölfangschale für die Ölung einer Welle
JP6223757B2 (ja) 2013-09-12 2017-11-01 シャープ株式会社 カメラモジュール
US20150075897A1 (en) * 2013-09-12 2015-03-19 Sonnax Industries, Inc. Slip Yoke Assembly For Automotive Drive Train
DE102014008719B3 (de) * 2014-06-18 2015-07-16 Ifa-Technologies Gmbh Verbindungsanordnung zur Axialsicherung einer Welle-Nabe-Verbindung und Verfahren zur Axialsicherung einer Welle-Nabe-Verbindung
JP6367659B2 (ja) * 2014-09-18 2018-08-01 日立オートモティブシステムズ株式会社 動力伝達軸及び車両用プロペラシャフト

Also Published As

Publication number Publication date
JP2016176496A (ja) 2016-10-06
US20160273592A1 (en) 2016-09-22
US10767705B2 (en) 2020-09-08
CN105987085B (zh) 2021-02-09
DE102016204070A1 (de) 2016-09-22
CN105987085A (zh) 2016-10-05

Similar Documents

Publication Publication Date Title
JP6497997B2 (ja) 動力伝達軸
JP6367659B2 (ja) 動力伝達軸及び車両用プロペラシャフト
JP6208327B2 (ja) プロペラシャフト及びこのプロペラシャフトに用いられる等速ジョイント
JP2000309278A (ja) 弾性軸継手
JP2015148313A5 (ja)
JP2018009583A (ja) 動力伝達軸
JP2017194066A (ja) プロペラシャフト
JP6842803B2 (ja) プロペラシャフト
JP7021381B2 (ja) プロペラシャフト
JP4896670B2 (ja) 等速ジョイント構造
JP2018112290A (ja) 動力伝達装置
JP2013177949A (ja) 十字軸式自在継手及び自在継手用ヨークの製造方法
JP4901506B2 (ja) 等速自在継手
WO2009084355A1 (ja) クラッチレリーズ軸受およびこれを備えるクラッチレリーズ軸受装置
JP4422594B2 (ja) 自動車用衝撃吸収プロペラシャフト
JP4493020B2 (ja) 自動車用衝撃吸収プロペラシャフト
JP4493019B2 (ja) 自動車用衝撃吸収プロペラシャフト
JP2006117166A (ja) 自動車用衝撃吸収プロペラシャフト
JP2008261423A (ja) 伸縮式回転伝達軸
JP2019001394A (ja) 摺動式等速自在継手
JP5983812B2 (ja) 十字軸式自在継手
JP2009162318A (ja) クラッチレリーズ軸受
JP2018103654A (ja) 摺動式等速自在継手
JP2006151055A (ja) 自動車用衝撃吸収プロペラシャフト
WO2009093400A1 (ja) クラッチレリーズ軸受装置用玉軸受

Legal Events

Date Code Title Description
A621 Written request for application examination

Free format text: JAPANESE INTERMEDIATE CODE: A621

Effective date: 20170919

A977 Report on retrieval

Free format text: JAPANESE INTERMEDIATE CODE: A971007

Effective date: 20180614

A131 Notification of reasons for refusal

Free format text: JAPANESE INTERMEDIATE CODE: A131

Effective date: 20180717

A521 Request for written amendment filed

Free format text: JAPANESE INTERMEDIATE CODE: A523

Effective date: 20180912

TRDD Decision of grant or rejection written
A01 Written decision to grant a patent or to grant a registration (utility model)

Free format text: JAPANESE INTERMEDIATE CODE: A01

Effective date: 20190305

A61 First payment of annual fees (during grant procedure)

Free format text: JAPANESE INTERMEDIATE CODE: A61

Effective date: 20190312

R150 Certificate of patent or registration of utility model

Ref document number: 6497997

Country of ref document: JP

Free format text: JAPANESE INTERMEDIATE CODE: R150

S533 Written request for registration of change of name

Free format text: JAPANESE INTERMEDIATE CODE: R313533

R350 Written notification of registration of transfer

Free format text: JAPANESE INTERMEDIATE CODE: R350

R250 Receipt of annual fees

Free format text: JAPANESE INTERMEDIATE CODE: R250

R250 Receipt of annual fees

Free format text: JAPANESE INTERMEDIATE CODE: R250

R250 Receipt of annual fees

Free format text: JAPANESE INTERMEDIATE CODE: R250

R250 Receipt of annual fees

Free format text: JAPANESE INTERMEDIATE CODE: R250