JP6470908B2 - 継手構造、防液堤 - Google Patents

継手構造、防液堤 Download PDF

Info

Publication number
JP6470908B2
JP6470908B2 JP2014076688A JP2014076688A JP6470908B2 JP 6470908 B2 JP6470908 B2 JP 6470908B2 JP 2014076688 A JP2014076688 A JP 2014076688A JP 2014076688 A JP2014076688 A JP 2014076688A JP 6470908 B2 JP6470908 B2 JP 6470908B2
Authority
JP
Japan
Prior art keywords
joint
fixing body
bar
precast
blocks
Prior art date
Legal status (The legal status is an assumption and is not a legal conclusion. Google has not performed a legal analysis and makes no representation as to the accuracy of the status listed.)
Active
Application number
JP2014076688A
Other languages
English (en)
Other versions
JP2015197017A (ja
Inventor
松浦 正典
正典 松浦
Current Assignee (The listed assignees may be inaccurate. Google has not performed a legal analysis and makes no representation or warranty as to the accuracy of the list.)
Kajima Corp
Original Assignee
Kajima Corp
Priority date (The priority date is an assumption and is not a legal conclusion. Google has not performed a legal analysis and makes no representation as to the accuracy of the date listed.)
Filing date
Publication date
Application filed by Kajima Corp filed Critical Kajima Corp
Priority to JP2014076688A priority Critical patent/JP6470908B2/ja
Publication of JP2015197017A publication Critical patent/JP2015197017A/ja
Application granted granted Critical
Publication of JP6470908B2 publication Critical patent/JP6470908B2/ja
Active legal-status Critical Current
Anticipated expiration legal-status Critical

Links

Images

Landscapes

  • Joining Of Building Structures In Genera (AREA)

Description

本発明は、継手構造およびこれを有する構造体に関する。
継手の一つとして、定着体付き継手が知られている。図5は定着体付き継手11を用いた継手構造の例を水平方向の断面で示したものであり、定着体付き継手11を設けたコンクリート製のプレキャストブロック1同士を接続したものである。
定着体付き継手11は、プレキャストブロック1から突出した鉄筋11aの先端部に、鉄筋11aより幅の大きな定着体11bを設けたものである。図5では、一対のプレキャストブロック1がコンクリート等による目地2を挟んで配列され、両プレキャストブロック1の定着体付き継手11が上下方向(図の紙面法線方向に対応する)にラップした状態で目地2に埋設される。なお、目地2内には定着体付き継手11の他、補強筋15も配置される。
上記のように鉄筋11aの先端部に定着体11bを設けることで、特許文献1にも示されるように定着効果が高くなる利点がある。従って、定着体付き継手11を用いると通常の鉄筋を継手に用いる場合に比べラップ長が少なくて済み、プレキャストブロック1間の目地2の長さを短くできる。
特開2009−293289号公報
しかしながら、定着体付き継手11のかぶり厚さは、図5のAに示すように目地2の外面20から定着体11bまでの距離で定まり、定着体11bがない通常の鉄筋による継手では鉄筋までの距離となるのに比べて短くなる。従って、所定のかぶり厚さを確保するためには目地2を厚く形成する必要があり不経済となっていた。
特許文献1は梁の主筋の先端部に定着体を設けた構造について記載されているが、継手構造に関するものでなく、上記のような問題については考慮されていなかった。
本発明は、上記の問題に鑑みてなされたもので、定着体付き継手を用いた経済的な継手構造等を提供することを目的とする。
前述した課題を解決するための第1の発明は、同じ部材厚のプレキャストブロック間の継手構造であって、前記プレキャストブロックは、前記プレキャストブロックから突出する棒材の先端部に前記棒材より幅の大きな定着体を設けた定着体付き継手を有し、一対の前記プレキャストブロックが目地を挟んで配列され、前記目地には、それぞれの前記プレキャストブロックの前記定着体付き継手が埋設され、それぞれの前記プレキャストブロックの前記定着体付き継手は、前記棒材の途中の始点から前記定着体にかけて、前記目地の前記始点に最も近い外面から前記目地の内側に向かう方向に折り曲げられ、一方の前記プレキャストブロックの前記定着体付き継手の前記棒材の当該プレキャストブロックから前記始点までの部分と、他方の前記プレキャストブロックの前記定着体付き継手の前記棒材の当該プレキャストブロックから前記始点までの部分とが、前記棒材と直交しかつ前記外面と平行な方向から見たときに重複して配置されていることを特徴とする継手構造である。
これにより、目地の外面から定着体までの距離を大きくでき、定着体付き継手のかぶり厚さを大きくできる。従って、前記したように目地を厚くせずとも所定のかぶり厚さを確保でき経済的である。さらに定着体が目地の深くに埋め込まれることになるから、定着効果もより大きくなる。
前記定着体と前記外面との距離は、目地を厚くせずとも所定のかぶり厚さを確保する観点から前記棒材の前記始点と前記外面との距離以上である必要がある。
これにより、定着体付き継手のかぶり厚さが、目地の外面から定着体付き継手の棒材までの距離となり、定着体の無い通常の継手と変わらないかぶり厚さとできる。
前記目地内に、前記棒材と直交しかつ前記外面と平行な方向の補強筋が、前記定着体付き継手の近傍で、前記プレキャストブロックを配列した配列方向に沿って複数設けられ、前記棒材の前記始点から前記定着体の先端までの部分が、隣り合う前記補強筋の前記配列方向のピッチ内に収まることが望ましい。例えば、前記棒材の折り曲げ角度は20度以下とする。
このように、本発明では定着体付き継手を少し曲げるだけでよく、他の補強筋等との干渉も少なく、配筋作業の妨げにもならない。
前記目地内に、前記棒材と直交しかつ前記外面と平行な方向の補強筋が、前記定着体付き継手の近傍で、前記プレキャストブロックを配列した配列方向に沿って複数設けられ、前記棒材の前記プレキャストブロックから前記始点までの部分が、前記補強筋よりも前記外面に近い位置に配置されることが望ましい。
このように、定着体付き継手が目地の最外縁にある場合には、定着体付き継手までのかぶり厚さが目地の厚さの設計時に重要となり、定着体付き継手を折り曲げることが特に有効となる。
第2の発明は、第1の発明の継手構造を、周方向に隣り合う前記プレキャストブロックの間の前記目地に有する防液堤である。
本発明により、定着体付き継手を用いた経済的な継手構造等を提供することができる。
継手構造10を示す図 定着体付き継手11を示す図 LNGタンク100を示す図 継手構造10aを示す図 定着体付き継手11による継手構造を示す図
以下、図面に基づいて本発明の好適な実施形態について詳細に説明する。
[第1の実施形態]
図1は、本発明の第1の実施形態に係る継手構造10を示す図であり、図5と同様、継手構造10の水平方向の断面を示したものである。
本実施形態の継手構造10は、図5に示した継手構造に対し、定着体付き継手11を折り曲げた点で異なる。すなわち、定着体付き継手11は、鉄筋11a(棒材)の途中の始点111から先端部の定着体11bにかけて、始点111に最も近い目地2の外面20から、目地2の内側へ向かう方向へと折り曲げられる。
なお、補強筋15は、定着体付き継手11の近傍で、鉄筋11aに直交し、かつ目地2の外面と平行な方向(図の紙面法線方向に対応する)に配置される。補強筋15は、プレキャストブロック1(以下、ブロックということがある)の配列方向(図の左右方向に対応する)に複数設けられる。
図1の例では、定着体付き継手11の鉄筋11aのブロック1から始点111までの部分が、補強筋15よりも外面20に近い位置に配置される。すなわち、定着体付き継手11は目地2の最外縁に配置されている。
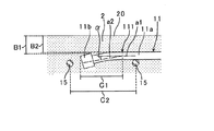
図2は定着体付き継手11を折り曲げる際の条件を示す図である。本実施形態では、定着体付き継手11の鉄筋11aを、目地2の外面20から定着体11bまでの距離B1が、当該外面20から始点111までの距離B2以上となるように折り曲げることで、定着体付き継手11のかぶり厚さを、目地2の外面20から鉄筋11aまでの距離B2とできる。
本実施形態では定着体付き継手11が目地2の最外縁にあるので、上記の距離B2が目地2のかぶり厚さの最小値となり、距離B2が所定の値となるように目地2の厚さを決定できる。
また、鉄筋11aの始点111から定着体11bの先端までの部分C1は、例えばブロック1の配列方向に隣り合う補強筋15のピッチC2内に収まるように配置される。さらに、鉄筋11aの折り曲げ角度、すなわち、始点111直前の鉄筋11aの方向a1に対し始点111から定着体11bに向かう方向a2がなす角度αは、例えば10度前後など、20度以下とするとよい。
上記のように、定着体付き継手11は少し曲げるだけとすることで、他の補強筋15等との干渉も少なく配筋作業の妨げにもならない。
この継手構造10を構築するには、上記のように折り曲げた定着体付き継手11を設けた一対のブロック1を、図1に示すように対向配置した後、補強筋15等の配筋を行い、ブロック1間にコンクリートを打設して目地2を形成すればよい。
図3は継手構造10を含む構造体の例であるLNG(Liquefied Natural
Gas;液化天然ガス)タンク100を示す図である。LNGタンク100は、LNGを貯蔵する地上式のタンクであり、底版50に防液堤30を設け、その内側に金属板等による内槽(不図示)と外槽40を設置したものである。
防液堤30は、内槽や外槽40が破損等した場合にもLNGの外部への液漏れを防ぐために設けられる。本実施形態では、この防液堤30を、ブロック1を防液堤30の周方向に並べるとともに鉛直方向へと積み上げて構築する。その際、ブロック1の定着体付き継手11を前記のように折り曲げたうえで隣り合うブロック1の間に目地2を形成し、これにより継手構造10が構築される。
図1では継手構造10として水平方向にブロック1を配列した場合を示したが、目地2を挟んで鉛直方向にブロック1を配列する場合でも同様の継手構造10が構築される。なお、防液堤30では鉛直方向および周方向の緊張材(不図示)によりプレストレスが導入され、ブロック1では緊張材を通すためのシース管(不図示)なども設けられる。
以上説明したように、本実施形態によれば、定着体付き継手11を折り曲げることで、目地2の外面20から定着体11bまでの距離を大きくでき、定着体付き継手11のかぶり厚さを大きくできる。従って、目地2を厚くせずとも所定のかぶり厚さを確保でき経済的である。さらに定着体11bが目地2の深くに埋め込まれることになるから、定着効果もより大きくなる。
本実施形態では、定着体付き継手11を、定着体11bと外面20との距離B1が、鉄筋11aの始点111と外面20との距離B2以上となるように折り曲げることで、定着体付き継手11のかぶり厚さが外面20から鉄筋11aまでの距離となり、定着体11bの無い通常の継手と変わらないかぶり厚さとできる。
本実施形態では、定着体付き継手11が目地2の最外縁にあり、定着体付き継手11のかぶり厚さが目地2のかぶり厚さの最小値となるので、目地2の厚さの設計時に重要となり、定着体付き継手11を折り曲げることが特に有効となる。
また、本実施形態では、定着体付き継手11の鉄筋11aを折り曲げる始点111から定着体11bまでの部分を補強筋15のピッチ内に収め、折り曲げ角度を20度以下とすることで、定着体付き継手11を少し曲げるだけとし、他の補強筋15等との干渉も少なく配筋作業の妨げにもならない。
しかしながら、本発明は上記に限ることはない。例えば本実施形態では継手構造10を有する構造体の例としてLNGタンク100を示したが、これに限らず、継手構造10は各種の構造体に適用することができる。その例として、プレキャストブロックによる柱部材同士の接続、梁部材同士の接続、あるいは柱部材と梁部材の接続等にも適用することが可能である。
また、本実施形態では図1に示すように目地2の厚さ方向(図の上下方向に対応する)の両側の定着体付き継手11を折り曲げているが、これに限らず、片側だけで定着体付き継手11を折り曲げてもよい。さらに、定着体11bの形状なども、鉄筋11aより幅が広ければ特に限定されることはない。
[第2の実施形態]
次に、本発明の第2の実施形態について説明する。第2の実施形態は第1の実施形態と異なる点について主に説明し、同様の点については図等で同じ符号を付すなどして説明を省略する。
第2の実施形態では、図4(a)に示すように定着体付き継手11が目地2の最外縁になく、定着体付き継手11の鉄筋11aよりも目地2の外面20に近い位置に補強筋15が配置される。ただし、定着体11bの幅が大きいことにより、外面20から定着体11bまでの距離Aが、外面20から補強筋15までの距離より小さくなっている。
この場合も、図4(b)の継手構造10aに示すように、定着体付き継手11を、鉄筋11aの途中の始点111から定着体11bにかけて、始点111に最も近い目地2の外面20から内側へ向かう方向へと折り曲げることが有効である。
図4(c)は、定着体付き継手11を折り曲げる際の条件を示す図である。第2の実施形態では、定着体付き継手11の鉄筋11aを、目地2の外面20から定着体11bまでの距離B1が、当該外面20から補強筋15までの距離B2以上となるように折り曲げることで、目地2のかぶり厚さの最小値が目地2の外面20から補強筋15までの距離B2となり、この距離B2が所定の値となるように目地2の厚さを決定できる。
なお、鉄筋11aの始点111から定着体11bの先端までの部分C1は、例えば前記と同様、補強筋15のピッチC2内に収めるように配置できる。鉄筋11aの折り曲げ角度についても前記と同様とできる。
第2の実施形態でも第1の実施形態と同様の効果が得られ、目地2の外面20から定着体11bまでの距離を大きくすることで、目地2を厚くせずとも所定のかぶり厚さを確保できるようになり経済的である。
以上、添付図面を参照して、本発明の好適な実施形態について説明したが、本発明は係る例に限定されない。当業者であれば、本願で開示した技術的思想の範疇内において、各種の変更例または修正例に想到し得ることは明らかであり、それらについても当然に本発明の技術的範囲に属するものと了解される。
1;プレキャストブロック
2;目地
10、10a;継手構造
11;定着体付き継手
11a;鉄筋
11b;定着体
15;補強筋
20;外面
111;始点
30;防液堤
40;外槽
50;底版
100;LNGタンク

Claims (6)

  1. 同じ部材厚のプレキャストブロック間の継手構造であって、
    前記プレキャストブロックは、前記プレキャストブロックから突出する棒材の先端部に前記棒材より幅の大きな定着体を設けた定着体付き継手を有し、
    一対の前記プレキャストブロックが目地を挟んで配列され、
    前記目地には、それぞれの前記プレキャストブロックの前記定着体付き継手が埋設され、
    それぞれの前記プレキャストブロックの前記定着体付き継手は、前記棒材の途中の始点から前記定着体にかけて、前記目地の前記始点に最も近い外面から前記目地の内側に向かう方向に折り曲げられ、
    一方の前記プレキャストブロックの前記定着体付き継手の前記棒材の当該プレキャストブロックから前記始点までの部分と、他方の前記プレキャストブロックの前記定着体付き継手の前記棒材の当該プレキャストブロックから前記始点までの部分とが、前記棒材と直交しかつ前記外面と平行な方向から見たときに重複して配置されていることを特徴とする継手構造。
  2. 前記定着体と前記外面との距離が、前記棒材の前記始点と前記外面との距離以上であることを特徴とする請求項1記載の継手構造。
  3. 前記目地内に、前記棒材と直交しかつ前記外面と平行な方向の補強筋が、前記定着体付き継手の近傍で、前記プレキャストブロックを配列した配列方向に沿って複数設けられ、
    前記棒材の前記始点から前記定着体の先端までの部分が、隣り合う前記補強筋の前記配列方向のピッチ内に収まることを特徴とする請求項1または請求項2に記載の継手構造。
  4. 前記棒材の折り曲げ角度は20度以下であることを特徴とする請求項1から請求項3のいずれかに記載の継手構造。
  5. 前記目地内に、前記棒材と直交しかつ前記外面と平行な方向の補強筋が、前記定着体付き継手の近傍で、前記プレキャストブロックを配列した配列方向に沿って複数設けられ、
    前記棒材の前記プレキャストブロックから前記始点までの部分が、前記補強筋よりも前記外面に近い位置に配置されることを特徴とする請求項1から請求項4のいずれかに記載の継手構造。
  6. 請求項1から請求項5のいずれかに記載の継手構造を、周方向に隣り合う前記プレキャストブロックの間の前記目地に有する防液堤。
JP2014076688A 2014-04-03 2014-04-03 継手構造、防液堤 Active JP6470908B2 (ja)

Priority Applications (1)

Application Number Priority Date Filing Date Title
JP2014076688A JP6470908B2 (ja) 2014-04-03 2014-04-03 継手構造、防液堤

Applications Claiming Priority (1)

Application Number Priority Date Filing Date Title
JP2014076688A JP6470908B2 (ja) 2014-04-03 2014-04-03 継手構造、防液堤

Publications (2)

Publication Number Publication Date
JP2015197017A JP2015197017A (ja) 2015-11-09
JP6470908B2 true JP6470908B2 (ja) 2019-02-13

Family

ID=54546873

Family Applications (1)

Application Number Title Priority Date Filing Date
JP2014076688A Active JP6470908B2 (ja) 2014-04-03 2014-04-03 継手構造、防液堤

Country Status (1)

Country Link
JP (1) JP6470908B2 (ja)

Families Citing this family (2)

* Cited by examiner, † Cited by third party
Publication number Priority date Publication date Assignee Title
JP2017036554A (ja) * 2015-08-07 2017-02-16 株式会社ピーエス三菱 プレキャスト床版の場所打ち継手構造
JP6752120B2 (ja) * 2016-11-14 2020-09-09 鹿島建設株式会社 連結構造及び連結方法

Family Cites Families (5)

* Cited by examiner, † Cited by third party
Publication number Priority date Publication date Assignee Title
JPS4981320U (ja) * 1972-10-30 1974-07-15
JPH0714745B2 (ja) * 1990-05-02 1995-02-22 機動建設工業株式会社 Pcタンク施工方法およびパネル材
US7162844B2 (en) * 2003-01-09 2007-01-16 Chicago Bridge & Iron Company Use of partial precast panels for construction of concrete walls and shells
JP2005016002A (ja) * 2003-06-23 2005-01-20 East Japan Railway Co 鉄筋コンクリートの接合構造、鉄筋コンクリート躯体の構築方法、鉄筋コンクリートの構築方法、及び鉄筋コンクリートの接合方法
JP2009293289A (ja) * 2008-06-05 2009-12-17 Takenaka Komuten Co Ltd 鉄筋コンクリート梁

Also Published As

Publication number Publication date
JP2015197017A (ja) 2015-11-09

Similar Documents

Publication Publication Date Title
CN104508220B (zh) 轴向屈服型弹塑性滞后支撑件以及减振钢架结构物
KR20120013233A (ko) 액화천연가스 저장 탱크 및 그의 제조방법
JP2015187017A5 (ja)
JP6470908B2 (ja) 継手構造、防液堤
JP5837118B2 (ja) タンク、防液堤の構築方法
JP5603667B2 (ja) 継手金物部位に設けた開口部の補強構造
JP5554441B2 (ja) 鋼管部材の端部接合構造
JP5939622B2 (ja) 土留壁
JP2018031143A (ja) 鋼製部材
JP5837130B2 (ja) 構造体および構造体の構築方法
JP5867326B2 (ja) 鋼矢板及びこれを用いた壁体
JP6041144B2 (ja) 最上階の接合構造
JP2018071150A (ja) 既設柱の補強構造
JP6548506B2 (ja) 壁体および壁体構築方法
JP6581402B2 (ja) プレキャストコンクリート梁およびプレキャストコンクリート梁の接合方法
JP6894107B2 (ja) 可撓性止水板
JP4298678B2 (ja) 接続構造
JP5885566B2 (ja) 樋門カラー構造体及び該構造体を使用する函体目地部の施工方法
JP4751207B2 (ja) 円形鋼管柱とh形断面鋼梁の接続構造及び当該接続構造を用いた橋脚
JP5966032B1 (ja) タンク、タンクの構築方法
JP5906277B2 (ja) セグメント
JP6313067B2 (ja) 制震ダンパー
KR20120018622A (ko) 무량판 슬래브와 기둥의 접합부에 대한 휨-전단 보강재 및 이를 이용한 보강구조
JP6131485B2 (ja) 梁のピン連結構造
JP2019031780A (ja) ひび割れ誘発目地構造

Legal Events

Date Code Title Description
A621 Written request for application examination

Free format text: JAPANESE INTERMEDIATE CODE: A621

Effective date: 20170313

A977 Report on retrieval

Free format text: JAPANESE INTERMEDIATE CODE: A971007

Effective date: 20171208

A131 Notification of reasons for refusal

Free format text: JAPANESE INTERMEDIATE CODE: A131

Effective date: 20171219

A521 Request for written amendment filed

Free format text: JAPANESE INTERMEDIATE CODE: A523

Effective date: 20180206

A131 Notification of reasons for refusal

Free format text: JAPANESE INTERMEDIATE CODE: A131

Effective date: 20180612

A521 Request for written amendment filed

Free format text: JAPANESE INTERMEDIATE CODE: A523

Effective date: 20180803

TRDD Decision of grant or rejection written
A01 Written decision to grant a patent or to grant a registration (utility model)

Free format text: JAPANESE INTERMEDIATE CODE: A01

Effective date: 20190115

A61 First payment of annual fees (during grant procedure)

Free format text: JAPANESE INTERMEDIATE CODE: A61

Effective date: 20190121

R150 Certificate of patent or registration of utility model

Ref document number: 6470908

Country of ref document: JP

Free format text: JAPANESE INTERMEDIATE CODE: R150

R250 Receipt of annual fees

Free format text: JAPANESE INTERMEDIATE CODE: R250

R250 Receipt of annual fees

Free format text: JAPANESE INTERMEDIATE CODE: R250