JP6452011B2 - 太陽電池 - Google Patents

太陽電池 Download PDF

Info

Publication number
JP6452011B2
JP6452011B2 JP2017521667A JP2017521667A JP6452011B2 JP 6452011 B2 JP6452011 B2 JP 6452011B2 JP 2017521667 A JP2017521667 A JP 2017521667A JP 2017521667 A JP2017521667 A JP 2017521667A JP 6452011 B2 JP6452011 B2 JP 6452011B2
Authority
JP
Japan
Prior art keywords
type
layer
silicon substrate
crystalline silicon
solar cell
Prior art date
Legal status (The legal status is an assumption and is not a legal conclusion. Google has not performed a legal analysis and makes no representation as to the accuracy of the status listed.)
Active
Application number
JP2017521667A
Other languages
English (en)
Other versions
JPWO2016194301A1 (ja
Inventor
馬場 俊明
俊明 馬場
Current Assignee (The listed assignees may be inaccurate. Google has not performed a legal analysis and makes no representation or warranty as to the accuracy of the list.)
Panasonic Intellectual Property Management Co Ltd
Original Assignee
Panasonic Intellectual Property Management Co Ltd
Priority date (The priority date is an assumption and is not a legal conclusion. Google has not performed a legal analysis and makes no representation as to the accuracy of the date listed.)
Filing date
Publication date
Application filed by Panasonic Intellectual Property Management Co Ltd filed Critical Panasonic Intellectual Property Management Co Ltd
Publication of JPWO2016194301A1 publication Critical patent/JPWO2016194301A1/ja
Priority to JP2018221902A priority Critical patent/JP6893331B2/ja
Application granted granted Critical
Publication of JP6452011B2 publication Critical patent/JP6452011B2/ja
Active legal-status Critical Current
Anticipated expiration legal-status Critical

Links

Images

Classifications

    • HELECTRICITY
    • H10SEMICONDUCTOR DEVICES; ELECTRIC SOLID-STATE DEVICES NOT OTHERWISE PROVIDED FOR
    • H10FINORGANIC SEMICONDUCTOR DEVICES SENSITIVE TO INFRARED RADIATION, LIGHT, ELECTROMAGNETIC RADIATION OF SHORTER WAVELENGTH OR CORPUSCULAR RADIATION
    • H10F77/00Constructional details of devices covered by this subclass
    • H10F77/30Coatings
    • H10F77/306Coatings for devices having potential barriers
    • H10F77/311Coatings for devices having potential barriers for photovoltaic cells
    • HELECTRICITY
    • H10SEMICONDUCTOR DEVICES; ELECTRIC SOLID-STATE DEVICES NOT OTHERWISE PROVIDED FOR
    • H10FINORGANIC SEMICONDUCTOR DEVICES SENSITIVE TO INFRARED RADIATION, LIGHT, ELECTROMAGNETIC RADIATION OF SHORTER WAVELENGTH OR CORPUSCULAR RADIATION
    • H10F10/00Individual photovoltaic cells, e.g. solar cells
    • H10F10/10Individual photovoltaic cells, e.g. solar cells having potential barriers
    • H10F10/14Photovoltaic cells having only PN homojunction potential barriers
    • HELECTRICITY
    • H10SEMICONDUCTOR DEVICES; ELECTRIC SOLID-STATE DEVICES NOT OTHERWISE PROVIDED FOR
    • H10FINORGANIC SEMICONDUCTOR DEVICES SENSITIVE TO INFRARED RADIATION, LIGHT, ELECTROMAGNETIC RADIATION OF SHORTER WAVELENGTH OR CORPUSCULAR RADIATION
    • H10F10/00Individual photovoltaic cells, e.g. solar cells
    • H10F10/10Individual photovoltaic cells, e.g. solar cells having potential barriers
    • H10F10/16Photovoltaic cells having only PN heterojunction potential barriers
    • H10F10/164Photovoltaic cells having only PN heterojunction potential barriers comprising heterojunctions with Group IV materials, e.g. ITO/Si or GaAs/SiGe photovoltaic cells
    • H10F10/165Photovoltaic cells having only PN heterojunction potential barriers comprising heterojunctions with Group IV materials, e.g. ITO/Si or GaAs/SiGe photovoltaic cells the heterojunctions being Group IV-IV heterojunctions, e.g. Si/Ge, SiGe/Si or Si/SiC photovoltaic cells
    • H10F10/166Photovoltaic cells having only PN heterojunction potential barriers comprising heterojunctions with Group IV materials, e.g. ITO/Si or GaAs/SiGe photovoltaic cells the heterojunctions being Group IV-IV heterojunctions, e.g. Si/Ge, SiGe/Si or Si/SiC photovoltaic cells the Group IV-IV heterojunctions being heterojunctions of crystalline and amorphous materials, e.g. silicon heterojunction [SHJ] photovoltaic cells
    • HELECTRICITY
    • H10SEMICONDUCTOR DEVICES; ELECTRIC SOLID-STATE DEVICES NOT OTHERWISE PROVIDED FOR
    • H10FINORGANIC SEMICONDUCTOR DEVICES SENSITIVE TO INFRARED RADIATION, LIGHT, ELECTROMAGNETIC RADIATION OF SHORTER WAVELENGTH OR CORPUSCULAR RADIATION
    • H10F71/00Manufacture or treatment of devices covered by this subclass
    • HELECTRICITY
    • H10SEMICONDUCTOR DEVICES; ELECTRIC SOLID-STATE DEVICES NOT OTHERWISE PROVIDED FOR
    • H10FINORGANIC SEMICONDUCTOR DEVICES SENSITIVE TO INFRARED RADIATION, LIGHT, ELECTROMAGNETIC RADIATION OF SHORTER WAVELENGTH OR CORPUSCULAR RADIATION
    • H10F71/00Manufacture or treatment of devices covered by this subclass
    • H10F71/129Passivating
    • HELECTRICITY
    • H10SEMICONDUCTOR DEVICES; ELECTRIC SOLID-STATE DEVICES NOT OTHERWISE PROVIDED FOR
    • H10FINORGANIC SEMICONDUCTOR DEVICES SENSITIVE TO INFRARED RADIATION, LIGHT, ELECTROMAGNETIC RADIATION OF SHORTER WAVELENGTH OR CORPUSCULAR RADIATION
    • H10F77/00Constructional details of devices covered by this subclass
    • H10F77/10Semiconductor bodies
    • H10F77/12Active materials
    • H10F77/122Active materials comprising only Group IV materials
    • H10F77/1223Active materials comprising only Group IV materials characterised by the dopants
    • HELECTRICITY
    • H10SEMICONDUCTOR DEVICES; ELECTRIC SOLID-STATE DEVICES NOT OTHERWISE PROVIDED FOR
    • H10FINORGANIC SEMICONDUCTOR DEVICES SENSITIVE TO INFRARED RADIATION, LIGHT, ELECTROMAGNETIC RADIATION OF SHORTER WAVELENGTH OR CORPUSCULAR RADIATION
    • H10F77/00Constructional details of devices covered by this subclass
    • H10F77/20Electrodes
    • H10F77/206Electrodes for devices having potential barriers
    • H10F77/211Electrodes for devices having potential barriers for photovoltaic cells
    • H10F77/219Arrangements for electrodes of back-contact photovoltaic cells
    • HELECTRICITY
    • H10SEMICONDUCTOR DEVICES; ELECTRIC SOLID-STATE DEVICES NOT OTHERWISE PROVIDED FOR
    • H10FINORGANIC SEMICONDUCTOR DEVICES SENSITIVE TO INFRARED RADIATION, LIGHT, ELECTROMAGNETIC RADIATION OF SHORTER WAVELENGTH OR CORPUSCULAR RADIATION
    • H10F77/00Constructional details of devices covered by this subclass
    • H10F77/30Coatings
    • YGENERAL TAGGING OF NEW TECHNOLOGICAL DEVELOPMENTS; GENERAL TAGGING OF CROSS-SECTIONAL TECHNOLOGIES SPANNING OVER SEVERAL SECTIONS OF THE IPC; TECHNICAL SUBJECTS COVERED BY FORMER USPC CROSS-REFERENCE ART COLLECTIONS [XRACs] AND DIGESTS
    • Y02TECHNOLOGIES OR APPLICATIONS FOR MITIGATION OR ADAPTATION AGAINST CLIMATE CHANGE
    • Y02EREDUCTION OF GREENHOUSE GAS [GHG] EMISSIONS, RELATED TO ENERGY GENERATION, TRANSMISSION OR DISTRIBUTION
    • Y02E10/00Energy generation through renewable energy sources
    • Y02E10/50Photovoltaic [PV] energy
    • YGENERAL TAGGING OF NEW TECHNOLOGICAL DEVELOPMENTS; GENERAL TAGGING OF CROSS-SECTIONAL TECHNOLOGIES SPANNING OVER SEVERAL SECTIONS OF THE IPC; TECHNICAL SUBJECTS COVERED BY FORMER USPC CROSS-REFERENCE ART COLLECTIONS [XRACs] AND DIGESTS
    • Y02TECHNOLOGIES OR APPLICATIONS FOR MITIGATION OR ADAPTATION AGAINST CLIMATE CHANGE
    • Y02EREDUCTION OF GREENHOUSE GAS [GHG] EMISSIONS, RELATED TO ENERGY GENERATION, TRANSMISSION OR DISTRIBUTION
    • Y02E10/00Energy generation through renewable energy sources
    • Y02E10/50Photovoltaic [PV] energy
    • Y02E10/547Monocrystalline silicon PV cells

Landscapes

  • Photovoltaic Devices (AREA)
  • Life Sciences & Earth Sciences (AREA)
  • Sustainable Development (AREA)
  • Engineering & Computer Science (AREA)
  • Sustainable Energy (AREA)
  • Chemical & Material Sciences (AREA)
  • Crystallography & Structural Chemistry (AREA)

Description

本開示は、太陽電池に関する。
結晶性シリコン基板を備えた太陽電池では、当該基板の受光面側表面(受光面)における光生成キャリアの再結合が出力に大きく影響する。このため、結晶性シリコン基板の受光面上には、パッシベーション層が形成される。例えば、特許文献1には、n型単結晶シリコン基板の裏面側にp側電極とn側電極が形成された太陽電池であって、シリコン基板の受光面上に形成されたパッシベーション層として非晶質シリコン層を備えた太陽電池が開示されている。
国際公開第2012/132615号
パッシベーション層を設けた場合であっても、結晶性シリコン基板との界面での光生成キャリアの再結合を完全に抑制することは実現できておらず、さらなる再結合の抑制が求められている。
本開示の一態様である太陽電池は、結晶性シリコン基板と、結晶性シリコン基板の受光面上に形成された、キャリア生成機能を有するパッシベーション層とを備え、結晶性シリコン基板は、パッシベーション層との界面近傍に当該基板と同一導電型にドーピングされた、ドーパント濃度が1×1017cm-3以上であるドープ層を有し、ドープ層におけるドーパント濃度の平均値は1×1017cm-3〜1×1020cm-3であり、ドープ層の厚みは200nm以下である。
本開示の一態様である太陽電池によれば、結晶性シリコン基板の受光面における光生成キャリアの再結合を抑制し、出力の向上を図ることができる。
実施形態の一例である太陽電池の断面図である。 実施形態の一例である太陽電池において、n+層のドーパント濃度と出力相対値との関係を示す図である。 実施形態の一例である太陽電池において、n+層の厚みと出力相対値との関係を示す図である。 実施形態の他の一例である太陽電池の断面図である。
本開示の一態様である太陽電池は、結晶性シリコン基板がパッシベーション層との界面近傍に当該基板と同一導電型にドーピングされた特定のドープ層を有する。上述の通り、パッシベーション層を設けた場合においても、結晶性シリコン基板との界面には様々な原因で再結合準位となる欠陥が発生し、発生した光生成キャリアが当該界面で再結合する。本発明者らは、パッシベーション層がキャリア生成機能を有する点に注目した。そして、結晶性シリコン基板のパッシベーション層との界面近傍に上記ドープ層を設けることで、パッシベーション層で生成した光生成キャリアの再結合を抑制でき、太陽電池の出力が向上することを見出したのである。
以下、図面を参照しながら、実施形態の一例について詳細に説明する。
実施形態の説明で参照する図面は、模式的に記載されたものであり、図面に描画された構成要素の寸法比率などは現物と異なる場合がある。具体的な寸法比率等は、以下の説明を参酌して判断されるべきである。本明細書において「略**」との記載は、略全域を例に挙げて説明すると、全域はもとより実質的に全域と認められる場合を含む意図である。
実施形態の説明では、結晶性シリコン基板としてn型結晶性シリコン基板を例示する。n型結晶性シリコン基板を用いた場合、ドープ層はn型にドーピングされたn+層が適用される。なお、結晶性シリコン基板はp型結晶性シリコン基板であってもよい。この場合、ドープ層はp型にドーピングされたp+層が適用される。
図1は、実施形態の一例である太陽電池10を示す断面図である。
図1に示すように、太陽電池10は、n型結晶性シリコン基板11と、当該基板の受光面上に形成されたパッシベーション層20とを備える。パッシベーション層20は、n型結晶性シリコン基板11の受光面における光生成キャリアの再結合を抑制するパッシベーション機能に加えてキャリア生成機能を有する光発電層である。太陽電池10は、n型結晶性シリコン基板11の裏面上に形成されたp型半導体層12及びn型半導体層13を備える。詳しくは後述するが、p型半導体層12とn型半導体層13は一部が互いに重なっており、各層の間には絶縁層14が設けられている。
n型結晶性シリコン基板11(太陽電池10)の「受光面」とは光が主に入射(50%超過〜100%)する面を意味し、「裏面」とは受光面と反対側の面を意味する。本実施形態では、n型結晶性シリコン基板11に入射する光の略全てが受光面から入射する。
太陽電池10は、p型半導体層12上に形成された透明導電層15及び集電極16(以下、「p側電極」という場合がある)と、n型半導体層13上に形成された透明導電層17及び集電極18(以下、「n側電極」という場合がある)とを備える。p側電極とn側電極は、互いに接触しておらず電気的に分離されている。即ち、太陽電池10はn型結晶性シリコン基板11の裏面側のみに形成された一対の電極を備える。n型結晶性シリコン基板11、パッシベーション層20で発生した正孔はp側電極により収集され、電子はn側電極により収集される。
太陽電池10は、パッシベーション層20上に保護層(図示せず)を有していてもよい。保護層は、例えばパッシベーション層20の損傷を抑制し、且つ光の反射を抑制する。保護層は、光透過性が高い材料から構成されることが好ましく、酸化ケイ素(SiO2)、窒化ケイ素(SiN)、又は酸窒化ケイ素(SiON)等から構成されることが好適である。
n型結晶性シリコン基板11は、n型多結晶シリコン基板であってもよいが、好ましくはn型単結晶シリコン基板である。n型結晶性シリコン基板11は、パッシベーション層20との界面近傍にn型にドーピングされた、ドーパント濃度が1×1017cm-3以上であるn+層21を有する。詳しくは後述するが、n+層21におけるドーパント濃度の平均値は1×1017cm-3〜1×1020cm-3であり、n+層21の厚みは200nm以下である。n型結晶性シリコン基板11のn+層21以外の領域におけるドーパント濃度の平均値は、例えば1×1014cm-3〜5×1016cm-3である。n型結晶性シリコン基板11の厚みは、例えば50μm〜300μmである。
n型結晶性シリコン基板11の表面には、テクスチャ構造(図示せず)が形成されていることが好ましい。テクスチャ構造とは、表面反射を抑制してn型結晶性シリコン基板11の光吸収量を増大させるための表面凹凸構造であって、例えば受光面のみ、又は受光面と裏面の両方に形成される。テクスチャ構造は、アルカリ性溶液を用いて単結晶シリコン基板の(100)面を異方性エッチングすることで形成でき、単結晶シリコン基板の表面に(111)面を斜面としたピラミッド形状の凹凸構造が形成される。テクスチャ構造の凹凸の高さは、例えば1μm〜15μmである。
p型半導体層12とn型半導体層13は、いずれもn型結晶性シリコン基板11の裏面上に積層され、当該裏面上にp型領域とn型領域をそれぞれ形成する。p型領域の面積は、n型領域の面積よりも大きく形成されることが好適である。p型領域とn型領域は、例えば一の方向に交互に配置され、互いに噛み合う平面視櫛歯状パターンで形成される。図1に示す例では、p型半導体層12の一部がn型半導体層13の一部の上に重なって、n型結晶性シリコン基板11の裏面上に各半導体層(p型領域、n型領域)が隙間なく形成されている。p型半導体層12とn型半導体層13が重なる部分には絶縁層14が設けられている。絶縁層14は、例えば酸化ケイ素、窒化ケイ素、又は酸窒化ケイ素等から構成される。
p型半導体層12は、少なくともp型水素化非晶質シリコン層(p型a-Si:H)を含むことが好ましく、i型水素化非晶質シリコン層(i型a-Si:H)とp型水素化非晶質シリコン層との積層構造を有することが特に好ましい。p型半導体層12の好適な一例は、n型結晶性シリコン基板11の裏面にi型水素化非晶質シリコン層が積層され、i型水素化非晶質シリコン層上にp型水素化非晶質シリコン層が積層されてなる。
n型半導体層13は、少なくともn型水素化非晶質シリコン層(n型a-Si:H)を含むことが好ましく、i型水素化非晶質シリコン層(i型a-Si:H)とn型水素化非晶質シリコン層との積層構造を有することが特に好ましい。n型半導体層13の好適な一例は、n型結晶性シリコン基板11の裏面にi型水素化非晶質シリコン層が積層され、i型水素化非晶質シリコン層上にn型水素化非晶質シリコン層が積層されてなる。
i型a-Si:H層は、シランガス(SiH4)を水素(H2)で希釈した原料ガスを用いて化学気相成長法(CVD)により成膜できる。p型a-Si:H層の成膜には、シランにジボラン(B26)を添加して水素希釈した原料ガスが使用される。n型a-Si:H層の成膜には、ジボランの代わりにホスフィン(PH3)を含む原料ガスが使用される。なお、各半導体層の成膜法は特に限定されるものではない。
透明導電層15,17は、絶縁層14に対応する位置で互いに分離されている。透明導電層15,17は、例えば酸化インジウム(In23)、酸化亜鉛(ZnO)等の金属酸化物に、錫(Sn)、アンチモン(Sb)等がドーピングされた透明導電性酸化物から構成される。透明導電層15,17の厚みは、30nm〜500nmが好ましく、50nm〜200nmが特に好ましい。
集電極16,18は、透明導電層15,17上にそれぞれ形成される。集電極16,18は、導電性ペーストを用いて形成されてもよいが、好ましくは電解めっきにより形成される。集電極16,18は、例えばニッケル(Ni)、銅(Cu)、銀(Ag)等の金属から構成され、Ni層とCu層との積層構造であってもよく、耐食性を向上させるために最表面に錫(Sn)層を有していてもよい。集電極16,18の厚みは、0.1μm〜5μmが好ましく、0.5μm〜2μmが特に好ましい。
パッシベーション層20は、例えばn型結晶性シリコン基板11の受光面の略全域に形成される。パッシベーション層20は、上述の通りパッシベーション機能とキャリア生成機能を有する。本実施形態では、パッシベーション層20で発生した光生成キャリア(正孔及び電子)はn型結晶性シリコン基板11の裏面側に移動し、裏面上に形成されたp側電極とn側電極により収集される。パッシベーション層20の厚みは、5nm〜100nmが好ましく、10nm〜80nmが特に好ましい。
パッシベーション層20は、主成分が非晶質若しくは微結晶のシリコン、又は炭化シリコンであることが好ましく、具体的には、下記(1)〜(8)より選択される材料からなる層であることが好ましい。パッシベーション層20は、基板と同じ導電型を付与する元素を含んでいてもよい。パッシベーション層20は、下記(1)の構造を有することが好適である。
(1)i型a-Si:H
(2)n型a-Si:H
(3)i型水素化非晶質炭化シリコン(i型a-SiC:H)
(4)n型a-SiC:H
(5)i型若しくはn型a-Si:Hと高濃度のn型a-Si:Hとの積層体(i型若しくはn型a-Si:H/高濃度のn型a-Si:Hの積層体)
(6)i型若しくはn型a-Si:H/高濃度のn型水素化微結晶シリコン(n型μc-Si:H)の積層体
(7)i型若しくはn型a-SiC:H/高濃度のn型a-Si:Hの積層体
(8)i型若しくはn型a-SiC:H/高濃度のn型μc-Si:Hの積層体
ここで、「高濃度」とは「n型a-Si:H/高濃度のn型a-Si:Hの積層体」を例に挙げて説明すると、前者に比べて後の後者のドーパント濃度が高いことを意味する。即ち、当該記載はドーパント量が異なる2つの層を積層した構造であることを意味する。
+層21は、n型結晶性シリコン基板11のパッシベーション層20との界面近傍をn型にドーピングして形成される。n+層21は、ドーパント濃度が1×1017cm-3以上の領域であって、パッシベーション層20との界面、即ちn型結晶性シリコン基板11の受光面から200nm以下の厚みで形成される。換言すると、n型結晶性シリコン基板11には、受光面から200nm以下の厚み範囲のみに、ドーパント濃度が1×1017cm-3以上となる領域が存在する。
+層21におけるドーパント濃度の平均値は、1×1017cm-3〜1×1020cm-3である。ドーパント濃度の平均値が当該範囲内であれば、n+層21の一部にドーパント濃度が1×1020cm-3を超える領域が存在してもよいが、好ましくはn+層21におけるドーパント濃度の最大値は1×1020cm-3以下である。n+層21は、例えばn型結晶性シリコン基板11の受光面から離れるほどドーパント濃度が低下する濃度勾配を有していてもよく、層全体で略均一なドーパント濃度を有していてもよい。
+層21のドーパント濃度は、凹凸構造が形成されたn型結晶性シリコン基板11の表面をSIMS(Secondary Ion Mass Spectrometry)により測定することもできるが、次の方法により容易に測定できる。具体的には、凹凸構造を形成しない、単結晶シリコン基板の平坦な表面に形成した高濃度のn型層を形成し、SIMSによって高濃度のn型層のドーパント濃度を測定する。凹凸構造が形成されたn型結晶性シリコン基板11へのドーピングと単結晶シリコン基板の平坦な表面へのドーピングとが同じ条件で行われた場合、n+層21のドーパント濃度は、平坦な表面に形成した高濃度のn型層のドーパント濃度と等しいと推定できる。単結晶シリコン基板の表面を少しずつ削りながら、結晶シリコン基板の表面から深さの異なる複数の地点でのドーパント濃度を測定し、n+層21に含まれる複数の地点でのドーパント濃度を得る。
上記の方法によるドーパント濃度が1×1017cm-3未満に変化するときの単結晶シリコン基板の表面からの深さをn+層21の厚みとする。結晶シリコン基板の表面からn+層21の厚みまでの複数の地点でのドーパント濃度を平均化することで、n+層21におけるドーパント濃度の平均値が求められる。
+層21は、例えば熱拡散法、プラズマドープ法、又はエピタキシャル成長法等を用いて形成される。熱拡散法又はプラズマドープ法を用いた場合は、n型結晶性シリコン基板11の受光面で最もドーパント濃度が高くなり、受光面から離れるほど濃度が次第に低くなった濃度勾配が形成される。例えば、n型結晶性シリコン基板11の受光面から200nmの厚み範囲のドーパント濃度が1×1017cm-3以下となるように、n型結晶性シリコン基板11の受光面からリン(P)をドープしてn+層21が形成される。エピタキシャル成長法を用いた場合は、例えば熱拡散法を用いた場合と比べて、n+層21の境界位置でドーパント濃度を急峻に上昇させることができ、またn+層21の全体でドーパント濃度を均一化し易い。
図2は、n+層21のドーパント濃度と太陽電池10の出力相対値との関係を示す図である。図2に示す関係は、n+層21の厚みが10nmであり、n+層21全体のドーパント濃度が均一なものとして実験した結果である。出力相対値とは、n+層21を有さない太陽電池の出力を1としたときの値である(図3の場合についても同様)。図3は、n+層21の厚みと太陽電池10の出力相対値との関係を示す図である。図3に示す関係は、n+層21のドーパント濃度が1×1019cm-3(層全体で均一)なものとして実験した結果である。
図2に示すように、n+層21のドーパント濃度(平均値)が1×1017cm-3〜1×1020cm-3である場合に、太陽電池10の出力が大きく向上する。n+層21におけるドーパント濃度の平均値が1×1017cm-3未満であると上記界面欠陥による再結合を十分に抑制できず、n+層21の形成による効果が現れ難い。一方、ドーパント濃度の平均値が1×1020cm-3を超えると、例えばn+層21内でパッシベーション層20で発生した正孔の再結合が起こり易くなり却って出力が低下する。n+層21のドーパント濃度と出力相対値との関係は、n+層21の厚みが5nm〜100nm程度である場合に図2に示す関係と同様であり、厚みが100nmを超えると最適なドーパント濃度が低くなる傾向が見られる。n+層21におけるドーパント濃度の平均値は、好ましくは1×1018cm-3〜2×1019cm-3である。
図3に示すように、n+層21の厚みが200nm以下である場合に、太陽電池10の出力が大きく向上する。n+層21の厚みが200nmを超えると、例えばn+層21内でパッシベーション層20で発生した正孔の再結合が起こり易くなり却って出力が低下する。n+層21の厚みと出力相対値との関係は、n+層21におけるドーパント濃度の平均値が1×1018cm-3〜2×1019cm-3程度である場合に図3に示す関係と同様であり、濃度が2×1019cm-3を超えると最適な厚みが小さくなる傾向が見られる。n+層21の厚みは、好ましくは2nm〜200nmであり、特に好ましくは5nm〜100nmである。n+層21の厚みが2nm未満であると、上記界面欠陥による再結合を十分に抑制できず、n+層21の形成による効果が現れ難い場合がある。
+層21は、ドーパント濃度の平均値が1×1018cm-3〜2×1019cm-3であり、且つn+層21のうちドーパント濃度が1×1018cm-3〜2×1019cm-3である領域の厚みが5nm〜100nmであることが特に好適である。n+層21の好適な具体例は、全体の厚みが5nm〜200nm、又は5nm〜100nmで、ドーパント濃度が1×1018cm-3〜2×1019cm-3となる領域の厚みが5nm〜100nmである。
上記構成を備えた太陽電池10によれば、n型結晶性シリコン基板11とパッシベーション層20との界面における光生成キャリアの再結合を抑制して、出力をさらに向上させることができる。即ち、n+層21によって当該界面に発生する欠陥に起因した光生成キャリアの再結合が抑制され、再結合による出力損失が軽減される。
n型結晶性シリコン基板11とパッシベーション層20との界面における光生成キャリアの再結合を抑制する観点では、パッシベーション層20は、n型結晶性シリコン基板11と同じ導電型を付与する元素を含むことが好ましい。これによって、パッシベーション層20からn型結晶性シリコン基板11へ電子が供給され、界面の電子濃度が増えて欠陥での再結合レートを下げることができる。ただし、ドーピングによって水素化非晶質シリコン層の膜中に欠陥が増加するため、ドーピング量を過度に多くするとキャリア生成機能は減ってしまう点に注意すべきである。
パッシベーション層20がn型結晶性シリコン基板11と同じ導電型を付与する元素を含む場合、パッシベーション層20の主成分は微結晶シリコンであることが好適である。これによって、パッシベーション層20でのドーパントの活性化率を高くすることができる。詳述すると、n型水素化非晶質シリコンよりn型水素化微結晶シリコンの方が、ドーパント活性化率が高いため、ドーピング量が等しい場合にはn型水素化微結晶シリコンの方がより多くの電子をn型結晶性シリコン基板11に供給できる。これによって、n型結晶性シリコン基板11とパッシベーション層20との界面の電子濃度を増やすことができ、欠陥での再結合を減らすことができる。
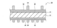
図4は、実施形態の他の一例である太陽電池30を示す断面図である。
図4に示すように、太陽電池30は、n型結晶性シリコン基板31と、当該基板の受光面上に形成されたキャリア生成機能を有するパッシベーション層40とを備える点で、太陽電池10と共通する。n型結晶性シリコン基板31は、太陽電池10の場合と同様に、n型単結晶シリコン基板であることが好ましく、パッシベーション層40との界面近傍にn型にドーピングされたn+層41を有する。一方、太陽電池30は、n型結晶性シリコン基板11の受光面側に形成された受光面電極と、n型結晶性シリコン基板11の裏面側に形成された裏面電極とを備える点で、電極が裏面側のみに形成された太陽電池10と異なる。
受光面電極及び裏面電極は、透明導電層33,35と、当該透明導電層上に形成された集電極34,36とをそれぞれ有する。透明導電層33,35は、太陽電池10の透明導電層15,17の場合と同様に、透明導電性酸化物から構成される。集電極34,36は、例えば多数のフィンガー部と、2本又は3本のバスバー部とを含むパターンで導電性ペーストをスクリーン印刷して形成される。集電極36は、集電極34よりも大面積に形成されることが好ましく、集電極36のフィンガー部は集電極34のフィンガー部よりも多く形成される。また、集電極34は集電極36よりも厚く形成される。なお、電極の構造は特に限定されず、例えば裏面電極の集電極として透明導電層35上の略全域に金属層を形成してもよい。
太陽電池30は、n型結晶性シリコン基板31の裏面上に形成されたp型半導体層32を備える。p型半導体層32は、例えばn型結晶性シリコン基板31の裏面の略全域に形成され、p型半導体層32上の略全域に透明導電層35が形成される。p型半導体層32には、太陽電池10のp型半導体層12と同様の材料が適用できる。n型結晶性シリコン基板31の受光面上には、パッシベーション層40が形成される。パッシベーション層40は、例えばn型結晶性シリコン基板31の受光面の略全域に形成され、パッシベーション層40上の略全域に透明導電層35が形成される。
パッシベーション層40は、パッシベーション層20の場合と同様に、上記(1)〜(8)より選択される材料からなる層であることが好ましい。パッシベーション層40は、透明導電層33とのコンタクト抵抗低減等の観点から、上記(5)〜(8)より選択される積層構造を有することが好適であり、透明導電層33との接触面がn型μc-Si:Hから構成されることが特に好適である。
+層41は、n+層21と同様にドーパント濃度が1×1017/cc以上の領域であって、n型結晶性シリコン基板31の受光面から200nm以下の厚みで形成される。n+層41におけるドーパント濃度の平均値は、1×1017/cc〜1×1020/ccであり、好ましくは1×1018/cc〜2×1019/ccである。n+層41の厚みは、好ましくは2nm〜200nmであり、特に好ましくは5nm〜100nmである。n+層41は、ドーパント濃度の平均値が1×1018cm-3〜2×1019cm-3であり、且つn+層41のうちドーパント濃度が1×1018cm-3〜2×1019cm-3である領域の厚みが5nm〜100nmであることが特に好適である。
太陽電池30においても、太陽電池10の場合と同様に、n型結晶性シリコン基板31とパッシベーション層40との界面における光生成キャリアの再結合を抑制して、出力をさらに向上させることができる。
なお、本実施形態の他の一例において、n+層41はn型結晶性シリコン基板31の受光面に配置したが、n+層41をn型結晶性シリコン基板31の裏面に配置してもよい。光が主に入射する面とは反対の面にも光が入射して発電に寄与する場合に、n+層41をn型結晶性シリコン基板31の裏面に配置する構成を採用することができる。この場合、n型結晶性シリコン基板31の受光面にp型半導体層32を配置してpn接合を形成する。本実施形態の他の一例においては、pn接合の形成した面とは反対のn型結晶性シリコン基板31の表面にn+層41を形成し、n+層41が形成されたn型結晶性シリコン基板31の表面に入射する光の発電への寄与を高めることができる。
10,30 太陽電池、11,31 n型結晶性シリコン基板、12,32 p型半導体層、13 n型半導体層、14 絶縁層、15,17,33,35 透明導電層、16,18,34,36 集電極、20,40 パッシベーション層、21,41 n+

Claims (11)

  1. 結晶性シリコン基板と、
    前記結晶性シリコン基板の受光面上に形成された、キャリア生成機能を有するパッシベーション層と、
    を備え、
    前記結晶性シリコン基板は、前記パッシベーション層との界面近傍に当該基板と同一導電型にドーピングされた、ドーパント濃度が1×1017cm−3以上であるドープ層を有し、
    前記ドープ層におけるドーパント濃度の平均値は1×10 18 cm −3 〜2×10 19 cm−3であり、前記ドープ層の厚みは5nm〜100nmである、太陽電池。
  2. 結晶性シリコン基板と、
    前記結晶性シリコン基板の受光面上に形成された、キャリア生成機能を有するパッシベーション層と、
    を備え、
    前記結晶性シリコン基板は、前記パッシベーション層との界面近傍に当該基板と同一導電型にドーピングされた、ドーパント濃度が1×1017cm−3以上であるドープ層を有し、
    前記ドープ層におけるドーパント濃度の平均値は1×10 18 cm −3 〜2×10 19 cm −3 であり、前記ドープ層の厚みは5nm〜100nmであり、
    ドーパント濃度が1×10 18 cm −3 〜2×10 19 cm −3 である領域の厚みが5nm〜100nmである、太陽電池。
  3. 結晶性シリコン基板と、
    前記結晶性シリコン基板の受光面上に形成された、キャリア生成機能を有するパッシベーション層と、
    を備え、
    前記結晶性シリコン基板は、前記パッシベーション層との界面近傍に当該基板と同一導電型にドーピングされた、ドーパント濃度が1×1017cm−3以上であるドープ層を有し、
    前記ドープ層におけるドーパント濃度の平均値は1×1017cm−3〜1×1020cm−3であり、前記ドープ層の厚みは10nm〜100nmである、太陽電池。
  4. 前記結晶性シリコン基板は、n型結晶性シリコン基板であり、
    前記ドープ層は、前記n型結晶性シリコン基板の表面がn型にドーピングされたn層である、請求項1〜3のいずれか1項に記載の太陽電池。
  5. 前記結晶性シリコン基板の裏面側に形成された一対の電極を備える、請求項1〜4のいずれか1項に記載の太陽電池。
  6. 前記結晶性シリコン基板の受光面側に形成された受光面電極と、
    前記結晶性シリコン基板の裏面側に形成された裏面電極と、
    を備える、請求項1〜5のいずれか1項に記載の太陽電池。
  7. 前記パッシベーション層の主成分が、非晶質若しくは微結晶のシリコン、又は炭化シリコンである、請求項1〜6のいずれか1項に記載の太陽電池。
  8. 前記パッシベーション層は、前記結晶性シリコン基板と同じ導電型を付与する元素を含む、請求項7に記載の太陽電池。
  9. 前記パッシベーション層は、i型a-Si:H、n型a-Si:H、i型a-SiC:H、n型a-SiC:H、i型若しくはn型a-Si:H/高濃度のn型a-Si:Hの積層体、i型若しくはn型a-Si:H/高濃度のn型μc-Si:Hの積層体、i型若しくはn型a-SiC:H/高濃度のn型a-Si:Hの積層体、又はi型若しくはn型a-SiC:H/高濃度のn型μc-Si:Hの積層体のうちのいずれかの層を含む、請求項7に記載の太陽電池。
  10. 前記パッシベーション層は、i型若しくはn型a-Si:H/高濃度のn型a-Si:Hの積層体、i型若しくはn型a-Si:H/高濃度のn型μc-Si:Hの積層体、i型若しくはn型a-SiC:H/高濃度のn型a-Si:Hの積層体、又はi型若しくはn型a-SiC:H/高濃度のn型μc-Si:Hの積層体からなる層である、請求項6に記載の太陽電池。
  11. 前記受光面電極は、透明導電層を有し、
    前記パッシベーション層は、前記透明導電層との接触面が前記n型μc-Si:Hから構成される、請求項10に記載の太陽電池。
JP2017521667A 2015-05-29 2016-05-09 太陽電池 Active JP6452011B2 (ja)

Priority Applications (1)

Application Number Priority Date Filing Date Title
JP2018221902A JP6893331B2 (ja) 2015-05-29 2018-11-28 太陽電池

Applications Claiming Priority (3)

Application Number Priority Date Filing Date Title
JP2015109839 2015-05-29
JP2015109839 2015-05-29
PCT/JP2016/002267 WO2016194301A1 (ja) 2015-05-29 2016-05-09 太陽電池

Related Child Applications (1)

Application Number Title Priority Date Filing Date
JP2018221902A Division JP6893331B2 (ja) 2015-05-29 2018-11-28 太陽電池

Publications (2)

Publication Number Publication Date
JPWO2016194301A1 JPWO2016194301A1 (ja) 2018-03-01
JP6452011B2 true JP6452011B2 (ja) 2019-01-16

Family

ID=57440807

Family Applications (2)

Application Number Title Priority Date Filing Date
JP2017521667A Active JP6452011B2 (ja) 2015-05-29 2016-05-09 太陽電池
JP2018221902A Active JP6893331B2 (ja) 2015-05-29 2018-11-28 太陽電池

Family Applications After (1)

Application Number Title Priority Date Filing Date
JP2018221902A Active JP6893331B2 (ja) 2015-05-29 2018-11-28 太陽電池

Country Status (4)

Country Link
US (1) US20180076340A1 (ja)
JP (2) JP6452011B2 (ja)
CN (1) CN107735866B (ja)
WO (1) WO2016194301A1 (ja)

Families Citing this family (5)

* Cited by examiner, † Cited by third party
Publication number Priority date Publication date Assignee Title
JP7073341B2 (ja) * 2017-03-29 2022-05-23 株式会社カネカ 光起電装置及び光起電装置の製造方法
WO2018180227A1 (ja) * 2017-03-31 2018-10-04 パナソニック株式会社 太陽電池セル
JP7346050B2 (ja) 2019-03-26 2023-09-19 パナソニックホールディングス株式会社 太陽電池セルおよび太陽電池モジュール
JP2021044384A (ja) * 2019-09-11 2021-03-18 パナソニック株式会社 太陽電池セル
EP4287267B1 (en) 2022-06-01 2024-12-25 Jinko Solar (Haining) Co., Ltd. Photovoltaic cell and photovoltaic module

Family Cites Families (21)

* Cited by examiner, † Cited by third party
Publication number Priority date Publication date Assignee Title
JPS5467778A (en) * 1977-11-10 1979-05-31 Toshiba Corp Production of semiconductor device
JPH11312814A (ja) * 1998-04-28 1999-11-09 Toyota Motor Corp 太陽電池素子
JP2004214442A (ja) * 2003-01-06 2004-07-29 Sanyo Electric Co Ltd 光起電力装置およびその製造方法
US20080173347A1 (en) * 2007-01-23 2008-07-24 General Electric Company Method And Apparatus For A Semiconductor Structure
KR20110086833A (ko) * 2008-10-23 2011-08-01 어플라이드 머티어리얼스, 인코포레이티드 반도체 소자 제조 방법, 반도체 소자 및 반도체 소자 제조 설비
JP2010123859A (ja) * 2008-11-21 2010-06-03 Kyocera Corp 太陽電池素子および太陽電池素子の製造方法
JP5174635B2 (ja) * 2008-11-28 2013-04-03 京セラ株式会社 太陽電池素子
US9318644B2 (en) * 2009-05-05 2016-04-19 Solexel, Inc. Ion implantation and annealing for thin film crystalline solar cells
CN102473750B (zh) * 2009-07-03 2014-08-20 株式会社钟化 晶体硅系太阳能电池及其制造方法
US8962380B2 (en) * 2009-12-09 2015-02-24 Solexel, Inc. High-efficiency photovoltaic back-contact solar cell structures and manufacturing methods using thin planar semiconductor absorbers
JP5484950B2 (ja) * 2010-02-23 2014-05-07 三洋電機株式会社 太陽電池
US9076909B2 (en) * 2010-06-18 2015-07-07 Semiconductor Energy Laboratory Co., Ltd. Photoelectric conversion device and method for manufacturing the same
US20120312361A1 (en) * 2011-06-08 2012-12-13 International Business Machines Corporation Emitter structure and fabrication method for silicon heterojunction solar cell
KR20130050721A (ko) * 2011-11-08 2013-05-16 삼성에스디아이 주식회사 태양 전지
JP5868290B2 (ja) * 2012-08-23 2016-02-24 三菱電機株式会社 光起電力装置およびその製造方法
JP5889163B2 (ja) * 2012-11-02 2016-03-22 三菱電機株式会社 光起電力装置およびその製造方法、光起電力モジュール
KR101925928B1 (ko) * 2013-01-21 2018-12-06 엘지전자 주식회사 태양 전지 및 그의 제조 방법
US9640699B2 (en) * 2013-02-08 2017-05-02 International Business Machines Corporation Interdigitated back contact heterojunction photovoltaic device
JP2015026666A (ja) * 2013-07-25 2015-02-05 日立化成株式会社 両面受光型太陽電池素子、その製造方法及び両面受光型太陽電池モジュール
US9105769B2 (en) * 2013-09-12 2015-08-11 International Business Machines Corporation Shallow junction photovoltaic devices
US11031516B2 (en) * 2013-10-25 2021-06-08 Sharp Kabushiki Kaisha Photoelectric conversion element, photoelectric conversion module, and solar photovoltaic power generation system

Also Published As

Publication number Publication date
JPWO2016194301A1 (ja) 2018-03-01
WO2016194301A1 (ja) 2016-12-08
JP2019033298A (ja) 2019-02-28
JP6893331B2 (ja) 2021-06-23
CN107735866A (zh) 2018-02-23
US20180076340A1 (en) 2018-03-15
CN107735866B (zh) 2021-05-14

Similar Documents

Publication Publication Date Title
JP5820988B2 (ja) 光電変換装置及びその製造方法
US9214576B2 (en) Transparent conducting oxide for photovoltaic devices
JP5461028B2 (ja) 太陽電池
JP5705968B2 (ja) 光電変換装置及びその製造方法
JP5538360B2 (ja) 太陽電池の製造方法及び太陽電池
US20130298973A1 (en) Tunneling-junction solar cell with shallow counter doping layer in the substrate
JP6893331B2 (ja) 太陽電池
JP2013239694A (ja) トンネル酸化物を有する後面接合太陽電池
JP5927027B2 (ja) 光電変換装置
TWI424582B (zh) 太陽能電池的製造方法
CN103515456A (zh) 太阳能电池
JPWO2013179529A1 (ja) 太陽電池
JPWO2012132766A1 (ja) 光電変換装置及び光電変換装置の製造方法
JP6706779B2 (ja) 太陽電池および太陽電池モジュール
JP5645734B2 (ja) 太陽電池素子
JPWO2014068965A1 (ja) 太陽電池
US20180287003A1 (en) Solar cell and method of manufacturing solar cell
JP5971499B2 (ja) 太陽電池及びその製造方法
WO2012132614A1 (ja) 光電変換装置
TWI581447B (zh) 異質接面太陽能電池結構及其製作方法
JP5963024B2 (ja) 太陽電池の製造方法及び太陽電池
JP2014112735A (ja) 太陽電池の製造方法

Legal Events

Date Code Title Description
A621 Written request for application examination

Free format text: JAPANESE INTERMEDIATE CODE: A621

Effective date: 20171114

A131 Notification of reasons for refusal

Free format text: JAPANESE INTERMEDIATE CODE: A131

Effective date: 20180417

A601 Written request for extension of time

Free format text: JAPANESE INTERMEDIATE CODE: A601

Effective date: 20180614

A521 Request for written amendment filed

Free format text: JAPANESE INTERMEDIATE CODE: A523

Effective date: 20180813

A131 Notification of reasons for refusal

Free format text: JAPANESE INTERMEDIATE CODE: A131

Effective date: 20180821

A521 Request for written amendment filed

Free format text: JAPANESE INTERMEDIATE CODE: A523

Effective date: 20181019

TRDD Decision of grant or rejection written
A01 Written decision to grant a patent or to grant a registration (utility model)

Free format text: JAPANESE INTERMEDIATE CODE: A01

Effective date: 20181030

A61 First payment of annual fees (during grant procedure)

Free format text: JAPANESE INTERMEDIATE CODE: A61

Effective date: 20181128

R151 Written notification of patent or utility model registration

Ref document number: 6452011

Country of ref document: JP

Free format text: JAPANESE INTERMEDIATE CODE: R151