JP5174635B2 - 太陽電池素子 - Google Patents
太陽電池素子 Download PDFInfo
- Publication number
- JP5174635B2 JP5174635B2 JP2008304640A JP2008304640A JP5174635B2 JP 5174635 B2 JP5174635 B2 JP 5174635B2 JP 2008304640 A JP2008304640 A JP 2008304640A JP 2008304640 A JP2008304640 A JP 2008304640A JP 5174635 B2 JP5174635 B2 JP 5174635B2
- Authority
- JP
- Japan
- Prior art keywords
- layer
- solar cell
- cell element
- type
- semiconductor substrate
- Prior art date
- Legal status (The legal status is an assumption and is not a legal conclusion. Google has not performed a legal analysis and makes no representation as to the accuracy of the status listed.)
- Expired - Fee Related
Links
Images
Classifications
-
- Y—GENERAL TAGGING OF NEW TECHNOLOGICAL DEVELOPMENTS; GENERAL TAGGING OF CROSS-SECTIONAL TECHNOLOGIES SPANNING OVER SEVERAL SECTIONS OF THE IPC; TECHNICAL SUBJECTS COVERED BY FORMER USPC CROSS-REFERENCE ART COLLECTIONS [XRACs] AND DIGESTS
- Y02—TECHNOLOGIES OR APPLICATIONS FOR MITIGATION OR ADAPTATION AGAINST CLIMATE CHANGE
- Y02E—REDUCTION OF GREENHOUSE GAS [GHG] EMISSIONS, RELATED TO ENERGY GENERATION, TRANSMISSION OR DISTRIBUTION
- Y02E10/00—Energy generation through renewable energy sources
- Y02E10/50—Photovoltaic [PV] energy
Landscapes
- Photovoltaic Devices (AREA)
Description
<太陽電池素子の構造>
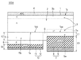
図1は、本発明の第1の実施の形態に係る太陽電池素子100Aの断面構造を示す図である。図2は、太陽電池素子100Aの裏面図である。
次に、太陽電池素子100Aに上述のような形態にてドープ層3を設けることで得られる効果について説明する。
次に、i型半導体層5の厚み(i型半導体層5の第1の部分5aの厚みt1および第2の部分5bの厚みt2)と、素子の発電効率との関係について説明する。
次に、第1の実施の形態に係る太陽電池素子100Aの製造方法について説明する。以降の説明においては、n型のドーパントとしてPが用いられ、半導体基板が表面凹凸構造を有する太陽電池素子100Aを製造する場合を例として説明する。図3は、太陽電池素子100Aの製造工程の流れを示す図である。図4ないし図6は、製造工程の途中段階における素子の構造を模式的に示す図である。
次に、第2の実施の形態に係る太陽電池素子100Bについて説明する。図7は、第2の実施の形態に係る太陽電池素子100Bの断面構造を示す図である。なお、第1の実施の形態に係る太陽電池素子100Aと同様の作用効果を奏する構成要素については、同一の符号を付し、以下ではその説明を省略する。
また、上述の説明においては、n型の導電型を呈するn型半導体領域2を有する半導体基板1を使用した場合について説明したが、半導体基板はn型に限定されることなくp型に対しても適用できる。例えば、p型の導電型を呈するp型半導体領域2を有する半導体基板1を準備した場合(この場合、ドープ層3はp+)、i型半導体層5の第1の部分5a(p側)の方を、第2の部分5b(n側)よりも、薄くする方がよい。
実施例として、第1の実施の形態に係る太陽電池素子100Aについて、厚みt1および厚みt2を(t1>t2の場合を含めて)種々の値とした12種類の太陽電池素子を作成した。12種類の太陽電池素子は互いに、厚みt1および厚みt2の少なくとも一方の大きさが異なるものである。
2 n型半導体領域
3 ドープ層
5 i型半導体層
5a i型半導体5の第1の部分
5b i型半導体5の第2の部分
6 p型半導体層
7 n型電極
8 第1シード層
100A〜B 太陽電池素子
Claims (7)
- 第1の面と第2の面とを含み、第1の導電型を有する半導体基板と、
前記第1の導電型に寄与するドーパントを前記半導体基板よりも高い濃度で含有し、前記半導体基板の前記第1の面の第1領域に設けられた第1ドープ層と、
前記半導体基板の前記第1ドープ層上に設けられた第1の部分と、前記半導体基板の前記第1の面の第2領域に設けられた第2の部分と、を含む真性半導体層と、
第2の導電型を有し、前記真性半導体層の前記第2の部分上に設けられた第2の導電型の層と、
を有する太陽電池素子であって、
前記真性半導体層の前記第1の部分の厚みが3nm以上5nm以下であり、前記第2の部分の厚みが6nm以上10nm以下であることを特徴とする太陽電池素子。 - 請求項1に記載の太陽電池素子において、
前記第1ドープ層は、前記半導体基板内に設けられていることを特徴とする太陽電池素子。 - 請求項1または請求項2に記載の太陽電池素子において、
前記第2領域の面積が前記第1領域の面積よりも大きいことを特徴とする太陽電池素子。 - 請求項1ないし請求項3のいずれかに記載の太陽電池素子において、
前記真性半導体層の前記第1の部分に設けられた第1電極と、
前記第2の導電型層上に設けられた第2電極と、
をさらに備え、
前記第1電極と前記第2電極との電気抵抗値が等しいことを特徴とする太陽電池素子。 - 請求項1ないし請求項4のいずれかに記載の太陽電池素子において、
前記半導体基板の前記第2の面側に、前記第1の導電型に寄与するドーパントを前記半導体基板よりも高い濃度で含有する第2ドープ層をさらに有する、ことを特徴とする太陽電池素子。 - 請求項5に記載の太陽電池素子において、
前記第1および第2ドープ層が、前記半導体基板の外縁部に熱拡散層として設けられてなる、ことを特徴とする太陽電池素子。 - 請求項1ないし請求項6のいずれかに記載の太陽電池素子において、
前記半導体基板の前記第2の面上に反射防止層をさらに備える、ことを特徴とする太陽電池素子。
Priority Applications (1)
| Application Number | Priority Date | Filing Date | Title |
|---|---|---|---|
| JP2008304640A JP5174635B2 (ja) | 2008-11-28 | 2008-11-28 | 太陽電池素子 |
Applications Claiming Priority (1)
| Application Number | Priority Date | Filing Date | Title |
|---|---|---|---|
| JP2008304640A JP5174635B2 (ja) | 2008-11-28 | 2008-11-28 | 太陽電池素子 |
Publications (2)
| Publication Number | Publication Date |
|---|---|
| JP2010129872A JP2010129872A (ja) | 2010-06-10 |
| JP5174635B2 true JP5174635B2 (ja) | 2013-04-03 |
Family
ID=42330047
Family Applications (1)
| Application Number | Title | Priority Date | Filing Date |
|---|---|---|---|
| JP2008304640A Expired - Fee Related JP5174635B2 (ja) | 2008-11-28 | 2008-11-28 | 太陽電池素子 |
Country Status (1)
| Country | Link |
|---|---|
| JP (1) | JP5174635B2 (ja) |
Families Citing this family (11)
| Publication number | Priority date | Publication date | Assignee | Title |
|---|---|---|---|---|
| KR20120040016A (ko) * | 2010-10-18 | 2012-04-26 | 엘지전자 주식회사 | 태양 전지용 기판 및 태양 전지 |
| KR101130195B1 (ko) | 2011-01-10 | 2012-03-30 | 엘지전자 주식회사 | 태양 전지 및 그 제조방법 |
| US9368655B2 (en) | 2010-12-27 | 2016-06-14 | Lg Electronics Inc. | Solar cell and method for manufacturing the same |
| JP2013191656A (ja) * | 2012-03-13 | 2013-09-26 | Sharp Corp | 光電変換素子およびその製造方法 |
| CN104137269B (zh) | 2012-05-14 | 2016-12-28 | 三菱电机株式会社 | 光电变换装置及其制造方法、光电变换模块 |
| US11227961B2 (en) | 2013-10-25 | 2022-01-18 | Sharp Kabushiki Kaisha | Photoelectric conversion device |
| WO2016076300A1 (ja) * | 2014-11-14 | 2016-05-19 | シャープ株式会社 | 光電変換素子 |
| WO2016194301A1 (ja) * | 2015-05-29 | 2016-12-08 | パナソニックIpマネジメント株式会社 | 太陽電池 |
| JP7221276B2 (ja) * | 2018-03-23 | 2023-02-13 | 株式会社カネカ | 太陽電池の製造方法、および、太陽電池 |
| JP7169440B2 (ja) * | 2019-04-23 | 2022-11-10 | 株式会社カネカ | 太陽電池の製造方法および太陽電池 |
| CN115084312B (zh) * | 2022-03-11 | 2024-07-02 | 广东爱旭科技有限公司 | 太阳能电池的制备方法及太阳能电池组件、发电系统 |
Family Cites Families (5)
| Publication number | Priority date | Publication date | Assignee | Title |
|---|---|---|---|---|
| JPH0795603B2 (ja) * | 1990-09-20 | 1995-10-11 | 三洋電機株式会社 | 光起電力装置 |
| JP2614561B2 (ja) * | 1991-10-08 | 1997-05-28 | 三洋電機株式会社 | 光起電力素子 |
| JP4155899B2 (ja) * | 2003-09-24 | 2008-09-24 | 三洋電機株式会社 | 光起電力素子の製造方法 |
| JP3998619B2 (ja) * | 2003-09-24 | 2007-10-31 | 三洋電機株式会社 | 光起電力素子およびその製造方法 |
| JP2006332273A (ja) * | 2005-05-25 | 2006-12-07 | Sharp Corp | 裏面電極型太陽電池 |
-
2008
- 2008-11-28 JP JP2008304640A patent/JP5174635B2/ja not_active Expired - Fee Related
Also Published As
| Publication number | Publication date |
|---|---|
| JP2010129872A (ja) | 2010-06-10 |
Similar Documents
| Publication | Publication Date | Title |
|---|---|---|
| JP5174635B2 (ja) | 太陽電池素子 | |
| CN102403371B (zh) | 具有电镀的金属格栅的太阳能电池 | |
| CN103703567B (zh) | 太阳能电池及其制造方法以及太阳能电池模块 | |
| JP5694620B1 (ja) | 結晶シリコン系太陽電池の製造方法、および結晶シリコン系太陽電池モジュールの製造方法 | |
| JP5774204B2 (ja) | 光起電力素子およびその製造方法、太陽電池モジュール | |
| CN102623517B (zh) | 一种背接触型晶体硅太阳能电池及其制作方法 | |
| JP2010123859A (ja) | 太陽電池素子および太陽電池素子の製造方法 | |
| KR101597532B1 (ko) | 후면전극형 태양전지의 제조방법 | |
| JP2010147324A (ja) | 太陽電池素子および太陽電池素子の製造方法 | |
| JP2004266023A (ja) | 太陽電池およびその製造方法 | |
| US9640673B2 (en) | Solar cell and manufacturing method thereof | |
| TW201937748A (zh) | 太陽能電池之製造方法 | |
| KR20130082066A (ko) | 광기전력소자 및 제조 방법 | |
| CN112088436A (zh) | 太阳能电池的制造方法及用于该方法中的承载装置 | |
| WO2019163647A1 (ja) | 太陽電池の製造方法 | |
| TWI783063B (zh) | 太陽電池之製造方法 | |
| TW201330304A (zh) | 藉由穿通方式之背接式太陽電池製造方法 | |
| JP5645734B2 (ja) | 太陽電池素子 | |
| JP7183245B2 (ja) | 太陽電池の製造方法 | |
| JP2011077454A (ja) | 結晶シリコン系太陽電池とその製造方法 | |
| JP7237920B2 (ja) | 太陽電池の製造方法 | |
| JP7353865B2 (ja) | 太陽電池の製造方法 | |
| CN113437161A (zh) | 太阳能电池片及其制备方法和光伏组件 | |
| WO2020022044A1 (ja) | 太陽電池の製造方法 | |
| CN112951928B (zh) | 电极结构与太阳电池结构 |
Legal Events
| Date | Code | Title | Description |
|---|---|---|---|
| A621 | Written request for application examination |
Free format text: JAPANESE INTERMEDIATE CODE: A621 Effective date: 20110818 |
|
| A977 | Report on retrieval |
Free format text: JAPANESE INTERMEDIATE CODE: A971007 Effective date: 20120905 |
|
| A131 | Notification of reasons for refusal |
Free format text: JAPANESE INTERMEDIATE CODE: A131 Effective date: 20120911 |
|
| A521 | Request for written amendment filed |
Free format text: JAPANESE INTERMEDIATE CODE: A523 Effective date: 20121031 |
|
| TRDD | Decision of grant or rejection written | ||
| A01 | Written decision to grant a patent or to grant a registration (utility model) |
Free format text: JAPANESE INTERMEDIATE CODE: A01 Effective date: 20121204 |
|
| A61 | First payment of annual fees (during grant procedure) |
Free format text: JAPANESE INTERMEDIATE CODE: A61 Effective date: 20121228 |
|
| R150 | Certificate of patent or registration of utility model |
Ref document number: 5174635 Country of ref document: JP Free format text: JAPANESE INTERMEDIATE CODE: R150 |
|
| LAPS | Cancellation because of no payment of annual fees |
