JP6404397B2 - 大腿骨頸部骨折用インプラント - Google Patents

大腿骨頸部骨折用インプラント Download PDF

Info

Publication number
JP6404397B2
JP6404397B2 JP2017079537A JP2017079537A JP6404397B2 JP 6404397 B2 JP6404397 B2 JP 6404397B2 JP 2017079537 A JP2017079537 A JP 2017079537A JP 2017079537 A JP2017079537 A JP 2017079537A JP 6404397 B2 JP6404397 B2 JP 6404397B2
Authority
JP
Japan
Prior art keywords
bone
shaft
shaft portion
groove
implant
Prior art date
Legal status (The legal status is an assumption and is not a legal conclusion. Google has not performed a legal analysis and makes no representation as to the accuracy of the status listed.)
Active
Application number
JP2017079537A
Other languages
English (en)
Other versions
JP2017121567A (ja
Inventor
オベレス・トム
ミュラー・デビッド
オズワルド・マーティン
Current Assignee (The listed assignees may be inaccurate. Google has not performed a legal analysis and makes no representation or warranty as to the accuracy of the list.)
Synthes GmbH
Original Assignee
Synthes GmbH
Priority date (The priority date is an assumption and is not a legal conclusion. Google has not performed a legal analysis and makes no representation as to the accuracy of the date listed.)
Filing date
Publication date
Application filed by Synthes GmbH filed Critical Synthes GmbH
Publication of JP2017121567A publication Critical patent/JP2017121567A/ja
Application granted granted Critical
Publication of JP6404397B2 publication Critical patent/JP6404397B2/ja
Active legal-status Critical Current
Anticipated expiration legal-status Critical

Links

Images

Classifications

    • AHUMAN NECESSITIES
    • A61MEDICAL OR VETERINARY SCIENCE; HYGIENE
    • A61BDIAGNOSIS; SURGERY; IDENTIFICATION
    • A61B17/00Surgical instruments, devices or methods
    • A61B17/56Surgical instruments or methods for treatment of bones or joints; Devices specially adapted therefor
    • A61B17/58Surgical instruments or methods for treatment of bones or joints; Devices specially adapted therefor for osteosynthesis, e.g. bone plates, screws or setting implements
    • A61B17/68Internal fixation devices, including fasteners and spinal fixators, even if a part thereof projects from the skin
    • A61B17/74Devices for the head or neck or trochanter of the femur
    • A61B17/742Devices for the head or neck or trochanter of the femur having one or more longitudinal elements oriented along or parallel to the axis of the neck
    • A61B17/746Devices for the head or neck or trochanter of the femur having one or more longitudinal elements oriented along or parallel to the axis of the neck the longitudinal elements coupled to a plate opposite the femoral head
    • AHUMAN NECESSITIES
    • A61MEDICAL OR VETERINARY SCIENCE; HYGIENE
    • A61BDIAGNOSIS; SURGERY; IDENTIFICATION
    • A61B17/00Surgical instruments, devices or methods
    • A61B17/16Instruments for performing osteoclasis; Drills or chisels for bones; Trepans
    • A61B17/17Guides or aligning means for drills, mills, pins or wires
    • A61B17/1721Guides or aligning means for drills, mills, pins or wires for applying pins along or parallel to the axis of the femoral neck
    • AHUMAN NECESSITIES
    • A61MEDICAL OR VETERINARY SCIENCE; HYGIENE
    • A61BDIAGNOSIS; SURGERY; IDENTIFICATION
    • A61B17/00Surgical instruments, devices or methods
    • A61B17/56Surgical instruments or methods for treatment of bones or joints; Devices specially adapted therefor
    • A61B17/58Surgical instruments or methods for treatment of bones or joints; Devices specially adapted therefor for osteosynthesis, e.g. bone plates, screws or setting implements
    • A61B17/68Internal fixation devices, including fasteners and spinal fixators, even if a part thereof projects from the skin
    • A61B17/74Devices for the head or neck or trochanter of the femur
    • AHUMAN NECESSITIES
    • A61MEDICAL OR VETERINARY SCIENCE; HYGIENE
    • A61BDIAGNOSIS; SURGERY; IDENTIFICATION
    • A61B17/00Surgical instruments, devices or methods
    • A61B17/56Surgical instruments or methods for treatment of bones or joints; Devices specially adapted therefor
    • A61B17/58Surgical instruments or methods for treatment of bones or joints; Devices specially adapted therefor for osteosynthesis, e.g. bone plates, screws or setting implements
    • A61B17/68Internal fixation devices, including fasteners and spinal fixators, even if a part thereof projects from the skin
    • A61B17/80Cortical plates, i.e. bone plates; Instruments for holding or positioning cortical plates, or for compressing bones attached to cortical plates
    • A61B17/8052Cortical plates, i.e. bone plates; Instruments for holding or positioning cortical plates, or for compressing bones attached to cortical plates immobilised relative to screws by interlocking form of the heads and plate holes, e.g. conical or threaded
    • A61B17/8057Cortical plates, i.e. bone plates; Instruments for holding or positioning cortical plates, or for compressing bones attached to cortical plates immobilised relative to screws by interlocking form of the heads and plate holes, e.g. conical or threaded the interlocking form comprising a thread
    • AHUMAN NECESSITIES
    • A61MEDICAL OR VETERINARY SCIENCE; HYGIENE
    • A61BDIAGNOSIS; SURGERY; IDENTIFICATION
    • A61B17/00Surgical instruments, devices or methods
    • A61B17/56Surgical instruments or methods for treatment of bones or joints; Devices specially adapted therefor
    • A61B17/58Surgical instruments or methods for treatment of bones or joints; Devices specially adapted therefor for osteosynthesis, e.g. bone plates, screws or setting implements
    • A61B17/68Internal fixation devices, including fasteners and spinal fixators, even if a part thereof projects from the skin
    • A61B17/84Fasteners therefor or fasteners being internal fixation devices
    • A61B17/86Pins or screws or threaded wires; nuts therefor
    • A61B17/8605Heads, i.e. proximal ends projecting from bone
    • AHUMAN NECESSITIES
    • A61MEDICAL OR VETERINARY SCIENCE; HYGIENE
    • A61BDIAGNOSIS; SURGERY; IDENTIFICATION
    • A61B17/00Surgical instruments, devices or methods
    • A61B17/56Surgical instruments or methods for treatment of bones or joints; Devices specially adapted therefor
    • A61B17/58Surgical instruments or methods for treatment of bones or joints; Devices specially adapted therefor for osteosynthesis, e.g. bone plates, screws or setting implements
    • A61B17/68Internal fixation devices, including fasteners and spinal fixators, even if a part thereof projects from the skin
    • A61B17/84Fasteners therefor or fasteners being internal fixation devices
    • A61B17/86Pins or screws or threaded wires; nuts therefor
    • A61B17/8625Shanks, i.e. parts contacting bone tissue
    • A61B17/863Shanks, i.e. parts contacting bone tissue with thread interrupted or changing its form along shank, other than constant taper
    • AHUMAN NECESSITIES
    • A61MEDICAL OR VETERINARY SCIENCE; HYGIENE
    • A61BDIAGNOSIS; SURGERY; IDENTIFICATION
    • A61B17/00Surgical instruments, devices or methods
    • A61B17/56Surgical instruments or methods for treatment of bones or joints; Devices specially adapted therefor
    • A61B17/58Surgical instruments or methods for treatment of bones or joints; Devices specially adapted therefor for osteosynthesis, e.g. bone plates, screws or setting implements
    • A61B17/68Internal fixation devices, including fasteners and spinal fixators, even if a part thereof projects from the skin
    • A61B17/84Fasteners therefor or fasteners being internal fixation devices
    • A61B17/86Pins or screws or threaded wires; nuts therefor
    • A61B17/8685Pins or screws or threaded wires; nuts therefor comprising multiple separate parts
    • AHUMAN NECESSITIES
    • A61MEDICAL OR VETERINARY SCIENCE; HYGIENE
    • A61BDIAGNOSIS; SURGERY; IDENTIFICATION
    • A61B17/00Surgical instruments, devices or methods
    • A61B17/56Surgical instruments or methods for treatment of bones or joints; Devices specially adapted therefor
    • A61B17/58Surgical instruments or methods for treatment of bones or joints; Devices specially adapted therefor for osteosynthesis, e.g. bone plates, screws or setting implements
    • A61B17/88Osteosynthesis instruments; Methods or means for implanting or extracting internal or external fixation devices
    • A61B17/90Guides therefor
    • AHUMAN NECESSITIES
    • A61MEDICAL OR VETERINARY SCIENCE; HYGIENE
    • A61BDIAGNOSIS; SURGERY; IDENTIFICATION
    • A61B17/00Surgical instruments, devices or methods
    • A61B17/56Surgical instruments or methods for treatment of bones or joints; Devices specially adapted therefor
    • A61B17/58Surgical instruments or methods for treatment of bones or joints; Devices specially adapted therefor for osteosynthesis, e.g. bone plates, screws or setting implements
    • A61B17/68Internal fixation devices, including fasteners and spinal fixators, even if a part thereof projects from the skin
    • A61B17/84Fasteners therefor or fasteners being internal fixation devices
    • A61B17/86Pins or screws or threaded wires; nuts therefor
    • A61B17/864Pins or screws or threaded wires; nuts therefor hollow, e.g. with socket or cannulated

Landscapes

  • Health & Medical Sciences (AREA)
  • Orthopedic Medicine & Surgery (AREA)
  • Surgery (AREA)
  • Life Sciences & Earth Sciences (AREA)
  • Heart & Thoracic Surgery (AREA)
  • Veterinary Medicine (AREA)
  • Engineering & Computer Science (AREA)
  • Biomedical Technology (AREA)
  • Nuclear Medicine, Radiotherapy & Molecular Imaging (AREA)
  • Medical Informatics (AREA)
  • Molecular Biology (AREA)
  • Animal Behavior & Ethology (AREA)
  • General Health & Medical Sciences (AREA)
  • Public Health (AREA)
  • Neurology (AREA)
  • Dentistry (AREA)
  • Oral & Maxillofacial Surgery (AREA)
  • Surgical Instruments (AREA)
  • Prostheses (AREA)

Description

(関連出願の相互参照)
本願は、米国特許仮出願第61/561,439号(2011年11月18日出願、名称「Fastener」)及び同第61/692,053号(2012年8月22日出願、名称「Femoral Neck Fracture Implant」)に対する優先権を主張するものであり、これらの開示全体は、参照することにより本明細書に組み込まれるものとする。
(発明の分野)
本発明は、概して、締結具、締結具アセンブリ、締結具アセンブリ用キット、締結具アセンブリの組み立て方法、及び骨への締結具アセンブリの埋め込み方法に関する。
大腿骨頸部骨折は、大腿骨頸部の軸に沿って大腿骨頭部に挿入されるピン又は他のインプラントを使用して治療されることが多い。かかる製品の1つは、Stryker(登録商標)Hansson(登録商標)ピンシステムであり、この製品では、ロッドの第1及び第2の端部が側壁によって互いから分離されており、その外側表面にはねじ切り部が存在しない。Hansson(登録商標)ピンは、Hansson(登録商標)ピンを大腿骨頭部に固定するための第1の端部領域から配置可能なフックを有する。このフックは、軸の第2の端部を押すことにより配置され、これにより、フックが側壁内の穴を通って配置される。概して、2個又は3個のHansson(登録商標)ピンが大腿骨頭部に挿入されて大腿骨頭部を固定し、大腿骨頸部骨折の治癒を促す。
大腿骨頸部骨折の治療に使用される他の既知の製品には、Stryker(登録商標)Gamma3(登録商標)Hip Fractureシステム及びSmith+Nephew(登録商標)Trigen(登録商標)Intertan(登録商標)Trochanteric Nailシステムが挙げられる。これらの両システムは大腿骨に挿入可能な髄内くぎを備えており、大腿骨頸部骨折を固定するために髄内くぎから大腿骨頭部に挿入可能なロッド状の締結具を有する。更に、これらの各システムは、くぎに固定されるロッド状締結具に対する大腿骨頭部の不必要な回転を最低限に抑えるための機構を有する。締結具の固定後に大腿骨頭部が頸部骨折に対して内側移動すると、ロッド状締結具の端部が大腿骨頭部に穴を開け、股関節を損傷させ得る。別の既知の製品は、大腿骨頭部付近で大腿骨に固定可能な骨プレートを含む、Synthes(登録商標)DHS(登録商標)である。この骨プレートは、プレートを貫通して大腿骨に入り込む複数の骨ねじによって位置付けられると、回転が妨げられる。この骨プレートは、ロッド状締結具が溝を貫通して大腿骨頭部に入り込んで大腿骨頭部を安定させ、大腿骨頸部骨折を治癒できるように位置付けられた部分全体に延在する溝を含む。ロッド状締結具は、力を受けて大腿骨頭部へと押し込まれる。
本発明の目的は、大腿骨頸部骨折を固定するために、改善されたシステムを提供することである。
本発明は、近位端から遠位端まで延在する挿入器具を含む骨固定システムを埋め込むための装置であって、遠位端は骨プレートの近位端と取り外し可能に係合するための係合部分を有し、挿入器具は、その挿入器具を貫通する細長い溝を有し、その細長い溝を通して第1の保護スリーブを挿入できる、装置を目的とし、細長い溝の長手方向軸は、骨プレートを貫通する第1の開口部の長手方向軸及び細長い溝に挿入可能な第1の保護スリーブと同軸であり、内部を通しかつ骨プレートを通した回転防止ねじの挿入を誘導し、第1の保護スリーブの長手方向軸は、細長い溝の長手方向軸に対して角度が設定されている。
第1の態様では、本発明は、骨固定装置の骨内への挿入を誘導する照準器具を提供し、この照準器具は、第1の部分及び第2の部分を含む照準アームであって、第1の部分は近位端から遠位端まで延在し、第1の部分を貫通する細長い溝を有し、遠位端は骨固定装置の近位端と取り外し可能に係合する係合部分を有し、照準アームの側壁は、細長い溝に対して開いている細長いスロットを含む、照準アームと、細長い溝に取り外し可能に挿入できる細長い要素であって、第1のシャフト部分及び第2のシャフト部分を有し、第1のシャフト部分は細長い溝に挿入され、照準アームと固定的に係合し、第2のシャフト部分は細長いスロットを貫通し、第2のシャフト部分の中を貫通する開口部を有して、開口部を通した、骨固定装置への回転防止ねじの挿入を誘導する、細長い要素と、を含む。
第2の態様では、本発明は、骨への骨固定装置の埋め込み方法を含み、この方法は、貫通する細長い溝を有するガイドアセンブリの第1の部分が骨固定装置の長手方向軸と同軸であるように、ガイドアセンブリの遠位端を骨固定装置の近位端と係合する工程であって、第1の部分が近位端から遠位端まで延在する、工程と、細長い溝から細長いシャフト部分を挿入する工程であって、細長いシャフト部分が第1の保護スリーブを含む、工程と、骨プレートの第1の部分が骨の外表面の上に位置付けられ、骨プレートの第2の部分が骨内で受容されるように、骨幹内に骨固定装置を挿入する工程と、回転防止ねじの軸が骨固定装置の長手方向軸からずれた角度で骨固定装置から延出するまで第1の保護スリーブから回転防止ねじを挿入する工程と、を含む。
具体例を挙げ添付の図面を参照して本発明のいくつかの実施形態について以下で述べる。
本発明の第1の例示の実施形態による骨締結具アセンブリの第1の斜視図を示す。 図1の骨締結具アセンブリの第2の斜視図を示す。 図1の骨締結具アセンブリの骨プレートの第1の斜視図を示す。 図3の骨プレートの第2の斜視図を示す。 図3の骨プレートの第3の斜視図を示す。 図3の骨プレートの断面図を示す。 図1の骨締結具アセンブリのインプラントシャフトの第1の斜視図を示す。 図7のインプラントシャフトの第2の斜視図を示す。 図7のインプラントシャフトの断面図を示す。 図1の骨締結具アセンブリの部分断面図を示す。 図1の骨締結具アセンブリを使用するための第1の外科的工程を示す。 図1の骨締結具アセンブリを使用するための第2の外科的工程を示す。 図1の骨締結具アセンブリを使用するための第3の外科的工程を示す。 図1の骨締結具アセンブリを使用するための第4の外科的工程を示す。 図1の骨締結具アセンブリを使用するための第5の外科的工程を示す。 図1の骨締結具アセンブリを使用するための第6の外科的工程を示す。 図1の骨締結具アセンブリを使用するための第7の外科的工程を示す。 図1の骨締結具アセンブリを使用するための第8の外科的工程を示す。 図1の骨締結具アセンブリを使用するための第9の外科的工程を示す。 図1の骨締結具アセンブリを使用するための第10の外科的工程を示す。 第1の術後構成における図1の骨締結具アセンブリの側面図を示す。 図21の骨締結具アセンブリの断面図を示す。 第2の術後構成における図1の骨締結具アセンブリの側面図を示す。 図23の骨締結具アセンブリの断面図を示す。 本発明の第1の別の実施形態による骨締結具アセンブリの側面図を示す。 図25の骨締結具アセンブリの断面図を示す。 本発明の第2の別の実施形態による骨締結具アセンブリの側面図を示す。 図27の骨締結具アセンブリの断面図を示す。 本発明の第3の別の実施形態による骨締結具アセンブリの斜視図を示す。 本発明の第4の別の実施形態による骨締結具アセンブリの斜視図を示す。 本発明の第5の実施形態による骨締結具アセンブリの斜視図を示す。 図31の骨締結具アセンブリを使用するための第1の外科的工程を示す。 図31の骨締結具アセンブリを使用するための第2の外科的工程を示す。 本発明による骨締結具アセンブリの任意のものをパッケージ化するためのキットの第1の実施形態を示す。 本発明による骨締結具と共に使用するための挿入装置のキットの第2の実施形態を示す。 本発明の別の実施形態による骨締結具アセンブリの斜視図を示す。 図36の骨締結具アセンブリの骨プレートの第1の斜視図を示す。 図36の骨プレートの第2の斜視図を示す。 図36の骨プレートの断面図を示す。 図36の骨締結具アセンブリのインプラントシャフトの第1の斜視図を示す。 図40のインプラントシャフトの第2の斜視図を示す。 図40のインプラントシャフトの第3の斜視図を示す。 図40のインプラントシャフトの断面図を示す。 図40のインプラントシャフトの側面図を示す。 図37の骨締結具アセンブリの回転防止ねじの斜視図を示す。 図36の骨締結具アセンブリを使用するための第1の外科的工程を示す。 図36の骨締結具アセンブリを使用するための第2の外科的工程を示す。 図36の骨締結具アセンブリを使用するための第3の外科的工程を示す。 図36の骨締結具アセンブリを使用するための第4の外科的工程を示す。 図36の骨締結具アセンブリを使用するための第5の外科的工程を示す。 本発明の別の実施形態による骨締結具アセンブリの斜視図を示す。 図51の骨締結具アセンブリの側面図を示す。 本発明の別の実施形態による骨締結具アセンブリの斜視図を示す。 本発明の別の実施形態によるインプラントシャフトの第1の斜視図を示す。 図54のインプラントシャフトの第2の斜視図を示す。 図54のインプラントシャフトの断面図を示す。 第1の手術構成における本発明によるインプラント用の挿入装置の斜視図を示す。 第2の手術構成における図57の装置の斜視図を示す。 第3の手術構成における図57の装置の斜視図を示す。 第4の手術構成における図57の装置の斜視図を示す。 第5の手術構成における図57の装置の斜視図を示す。 第6の手術構成における図57の装置の第1の斜視図を示す。 第6の手術構成における図57の装置の第2の斜視図を示す。
以下の説明文及び付属の図面を参照することで本発明のより深い理解が得られるであろう。なお、図中、同様の要素は同じ参照符号により示されるものとする。本発明は、骨折の治療に関し、具体的には、大腿骨頸部骨折を固定するための装置に関する。本発明の例示の実施形態は、骨折した、ないしは別の方法で損傷した骨の外側表面に接触して位置付けることができる第1の部分と、部分的に骨に挿入される第2の部分と、を有する骨プレートについて説明する。第1の骨ねじ穴は第1の部分を貫通し、第2の骨ねじ穴は第2の部分を貫通する。第2の部分は、大腿骨頸部の骨折部分全体に延在して大腿骨頭部に入り込む寸法の骨固定軸を更に受容する。骨固定軸は、下記に詳述するように、横方向開口部から挿入される骨固定要素(例えば、骨ねじ)が軸から離れる方向に延在して骨に入り込んで、骨に対して大腿骨頭部が回転するのを防ぐようにしつつ、骨折の固定及び圧迫に役立つように、骨固定軸中心線に対して角度を設定される、横方向開口軸に沿ってその側壁を貫通する横方向開口部を含む。本明細書に使用されるとき、「近位」及び「遠位」という用語は、装置のユーザーに向かう(近位)及び離れる(遠位)方向を指すことに留意されたい。例示の実施形態では、本明細書に開示されるシステム及び方法は、大腿骨頸部骨折に使用されてよい。例示のシステム及び方法は、大腿骨頭部骨折の固定を目的としているが、例示の骨固定システムは、本発明の範囲から逸脱することなく、身体内の任意の他の骨で使用され得る。
本発明による例示のシステム及び方法は、当業者に理解されるであろうように、軟組織の厚さに応じて1箇所又は2箇所の切開を用いて大腿骨頸部骨折を治療するための最小限に侵襲性の手術法を提供する。更に、本発明の骨プレート及び軸インプラントは、身体内に同時挿入されるため、本発明による例示のシステム及び方法は、現在のシステムと比較して、より短時間かつ正確に位置付けられ得る。下記に詳述するように、本発明による例示の方法は、骨固定装置に力を加えて骨に挿入する必要性を排除する。また、本明細書に使用されるとき、「内側」及び「外側」という用語は、骨固定装置が埋め込まれる患者の身体の正中線に向かう(内側)及び離れる(外側)方向を指すことに留意されたい。更に、本明細書に使用されるとき、「頭側」及び「尾側」という用語は、骨固定装置が埋め込まれる患者の頭に向かう(頭側)及び脚に向かう(尾側)方向を指すことが意図される。
図1〜10に示されるように、本発明の第1の実施形態による骨固定システム100は、大腿骨頭部と反対側の大腿骨骨幹軸の標的部分(即ち、大腿骨頸部の軸が貫通する位置の上)に配置する寸法及び形状である骨プレート102を含む。骨プレート102は、大腿骨骨幹軸の中心線と平行である第1の部分軸に沿って大腿骨の標的部分の外側表面と係合する形状の第1の部分104と、第1の部分104が大腿骨の標的部分の上に位置付けられるとき、第2の部分軸120が大腿骨頸部の軸に沿って延在するように選択された角度で第1の平面に対して設定される、第2の部分軸120に沿って第1の部分から離れる方向に延在する第2の部分106と、を備える。ある例示の実施形態では、第1の部分104及び第2の部分106は、図10に示されるように、第1の部分104の骨接触表面107が第2の部分軸120に対して約130°の角度αを囲むように、角度を設定される。この角度では、第2の部分軸120は、プレート102を貫通する止め穴108の止め穴軸110に対して約40°の角度βを囲む。ただし、本発明の範囲から逸脱することなく、患者の骨格に適合するために必要な任意の他の角度が使用され得ることに留意されたい。例えば、角度βは45°であってよい。この実施形態における止め穴軸110は、実質的に第1の部分軸と垂直に延在する。ただし、当業者は、止め穴軸110の方向が、所望に応じて変化し得ることを理解するであろう。止め穴108は、貫通して挿入された骨固定要素10(例えば、骨ねじ)の軸12上の対応するねじ切り部とねじ方式で係合するためのねじ切り部112など多面性表面を含む。骨固定要素10は、当該技術分野において既知の標準的な止めねじであってよい。止め穴108の近位部分は、当業者に理解されるであろうように、骨固定要素10の頭部14を固定するためのねじ切り部不在の陥凹部114を含んでよい。第1の部分104の外側表面は、第1の部分104が平滑な外側輪郭を有して、軟組織を刺激するのを防ぐように、実質的に丸みを帯びていてよい。
第2の部分106は実質的に円筒状であり、第1の部分104が大腿骨の標的部分の上に位置付けられるとき、第2の部分106が大腿骨頸部を貫通して大腿骨頭部内の所望の位置まで延在するように選択された長さに沿って第1の部分104から遠位端116まで延在する。細長い中心溝118は、第2の部分軸120に沿って第2の部分を貫通する。溝の外側表面は、遠位端116に隣接する接合部122を除いて、実質的に平滑である。接合部122は、溝118内へ近位方向に所定の距離を入り込んでおり、近位座部124と、細長い表面126と、を含む。下記に詳述するように、近位座部124は、インプラントシャフト130の停止部を提供し、表面126は、骨プレート102に対する軸130の回転を防ぎ、かつ/又は回転を最小限に抑える。
骨固定システム100は、プレート102から大腿骨頸部の軸及び第2の部分軸120に沿って大腿骨頭部に挿入するためのインプラントシャフト130を更に含む。軸130は、近位端132から遠位端134まで長手方向中心軸136に沿って延在する、細長い、実質的に円筒状部材として形成される。この実施形態におけるインプラントシャフトの直径は、約10mmである。ただし、本発明の範囲を逸脱することなく、患者の骨格の差異に適合させるために他の寸法が使用され得る。例示の実施形態では、インプラントシャフト130が骨1を切り裂くのを防ぐため、遠位端134は先端が尖っていなくてよい。インプラントシャフト130の外側表面は、近位端132から遠位端134まで延在し、接合部122の表面126と係合して、プレート102に対して軸130が回転するのを防ぐように構成されている平面を形成する、細長い切り取り部138を含む。当業者に理解されるであろうように、切り取り部138の形状は、埋め込み時に、大腿骨骨幹軸に対して骨折した大腿骨頭部を回転させる傾向にある力が相殺されて、大腿骨頭部が所望の安定した、大腿骨骨幹軸に揃った状態に保持されるように選択される。つまり、切り取り部138は、インプラントシャフト130が回転するのを防ぐための、インプラントシャフト130と第2の部分106とを摩擦嵌めする必要性を除去する。そこに印加される任意の回転力は、インプラントシャフトに適用される角度の付いたモーメントアームに変換される。切り取り部138は、下記に詳述するように、機械加工ないしは別の方法で形成されて、手術構成における表面126と係合する、実質的に平面的な表面を画定する、インプラントシャフト130の外側表面の一部である。切り取り部138の近位端は、タブ140を含み、このタブ140は、座部124と係合可能であり、インプラントシャフト130が骨に挿入され得る上限を画定する座部124を超えてインプラントシャフト130が遠位方向に挿入されるのを防ぐように選択された距離を、そこから径方向に延在する。一手術構成では、インプラントシャフト130は、形状適合により骨プレート102と係合する。使用法に関して下記で詳述するように、形状適合係合により、埋め込み後に骨プレート102に対するインプラントシャフト130の外側及び内側への嵌め込み移動が可能になる。この移動により、インプラントシャフト130は、治療中に骨の頭部が矯正位置に移動するにしたがって横方向に移動できる。
インプラントシャフト130は、近位端132から遠位端134まで長手方向中心軸136に揃って長手方向に貫通する第1の溝142を含む。例示の実施形態では、第1の溝142は、貫通するガイドワイヤ(例えば、キルシュナーワイヤ)を受容して、インプラントシャフト130の骨への挿入を誘導する寸法である。インプラントシャフト130は、近位端132からインプラントシャフト130の側壁にある遠位開口部146まで軸148に沿って貫通する、実質的に円筒状の第2の溝144を更に含む。この実施形態では、軸148は、長手方向中心軸136に対して約7.5°の角度に設定されている。別の実施形態では、この角度は、5°、6°、8°、又は5°超の任意の他の角度であってよい。更に別の実施形態では、この角度は、0°〜5°の範囲であってよい。図8に示されるように、第2の溝144の遠位開口部146は、切り取り部から周囲方向に離隔されている。インプラントシャフト130に対する第2の溝144の角度配向のために、遠位開口部146における第2の溝144の開口部は実質的に楕円形であり、回転防止ねじ20の軸22がそれに挿入され、そこから出ることができる。具体的には、第2の溝144は実質的に円形の断面を有する。ただし、図7〜9に示されるように、第2の溝144が斜角でインプラントシャフト130から出るために、遠位開口部146は楕円形状を有する。第2の溝144の近位端は、ねじ切り部分150を伴って形成されて、回転防止ねじ20の軸22に形成されたねじ切り部とねじ方式で係合する。ねじ切り部分150は、先細の直径を有して回転防止ねじ20の頭部24の先細の直径と係合してよく、ねじ切り部分150の直径は、頭部24がそれを通過して挿入されないように選択される。
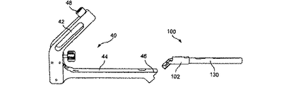
図11〜20は、骨固定システム100の例示の使用方法を示している。第1の工程では、患者を手術台上で仰臥位に寝かせ、当業者に理解されるであろうように、牽引、外転、及び内旋のいずれか1つ以上によって骨折した骨30を一時的に矯正された整合状態に置く。長さ約3〜4cmにわたる直線的な側方切開を大転子の先端の近位で施す。次いで、腸脛靱帯を長さ方向に裂き、筋内膜から背側に外側広筋を引き離す。次いで、骨膜が収縮せずに、骨1の近位の大腿骨骨幹軸が露出する。当業者に理解されるであろうように、ガイドワイヤの遠位端が軟骨下骨に入り込むまで所望の角度で大腿骨頭部の中心からガイドワイヤを挿入する。所望に応じて、当業者に理解されるであろうように、追加のガイドワイヤを大腿骨頭部に挿入することができる。次いで、ガイドワイヤに従って既知のリーミング装置(図示なし)を誘導して、本発明によるインプラントを挿入するための穿孔をリーマーを使用して広げる。次いで、骨30からリーマーを除去し、医師が適切なインプラントの長さを測定し、適切な寸法のインプラントシャフト130を選択する。次いで、タブ140が座部126と係合して、インプラントシャフト130が更に遠位方向に移動しなくなるまで、骨プレート102の第2の部分106の溝118からインプラントシャフト130を挿入する。次いで、図11〜13に示されるように、アーム部分42及び細長い軸部分44、骨プレート102を取り外し可能に把持する遠位端46を含む挿入器具40に組み立てた骨プレート102及びインプラントシャフト130を取り付ける。アーム部分42は湾曲部を備えて示されているが、本発明の範囲から逸脱することなく、他の形状も使用され得ることに留意されたい。アーム部分42は、その第1の端部において第1の部分を貫通する第1の開口部48と、その第2の端部において第2の部分を貫通する第2の開口部50と、を含む。下記に詳述するように、この実施形態による第1の開口部48は、実質的に円形の断面を有して、実質的に円筒状の第1の保護スリーブ60をそこから挿入できる。これも下記に詳述するように、第2の開口部50は実質的に偏長形(例えば、楕円形、長方形など)の断面形状を有して、第2の保護スリーブ70をそこから挿入できる。例示の実施形態では、骨プレート102は摺動自在に挿入されて遠位端46と係合する。ただし、本発明の範囲から逸脱することなく、他の取り付け機構が使用され得る。例示のシステム100では、骨プレート102及びインプラントシャフト130を骨へと移動させる衝突部材は不要である。ただし、別の実施形態では、衝突部材(図示なし)を使用して、最初にインプラントシャフト130に衝突させて骨1の大腿骨頸部及び大腿骨頭部へと移動させ、続いて骨プレート102に衝突させて、プレート102が骨に密着するまで骨1の外側部へと移動させてよい。具体的には、骨プレート102を挿入器具40に取り付けると、骨プレート102から衝突部材を挿入してインプラントシャフト130に接触させ、システム100に衝突させて骨へと移動させてよい。次いで、衝突部材(図示なし)及びガイドワイヤ(図示なし)を骨から除去してよく、図14に示されるように、挿入器具40及びシステム100を骨内に位置付けたままにする。
次いで、第1の保護スリーブ60を挿入器具40内の第1の開口部48から挿入する。第1の保護スリーブ60は、第1の開口部48を貫通し、細長い軸部分44の角度に対して所定の角度で挿入器具40の遠位端46に入り込んでよい。例示の実施形態では、第1の保護スリーブ60及び細長い軸44は、約40°の角度を囲む。ただし、本発明の範囲から逸脱することなく他の角度が使用され得る。第1の保護スリーブ60は、骨1への穿孔を誘導して、その中に骨固定要素10(即ち、バイコルチカル軸ねじ(bicortical shaft screw))を挿入できる。具体的には、当該技術分野において既知の穿孔機構を第1の保護スリーブ60から挿入して、骨プレート102の止め穴108から骨1に開口部を穿孔してよい。次いでこの穿孔機構を除去してよく、第1の保護スリーブ60及び骨プレート102から骨1に骨固定要素10を挿入してよい。骨固定要素10の寸法は、当業者に理解されるであろうように、骨1からのそのバイコルチカル挿入が可能であるように選択される。次いで、第1の保護スリーブ60を挿入器具から除去し、骨固定要素10を骨内の所定の位置に残してよい。
図17〜18に示されるように、第2の保護スリーブ70は、そこを貫通する第1の溝74を有する第1の細長い軸部分72を含んでよく、第1の細長い軸部分72は、挿入器具を使用して挿入可能である。一手術構成では、第1の溝74の長手方向軸75は、実質的にインプラントシャフト130の長手方向軸136に揃っている。第2の保護スリーブ70は、そこを貫通する第2の溝78を有する第2の細長い軸部分76を更に含み、これまでに詳述し、図9に示されるように、第2の細長い軸部分76の長手方向軸77は、長手方向軸75から約5°ずれていて、インプラントシャフト130の軸148に揃っている。細長い軸44はその側壁に細長いスロット(図示なし)を含んで、図18に示される位置まで第2の保護スリーブ70を挿入できてよい。
第2の保護スリーブ70がインプラントシャフト130の近位端132に接触して固定されたら、第2の溝78及び144から穿孔機構(図示なし)を挿入して、回転防止骨ねじ20に備えて骨1を準備してよい。当業者に理解されるであろうように、より軟質の骨においては、予備穿孔は不要であり得る。当業者に理解されるであろうように、次いで、駆動機構(図示なし)を使用して、回転防止ねじ20を第2の保護スリーブ70及びインプラントシャフト130から骨1に挿入してよい。次いで、第2の保護スリーブ70及び挿入器具40を身体から除去し、システム100を骨1に埋め込んだままにしてよい。埋め込むと、大腿骨の頭部は、回転防止ねじ20及び骨プレート102によって、骨1に対して回転するのが妨げられる。軸130は、骨プレート102に対して所望の範囲内で移動できる。具体的には、インプラントシャフト130及びそこから挿入された骨固定要素である回転防止ねじ20の組み合わせは、図21〜22の構成から図23〜24の構成までの距離xを移動できる。当業者は、骨プレート102に対するインプラントシャフト130のこの移動が、埋め込み後及び骨の治癒中にインプラントシャフト130が大腿骨頭部を貫通して内側を穿孔するリスクを最小限に抑えることを理解するであろう。
例示の方法は、最初にバイコルチカルねじ10を挿入し、次いで、回転防止ねじ20を挿入することを示しているが、挿入の順番は、本発明の範囲から逸脱することなく、例えば、外科医の好みにより変更し得ることに留意されたい。例えば、下記のようにシステム800の挿入方法は、最初に回転防止ねじを挿入し、次にバイコルチカルねじを挿入することを目的とする。
図25〜26は、本発明による第1の別の実施形態によるシステム200を示している。システム200は、実質的にシステム100と同様に形成されており、同様の要素は同様の参照符号で示されている。システム200は、骨プレート102と、インプラントシャフト230と、を含む。インプラントシャフト230は、縮径遠位部分240を除いて、実質的にインプラントシャフト130と同様に形成されている。インプラントシャフト230は、近位端132から遠位端234まで延在する。縮径遠位部分240は、遠位端134から近位方向に所定の距離を延在する。当業者に理解されるであろうように、縮径部分240は、インプラントシャフト230を骨に挿入するために必要な骨の除去量を削減し、インプラントシャフト230の遠位端234と回転防止ねじ20の遠位端とのより広い間隔を有する。
図27〜28は、本発明による第2の別の実施形態によるシステム300を示している。システム300は、実質的にシステム100と同様に形成されており、同様の要素は同様の参照符号で示されている。システム300は、骨プレート102と、ねじ切り部遠位部分340を除いて、実質的にインプラントシャフト130と同様に形成されたインプラントシャフト330と、を含む。インプラントシャフト330は近位端132から遠位端234まで延在し、ねじ切り部遠位部分340は、遠位端134から近位方向に所定の距離を延在する。当業者に理解されるであろうように、ねじ切り部遠位部分340は、インプラントシャフト330を骨1内に保持するのに役立つ。
図29は、本発明による第3の別の実施形態によるシステム400を示している。システム400は、実質的にシステム100と同様に形成されており、同様の要素は同様の参照符号で示されている。システム400は、骨プレート102と、インプラントシャフト430と、を含む。インプラントシャフト430は、それを貫通する溝444の位置及び角度を除いて、実質的にインプラントシャフト130と同様に形成されている。具体的には、システム100の溝144は、近位端132から手術構成におけるインプラントシャフトの頭側表面に位置付けられる遠位開口部146まで延在する。対照的に、溝444は、近位端132から手術構成におけるインプラントシャフト430の尾側表面に位置付けられる遠位開口部446まで延在する。溝444の溝軸448は、長手方向中心軸136に対して約−5°の角度に設定されている。ただし、当業者は、本発明の範囲から逸脱することなく、この角度が所望に応じて変更され得ることを理解するであろう。
図30は、本発明による第4の別の実施形態によるシステム500を示している。システム500は、実質的にシステム100と同様に形成されており、同様の要素は同様の参照符号で示されている。システム500は、骨プレート102と、そこを貫通する溝544の位置及び角度を除いて、実質的にインプラントシャフト130と同様に形成されたインプラントシャフト530と、を含む。具体的には、溝544は、近位端132から、一手術構成において、前側方向及び後側方向のうちの1つに面するインプラントシャフト530の表面に位置付けられる遠位端546まで延在する。当業者に理解されるであろうように、医師は、例えば、骨内の骨折の寸法及び位置に応じて、システム100、400、及び500のいずれを使用するかを決定することができる。
図31〜33は、本発明による第5の別の実施形態によるシステム600を示している。システム600は、実質的にシステム100と同様に形成されており、同様の要素は同様の参照符号で示されている。システム600は、骨プレート602と、インプラントシャフト130と、を含み、骨プレート602は、そこを貫通する追加の止め穴を除いて、実質的にインプラントシャフト130と同様に形成されている。具体的には、骨プレート602は、長手方向中心溝118を含む。第1の止め穴608は長手方向中心溝118の尾側に位置付けられ、実質的に止め穴108と同様である。第2の止め穴609は、長手方向中心溝118の頭側で骨プレート602を貫通する。第2の止め穴の穴軸610は、そこから挿入される骨固定要素10’がシステム600の任意の他の部分と交差しないように長手方向中心溝118の溝軸120と実質的に平行である。
システム600の例示の挿入方法は、システム100に関してこれまでに開示した方法と実質的に同様である。ただし、第1の骨固定要素10及び第2の固定要素20を挿入すると、第3のドリルスリーブ80が挿入器具40から挿入され、第2の止め穴に揃う。穿孔機構(図示なし)をドリルスリーブ80から骨に挿入して、骨固定要素10’の軌道を画定する。次いで、駆動機構(図示なし)をリルスリーブ80から挿入して、骨固定要素10’を骨1に螺合する。例示のシステム600は、骨1に追加の支持体を提供し、多発性骨折を含む骨、ないしは別の方法でより軟弱な骨において特に有用であり得る。
図34に示されるように、システム100、200、300、400、500、及び600は、上記の埋め込みに関する使用説明書に加えて、骨プレート102、602、インプラントシャフト130、230、330、430、530、及び回転防止ねじ20を含むキット700として製造され、パッケージ化されてよい。インプラントシャフト130、230、330、430、530、及び回転防止ねじ20は、互いに対応する寸法で提供され得る。このキットは、個別の処置の要件に適合する様々な長さのインプラントシャフトで販売されてよい。骨固定要素10は、別途提供されてよい。キット700は、プラスチック又は別の好適な材料で形成され、その上に取り外し可能なシール704を有する成形パッケージ容器702を含み、シール704は、システムの無菌性を維持する。
図35は、システム100の例示の使用方法に関して上述した、本発明による骨固定処置の完了に必要な器具用の使い捨てキットを示している。本発明によるキット750は、挿入器具40と、対応する取り外し可能な軸部分44と、第1の保護スリーブ60と、第2の保護スリーブ70と、を含んでよい。一手術構成では、取り外し可能な軸部分44は細長い軸46に取り付けられており、細長い軸46は、Yコネクタを使用して第2の保護スリーブ70に更に取り付けられている。挿入器具40の側壁は、そこを超えてYコネクタを挿入できるスロット(図示なし)を含む。取り外し可能な軸部分44はタブ48を更に含み、このタブは、半径方向にそこから離れるように延出する、突出した遠位端49を含む。一手術構成では、タブ48は、スナップ嵌め係合で第2の開口部50を通じて受容される。具体的には、タブ48は、第2の開口部50から挿入すると、半径方向内向きに変形する。その中へと移動させると、突出した遠位端49が第2の開口部50の対応部分内に受容され、したがって、軸部分44を器具40に固定するように、タブ48は半径方向外向きに移動して初期形状を呈する。挿入器具40は、低コストのプラスチック射出成形で作製されてよいが、保護スリーブ60、70、及び軸部分44は、低コストの金属移出成形で形成されてよい。別の実施形態では、挿入器具40は標準部品(例えば、標準的な管類など)からなってよく、これらの部品が接続されて図示の構造を形成する。キット750は、本明細書に開示される例示のシステム100、200、300、400、500、600、800のいずれかと共に使用するための単一ユニットとして販売されてよい。
図36〜50は、本発明による別の実施形態によるシステム800を示している。システム800は、実質的にシステム100と同様に形成されており、同様の要素は同様の参照符号で示されている。システム800は、骨プレート802と、インプラントシャフト830と、を含む。インプラントシャフト830は、下記の構造的相違点を除いて、実質的にインプラントシャフト130と同様に形成されている。
骨プレート802は、大腿骨骨幹軸の中心と平行である第1の部分軸に沿って大腿骨の標的部分の外側表面と係合する形状の第1の部分804と、第1の部分が大腿骨の標的部分の上に位置付けられるとき、第2の部分軸が大腿骨頸部の軸に沿って延在するように選択された角度で第1の平面に対して設定される、第2の部分軸に沿って第1の部分から離れる方向に延在する第2の部分806と、を含む。第1の部分804は、実質的に第1の部分軸と垂直に延在する、止め穴軸810に沿ってプレート802を貫通する止め穴808を含む。止め穴808は、実質的にシステム100の止め穴108と同様に形成され、ねじ切り部812など多面性表面を備えて、そこから挿入された骨固定要素10(例えば、骨ねじ)の軸12上の対応するねじ切り部とねじ方式で係合してよい。第1の部分804の外側表面は、第1の部分804が、実質的に大腿骨の標的部分と一致する平滑な外側輪郭を有するように、実質的に丸みを帯びている。第1の部分804の外側表面は、下記の例示の方法に関して詳述するように、挿入器具40によって骨プレート802を把持できる構造及び寸法であり、1つ以上の陥凹部805を更に含む。陥凹部805は、実質的に第1の部分804の軸と平行に延在してよい。例示の実施形態では、第1及び第2の陥凹部805は、第1の部分804の対向壁に設けられて、骨プレート802を把持できてよい。各陥凹部の寸法は、インプラントホルダーの把持部の寸法に適合するように選択されてよい。
第2の部分806は、実質的に円筒状であり、第1の部分804から遠位端816まで延在する。細長い中心溝818は、第2の部分軸820に沿って第2の部分を貫通する。溝818の外側表面は、遠位端816に隣接する接合部822を除いて、実質的に平滑である。接合部822は、溝818内へ径方向に所定の距離を入り込んでおり、溝824によって両側に接する。切り取り部826は、第2の部分の遠位端816から近位方向に延在する。例示の実施形態では、切り取り部826は、角部が丸みを帯びた、実質的に方形であり、遠位端816に対して開いている。切り取り部826は、一手術構成において、切り取り部が頭側方向に面するように位置付けられる。切り取り部826の寸法は、図35及び45〜46に示されるように、回転防止ねじ80がそこから延在できるように選択されてよい。つまり、切り取り部826は、インプラントシャフト830が閾値距離を超えて骨プレート102から出る必要がないようにする。それどころか、より小さい骨では、インプラントシャフト830は、必要最小限の距離だけ骨プレート802から延出し、第2の溝844の遠位端846は第2の部分806内に収容され得る。一手術構成では、回転防止ねじ80は、インプラントシャフト830から挿入されて、切り取り部826から延出してよい。当業者に理解されるであろうように、切り取り部826は、様々な寸法を有する骨でシステム800を使用できるようにする任意の長さで形成されてよい。更に、より長い骨で使用するために、切り取り部826は所望により省かれてよい。更に、切り取り部826は、骨プレート802に対するインプラントシャフト830の嵌め込みを可能にする。
第2の部分806は、溝818の近位端に隣接する対向壁に設けられた第1及び第2の陥凹部828を更に含む。第1及び第2の陥凹部は、下記に詳述するように、そこから止めコアの対応部分を挿入して、骨の上で骨プレート802の挿入を誘導できるように構成され、寸法設定される。
インプラントシャフト830は、近位端832から実質的に先端が尖っていない遠位端834まで長手方向中心軸836に沿って延在する、細長い、実質的に円筒状部材として形成される。インプラントシャフト830の外側表面は、近位端839から遠位端834まで延在する細長い切り取り部838を含み、切り取り部838は、接合部822及び溝824の形状に対応する形状を有して、これらと係合できる。システム100に関して詳述したように、この係合のおかげで、軸830はプレート802に対して回転するのが妨げられる。当業者に理解されるであろうように、接合部822と切り取り部838の近位端839とが係合するために、軸130はプレート802から遠位方向に延出しなくなり、軸830が骨に挿入され得る最大限の範囲を定める。更に、切り取り部838が半球形状であるために、埋め込み後にインプラントシャフト830に印加される回転力が実質的に垂直のモーメントアームに変換され、インプラントシャフト830が、第2の部分806の壁に対して押し込まれないようにする。インプラントシャフト830が押し込まれないことにより、プレート802に対するインプラントシャフト830の嵌め込み機能に影響を与え得る高摩擦力も阻止される。
インプラントシャフト830は、近位端832から遠位端834まで長手方向中心軸836に揃って長手方向にそこを貫通する第1の溝842を含む。第1の溝842は、そこを通してガイドワイヤ(例えば、キルシュナーワイヤ)を受容して、インプラントシャフト830の骨への挿入を誘導する寸法にされる。インプラントシャフト830は、軸848に沿って近位端132からインプラントシャフト830の側壁にある遠位開口部846までそこを貫通する第2の溝844を更に含み、遠位開口部846は、切り取り部838から周囲方向に離隔されている。遠位開口部846は、実質的に楕円形であって、回転防止ねじ80の軸82は、そこから挿入され、そこから出ることができる。遠位開口部146と同様に、実質的に円形の第2の溝844がインプラントシャフト830に対して斜位にあるため、遠位開口部846は楕円形である。第2の溝844の近位端はねじ切り部850を有して、下記に詳述するように、回転防止ねじ80の軸82に形成されたねじ切り部とねじ方式で係合する。インプラントシャフト130のねじ切り部150は実質的に先細であるが、ねじ切り部850は実質的に円筒状である。
回転防止ねじ80は、近位端にある頭部84から軸82に沿って遠位端86まで延在する。軸82は、インプラントシャフト830のねじ切り部850と係合できるように選択された第1の外径を有する、第1の部分88を含む。具体的には、第1の部分88は、ねじ切り部850とそれとの係合に役立つ2条ねじ切り部を含む、第1のねじ切り部領域89を含む。第1の部分88はまた、骨内の標的方向への挿入時に回転防止ねじ80を嵌め込むことができる形状のねじ切り部不在の先細領域90を含む。第1の部分88は、好ましくは第2の溝844の先細形状に対応する、実質的に先細の形状を有する。第2の非ねじ切り部分92は、第1の部分88から遠位方向に延在する。第2の部分92の直径は先細領域90の直径よりも大きく、その接合部で嵌め込み止め94を形成する。一手術構成では、第2の部分92はインプラントシャフト830から延出して骨に入り込む。下記で例示の方法に関して詳述されるように、第3のねじ切り部分96は第2の非ねじ切り部分94から遠位方向に延在し、手術構成で骨と係合するように構成された1条海綿質ねじ切り部を含む。当業者に理解されるであろうように、第1のねじ切り部領域89の2条ねじ切り部は、第3の部分96の1条ねじ切り部のピッチと一致する。別の実施形態では、第3のねじ切り部分96においてより高いピッチのねじ切り部を使用して、大腿骨頭部の軸82への圧迫を促してよい。
例示の骨固定システム800の使用方法は、図11〜20に関してこれまでに詳述したシステム100の使用方法と実質的に同様である。具体的には、当業者に理解されるであろうように、骨折した骨30を一時的に矯正された整合状態に置き、切開を施し、ガイドワイヤの遠位端が軟骨下骨に入り込むまで所望の角度で大腿骨頭部の中心に1本以上のガイドワイヤを挿入する。次いで、ガイドワイヤに従って既知のリーミング装置(図示なし)を誘導して、本発明によるインプラントを挿入するための骨穴をリーマーを使用して広げる。次いで、接合部822が切り取り部838の近位端839と係合して、インプラントシャフト830が更に遠位方向に移動しなくなるまで、骨プレート802の第2の部分806の溝818からインプラントシャフト830を挿入する。次いで、アーム部分42及び細長い軸部分44、骨プレート802の陥凹部805を取り外し可能に把持する遠位端46を含む挿入器具40に組み立てた骨プレート802及びインプラントシャフト830を取り付ける。骨プレート802を挿入器具40に取り付けると、衝突部材を骨プレート802及びインプラントシャフト830に挿入して、システム800に衝突して骨へと移動させてよい。次いで、衝突部材(図示なし)及びガイドワイヤ(図示なし)を骨から除去してよく、挿入器具40及びシステム800を骨内に位置付けたままにする。
次いで、図48〜49に示されるように、第2の保護スリーブ70を第2の開口部50に挿入し、その遠位端がインプラントシャフト830に接触して固定するまで、細長い軸44に挿入する。第2の溝78及び844に穿孔機構(図示なし)を挿入して、回転防止骨ねじ80に備えて骨1を準備してよい。当業者に理解されるであろうように、より軟質の骨においては、予備穿孔は不要であり得る。当業者に理解されるであろうように、次いで、駆動機構(図示なし)を使用して、回転防止ねじ80を第2の保護スリーブ70及びインプラントシャフト830から骨1に挿入してよい。次いで、第2の保護スリーブ70及び挿入器具40を身体から除去し、システム800を骨1に埋め込んだままにしてよい。埋め込むと、大腿骨の頭部は、回転防止ねじ80及び骨プレート802によって骨1に対して回転するのが妨げられる。
次いで、図50に示されるように、第1の保護スリーブ60を挿入器具40の第1の開口部48から挿入して骨1へと穿孔を誘導して、骨固定要素10(即ち、バイコルチカル軸ねじ)をそこに挿入できる。具体的には、当該技術分野において既知の穿孔機構を第1の保護スリーブ60から挿入して、骨プレート802の止め穴808から骨1に開口部を穿孔してよい。次いでこの穿孔機構を除去してよく、第1の保護スリーブ60及び骨プレート802から骨1に骨固定要素10を挿入してよい。
図51〜52は、本発明の更に別の実施形態によるシステム900を示す。システム900は、実質的にシステム800と同様に形成されており、第1の部分904、第2の部分906、及びその遠位端に1つ以上の弾性偏向構造体を備えるインプラントシャフト930を有する骨プレート902を含む。インプラントシャフト930は、近位端(図示なし)から遠位端934まで貫通する細長い溝942を含む。第2の溝944は、これまでの実施形態に関して詳述したように、その長手方向中心軸に対して所定の角度でそこを貫通して回転防止ねじ80を収容する。インプラントシャフト930は、遠位端934から近位方向に延在し、近位端952にある実質的に円形の切り取り部で終結する、複数の細長いスロット950を更に含む。例示の実施形態では、インプラントシャフト930は、インプラントシャフト930の対向壁に設けられて、2つの柔軟なアーム954を画定する2つのスロット950を含んでよい。ただし、本発明の範囲から逸脱することなく、任意の数のスロット950が設けられ得ることに留意されたい。当業者に理解されるであろうように、柔軟なアーム954は、遠位端934に印加されるピーク負荷を分散させ、軸930が過剰な負荷を受けたときに折れるのではなく、変形可能にすることによって、インプラントシャフト930の全体的な弾性を増加する。当業者に理解されるであろうように、インプラントシャフト930を変形可能にすることにより、柔軟なアーム954によって、インプラントシャフト930が不注意により骨に侵入することが防止される。
図53は、本発明の別の実施形態によるシステム1000を図示している。システム1000は、実質的に上記のインプラントシャフト130、830と同様に形成されたインプラントシャフト1030を示している。ただし、インプラントシャフト1030は骨プレートから挿入されるのではなく、髄内くぎ1002から挿入可能である。髄内くぎ1002は、貫通する横方向開口部1004を含み、横方向開口部1004は、第1及び第2の重複する円形溝1006、1008を有する。第1の円形溝1006は、インプラントシャフト1030をそこから挿入し、第1の角度で髄内くぎ1002を貫通できるように構成される。第2の円形溝1008は第1の円形溝に対して開いており、第1の角度とは異なる第2の角度で髄内くぎ1002を貫通する。具体的には、第2の円形溝1008の角度は、実質的にインプラントシャフト1030の第1の溝142に対する第2の溝144の角度と一致する。したがって、第2の溝144から挿入された回転防止ねじ80は、第2の溝1008を通って髄内くぎ1002の対向壁から出るように誘導される。
インプラントシャフト1030の外壁は、第1の溝1006に設けられた、それぞれ成形された接合部(図示なし)と係合するように構成されている切り取り部1038を含んでよい。接合部(図示なし)と切り取り部1038との係合により、インプラントシャフト1030が横方向開口部1004に対して回転するのが妨げられる。更に、これまでの実施形態で詳述したように、接合部(図示なし)と切り取り部1038の近位端1039との係合によりインプラントシャフト1030の挿入深さが制限される。
図54〜56は、本発明による更に別の実施形態によるインプラントシャフト1130を示している。インプラントシャフト1130は、下記の点を除いて、実質的にインプラントシャフト130、830と同様に形成されている。インプラントシャフト1130は、上記に開示した骨プレート102、602、802、902、及び髄内くぎ1002のいずれかと共に使用してよい。インプラントシャフト1130は、近位端1132から実質的に先端が尖っていない遠位端1134まで長手方向中心軸1136に沿って延在する、細長い、実質的に円筒状部材として形成される。インプラントシャフト1130の外側表面は、近位端1139から遠位端1134まで延在する細長い切り取り部1138を含み、切り取り部1138は、実質的に切り取り部838と同様に形成されている。ただし、これまでの実施形態とは違って、インプラントシャフト1130は、貫通する長手方向中心溝を含まない。それどころか、インプラントシャフト1130は、近位端1132からインプラントシャフト1130の側壁にある遠位開口部1146まで軸1148に沿って貫通する溝1144のみを含んで、例えば、貫通する回転防止ねじ(図示なし)を受容する。したがって、所望により予め位置付けられたガイドワイヤに従って骨内に誘導され得るこれまでの実施形態とは違って、例示のインプラントシャフト1130は、そこからガイドワイヤ除去した後に骨内に挿入されてよい。つまり、インプラントシャフト1130は、骨内に予め穿孔された穴を通じて骨内に誘導されてよい。
以上、本発明及びその利点について詳細に説明したが、付属の特許請求の範囲によって定義される本発明の趣旨及び範囲から逸脱することなく様々な変更、置換、及び改変を行い得る点は理解されるはずである。例えば、本明細書に開示された任意のインプラントシャフト及び骨プレートは、当業者に理解されるであろうように、所望によりダイヤモンド状炭素膜(DLC)でコーティングされて、その骨結合を防止することができ、かつ/又は、摩擦を低減し、したがって骨プレートとインプラントシャフトとの嵌め込みを向上させることができる。更に、本出願の範囲は、本明細書に述べられるプロセス、機械、製造、物質の組成、手段、方法、及び工程の特定の実施形態に限定されるものではない。当業者であれば本発明の開示内容から直ちに認識されるように、本明細書に述べられる対応する実施例と実質的に同じ機能を行うか又は実質的に同じ結果を実現する既存の、又は将来的に開発されるプロセス、機械、製造、物質の組成、手段、方法、及び工程を本発明に基づいて利用することが可能である。
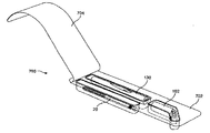
図57〜62は、骨固定処置の完了に必要である、本発明の別の実施形態によるキット1200を示している。キット1200は、実質的に前述したキット750と同様に形成されており、同様の要素は同様の参照符号で示されている。ただし、キット750は使い捨て用に構成されているが、キット1200は、任意の回数を使用して、複数の処置を実施してよい。キット1200は、本発明の範囲から逸脱することなく使い捨て用に構成されてもよいことに留意されたい。更に、キット750の取り外し可能な軸部分44は、クリック/スナップ嵌め係合で器具40と係合するが、下記に詳述するように、キット1200の取り外し可能な軸部分1250は、螺合によって器具1240と係合する。ただし、キット1200は、本発明の範囲から逸脱することなくキット750のスナップ嵌め係合も使用し得ることに留意されたい。本発明によるキット1200は、湾曲アーム1244を含む近位端1242から遠位端1246まで延在する挿入器具1240を含む。下記の例示の方法に関して詳述するように、第1の開口部1247はアーム1244を貫通して、そこを通して第1の保護スリーブ60を誘導する。第2の開口部1248は近位端1242に入り込み、取り外し可能な軸部分1250をそこに挿入できる。器具1240はまた、その側壁に細長いスロット1249を含み、そこへの挿入時に軸部分1250の幅を収容する。
取り外し可能な軸部分1250は、第1の近位端1254から遠位端1256まで延在し、貫通する第1の溝1258を含む、第1の細長い軸部分1252を含む。一手術構成では、第1の溝1258の長手方向軸1260は、実質的にインプラントシャフト130の長手方向軸136に揃っている。取り外し可能な軸部分1250は、実質的に第2の保護スリーブ70と同様に形成され、第2の近位端1264から遠位端1256まで延在する第2の細長い軸部分1262を更に含む。第2の溝1268は、これまでの実施形態に関して詳述したように、長手方向軸1260から約7.5°ずれていてインプラントシャフト130の軸148に揃っている、長手方向軸1270に沿って第2の軸部分1262を貫通する。第1の細長い軸部分1252及び第2の細長い軸部分1262は、結合要素1280を経て共通遠位端1256まで延在する。この実施形態による結合要素1280は、下記の例示の方法に関して詳述するように、その側壁を貫通する細長いスロット1282を含んで、そこから及びインプラント130から回転防止ねじ20を挿入して骨に入り込むことができる。
第1の細長い軸部分1252は、第1の近位端1254に止め要素1284を含む。止め要素1284は、ねじ切り部分1286と、ねじ1288と、を含み、このねじは、回転させて(例えば、ユーザーが手動で)器具1240の開口部1248に設けられた対応するねじ切り部領域(図示なし)にねじ切り部分1286をねじ込んでよい。具体的には、ねじ1288を回転させると、結合要素1280に対して第1の細長い軸部分1252全体が回転する。本発明の一実施形態では、第1の細長い軸部分1252は、取り外し可能に結合要素1280に取り付けられる。別の実施形態では、当業者に理解されるであろうように、第1の細長い軸部分1252は、取り外し不能に結合要素1280に取り付けられており、ねじ切り部分1286の軸長に対応する所定の移動範囲内でそれに対して軸方向に移動可能であり、器具1240にそれをねじ込み、及びねじって外すことができる。第2の細長い軸部分1262はまた、当業者に理解されるであろうように、結合要素1280に恒久的に取り付けられるか、又は取り外し可能に取り付けられるかの、いずれかであってよい。
本発明による例示の方法によると、患者を手術台上で仰臥位に寝かせ、当業者に理解されるであろうように牽引、外転、及び内旋のいずれか1つ以上によって骨折した大腿骨を一時的に矯正された整合状態に置く。皮膚に切開部を形成し、リーマーを使用して骨の穴を広げて、本発明によるインプラントを挿入するための穿孔を作製する。次いで、これまでの実施形態で詳述したように、遠位端1246と骨プレート102の近位端とを摺動係合させて、組み立てた骨プレート102及びインプラントシャフト130を挿入器具1240に取り付ける。次いで、図58に示されるように、遠位端1256が延在して器具1240の遠位端1246に隣接するように、取り外し可能な軸部分1250を開口部1248に挿入する。次いで、ねじ1288を回転させて、第1の細長い軸部分1252を器具1240内にねじ方式で移動させ、開口部1248のねじ切り部分(図示なし)と螺合させる。止め要素1284は、ねじ1288が器具1240の外側表面と接触すると、第1の細長い軸部分1252が、器具1240に対する回転又は軸移動を固定するように構成されている。
軸部分1250を器具1240に固定して、骨固定システム100を骨に挿入すると、穿孔機構(図示なし)を溝1270から挿入して、回転防止骨ねじ20に備えて骨を準備してよい。当業者に理解されるであろうように、より軟質の骨においては、予備穿孔は不要であり得る。次いで、図59及び60に示されるように、駆動機構(図示なし)を使用して回転防止ねじ20を第2の細長い軸部分1262及びインプラントシャフト130から骨に挿入してよい。埋め込み構成では、回転防止ねじ20の遠位端は、インプラントシャフト130の遠位端から約5mm離隔されている。次いで、図61〜63に示されるように、挿入器具1240内の第1の開口部1247から第1の保護スリーブ60を挿入する。これまでの実施形態で詳述したように、第1の保護スリーブ60は、図62の部分切り取り図に示されるように、第1の開口部1247を貫通し、その遠位端が止め穴108と接触するまで第1の細長い軸部分1252の角度に対して所定の角度で(例えば、45°)で挿入器具40の遠位端46に入り込む。当該技術分野において既知の任意の穿孔機構を第1の保護スリーブ60から挿入して、骨プレート102の止め穴108から骨1に開口部を穿孔してよい。次いでこの穿孔機構を除去してよく、第1の保護スリーブ60及び骨プレート102から骨1に骨固定要素10を挿入してよい。次いで、第1の保護スリーブ60及び器具1240を除去し、システム100を骨に埋め込んだままにしてよい。例示の方法は、最初に回転防止ねじ20を挿入し、次いで、バイコルチカルねじ10を挿入することを示しているが、挿入の順番は、本発明の範囲から逸脱することなく、例えば、外科医の好みに合わせて変更し得ることに留意されたい。更に、キット1200はシステム100に関して記載されているが、キット1200は、本明細書に開示されているシステム200、300、400、500、600、800のいずれかと共に使用されてよい。
本発明による骨への骨固定装置の埋め込み方法は、貫通する細長い溝を有するガイドアセンブリの第1の部分が骨固定装置の長手方向軸と同軸であるように、ガイドアセンブリの遠位端を骨固定装置の近位端と係合する工程であって、第1の部分が近位端から遠位端まで延在する、工程と、細長い溝から細長いシャフト部分を挿入する工程であって、細長いシャフト部分が第1の保護スリーブを含む、工程と、骨プレートの第1の部分が骨の外表面の上に位置付けられ、骨プレートの第2の部分が骨内で受容されるように、骨幹内に骨固定装置を挿入する工程と、回転防止ねじの軸が骨固定装置の長手方向軸からずれた角度で骨固定装置から延出するまで第1の保護スリーブから回転防止ねじを挿入する工程と、を含む。埋め込まれた回転防止ねじは、骨固定装置の長手方向軸から約5°ずれている。この方法は、ガイドアセンブリの第2の部分に形成された開口部から第2の保護スリーブを挿入し、第2の保護スリーブ及び骨固定装置から骨に止めねじを挿入する工程を更に含む。
本発明の様々な変更及び改造が特許請求の範囲の広範な範囲を逸脱することなくなし得ることが、当業者によって理解されるであろう。これらのいくつかは上述されており、他は当業者に明らかであろう。
〔実施の態様〕
(1) 骨固定システムを埋め込むための装置であって、
近位端から遠位端まで延在する挿入器具であって、該遠位端が骨プレートの近位端と取り外し可能に係合するための係合部分を有し、該挿入器具が、該挿入器具を貫通する細長い溝を有して、該細長い溝を通して第1の保護スリーブを挿入でき、該細長い溝の長手方向軸が該骨プレートを貫通する第1の開口部の長手方向軸と同軸である、挿入器具と、
該細長い溝に挿入可能であり、内部を通しかつ該骨プレートを通した回転防止ねじの挿入を誘導する第1の保護スリーブであって、該第1の保護スリーブの長手方向軸が、該細長い溝の該長手方向軸に対して角度を設定されている、第1の保護スリーブと、を含む装置。
(2) 前記第1の保護スリーブ及び前記細長い溝が、5°、6°、7.5°、及び8°のうちの1つの角度を囲む、実施態様1に記載の装置。
(3) 前記第1の保護スリーブ及び前記細長い溝が5°超の角度を囲む、実施態様1に記載の装置。
(4) 前記挿入器具に挿入可能であり、内部を通した、前記骨プレートの第2の開口部への止めねじの挿入を誘導する、第2の保護スリーブを更に含む、実施態様1に記載の装置。
(5) 前記第2の保護スリーブ及び前記細長い溝が約45°の角度を囲む、実施態様4に記載の装置。
(6) 前記挿入器具が、前記近位端から離れる方向に延在するアームを含み、該アームが、該アームを貫通する開口部を含んで、前記第2の保護スリーブの挿入を誘導する、実施態様4に記載の装置。
(7) 前記第1の保護スリーブに接続され、前記細長い溝に挿入可能である細長いシャフト部分を更に含む、実施態様1に記載の装置。
(8) 前記細長いシャフト部分の近位端がロック機構を含んで、前記挿入器具と固定的に係合する、実施態様7に記載の装置。
(9) 前記ロック機構が、前記挿入器具内に形成された対応する開口部とスナップ嵌めで係合するように構成されている偏向可能なタブを含む、実施態様8に記載の装置。
(10) 前記ロック機構が、ねじ切り部分及びねじ機構を含み、該ねじを回転させると、前記第1の保護スリーブに対して前記細長いシャフトが回転して、該ねじ切り部分が前記挿入器具内の対応するねじ切り開口部とねじ方式で係合できる、実施態様8に記載の装置。
(11) 前記細長いシャフト部分が、Yコネクタを使用して前記第1の保護スリーブに接続される、実施態様7に記載の装置。
(12) 前記挿入器具の側壁が、前記細長い溝に対して開いている細長いスロットを含み、該スロットを通過して前記Yコネクタを挿入できる、実施態様1に記載の装置。
(13) 前記装置が使い捨てアセンブリである、実施態様1に記載の装置。
(14) 前記装置が、複数の処置を実行するために使用され得る、実施態様1に記載の装置。
(15) 骨への骨固定装置の挿入を誘導する照準器具であって、
第1の部分及び第2の部分を含む照準アームであって、該第1の部分が近位端から遠位端まで延在し、該第1の部分を貫通する細長い溝を有し、該遠位端が該骨固定装置の近位端と取り外し可能に係合する係合部分を有し、該照準アームの側壁が該細長い溝に対して開いている細長いスロットを含む、照準アームと、
該細長い溝に取り外し可能に挿入できる細長い要素であって、該細長い要素が第1のシャフト部分及び第2のシャフト部分を有し、該第1のシャフト部分が該細長い溝に挿入され、該照準アームと固定的に係合し、該第2のシャフト部分が該細長いスロットを貫通して延在し、該第2のシャフト部分の中を貫通する開口部を有して、該開口部を通した、該骨固定装置への回転防止ねじの挿入を誘導する、細長い要素と、を含む、照準器具。
(16) 前記第2の部分が該第2の部分を貫通する開口部を含み、該開口部の開口軸が前記細長い溝の軸に対して角度が設定されている、実施態様15に記載の照準器具。
(17) 前記第1の部分の前記遠位端に向かって前記開口部を通して挿入可能な保護スリーブを更に含み、該保護スリーブの遠位端が前記骨固定装置の近位端に隣接して位置付けられるようになっている、実施態様16に記載の照準器具。

Claims (11)

  1. 骨固定システムを照準するための装置であって、
    近位端から遠位端まで延在するシャフトと該シャフトの前記近位端に結合されたアームとを含む挿入器具であって、前記シャフトの前記遠位端が前記骨固定システムの近位端と取り外し可能に係合するように構成された係合部分を含み、前記アームが長手方向溝軸に沿って該アームを貫通する細長い溝を含み、前記シャフトが、前記細長い溝に対して開いているように該シャフトの側壁に沿って延在する細長いスロットを含む、挿入器具と、
    前記細長い溝を通って取り外し可能に挿入できる細長い部材であって、該細長い部材が第1のシャフト部分及び第2のシャフト部分を含み、前記第2のシャフト部分がガイド軸に沿って該第2のシャフト部分を貫通するガイド溝を含み、前記細長い部材が前記細長い溝に挿入されるとき、前記第1のシャフト部分が前記長手方向溝軸に沿って延在し、前記第2のシャフト部分が前記細長いスロットを貫通し、前記骨固定システムの第1の開口部に前記ガイド溝を通した回転防止ねじの挿入を誘導するように、前記第2のシャフト部分が前記第1のシャフト部分に対してある角度で延在する、細長い部材と、を含む装置。
  2. 前記第1のシャフト部分の近位端が、前記挿入器具と固定的に係合する、請求項1に記載の装置。
  3. 前記第1のシャフト部分が、螺合によって前記挿入器具と係合する、請求項2に記載の装置。
  4. 前記第1のシャフト部分が、スナップ嵌め接続によって前記挿入器具と係合する、請求項2に記載の装置。
  5. 前記挿入器具の前記アームが、該アームを貫通するガイド開口部を含む、請求項1に記載の装置。
  6. 内部を通した、前記骨固定システムの第2の開口部への止めねじの挿入を誘導する、前記ガイド開口部を通って挿入可能な保護スリーブをさらに含む、請求項5に記載の装置。
  7. 前記第1のシャフト部分及び前記第2のシャフト部分が、接続要素を経て共通の遠位端まで延在する、請求項1に記載の装置。
  8. 前記第1のシャフト部分及び前記第2のシャフト部分の一つが、前記接続要素に取り外し可能に取り付けられている、請求項7に記載の装置。
  9. 前記第1のシャフト部分及び前記第2のシャフト部分が、5°、6°、7.5°、及び8°のうちの1つの角度を囲む、請求項1に記載の装置。
  10. 前記第1のシャフト部分及び前記第2のシャフト部分が、5°超の角度を囲む、請求項1に記載の装置。
  11. 前記骨固定システムが、骨プレートと前記骨固定システムの一部を通して挿入可能な転子インプラントとを含む、請求項1に記載の装置。
JP2017079537A 2011-11-18 2017-04-13 大腿骨頸部骨折用インプラント Active JP6404397B2 (ja)

Applications Claiming Priority (4)

Application Number Priority Date Filing Date Title
US201161561439P 2011-11-18 2011-11-18
US61/561,439 2011-11-18
US201261692053P 2012-08-22 2012-08-22
US61/692,053 2012-08-22

Related Parent Applications (1)

Application Number Title Priority Date Filing Date
JP2014541507A Division JP6130389B2 (ja) 2011-11-18 2012-11-19 大腿骨頸部骨折用インプラント

Related Child Applications (1)

Application Number Title Priority Date Filing Date
JP2018168566A Division JP6689928B2 (ja) 2011-11-18 2018-09-10 骨固定システム

Publications (2)

Publication Number Publication Date
JP2017121567A JP2017121567A (ja) 2017-07-13
JP6404397B2 true JP6404397B2 (ja) 2018-10-10

Family

ID=47279069

Family Applications (7)

Application Number Title Priority Date Filing Date
JP2014542407A Active JP6144271B2 (ja) 2011-11-18 2012-11-14 大腿骨頸部骨折用インプラント
JP2014541507A Active JP6130389B2 (ja) 2011-11-18 2012-11-19 大腿骨頸部骨折用インプラント
JP2017079537A Active JP6404397B2 (ja) 2011-11-18 2017-04-13 大腿骨頸部骨折用インプラント
JP2017087008A Active JP6779828B2 (ja) 2011-11-18 2017-04-26 大腿骨頸部骨折用インプラント
JP2018168566A Active JP6689928B2 (ja) 2011-11-18 2018-09-10 骨固定システム
JP2019040367A Active JP6786646B2 (ja) 2011-11-18 2019-03-06 大腿骨頸部骨折用インプラント
JP2020069662A Active JP6992115B2 (ja) 2011-11-18 2020-04-08 骨固定システム

Family Applications Before (2)

Application Number Title Priority Date Filing Date
JP2014542407A Active JP6144271B2 (ja) 2011-11-18 2012-11-14 大腿骨頸部骨折用インプラント
JP2014541507A Active JP6130389B2 (ja) 2011-11-18 2012-11-19 大腿骨頸部骨折用インプラント

Family Applications After (4)

Application Number Title Priority Date Filing Date
JP2017087008A Active JP6779828B2 (ja) 2011-11-18 2017-04-26 大腿骨頸部骨折用インプラント
JP2018168566A Active JP6689928B2 (ja) 2011-11-18 2018-09-10 骨固定システム
JP2019040367A Active JP6786646B2 (ja) 2011-11-18 2019-03-06 大腿骨頸部骨折用インプラント
JP2020069662A Active JP6992115B2 (ja) 2011-11-18 2020-04-08 骨固定システム

Country Status (10)

Country Link
US (4) US9662156B2 (ja)
EP (3) EP3441029B1 (ja)
JP (7) JP6144271B2 (ja)
KR (3) KR102035468B1 (ja)
CN (4) CN104114113B (ja)
AU (3) AU2012339665B2 (ja)
BR (2) BR112014011984B1 (ja)
CA (3) CA3118659C (ja)
TW (2) TWI528937B (ja)
WO (2) WO2013074659A1 (ja)

Families Citing this family (41)

* Cited by examiner, † Cited by third party
Publication number Priority date Publication date Assignee Title
CN103189006B (zh) * 2010-10-27 2016-09-21 新特斯有限责任公司 骨植入件
GB201105243D0 (en) 2011-03-29 2011-05-11 Depuy Ireland An implant
AU2012339665B2 (en) 2011-11-18 2017-02-02 Synthes Gmbh Femoral neck fracture implant
US9398928B2 (en) 2012-09-28 2016-07-26 DePuy Synthes Products, Inc. Adjustable height arthroplasty plate
EP2732783B1 (en) * 2012-11-14 2016-04-27 Biedermann Technologies GmbH & Co. KG Bone nail for the heel
PL3102130T3 (pl) 2014-02-06 2018-08-31 IGNITE-concepts GmbH Zespół śruby kostnej
CN103845111B (zh) * 2014-03-19 2017-01-25 邓宇 一种股骨颈圆锥空心螺钉导向器
US9517094B1 (en) * 2014-05-09 2016-12-13 Savage Medical Design LLC Intramedullary fixation apparatus for use in hip and femur fracture surgery
US9974582B1 (en) 2015-02-26 2018-05-22 Lucas Anissian Orthopedic surgical implants and methods
WO2016151611A1 (en) * 2015-03-25 2016-09-29 Menci, Romano Intramedullary nail for the treatment of fractures of the long bones
US9943342B2 (en) 2015-05-11 2018-04-17 Providence Medical Technology, Inc. Methods for implanting a bone screw
KR20180028407A (ko) 2015-05-11 2018-03-16 프로비던스 메디컬 테크놀로지, 아이엔씨. 뼈 나사 및 임플란트 전달 장치
US9339313B1 (en) * 2015-05-20 2016-05-17 Roy Y. Powlan Hip fracture support plate
US11213334B2 (en) * 2015-10-07 2022-01-04 Stabiliz Orthopaedics, LLC Bone fracture fixation device with transverse set screw and aiming guide
US9918750B2 (en) * 2016-08-04 2018-03-20 Osseus Fusion Systems, Llc Method, system, and apparatus for temporary anterior cervical plate fixation
CN107789098A (zh) * 2016-09-05 2018-03-13 财团法人金属工业研究发展中心 股骨支撑装置
US10492803B2 (en) 2016-09-22 2019-12-03 Globus Medical, Inc. Systems and methods for intramedullary nail implantation
US11083503B2 (en) 2016-09-22 2021-08-10 Globus Medical, Inc. Systems and methods for intramedullary nail implantation
US10751096B2 (en) 2016-09-22 2020-08-25 Bala Sundararajan Systems and methods for intramedullary nail implantation
US11045242B2 (en) 2016-09-22 2021-06-29 Globus Medical, Inc. Systems and methods for intramedullary nail implantation
US10299847B2 (en) 2016-09-22 2019-05-28 Globus Medical, Inc. Systems and methods for intramedullary nail implantation
US10881436B2 (en) 2017-10-27 2021-01-05 Wright Medical Technology, Inc. Implant with intramedullary portion and offset extramedullary portion
KR102600845B1 (ko) * 2018-06-25 2023-11-10 콘메드 코포레이션 인대 수정 시스템
EP3643258A1 (en) 2018-10-22 2020-04-29 Stöckli Group AG Implantation system for treatment of bone fractures and handling tool for an implantation system
KR102254182B1 (ko) * 2019-01-03 2021-05-21 (주)케이제이메디텍 구강악안면 재건수술을 위한 악안면 플레이트와 이의 제조방법
US11596459B2 (en) * 2019-05-09 2023-03-07 The University Of Hong Kong Thread design for bone screw
WO2020252166A1 (en) 2019-06-12 2020-12-17 Government Of The United States Of America As Represented By The Department Of Veterans Affairs Femoral head arthroplasty system
US11633219B2 (en) 2019-06-26 2023-04-25 Globus Medical, Inc. Fenestrated pedicle nail
US11660210B2 (en) * 2019-09-30 2023-05-30 Shukla Medical Implant extractor assembly and method of implant extraction
CN110680564B (zh) * 2019-10-31 2025-01-21 北京爱康宜诚医疗器材有限公司 骨填充假体
TWI715278B (zh) * 2019-11-05 2021-01-01 呂憲宗 鋼釘定位用醫療輔具
CN110916786A (zh) * 2019-12-21 2020-03-27 王建华 骨固定系统
WO2021130730A1 (en) * 2019-12-28 2021-07-01 IGNITE-concepts GmbH Bone anchor for fracture fixation
CN115802947A (zh) 2020-06-04 2023-03-14 富士胶片株式会社 图像生成装置、方法及程序、学习装置、方法及程序
WO2022009901A1 (ja) * 2020-07-08 2022-01-13 国立大学法人滋賀医科大学 手術器械、医療器具セット、及び移植方法
US20220079641A1 (en) * 2020-09-17 2022-03-17 James K. Brannon Biaxial core fastener
US12064150B2 (en) 2022-01-19 2024-08-20 Globus Medical Inc. System and method for treating bone fractures
EP4215131A1 (en) * 2022-01-19 2023-07-26 Globus Medical, Inc. Systems for intramedullary nail implantation
US11801077B2 (en) * 2022-03-14 2023-10-31 Orthotek, LLC. Bone fixation system
WO2025078262A1 (en) 2023-10-12 2025-04-17 Orthoxel Dac An intramedullary nail system
WO2025235932A2 (en) 2024-05-10 2025-11-13 Zimmer, Inc. Femoral nail with multiple anti-rotation screw capabilities

Family Cites Families (93)

* Cited by examiner, † Cited by third party
Publication number Priority date Publication date Assignee Title
US2526959A (en) 1947-07-01 1950-10-24 Frank A Lorenzo Fracture reduction apparatus
DE935859C (de) * 1952-02-19 1955-12-01 Heinrich C Ulrich Schenkelhalsnagel
US3216414A (en) 1961-09-29 1965-11-09 Dana M Street Plate and split nail assembly for use in orthopedic surgery
US3374786A (en) * 1964-12-15 1968-03-26 George R. Callender Jr. Fractured bone setting fastener assembly
US3554193A (en) 1968-07-05 1971-01-12 Ilias Konstantinou Femur-setting surgical device
US3530854A (en) 1968-07-11 1970-09-29 John Kearney Fracture nail assembly
US4172452A (en) 1978-05-15 1979-10-30 Howmedica, Inc. Fracture nail plate assembly
US4494535A (en) 1981-06-24 1985-01-22 Haig Armen C Hip nail
US4465065A (en) 1983-01-07 1984-08-14 Yechiel Gotfried Surgical device for connection of fractured bones
US4657001A (en) 1984-07-25 1987-04-14 Fixel Irving E Antirotational hip screw
FR2571957B1 (fr) * 1984-10-24 1989-01-06 Univ Rennes Coapteur pour fractures du col du femur et similaires
DE3534747A1 (de) 1985-09-28 1987-04-09 Hasselbach Christoph Von Schenkelhalsimplantat
US4776330A (en) 1986-06-23 1988-10-11 Pfizer Hospital Products Group, Inc. Modular femoral fixation system
US4911153A (en) 1988-02-04 1990-03-27 Biomet, Inc. Orthopedic surgical instrument
IT1232572B (it) 1989-02-10 1992-02-26 Calderale Pasquale Mario Mezzi di osteosintesi per il collegamento di segmenti di fratture ossee
CH681595A5 (ja) * 1990-03-19 1993-04-30 Synthes Ag
US5409489A (en) 1993-01-12 1995-04-25 Sioufi; Georges Surgical instrument for cone-shaped sub-trochanteric rotational osteotomy
IL105183A (en) 1993-03-28 1996-07-23 Yehiel Gotfried Surgical device for connection of fractured bones
JP3532622B2 (ja) * 1993-03-28 2004-05-31 ゴットフリード イェチエル 経皮連結用の外科手術器具
FR2711505B1 (fr) * 1993-10-25 1995-12-29 Tornier Sa Dispositif de synthèse des fractures de l'extrémité supérieure du fémur.
US5514144A (en) * 1993-12-20 1996-05-07 Bolton; Carl W. Drill guide device for the arthroscopic anatomic placement of a straight tibio-femoral bone tunnel for ACL reconstruction
JP3077049B2 (ja) 1994-11-01 2000-08-14 有限会社エーアンドエフ 大腿骨頭回転骨切術及び大腿骨頸部骨折の治療用の内固定部材
JPH0935859A (ja) 1995-07-18 1997-02-07 Nishikawa Sangyo Kk 寝具,クッション,カーペット用発熱体
US5658339A (en) 1996-01-05 1997-08-19 Wright Medical Technology, Inc. Compression hip screw plate
US5810821A (en) 1997-03-28 1998-09-22 Biomet Inc. Bone fixation screw system
CN2305960Y (zh) * 1997-06-20 1999-02-03 张明 自动加压髓内螺钉
US6206885B1 (en) 1998-04-14 2001-03-27 Fathali Ghahremani Catheter guide and drill guide apparatus and method for perpendicular insertion into a cranium orifice
CN1269198A (zh) 1999-04-01 2000-10-11 陈永铵 一种具有交锁固定结构的股骨颈及头固定螺钉
CN2384587Y (zh) 1999-08-05 2000-06-28 杨安礼 可调节加压抗旋式股骨颈骨折整复器
JP3912716B2 (ja) 2000-02-16 2007-05-09 株式会社ホムズ技研 髄内釘の取付装置
JP3383257B2 (ja) 2000-03-10 2003-03-04 株式会社ロバート・リード商会 ロッド固定装置
US6409768B1 (en) 2000-03-16 2002-06-25 Slobodan Tepic Screw anchored joint prosthesis
DE20110948U1 (de) 2001-07-02 2001-09-06 Aesculap AG & Co. KG, 78532 Tuttlingen Chirurgisches Instrument
DE20113345U1 (de) 2001-08-17 2003-01-02 Tantum AG, 24534 Neumünster Femurfrakturnagel
US7175633B2 (en) 2001-10-17 2007-02-13 Synthes (Usa) Orthopedic implant insertion instruments
US7094242B2 (en) 2001-10-31 2006-08-22 K2M, Inc. Polyaxial drill guide
US7118572B2 (en) 2003-02-03 2006-10-10 Orthopedic Designs, Inc. Femoral neck compression screw system with ortho-biologic material delivery capability
ITTO20030034U1 (it) * 2003-02-28 2004-09-01 Vese Silvana Placca di osteosintesi
WO2004078049A1 (de) 2003-03-07 2004-09-16 Synthes Ag Chur Verriegelungsschraube für marknagel
US7951176B2 (en) 2003-05-30 2011-05-31 Synthes Usa, Llc Bone plate
EP1638473A2 (en) * 2003-06-12 2006-03-29 Disc-O-Tech Medical Technologies, Ltd. Plate device
EP1643917A1 (de) * 2003-07-14 2006-04-12 SYNTHES AG Chur Zielvorrichtung
US7799030B2 (en) 2003-09-08 2010-09-21 Smith & Nephew, Inc. Orthopaedic plate and screw assembly
US20050055024A1 (en) 2003-09-08 2005-03-10 James Anthony H. Orthopaedic implant and screw assembly
WO2005037114A1 (en) * 2003-10-17 2005-04-28 Acumed Llc Systems for distal radius fixation
WO2005072285A2 (en) 2004-01-23 2005-08-11 Depuy Products, Inc. System for stabilization of fractures of convex articular bone surfaces including subchondral support structure
US8574268B2 (en) 2004-01-26 2013-11-05 DePuy Synthes Product, LLC Highly-versatile variable-angle bone plate system
US20050192578A1 (en) * 2004-02-26 2005-09-01 Horst Steven P. Bone plates with locking apertures
SE526560C2 (sv) 2004-02-26 2005-10-11 Magnus Hoegstroem Anordning för fixering av benbrott i anslutning till en höft- eller knäled
US7229445B2 (en) * 2004-06-21 2007-06-12 Synthes (Usa) Bone plate with bladed portion
US8043297B2 (en) 2004-11-03 2011-10-25 Synthes Usa, Llc Aiming arm for bone plates
US20060106386A1 (en) 2004-11-12 2006-05-18 Reber Erik W Orthopaedic screw and method
WO2006091278A1 (en) 2005-01-11 2006-08-31 Bickley Barry T Graft anchor
US20070055257A1 (en) 2005-06-30 2007-03-08 Alex Vaccaro Cannulated screw access system
US9192398B2 (en) 2005-09-19 2015-11-24 DePuy Synthes Products, Inc. Orthopedic implant insertion handle and aiming guide
US7670341B2 (en) 2005-12-16 2010-03-02 Depuy Products, Inc. Orthopaedic device with locking barrel
US7727282B2 (en) * 2006-03-17 2010-06-01 Biomet Manufacturing Corp. Method and apparatus for implanting a prosthesis
JP2009530035A (ja) 2006-03-20 2009-08-27 スミス アンド ネフュー インコーポレーテッド 整形プレート及びネジから成る組立体
US20070270848A1 (en) * 2006-05-01 2007-11-22 Lin Shih-Wei Interlocking hip screw
WO2008022136A2 (en) * 2006-08-14 2008-02-21 Smith & Nephew, Inc. Fracture fixation device
US20130012945A1 (en) 2006-11-21 2013-01-10 Smith & Nephew, Inc. Variable drill guide
US7918853B2 (en) 2007-03-20 2011-04-05 Smith & Nephew, Inc. Orthopaedic plate and screw assembly
EP2134279B1 (en) 2007-04-19 2017-01-04 Stryker European Holdings I, LLC Hip fracture device with static locking mechanism allowing compression
WO2008128662A1 (en) 2007-04-19 2008-10-30 Stryker Trauma Gmbh Hip fracture device with barrel and end cap for load control
JP4625051B2 (ja) * 2007-07-17 2011-02-02 株式会社ホムズ技研 骨接合具
JP5335220B2 (ja) 2007-11-08 2013-11-06 株式会社ホリックス 髄内釘及び髄内釘を使用した骨折部位の接合方法
WO2009121144A1 (en) 2008-04-03 2009-10-08 Austofix Group Limited Tool jig for bone implant assembly
US8182484B2 (en) 2008-04-21 2012-05-22 Depuy Products, Inc. Orthopaedic trauma hip screw assembly
WO2009140742A1 (en) 2008-05-21 2009-11-26 Adnan Dizdar Human orthopedic implant plate with double screw holes
EP2133034B1 (en) * 2008-06-13 2011-12-28 Orthofix S.r.l. Intramedullary nail to be inserted into a fractured long bone
US8328806B2 (en) 2008-06-24 2012-12-11 Extremity Medical, Llc Fixation system, an intramedullary fixation assembly and method of use
US9044282B2 (en) * 2008-06-24 2015-06-02 Extremity Medical Llc Intraosseous intramedullary fixation assembly and method of use
US9017329B2 (en) 2008-06-24 2015-04-28 Extremity Medical, Llc Intramedullary fixation assembly and method of use
US20110230884A1 (en) 2008-06-24 2011-09-22 Adam Mantzaris Hybrid intramedullary fixation assembly and method of use
US20100057141A1 (en) 2008-08-27 2010-03-04 Custom Spine, Inc. Multi-anchor anti-back out mechanism and method
EP2954862B1 (en) 2008-12-05 2017-03-22 Synthes GmbH Anchor-in-anchor system for use in bone fixation
WO2011075757A1 (en) 2008-12-23 2011-06-30 Austofix Group Pty Ltd Fixation elements for fixation plates
TW201031381A (en) 2009-02-24 2010-09-01 Univ Nat Yang Ming The anti-subsidence dynamic coupling fixation plate for proximal femoral fracture
WO2010103494A2 (en) 2009-03-12 2010-09-16 Intrauma S.R.L. Osteosynthesis plate for femur fractures
RU2012103185A (ru) 2009-07-09 2013-08-20 Тст Ракор Ве Тибби Алетлер Санаыи Ве Тикарет Лимитед Сиркети Антиротационный динамический бедренный винт с пластиной
US8926611B2 (en) 2009-09-14 2015-01-06 Zimmer Gmbh Angular lag implant for intramedullary nails
KR101734967B1 (ko) * 2009-11-17 2017-05-12 신세스 게엠바하 가변 각도 록킹 지지대 핀
CN201701287U (zh) * 2010-04-23 2011-01-12 常州奥斯迈医疗器械有限公司 一种骨髓内钉装置
KR101885506B1 (ko) * 2010-05-13 2018-08-07 신세스 게엠바하 뼈 나사 어셈블리 및 이의 이식을 위한 기구
EP2455014B1 (fr) * 2010-11-17 2015-08-12 Hyprevention Dispositif implantable pour le traitement préventif ou curatif de fractures du fémur, ancillaire associé
AU2012225323B2 (en) * 2011-03-09 2016-08-04 Srino BHARAM Multiple portal guide
KR101941837B1 (ko) 2011-05-17 2019-01-24 신세스 게엠바하 대퇴골 경부 골절을 위한 삽통식 스크루
AU2012339665B2 (en) 2011-11-18 2017-02-02 Synthes Gmbh Femoral neck fracture implant
CN104411259B (zh) 2012-02-08 2017-06-13 Epix整形外科股份有限公司 具有可连续调节的瞄准组件的植入体插入装置
CN202665682U (zh) 2012-06-08 2013-01-16 浙江科惠医疗器械有限公司 用于骨折治疗的成角锁定中空螺钉
CN102715945A (zh) 2012-06-08 2012-10-10 浙江科惠医疗器械有限公司 用于骨折治疗的成角锁定中空螺钉
CN103654934B (zh) 2012-08-30 2016-03-30 上海微创骨科医疗科技有限公司 用于接骨板的组合式锁定螺钉及包括其的接骨板系统
CN202960731U (zh) 2012-08-30 2013-06-05 上海微创骨科医疗科技有限公司 用于接骨板的组合式锁定螺钉及包括其的接骨板系统

Also Published As

Publication number Publication date
KR20190120415A (ko) 2019-10-23
CN104114113B (zh) 2018-02-06
JP6130389B2 (ja) 2017-05-17
JP2019013772A (ja) 2019-01-31
EP2779918B1 (en) 2021-10-20
CA3118659A1 (en) 2013-05-23
AU2017221892B2 (en) 2018-10-25
BR112014011984B1 (pt) 2021-02-09
EP3441029A1 (en) 2019-02-13
TW201325543A (zh) 2013-07-01
CA3118659C (en) 2025-08-12
EP2779918A1 (en) 2014-09-24
CN103945781B (zh) 2016-11-16
US10507048B2 (en) 2019-12-17
US20130317502A1 (en) 2013-11-28
US9314283B2 (en) 2016-04-19
CA2855937A1 (en) 2013-05-23
AU2012339503A1 (en) 2014-07-03
JP2015500686A (ja) 2015-01-08
JP2017121567A (ja) 2017-07-13
JP6992115B2 (ja) 2022-01-13
WO2013071701A1 (en) 2013-05-23
US9662156B2 (en) 2017-05-30
BR112014012012B1 (pt) 2021-06-01
CA2855695C (en) 2021-06-01
BR112014011984A2 (pt) 2017-05-30
CN103945781A (zh) 2014-07-23
CN104114113A (zh) 2014-10-22
WO2013074659A1 (en) 2013-05-23
EP2779927A1 (en) 2014-09-24
JP2015500682A (ja) 2015-01-08
AU2012339665B2 (en) 2017-02-02
US20160128744A1 (en) 2016-05-12
TW201325576A (zh) 2013-07-01
CA2855937C (en) 2020-12-15
KR102230353B1 (ko) 2021-03-23
BR112014012012A2 (pt) 2017-05-30
AU2017221892A1 (en) 2017-11-23
EP2779927B1 (en) 2018-10-03
JP6779828B2 (ja) 2020-11-04
AU2012339665A1 (en) 2014-07-03
CN108042189B (zh) 2021-06-15
EP3441029B1 (en) 2020-06-03
TWI528937B (zh) 2016-04-11
CN107095714B (zh) 2020-04-10
US20170224395A1 (en) 2017-08-10
JP2020127742A (ja) 2020-08-27
CA2855695A1 (en) 2013-05-23
EP2779918A4 (en) 2015-12-23
KR102044141B1 (ko) 2019-11-13
CN107095714A (zh) 2017-08-29
AU2012339503B2 (en) 2017-06-15
JP6144271B2 (ja) 2017-06-07
CN108042189A (zh) 2018-05-18
JP2017148564A (ja) 2017-08-31
KR20140099495A (ko) 2014-08-12
US9999453B2 (en) 2018-06-19
JP6786646B2 (ja) 2020-11-18
US20140094803A1 (en) 2014-04-03
JP2019093219A (ja) 2019-06-20
JP6689928B2 (ja) 2020-04-28
TWI568431B (zh) 2017-02-01
KR102035468B1 (ko) 2019-10-23
KR20140099494A (ko) 2014-08-12

Similar Documents

Publication Publication Date Title
JP6404397B2 (ja) 大腿骨頸部骨折用インプラント

Legal Events

Date Code Title Description
A621 Written request for application examination

Free format text: JAPANESE INTERMEDIATE CODE: A621

Effective date: 20170413

A977 Report on retrieval

Free format text: JAPANESE INTERMEDIATE CODE: A971007

Effective date: 20180228

A131 Notification of reasons for refusal

Free format text: JAPANESE INTERMEDIATE CODE: A131

Effective date: 20180313

A521 Request for written amendment filed

Free format text: JAPANESE INTERMEDIATE CODE: A523

Effective date: 20180612

TRDD Decision of grant or rejection written
A01 Written decision to grant a patent or to grant a registration (utility model)

Free format text: JAPANESE INTERMEDIATE CODE: A01

Effective date: 20180717

A601 Written request for extension of time

Free format text: JAPANESE INTERMEDIATE CODE: A601

Effective date: 20180816

A61 First payment of annual fees (during grant procedure)

Free format text: JAPANESE INTERMEDIATE CODE: A61

Effective date: 20180912

R150 Certificate of patent or registration of utility model

Ref document number: 6404397

Country of ref document: JP

Free format text: JAPANESE INTERMEDIATE CODE: R150

R250 Receipt of annual fees

Free format text: JAPANESE INTERMEDIATE CODE: R250

R250 Receipt of annual fees

Free format text: JAPANESE INTERMEDIATE CODE: R250

R250 Receipt of annual fees

Free format text: JAPANESE INTERMEDIATE CODE: R250

R250 Receipt of annual fees

Free format text: JAPANESE INTERMEDIATE CODE: R250

R250 Receipt of annual fees

Free format text: JAPANESE INTERMEDIATE CODE: R250