JP6352401B2 - 空気調和装置 - Google Patents

空気調和装置 Download PDF

Info

Publication number
JP6352401B2
JP6352401B2 JP2016514580A JP2016514580A JP6352401B2 JP 6352401 B2 JP6352401 B2 JP 6352401B2 JP 2016514580 A JP2016514580 A JP 2016514580A JP 2016514580 A JP2016514580 A JP 2016514580A JP 6352401 B2 JP6352401 B2 JP 6352401B2
Authority
JP
Japan
Prior art keywords
heat exchange
refrigerant
pipe
liquid
header pipe
Prior art date
Legal status (The legal status is an assumption and is not a legal conclusion. Google has not performed a legal analysis and makes no representation as to the accuracy of the status listed.)
Active
Application number
JP2016514580A
Other languages
English (en)
Other versions
JPWO2015162689A1 (ja
Inventor
岡崎 多佳志
多佳志 岡崎
Current Assignee (The listed assignees may be inaccurate. Google has not performed a legal analysis and makes no representation or warranty as to the accuracy of the list.)
Mitsubishi Electric Corp
Original Assignee
Mitsubishi Electric Corp
Priority date (The priority date is an assumption and is not a legal conclusion. Google has not performed a legal analysis and makes no representation as to the accuracy of the date listed.)
Filing date
Publication date
Application filed by Mitsubishi Electric Corp filed Critical Mitsubishi Electric Corp
Publication of JPWO2015162689A1 publication Critical patent/JPWO2015162689A1/ja
Application granted granted Critical
Publication of JP6352401B2 publication Critical patent/JP6352401B2/ja
Active legal-status Critical Current
Anticipated expiration legal-status Critical

Links

Images

Classifications

    • FMECHANICAL ENGINEERING; LIGHTING; HEATING; WEAPONS; BLASTING
    • F24HEATING; RANGES; VENTILATING
    • F24FAIR-CONDITIONING; AIR-HUMIDIFICATION; VENTILATION; USE OF AIR CURRENTS FOR SCREENING
    • F24F1/00Room units for air-conditioning, e.g. separate or self-contained units or units receiving primary air from a central station
    • F24F1/06Separate outdoor units, e.g. outdoor unit to be linked to a separate room comprising a compressor and a heat exchanger
    • F24F1/14Heat exchangers specially adapted for separate outdoor units
    • F24F1/18Heat exchangers specially adapted for separate outdoor units characterised by their shape
    • FMECHANICAL ENGINEERING; LIGHTING; HEATING; WEAPONS; BLASTING
    • F24HEATING; RANGES; VENTILATING
    • F24FAIR-CONDITIONING; AIR-HUMIDIFICATION; VENTILATION; USE OF AIR CURRENTS FOR SCREENING
    • F24F11/00Control or safety arrangements
    • F24F11/89Arrangement or mounting of control or safety devices
    • FMECHANICAL ENGINEERING; LIGHTING; HEATING; WEAPONS; BLASTING
    • F25REFRIGERATION OR COOLING; COMBINED HEATING AND REFRIGERATION SYSTEMS; HEAT PUMP SYSTEMS; MANUFACTURE OR STORAGE OF ICE; LIQUEFACTION SOLIDIFICATION OF GASES
    • F25BREFRIGERATION MACHINES, PLANTS OR SYSTEMS; COMBINED HEATING AND REFRIGERATION SYSTEMS; HEAT PUMP SYSTEMS
    • F25B1/00Compression machines, plants or systems with non-reversible cycle
    • F25B1/005Compression machines, plants or systems with non-reversible cycle of the single unit type
    • FMECHANICAL ENGINEERING; LIGHTING; HEATING; WEAPONS; BLASTING
    • F25REFRIGERATION OR COOLING; COMBINED HEATING AND REFRIGERATION SYSTEMS; HEAT PUMP SYSTEMS; MANUFACTURE OR STORAGE OF ICE; LIQUEFACTION SOLIDIFICATION OF GASES
    • F25BREFRIGERATION MACHINES, PLANTS OR SYSTEMS; COMBINED HEATING AND REFRIGERATION SYSTEMS; HEAT PUMP SYSTEMS
    • F25B13/00Compression machines, plants or systems, with reversible cycle
    • FMECHANICAL ENGINEERING; LIGHTING; HEATING; WEAPONS; BLASTING
    • F25REFRIGERATION OR COOLING; COMBINED HEATING AND REFRIGERATION SYSTEMS; HEAT PUMP SYSTEMS; MANUFACTURE OR STORAGE OF ICE; LIQUEFACTION SOLIDIFICATION OF GASES
    • F25BREFRIGERATION MACHINES, PLANTS OR SYSTEMS; COMBINED HEATING AND REFRIGERATION SYSTEMS; HEAT PUMP SYSTEMS
    • F25B39/00Evaporators; Condensers
    • F25B39/04Condensers
    • FMECHANICAL ENGINEERING; LIGHTING; HEATING; WEAPONS; BLASTING
    • F25REFRIGERATION OR COOLING; COMBINED HEATING AND REFRIGERATION SYSTEMS; HEAT PUMP SYSTEMS; MANUFACTURE OR STORAGE OF ICE; LIQUEFACTION SOLIDIFICATION OF GASES
    • F25BREFRIGERATION MACHINES, PLANTS OR SYSTEMS; COMBINED HEATING AND REFRIGERATION SYSTEMS; HEAT PUMP SYSTEMS
    • F25B40/00Subcoolers, desuperheaters or superheaters
    • FMECHANICAL ENGINEERING; LIGHTING; HEATING; WEAPONS; BLASTING
    • F25REFRIGERATION OR COOLING; COMBINED HEATING AND REFRIGERATION SYSTEMS; HEAT PUMP SYSTEMS; MANUFACTURE OR STORAGE OF ICE; LIQUEFACTION SOLIDIFICATION OF GASES
    • F25BREFRIGERATION MACHINES, PLANTS OR SYSTEMS; COMBINED HEATING AND REFRIGERATION SYSTEMS; HEAT PUMP SYSTEMS
    • F25B41/00Fluid-circulation arrangements
    • F25B41/20Disposition of valves, e.g. of on-off valves or flow control valves
    • FMECHANICAL ENGINEERING; LIGHTING; HEATING; WEAPONS; BLASTING
    • F25REFRIGERATION OR COOLING; COMBINED HEATING AND REFRIGERATION SYSTEMS; HEAT PUMP SYSTEMS; MANUFACTURE OR STORAGE OF ICE; LIQUEFACTION SOLIDIFICATION OF GASES
    • F25BREFRIGERATION MACHINES, PLANTS OR SYSTEMS; COMBINED HEATING AND REFRIGERATION SYSTEMS; HEAT PUMP SYSTEMS
    • F25B41/00Fluid-circulation arrangements
    • F25B41/40Fluid line arrangements
    • FMECHANICAL ENGINEERING; LIGHTING; HEATING; WEAPONS; BLASTING
    • F25REFRIGERATION OR COOLING; COMBINED HEATING AND REFRIGERATION SYSTEMS; HEAT PUMP SYSTEMS; MANUFACTURE OR STORAGE OF ICE; LIQUEFACTION SOLIDIFICATION OF GASES
    • F25BREFRIGERATION MACHINES, PLANTS OR SYSTEMS; COMBINED HEATING AND REFRIGERATION SYSTEMS; HEAT PUMP SYSTEMS
    • F25B43/00Arrangements for separating or purifying gases or liquids; Arrangements for vaporising the residuum of liquid refrigerant, e.g. by heat
    • F25B43/04Arrangements for separating or purifying gases or liquids; Arrangements for vaporising the residuum of liquid refrigerant, e.g. by heat for withdrawing non-condensible gases
    • F25B43/043Arrangements for separating or purifying gases or liquids; Arrangements for vaporising the residuum of liquid refrigerant, e.g. by heat for withdrawing non-condensible gases for compression type systems
    • FMECHANICAL ENGINEERING; LIGHTING; HEATING; WEAPONS; BLASTING
    • F25REFRIGERATION OR COOLING; COMBINED HEATING AND REFRIGERATION SYSTEMS; HEAT PUMP SYSTEMS; MANUFACTURE OR STORAGE OF ICE; LIQUEFACTION SOLIDIFICATION OF GASES
    • F25BREFRIGERATION MACHINES, PLANTS OR SYSTEMS; COMBINED HEATING AND REFRIGERATION SYSTEMS; HEAT PUMP SYSTEMS
    • F25B47/00Arrangements for preventing or removing deposits or corrosion, not provided for in another subclass
    • F25B47/02Defrosting cycles
    • F25B47/022Defrosting cycles hot gas defrosting
    • FMECHANICAL ENGINEERING; LIGHTING; HEATING; WEAPONS; BLASTING
    • F25REFRIGERATION OR COOLING; COMBINED HEATING AND REFRIGERATION SYSTEMS; HEAT PUMP SYSTEMS; MANUFACTURE OR STORAGE OF ICE; LIQUEFACTION SOLIDIFICATION OF GASES
    • F25BREFRIGERATION MACHINES, PLANTS OR SYSTEMS; COMBINED HEATING AND REFRIGERATION SYSTEMS; HEAT PUMP SYSTEMS
    • F25B5/00Compression machines, plants or systems, with several evaporator circuits, e.g. for varying refrigerating capacity
    • F25B5/02Compression machines, plants or systems, with several evaporator circuits, e.g. for varying refrigerating capacity arranged in parallel
    • FMECHANICAL ENGINEERING; LIGHTING; HEATING; WEAPONS; BLASTING
    • F25REFRIGERATION OR COOLING; COMBINED HEATING AND REFRIGERATION SYSTEMS; HEAT PUMP SYSTEMS; MANUFACTURE OR STORAGE OF ICE; LIQUEFACTION SOLIDIFICATION OF GASES
    • F25BREFRIGERATION MACHINES, PLANTS OR SYSTEMS; COMBINED HEATING AND REFRIGERATION SYSTEMS; HEAT PUMP SYSTEMS
    • F25B9/00Compression machines, plants or systems, in which the refrigerant is air or other gas of low boiling point
    • F25B9/002Compression machines, plants or systems, in which the refrigerant is air or other gas of low boiling point characterised by the refrigerant
    • FMECHANICAL ENGINEERING; LIGHTING; HEATING; WEAPONS; BLASTING
    • F24HEATING; RANGES; VENTILATING
    • F24FAIR-CONDITIONING; AIR-HUMIDIFICATION; VENTILATION; USE OF AIR CURRENTS FOR SCREENING
    • F24F13/00Details common to, or for air-conditioning, air-humidification, ventilation or use of air currents for screening
    • F24F13/20Casings or covers
    • F24F2013/202Mounting a compressor unit therein
    • FMECHANICAL ENGINEERING; LIGHTING; HEATING; WEAPONS; BLASTING
    • F24HEATING; RANGES; VENTILATING
    • F24FAIR-CONDITIONING; AIR-HUMIDIFICATION; VENTILATION; USE OF AIR CURRENTS FOR SCREENING
    • F24F2221/00Details or features not otherwise provided for
    • F24F2221/16Details or features not otherwise provided for mounted on the roof
    • FMECHANICAL ENGINEERING; LIGHTING; HEATING; WEAPONS; BLASTING
    • F25REFRIGERATION OR COOLING; COMBINED HEATING AND REFRIGERATION SYSTEMS; HEAT PUMP SYSTEMS; MANUFACTURE OR STORAGE OF ICE; LIQUEFACTION SOLIDIFICATION OF GASES
    • F25BREFRIGERATION MACHINES, PLANTS OR SYSTEMS; COMBINED HEATING AND REFRIGERATION SYSTEMS; HEAT PUMP SYSTEMS
    • F25B2339/00Details of evaporators; Details of condensers
    • F25B2339/04Details of condensers
    • FMECHANICAL ENGINEERING; LIGHTING; HEATING; WEAPONS; BLASTING
    • F25REFRIGERATION OR COOLING; COMBINED HEATING AND REFRIGERATION SYSTEMS; HEAT PUMP SYSTEMS; MANUFACTURE OR STORAGE OF ICE; LIQUEFACTION SOLIDIFICATION OF GASES
    • F25BREFRIGERATION MACHINES, PLANTS OR SYSTEMS; COMBINED HEATING AND REFRIGERATION SYSTEMS; HEAT PUMP SYSTEMS
    • F25B2400/00General features or devices for refrigeration machines, plants or systems, combined heating and refrigeration systems or heat-pump systems, i.e. not limited to a particular subgroup of F25B
    • F25B2400/12Inflammable refrigerants
    • F25B2400/121Inflammable refrigerants using R1234
    • FMECHANICAL ENGINEERING; LIGHTING; HEATING; WEAPONS; BLASTING
    • F25REFRIGERATION OR COOLING; COMBINED HEATING AND REFRIGERATION SYSTEMS; HEAT PUMP SYSTEMS; MANUFACTURE OR STORAGE OF ICE; LIQUEFACTION SOLIDIFICATION OF GASES
    • F25BREFRIGERATION MACHINES, PLANTS OR SYSTEMS; COMBINED HEATING AND REFRIGERATION SYSTEMS; HEAT PUMP SYSTEMS
    • F25B2400/00General features or devices for refrigeration machines, plants or systems, combined heating and refrigeration systems or heat-pump systems, i.e. not limited to a particular subgroup of F25B
    • F25B2400/23Separators
    • FMECHANICAL ENGINEERING; LIGHTING; HEATING; WEAPONS; BLASTING
    • F25REFRIGERATION OR COOLING; COMBINED HEATING AND REFRIGERATION SYSTEMS; HEAT PUMP SYSTEMS; MANUFACTURE OR STORAGE OF ICE; LIQUEFACTION SOLIDIFICATION OF GASES
    • F25BREFRIGERATION MACHINES, PLANTS OR SYSTEMS; COMBINED HEATING AND REFRIGERATION SYSTEMS; HEAT PUMP SYSTEMS
    • F25B39/00Evaporators; Condensers
    • F25B39/02Evaporators
    • F25B39/028Evaporators having distributing means
    • FMECHANICAL ENGINEERING; LIGHTING; HEATING; WEAPONS; BLASTING
    • F25REFRIGERATION OR COOLING; COMBINED HEATING AND REFRIGERATION SYSTEMS; HEAT PUMP SYSTEMS; MANUFACTURE OR STORAGE OF ICE; LIQUEFACTION SOLIDIFICATION OF GASES
    • F25BREFRIGERATION MACHINES, PLANTS OR SYSTEMS; COMBINED HEATING AND REFRIGERATION SYSTEMS; HEAT PUMP SYSTEMS
    • F25B41/00Fluid-circulation arrangements
    • F25B41/40Fluid line arrangements
    • F25B41/42Arrangements for diverging or converging flows, e.g. branch lines or junctions
    • FMECHANICAL ENGINEERING; LIGHTING; HEATING; WEAPONS; BLASTING
    • F25REFRIGERATION OR COOLING; COMBINED HEATING AND REFRIGERATION SYSTEMS; HEAT PUMP SYSTEMS; MANUFACTURE OR STORAGE OF ICE; LIQUEFACTION SOLIDIFICATION OF GASES
    • F25BREFRIGERATION MACHINES, PLANTS OR SYSTEMS; COMBINED HEATING AND REFRIGERATION SYSTEMS; HEAT PUMP SYSTEMS
    • F25B6/00Compression machines, plants or systems, with several condenser circuits
    • F25B6/02Compression machines, plants or systems, with several condenser circuits arranged in parallel

Landscapes

  • Engineering & Computer Science (AREA)
  • Mechanical Engineering (AREA)
  • General Engineering & Computer Science (AREA)
  • Physics & Mathematics (AREA)
  • Thermal Sciences (AREA)
  • Chemical & Material Sciences (AREA)
  • Combustion & Propulsion (AREA)
  • Analytical Chemistry (AREA)
  • Power Engineering (AREA)
  • Other Air-Conditioning Systems (AREA)
  • Heat-Exchange Devices With Radiators And Conduit Assemblies (AREA)
  • Compression-Type Refrigeration Machines With Reversible Cycles (AREA)

Description

本発明は、空気調和装置に関するものである。
熱交換器の一形態として、パラレルフロー型熱交換器がある。この熱交換器は、一対のヘッダーパイプと、それらヘッダーパイプの間に設けられた複数の扁平管とを備えており、一方のヘッダーに流入した流体が、複数の扁平管を通って流れた後、他方のヘッダーパイプへと流出するように構成されている。
かかるパラレルフロー型熱交換器において、一対のヘッダーパイプを鉛直上下方向に向けて配置した場合、重力の影響から、気液二相冷媒中の液冷媒は、下方に位置する扁平管に流れ易くなり、複数の扁平管が均等な冷媒流量となるよう調整するのが困難であった。特に、ビル用マルチエアコンなどのトップフロー形態では送風機に近い上部ほど風量が大きくなるという特性があり、風量の大きい箇所の冷媒流量を大きくすることができず、熱交換器が有効に活用されないという課題がある。
そこで、パラレルフロー型熱交換器の構成においては、一対のヘッダーパイプを水平に配置し、複数の扁平管の相互間で重力の影響を受けにくくする態様もある。
その一方で、空気調和機の既存の室外機においては、熱交換面を室外機の筐体の複数面に配置する構成がある。ここで、上述した一対のヘッダーパイプを水平に配置したパラレルフロー型熱交換器を、室外機の筐体の複数面で機能させようとした場合、各ヘッダーパイプを複数面に沿うように湾曲させなければならい。しかしながら、ヘッダーパイプを例えばL字状やコ字状に湾曲させることは過大な荷重が必要となり装置が大型化するとともにコストが増加するという問題がある。
かかる問題に関連しては、例えば、特許文献1に開示されたものがある。特許文献1に開示された熱交換器では、熱交換器を水平方向に複数のブロックに分割配置していた。
特開2002−71208号公報
しかし、上述した特許文献1に開示された熱交換器では、分岐部にて冷媒が均等に分配される想定であるが、水平方向に熱負荷の分布がある場合、すなわち温度分布や風速分布がある場合、ブロック間で冷媒の不均一分配が生じ、所望の熱交換性能が得られないという課題があった。また、1ブロック内での熱負荷分布の影響や気液二相流の流動状態の影響により、ブロック内で冷媒を複数の扁平管へ好適に分岐できず、所望の熱交換性能が得られないという課題があった。更に、除霜時の冷媒流れ方向については考慮されておらず、熱交換器の下部で着霜した氷が除霜運転で溶け切れず、溶け切れない氷が成長するという課題があった。
本発明は、上記に鑑みてなされたものであり、高さ方向に風速差が生じるトップフロー型室外機において、複数の熱交換面を有しておりながら、冷媒を均等に分配することができる、空気調和装置を提供することを目的とする。
上述した目的を達成するため、本発明の空気調和装置は、冷媒を吐出する圧縮機、室外熱交換器、減圧弁および室内熱交換器を含む冷凍回路と、トップフロー型室外機とを備え、前記室外熱交換器は、トップフロー型室外機に設けられており、前記室外熱交換器は、第一の液側ヘッダーパイプ、第一のガス側ヘッダーパイプ、第一の熱交換パイプを有する第一の熱交換面と、第二の液側ヘッダーパイプ、第二のガス側ヘッダーパイプ、第二の熱交換パイプを有する第二の熱交換面と、前記冷媒を前記第一の液側ヘッダーパイプおよび前記第二の液側ヘッダーパイプに分配する分流部を有し、前記第一の熱交換面と前記第二の熱交換面は並列に接続されており、前記第一の液側ヘッダーパイプと前記分流部との間および前記第二の液側ヘッダーパイプと前記分流部との間のそれぞれには前記冷媒の流量を調整する流量調整部が接続されており、前記第一の熱交換面は、複数の熱交換パイプと、前記複数の熱交換パイプを並列接続させる列間接続部とを有し、前記複数の熱交換パイプは、複数の前記第一の熱交換パイプと、複数の前記第一の熱交換パイプの風下側に離間して配置された複数の第三の熱交換パイプとを含み、前記列間接続部は、隔壁で互いに隔離され、接続対象の第一の熱交換パイプと第三の熱交換パイプとを連通する複数の連通部を有し、前記第一の液側ヘッダーパイプに流入した前記冷媒は、前記複数の第一の熱交換パイプ、前記列間接続部の前記複数の連通部、前記複数の第三の熱交換パイプ、前記第一のガス側ヘッダーパイプの順に流れ、前記複数の第一の熱交換パイプを流れる冷媒と、前記複数の第三の熱交換パイプを流れる冷媒とは、対向流の関係である
本発明によれば、高さ方向に風速差が生じるトップフロー型室外機において、複数の熱交換面を有しておりながら、冷媒を均等に分配することができる。
本発明の実施の形態1に関する、冷凍回路の構成を示す図である。 本実施の形態1に関し、分流器と熱交換器との接続構成を示す図である。 多孔管を説明するための液側ヘッダーパイプの斜視図を示す図である。 本実施の形態1に係るビル用マルチエアコン室外機の外観を示す図である。 本実施の形態1に係るビル用マルチエアコン室外機の分流器と熱交換器との接続構成を示す図である。 本発明の実施の形態2に係るビル用マルチエアコン室外機の分流器と熱交換器との接続構成を示す図である。 本実施の形態2に関し、2列熱交換器の場合の1列目と2列目の構成を示す図である。 本実施の形態2に関し、2列熱交換器の場合の上部ヘッダーの内部構造を示す図である。
以下、本発明の実施の形態について添付図面に基づいて説明する。なお、図中、同一符号は同一又は対応部分を示すものとする。
実施の形態1.
図1は、本発明の実施の形態1に関する、冷凍回路の構成を示す図である。本実施の形態1の空気調和装置の冷凍回路は、対象空間に対して据付けられ冷暖房を行う空気調和機として機能するものである。よって、冷房時、冷媒は図1において点線矢印で示されるように流れ、暖房時、冷媒は実線矢印で示されるように流れる。
冷凍回路は、室外ユニット100と、室内ユニット200とを備えている。室外ユニット100には、圧縮機1、四方弁2、室外熱交換器3、気液分離器5、内部熱交換器6、第1減圧弁20、第2減圧弁21、開閉弁23、逆止弁ユニット300が設けられている。
第2減圧弁21は、気液分離器5のガス側から圧縮機1の吸入部を接続する配管中に設けられている。開閉弁23は、圧縮機1の出口と室外熱交換器3の液側とを接続する配管中に設けられている。
逆止弁ユニット300は、逆止弁24a〜24dから構成されている。逆止弁ユニット300は、冷媒を整流する機能があれば、複数の逆止弁から構成されるものに限らず、四方弁や複数の電磁弁などの他の手段で構成されていてもよい。
室内ユニット200は、室内熱交換器4と第3減圧弁22から構成される。
次に、冷凍回路の動作を説明する。冷房運転の場合、四方弁2の内部は、実線のように接続され、冷媒は、冷凍回路中を点線矢印のように流れる。また、第1減圧弁20、第2減圧弁21、第3減圧弁22はそれぞれ、適切な開度に設定され、開閉弁23は、全閉している。
また、第3減圧弁22の開度は、第1減圧弁20の開度に比べて大きく、主たる減圧は第1減圧手段20で実現される。このとき、圧縮機1から吐出された高温高圧の冷媒ガスは、室外熱交換器3(凝縮器)で凝縮し、逆止弁24aを通過して内部熱交換器6で冷却され、第1減圧弁20において、ある程度減圧された後、気液分離器5に入る。
気液分離器5で分離されたガス冷媒は、第2減圧弁21を介して圧縮機1の吸入部に戻り、気液分離器5の液冷媒は、逆止弁24dを通り、さらに第3減圧弁22を通って室内熱交換器4に入る。
室内熱交換器(蒸発器)4で蒸発した冷媒は、図示しない室内の空気を冷却した後、自らは蒸発気化し、四方弁2を通過して圧縮機1の吸入部へ戻る。
本実施の形態1では、内部熱交換器6を設けているため、気液分離器5の効率が低く第2減圧弁21を通過する冷媒が二相冷媒となっても内部熱交換器6で蒸発させて圧縮機1の吸入部に戻すことができ、圧縮機1への液戻りによる性能や信頼性の低下を抑制できる。また、気液分離器5を用いて冷媒ガスをバイパスするため、室内熱交換器4の圧力損失が低下して圧縮機1の吸入圧力が上昇し、性能が向上する。
一方、暖房運転の場合、四方弁2の内部が点線のように接続され、冷媒は、冷凍回路中を実線矢印のように流れる。また、第1減圧弁20、第2減圧弁21、第3減圧弁22はそれぞれ、適切な開度に設定され、開閉弁23は、全閉している。
また、第3減圧弁22の開度は、第1減圧弁20の開度に比べて大きく、主たる減圧は第1減圧弁20で実現される。すなわち、圧縮機1から吐出された高温高圧の冷媒ガスは、室内熱交換器(凝縮器)4で凝縮し、逆止弁24bを通過して、内部熱交換器6で冷却され、第1減圧弁20において、ある程度減圧された後、気液分離器5に入る。
気液分離器5で分離されたガス冷媒は、第2減圧弁21を介して圧縮機1の吸入部に戻り、液冷媒は、逆止弁24cを通って室外熱交換器(蒸発器)3に入る。室外熱交換器3で蒸発した冷媒は、四方弁2を通過して圧縮機1の吸入部へ戻る。
また、高湿外気の条件で暖房運転を継続実施した際に室外熱交換器3が着霜した場合の除霜運転について示す。冷凍回路には、圧縮機1の吐出側と室外熱交換器3の下部とを接続する(つまり圧縮機1の吐出側と室外熱交換器3の後述する液側集合管15とを接続する)バイパス管25が設けられている。除霜運転では、このバイパス管25に設けられていた開閉弁23が開弁し、高温の吐出ガスが室外熱交換器3の液管側に直接供給される。なお、開閉弁23は、冷房時および暖房時には閉弁している。つまり、圧縮機1から吐出された冷媒は、開閉弁23を通過し、液管側から室外熱交換器3に供給される。室外熱交換器3で凝縮した冷媒は、図示しないフィン上に着霜した氷を溶かし、四方弁2を通過して圧縮機1に吸入される。本実施の形態では、着霜量の多い室外熱交換器3の下部から吐出ガスを供給するようにしたので、効率良く霜を溶かすことができる。また、室外熱交換器3の下部の氷が溶け切れずに成長するといった現象を回避することができる。
図2は、図1の冷凍回路の室外熱交換器3の詳細構成を示す図である。室外熱交換器3は、パラレルフロー型の構成であり、室外熱交換器3が冷房時に凝縮器として動作する場合には、冷媒は、点線矢印で示されるように、室外熱交換器3の上から下へと流れるパラレルフローとなり、室外熱交換器3が暖房時に蒸発器として動作する場合には、冷媒は、実線矢印で示されるように、室外熱交換器3の下から上へと流れるパラレルフローとなる。また、室外熱交換器3は、複数の熱交換面3a、3b、3cを有し、図2では熱交換面が3つである場合の例を示している。なお、熱交換面とは、扁平管の表面そのものを意味するものではなく、また、厚みの無い2次元の面を意味するものでもない。熱交換面とは、複数の扁平管が並ぶ方向に延び且つ熱交換対象空気の流入側と流出側とを表裏とする面状の仮想単位である。
熱交換面3a、3b、3cのそれぞれには、ガス側ヘッダーパイプ31と、液側ヘッダーパイプ32と、それら上下一対のヘッダーパイプ31,32の間に設けられた複数の熱交換パイプ33とが設けられている。熱交換パイプ33は、具体的には扁平管が用いられている。熱交換パイプ33の間には、フィン34(具体的にはコルゲートフィン)が設けられている。
ガス側ヘッダーパイプ31のそれぞれには、対応するガス側連絡管11の一端が接続されている。複数のガス側連絡管11の他端側は、ガス側集合管12につながっている。液側ヘッダーパイプ32のそれぞれには、対応する液側連絡管13の一端が接続されている。複数の液側連絡管13のうち、少なくとも一つの液側連絡管13には、流量調整部14が設けられている。複数の液側連絡管13の他端側は、後述する分流部40を介して、液側集合管15とつながっている。
このように、複数の熱交換面は、ガス側集合管12と液側集合管15との間を並列接続関係で配置されている。なお、図示は省略するが、隣り合う一対の熱交換面3の間は、熱交換される流体がバイパスしないように、金属プレート等の塞ぎ部材で覆われているものとする。
分流部40は、同一の乾き度の冷媒を複数の液側ヘッダーパイプ32に供給するものである。なお、一例であるが、本実施の形態は、暖房時、冷媒が室外熱交換器3内を下から上へと流れる際に、気液二相冷媒を、3つの熱交換面に均等な乾き度で供給し、流量調整部14で各熱交換面への流量を調整する構成を説明する。
かかる乾き度の均等化を実現する分流部40の一例としてディストリビュータが挙げられる。ディストリビュータは、流入した気液二相冷媒をオリフィス(狭小流路)で噴霧流とし、複数流路に分配する分流器である。分流部40は、その一端側が液側集合管15に接続されており、他端側の複数の接続口はそれぞれ対応する液側連絡管13の一端に接続されている。
流量調整部14は、流量調整機能を有しており、図示の一例では、毛細管が用いられている。流量調整部14は、分流部40と対応する液側ヘッダーパイプ32との間に、すなわち、液側連絡管13中に設けられるが、必ずしも全ての液側連絡管13に配置しておく必要は無い。図2の図示例では、2つの流量調整部14が設けられている構成を示しており、3つの液側連絡管13のうちの、2つの液側連絡管13のそれぞれに、流量調整部14が設けられている。
また、液側連絡管13の他端はそれぞれ対応する液側ヘッダーパイプ32に接続されている。このように接続された分流部40と少なくとも一つの流量調整部14とによって、各熱交換面の熱負荷に応じて、各熱交換面への流量を調整し、複数の液側連絡管32に均等な乾き度で冷媒を供給する。
熱交換面のそれぞれにおいて、液側ヘッダーパイプ32および液側連絡管13の接続口と、ガス側ヘッダーパイプ31およびガス側連絡管11の接続口とは、ヘッダーパイプの長手方向において相互に逆方向に位置している。換言すると、液側ヘッダーパイプ32の液側連絡管13との接続口は、液側ヘッダーパイプ32の一端側に設けられており、ガス側ヘッダーパイプ31のガス側連絡管11との接続口とは、ガス側ヘッダーパイプ32の他端側に設けられている。すなわち、熱交換面に対する冷媒の出入口を、上下で、左右逆側(ヘッダーパイプの長手方向でいう逆側)に配置し、一つの熱交換面においてみた場合、何れの熱交換パイプ33を経由しても概ね冷媒の流路長が等しくなるように企図されている。
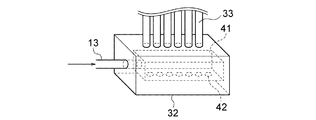
図3は、多孔管を説明するための液側ヘッダーパイプ32の斜視図である。液側ヘッダーパイプ32の上部には、対応する複数の熱交換パイプ33の下端が接続されている。液側ヘッダーパイプ32のそれぞれの内部には、図3に示されるように、多孔管41が設けられている。
多孔管41は、ブロック状またはパイプ状の部材であり、液側ヘッダーパイプ32内の空間の概ね中央あたりに、液側ヘッダーパイプ32の内面から浮いた状態で設けられている。すなわち、多孔管41の内側に、第1の空間が形成されていると共に、多孔管41の外側と液側ヘッダーパイプ32の内側との間にも、第2の空間が形成されている。
多孔管41には、多数の分配孔42が設けられている。一例であるが、分配孔42は、多孔管41の概ね下側に形成されている。これにより、多孔管41内の冷媒ガスが分配孔42から噴出される際、冷媒ガスは、既に多孔管41の下部に蓄積されている液冷媒中に吹き込まれることとなり、これにより、気液混合が促進される。
液側ヘッダーパイプ32の内部に多孔管41が収容されていることで、二重管構造の液側ヘッダーパイプ32が得られている。よって、例えば、暖房時であれば、液側連絡管13を流れる冷媒は、一度多孔管41内に流入した後、多数の分配孔42から奥行方向(図3紙面の左右方向)に均等に、多孔管41の外に流出し、さらに液側ヘッダーパイプ32内に均等に分散し、液側ヘッダーパイプ32の上面穴から複数の熱交換パイプ33に均等に供給される。
また、上述した多孔管の効果について説明する。液側ヘッダーパイプ内に多孔管を挿入しおき、その分配孔を多孔管の下向きに配置したことで、液側ヘッダーパイプの内面と多孔管の外面とで囲まれた環状領域にある冷媒の液膜が、多孔管の底から噴出される気泡により攪拌される作用が、入口乾き度や流量にかかわらず所望に得られ、それにより冷媒の均等分配が実現される。
また、本実施の形態では、気液分離器を用いて冷媒ガスをバイパスするため、蒸発器の圧力損失が低下して圧縮機の吸入圧力が上昇し、冷凍サイクルの性能が向上する。加えて、室内熱交換器を設けたため、気液分離器の効率が低く第2減圧弁を通過する冷媒が二相冷媒となっても室内熱交換器で蒸発させて圧縮機の吸入部に戻すことができ、圧縮機への液戻りによる性能や信頼性の低下を抑制できる。
続いて、本実施の形態1の空気調和装置に設けられているトップフロー型室外機について説明する。図4は、本実施の形態1に係るビル用マルチエアコン室外機の外観を示す図である。図5は、本実施の形態1に係るビル用マルチエアコン室外機の分流器と熱交換器との接続構成を示す図である。トップフロー型室外機51は、ビル用マルチエアコン(VRF:Variable Refrigerant Flow)のトップフロー(上方吹き出し)型の室外機である。
図4において白抜き矢印は、風の流れを示している。トップフロー型室外機51の筐体の筐体の3つの側面それぞれから、吸い込み空気52が筐体内に吸込まれ、後述する各熱交換面で熱交換した後、吹き出し空気53が筐体の上面に設けられたファンガード54に形成された吹出口から吐出される。
そして、図5に示すように、トップフロー型室外機51の筐体の3面それぞれに熱交換面3a、3b、3cが割り当てられており、平面視、それらの中央にプロペラファン55が配置されている。
次に、このように構成された本実施の形態1のトップフロー型室外機51の作用について説明する。暖房運転時、トップフロー型室外機51の室外機熱交換器3は、蒸発器として動作し、分岐部40で3分岐された冷媒は、流量調整部14で各流路の流量が調整され、対応する熱交換面の液側ヘッダーパイプ32に流入する。このように、各熱交換面へ流す冷媒流量を調整する理由は、各熱交換面で異なる熱負荷の分布、すなわち温度分布や風速分布の差を冷媒の流量で調整して各熱交換面からの冷媒出口の状態を均一化するためである。
次に、液側ヘッダーパイプ32の一端から流入した冷媒は、多孔管41の分配孔42から噴出し、各熱交換パイプ33に均等に分配される。多孔管41では乾き度が大きい場合、微小な液滴が小穴から噴出し、乾き度が小さい場合、環状部に溜った液部へ気泡が噴出するため、乾き度や流量に依存せず、均等分配が実現される。冷媒は、各熱交換パイプ33を通過する際に図示しない空気と熱交換した後、ガス側ヘッダーパイプ31へ流入し、液側ヘッダーパイプ32の逆側となる他端から流出し、ガス側連絡管11を通り、ガス側集合管12において、隣接する他の熱交換面と合流する。
冷房運転時には、室外熱交換器3は凝縮器として動作し、冷媒の流れが逆になる。
図4において示されているように、ビル用マルチエアコン室外機においては、筐体下部からの高さ位置と風速との間に関連があった。ここで、トップフロー型室外機にプレートフィンタイプの熱交換器を用いていた場合、風速の早い部分では、設置する伝熱管本数を減少させ、伝熱面積を減少させ、高さにわたって均一な熱交換性能が得られるように複雑な構造を採用することがあった。これに対して、本実施の形態1では、風速差が生じる方向(高さ方向)と冷媒の流れ方向とが一致するため、複雑な分岐数や分岐パターンの設計作業が不要となる。
以上説明した本実施の形態1によれば、次のような利点が得られている。トップフロー型室外機の3つの吸込側面に対応して、3つの熱交換面を有し、それらが並列接続されるとともに、液側ヘッダーパイプが分流部と流量調整部とを介して液側集合管に接続されているため、水平方向に熱負荷の分布、すなわち温度分布や風速分布がある場合でも3つの熱交換面のそれぞれの冷媒流量を流量調整部で調整できるため、均等分配が実現され、所望の熱交換性能を得ることができる。また、共通のヘッダーパイプを流れる複数の扁平管にわたって冷媒分配が不均一になる問題があるが、本実施の形態1では、熱交換面の数を増加させることで、一つの熱交換面で生じる不均一の大きさを小さくし、そのうえで、熱交換面の相互間で冷媒の流量調整することで、所望の熱交換性能を得ることができる。
本実施の形態では、ディストリビュータと流量調整部とを介して冷媒の乾き度及び冷媒流量を各熱交換面の条件に応じて所望に調整した後に、その熱交換面に分配供給するので、すべての熱交換面で極めて良好な熱交換性能を得ることができる。また、熱交換器の流れ方向において、複数の熱交換パイプにて熱交換を行った冷媒が集合され、列間接続部で再度、複数の熱交換パイプに分流される流路を有しないため、複数の熱交換パイプに均等に冷媒を供給できなくなるといった問題も生じない。
また、各熱交換面では、液側ヘッダーパイプの出入口とガス側ヘッダーパイプの出入口とが反対側に配置されているので、冷媒は、何れの熱交換パイプを通っても圧力損失がほぼ等しくなり、すなわち、気液二相流の均一分配が実現できる。また、多孔管を液側ヘッダーパイプ内に設けることにより、分配孔から微小液滴や気泡が二重構造の環状部に噴射されることなり、それによっても、気液二相冷媒の均一分配が促進される。さらに、本実施の形態では、熱交換パイプへの分配数を多くし分配回数は低く(上記例では分配数は一回限り)抑えたので、多数の熱交換パイプを用いておりながらも、その熱交換パイプの本数の割には、冷媒圧力損失を低く抑えることが可能となっている。よって、特に、冷媒圧損の大きい冷媒、例えばHFO1234yf,HFO1234zeやその混合冷媒又はR134aに対して有効に活用することができる。
また、圧縮機の吐出側と室外熱交換器の液側集合管とを接続するバイパス管が設けられているので、着霜量の多い室外熱交換器の下部から、一斉に、複数の熱交換面に吐出ガスを供給することができ、効率良く霜を溶かすことができる。また、室外熱交換器の下部の氷が溶け切れずに成長するといった現象を回避することができる。
このように本実施の形態1によれば、高さ方向に風速差が生じるトップフロー型室外機において、複数の熱交換面を有しておりながら、複雑な分岐数や分岐パターンの設計作業を伴うことなく、冷媒を均等に分配することができ、且つ、複数の熱交換面に対して、効率良く除霜を行うことができる。
実施の形態2.
次に、図6〜図8に基づき、本発明の実施の形態2について説明する。図6は、本実施の形態2に係るビル用マルチエアコン室外機の分流器と熱交換器との接続構成を示す図であり、図7は、本実施の形態2に関し、2列熱交換器の場合の1列目(前列)と2列目(後列)の構成を示す図であり、図8は、本実施の形態2に関し、2列熱交換器の場合の上部ヘッダーの内部構造を示す図である。なお、本実施の形態2は、以下に説明する部分および限定を除いては、上述した実施の形態1と同様であるものとする。
本実施の形態2のトップフロー型室外機では、筐体の吸込用側面の3面それぞれに熱交換面3a、3b、3cが割り当てられている。複数の熱交換パイプ33は、熱交換面3a、3b、3cのそれぞれにおいて、横方向(その熱交換面における吸込み方向と直交する水平な方向)に、2つのグループに分かれており、さらに、それらのグループのそれぞれにおいて、前後方向(その熱交換面における吸込み方向)に、2列に分かれている。図6の符号で示すと、熱交換面3aは、2つのグループ3h、3iに分かれており、さらに、それらのグループ3h、3iのそれぞれが、前後方向に、2列に分かれている。同様に、熱交換面3bは、2つのグループ3f、3gに分かれており、さらに、それらのグループ3f、3gのそれぞれが、前後方向に、2列に分かれており、熱交換面3cは、2つのグループ3e、3dに分かれており、さらに、それらのグループ3e、3dのそれぞれが、前後方向に、2列に分かれている。トップフロー型室外機全体でみると、複数の熱交換パイプ33は、上記の列の単位では、12列に分かれている。
一つのグループでみた複数の熱交換パイプ33の構成を説明する。図7における白抜き矢印が、吸い込まれる気流を示しており、すなわち、吸込み方向を示す。室外熱交換器3が蒸発器として機能する場合、各グループにおいては、液側ヘッダーパイプ32で流入した気液二相冷媒は、熱交換パイプ33(1列目)で空気と熱交換しながら熱交換パイプ33内を上昇し、上部に設けられた列間接続部35内において風下側となる2列目に移動し、熱交換パイプ33(2列目)で再度、空気と熱交換しながら下降し、その後、下部に設置されたガス側ヘッダーパイプ31に入る。すなわち、図7における矢印Rが冷媒の移動を示しており、1列目の熱交換パイプ33を上昇する冷媒と、2列目の熱交換パイプ33を下降する冷媒とが、対向流を構成する。1列目(前列)の複数の熱交換パイプ33の上端と、2列目(後列)の複数の熱交換パイプの上端とは、列間接続部35により接続されており、列間接続部35内では、冷媒が列方向には連通するが、横方向(各グループにおける熱交換パイプ33の並び方向つまりそのグループにおける吸込み方向と直交する水平な方向)には隔壁36で仕切られ、横方向に隣り合う熱交換パイプの冷媒は混合しない。
ガス側ヘッダーパイプ31に流入した冷媒は、液側合流パイプ37に流れ、液側合流パイプ37において、横方向に隣り合う別のグループのガス側ヘッダーパイプ31から液側合流パイプ37に流入した冷媒と合流する。
各熱交換面への冷媒の供給は、分流部40、T分岐部43、流量調整部14を介して行われ、各熱交換面で熱交換した冷媒は、液側合流パイプ37において、隣り合うグループの冷媒同士が合流し、ガス側連絡管11、上部合流管12を経て、室外熱交換器3から流出する。
次に、このように構成された本実施の形態2に係る熱交換器の作用について説明する。暖房運転時、室外機熱交換器3は、蒸発器として動作し、分岐部40で3分岐された冷媒は、T分岐部43で更に2分岐され、6分岐される。その後、流量調整部14で各流路の流量が調整され、対応する熱交換面の液側ヘッダーパイプ32に流入する。このように、各熱交換面へ流す冷媒流量を調整する理由は、各熱交換面で異なる熱負荷の分布、すなわち温度分布や風速分布の差を冷媒の流量で調整して各熱交換面からの冷媒出口の状態を均一化するためである。但し、水平方向の熱負荷の分布が大きく、各熱交換面内でも熱負荷分布が生じる場合、各熱交換面内で冷媒の不均一分配が生じるため、本実施の形態2では6つのグループを有し、このような現象に対応している。熱交換パイプの分岐グループ数は、6つに限定する必要はなく、7つ以上でも良い。
次に、実施の形態1と同様に、液側ヘッダーパイプ32の一端から流入した冷媒は、多孔管41の分配孔42から噴出し、各熱交換パイプ33に均等に分配される。多孔管42では乾き度が大きい場合、微小な液滴が小穴から噴出し、乾き度が小さい場合、環状部に溜った液部へ気泡が噴出するため、乾き度や流量に依存せず、均等分配が実現される。
冷媒は、各熱交換パイプ33を通過する際に図示しない空気と熱交換した後、ガス側ヘッダーパイプ31へ流入し、液側ヘッダーパイプ32の逆側となる他端から流出し、液側合流パイプ37で隣接する他のグループの冷媒と合流する。上部の列間接続部35では、横方向に仕切りが設けられており、横方向の隣接する伝熱管とは直接熱交換しない。液側合流パイプ37を流出した冷媒は、対応するガス側連絡管11を通り、ガス側集合管12において合流する。
以上、好ましい実施の形態を参照して本発明の内容を具体的に説明したが、本発明の基本的技術思想及び教示に基づいて、当業者であれば、種々の改変態様を採り得ることは自明である。
例えば、上述した多孔管においては、多数の分配孔が下向きにあるものとして説明したが、分配孔の形成態様は、これに限定されず、分配孔の配向、数、穴形状は、適宜、改変することが可能である。また、上述した分流部の構成も、あくまでも一例であり、適宜改変することができる。例えば、Y字分岐管や低圧損ディストリビュータ等、複数の出口側分岐路の高さ位置を相互に異ならせ、重力の影響で液相の分流の割合を変化させ、乾き度及び流量を同時に調整する態様の分流部を用いることも可能である。
1 圧縮機、3 室外熱交換器、3a、3b、3c 熱交換面、6 室内熱交換器、11 ガス側連絡管、12 ガス側集合管、13 液側連絡管、14 流量調整部、15 液側集合管、20 第1減圧弁、21 第2減圧弁、22 第3減圧弁、23 開閉弁、31 ガス側ヘッダーパイプ、32 液側ヘッダーパイプ、33 熱交換パイプ、34 液側合流パイプ、35 列間接続部、36 隔壁、40 分流部、41 多孔管、42 分配孔、43 T分岐部、51 トップフロー型室外機。

Claims (5)

  1. 冷媒を吐出する圧縮機、室外熱交換器、減圧弁および室内熱交換器を含む冷凍回路と、トップフロー型室外機とを備え、
    前記室外熱交換器は、トップフロー型室外機に設けられており、
    前記室外熱交換器は、第一の液側ヘッダーパイプ、第一のガス側ヘッダーパイプ、第一の熱交換パイプを有する第一の熱交換面と、第二の液側ヘッダーパイプ、第二のガス側ヘッダーパイプ、第二の熱交換パイプを有する第二の熱交換面と、
    前記冷媒を前記第一の液側ヘッダーパイプおよび前記第二の液側ヘッダーパイプに分配する分流部を有し、
    前記第一の熱交換面と前記第二の熱交換面は並列に接続されており、
    前記第一の液側ヘッダーパイプと前記分流部との間および前記第二の液側ヘッダーパイプと前記分流部との間のそれぞれには前記冷媒の流量を調整する流量調整部が接続されており、
    前記第一の熱交換面は、複数の熱交換パイプと、前記複数の熱交換パイプを並列接続させる列間接続部とを有し、
    前記複数の熱交換パイプは、複数の前記第一の熱交換パイプと、複数の前記第一の熱交換パイプの風下側に離間して配置された複数の第三の熱交換パイプを含み、
    前記列間接続部は、隔壁で互いに隔離され、接続対象の第一の熱交換パイプと第三の熱交換パイプとを連通する複数の連通部を有し、
    前記第一の液側ヘッダーパイプに流入した前記冷媒は、前記複数の第一の熱交換パイプ、前記列間接続部の前記複数の連通部、前記複数の第三の熱交換パイプ、前記第一のガス側ヘッダーパイプの順に流れ、
    前記複数の第一の熱交換パイプを流れる冷媒と、前記複数の第三の熱交換パイプを流れる冷媒とは、対向流の関係である、
    空気調和装置。
  2. 前記冷凍回路は、気液分離器を有し、
    前記気液分離器で分離された液または二相冷媒を前記液側集合管へ供給する、
    請求項の空気調和装置。
  3. 前記気液分離された冷媒ガスを高圧の液冷媒で加熱して前記圧縮機の吸入部に戻す、
    請求項の空気調和装置。
  4. 冷媒圧損の大きい冷媒が用いられる、
    請求項1〜の何れか一項の空気調和装置。
  5. 冷媒として、低圧冷媒であるHFO1234yf、HFO1234ze又はR134aを用いる、
    請求項1〜の何れか一項の空気調和装置。
JP2016514580A 2014-04-22 2014-04-22 空気調和装置 Active JP6352401B2 (ja)

Applications Claiming Priority (1)

Application Number Priority Date Filing Date Title
PCT/JP2014/061285 WO2015162689A1 (ja) 2014-04-22 2014-04-22 空気調和装置

Publications (2)

Publication Number Publication Date
JPWO2015162689A1 JPWO2015162689A1 (ja) 2017-04-13
JP6352401B2 true JP6352401B2 (ja) 2018-07-04

Family

ID=54331883

Family Applications (1)

Application Number Title Priority Date Filing Date
JP2016514580A Active JP6352401B2 (ja) 2014-04-22 2014-04-22 空気調和装置

Country Status (7)

Country Link
US (1) US10393408B2 (ja)
EP (1) EP3141825A4 (ja)
JP (1) JP6352401B2 (ja)
KR (1) KR20160146885A (ja)
CN (1) CN106233077B (ja)
AU (1) AU2014391505B2 (ja)
WO (1) WO2015162689A1 (ja)

Cited By (1)

* Cited by examiner, † Cited by third party
Publication number Priority date Publication date Assignee Title
US12044480B2 (en) 2019-02-04 2024-07-23 Mitsubishi Electric Corporation Heat exchanger and air-conditioning apparatus including the same

Families Citing this family (34)

* Cited by examiner, † Cited by third party
Publication number Priority date Publication date Assignee Title
EP3015793B1 (en) * 2014-10-29 2018-01-10 LG Electronics Inc. Air conditioner and method of controlling the same
GB2563119B (en) * 2015-10-26 2020-09-23 Mitsubishi Electric Corp Air-conditioning apparatus
JP6668469B2 (ja) * 2016-06-24 2020-03-18 三菱電機株式会社 冷媒分岐分配器を備えた熱交換器および冷凍サイクル装置
JPWO2018025305A1 (ja) * 2016-08-01 2019-03-22 三菱電機株式会社 空気調和機
CN106763909B (zh) * 2017-01-21 2023-04-18 佛山市德天电器有限公司 三孔单向阀及具有三孔单向阀的无霜热泵系统
WO2019026242A1 (ja) * 2017-08-03 2019-02-07 三菱電機株式会社 熱交換器、及び冷凍サイクル装置
CN108332285B (zh) * 2017-12-29 2019-12-06 青岛海尔空调器有限总公司 空调器系统
JP2019152367A (ja) * 2018-03-02 2019-09-12 パナソニックIpマネジメント株式会社 熱交換器ユニットおよびそれを用いた空気調和機
KR102674404B1 (ko) * 2018-04-20 2024-06-13 엘지전자 주식회사 저온 저장고의 냉각 시스템
EP4279850A3 (en) 2018-06-11 2024-03-06 Mitsubishi Electric Corporation Outdoor unit of air-conditioning apparatus and air-conditioning apparatus
JP6925393B2 (ja) * 2018-06-11 2021-08-25 三菱電機株式会社 空気調和装置の室外機及び空気調和装置
US11333369B2 (en) * 2018-06-11 2022-05-17 Mitsubishi Electric Corporation Refrigerant distributor, heat exchanger, and air-conditioning apparatus
CN109631419A (zh) * 2018-12-20 2019-04-16 广州美的华凌冰箱有限公司 热交换装置和冰箱
WO2020255187A1 (ja) * 2019-06-17 2020-12-24 三菱電機株式会社 空気調和機
CN112696839B (zh) * 2019-10-18 2022-12-27 广东美的制冷设备有限公司 空调系统、空调器及其控制方法、控制装置
US11262112B2 (en) 2019-12-02 2022-03-01 Johnson Controls Technology Company Condenser coil arrangement
JPWO2021234956A1 (ja) * 2020-05-22 2021-11-25
JP7366255B2 (ja) * 2020-05-22 2023-10-20 三菱電機株式会社 熱交換器、空気調和装置の室外機及び空気調和装置
CN111854245B (zh) * 2020-06-28 2021-06-01 珠海格力电器股份有限公司 具有化霜功能的热泵机组及其控制方法
EP4015938B1 (en) * 2020-12-18 2025-11-26 Carrier Corporation Air-cooled chiller with heat recovery system
WO2022215242A1 (ja) * 2021-04-09 2022-10-13 三菱電機株式会社 室外機および空気調和装置
CN113091355B (zh) * 2021-04-16 2021-11-19 东北大学 一种分液均匀的热管与蒸气压缩复合空调系统及方法
CN115218362A (zh) * 2021-04-21 2022-10-21 芜湖美智空调设备有限公司 空调器的补气控制方法、装置、空调器及存储介质
CN113175735B (zh) * 2021-04-21 2022-07-19 海信空调有限公司 计算空调器能力能效的方法、计算机存储介质和空调器
US20240271840A1 (en) * 2021-08-03 2024-08-15 Mitsubishi Electric Corporation Refrigeration cycle apparatus
JP7239857B1 (ja) * 2021-09-30 2023-03-15 ダイキン工業株式会社 空気調和機
JP7682374B2 (ja) * 2022-03-07 2025-05-23 三菱電機株式会社 冷凍サイクル装置
WO2023175926A1 (ja) * 2022-03-18 2023-09-21 三菱電機株式会社 空気調和装置の室外機および空気調和装置
WO2023188421A1 (ja) * 2022-04-01 2023-10-05 三菱電機株式会社 室外機およびそれを備えた空気調和装置
CN114992899B (zh) * 2022-06-10 2023-06-16 海信空调有限公司 一种空调器及其防油堵控制方法
WO2025150184A1 (ja) * 2024-01-12 2025-07-17 三菱電機株式会社 室外機及び空気調和装置
WO2025154256A1 (ja) * 2024-01-19 2025-07-24 三菱電機株式会社 熱交換器及び冷凍サイクル装置
WO2025158523A1 (ja) * 2024-01-23 2025-07-31 三菱電機株式会社 熱交換器、室外機および冷凍サイクル装置
WO2025181955A1 (ja) * 2024-02-28 2025-09-04 三菱電機株式会社 空気調和装置の室外機、および空気調和装置

Family Cites Families (25)

* Cited by examiner, † Cited by third party
Publication number Priority date Publication date Assignee Title
JPH0440114Y2 (ja) * 1987-06-11 1992-09-21
JPH0545007A (ja) * 1991-08-09 1993-02-23 Nippondenso Co Ltd 冷凍サイクル
JP2971223B2 (ja) 1991-11-29 1999-11-02 三菱重工業株式会社 空気調和機
JP2002071208A (ja) * 2000-08-30 2002-03-08 Hitachi Ltd 熱交換器及び空気調和機用室内機並びに室外機
AU2004261893A1 (en) * 2003-08-01 2005-02-10 Showa Denko K.K. Heat exchanger
EP1548380A3 (en) * 2003-12-22 2006-10-04 Hussmann Corporation Flat-tube evaporator with micro-distributor
JP4613645B2 (ja) * 2005-03-09 2011-01-19 株式会社デンソー 熱交換器
KR20080022324A (ko) * 2006-09-06 2008-03-11 한라공조주식회사 2열 열교환기
JP2008096095A (ja) * 2006-09-13 2008-04-24 Daikin Ind Ltd 冷凍装置
AU2007299081A1 (en) * 2006-09-18 2008-03-27 Shell Internationale Research Maatschappij B.V. A process for the manufacture of carbon disulphide
JP4370535B2 (ja) * 2007-06-28 2009-11-25 ソニー株式会社 画像表示装置、撮像装置、画像表示制御方法、プログラム
US8166776B2 (en) * 2007-07-27 2012-05-01 Johnson Controls Technology Company Multichannel heat exchanger
EP2275757B1 (en) * 2008-03-31 2018-02-28 Mitsubishi Electric Corporation Air-conditioning and hot water complex system
GB0807398D0 (en) * 2008-04-23 2008-05-28 Airbus Uk Ltd Improved method of tape laying of thermoplastic composite materials
EP2291599A4 (en) * 2008-04-29 2014-05-14 Carrier Corp MODULAR HEAT EXCHANGER
US9506674B2 (en) 2009-01-15 2016-11-29 Mitsubishi Electric Corporation Air conditioner including a bypass pipeline for a defrosting operation
US9433459B2 (en) * 2010-07-13 2016-09-06 Zoll Medical Corporation Deposit ablation within and external to circulatory systems
EP2642219B1 (en) 2010-11-19 2018-12-26 Mitsubishi Electric Corporation Air conditioner
JP5709978B2 (ja) 2011-03-28 2015-04-30 三菱電機株式会社 空気調和装置
FR2977304B1 (fr) * 2011-06-28 2013-07-19 Valeo Systemes Thermiques Echangeur de chaleur, boitier et circuit de climatisation comprenant un tel echangeur
JP5360186B2 (ja) * 2011-11-30 2013-12-04 ダイキン工業株式会社 空気調和装置の室外機
JP5518104B2 (ja) 2012-01-06 2014-06-11 三菱電機株式会社 熱交換器、室内機、および室外機
US20150083383A1 (en) * 2012-04-26 2015-03-26 Mitsubishi Electric Corporation Heat exchanger and heat exchange method
US9335076B2 (en) 2012-09-04 2016-05-10 Allied Air Enterprises Llc Distributor assembly for space conditioning systems
BR112015006703A2 (pt) * 2012-09-28 2017-07-04 Electrolux Home Products Corp Nv refrigerador

Cited By (1)

* Cited by examiner, † Cited by third party
Publication number Priority date Publication date Assignee Title
US12044480B2 (en) 2019-02-04 2024-07-23 Mitsubishi Electric Corporation Heat exchanger and air-conditioning apparatus including the same

Also Published As

Publication number Publication date
KR20160146885A (ko) 2016-12-21
EP3141825A1 (en) 2017-03-15
AU2014391505B2 (en) 2018-11-22
CN106233077A (zh) 2016-12-14
JPWO2015162689A1 (ja) 2017-04-13
CN106233077B (zh) 2019-08-09
EP3141825A4 (en) 2018-01-03
WO2015162689A1 (ja) 2015-10-29
US20170122630A1 (en) 2017-05-04
AU2014391505A1 (en) 2016-11-10
US10393408B2 (en) 2019-08-27

Similar Documents

Publication Publication Date Title
JP6352401B2 (ja) 空気調和装置
JP6104893B2 (ja) 熱交換器、冷凍サイクル装置、空気調和機及び熱交換方法
CN107110577B (zh) 热交换装置及具备该热交换装置的空调机
JP5071597B2 (ja) 熱交換器および空気調和機
CN108139089B (zh) 空气调节机的室外机及室内机
EP2759785B1 (en) Refrigeration device
JP5195733B2 (ja) 熱交換器及びこれを備えた冷凍サイクル装置
JP6098451B2 (ja) 熱交換器および空気調和機
JP6590948B2 (ja) 熱交換器および冷凍サイクル装置
CN118089283A (zh) 热交换器和空调装置
WO2020039513A1 (ja) 熱交換器及び空気調和装置
JP6987227B2 (ja) 熱交換器及び冷凍サイクル装置
JP6793831B2 (ja) 熱交換器、及び冷凍サイクル装置
CN105352225A (zh) 空调器
WO2020129180A1 (ja) 熱交換器及び冷凍サイクル装置
WO2024203166A1 (ja) 熱交換器及び冷凍サイクル装置
JPWO2016121124A1 (ja) 熱交換器、及び冷凍サイクル装置
KR102169284B1 (ko) 열교환기 및 이를 갖는 공기조화기
JP6171765B2 (ja) 熱交換器
EP3699539B1 (en) Heat exchanger and air conditioning device with same
CN111750573A (zh) 热交换器分流器
JP2020101298A (ja) 空気調和装置
CN111094876A (zh) 多联式空调系统及室内单元
JP7106814B2 (ja) 熱交換器
JP2024146710A (ja) 熱交換器及び冷凍サイクル装置

Legal Events

Date Code Title Description
A131 Notification of reasons for refusal

Free format text: JAPANESE INTERMEDIATE CODE: A131

Effective date: 20170829

A521 Request for written amendment filed

Free format text: JAPANESE INTERMEDIATE CODE: A523

Effective date: 20171005

A02 Decision of refusal

Free format text: JAPANESE INTERMEDIATE CODE: A02

Effective date: 20180213

A521 Request for written amendment filed

Free format text: JAPANESE INTERMEDIATE CODE: A523

Effective date: 20180416

A911 Transfer to examiner for re-examination before appeal (zenchi)

Free format text: JAPANESE INTERMEDIATE CODE: A911

Effective date: 20180423

TRDD Decision of grant or rejection written
A01 Written decision to grant a patent or to grant a registration (utility model)

Free format text: JAPANESE INTERMEDIATE CODE: A01

Effective date: 20180605

A61 First payment of annual fees (during grant procedure)

Free format text: JAPANESE INTERMEDIATE CODE: A61

Effective date: 20180606

R150 Certificate of patent or registration of utility model

Ref document number: 6352401

Country of ref document: JP

Free format text: JAPANESE INTERMEDIATE CODE: R150

R250 Receipt of annual fees

Free format text: JAPANESE INTERMEDIATE CODE: R250

R250 Receipt of annual fees

Free format text: JAPANESE INTERMEDIATE CODE: R250

R250 Receipt of annual fees

Free format text: JAPANESE INTERMEDIATE CODE: R250

R250 Receipt of annual fees

Free format text: JAPANESE INTERMEDIATE CODE: R250

R250 Receipt of annual fees

Free format text: JAPANESE INTERMEDIATE CODE: R250