JP6294792B2 - 空気入りタイヤ - Google Patents
空気入りタイヤ Download PDFInfo
- Publication number
- JP6294792B2 JP6294792B2 JP2014166100A JP2014166100A JP6294792B2 JP 6294792 B2 JP6294792 B2 JP 6294792B2 JP 2014166100 A JP2014166100 A JP 2014166100A JP 2014166100 A JP2014166100 A JP 2014166100A JP 6294792 B2 JP6294792 B2 JP 6294792B2
- Authority
- JP
- Japan
- Prior art keywords
- tire
- belt
- axial direction
- profile
- end point
- Prior art date
- Legal status (The legal status is an assumption and is not a legal conclusion. Google has not performed a legal analysis and makes no representation as to the accuracy of the status listed.)
- Active
Links
Images
Landscapes
- Tires In General (AREA)
Description
(R2/R1)=−88.776×(L1/L2)3+177.62×(L1/L2)2−120.12×(L1/L2)+A …(1)
0.17≦(R2/R1)≦0.26 …(2)
0.58≦(L1/L2)≦0.61 …(3)
27.45≦A≦27.55 …(4)
ここで、R1、R2、L1及びL2は次の通りである。
R1は、前記外側ベルトプロファイルのタイヤ赤道位置である内端点、前記外側ベルトプロファイルのタイヤ軸方向の最も外側の外端点と前記内端点とを直線で結び、前記外側ベルトプロファイルと前記直線とがタイヤ半径方向に最大距離となる前記外側ベルトプロファイルの最大離間点、及び、前記最大離間点と前記内端点とのタイヤ軸方向の中間位置である前記外側ベルトプロファイルの内中点の3点を通る内側円弧の曲率半径である。
R2は、前記最大離間点、該最大離間点と前記外端点とのタイヤ軸方向の中間位置である前記外側ベルトプロファイルの外中点、及び、前記外端点の3点を通る外側円弧の曲率半径である。
L1は、前記内端点から前記最大離間点までのタイヤ軸方向の距離である。
L2は、前記内端点から前記外端点までのタイヤ軸方向の距離である。
(R2/R1)=−88.776×(L1/L2)3+177.62×(L1/L2)2−120.12×(L1/L2)+A …(1)
0.17≦(R2/R1)≦0.26 …(2)
0.58≦(L1/L2)≦0.61 …(3)
27.45≦A≦27.55 …(4)
R2は、最大離間点、該最大離間点と外端点とのタイヤ軸方向の中間位置である外側ベルトプロファイルの外中点、及び、外端点の3点を通る外側円弧の曲率半径である。
L1は、内端点から最大離間点までのタイヤ軸方向の距離である。
L2は、内端点から外端点までのタイヤ軸方向の距離である。
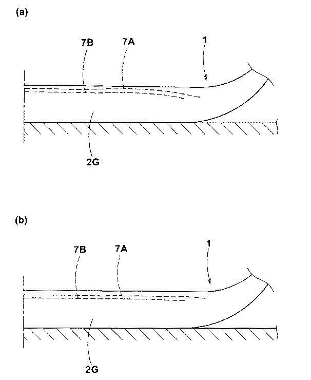
図1は、本実施形態の空気入りタイヤ(以下、単に「タイヤ」ということがある。)1の正規状態におけるタイヤ子午線断面である。本実施形態の空気入りタイヤ(以下、単に「タイヤ」ということがある。)1は、例えば乗用車用のタイヤとして好適に利用され得る。
(R2/R1)=−88.776×(L1/L2)3+177.62×(L1/L2)2−120.12×(L1/L2)+A …(1)
0.17≦(R2/R1)≦0.26 …(2)
0.58≦(L1/L2)≦0.61 …(3)
27.45≦A≦27.55 …(4)
R1は、外側ベルトプロファイルBpのタイヤ赤道C位置である内端点11、外側ベルトプロファイルBpのタイヤ軸方向の最も外側の外端点12と内端点11とを直線nで結び、外側ベルトプロファイルBpと直線nとがタイヤ半径方向に最大距離kとなる外側ベルトプロファイルBpの最大離間点13、及び、最大離間点13と内端点11とのタイヤ軸方向の中間位置である外側ベルトプロファイルBpの内中点14の3点を通る内側円弧15の曲率半径である。
R2は、最大離間点13、該最大離間点13と外端点12とのタイヤ軸方向の中間位置である外側ベルトプロファイルBpの外中点16、及び、外端点12の3点を通る外側円弧17の曲率半径である。
L1は、内端点11から最大離間点13までのタイヤ軸方向の距離である。
L2は、内端点11から外端点12までのタイヤ軸方向の距離である。
トレッド接地幅TW:180mm
カーカスプライ数:1枚
カーカスコード材料:ポリエステル
カーカスコード角:88°(対タイヤ赤道)
ベルトプライ数:2枚
ベルトコード材料:スチール
ベルトコード角:+28°、−28゜(対タイヤ赤道)
外側ベルトプライのタイヤ軸方向幅PW:186mm
なお、表1に示された各試供タイヤの外側ベルトプロファイルの各寸法は、下記リムにリム組みして、正規状態においてCTスキャンにより測定された測定値である。
リム:18×7.5J
テストの方法は、次の通りである。
各試供タイヤが、下記の条件で、排気量が2000ccの後輪駆動車の全輪に装着され、ドライバーが、上記車両を乾燥アスファルトのテストコースを走行させた。この後、耐摩耗性能については、タイヤ1本につきセンター領域側の24ヶ所とショルダー領域側の24ヶ所の摩耗量が測定された。結果は、実施例1の摩耗量の平均値の逆数を10点とする指数で示されている。数値が大きいほど良好である。耐偏摩耗性能については、タイヤ1本につきショルダー領域側のブロックの8箇所で回転方向前端と後端との摩耗量の差が測定された。結果は、実施例1の摩耗量の差の平均値の逆数を10点とする指数で示されている。数値が大きいほど良好である。
内圧:230kPa
リム:18×7.5J
走行距離:10000km(高速走行50%、一般走行25%及び山岳走行25%)
テストの結果が表1に示される。
2 トレッド部
3 サイドウォール部
4 ビード部
6 カーカス
7 ベルト層
7B 外側ベルトプライ
Bp 外側ベルトプロファイル
Claims (5)
- トレッド部からサイドウォール部をへてビード部のビードコアに至るカーカスと、このカーカスのタイヤ半径方向外側かつ前記トレッド部の内側に配された少なくとも2枚のベルトプライからなるベルト層とを含む空気入りタイヤであって、
前記ベルト層は、前記カーカスと接する内側ベルトプライと、内側ベルトプライのタイヤ半径方向外側に配される外側ベルトプライとを含み、
正規リムに装着されかつ正規内圧が充填された無負荷である正規状態のタイヤ回転軸を含むタイヤ子午断面において、前記外側ベルトプライのプロファイルである外側ベルトプロファイルは、下記式(1)〜(4)の関係を満たすことを特徴とする空気入りタイヤ。
(R2/R1)=−88.776×(L1/L2)3+177.62×(L1/L2)2−120.12×(L1/L2)+A …(1)
0.17≦(R2/R1)≦0.26 …(2)
0.58≦(L1/L2)≦0.61 …(3)
27.45≦A≦27.55 …(4)
ここで、R1、R2、L1及びL2は次の通りである。
R1:前記外側ベルトプロファイルのタイヤ赤道位置である内端点、前記外側ベルトプロファイルのタイヤ軸方向の最も外側の外端点と前記内端点とを直線で結び、前記外側ベルトプロファイルと前記直線とがタイヤ半径方向に最大距離となる前記外側ベルトプロファイルの最大離間点、及び、前記最大離間点と前記内端点とのタイヤ軸方向の中間位置である前記外側ベルトプロファイルの内中点の3点を通る内側円弧の曲率半径
R2:前記最大離間点、該最大離間点と前記外端点とのタイヤ軸方向の中間位置である前記外側ベルトプロファイルの外中点、及び、前記外端点の3点を通る外側円弧の曲率半径
L1:前記内端点から前記最大離間点までのタイヤ軸方向の距離
L2:前記内端点から前記外端点までのタイヤ軸方向の距離 - 前記外側ベルトプライのタイヤ軸方向の外端は、前記内側ベルトプライのタイヤ軸方向の外端よりもタイヤ軸方向内側に7〜10mm控えた位置に配される請求項1記載の空気入りタイヤ。
- 前記外端点と、前記外端点から前記距離L2の12%をタイヤ軸方向内側に隔てた内方点との間の外側領域において、前記外側ベルトプロファイルの曲率半径が、前記カーカスのプロファイルの曲率半径よりも大きい請求項1又は2記載の空気入りタイヤ。
- 前記トレッド部は、前記ベルト層のタイヤ半径方向外側に、該ベルト層の全幅を覆う少なくとも1枚のフルバンドプライからなるバンド層を具え、
前記ベルトプライを形成するベルトコードは、タイヤ赤道に対し24〜30°の角度で傾けられる請求項1又は2記載の空気入りタイヤ。 - 前記外側ベルトプライのタイヤ軸方向の外端は、トレッド端よりもタイヤ軸方向外側に位置する請求項1乃至4のいずれかに記載の空気入りタイヤ。
Priority Applications (1)
| Application Number | Priority Date | Filing Date | Title |
|---|---|---|---|
| JP2014166100A JP6294792B2 (ja) | 2014-08-18 | 2014-08-18 | 空気入りタイヤ |
Applications Claiming Priority (1)
| Application Number | Priority Date | Filing Date | Title |
|---|---|---|---|
| JP2014166100A JP6294792B2 (ja) | 2014-08-18 | 2014-08-18 | 空気入りタイヤ |
Publications (2)
| Publication Number | Publication Date |
|---|---|
| JP2016041549A JP2016041549A (ja) | 2016-03-31 |
| JP6294792B2 true JP6294792B2 (ja) | 2018-03-14 |
Family
ID=55591610
Family Applications (1)
| Application Number | Title | Priority Date | Filing Date |
|---|---|---|---|
| JP2014166100A Active JP6294792B2 (ja) | 2014-08-18 | 2014-08-18 | 空気入りタイヤ |
Country Status (1)
| Country | Link |
|---|---|
| JP (1) | JP6294792B2 (ja) |
Families Citing this family (3)
| Publication number | Priority date | Publication date | Assignee | Title |
|---|---|---|---|---|
| JP7102736B2 (ja) * | 2018-01-10 | 2022-07-20 | 住友ゴム工業株式会社 | タイヤの設計方法 |
| JP7298622B2 (ja) * | 2018-09-25 | 2023-06-27 | 住友ゴム工業株式会社 | 空気入りタイヤ |
| WO2022074341A1 (fr) * | 2020-10-09 | 2022-04-14 | Compagnie Generale Des Etablissements Michelin | Ensemble monte comprenant un pneumatique |
Family Cites Families (6)
| Publication number | Priority date | Publication date | Assignee | Title |
|---|---|---|---|---|
| JPH0717129B2 (ja) * | 1986-12-27 | 1995-03-01 | 住友ゴム工業株式会社 | ラジアルタイヤ |
| JPH0524414A (ja) * | 1991-07-23 | 1993-02-02 | Sumitomo Rubber Ind Ltd | ラジアルタイヤ |
| JPH06206403A (ja) * | 1993-01-07 | 1994-07-26 | Sumitomo Rubber Ind Ltd | 重荷重用タイヤ |
| US5803998A (en) * | 1995-04-27 | 1998-09-08 | Bridgestone Corporation | Pneumatic radial tires with at least three tread radii of curvature |
| JP4420098B2 (ja) * | 2006-11-06 | 2010-02-24 | 横浜ゴム株式会社 | 空気入りタイヤ |
| JP5986352B2 (ja) * | 2010-12-27 | 2016-09-06 | 住友ゴム工業株式会社 | 乗用車用ラジアルタイヤ |
-
2014
- 2014-08-18 JP JP2014166100A patent/JP6294792B2/ja active Active
Also Published As
| Publication number | Publication date |
|---|---|
| JP2016041549A (ja) | 2016-03-31 |
Similar Documents
| Publication | Publication Date | Title |
|---|---|---|
| KR101790798B1 (ko) | 공기 타이어 | |
| JP6186147B2 (ja) | 空気入りタイヤ | |
| US20150151588A1 (en) | Pneumatic tire | |
| JP6375851B2 (ja) | 空気入りタイヤ | |
| WO2013065322A1 (ja) | 乗用車用空気入りラジアルタイヤ | |
| JP6375850B2 (ja) | 空気入りタイヤ | |
| US10870318B2 (en) | Pneumatic tire | |
| US9937755B2 (en) | Motorcycle tire | |
| JP6446979B2 (ja) | 空気入りタイヤ | |
| WO2014132551A1 (ja) | 乗用車用空気入りラジアルタイヤ | |
| JP5541416B1 (ja) | 空気入りタイヤ | |
| JP5795573B2 (ja) | 空気入りタイヤ | |
| WO2015063978A1 (ja) | タイヤ | |
| JP6294792B2 (ja) | 空気入りタイヤ | |
| JP5298797B2 (ja) | 空気入りタイヤ | |
| JP6446980B2 (ja) | 空気入りタイヤ | |
| JP5503457B2 (ja) | 空気入りタイヤ | |
| JP6658789B2 (ja) | 空気入りタイヤ | |
| JP2013095326A (ja) | 乗用車用空気入りラジアルタイヤ | |
| JP6294791B2 (ja) | 空気入りタイヤ | |
| JP2021017151A (ja) | 重荷重用空気入りタイヤ | |
| JP5695412B2 (ja) | 乗用車用空気入りタイヤ | |
| JP4904075B2 (ja) | ランフラットタイヤ | |
| JP6450111B2 (ja) | 空気入りタイヤ | |
| JP2020006842A (ja) | 空気入りタイヤ |
Legal Events
| Date | Code | Title | Description |
|---|---|---|---|
| A621 | Written request for application examination |
Free format text: JAPANESE INTERMEDIATE CODE: A621 Effective date: 20170601 |
|
| TRDD | Decision of grant or rejection written | ||
| A977 | Report on retrieval |
Free format text: JAPANESE INTERMEDIATE CODE: A971007 Effective date: 20180124 |
|
| A01 | Written decision to grant a patent or to grant a registration (utility model) |
Free format text: JAPANESE INTERMEDIATE CODE: A01 Effective date: 20180130 |
|
| A61 | First payment of annual fees (during grant procedure) |
Free format text: JAPANESE INTERMEDIATE CODE: A61 Effective date: 20180216 |
|
| R150 | Certificate of patent or registration of utility model |
Ref document number: 6294792 Country of ref document: JP Free format text: JAPANESE INTERMEDIATE CODE: R150 |
|
| R250 | Receipt of annual fees |
Free format text: JAPANESE INTERMEDIATE CODE: R250 |
|
| R250 | Receipt of annual fees |
Free format text: JAPANESE INTERMEDIATE CODE: R250 |
|
| R250 | Receipt of annual fees |
Free format text: JAPANESE INTERMEDIATE CODE: R250 |
|
| R250 | Receipt of annual fees |
Free format text: JAPANESE INTERMEDIATE CODE: R250 |
|
| R250 | Receipt of annual fees |
Free format text: JAPANESE INTERMEDIATE CODE: R250 |
|
| R250 | Receipt of annual fees |
Free format text: JAPANESE INTERMEDIATE CODE: R250 |
