JP6252425B2 - 電子部品 - Google Patents

電子部品 Download PDF

Info

Publication number
JP6252425B2
JP6252425B2 JP2014205136A JP2014205136A JP6252425B2 JP 6252425 B2 JP6252425 B2 JP 6252425B2 JP 2014205136 A JP2014205136 A JP 2014205136A JP 2014205136 A JP2014205136 A JP 2014205136A JP 6252425 B2 JP6252425 B2 JP 6252425B2
Authority
JP
Japan
Prior art keywords
end surface
electronic component
external electrode
circuit element
ground external
Prior art date
Legal status (The legal status is an assumption and is not a legal conclusion. Google has not performed a legal analysis and makes no representation as to the accuracy of the status listed.)
Active
Application number
JP2014205136A
Other languages
English (en)
Other versions
JP2016076556A (ja
Inventor
松永 季
季 松永
Current Assignee (The listed assignees may be inaccurate. Google has not performed a legal analysis and makes no representation or warranty as to the accuracy of the list.)
Murata Manufacturing Co Ltd
Original Assignee
Murata Manufacturing Co Ltd
Priority date (The priority date is an assumption and is not a legal conclusion. Google has not performed a legal analysis and makes no representation as to the accuracy of the date listed.)
Filing date
Publication date
Application filed by Murata Manufacturing Co Ltd filed Critical Murata Manufacturing Co Ltd
Priority to JP2014205136A priority Critical patent/JP6252425B2/ja
Priority to KR1020150132535A priority patent/KR101667888B1/ko
Priority to CN201510633047.6A priority patent/CN105489341A/zh
Priority to US14/872,823 priority patent/US20160099102A1/en
Publication of JP2016076556A publication Critical patent/JP2016076556A/ja
Application granted granted Critical
Publication of JP6252425B2 publication Critical patent/JP6252425B2/ja
Active legal-status Critical Current
Anticipated expiration legal-status Critical

Links

Images

Classifications

    • HELECTRICITY
    • H01ELECTRIC ELEMENTS
    • H01FMAGNETS; INDUCTANCES; TRANSFORMERS; SELECTION OF MATERIALS FOR THEIR MAGNETIC PROPERTIES
    • H01F27/00Details of transformers or inductances, in general
    • H01F27/40Structural association with built-in electric component, e.g. fuse
    • H01F27/402Association of measuring or protective means
    • HELECTRICITY
    • H01ELECTRIC ELEMENTS
    • H01FMAGNETS; INDUCTANCES; TRANSFORMERS; SELECTION OF MATERIALS FOR THEIR MAGNETIC PROPERTIES
    • H01F17/00Fixed inductances of the signal type
    • H01F17/0006Printed inductances
    • H01F17/0013Printed inductances with stacked layers
    • HELECTRICITY
    • H05ELECTRIC TECHNIQUES NOT OTHERWISE PROVIDED FOR
    • H05FSTATIC ELECTRICITY; NATURALLY-OCCURRING ELECTRICITY
    • H05F3/00Carrying-off electrostatic charges
    • H05F3/02Carrying-off electrostatic charges by means of earthing connections
    • HELECTRICITY
    • H01ELECTRIC ELEMENTS
    • H01FMAGNETS; INDUCTANCES; TRANSFORMERS; SELECTION OF MATERIALS FOR THEIR MAGNETIC PROPERTIES
    • H01F17/00Fixed inductances of the signal type
    • H01F17/0006Printed inductances
    • H01F2017/0066Printed inductances with a magnetic layer
    • HELECTRICITY
    • H01ELECTRIC ELEMENTS
    • H01FMAGNETS; INDUCTANCES; TRANSFORMERS; SELECTION OF MATERIALS FOR THEIR MAGNETIC PROPERTIES
    • H01F17/00Fixed inductances of the signal type
    • H01F2017/0093Common mode choke coil
    • HELECTRICITY
    • H10SEMICONDUCTOR DEVICES; ELECTRIC SOLID-STATE DEVICES NOT OTHERWISE PROVIDED FOR
    • H10DINORGANIC ELECTRIC SEMICONDUCTOR DEVICES
    • H10D89/00Aspects of integrated devices not covered by groups H10D84/00 - H10D88/00
    • H10D89/60Integrated devices comprising arrangements for electrical or thermal protection, e.g. protection circuits against electrostatic discharge [ESD]

Landscapes

  • Engineering & Computer Science (AREA)
  • Power Engineering (AREA)
  • Microelectronics & Electronic Packaging (AREA)
  • Coils Or Transformers For Communication (AREA)
  • Manufacturing Cores, Coils, And Magnets (AREA)
  • Filters And Equalizers (AREA)

Description

本発明は、例えば、コモンドチョークコイルと静電気放電素子とを含む電子部品に関する。
従来、電子部品としては、特開2010−28695号公報(特許文献1)に記載されたものがある。電子部品は、積層された複数の絶縁層を含む積層体と、積層体内に設けられている回路素子と、積層体内に設けられている静電気放電素子と、静電気放電素子と回路素子とを電気的に接続する回路素子用外部電極と、静電気放電素子に接続され、静電気放電素子をグランドに電気的に接続するためのグランド用外部電極とを有する。
積層体は、絶縁層の積層方向に位置すると共に互いに反対側に位置する第1端面と第2端面とを有する。グランド用外部電極は、積層体の第1端面から第2端面に渡って延在している。
特開2010−28695号公報
ところで、前記従来の電子部品では、グランド用外部電極は、積層体の第1端面から第2端面に渡って延在しているので、グランド用外部電極は、積層体の積層方向に直交する方向において、回路素子を覆っている。このため、グランド用外部電極と回路素子との間に発生する浮遊容量が増大し、電気的特性(高周波特性)が低下するおそれがある。
そこで、本発明の課題は、浮遊容量を低減して電気的特性を向上する電子部品を提供することにある。
前記課題を解決するため、本発明の電子部品は、
積層された複数の絶縁層を含む積層体と、
前記積層体内に設けられている回路素子と、
前記積層体内に設けられている静電気放電素子と、
前記静電気放電素子と前記回路素子とを電気的に接続する回路素子用外部電極と、
前記静電気放電素子に接続され、前記静電気放電素子をグランドに電気的に接続するためのグランド用外部電極と
を備え、
前記積層体は、前記絶縁層の積層方向に位置すると共に互いに反対側に位置する第1端面と第2端面とを有し、
前記静電気放電素子は、前記回路素子よりも、前記積層体の前記第1端面側に配置され、
前記グランド用外部電極の前記回路素子側の端部の前記第1端面からの高さは、前記回路素子の前記グランド用外部電極側の端部の前記第1端面からの高さよりも、低いことを特徴としている。
本発明の電子部品によれば、静電気放電素子は、回路素子よりも、積層体の第1端面側に配置され、グランド用外部電極の回路素子側の端部の第1端面からの高さは、回路素子のグランド用外部電極側の端部の第1端面からの高さよりも、低い。これにより、グランド用外部電極は、積層方向に直交する平面において、回路素子の少なくとも一部に重ならず、グランド用外部電極は、積層方向において、回路素子から離隔している。したがって、積層体の第1端面を実装基板に実装して電子部品を使用したとき、グランド用外部電極と回路素子との間に発生する浮遊容量が低減し、電気的特性(高周波特性)が向上する。
また、一実施形態の電子部品では、好ましくは、前記積層体の前記第1端面は、実装基板に実装される被実装面である。
前記実施形態の電子部品によれば、積層体の第1端面は、実装基板に実装される被実装面である。したがって、静電気放電素子が、回路素子よりも、被実装面側に配置されるので、実装基板へ静電気を放電しやすくなる。また、静電気放電素子が、回路素子よりも、被実装面側に配置されるので、電子部品の重心が、被実装面側に近くなって、電子部品を実装基板に実装したときの電子部品の姿勢が安定する。
また、一実施形態の電子部品では、好ましくは、前記グランド用外部電極は、前記積層体の前記第1端面から、前記積層体の前記第1端面と前記第2端面との間の側面に渡って、設けられている。
前記実施形態の電子部品によれば、グランド用外部電極は、積層体の第1端面から側面に渡って、設けられている。したがって、グランド用外部電極を、半田を介して、実装基板に実装する場合、半田は、グランド用外部電極における積層体の側面に設けられる部分にも接続され、電子部品と実装基板との接続の信頼性が増大する。
また、一実施形態の電子部品では、好ましくは、
前記積層体の前記側面には、前記第1端面から切り欠かれると共に前記第1端面から前記第2端面に向かって延在する凹部を有し、
前記グランド用外部電極は、前記積層体の前記凹部に嵌め込まれている。
前記実施形態の電子部品によれば、グランド用外部電極は、積層体の側面の凹部に嵌め込まれている。したがって、電子部品の積層体の側面方向の厚みが、一定に設定されているとき、グランド用外部電極の積層体の側面から露出する部分の厚みを小さくできるため、積層体の側面方向の厚みを大きくできる。このように、積層体の側面方向の厚みを大きくすることで、回路素子を大きく設計することができ、回路素子としての電気的特性(例えばインダクタンス値など)を向上させることができる。
また、一実施形態の電子部品では、好ましくは、
前記グランド用外部電極における前記積層体の前記凹部の内面に接触する接触部分の形状は、前記第1端面から前記第2端面に向かって延在する階段状であり、
前記積層体の前記凹部の内面における前記グランド用外部電極に接触する接触部分の形状は、前記第1端面から前記第2端面に向かって延在する階段状であり、
前記グランド用外部電極の前記接触部分と前記積層体の前記接触部分とは、互いに、係合する。
前記実施形態の電子部品によれば、グランド用外部電極の接触部分の形状は、階段状であり、積層体の接触部分の形状は、階段状であり、グランド用外部電極の接触部分と積層体の接触部分とは、互いに、係合する。したがって、グランド用外部電極は、積層体から外れにくくなる。
また、一実施形態の電子部品では、好ましくは、
前記積層体の前記第1端面には、前記第1端面に開口を有すると共に前記第1端面から前記第2端面に向かって延在する孔部を有し、
前記グランド用外部電極は、前記積層体の前記孔部に嵌め込まれている。
前記実施形態の電子部品によれば、グランド用外部電極は、積層体の第1端面の孔部に嵌め込まれている。したがって、電子部品の積層体の側面方向の厚みが、一定に設定されているとき、グランド用外部電極の積層体の側面から露出する部分の厚みをなくすことができるため、積層体の側面方向の厚みを大きくできる。このように、積層体の側面方向の厚みを大きくすることで、回路素子を大きく設計することができ、回路素子としての電気的特性を向上させることができる。また、グランド用外部電極は、積層体内に覆われているので、他の電子部品や装置等との接触によるグランド用外部電極の損傷を防止できる。
また、一実施形態の電子部品では、好ましくは、
前記グランド用外部電極における前記積層体の前記孔部の内面に接触する接触部分の形状は、前記第1端面から前記第2端面に向かって延在する階段状であり、
前記積層体の前記孔部の内面における前記グランド用外部電極に接触する接触部分の形状は、前記第1端面から前記第2端面に向かって延在する階段状であり、
前記グランド用外部電極の前記接触部分と前記積層体の前記接触部分とは、互いに、係合する。
前記実施形態の電子部品によれば、グランド用外部電極の接触部分の形状は、階段状であり、積層体の接触部分の形状は、階段状であり、グランド用外部電極の接触部分と積層体の接触部分とは、互いに、係合する。したがって、グランド用外部電極は、積層体から外れにくくなる。
また、一実施形態の電子部品では、好ましくは、前記静電気放電素子と前記回路素子との間の距離は、50μm以上である。
前記実施形態の電子部品によれば、静電気放電素子と回路素子との間の距離は、50μm以上である。これにより、静電気放電素子が回路素子から離隔して、静電気放電素子と回路素子との間の絶縁層は、厚くなる。したがって、コモンモードインピーダンスが高くなり、ノイズ除去効果が向上する。
また、一実施形態の電子部品では、好ましくは、前記静電気放電素子と前記積層体の前記第1端面との間の距離は、50μm以上である。
前記実施形態の電子部品によれば、静電気放電素子と積層体の第1端面との間の距離は、50μm以上である。これにより、静電気放電素子により静電気の放電を行うために、静電気放電素子を構成する複数の放電電極間に空隙を設ける必要があるが、この放電電極間の空隙を、積層体の第1端面から離隔することができる。したがって、積層体の第1端面を実装基板に実装する時に、電子部品に衝撃等が発生しても、電子部品にワレ、カケ、クラックが発生することを防止できる。
また、一実施形態の電子部品では、好ましくは、前記絶縁層は、金属磁性粉を含む。
前記実施形態の電子部品によれば、絶縁層は、金属磁性粉を含むので、電子部品の特性(インダクタンス値や直流重畳特性等)を向上させることができる。
本発明の電子部品によれば、静電気放電素子は、回路素子よりも、積層体の第1端面側に配置され、グランド用外部電極の回路素子側の端部の第1端面からの高さは、回路素子のグランド用外部電極側の端部の第1端面からの高さよりも、低いので、浮遊容量を低減して電気的特性を向上する。
本発明の第1実施形態の電子部品を示す斜視図である。 電子部品の断面図である。 電子部品の分解斜視図である。 電子部品の回路図である。 電子部品の簡略構成図である。 本発明の第2実施形態の電子部品を示す簡略構成図である。 静電気放電素子と回路素子との間の距離とコモンインピーダンスとの関係を示すグラフである。 静電気放電素子と積層体の第1端面との間の距離と電子部品の強度との関係を示すグラフである。 本発明の第3実施形態の電子部品を示す簡略構成図である。 電子部品の製造方法を説明する説明図である。 電子部品の製造方法を説明する説明図である。 電子部品の製造方法を説明する説明図である。 電子部品の製造方法を説明する説明図である。 電子部品の製造方法を説明する説明図である。 電子部品の製造方法を説明する説明図である。 本発明の第4実施形態の電子部品を示す簡略構成図である。 電子部品の製造方法を説明する説明図である。 電子部品の製造方法を説明する説明図である。 電子部品の製造方法を説明する説明図である。 電子部品の製造方法を説明する説明図である。 電子部品の製造方法を説明する説明図である。 電子部品の製造方法を説明する説明図である。
以下、本発明を図示の実施の形態により詳細に説明する。
(第1の実施形態)
図1は、本発明の第1実施形態の電子部品を示す斜視図である。図2は、電子部品の断面図である。図3は、電子部品の分解斜視図である。図1と図2と図3に示すように、電子部品10は、積層体1と、積層体1内に設けられている回路素子2と、積層体1内に設けられている静電気放電素子3と、静電気放電素子3と回路素子2とを電気的に接続する第1〜第4回路素子用外部電極41〜44と、静電気放電素子3に接続され、静電気放電素子3をグランドに電気的に接続するための第1、第2グランド用外部電極51,52とを有する。
電子部品10は、実装基板6に電気的に接続される。電子部品10は、例えば、パソコン、DVDプレーヤー、デジカメ、TV、携帯電話、カーエレクトロニクスなどの電子機器に搭載される。
積層体1は、積層された複数の絶縁層を含む。絶縁層は、非磁性体11と磁性体12とを含む。非磁性体11は、例えば、樹脂材、ガラス材、ガラスセラミックス等から構成される。磁性体12は、フェライト等の磁性体材料から構成される。好ましくは、絶縁層は、金属磁性粉を含み、これにより、電子部品10の特性(インダクタンス値や直流重畳特性等)を向上させることができる。
積層体1は、略直方体状に形成されている。積層体1の積層方向をZ軸方向と定義し、積層体1の長辺に沿った方向をX軸方向と定義し、積層体1の短辺に沿った方向をY軸方向と定義する。X軸とY軸とZ軸は、互いに直交している。図中上側をZ軸方向の上方向とし、図中下側をZ軸方向の下方向とする。
積層体1の表面は、第1端面111と第2端面112と第1側面115と第2側面116と第3側面117と第4側面118とを有する。第1端面111と第2端面112とは、積層方向(Z軸方向)に互いに反対側に位置する。第1〜第4側面115〜118は、第1端面111と第2端面112との間に、位置する。
第1端面111は、実装基板6に実装される被実装面であり、下側に位置する。第1側面115と第3側面117とは、それぞれ短側面であり、X軸方向に互いに反対側に位置する。第2側面116と第4側面118とは、それぞれ長側面であり、Y軸方向に互いに反対側に位置する。
回路素子2は、コモンドチョークコイルである。回路素子2は、上から下に向かって順に第1〜第4コイル21〜24を含む。第1〜第4コイル21〜24は、それぞれ、非磁性体シート11a上に設けられる。第1〜第4コイル21〜24は、例えば、Ag、Ag−Pd、Cu、Ni等の導電性材料から構成される。第1〜第4コイル21〜24は、例えば、導電性材料を非磁性体シート11a上に印刷し焼き付けて、形成される。
第1〜第4コイル21〜24は、上方からみて、同一方向に螺旋状に巻き回されている。第1コイル21の螺旋状の外周側の一端は、引出電極21aを有し、第1コイル21の螺旋状の中心の他端は、ビアホール導体21bを有する。同様に、第2コイル22は、引出電極22aとビアホール導体22bとを有し、第3コイル23は、引出電極23aとビアホール導体23bとを有し、第4コイル24は、引出電極24aとビアホール導体24bとを有する。
第1コイル21の引出電極21aは、第2側面116の第1側面115側から露出し、第2コイル22の引出電極22aは、第2側面116の第3側面117側から露出し、第3コイル23の引出電極23aは、第4側面118の第1側面115側から露出し、第4コイル24の引出電極24aは、第4側面118の第3側面117側から露出する。
第1コイル21のビアホール導体21bと第3コイル23のビアホール導体23bとは、電気的に接続される。第2コイル22のビアホール導体22bと第4コイル24のビアホール導体24bとは、電気的に接続される。
静電気放電素子(ESD(Electro-Static Discharge)素子)3は、第1〜第5放電電極31〜35を含む。第1〜第5放電電極31〜35は、上下の非磁性体シート11aに挟まれている。第1〜第4放電電極31〜34は、Y軸方向に延在する。第5放電電極35は、X軸方向に延在する。
第1放電電極31の一端部は、第2側面116の第1側面115側から露出し、第1放電電極31の他端部は、非磁性体11のY方向の中央に位置する。第2放電電極32の一端部は、第2側面116の第3側面117側から露出し、第2放電電極32の他端部は、非磁性体11のY方向の中央に位置する。
第3放電電極33の一端部は、第4側面118の第1側面115側から露出し、第3放電電極33の他端部は、非磁性体11のY方向の中央に位置する。第4放電電極34の一端部は、第4側面118の第3側面117側から露出し、第4放電電極34の他端部は、非磁性体11のY方向の中央に位置する。
第5放電電極35の一端部は、第1放電電極31の他端部と第3放電電極33の他端部との間の隙間に、位置する。第5放電電極35の一端部と第1放電電極31の他端部との間には、放電用の隙間が設けられている。第5放電電極35の一端部と第3放電電極33の他端部との間には、放電用の隙間が設けられている。
第5放電電極35の他端部は、第2放電電極32の他端部と第4放電電極34の他端部との間の隙間に、位置する。第5放電電極35の他端部と第2放電電極32の他端部との間には、放電用の隙間が設けられている。第5放電電極35の他端部と第4放電電極34の他端部との間には、放電用の隙間が設けられている。
なお、放電用の隙間には、如何なる部材が存在しないようにしてもよく、または、放電しやすい材料が充填されていてもよい。放電しやすい材料の一例として、コーティング粒子と半導体粒子とを含む。コーティング粒子は、Cu等の金属粒子の表面がアルミナ等の無機材料でコーティングされている粒子である。半導体粒子は、SiC等の半導体材料の粒子である。コーティング粒子と半導体粒子とは、分散して配置されているのが好ましい。コーティング粒子と半導体粒子とを分散することで、ショートの防止や、放電開始電圧等のESD特性の調整が容易となる。
第5放電電極35の一端部は、第1側面115から露出し、第5放電電極35の他端部は、第3側面117から露出する。
静電気放電素子3は、回路素子2よりも、積層体1の第1端面111側(下側)に配置される。回路素子2を覆う回路側の非磁性体11と静電気放電素子3を覆う放電側の非磁性体11とは、上下の磁性体12,12で、挟まれる。回路側の非磁性体11と放電側の非磁性体11との間には、磁性体12が配置される。
第1〜第4回路素子用外部電極41〜44は、例えば、Ag、Ag−Pd、Cu、Ni等の導電性材料から構成される。第1〜第4回路素子用外部電極41〜44は、例えば、導電性材料を積層体1の表面に塗布し焼き付けて、形成される。第1〜第4回路素子用外部電極41〜44は、それぞれ、コ字状に形成される。
第1回路素子用外部電極41は、第2側面116の第1側面115側に設けられる。第1回路素子用外部電極41の一端部は、第2側面116側から折り返されて、第1端面111に設けられる。第1回路素子用外部電極41の他端部は、第2側面116側から折り返されて、第2端面112に設けられる。第1回路素子用外部電極41は、回路素子2の第1コイル21の引出電極21aと、静電気放電素子3の第1放電電極31の一端部とを、電気的に接続する。
第2回路素子用外部電極42は、第2側面116の第3側面117側に設けられる。第2回路素子用外部電極42の形状は、第1回路素子用外部電極41の形状と同じであるので、その説明を省略する。第2回路素子用外部電極42は、回路素子2の第2コイル22の引出電極22aと、静電気放電素子3の第2放電電極32の一端部とを、電気的に接続する。
第3回路素子用外部電極43は、第4側面118の第1側面115側に設けられる。第2回路素子用外部電極43の形状は、第1回路素子用外部電極41の形状と同じであるので、その説明を省略する。第3回路素子用外部電極43は、回路素子2の第3コイル23の引出電極23aと、静電気放電素子3の第3放電電極33の一端部とを、電気的に接続する。
第4回路素子用外部電極44は、第4側面118の第3側面117側に設けられる。第4回路素子用外部電極44の形状は、第1回路素子用外部電極41の形状と同じであるので、その説明を省略する。第4回路素子用外部電極44は、回路素子2の第4コイル24の引出電極24aと、静電気放電素子3の第4放電電極34の一端部とを、電気的に接続する。
第1、第2グランド用外部電極51,52は、例えば、Ag、Ag−Pd、Cu、Ni等の導電性材料から構成される。第1、第2グランド用外部電極51,52は、例えば、導電性材料を積層体1の表面の凹部に塗布し焼き付けて、形成される。第1、第2グランド用外部電極51,52は、それぞれ、L字状に形成される。
第1グランド用外部電極51は、第1端面111から第1側面115に渡って設けられる。第1グランド用外部電極51は、第5放電電極35の一端部と、実装基板6の図示しないグランド用配線とを、電気的に接続する。
第1グランド用外部電極51は、第5放電電極35から下側に延在する。第5放電電極35の下側に位置する非磁性体11および磁性体12は、それぞれ、第1側面115側に、凹部11b,12bを有する。非磁性体11の凹部11bと磁性体12の凹部12bとは、一体に連続している。凹部11b,12bは、第1端面115から切り欠かれると共に第1端面111から第2端面112に向かって延在する。第1グランド用外部電極51は、凹部11b,12bに嵌め込まれている。つまり、第1グランド用外部電極51の一部は、積層体1の第1側面115から露出する。
第2グランド用外部電極52は、第1端面111から第3側面117に渡って設けられる。第2グランド用外部電極52は、第5放電電極35の他端部と、実装基板6の図示しないグランド用配線とを、電気的に接続する。
第2グランド用外部電極52は、第5放電電極35から下側に延在する。第5放電電極35の下側に位置する非磁性体11および磁性体12は、それぞれ、第3側面117側に、凹部11b,12bを有する。凹部11b,12bは、第1端面115から切り欠かれると共に第1端面111から第2端面112に向かって延在する。第2グランド用外部電極52は、凹部11b,12bに嵌め込まれている。つまり、第2グランド用外部電極52の一部は、積層体1の第3側面117から露出する。
図4は、電子部品10の回路図である。図4に示すように、第1回路素子用外部電極41と第3回路素子用外部電極43との間には、第1コイル21と第3コイル23からなる第1コイル群L1が接続されている。第1コイル群L1および第1回路素子用外部電極41の間と第1グランド用外部電極51との間には、第1放電電極31および第5放電電極35からなる第1放電群E1が接続されている。第1コイル群L1および第3回路素子用外部電極43の間と第1グランド用外部電極51との間には、第3放電電極33および第5放電電極35からなる第3放電群E3が接続されている。
第2回路素子用外部電極42と第4回路素子用外部電極44との間には、第2コイル22と第4コイル24からなる第2コイル群L2が接続されている。第2コイル群L2および第2回路素子用外部電極42の間と第2グランド用外部電極52との間には、第2放電電極32および第5放電電極35からなる第2放電群E2が接続されている。第2コイル群L2および第4回路素子用外部電極44の間と第2グランド用外部電極52との間には、第4放電電極34および第5放電電極35からなる第4放電群E4が接続されている。
図5は、電子部品10の簡略構成図である。図5に示すように、第1グランド用外部電極51の回路素子2側の端部の第1端面111からの高さH1は、回路素子2の第1グランド用外部電極51側の端部の第1端面111からの高さH2よりも、低い。具体的に述べると、第1グランド用外部電極51の上端面における第1端面111からの高さH1は、回路素子2の第4コイル24の下端面における第1端面111からの高さH2よりも、低い。なお、第2グランド用外部電極52の上端面は、第1グランド用外部電極51の上端面と同じ高さにある。
次に、電子部品10の製造方法について説明する。
図3に示すように、第1〜第4コイル21〜24の材料を、それぞれ異なる非磁性体シート11aに、例えば印刷等により塗布する。また、第1〜第5放電電極31〜35の材料を、別の非磁性体シート11aに、例えば印刷等により塗布する。
そして、第1〜第4コイル21〜24の材料が塗布された非磁性体シート11aと、第1〜第5放電電極31〜35の材料が塗布された非磁性体シート11aと、複数の磁性体12とを、積層し熱圧着して、回路素子2および静電気放電素子3を積層体1内に設ける。
その後、第1〜第4回路素子用外部電極41〜44の材料を、積層体1の表面に、例えば印刷等により塗布し、第1、第2グランド用外部電極51,52の材料を、積層体1の表面に、例えば印刷等により塗布し、これらの材料を焼き付けて、積層体1の表面に第1〜第4回路素子用外部電極41〜44および第1、第2グランド用外部電極51,52を形成する。このようにして、電子部品10を製造する。
前記電子部品10によれば、静電気放電素子3は、回路素子2よりも、積層体1の第1端面111側に配置され、グランド用外部電極51,52の回路素子2側の端部の第1端面111からの高さH1は、回路素子2のグランド用外部電極51,52側の端部の第1端面111からの高さH2よりも、低い。これにより、グランド用外部電極51,52は、積層方向(Z方向)に直交する平面(XY平面)において、回路素子2の少なくとも一部に重ならず、グランド用外部電極51,52は、積層方向(Z方向)において、回路素子2から離隔している。したがって、積層体1の第1端面111を実装基板6に実装して電子部品10を使用したとき、グランド用外部電極51,52と回路素子2との間に発生する浮遊容量が低減し、電気的特性(高周波特性)が向上する。なお、積層体1の第2端面112を実装基板6に実装して、電子部品10を使用することもできる。
これに対して、グランド用外部電極51,52の第1端面111からの高さH1が、回路素子2の第1端面111からの高さH2と同じであるか、または、高いと、グランド用外部電極51,52と回路素子2との間に発生する浮遊容量が増大し、電気的特性が劣化する。
また、積層体1の第1端面111は、実装基板6に実装される被実装面である。したがって、静電気放電素子3が、回路素子2よりも、被実装面側に配置されるので、実装基板6へ静電気を放電しやすくなる。また、静電気放電素子3が、回路素子2よりも、被実装面側に配置されるので、電子部品10の重心が、被実装面側に近くなって、電子部品10を実装基板6に実装したときの電子部品10の姿勢が安定する。したがって、電子部品10の横転を防止できる。
また、グランド用外部電極51,52は、積層体1の第1端面111から側面115,117に渡って、設けられている。したがって、グランド用外部電極51,52を、半田を介して、実装基板6に実装する場合、半田は、グランド用外部電極51,52における積層体1の側面115,117に設けられる部分にも接続され、電子部品10と実装基板6との接続の信頼性が増大する。
また、グランド用外部電極51,52は、積層体1の側面115,117の凹部11b,12bに嵌め込まれている。したがって、電子部品10の積層体1の側面方向の厚みが、一定に設定されているとき、グランド用外部電極51,52の積層体1の側面115,117から露出する部分の厚みを小さくできるため、積層体1の側面方向の厚みを大きくできる。このように、積層体1の側面方向の厚みを大きくすることで、回路素子2を大きく設計することができ、回路素子2としての電気的特性(例えばインダクタンス値など)を向上させることができる。
(第2の実施形態)
図6は、本発明の第2実施形態の電子部品を示す簡略構成図である。第2実施形態は、前記第1実施形態とは、静電気放電素子と回路素子との間の距離、および、静電気放電素子と積層体の第1端面との間の距離が相違する。この相違する構成のみを以下に説明する。なお、第2実施形態において、第1実施形態と同一の符号は、第1実施形態と同じ構成であるため、その説明を省略する。
図6に示すように、静電気放電素子3と回路素子2との間の距離L1は、50μm以上である。具体的に述べると、静電気放電素子3の回路素子2側の端部(第5放電電極35の上端面)と、回路素子2の静電気放電素子3側の端部(第4コイル24の下端面)との間の距離L1は、50μm以上である。
したがって、静電気放電素子3と回路素子2との間の距離L1は、50μm以上であるので、静電気放電素子3が回路素子2から離隔して、静電気放電素子3と回路素子2との間の絶縁層(磁性体12)は、厚くなる。これにより、コモンモードインピーダンスが高くなり、ノイズ除去効果が向上する。
図7Aは、距離L1とコモンインピーダンスとの関係を示す。横軸に距離L1[μm]を示し、縦軸に100MHzでのコモンインピーダンス[%]を示す。図7Aに示すように、距離L1が50μm以上であると、コモンモードインピーダンスが高くなっている。これに対して、距離L1が、50μmよりも小さくなると、コモンモードインピーダンスが低くなる。
図6に示すように、静電気放電素子3と積層体1の第1端面111との間の距離L2は、50μm以上である。具体的に述べると、静電気放電素子3の第1端面111側の端部(第5放電電極35の下端面)と第1端面111との間の距離L2は、50μm以上である。
ここで、静電気放電素子3により静電気の放電を行うために、静電気放電素子3を構成する第1〜第5放電電極31〜35間に空隙を設ける必要がある。静電気放電素子3と第1端面111との間の距離L2は、50μm以上であるので、この放電電極31〜35間の空隙を、積層体1の第1端面111から離隔することができる。したがって、積層体1の第1端面111を実装基板6に実装する時に、電子部品10に衝撃等が発生しても、電子部品10にワレ、カケ、クラックが発生することを防止できる。
図7Bは、距離L2と電子部品10の強度との関係を示す。横軸に距離L2[μm]を示し、縦軸に電子部品10の強度[%]を示す。図7Bに示すように、距離L2が50μm以上であると、電子部品10の強度が大きくなっている。これに対して、距離L2が、50μmよりも小さくなると、電子部品10の強度が小さくなる。
(第3の実施形態)
図8は、本発明の第3実施形態の電子部品を示す簡略構成図である。第3実施形態は、前記第1実施形態とは、グランド用外部電極の形状が相違する。この相違する構成のみを以下に説明する。なお、第3実施形態において、第1実施形態と同一の符号は、第1実施形態と同じ構成であるため、その説明を省略する。
図8に示すように、第3実施形態の電子部品10Bでは、積層体1Bの側面115,117には、第1端面111から切り欠かれると共に第1端面111から第2端面112に向かって延在する凹部121b,122bを有する。第1グランド用外部電極51Bは、積層体1Bの凹部121bに嵌め込まれている。第2グランド用外部電極52Bは、積層体1Bの凹部122bに嵌め込まれている。
第1グランド用外部電極51Bにおける積層体1Bの凹部121bの内面に接触する接触部分51bの形状は、第1端面111から第2端面112に向かって延在する階段状である。積層体1Bの凹部121bの内面における第1グランド用外部電極51Bに接触する接触部分1bの形状は、第1端面111から第2端面112に向かって延在する階段状である。第1グランド用外部電極51Bの接触部分51bと積層体1B内面の接触部分1bとは、互いに、係合する。
同様に、第2グランド用外部電極52Bの積層体1Bの凹部122bの内面に接触する接触部分52bの形状は、階段状である。積層体1Bの凹部122bの内面の第2グランド用外部電極52Bに接触する接触部分2bの形状は、階段状である。第2グランド用外部電極52Bの接触部分52bと積層体1B内面の接触部分2bとは、互いに、係合する。
したがって、第1、第2グランド用外部電極51B,52Bの階段状の接触部分51b,52bと積層体1B内面の階段状の接触部分1b,2bとは、互いに、係合するので、第1、第2グランド用外部電極51B,52Bは、積層体1B内面から外れにくくなる。
次に、第1、第2グランド用外部電極51B,52Bの製造方法について説明する。
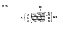
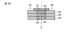
図9Aに示すように、磁性体シート12aを用意し、図9Bに示すように、レーザ等の工法により、磁性体シート12aに孔12cを設ける。このとき、孔12cの内面は、テーパ状に形成される。図9Cに示すように、孔12c内に、Ag等の導電性材料50を充填印刷する。
その後、図9Dに示すように、導電性材料50が印刷された磁性体シート12aを複数積層し、最上部の磁性体シート12aの上面に、導電性材料50を印刷する。このとき、複数の磁性体シート12aの孔12cの中心は、一致する。これにより、複数の磁性体シート12aの導電性材料50は、積層されて、接続される。
その後、磁性体シート12aの孔12cの中心Cでカットして2つの部材B1,B2に分割して、図9Eに示すように、一方の部材B1を選択する。図9Fに示すように、一方の部材B1を反転して、磁性体12に埋め込まれた第2グランド用外部電極52Bを製造する。このとき、磁性体シート12aに孔12cの内面は、テーパ状に形成されているため、第2グランド用外部電極52Bの接触部分52bの形状は、階段状となり、積層体1Bの凹部122bの内面の接触部分2bの形状は、階段状となる。なお、他方の部材B2も一方の部材B1と同様に製造する。また、第1グランド用外部電極51Bも第2グランド用外部電極52Bと同様に製造する。
(第4の実施形態)
図10は、本発明の第4実施形態の電子部品を示す簡略構成図である。第4実施形態は、前記第1実施形態とは、グランド用外部電極の形状が相違する。この相違する構成のみを以下に説明する。なお、第4実施形態において、第1実施形態と同一の符号は、第1実施形態と同じ構成であるため、その説明を省略する。
図10に示すように、第4実施形態の電子部品10Cでは、積層体1Cの第1端面111には、第1端面111に開口を有すると共に第1端面111から第2端面112に向かって延在する孔部131c,132cを有する。第1グランド用外部電極51Cは、積層体1Cの孔部131cに嵌め込まれている。第2グランド用外部電極52Cは、積層体1Cの孔部132cに嵌め込まれている。つまり、第1、第2グランド用外部電極51C,52Cは、積層体1Cの側面115,117から露出しない。
したがって、電子部品10の積層体1Cの側面方向の厚みが、一定に設定されているとき、第1、第2グランド用外部電極51C,52Cの積層体1Cの側面115,117から露出する部分の厚みをなくすことができるため、積層体1Cの側面方向の厚みを大きくできる。このように、積層体1Cの側面方向の厚みを大きくすることで、回路素子2を大きく設計することができ、回路素子2としての電気的特性を向上させることができる。また、第1、第2グランド用外部電極51C,52Cは、積層体1C内に覆われているので、他の電子部品や装置等との接触による第1、第2グランド用外部電極51C,52Cの損傷を防止できる。
第1グランド用外部電極51Cにおける積層体1Cの孔部131cの内面に接触する接触部分51cの形状は、第1端面111から第2端面112に向かって延在する階段状である。積層体1Cの孔部131cの内面における第1グランド用外部電極51Cに接触する接触部分1cの形状は、第1端面111から第2端面112に向かって延在する階段状である。第1グランド用外部電極51Cの接触部分51cと積層体1C内面の接触部分1cとは、互いに、係合する。
同様に、第2グランド用外部電極52Cの積層体1Cの孔部132cの内面に接触する接触部分52cの形状は、階段状である。積層体1Cの孔部132cの内面の第2グランド用外部電極52Cに接触する接触部分2cの形状は、階段状である。第2グランド用外部電極52Cの接触部分52cと積層体1C内面の接触部分2cとは、互いに、係合する。
したがって、第1、第2グランド用外部電極51C,52Cの階段状の接触部分51c,52cと積層体1C内面の階段状の接触部分1c,2cとは、互いに、係合するので、第1、第2グランド用外部電極51C,52Cは、積層体1C内面から外れにくくなる。
次に、第1、第2グランド用外部電極51C,52Cの製造方法について説明する。
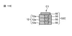
図11Aに示すように、磁性体シート12aを用意し、図11Bに示すように、レーザ等の工法により、磁性体シート12aに隣り合う2つの孔12cを設ける。このとき、孔12cの内面は、テーパ状に形成される。図11Cに示すように、孔12c内に、Ag等の導電性材料50を充填印刷する。
その後、図11Dに示すように、導電性材料50が印刷された磁性体シート12aを複数積層し、最上部の磁性体シート12aの上面に、導電性材料50を印刷する。このとき、複数の磁性体シート12aの孔12cの中心は、一致する。これにより、複数の磁性体シート12aの導電性材料50は、積層されて、接続される。
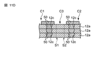
その後、隣り合う2つの孔12cの間に位置する2箇所の切断部S1,S2でカットして3つの部材C1,C2,C3に分割する。第1部材C1と第2部材C2とは、それぞれ、導電性材料50を含む部材である。第3部材C3は、第1部材C1と第2部材C2との間に位置し、導電性材料50を含まないカット代となる。
その後、図11Eに示すように、第1部材C1を選択する。図11Fに示すように、第1部材C1を反転して、磁性体12に埋め込まれた第2グランド用外部電極52Cを製造する。このとき、磁性体シート12aに孔12cの内面は、テーパ状に形成されているため、第2グランド用外部電極52Cの接触部分52cの形状は、階段状となり、積層体1Cの孔部132cの内面の接触部分2cの形状は、階段状となる。なお、第2部材C2も第1部材C1と同様に製造する。また、第1グランド用外部電極51Cも第2グランド用外部電極52Cと同様に製造する。
なお、本発明は上述の実施形態に限定されず、本発明の要旨を逸脱しない範囲で設計変更可能である。例えば、前記第1から前記第4実施形態のそれぞれの特徴点を様々に組み合わせてもよい。
前記実施形態では、回路素子としては、4つのコイルを用いたが、2つのコイルを用いてもよい。前記実施形態では、回路素子としては、コモンドチョークコイルとしたが、他のコイルとしてもよい。
前記実施形態では、静電気放電素子と回路素子との間の距離が50μm以上であるか、または、静電気放電素子と積層体の第1端面との間の距離が50μm以上であるか、何れか一方であってもよい。
前記実施形態では、静電気放電素子を回路素子よりも実装基板側に配置したが、電子部品を上下反転させ、回路素子を静電気放電素子よりも実装基板側に配置するようにしてもよい。このとき、静電気放電素子は使用されない。
1,1B,1C 積層体
1b,1c,2b,2c 接触部分
2 回路素子
3 静電気放電素子
6 実装基板
10,10A,10B,10C 電子部品
11 非磁性体(絶縁層)
12 磁性体(絶縁層)
111 第1端面
112 第2端面
115〜118 第1〜第4側面
21〜24 第1〜第4コイル
31〜35 第1〜第5放電電極
41〜44 第1〜第4回路素子用外部電極
51,51B,51C 第1グランド用外部電極
52,52B,52C 第2グランド用外部電極
51b,51c,52b,52c 接触部分
11b,12b,121b,122b 凹部
131c,132c 孔部
H1 グランド用外部電極の積層体の第1端面からの高さ
H2 回路素子の積層体の第1端面からの高さ
L1 静電気放電素子と回路素子との間の距離
L2 静電気放電素子と積層体の第1端面との間の距離

Claims (11)

  1. 積層された複数の絶縁層を含む積層体と、
    前記積層体内に設けられている回路素子と、
    前記積層体内に設けられている静電気放電素子と、
    前記静電気放電素子と前記回路素子とを電気的に接続する回路素子用外部電極と、
    前記静電気放電素子に接続され、前記静電気放電素子をグランドに電気的に接続するためのグランド用外部電極と
    を備え、
    前記積層体は、前記絶縁層の積層方向に位置すると共に互いに反対側に位置する第1端面と第2端面とを有し、
    前記静電気放電素子は、前記回路素子よりも、前記積層体の前記第1端面側に配置され、
    前記回路素子用外部電極は、前記積層体の前記第1端面と前記第2端面との間の側面と、前記側面から折り返されて前記第1端面と、前記側面から折り返されて前記第2端面とに設けられ、
    前記グランド用外部電極は、前記積層体の前記第1端面から、前記積層体の前記第1端面と前記第2端面との間の側面に渡って、設けられ、
    前記グランド用外部電極の前記回路素子側の端部の前記第1端面からの高さは、前記回路素子の前記グランド用外部電極側の端部の前記第1端面からの高さよりも、低いことを特徴とする電子部品。
  2. 請求項1に記載の電子部品において、
    前記絶縁層は、非磁性体と磁性体とを含み、前記回路素子と前記静電気放電素子は、それぞれ、前記非磁性体に覆われ、前記回路素子を覆う前記非磁性体と前記静電気放電素子を覆う前記非磁性体との間には、前記磁性体が配置されることを特徴とする電子部品。
  3. 請求項1または2に記載の電子部品において、
    前記積層体の前記第1端面は、実装基板に実装される被実装面であることを特徴とする電子部品。
  4. 請求項3に記載の電子部品において、
    前記積層体の前記側面には、前記第1端面から切り欠かれると共に前記第1端面から前記第2端面に向かって延在する凹部を有し、
    前記グランド用外部電極は、前記積層体の前記凹部に嵌め込まれていることを特徴とする電子部品。
  5. 請求項4に記載の電子部品において、
    前記グランド用外部電極における前記積層体の前記凹部の内面に接触する接触部分の形状は、前記第1端面から前記第2端面に向かって延在する階段状であり、
    前記積層体の前記凹部の内面における前記グランド用外部電極に接触する接触部分の形状は、前記第1端面から前記第2端面に向かって延在する階段状であり、
    前記グランド用外部電極の前記接触部分と前記積層体の前記接触部分とは、互いに、係合することを特徴とする電子部品。
  6. 請求項1または2に記載の電子部品において、
    前記積層体の前記第1端面には、前記第1端面に開口を有すると共に前記第1端面から前記第2端面に向かって延在する孔部を有し、
    前記グランド用外部電極は、前記積層体の前記孔部に嵌め込まれていることを特徴とする電子部品。
  7. 請求項6に記載の電子部品において、
    前記グランド用外部電極における前記積層体の前記孔部の内面に接触する接触部分の形状は、前記第1端面から前記第2端面に向かって延在する階段状であり、
    前記積層体の前記孔部の内面における前記グランド用外部電極に接触する接触部分の形状は、前記第1端面から前記第2端面に向かって延在する階段状であり、
    前記グランド用外部電極の前記接触部分と前記積層体の前記接触部分とは、互いに、係合することを特徴とする電子部品。
  8. 請求項1から7の何れか一つに記載の電子部品において、
    前記静電気放電素子と前記回路素子との間の距離は、50μm以上であることを特徴とする電子部品。
  9. 請求項1から8の何れか一つに記載の電子部品において、
    前記静電気放電素子と前記積層体の前記第1端面との間の距離は、50μm以上であることを特徴とする電子部品。
  10. 請求項1から9の何れか一つに記載の電子部品において、
    前記絶縁層は、金属磁性粉を含むことを特徴とする電子部品。
  11. 請求項1から10の何れか一つに記載の電子部品において、
    前記静電気放電素子と前記回路素子との間の距離は、50μm以上で120μm以下であることを特徴とする電子部品。
JP2014205136A 2014-10-03 2014-10-03 電子部品 Active JP6252425B2 (ja)

Priority Applications (4)

Application Number Priority Date Filing Date Title
JP2014205136A JP6252425B2 (ja) 2014-10-03 2014-10-03 電子部品
KR1020150132535A KR101667888B1 (ko) 2014-10-03 2015-09-18 전자 부품
CN201510633047.6A CN105489341A (zh) 2014-10-03 2015-09-29 电子部件
US14/872,823 US20160099102A1 (en) 2014-10-03 2015-10-01 Electronic component

Applications Claiming Priority (1)

Application Number Priority Date Filing Date Title
JP2014205136A JP6252425B2 (ja) 2014-10-03 2014-10-03 電子部品

Publications (2)

Publication Number Publication Date
JP2016076556A JP2016076556A (ja) 2016-05-12
JP6252425B2 true JP6252425B2 (ja) 2017-12-27

Family

ID=55633270

Family Applications (1)

Application Number Title Priority Date Filing Date
JP2014205136A Active JP6252425B2 (ja) 2014-10-03 2014-10-03 電子部品

Country Status (4)

Country Link
US (1) US20160099102A1 (ja)
JP (1) JP6252425B2 (ja)
KR (1) KR101667888B1 (ja)
CN (1) CN105489341A (ja)

Families Citing this family (13)

* Cited by examiner, † Cited by third party
Publication number Priority date Publication date Assignee Title
KR101630083B1 (ko) * 2014-12-03 2016-06-13 삼성전기주식회사 코일 부품
KR20170109782A (ko) * 2016-03-22 2017-10-10 삼성전기주식회사 복합 전자 부품
US10529661B2 (en) * 2016-05-05 2020-01-07 Cyntec Co., Ltd Multilayer inductor and the fabrication method thereof
JP6696483B2 (ja) * 2017-07-10 2020-05-20 株式会社村田製作所 コイル部品
US11424070B2 (en) * 2018-06-19 2022-08-23 Tdk Corporation Coil component
JP6981389B2 (ja) 2018-10-05 2021-12-15 株式会社村田製作所 Dc−dcコンバータ用積層型コイルアレイおよびdc−dcコンバータ
JP2020061410A (ja) * 2018-10-05 2020-04-16 株式会社村田製作所 積層型電子部品
JP6977694B2 (ja) * 2018-10-05 2021-12-08 株式会社村田製作所 積層型コイルアレイ
JP6919641B2 (ja) 2018-10-05 2021-08-18 株式会社村田製作所 積層型電子部品
KR102662845B1 (ko) * 2018-11-22 2024-05-03 삼성전기주식회사 인덕터
CN216435575U (zh) * 2019-12-25 2022-05-03 株式会社村田制作所 多端子片式电感器
JP7590904B2 (ja) * 2021-03-31 2024-11-27 Tdk株式会社 積層電子部品
JP2023034657A (ja) * 2021-08-31 2023-03-13 Tdk株式会社 電子部品

Family Cites Families (26)

* Cited by examiner, † Cited by third party
Publication number Priority date Publication date Assignee Title
US5610565A (en) * 1994-02-02 1997-03-11 Murata Manufacturing Co., Ltd. Composite LC device with a ground electrode not formed on the inductor parts
JP2002270429A (ja) * 2001-03-14 2002-09-20 Matsushita Electric Ind Co Ltd インダクタ部品
EP1367611A4 (en) * 2001-03-08 2010-01-13 Panasonic Corp INDUCTIVE COMPONENT AND METHOD FOR THE PRODUCTION THEREOF
US7260890B2 (en) * 2002-06-26 2007-08-28 Georgia Tech Research Corporation Methods for fabricating three-dimensional all organic interconnect structures
JP3900104B2 (ja) * 2003-04-10 2007-04-04 松下電器産業株式会社 静電気対策部品
KR100668977B1 (ko) * 2005-06-27 2007-01-16 삼성전자주식회사 써지전압 보호용 소자
CN101258565B (zh) * 2005-09-07 2011-07-27 松下电器产业株式会社 复合电子元件
JP4725343B2 (ja) 2006-02-07 2011-07-13 パナソニック株式会社 複合電子部品およびその製造方法
US8493704B2 (en) * 2007-04-11 2013-07-23 Innochips Technology Co., Ltd. Circuit protection device and method of manufacturing the same
KR100845948B1 (ko) * 2007-04-11 2008-07-11 주식회사 이노칩테크놀로지 회로 보호 소자 및 그 제조 방법
JP2010028695A (ja) 2008-07-24 2010-02-04 Murata Mfg Co Ltd ノイズフィルタ部品及びコイル部品
US8422190B2 (en) * 2008-09-30 2013-04-16 Tdk Corporation Composite electronic device, manufacturing method thereof, and connection structure of composite electronic device
JP2011071457A (ja) * 2008-12-22 2011-04-07 Tdk Corp 電子部品及び電子部品の製造方法
JP4749482B2 (ja) * 2009-07-08 2011-08-17 Tdk株式会社 複合電子部品
JP5206775B2 (ja) * 2010-11-26 2013-06-12 Tdk株式会社 電子部品
JP5459291B2 (ja) * 2011-10-28 2014-04-02 Tdk株式会社 複合電子部品
JP6007399B2 (ja) * 2012-02-15 2016-10-12 パナソニックIpマネジメント株式会社 コモンモードノイズフィルタ
CN104170034B (zh) 2012-03-16 2016-11-02 株式会社村田制作所 共模扼流圈
WO2014061670A1 (ja) * 2012-10-19 2014-04-24 株式会社村田製作所 積層コイル部品とその製造方法
KR101719841B1 (ko) * 2012-12-10 2017-03-24 삼성전기주식회사 공통모드필터
KR101445741B1 (ko) 2013-05-24 2014-10-07 주식회사 이노칩테크놀로지 회로 보호 소자
US9293913B2 (en) * 2013-08-01 2016-03-22 Tdk Corporation ESD protection component and method for manufacturing ESD protection component
KR102004770B1 (ko) * 2013-10-31 2019-07-29 삼성전기주식회사 복합 전자부품 및 그 실장 기판
KR20150055444A (ko) * 2013-11-13 2015-05-21 삼성전기주식회사 공통 모드 필터
KR20150090445A (ko) * 2014-01-29 2015-08-06 주식회사 이노칩테크놀로지 적층칩 소자
KR101554333B1 (ko) * 2014-03-28 2015-09-21 주식회사 이노칩테크놀로지 회로 보호 소자

Also Published As

Publication number Publication date
US20160099102A1 (en) 2016-04-07
CN105489341A (zh) 2016-04-13
KR101667888B1 (ko) 2016-10-19
JP2016076556A (ja) 2016-05-12
KR20160040423A (ko) 2016-04-14

Similar Documents

Publication Publication Date Title
JP6252425B2 (ja) 電子部品
JP6332200B2 (ja) 電子部品
CN106877835B (zh) 电子部件
CN108109807B (zh) 电子部件
KR102003604B1 (ko) 코일 부품
US8810351B2 (en) Chip-type coil component
JP2012235080A5 (ja)
US8526162B2 (en) Feedthrough multilayer capacitor
US20130020905A1 (en) Multilayer ceramic electronic component
KR20150089279A (ko) 칩형 코일 부품
US8395881B2 (en) Multilayer feedthrough capacitor and mounted structure of multilayer feedthrough capacitor
JP6673298B2 (ja) コイル部品
CN101533713B (zh) 贯通电容器以及贯通电容器的安装构造体
KR20150089211A (ko) 칩형 코일 부품
US20230230742A1 (en) Multilayer coil component
JP2019054018A (ja) コイル部品
JP2009170737A (ja) 電子部品
WO2012153655A1 (ja) Esd保護デバイス
JP5929524B2 (ja) 積層コンデンサ
JP2024037382A (ja) 積層コイル部品
CN110176343A (zh) 线圈电子组件
KR20150060522A (ko) 공통모드필터 및 공통모드필터가 구비된 전자장치

Legal Events

Date Code Title Description
RD04 Notification of resignation of power of attorney

Free format text: JAPANESE INTERMEDIATE CODE: A7424

Effective date: 20160215

A621 Written request for application examination

Free format text: JAPANESE INTERMEDIATE CODE: A621

Effective date: 20160404

A977 Report on retrieval

Free format text: JAPANESE INTERMEDIATE CODE: A971007

Effective date: 20170215

A131 Notification of reasons for refusal

Free format text: JAPANESE INTERMEDIATE CODE: A131

Effective date: 20170228

A521 Request for written amendment filed

Free format text: JAPANESE INTERMEDIATE CODE: A523

Effective date: 20170425

TRDD Decision of grant or rejection written
A01 Written decision to grant a patent or to grant a registration (utility model)

Free format text: JAPANESE INTERMEDIATE CODE: A01

Effective date: 20171031

A61 First payment of annual fees (during grant procedure)

Free format text: JAPANESE INTERMEDIATE CODE: A61

Effective date: 20171113

R150 Certificate of patent or registration of utility model

Ref document number: 6252425

Country of ref document: JP

Free format text: JAPANESE INTERMEDIATE CODE: R150