JP6187424B2 - 無菌袋詰め方法及び装置 - Google Patents
無菌袋詰め方法及び装置 Download PDFInfo
- Publication number
- JP6187424B2 JP6187424B2 JP2014194744A JP2014194744A JP6187424B2 JP 6187424 B2 JP6187424 B2 JP 6187424B2 JP 2014194744 A JP2014194744 A JP 2014194744A JP 2014194744 A JP2014194744 A JP 2014194744A JP 6187424 B2 JP6187424 B2 JP 6187424B2
- Authority
- JP
- Japan
- Prior art keywords
- bag
- spout member
- aseptic
- cassette rack
- chamber
- Prior art date
- Legal status (The legal status is an assumption and is not a legal conclusion. Google has not performed a legal analysis and makes no representation as to the accuracy of the status listed.)
- Expired - Fee Related
Links
Images
Landscapes
- Closing Of Containers (AREA)
- Bag Frames (AREA)
- Apparatus For Disinfection Or Sterilisation (AREA)
Description
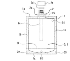
図1(A)に示すように、未封状態の袋1が用意される。この袋1は前後二枚のシート3,3が重ね合わせられ、それらの上辺と左右辺の三辺が上横ヒートシール部1a、左縦ヒートシール部1b及び右縦ヒートシール部1cによって閉じられることによって形成される。下辺は、後に飲料等の内容物を袋1内に充填する際の充填口とするために未シール部1eとされる。この未シール部1eは左右辺のいずれかに設定し、下辺を下横ヒートシール部1dによって閉じておくことも可能である。この未シール部1eは、内容物が袋1内に充填された後、図1(B)に示すように、下横ヒートシール部1dによって密封される。
る。
ベア16の上から、殺菌チャンバー7内へと送られる。そこで、殺菌チャンバー7の無菌包装チャンバー側シャッター7bが閉じられ、反対側のシャッター7aが開けられ、そこから空のカセットラック6が殺菌チャンバー7外へと搬出される。
この実施の形態2では、図8(A)に示す注出口部材2が易開封シート2d及びキャップ2eで閉じられる前の袋1が使用される。
る。
この実施の形態3では、図11に示すように、実施の形態1の場合と同様に未封状態の袋1が使用される。
この実施の形態4では、図12に示すように、実施の形態3の場合と異なり、注出口部材2が易開封シート2d及びキャップ2eで閉じられる前の袋1が使用される。また、この袋1の下辺は下横ヒートシール部1dにより閉じられている。
この実施の形態5では、図13に示すように、実施の形態3の場合と同様に未封状態の袋1が使用される。
この実施の形態6では、図14に示すように、図8(A)に示した実施の形態2の場合と異なり、袋1の下辺に図13に示した実施の形態5におけると同様な底折込シート29が介装された袋1が使用される。
(1)指標菌: B.subtilisATCC9372
(2)菌数: 2.5×105個/spot
(3)BI(バイオインジケータ)の貼り付け箇所:図1(A)、図8(A)、図11〜図14に示すように、いずれも過酸化水素のガスが接触し難い個所である。
[注出口部材]:2P型注出口部材(例えば、図1(A)参照)の場合は内側の側面と支持用フランジの裏面に各々貼着した。1P型注出口部材(図示せず)の場合は内側の最奥部と支持用フランジの裏面に各々貼着した。
[平袋]:図1(A)に示すように注出口部材が袋の中心線上に設けられ、底から内容物が充填される袋である場合は、袋の内側の右縦ヒートシール部の上方と中位部に各々貼着した。図8(A)に示すように注出口部材から内容物が充填される袋である場合は、袋の内側の右縦ヒートシール部の上方と底に各々貼着した。図11に示すように注出口部材が斜めに取り付けられ、底から内容物が充填される袋である場合は、袋の内側の右縦ヒートシール部の上方と、上辺ヒートシール部の注出口部材の位置する側と反対側の端に各々貼着した。図12に示すように注出口部材が斜めに取り付けられ、注出口部材から内容物が充填される袋である場合は、袋内であるの右縦ヒートシール部の上方と、下辺ヒートシール部の注出口部材の位置する側と反対側の端とに各々貼着した。
[自立性袋]:図13に示すように注出口部材が斜めに取り付けられ、上辺から内容物が充填される袋である場合は、袋内である右縦ヒートシール部の上方と、底ヒートシール部の中央と、袋外である底折込シート谷折部とに各々貼着した。
また、図14に示すように注出口部材から内容物が充填される袋である場合は、袋内である右縦ヒートシール部の上方と、底ヒートシール部の中央と、袋外である底折込シートの谷折部とに各々貼着した。
実施例1〜40の各種袋について標準的な過酸化水素ガス滅菌装置により殺菌処理し、続いて無菌袋詰め装置の無菌包装チャンバーを通過させた後、BIをSCDブイヨン培地に回収し、37℃×7日間の培養後、菌発生の有無を確認した。この結果を表2に示す。
1e…未シール部
2…注出口部材
2a…突出部
6…カセットラック
7…殺菌チャンバー
8…無菌包装チャンバー
Claims (8)
- 注出口部材のフランジの下面に過酸化水素のガスを通過可能な孔が形成された起立板の先端に有する突起を接触させて前記フランジの一部を支持しつつ、前記注出口部材が取り付けられた未封状態の多数の袋を相互に分離した状態でカセットラックに装填し、カセットラックを殺菌チャンバー内に入れて殺菌チャンバー内を真空化し、真空化した殺菌チャンバー内に過酸化水素のガスを導入して袋の内外面をカセットラックとともに殺菌処理し、カセットラックを殺菌チャンバー内から無菌包装チャンバー内へと移送し、カセットラックから袋を取り出して無菌包装チャンバー内で搬送しつつ袋内に内容物を充填した後、袋を密封することを特徴とする無菌袋詰め方法。
- 請求項1に記載の無菌袋詰め方法において、あらかじめ袋の内面に凹凸を形成しておくことを特徴とする無菌袋詰め方法。
- 請求項1又は請求項2に記載の無菌袋詰め方法において、注出口部材に袋内の奥へと突出する突出部を設けておくことを特徴とする無菌袋詰め方法。
- 請求項1乃至請求項3のいずれかに記載の無菌袋詰め方法において、注出口部材から袋内に内容物を充填した後、注出口部材を密封することを特徴とする無菌袋詰め方法。
- 請求項1乃至請求項3のいずれかに記載の無菌袋詰め方法において、注出口部材はあらかじめ封止しておき、袋の未シール部から袋内に内容物を充填した後、未シール部を密封することを特徴とする無菌袋詰め方法。
- 注出口部材のフランジの下面に過酸化水素のガスを通過可能な孔が形成された起立板の先端に有する突起を接触させて前記フランジの一部を支持しつつ、前記注出口部材が取り付けられた未封状態の多数の袋が相互に分離した状態で装填されるカセットラックと、カセットラックを収容して過酸化水素のガスにより袋の内外面をカセットラックごと殺菌処理する殺菌チャンバーと、殺菌チャンバーからカセットラックが導入される無菌包装チャンバーと、袋を一枚ずつカセットラックから取り出して無菌包装チャンバー内で搬送する搬送手段と、搬送中の袋に内容物を充填する充填手段と、内容物が充填された搬送中の袋を密封する密封手段とを具備することを特徴とする無菌袋詰め装置。
- 請求項6に記載の無菌袋詰め装置において、充填手段は、注出口部材から袋内に内容物を充填可能であり、密封手段は、注出口部材をシール可能であるか又はキャッピング可能であることを特徴とする無菌袋詰め装置。
- 請求項6に記載の無菌袋詰め装置において、充填手段は、袋の未シール部を拡開したうえで未シール部から袋内に内容物を充填可能であり、密封手段は、未シール部をシール可能であることを特徴とする無菌袋詰め装置。
Priority Applications (1)
| Application Number | Priority Date | Filing Date | Title |
|---|---|---|---|
| JP2014194744A JP6187424B2 (ja) | 2014-09-25 | 2014-09-25 | 無菌袋詰め方法及び装置 |
Applications Claiming Priority (1)
| Application Number | Priority Date | Filing Date | Title |
|---|---|---|---|
| JP2014194744A JP6187424B2 (ja) | 2014-09-25 | 2014-09-25 | 無菌袋詰め方法及び装置 |
Publications (2)
| Publication Number | Publication Date |
|---|---|
| JP2016064854A JP2016064854A (ja) | 2016-04-28 |
| JP6187424B2 true JP6187424B2 (ja) | 2017-08-30 |
Family
ID=55804958
Family Applications (1)
| Application Number | Title | Priority Date | Filing Date |
|---|---|---|---|
| JP2014194744A Expired - Fee Related JP6187424B2 (ja) | 2014-09-25 | 2014-09-25 | 無菌袋詰め方法及び装置 |
Country Status (1)
| Country | Link |
|---|---|
| JP (1) | JP6187424B2 (ja) |
Family Cites Families (7)
| Publication number | Priority date | Publication date | Assignee | Title |
|---|---|---|---|---|
| JP3822255B2 (ja) * | 1993-09-30 | 2006-09-13 | 藤森工業株式会社 | 無菌包装方法、これに用いる無菌包装装置 |
| JPH10119905A (ja) * | 1996-10-11 | 1998-05-12 | Fuji Seal Co Ltd | 容器への内容物充填方法 |
| JP3831505B2 (ja) * | 1997-12-26 | 2006-10-11 | 生化学工業株式会社 | 医療用滅菌包装における滅菌方法 |
| JP2003237742A (ja) * | 2002-02-13 | 2003-08-27 | Toppan Printing Co Ltd | スパウト付きパウチの無菌充填方法 |
| JP2002321715A (ja) * | 2002-04-09 | 2002-11-05 | Dainippon Printing Co Ltd | 無菌充填方法およびシステム |
| JP5105117B2 (ja) * | 2004-03-25 | 2012-12-19 | 東洋製罐株式会社 | プラスチック容器のレトルト殺菌方法及びシステム |
| JP5266727B2 (ja) * | 2007-01-31 | 2013-08-21 | 澁谷工業株式会社 | グリッパ |
-
2014
- 2014-09-25 JP JP2014194744A patent/JP6187424B2/ja not_active Expired - Fee Related
Also Published As
| Publication number | Publication date |
|---|---|
| JP2016064854A (ja) | 2016-04-28 |
Similar Documents
| Publication | Publication Date | Title |
|---|---|---|
| US11459138B2 (en) | Filling system | |
| US7217033B2 (en) | Aseptic packaging for foods and systems and methods for aseptically packaging foods | |
| CN108349614B (zh) | 一种在线成型、填充并封装形成产品包装的系统和方法 | |
| CN100484837C (zh) | 填充设备及方法 | |
| JP2003072717A (ja) | スパウト付パウチへの無菌充填方法 | |
| JP2021119091A (ja) | チャック付き包装袋の製造方法 | |
| JPS58500661A (ja) | フレキシブルな容器の無菌充填装置と方法 | |
| JP6119806B2 (ja) | 無菌袋詰め方法及び装置 | |
| JP2002321715A (ja) | 無菌充填方法およびシステム | |
| JP6187424B2 (ja) | 無菌袋詰め方法及び装置 | |
| JP6083445B2 (ja) | 無菌充填方法及び装置 | |
| JP5971299B2 (ja) | 袋の殺菌方法及び装置 | |
| JP6657830B2 (ja) | スパウト付き袋の殺菌方法及び装置並びにスパウト付き袋の無菌充填方法及び装置 | |
| CN102256880B (zh) | 容器以及用于无菌填充该容器的装置和方法 | |
| JP7307396B2 (ja) | 無菌充填機及び無菌充填方法 | |
| JPH09240629A (ja) | 無菌充填装置における紙容器の殺菌方法及び殺菌装置 | |
| JP2020132179A (ja) | スパウト付きパウチの内容物充填方法及びスパウト付きパウチ用内容物充填装置 | |
| JP2020055532A (ja) | 蓋材の殺菌方法及び蓋材の殺菌装置 | |
| JP2020511375A (ja) | ダブルバッグを製造する方法及び装置 | |
| JP7447424B2 (ja) | 無菌充填機及び無菌充填方法 | |
| JPH1143118A (ja) | 液体用紙容器の無菌充填方法 | |
| JPS6234613B2 (ja) | ||
| JP4467159B2 (ja) | 無菌充てんシステム | |
| JP6663962B2 (ja) | 充填機 | |
| JP4601773B2 (ja) | 口栓付きパウチの滅菌方法、滅菌システムおよび無菌充填システム |
Legal Events
| Date | Code | Title | Description |
|---|---|---|---|
| A131 | Notification of reasons for refusal |
Free format text: JAPANESE INTERMEDIATE CODE: A131 Effective date: 20160614 |
|
| A521 | Request for written amendment filed |
Free format text: JAPANESE INTERMEDIATE CODE: A523 Effective date: 20160815 |
|
| A131 | Notification of reasons for refusal |
Free format text: JAPANESE INTERMEDIATE CODE: A131 Effective date: 20170221 |
|
| A521 | Request for written amendment filed |
Free format text: JAPANESE INTERMEDIATE CODE: A523 Effective date: 20170421 |
|
| TRDD | Decision of grant or rejection written | ||
| A01 | Written decision to grant a patent or to grant a registration (utility model) |
Free format text: JAPANESE INTERMEDIATE CODE: A01 Effective date: 20170704 |
|
| A61 | First payment of annual fees (during grant procedure) |
Free format text: JAPANESE INTERMEDIATE CODE: A61 Effective date: 20170717 |
|
| R150 | Certificate of patent or registration of utility model |
Ref document number: 6187424 Country of ref document: JP Free format text: JAPANESE INTERMEDIATE CODE: R150 |
|
| LAPS | Cancellation because of no payment of annual fees |
