JP6139540B2 - 水底トレンチ掘削装置 - Google Patents

水底トレンチ掘削装置 Download PDF

Info

Publication number
JP6139540B2
JP6139540B2 JP2014537723A JP2014537723A JP6139540B2 JP 6139540 B2 JP6139540 B2 JP 6139540B2 JP 2014537723 A JP2014537723 A JP 2014537723A JP 2014537723 A JP2014537723 A JP 2014537723A JP 6139540 B2 JP6139540 B2 JP 6139540B2
Authority
JP
Japan
Prior art keywords
excavation
trench
soil
excavator
eductor
Prior art date
Legal status (The legal status is an assumption and is not a legal conclusion. Google has not performed a legal analysis and makes no representation as to the accuracy of the status listed.)
Active
Application number
JP2014537723A
Other languages
English (en)
Other versions
JP2014534368A (ja
Inventor
ラルフ マンチェスター ジョナサン
ラルフ マンチェスター ジョナサン
Current Assignee (The listed assignees may be inaccurate. Google has not performed a legal analysis and makes no representation or warranty as to the accuracy of the list.)
IHC Engineering Business Ltd
Original Assignee
IHC Engineering Business Ltd
Priority date (The priority date is an assumption and is not a legal conclusion. Google has not performed a legal analysis and makes no representation as to the accuracy of the date listed.)
Filing date
Publication date
Application filed by IHC Engineering Business Ltd filed Critical IHC Engineering Business Ltd
Publication of JP2014534368A publication Critical patent/JP2014534368A/ja
Application granted granted Critical
Publication of JP6139540B2 publication Critical patent/JP6139540B2/ja
Active legal-status Critical Current
Anticipated expiration legal-status Critical

Links

Images

Classifications

    • EFIXED CONSTRUCTIONS
    • E02HYDRAULIC ENGINEERING; FOUNDATIONS; SOIL SHIFTING
    • E02FDREDGING; SOIL-SHIFTING
    • E02F5/00Dredgers or soil-shifting machines for special purposes
    • E02F5/02Dredgers or soil-shifting machines for special purposes for digging trenches or ditches
    • E02F5/10Dredgers or soil-shifting machines for special purposes for digging trenches or ditches with arrangements for reinforcing trenches or ditches; with arrangements for making or assembling conduits or for laying conduits or cables
    • E02F5/104Dredgers or soil-shifting machines for special purposes for digging trenches or ditches with arrangements for reinforcing trenches or ditches; with arrangements for making or assembling conduits or for laying conduits or cables for burying conduits or cables in trenches under water
    • EFIXED CONSTRUCTIONS
    • E02HYDRAULIC ENGINEERING; FOUNDATIONS; SOIL SHIFTING
    • E02FDREDGING; SOIL-SHIFTING
    • E02F5/00Dredgers or soil-shifting machines for special purposes
    • E02F5/02Dredgers or soil-shifting machines for special purposes for digging trenches or ditches
    • E02F5/10Dredgers or soil-shifting machines for special purposes for digging trenches or ditches with arrangements for reinforcing trenches or ditches; with arrangements for making or assembling conduits or for laying conduits or cables
    • EFIXED CONSTRUCTIONS
    • E02HYDRAULIC ENGINEERING; FOUNDATIONS; SOIL SHIFTING
    • E02FDREDGING; SOIL-SHIFTING
    • E02F3/00Dredgers; Soil-shifting machines
    • E02F3/04Dredgers; Soil-shifting machines mechanically-driven
    • E02F3/88Dredgers; Soil-shifting machines mechanically-driven with arrangements acting by a sucking or forcing effect, e.g. suction dredgers
    • E02F3/90Component parts, e.g. arrangement or adaptation of pumps
    • E02F3/92Digging elements, e.g. suction heads
    • E02F3/9256Active suction heads; Suction heads with cutting elements, i.e. the cutting elements are mounted within the housing of the suction head
    • E02F3/9268Active suction heads; Suction heads with cutting elements, i.e. the cutting elements are mounted within the housing of the suction head with rotating cutting elements
    • EFIXED CONSTRUCTIONS
    • E02HYDRAULIC ENGINEERING; FOUNDATIONS; SOIL SHIFTING
    • E02FDREDGING; SOIL-SHIFTING
    • E02F3/00Dredgers; Soil-shifting machines
    • E02F3/04Dredgers; Soil-shifting machines mechanically-driven
    • E02F3/88Dredgers; Soil-shifting machines mechanically-driven with arrangements acting by a sucking or forcing effect, e.g. suction dredgers
    • E02F3/90Component parts, e.g. arrangement or adaptation of pumps
    • E02F3/94Apparatus for separating stones from the dredged material, i.e. separating or treating dredged material
    • EFIXED CONSTRUCTIONS
    • E02HYDRAULIC ENGINEERING; FOUNDATIONS; SOIL SHIFTING
    • E02FDREDGING; SOIL-SHIFTING
    • E02F5/00Dredgers or soil-shifting machines for special purposes
    • E02F5/02Dredgers or soil-shifting machines for special purposes for digging trenches or ditches
    • E02F5/06Dredgers or soil-shifting machines for special purposes for digging trenches or ditches with digging elements mounted on an endless chain
    • EFIXED CONSTRUCTIONS
    • E02HYDRAULIC ENGINEERING; FOUNDATIONS; SOIL SHIFTING
    • E02FDREDGING; SOIL-SHIFTING
    • E02F5/00Dredgers or soil-shifting machines for special purposes
    • E02F5/02Dredgers or soil-shifting machines for special purposes for digging trenches or ditches
    • E02F5/10Dredgers or soil-shifting machines for special purposes for digging trenches or ditches with arrangements for reinforcing trenches or ditches; with arrangements for making or assembling conduits or for laying conduits or cables
    • E02F5/104Dredgers or soil-shifting machines for special purposes for digging trenches or ditches with arrangements for reinforcing trenches or ditches; with arrangements for making or assembling conduits or for laying conduits or cables for burying conduits or cables in trenches under water
    • E02F5/109Dredgers or soil-shifting machines for special purposes for digging trenches or ditches with arrangements for reinforcing trenches or ditches; with arrangements for making or assembling conduits or for laying conduits or cables for burying conduits or cables in trenches under water using rotating digging elements
    • FMECHANICAL ENGINEERING; LIGHTING; HEATING; WEAPONS; BLASTING
    • F16ENGINEERING ELEMENTS AND UNITS; GENERAL MEASURES FOR PRODUCING AND MAINTAINING EFFECTIVE FUNCTIONING OF MACHINES OR INSTALLATIONS; THERMAL INSULATION IN GENERAL
    • F16LPIPES; JOINTS OR FITTINGS FOR PIPES; SUPPORTS FOR PIPES, CABLES OR PROTECTIVE TUBING; MEANS FOR THERMAL INSULATION IN GENERAL
    • F16L1/00Laying or reclaiming pipes; Repairing or joining pipes on or under water
    • F16L1/12Laying or reclaiming pipes on or under water
    • F16L1/16Laying or reclaiming pipes on or under water on the bottom
    • HELECTRICITY
    • H02GENERATION; CONVERSION OR DISTRIBUTION OF ELECTRIC POWER
    • H02GINSTALLATION OF ELECTRIC CABLES OR LINES, OR OF COMBINED OPTICAL AND ELECTRIC CABLES OR LINES
    • H02G1/00Methods or apparatus specially adapted for installing, maintaining, repairing or dismantling electric cables or lines
    • H02G1/06Methods or apparatus specially adapted for installing, maintaining, repairing or dismantling electric cables or lines for laying cables, e.g. laying apparatus on vehicle
    • H02G1/10Methods or apparatus specially adapted for installing, maintaining, repairing or dismantling electric cables or lines for laying cables, e.g. laying apparatus on vehicle in or under water

Landscapes

  • Engineering & Computer Science (AREA)
  • Mechanical Engineering (AREA)
  • General Engineering & Computer Science (AREA)
  • Mining & Mineral Resources (AREA)
  • Civil Engineering (AREA)
  • Structural Engineering (AREA)
  • Earth Drilling (AREA)
  • Processing Of Stones Or Stones Resemblance Materials (AREA)
  • Underground Or Underwater Handling Of Building Materials (AREA)
  • Electric Cable Installation (AREA)
  • Sewage (AREA)
  • Consolidation Of Soil By Introduction Of Solidifying Substances Into Soil (AREA)

Description

本発明は,水底にトレンチを掘削するための装置又は機材に関する。このようなトレンチは,典型的にはケーブルやパイプライン等を埋設して損傷から保護するために使用される。本発明は,特に,水底の硬質基盤におけるトレンチの形成技術に関する。
湖底や海底にトレンチを形成するための多種の装置が既知である。トレンチを掘削するため,しばしばチェーンカッタやロックホイールが使用される。このようなトレンチ掘削装置は,底床を構成する地盤や岩盤(以下,「底土」と称する。)を掘削するものであり,トレンチ掘削装置の前側に多量の掘削排土を生成する傾向がある。トレンチ掘削装置の前側に多量の排土が生成されると,多くの問題点が生じる。例えば,排土の生成によりトレンチ掘削装置の掘進が停止し,又は阻害されることがある。また,底土がトレンチ掘削装置の周囲に流され,トレンチがパイプやケーブルの敷設前に埋め戻される場合がある。更に,底土の集積により底土が推進機構(例えば機体用の関節型推進軌道)との干渉を生じることもある。
底床における底土性状は多くの場合に不均一であり,トレンチ掘削装置はしばしば小石等の非常に硬い物体に遭遇する。このような小石は,例えばドレッジポンプやエダクタ等の排土装置を閉塞させ,これによりトレンチ掘削装置の作動を阻害することがある。
他の問題点として,底土がトレンチ掘削装置の掘削部品(ロックホイールにおけるピック等)に付着して閉塞を生じさせ,底土掘削装置の使用を妨げる場合がある。
本発明は,上述した問題点の一部又は全てを解消することである。
本発明は,その第1の実施態様において,前側に掘削部が配置され,かつ,後側に非掘削部が配置された底土掘削手段と,底土掘削手段の前方位置から底土を排出する排土手段と,底土が底土掘削手段における非掘削部を通過するのを実質的に防止するよう構成配置されたバリア手段とを備える水底トレンチ掘削装置を提供するものである。
好適な実施形態において,バリア手段は,底土に含まれている固形物質のうち,選択された限界寸法よりも最大寸法の大きい固形物質の通過を防止するよう構成されている。
いくつかの好適な実施形態において,排土手段は,底土を流動状態で搬送する。
好適には,排土手段はエダクタ又はドレッジポンプである。
いくつかの好適な実施形態において,バリア手段は,固形物質が選択された限界寸法よりも大きい寸法を有する場合に,その固形物質がエダクタ又はドレッジポンプの入口に進入するのを防止し,又は遅延させるよう構成されている。
好適な実施形態において,底土掘削手段は,無端経路に沿って移動するよう配置された複数の掘削素子を含む。好適には,底土掘削手段は,ロックホイール,チェーンカッタ又はシェアラ等である。
他の好適な実施形態において,底土掘削手段はオーガである。
好適な実施形態において,バリア手段は実質的に水底面レベルに配置される。
好適な実施形態において,排土手段はバリア手段の上方に配置される。
排土手段がエダクタである実施形態において,好適には,エダクタの駆動ジェットは底土掘削手段に向けられ,これにより該底土掘削手段上に集積した底土を駆除する。好適には,エダクタから排出される液体の経路は,底土掘削手段の回転方向に対して実質的に接線方向に向けられる。
好適には,エダクタは,エダクタにより搬送される底土の流動化流の流速を低下させるよう配置されたディフューザ部を含む。これにより,底土に含まれる高濃度物質はトレンチに落ち込む。
本発明は,第2の実施態様において,第1の実施態様に係る水底トレンチ掘削装置を含む水底トレンチ掘削機を提供するものである。この掘削機は,該掘削機をトレンチ掘削のために所望の方向に推進させる推進手段を更に備える。
好適には,水底トレンチ掘削機は,水底トレンチ掘削装置及び/又はその構成要素の作動を制御するための制御手段を更に備える。
以下,本発明の理解を容易とし,かつ,本発明がどのように実施されるかを示すため,単なる例示とした図面を参照して本発明を更に詳述する。
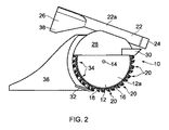
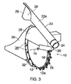
本発明に係る装置の正面図である。 本発明に係る装置の側面図である。 本発明に係る装置の斜視図である。
図面には,水底にトレンチを形成するための水底トレンチ掘削装置10が示されている。以下,「水底」との用語は,内海又は外海の海底や湖底を含むものとして使用する。トレンチ掘削装置10は,底土掘削手段12を備える。種々の底土掘削手段,例えばチェーンカッタ,ロックホイール及びシェアラが既知であり,かつ,使用可能である。図1〜3では,ロックホイール12aが示されている。ロックホイール12aは,名目上は水平な回転軸線14を中心として回転可能に取り付けられるホイール又はディスクを備える。ロックホイール12aの外周面16には複数の底土掘削素子18が取り付けられており,各掘削素子は,典型的には,適当な耐久性を有する材料により形成した掘削歯又は掘削ピックで構成される。
ロックホイール12aは,図2に示す配置に関して反時計方向に回転する。即ち,底土掘削素子18はロックホイール12aの外周に沿う無端の円形経路を移動し,その際に前部20において底床と係合する。その回転の間の底床との係合に際し,底土掘削素子18は底床中を掘削すると共に底土を排除してトレンチを形成する。
チェーンカッタは,ロックホイールと広義には同様に作動する。チェーンカッタの場合には,底土掘削素子が無端のベルト又はチェーンに取り付けられており,そのベルト又はチェーンを駆動することにより底土掘削素子を無端ループに沿って移動させ,その移動の一部の間に底土と接触させる。
トレンチ掘削装置の後側におけるトレンチに対する不所望の早期埋め戻しを防止し,又は軽減するため,排土手段22が設けられている。各種の排土手段が本発明における使用に適しているが,好適な排土手段はドレッジポンプ,より具体的にはエダクタを含む。エダクタを図1〜3に参照数字22aで示す。
エダクタ22aは,入口24及び出口26を含む。即ち,エダクタ22aは,底土を入口24に引き込み,出口26から排出する。より具体的には,エダクタ22aは,底土を底土掘削手段12の前方位置から引き込み,かつ,典型的には底土掘削手段12の後方に向けて排出する。好適な実施形態において,エダクタ22aは,流動化した物質のエダクタを通しての経路が可能な限り真直(もっとも好適には完全に真直)となるように構成されている。これにより,排土物質がエダクタ内におけるベンドに堆積して閉塞を生じさせるような不都合を回避することができる。
底土掘削手段12は,好適には,少なくとも掘削作業の間に水底面レベルの上方に位置する部分がシュラウドで覆われる。図1〜3は,ロックホイール12aの上側部分を覆うスラウド又はカバーを示す。シュラウド又はカバー28を設けることにより,排土手段22(好適にはドレッジポンプ又はエダクタ22a)による排土効率が向上する。
本発明が克服しようとする特別な問題点は,底土掘削手段12の前方における底土の堆積である。上述したように,このような底土の堆積は,第1にトレンチ掘削装置の前進を阻害し,又は停止させる可能性があり,第2に底土掘削手段の周辺における底土をトレンチ内に埋め戻す可能性があり,第3に底土がトレンチ掘削装置における駆動機構内に落ち込んでその運動を阻害する可能性がある。底土掘削手段12上,特に底土掘削素子(掘削歯)18上に堆積した排土も,トレンチ掘削作業の効率を低下させる可能性がある点で問題である。排土手段の閉塞も,トレンチ掘削作業を遅延させるものであって,難点となり得る。このような問題の少なくとも幾つかに対処するため,本発明に係るトレンチ掘削装置10には,底土掘削手段12の前方にバリア手段30又はガードが設けられている。バリア手段30又はガードは,好適には底土掘削手段12の直前に配置する。特に,バリア手段30は,掘削途上のトレンチの両側における通常の水底面レベルを基準として,少なくともほぼ水底面レベルに配置する。幾つかの好適な実施形態において,バリア手段30は,その高さを掘削途上のトレンチの深さに応じて変更できるように調整可能である。
バリア手段30は,予め選択された寸法よりも大きな物体(石,小石等)がバリアを通過できないように構成されている。この予め選択された寸法は,好適には,底土の排出に使用されるドレッジポンプ又はエダクタの入口又は出口におけるパイプ径と同等とする。好適な実施形態においては,バリア手段をほぼ水底面レベルに配置することにより,バリア手段30の前方における底土の過剰な堆積を防止する。
図1〜3に示すように,排土手段22(典型的にはドレッジポンプ又はエダクタ22a)はバリア手段30の真上に配置する。
最も好適には,バリア手段30は,底土の硬質成分からの衝撃に抵抗できる頑丈で耐久性のある材料で構成する。典型的には,バリア手段30は金属プレート製とするが,他の適当な高強度材料を使用することもできる。
更なる好適な実施形態において,排土手段22がエダクタ22aである場合,エダクタ駆動ジェットは底土掘削手段12(例えば,ロックホイール12a又はチェーンカッタ)に向けられるよう構成することが可能である。これにより,底土掘削手段12は,底土を底土掘削手段12から排除するため,特に底土を底土掘削素子18の周囲から排除するために使用されるエダクタ駆動ジェットからの高圧流体の経路中に置かれることとなる。
エダクタ22aの出口を底土掘削手段12の回転方向に対して,即ち底土掘削手段12における各底土掘削素子の運動方向に対して接線方向に配置すれば,更なる利点が達成される。これにより,接線方向の運動量を,流動化した掘削排土の搬送方向と同一方向とすることができる。
本発明の好適な変形形態において,トレンチ掘削装置10にはクランバユニット32を設け,このユニットにより,再循環した底土(即ち,底土掘削手段12上をその前部20から後部34に向けて移送される底土)がトレンチ内まで戻されるのを防止する機能を支援する。これにより,クランバユニット32はトレンチの底床又は底部を,パイプ又はケーブルなどを敷設することのできる清浄状態とするのを支援する。クランバユニット32は,底土掘削手段12の掘削深さ(従って,トレンチの深さ)に適合するよう高さを調整可能とすることができる。幾つかの実施形態において,クランバユニット32には,例えば強度及び変形抵抗を高めるためのベンドリストリクタ又はシェア36を装着することができる。
更なる好適な実施形態では,ドレッジポンプ又はエダクタの出口を適切に配置することにより,底土がパイプ又はケーブル等の敷設後に装置10の後方でトレンチ内に導かれる構成とする。
更なる好適な実施形態では,ディフューザ38が設けられている。このディフューザは,流動化した底土の速度を低下させることにより,高密度物質を優先的にトレンチ内に埋め戻す機能を発揮する。
本明細書及び特許請求の範囲の記載を通じ,「備える」及び「含む」の用語,並びのそれらの変化形,例えば「含んでいる」や「含み」は,「備えるも,限定されるわけではない」ことを意味しており,他の成分,添加剤,成分,個数又は工程を除外することを意図するものではない。
本明細書及び特許請求の範囲の記載を通じ,単数での表記は特段の事由のない限り複数である場合を含む。特に,不定冠詞が使用される場合には,特段の事由のない限り単数のみならず複数である場合も含むものと解すべきである。
言うまでもなく,上述した本発明における特定の実施態様,実施形態又は実施例に関連して記述した特徴,個数,特性,化学成分又は化学基は,その性質に反しない限り,本発明の他の実施態様,実施形態又は実施例に適用可能である。

Claims (14)

  1. 前側に掘削部が配置され,かつ,後側に非掘削部が配置された底土掘削手段と,該底土掘削手段の前方位置から底土を排出するための排土手段と,底土が前記底土掘削手段における非掘削部を通過するのを実質的に防止するよう構成配置されたバリア手段とを備え、前記バリア手段は前記底土掘削手段の前方に配置される水底トレンチ掘削装置。
  2. 請求項1に記載された水底トレンチ掘削装置であって,前記バリア手段は,前記底土に含まれている固形物質のうち,選択された限界寸法よりも最大寸法の大きい固形物質の通過を防止するよう構成されている水底トレンチ掘削装置。
  3. 請求項1又は2に記載された水底トレンチ掘削装置であって,前記排土手段は,底土を流動状態で搬送するものである水底トレンチ掘削装置。
  4. 請求項3に記載された水底トレンチ掘削装置であって,前記排土手段は,エダクタ又はドレッジポンプである水底トレンチ掘削装置。
  5. 請求項4に記載された水底トレンチ掘削装置であって,前記バリア手段は,固形物質が選択された限界寸法よりも大きい寸法を有する場合に,その固形物質がエダクタ又はドレッジポンプの入口に進入するのを防止し,又は遅延させるよう構成されている水底トレンチ掘削装置。
  6. 請求項1〜5の何れか一項に記載された水底トレンチ掘削装置であって,前記底土掘削手段は,無端経路に沿って移動するよう配置された複数の掘削素子を含む水底トレンチ掘削装置。
  7. 請求項6に記載された水底トレンチ掘削装置であって,前記底土掘削手段は,ロックホイール,チェーンカッタ又はシェアラである水底トレンチ掘削装置。
  8. 請求項1〜5の何れか一項に記載された水底トレンチ掘削装置であって,前記底土掘削手段は,オーガである水底トレンチ掘削装置。
  9. 請求項1〜8の何れか一項に記載された水底トレンチ掘削装置であって,前記バリア手段は,実質的に水底面レベルに配置される水底トレンチ掘削装置。
  10. 請求項1〜9の何れか一項に記載された水底トレンチ掘削装置であって,前記排土手段が,前記バリア手段の上方に配置される水底トレンチ掘削装置。
  11. 請求項4,5又は7に記載され,或いは請求項4に従属する場合の請求項6又は8〜10の何れか一項に記載された水底トレンチ掘削装置であって,前記排土手段がエダクタであり,該エダクタの駆動ジェットが前記底土掘削手段に向けられ,これにより該底土掘削手段上に集積した底土を駆除する水底トレンチ掘削装置。
  12. 請求項4,5,7又は11に記載され,或いは請求項4に従属する場合の請求項6又は8〜10の何れか一項に記載された水底トレンチ掘削装置であって,前記エダクタから排出される液体の経路が,前記底土掘削手段の回転方向に対して実質的に接線方向に向けられる水底トレンチ掘削装置。
  13. 請求項1〜12の何れか一項に記載された水底トレンチ掘削装置を備える水底トレンチ掘削機であって,該掘削機をトレンチ掘削のために所望の方向に推進させる推進手段を更に備える水底トレンチ掘削機。
  14. 請求項13に記載された水底トレンチ掘削機であって,前記水底トレンチ掘削装置及び/又はその構成要素の作動を制御するための制御手段を更に備える水底トレンチ掘削機。
JP2014537723A 2011-10-26 2012-10-26 水底トレンチ掘削装置 Active JP6139540B2 (ja)

Applications Claiming Priority (3)

Application Number Priority Date Filing Date Title
GB1118496.7A GB2496373A (en) 2011-10-26 2011-10-26 Underwater trenching apparatus
GB1118496.7 2011-10-26
PCT/GB2012/052665 WO2013061073A1 (en) 2011-10-26 2012-10-26 Underwater trenching apparatus

Publications (2)

Publication Number Publication Date
JP2014534368A JP2014534368A (ja) 2014-12-18
JP6139540B2 true JP6139540B2 (ja) 2017-05-31

Family

ID=45373450

Family Applications (1)

Application Number Title Priority Date Filing Date
JP2014537723A Active JP6139540B2 (ja) 2011-10-26 2012-10-26 水底トレンチ掘削装置

Country Status (9)

Country Link
US (1) US9506218B2 (ja)
EP (1) EP2771517B1 (ja)
JP (1) JP6139540B2 (ja)
KR (1) KR101995332B1 (ja)
CN (1) CN103958784B (ja)
CA (1) CA2852825A1 (ja)
GB (1) GB2496373A (ja)
RU (1) RU2014120693A (ja)
WO (1) WO2013061073A1 (ja)

Families Citing this family (15)

* Cited by examiner, † Cited by third party
Publication number Priority date Publication date Assignee Title
GB2497729A (en) * 2011-12-14 2013-06-26 Ihc Engineering Business Ltd Trench Cutting Apparatus and Method
EP3296468B1 (de) * 2016-09-15 2019-11-06 BAUER Maschinen GmbH Verfahren und schlitzwandfräse zum erstellen eines schlitzes im boden
CN108049445B (zh) * 2017-11-14 2023-08-08 中电建生态环境集团有限公司 生态清淤用绞吸装置
CN108327884B (zh) * 2018-01-16 2023-08-08 中国科学院南京地理与湖泊研究所 一种水上牵引行走系统及水下沉积物表层开槽方法
CN110029696B (zh) * 2019-04-08 2024-02-20 国网浙江省电力有限公司舟山供电公司 一种双作业模式海底电缆挖沟机
EP3800297A1 (en) 2019-10-02 2021-04-07 Soil Machine Dynamics Limited Method and apparatus for inserting an elongate object into a trench in a sea floor
CN110671538B (zh) * 2019-11-06 2024-01-26 江苏科技大学 一种海洋油气管道水下铺设装置及其铺设方法
EP3832026B1 (en) * 2019-12-05 2023-07-26 Soil Machine Dynamics Limited Apparatus for locating elongate object in a trench in a floor of a body of water
EP3882401B1 (en) 2020-03-20 2023-09-06 Soil Machine Dynamics Limited Apparatus and method for inserting an elongate object into a trench
EP4471217A3 (en) 2020-05-25 2025-03-19 Wing Marine LLC Material handling systems and methods
CN112554256B (zh) * 2020-12-22 2024-08-27 西南石油大学 一种海底管道铺设开沟器
EP4047141A1 (en) * 2021-02-22 2022-08-24 Nexans Top loading cable plough
EP4112821B1 (en) * 2021-06-28 2024-09-04 Soil Machine Dynamics Limited Apparatus for inserting an elongate object into a trench
US12398532B2 (en) 2024-01-19 2025-08-26 Wing Marine Llc Marine vessels and methods of using same
CN119866905B (zh) * 2025-02-14 2025-12-23 河海大学 一种农田排水用开沟排灌机

Family Cites Families (44)

* Cited by examiner, † Cited by third party
Publication number Priority date Publication date Assignee Title
US810810A (en) * 1904-07-22 1906-01-23 Samuel H Richardson Apparatus for cutting and sluicing.
US1190257A (en) * 1915-06-29 1916-07-04 John H Henderson Road-roller.
US3554101A (en) * 1968-09-19 1971-01-12 Caterpillar Tractor Co Support bearing for compactor cleaner bar frame
US3572841A (en) * 1969-01-15 1971-03-30 Norton Co Material pickup for groove cutters
JPS5019860B2 (ja) * 1972-02-24 1975-07-10
JPS5061839A (ja) * 1973-10-06 1975-05-27
DE2411140A1 (de) * 1974-03-08 1975-11-13 Orenstein & Koppel Ag Vorrichtung zum einbetten von auf einem gewaessergrund liegenden rohren
US4050171A (en) * 1976-05-12 1977-09-27 Laserplane Corporation Depth control for endless chain type trencher
NL166514C (nl) * 1977-12-27 1981-08-17 Volker Groep Nv Sleepkop voor een baggerzuiger.
NL169764C (nl) * 1978-07-18 1982-08-16 Ihc Holland Nv Sleepkop met verend ondersteunde snijtanden voor een zuigbaggerinrichting.
JPS5830863Y2 (ja) * 1978-12-26 1983-07-07 石川島播磨重工業株式会社 ドラグサクシヨン浚渫船の自動浚渫装置
US4295757A (en) 1979-08-23 1981-10-20 Randal Gaspar Jet sled spoil scoop apparatus
JPS5837456B2 (ja) * 1980-03-11 1983-08-16 古河電気工業株式会社 ホイ−ル式水底掘削装置
US4342526A (en) * 1980-06-05 1982-08-03 Applied Offshore Technology, Inc. Submersible backfill machine
WO1983000891A1 (en) * 1981-09-11 1983-03-17 Porter, Alan, Theodore Improvements in dredges
JPS5872260U (ja) * 1981-11-10 1983-05-16 石川島播磨重工業株式会社 ブ−スタドラグヘツド浚渫船
JPS59151965U (ja) * 1983-03-28 1984-10-11 石川島播磨重工業株式会社 掘削刃付ドラグヘツド
US4523873A (en) * 1983-08-16 1985-06-18 Elliot Robert B Vibratory roller with axially spaced zig zag impact bars and wire rope cleaners
JPS6078024A (ja) * 1983-10-03 1985-05-02 Unyusho Daigo Kowan Kensetsukyoku カツタ付きドラグヘツド装置
JPS6175134A (ja) * 1984-02-27 1986-04-17 Yoshinori Matsuki エダクタ−ポンプによる浚渫方法
JPS6347428A (ja) * 1986-08-12 1988-02-29 Penta Ocean Constr Co Ltd ポンプ式浚渫船の障害物除去装置
JPH01102132A (ja) * 1987-10-15 1989-04-19 Mitsubishi Heavy Ind Ltd 浚渫船の岩石除去装置
JPH01101726U (ja) * 1987-12-25 1989-07-10
US4877355A (en) * 1988-04-19 1989-10-31 Casper Colosimo & Son., Inc. Underwater cable laying system
JPH0649300U (ja) * 1992-12-11 1994-07-05 三菱重工業株式会社 水中排砂ロボット
KR0124142B1 (ko) * 1994-02-07 1997-11-25 이은길 암거용 준설기
US5575538A (en) * 1995-06-01 1996-11-19 Astec Industries, Inc. Rock saw with centerline conveyor assembly and method of digging a narrow trench
US5651200A (en) * 1995-12-06 1997-07-29 The United States Corps Of Engineers As Represented By The Secretary Of The Army Debris exclusion devices for an augerhead type hydraulic dredge system
FR2749866B1 (fr) * 1996-06-18 1998-08-28 Sdto Dispositif de creusage de tranchees, a equipement d'aspiration
US6055750A (en) * 1997-01-13 2000-05-02 Samson Enterprises, Inc. Excavating machine with lift arm assembly
JPH11100859A (ja) * 1997-09-26 1999-04-13 Kabuki Construction Co Ltd 採泥器
NO311639B1 (no) * 2000-04-05 2001-12-27 Gto Subsea As Fremgangsmåte og anordning for å flytte på stein og lösmasser under vann
JP2001323499A (ja) * 2000-05-18 2001-11-22 Taisei Corp 溝掘削機
EP1177848A1 (en) * 2000-08-02 2002-02-06 Nakayama Iron Works Co., Ltd. Concrete cutting machine with slurry collecting mechanism
JP2002283134A (ja) * 2001-03-28 2002-10-03 Yamashin Seikyo Kk 手持ち式切断機の安全カバー
FR2822862B1 (fr) * 2001-03-29 2003-08-08 S D T O Vehicule routier motorise pour la realisation de tranchees dans le sol
CN1322205C (zh) * 2001-11-13 2007-06-20 马斯坦布罗克有限公司 挖掘方法和挖掘设备
DE10202536A1 (de) * 2002-01-24 2003-08-21 Juergen Schenk Fräseinrichtung für Boden, Fels, Aushub oder anderes Material
CN1295401C (zh) * 2002-04-27 2007-01-17 S.D.T.O公司 用于在地面上挖掘沟渠的在道路上行驶的机动车辆
JP4274314B2 (ja) * 2003-06-30 2009-06-03 大成建設株式会社 底泥処理工法
KR200383938Y1 (ko) * 2005-02-24 2005-05-10 조창웅 톱밥 배출기능을 가지는 전기 원형톱
US7875123B2 (en) * 2005-04-06 2011-01-25 Crawford Iii William Randall Method and apparatus for cleaning percolation basins
US20090236900A1 (en) * 2008-01-19 2009-09-24 Joseph Eugene Due Dust and debris evacuator for cut-off saw
JP5351826B2 (ja) * 2010-05-10 2013-11-27 三菱重工業株式会社 水中採鉱機用カッターヘッド

Also Published As

Publication number Publication date
KR101995332B1 (ko) 2019-07-02
CN103958784A (zh) 2014-07-30
WO2013061073A1 (en) 2013-05-02
US20140283421A1 (en) 2014-09-25
GB2496373A (en) 2013-05-15
CN103958784B (zh) 2019-01-04
EP2771517B1 (en) 2016-10-19
US9506218B2 (en) 2016-11-29
GB201118496D0 (en) 2011-12-07
CA2852825A1 (en) 2013-05-02
KR20140117350A (ko) 2014-10-07
EP2771517A1 (en) 2014-09-03
JP2014534368A (ja) 2014-12-18
RU2014120693A (ru) 2015-12-10

Similar Documents

Publication Publication Date Title
JP6139540B2 (ja) 水底トレンチ掘削装置
JP6288682B2 (ja) 自己清掃収集装置及び方法
US8522460B2 (en) Underwater excavation apparatus
CA3018137C (en) Dredging apparatus and method of dredging
JP7319946B2 (ja) 浚渫装置と浚渫システム、及び浚渫方法
EA008036B1 (ru) Устройство для подводной выемки и всасывания грунта
CN209082587U (zh) 挖泥船及其耙头结构
KR102346580B1 (ko) 연약 지반 및 협소 수로용 준설선
US5465511A (en) Trenching machine
JP6828226B2 (ja) ポンプ浚渫船の埋め戻し防止装置
KR101606107B1 (ko) 막힘방지 기능을 갖는 펌프식 준설장치
KR20100100252A (ko) 모래 흡입 조력 장치
JP7084763B2 (ja) 浚渫装置
NL2033916B1 (en) Cutting device for a subsea trench cutter or dredging apparatus
JP3424008B2 (ja) 水底土砂除去工法、及び水底土砂除去装置
JP4918110B2 (ja) トンネル掘進機
GB2475939A (en) A dredger or excavator with a cylindrical excavating tool having an axial fluid flow
JP2006002400A (ja) 排水暗渠の形成方法及び装置

Legal Events

Date Code Title Description
A621 Written request for application examination

Free format text: JAPANESE INTERMEDIATE CODE: A621

Effective date: 20151007

A977 Report on retrieval

Free format text: JAPANESE INTERMEDIATE CODE: A971007

Effective date: 20160729

A131 Notification of reasons for refusal

Free format text: JAPANESE INTERMEDIATE CODE: A131

Effective date: 20160816

A521 Request for written amendment filed

Free format text: JAPANESE INTERMEDIATE CODE: A523

Effective date: 20161111

TRDD Decision of grant or rejection written
A01 Written decision to grant a patent or to grant a registration (utility model)

Free format text: JAPANESE INTERMEDIATE CODE: A01

Effective date: 20170328

A61 First payment of annual fees (during grant procedure)

Free format text: JAPANESE INTERMEDIATE CODE: A61

Effective date: 20170427

R150 Certificate of patent or registration of utility model

Ref document number: 6139540

Country of ref document: JP

Free format text: JAPANESE INTERMEDIATE CODE: R150

R250 Receipt of annual fees

Free format text: JAPANESE INTERMEDIATE CODE: R250

R250 Receipt of annual fees

Free format text: JAPANESE INTERMEDIATE CODE: R250

R250 Receipt of annual fees

Free format text: JAPANESE INTERMEDIATE CODE: R250

R250 Receipt of annual fees

Free format text: JAPANESE INTERMEDIATE CODE: R250

R250 Receipt of annual fees

Free format text: JAPANESE INTERMEDIATE CODE: R250

R250 Receipt of annual fees

Free format text: JAPANESE INTERMEDIATE CODE: R250