JP6000472B2 - 車両安全装置制御ユニット - Google Patents

車両安全装置制御ユニット Download PDF

Info

Publication number
JP6000472B2
JP6000472B2 JP2015544848A JP2015544848A JP6000472B2 JP 6000472 B2 JP6000472 B2 JP 6000472B2 JP 2015544848 A JP2015544848 A JP 2015544848A JP 2015544848 A JP2015544848 A JP 2015544848A JP 6000472 B2 JP6000472 B2 JP 6000472B2
Authority
JP
Japan
Prior art keywords
circuit board
housing
safety device
vehicle safety
electronic component
Prior art date
Legal status (The legal status is an assumption and is not a legal conclusion. Google has not performed a legal analysis and makes no representation as to the accuracy of the status listed.)
Expired - Fee Related
Application number
JP2015544848A
Other languages
English (en)
Other versions
JPWO2015064203A1 (ja
Inventor
健太郎 秋山
健太郎 秋山
亜紀 和田
亜紀 和田
修一 別所
修一 別所
Current Assignee (The listed assignees may be inaccurate. Google has not performed a legal analysis and makes no representation or warranty as to the accuracy of the list.)
Autoliv Development AB
Original Assignee
Autoliv Development AB
Priority date (The priority date is an assumption and is not a legal conclusion. Google has not performed a legal analysis and makes no representation as to the accuracy of the date listed.)
Filing date
Publication date
Application filed by Autoliv Development AB filed Critical Autoliv Development AB
Application granted granted Critical
Publication of JP6000472B2 publication Critical patent/JP6000472B2/ja
Publication of JPWO2015064203A1 publication Critical patent/JPWO2015064203A1/ja
Expired - Fee Related legal-status Critical Current
Anticipated expiration legal-status Critical

Links

Images

Classifications

    • BPERFORMING OPERATIONS; TRANSPORTING
    • B60VEHICLES IN GENERAL
    • B60RVEHICLES, VEHICLE FITTINGS, OR VEHICLE PARTS, NOT OTHERWISE PROVIDED FOR
    • B60R21/00Arrangements or fittings on vehicles for protecting or preventing injuries to occupants or pedestrians in case of accidents or other traffic risks
    • B60R21/01Electrical circuits for triggering passive safety arrangements, e.g. airbags, safety belt tighteners, in case of vehicle accidents or impending vehicle accidents
    • GPHYSICS
    • G01MEASURING; TESTING
    • G01PMEASURING LINEAR OR ANGULAR SPEED, ACCELERATION, DECELERATION, OR SHOCK; INDICATING PRESENCE, ABSENCE, OR DIRECTION, OF MOVEMENT
    • G01P1/00Details of instruments
    • G01P1/02Housings
    • G01P1/023Housings for acceleration measuring devices

Landscapes

  • Engineering & Computer Science (AREA)
  • Mechanical Engineering (AREA)
  • Physics & Mathematics (AREA)
  • General Physics & Mathematics (AREA)
  • Mounting Of Printed Circuit Boards And The Like (AREA)
  • Regulating Braking Force (AREA)
  • Vibration Prevention Devices (AREA)

Description

本発明は、車両衝突時に車両に生じた加速度を検出する加速度センサ等を搭載し、車両用安全装置を制御する車両安全装置制御ユニットに関するものである。
近年、車両に生じた衝撃の方向やその度合い等に応じて駆動される車両用安全装置が開発されている。例えば車室内の様々な箇所に備えられるエアバッグや、衝撃の度合いに応じて膨張展開の度合いが制御できる多段階制御エアバッグ、または衝撃の度合いに応じて張力を調節するシートベルトプリテンショナ等が挙げられる。かかる車両用安全装置は、一般的に、電子制御ユニット(ECU:Electronic Control Unit)によって制御される。ECUは、回路基板と、回路基板に搭載され衝撃を検知する加速度センサ等の電子部品と、回路基板表面を被覆して電子部品を保護する樹脂製の筐体(ハウジング)とによって構成される。
例えば特許文献1には、車載用電子機器としての制御基板を収容する筐体が記載されている。この制御基板には、車両衝突時の加速度を検出する加速度センサが実装されている。特許文献1に記載の筐体は、ケース本体と、ケース本体の側壁から外側に延びていて車両に固定される複数のブラケットと、ケース本体の側壁とブラケットとの間にわたる複数の補強リブとを備えている。特許文献1では、この筐体によれば、車両衝突時の衝撃により制御基板が破壊されることを防止し、制御基板を確実に保護できるとしている。
特許文献2には、電子基板が筐体に固定される固定点で囲まれた三角形の領域に角速度センサと加速度センサを実装するエアバッグ電子制御装置が開示されている。特許文献2によれば、かかる領域にセンサを配置することで外部からの衝撃による振動とその振幅を低減できるとしている。
特開2010−241249号公報 特開2011−75442号公報
エアバッグ等の安全装置が必要時に適切に駆動するよう、ECUの回路基板に実装された加速度センサ等の出力には信頼性が求められる。しかし車両の振動によって、加速度センサ等の電子部品の出力が不安定になるおそれがある。とりわけ加速度センサは、その姿勢の変化によって加速度の正確な検出が不可能となるため、回路基板に堅固に保持する必要がある。特許文献1または特許文献2に記載の技術によれば、外部からの衝撃によって基板上のセンサ類に加わる振動はある程度低減されると思われるが、さらに改善の余地がある。
本発明は、このような課題に鑑み、車両の振動による悪影響を受けにくく安定した出力が可能なセンサを搭載した車両安全装置制御ユニットを提供することを目的としている。
上記課題を解決するために、本発明の代表的な構成は、車両用安全装置を制御する車両安全装置制御ユニットにおいて、回路基板と、回路基板の表面または裏面に搭載されたセンサと、回路基板を被覆する筐体と、回路基板の周縁を筐体の周縁部に固定する複数の固定具と、回路基板の表面に搭載され筐体の天面方向に延び天面から突出する保持部に保持される第1の電子部品とを備え、第1の電子部品の筐体の天面に最も近い上端部を頂点とする三角錐であって、頂点から回路基板に向かう垂線の回路基板の表面との交点の角部と、複数の固定具のうち2つの固定具の位置の2つの角部から構成される三角形を底面とする三角錐の内部空間にセンサが配置されていることを特徴とする。
上記構成によれば、回路基板は、複数の固定具によって回路基板の表面という平面上で筐体に固定されるだけでなく、第1の電子部品を介してさらに、筐体の天面という回路基板の表面から上方に離れた位置においても筐体に保持される。かかる保持点の追加によって回路基板の筐体に対する保持点は立体的に配置されることとなる。とりわけ、筐体の天面の第1の電子部品が保持された位置を頂点とし、2つの固定具の位置に角部を形成する三角形を底面とする三角錐の内部空間は、回路基板と筐体との間に立体的に点在する保持点で囲まれていて、保持点には制振効果が見込めるため、堅固な構造を有する。かかる三角錐の内部空間にセンサが配置されているため、センサは車両の振動による悪影響を受けにくく、安定した出力が可能となる。
なお、筐体の天面に設けられた保持部と第1の電子部品とは、必ずしも完全に保持されていなくてもよい。それらが相対的にわずかに動くことができるような保持であっても、逆に、そのわずかな動きによって余分な振動に対する制振効果が見込めるからである。
また上記構成によれば、振動吸収材などの部材を追加することなくセンサの出力を安定させることができるため、経済的にも有利である。
また三角錐は、固定具の位置を底面(三角形)の角部とすることで堅固な構造となっているが、底面の残りの1つの角部の位置が三角錐の頂点から離れてしまっては、実質的に意味をなさない。その点、本発明では、上記の交点を三角形の角部としていて、これは回路基板の表面における頂点から最も近い点であるため、三角錐の内部空間は、三角錐の頂点の近傍に形成されることとなり、センサはより堅固な空間に配置されることとなる。
第1の電子部品は、筐体の天面に最も近い上端部を2つ有し、三角錐は、2つの上端部のうち、2つの固定具からより遠い上端部を頂点とするとよい。かかる三角錐は、2つの固定具からより近い上端部による制振効果も見込め、内部空間も広くなる。
上記課題を解決するために、本発明の他の代表的な構成は、車両用安全装置を制御する車両安全装置制御ユニットにおいて、回路基板と、回路基板の表面または裏面に搭載されたセンサと、回路基板を被覆する筐体と、回路基板の周縁を筐体の周縁部に固定する複数の固定具と、回路基板の表面に搭載され筐体の天面方向に延び天面から突出する保持部に保持される第1の電子部品とを備え、第1の電子部品が保持された位置を頂点とする円錐であって、複数の固定具のうち第1の電子部品に近い少なくとも2つの固定具を内包する円を底面とする円錐の内部空間にセンサが配置されていることを特徴とする。
上記構成によれば、回路基板は、複数の固定具によって回路基板の表面という平面上で筐体に固定されるだけでなく、第1の電子部品を介してさらに、筐体の天面という回路基板の表面から上方に離れた位置においても筐体に保持される。かかる保持点の追加によって回路基板の筐体に対する保持点は立体的に配置されることとなる。とりわけ、筐体の天面の第1の電子部品が保持された位置を頂点とし、少なくとも2つの固定具を内包する円を底面とする円錐の内部空間は、回路基板と筐体との間に立体的に点在する保持点で囲まれているため、堅固な構造を有する。かかる円錐の内部空間にセンサが配置されているため、センサは車両の振動による悪影響を受けにくく、安定した出力が可能となる。
なお、筐体の天面に設けられた保持部と第1の電子部品とは、必ずしも完全に保持されていなくてもよい。それらが相対的にわずかに動くことができるような保持であっても、逆に、そのわずかな動きによって余分な振動に対する制振効果が見込めるからである。
また上記構成によれば、振動吸収材などの部材を追加することなくセンサの出力を安定させることができるため、経済的にも有利である。
上記課題を解決するために、本発明の他の代表的な構成は、車両用安全装置を制御する車両安全装置制御ユニットにおいて、回路基板と、回路基板の表面または裏面に搭載されたセンサと、回路基板を被覆する筐体と、回路基板の周縁を筐体の周縁部に固定する複数の固定具と、回路基板の表面に搭載され筐体の天面方向に延び天面から突出する保持部に保持される第1の電子部品とを備え、第1の電子部品が保持された位置を頂点とする円錐であって、頂点から回路基板に向かう垂線の回路基板の表面との交点を中心とし頂点から交点までの距離に等しい半径を有する円を底面とする円錐の内部空間にセンサが配置されていることを特徴とする。
上記構成によれば、回路基板は、複数の固定具によって回路基板の表面という平面上で筐体に固定されるだけでなく、第1の電子部品を介してさらに、筐体の天面という回路基板の表面から上方に離れた位置においても筐体に保持される。かかる保持点の追加によって回路基板の筐体に対する保持点は立体的に配置されることとなる。とりわけ、筐体の天面の第1の電子部品が保持された位置を頂点とし、頂点から回路基板に向かう垂線の回路基板の表面との交点を中心とし頂点から交点までの距離に等しい半径を有する円を底面とする円錐の内部空間は、回路基板と筐体との間に立体的に点在する保持点で囲まれているため、堅固な構造を有する。
上記の円錐は、底面である円を頂点から離れた位置に設定したり、際限なく大きくしたりすれば、構造的に堅固でない領域にも円が及び、円が固定具を内包したことが実質的に意味をなさない。その点、本発明では、上記の交点を円の中心としていて、これは回路基板の表面における頂点から最も近い点である。また、円の半径も、頂点から交点までの距離、すなわち円錐の高さと等しくすることで、無制限に広い円とならない。これにより、円錐の内部空間は、円錐の頂点の近傍に形成されることとなり、センサはより堅固な空間に配置されることとなる。かかる円錐の内部空間にセンサが配置されているため、センサは車両の振動による悪影響を受けにくく、安定した出力が可能となる。
なお、筐体の天面に設けられた保持部と第1の電子部品とは、必ずしも完全に保持されていなくてもよい。それらが相対的にわずかに動くことができるような保持であっても、逆に、そのわずかな動きによって余分な振動に対する制振効果が見込めるからである。
また上記構成によれば、振動吸収材などの部材を追加することなくセンサの出力を安定させることができるため、経済的にも有利である。
本発明による車両安全装置制御ユニットは、筐体の天面に取り付けられリード線を有する第2の電子部品をさらに備え、第1の電子部品の上端には、第2の電子部品のリード線に電気的に接続し、筐体の天面から突出する保持部に保持される端子が形成されているとよい。
上記構成によれば、第1の電子部品は、回路基板のスペースが足りないなど、何らかの事情で筐体の天面に取り付けられた第2電子部品を回路基板に電気的に接続させる役割を果たす。言い換えれば、回路を立体的に構成したときに回路基板と筐体との間を橋渡しする第1の電子部品を利用して、その近傍にセンサを配置することにより、センサの出力を安定させることができる。
上記の第2の電子部品はコンデンサとしてよく、上記のセンサは加速度センサとしてよい。
本発明によれば、車両の振動による悪影響を受けにくく安定した出力が可能なセンサを搭載した車両安全装置制御ユニットを提供することができる。
本発明にかかる車両安全装置制御ユニットの実施形態であるECUの車両における配置を例示する図である。 図1のECUの組立図である。 図2のECUの完成図である。 図2の回路基板および筐体の斜視図である。 図3のA−A断面を例示する斜視図である。 図4のドミノが筐体に保持されている様子を例示する斜視図である。 図4の回路基板の拡大図である。 図7の回路基板の平面図である。 図4の回路基板の側面図である。 図9の回路基板の平面図である。 図4の回路基板に別の加速度センサを追加したECUの平面図である。 図11の2つの加速度センサの周波数応答シミュレーション解析結果であり、X軸方向の入力に対する各センサ搭載位置のX/Y/Z軸方向の揺れを出力として示すグラフである。 図11の2つの加速度センサの周波数応答シミュレーション解析結果であり、Y軸方向の入力に対する各センサ搭載位置のX/Y/Z軸方向の揺れを出力として示すグラフである。 図11の2つの加速度センサの周波数応答シミュレーション解析結果であり、Z軸方向の入力に対する各センサ搭載位置のX/Y/Z軸方向の揺れを出力として示すグラフである。
100 …エアバッグ
101 …車両
102A、102B …プリテンショナ
104 …ステアリングホイール
107 …助手席エアバッグ
108A、108B …カーテンエアバッグ
114、214 …ECU
116 …回路基板
120 …筐体
124 …カバー
130A、130B、130C、130D …ネジ
132、134、136 …側壁
138 …コネクタ
140、142 …フランジ
150、151 …加速度センサ
152 …天面
154 …ドミノ
156、158 …端子
160、162 …リード線
163、165 …保持部
164 …コンデンサ
166、186 …頂点
170 …三角錐
172、174、176 …角部
190 …円錐
以下に添付図面を参照しながら、本発明の好適な実施形態について詳細に説明する。かかる実施形態に示す寸法、材料、その他具体的な数値などは、発明の理解を容易とするための例示に過ぎず、特に断る場合を除き、本発明を限定するものではない。なお、本明細書及び図面において、実質的に同一の機能、構成を有する要素については、同一の符号を付することにより重複説明を省略し、また本発明に直接関係のない要素は図示を省略する。
図1は、本発明にかかる車両安全装置制御ユニットの実施形態であるECU(Electronic Control Unit)114の車両101における配置を例示する図である。図1に例示するように、車両101は、安全装置として、エアバッグ100およびシートベルトプリテンショナ(以下、プリテンショナ102A・102B)を備えている。
エアバッグ100は、ステアリングホイール104に設置されたフロントエアバッグ106、前部左座席に設けられた助手席エアバッグ107、および車室側部に設置されたカーテンエアバッグ108A・108Bを含んでいる。エアバッグ100およびプリテンショナ102A・102Bは、ECU114によって制御される。より具体的には、ECU114に搭載された加速度センサ150や、特に図示していないが、ヨーレートセンサ、ロールオーバセンサなどによる衝撃の検知に起因して作動する。特に、フロントエアバッグ106は多段階制御が可能になっていて、車両101に生じた加速度の度合いすなわち衝撃の度合いに応じて膨張展開の度合いを制御することができる。
図2は図1のECU114の組立図である。ECU114は、回路基板116と、回路基板116の表面118(図2では基板116の下側)を被覆する樹脂製の筐体120と、回路基板116の裏面122に固定される金属製のカバー124とを備える。筐体120の回路基板116側は開口している。カバー124、回路基板116および筐体120は、固定具としてのネジ130A、130B、130C、130Dによって固定される。これにより、回路基板116の周縁が筐体120の周縁部の側壁132、134、136に固定される。
図3は図2のECU114の完成図である。図3は図2のECU114を上下逆にした状態を例示している。図3では、筐体120に被覆された回路基板116の表面118は見えていず、回路基板116に設けられたコネクタ138だけが筐体120の端部から露出している。カバー124もほとんど見えていず、カバー124の両側に設けられたフランジ140、142だけが露出している。ECU114はフランジ140、142に設けられた孔144、146、148を介してネジ等(図示しない)によって車体に締結される。
図4は図2の回路基板116および筐体120の斜視図である。図4では、図示の便宜上、回路基板116を図2に例示したのと上下逆にし、表面118が上を向いた状態を例示している。図4に例示するように、ECU114は、回路基板116の表面118に搭載された加速度センサ150を備える。なお加速度センサ150は回路基板116の裏面122に搭載してもよい。
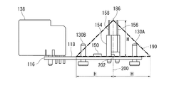
図5は図3のA−A断面を例示する斜視図である。ECU114は様々な電子部品を備えているが、本願の各図面では本発明に直接関係のある電子部品だけを例示し、その他のものは図示省略している。ECU114は第1の電子部品としてドミノ154を備えている。ドミノ154は、第2の電子部品として筐体120の天面152に配置されたコンデンサ164を回路基板116と電気的に接続させる端子の一種である。ドミノ154は、図4に例示したように回路基板116の表面118に搭載されている。そしてドミノ154は、図5に例示するように、ECU114が組み立てられた状態において、筐体120の天面152から突出する保持部163、165まで延び、天面152に保持されている。
より詳細に説明すれば、ドミノ154の上端には2つの二股の端子156、158が形成されていて、ドミノ154のうち、これら端子156、158の先端が筐体120の天面152に最も近い。一方、筐体120の天面152には、リード線160、162を有するコンデンサ164が取り付けられている。図5に例示するように、ドミノ154の上端の端子156、158は、コンデンサ164のリード線160、162を挟むように電気的に接続し、天面152から突出する保持部163、165に挿入される。これにより、コンデンサ164のリード線160、162が筐体120に保持されている。なお図5では端子156、158および保持部163、165は一部遮られて見えていない。
図6は図5の部分拡大図であり、ドミノ154が筐体120に保持されている様子を例示する図である。ドミノ154を介した回路基板116を筐体120に保持する手順は以下の通りである。まずコンデンサ164を筐体120に組み込んだ後、ドミノ154を搭載した回路基板116を筐体120に挿入する。その過程でドミノ154の上端の端子156、158をコンデンサ164のリード線160、162に噛みこませ、さらにドミノ154を筐体120の天面150に向かって押し込む。これによって、コンデンサ164のリード線160、162を筐体120の保持部163、165が形成しているスリット167、169の最奥まで押し付ける。その結果、ECU114の上下方向に、筐体120・コンデンサ164のリード線160、162・ドミノ154・回路基板116が相互に押し合う構造になっている。これによって、ドミノ154を介して回路基板116が筐体120に保持される。
なおドミノ154およびその二股の端子156、158の形状は一例にすぎず、筐体120天面152側に保持されるものであれば、いかなる形状を有していてもよい。
(第1の実施形態)
図7は図4の回路基板116の拡大図であり、本発明の第1の実施形態を例示する図である。図7に例示するように、加速度センサ150は、図4および図5に例示した筐体120の天面152の保持部163、165にドミノ154が保持された位置(本実施形態では端子156の先端)を頂点166とする三角錐170の内部空間に配置されている。この「配置されている」とは、三角錐170の内部空間に加速度センサ150の全体あるいは大部分が包含されていることが望ましいが、加速度センサ150の一部が三角錐170の内部空間に包含されている状態も含む。
三角錐170は、三角錐170の頂点166に最も近い2つのネジ130A、130B(図7では図示省略)の位置に角部172、174を形成する三角形を底面とする三角錐である。三角錐170の内部空間は、回路基板116と筐体120との間に追加された保持点(端子156の先端)すなわち三角錐170の頂点166の近傍に形成されることが望ましい。また、本実施形態では、2つの端子156、158のうち、2つのネジ130A、130Bからより遠い端子156の先端を頂点166とする三角錐170を想定している。かかる三角錐170は、2つのネジ130A、130Bからより近い端子158による制振効果も見込め、内部空間も広くなる。ただし、例えば端子158の先端を頂点とする三角錐としてもよい。
図8は図7の回路基板116の平面図である。三角錐170の底面である三角形は、頂点166から回路基板116に向かう垂線180(図7)の、回路基板116の表面118との交点を角部176としている。したがって図8に例示するように回路基板116を真上から見ると、三角錐170の頂点166と底面である三角形の角部176とは、重なって見え、このとき角部176と角部172、174とで形成される三角形が、三角錐170の底面となる。
以上のように、本実施形態によれば、回路基板116は、図2や図4に例示したようにネジ130A、130B、130C、130Dによって回路基板116の表面118という平面上で筐体120に固定されるだけではない。すなわち図5に例示したように、回路基板116は、ドミノ154を介してさらに、筐体120の天面152方向の立体的な位置という、回路基板116の表面118から上方に離れた位置(図7の三角錐170の頂点166等)においても筐体120に保持される。かかる保持点の追加によって回路基板116の筐体120に対する固定は立体的に構築されることとなる。
とりわけ、三角錐170の内部空間は、回路基板116と筐体120との間に立体的に点在する保持点(頂点166、角部172、174)で囲まれているため、堅固な構造を有する。保持点には制振効果が見込まれ、また、かかる三角錐170の内部空間に加速度センサ150が配置されているため、加速度センサ150は車両の振動による悪影響を受けにくく、安定した出力が可能となる。
なお、筐体120の天面152に設けられた保持部163、165とドミノ154とは、必ずしも完全に保持(固定)されていなくてもよい。それらが相対的にわずかに動くことができるような保持であっても、逆に、そのわずかな動きによって余分な振動に対する制振効果が見込めるからである。
また本実施形態によれば、振動吸収材などの部材を追加することなく加速度センサ150の出力を安定させることができるため、経済的にも有利である。
さらに、三角錐170は、ネジ130A、130Bの位置を底面(三角形)の角部とすることで堅固な構造となっているが、底面の残りの1つの角部176も、回路基板116の表面118における、三角錐170の頂点166から最も近い点である。したがって、三角錐170の内部空間はその頂点166の近傍に形成されている。
(第2の実施形態)
図9は図4の回路基板116の側面図であり、本発明の第2の実施形態を例示する図である。図9に例示するように、加速度センサ150は、図4および図5に例示した筐体120の天面152の、ドミノ154が保持された位置(本実施形態では端子156・158の先端のちょうど中間)を頂点186とする円錐190の内部空間に配置されている。この「配置されている」とは、円錐190の内部空間に加速度センサ150の全体あるいは大部分が包含されていることが望ましいが、加速度センサ150の一部が円錐190の内部空間に包含されている状態も含む。
図10は図9の回路基板116の平面図である。上記の円錐190は、円錐190の頂点186に最も近い2つのネジ130A、130Bを内包する円を底面とする円錐である。円錐190の内部空間は、回路基板116と筐体120との間に立体的に追加された保持点(端子156・158の先端のちょうど中間)すなわち円錐190の頂点186の近傍に形成されることが望ましい。また、本実施形態では端子156・158の先端のちょうど中間を頂点186とする円錐190を想定しているが、例えば端子156または158の先端を頂点とする円錐としてもよい。
図9に例示するように、円錐190の底面である円は、頂点186から回路基板116に向かう垂線200の、回路基板116の表面118との交点を中心202とし、頂点186から交点までの距離Hに等しい半径Hを有する。したがって図10に例示するように回路基板116を真上から見ると、円錐190の頂点186と底面である円の中心202とは、重なって見える。
以上のように、本実施形態によれば、回路基板116は、図2や図4に例示したようにネジ130A、130B、130C、130Dによって回路基板116の表面118という平面上で筐体120に固定されるだけではない。すなわち図5に例示したように、回路基板116は、ドミノ154を介してさらに、筐体120の天面152という回路基板116の表面118から上方に離れた位置(図7の三角錐170の頂点166等)においても筐体120に保持される。かかる保持点の追加によって回路基板116の筐体120に対する固定は立体的に構築されることとなる。
とりわけ、円錐190の内部空間は、回路基板116と筐体120との間に立体的に点在する保持点(頂点186、ネジ130A、130B)で囲まれているため、堅固な構造を有する。保持点には制振効果が見込まれ、また、かかる円錐190の内部空間に加速度センサ150が配置されているため、加速度センサ150は車両の振動による悪影響を受けにくく、安定した出力が可能となる。
また本実施形態によれば、振動吸収材などの部材を追加することなく加速度センサ150の出力を安定させることができるため、経済的にも有利である。
さらに、円錐190は、その底面がネジ130A、130Bを内包することで堅固な構造となっているが、底面の中心202も、回路基板116の表面118における、円錐190の頂点186から最も近い点である。そして底面である円の半径は、円錐190の高さHに等しい。したがって、円錐190の内部空間はその頂点186の近傍に形成されている。
(ドミノ)
第1および第2の実施形態によれば、ドミノ154は、回路基板116のスペースが足りないなど、何らかの事情で筐体120の天面152に取り付けられたコンデンサ164を回路基板116に電気的に接続させる役割を果たす。言い換えれば、回路を立体的に構成したときに回路基板116と筐体120との間を橋渡しするドミノ154を利用して、その近傍に加速度センサ150を配置することにより、加速度センサ150の出力を安定させることができる。
(周波数応答シミュレーション解析)
図11は図4の回路基板116に別の加速度センサ151を追加したECU214の平面図である。図11(a)は筐体120が回路基板116の表面118を被覆した状態であり、図11(b)は回路基板116から筐体120を除去した状態である。図11(b)に例示するように、ECU214には、加速度センサ150だけでなく、別の加速度センサ151が搭載されている。加速度センサ151は、加速度センサ150と異なり、第1および第2の実施形態でそれぞれ例示した三角錐170または円錐190の内部空間には配置されていない。
図12ないし図14は、図11の2つの加速度センサの周波数応答シミュレーション解析結果である。図12はECU214へのX軸方向の入力に対する加速度センサ150、151それぞれの搭載位置のX/Y/Z軸方向の揺れを出力として示すグラフである。なおZ軸方向は、図11の紙面に直交する方向である。図13はECU214へのY軸方向の入力に対する加速度センサ150、151それぞれの搭載位置のX/Y/Z軸方向の揺れを出力として示すグラフである。図14はECU214へのZ軸方向の入力に対する加速度センサ150、151それぞれの搭載位置のX/Y/Z軸方向の揺れを出力として示すグラフである。図12ないし図14において、縦軸は加速度出力、横軸は周波数を示している。
図12(a)、図13(a)および図14(a)にそれぞれ例示する通り、X/Y/Z軸方向の入力に対するX軸方向の揺れは、加速度センサ150、151のいずれも、ほとんど差がない。一方、図12(b)(c)、図13(b)(c)および図14(b)(c)にそれぞれ例示する通り、X/Y/Z軸方向の入力に対するY/Z軸方向の揺れは、ほとんどの周波数領域において、加速度センサ150のほうが加速度センサ151より低い値を示している。
以上の周波数応答解析の結果より、本発明の第1および第2の実施形態で例示した三角錐170または円錐190の内部空間に配置された加速度センサ150の出力のほうが、内部空間の外に配置された加速度センサ151の出力よりも、振動による影響を受け難いことがわかる。
以上、添付図面を参照しながら本発明の好適な実施形態について説明したが、本発明は係る例に限定されないことは言うまでもない。当業者であれば、特許請求の範囲に記載された範疇内において、各種の変更例または修正例に想到し得ることは明らかであり、それらについても当然に本発明の技術的範囲に属するものと了解される。
本発明は、車両衝突時に車両に生じた加速度を検出する加速度センサ等を搭載し、車両用安全装置を制御する車両安全装置制御ユニットに利用することができる。

Claims (8)

  1. 車両用安全装置を制御する車両安全装置制御ユニットにおいて、
    回路基板と、
    前記回路基板の表面または裏面に搭載されたセンサと、
    前記回路基板を被覆する筐体と、
    前記回路基板の周縁を前記筐体の周縁部に固定する複数の固定具と、
    前記回路基板の表面に搭載され前記筐体の天面方向に延び該天面から突出する保持部に保持される第1の電子部品とを備え、
    第1の電子部品の前記筐体の天面に最も近い上端部を頂点とする三角錐であって、該頂点から前記回路基板に向かう垂線の該回路基板の表面との交点の角部と、前記複数の固定具のうち2つの固定具の位置の2つの角部から構成される三角形を底面とする三角錐の内部空間に前記センサが配置されていることを特徴とする車両安全装置制御ユニット。
  2. 第1の電子部品は、前記筐体の天面に最も近い上端部を2つ有し、前記三角錐は、前記2つの上端部のうち、前記2つの固定具からより遠い上端部を前記頂点とすることを特徴とする請求項1に記載の車両安全装置制御ユニット。
  3. 車両用安全装置を制御する車両安全装置制御ユニットにおいて、
    回路基板と、
    前記回路基板の表面または裏面に搭載されたセンサと、
    前記回路基板を被覆する筐体と、
    前記回路基板の周縁を前記筐体の周縁部に固定する複数の固定具と、
    前記回路基板の表面に搭載され前記筐体の天面方向に延び該天面から突出する保持部に保持される第1の電子部品とを備え、
    第1の電子部品が保持された位置を頂点とする円錐であって、前記複数の固定具のうち第1の電子部品に近い少なくとも2つの固定具を内包する円を底面とする円錐の内部空間に前記センサが配置されていることを特徴とする車両安全装置制御ユニット。
  4. 車両用安全装置を制御する車両安全装置制御ユニットにおいて、
    回路基板と、
    前記回路基板の表面または裏面に搭載されたセンサと、
    前記回路基板を被覆する筐体と、
    前記回路基板の周縁を前記筐体の周縁部に固定する複数の固定具と、
    前記回路基板の表面に搭載され前記筐体の天面方向に延び該天面から突出する保持部に保持される第1の電子部品とを備え、
    第1の電子部品が保持された位置を頂点とする円錐であって、前記頂点から前記回路基板に向かう垂線の該回路基板の表面との交点を中心とし前記頂点から交点までの距離に等しい半径を有する円を底面とする円錐の内部空間に前記センサが配置されていることを特徴とする車両安全装置制御ユニット。
  5. 前記筐体の天面に取り付けられリード線を有する第2の電子部品をさらに備え、
    第1の電子部品の上端には、第2の電子部品のリード線に電気的に接続し、前記筐体の天面から突出する保持部に保持される端子が形成されていることを特徴とする請求項1から4のいずれか1項に記載の車両安全装置制御ユニット。
  6. 前記端子の先端が前記頂点であることを特徴とする請求項5に記載の車両安全装置制御ユニット。
  7. 第2の電子部品はコンデンサであることを特徴とする請求項5または6に記載の車両安全装置制御ユニット。
  8. 前記センサは加速度センサであることを特徴とする請求項1から7のいずれか1項に記載の車両安全装置制御ユニット。
JP2015544848A 2013-10-31 2014-09-03 車両安全装置制御ユニット Expired - Fee Related JP6000472B2 (ja)

Applications Claiming Priority (3)

Application Number Priority Date Filing Date Title
JP2013227778 2013-10-31
JP2013227778 2013-10-31
PCT/JP2014/073137 WO2015064203A1 (ja) 2013-10-31 2014-09-03 車両安全装置制御ユニット

Publications (2)

Publication Number Publication Date
JP6000472B2 true JP6000472B2 (ja) 2016-09-28
JPWO2015064203A1 JPWO2015064203A1 (ja) 2017-03-09

Family

ID=53003816

Family Applications (1)

Application Number Title Priority Date Filing Date
JP2015544848A Expired - Fee Related JP6000472B2 (ja) 2013-10-31 2014-09-03 車両安全装置制御ユニット

Country Status (3)

Country Link
JP (1) JP6000472B2 (ja)
DE (1) DE112014004998T5 (ja)
WO (1) WO2015064203A1 (ja)

Families Citing this family (3)

* Cited by examiner, † Cited by third party
Publication number Priority date Publication date Assignee Title
JP2017132283A (ja) * 2016-01-25 2017-08-03 株式会社デンソー 乗員保護システム用制御装置
WO2021171822A1 (ja) * 2020-02-28 2021-09-02 株式会社Jvcケンウッド ナビゲーション装置及びナビゲーション装置の製造方法
CZ310044B6 (cs) * 2022-01-06 2024-06-12 Výzkumný a zkušební letecký ústav, a.s. Šasi senzoru kapacitního mikroakcelerometru

Family Cites Families (4)

* Cited by examiner, † Cited by third party
Publication number Priority date Publication date Assignee Title
DE102006036792A1 (de) * 2006-08-07 2008-02-14 Trw Automotive Gmbh Verfahren zum Herstellen eines Sensors und Sensor
JP5378864B2 (ja) * 2009-04-03 2013-12-25 富士通テン株式会社 車載用電子機器の筐体構造
JP5318720B2 (ja) * 2009-09-30 2013-10-16 富士通テン株式会社 電子制御装置
JP2012177652A (ja) * 2011-02-28 2012-09-13 Keihin Corp 電子制御装置

Also Published As

Publication number Publication date
JPWO2015064203A1 (ja) 2017-03-09
WO2015064203A1 (ja) 2015-05-07
DE112014004998T5 (de) 2016-07-14

Similar Documents

Publication Publication Date Title
JP5184286B2 (ja) 筐体固定構造
JP5318720B2 (ja) 電子制御装置
JP5378864B2 (ja) 車載用電子機器の筐体構造
US20120292469A1 (en) Fastening Assembly for a Sensor Assembly and Sensor Assembly
CN102356012B (zh) 驾乘员束缚装置控制装置
US5706181A (en) Sensor unit for controlling an occupant protection system of a motor vehicle
JP6000472B2 (ja) 車両安全装置制御ユニット
JP6136402B2 (ja) センサーユニット、電子機器、および移動体
JP2010132202A (ja) センサ装置およびこれを備える車両
JP2018199431A (ja) 車体前部構造
WO2021132594A1 (ja) 電子装置
JP2012177652A (ja) 電子制御装置
JP7698974B2 (ja) 制御装置
JP2018072170A (ja) 慣性力センサ装置
JP2017083361A (ja) 慣性力センサ装置
JP2004294419A (ja) センサ装置
CN111316082B (zh) 压力传感器以及具有压力传感器的移动装置
JP2018133373A (ja) 電子装置
KR101609341B1 (ko) 미세 시스템을 위한 3차원 방진 플랫폼 구조물
JP2015210161A (ja) 慣性力センサ装置
JP2007322146A (ja) センサモジュール
US20220268800A1 (en) Hybrid sensor assembly for use with active noise cancellation
JP5270649B2 (ja) 乗員拘束装置用の制御装置
JP5966864B2 (ja) 電子装置
US12492903B2 (en) Navigation device and method of manufacturing navigation device

Legal Events

Date Code Title Description
TRDD Decision of grant or rejection written
A01 Written decision to grant a patent or to grant a registration (utility model)

Free format text: JAPANESE INTERMEDIATE CODE: A01

Effective date: 20160816

A61 First payment of annual fees (during grant procedure)

Free format text: JAPANESE INTERMEDIATE CODE: A61

Effective date: 20160830

R150 Certificate of patent or registration of utility model

Ref document number: 6000472

Country of ref document: JP

Free format text: JAPANESE INTERMEDIATE CODE: R150

S111 Request for change of ownership or part of ownership

Free format text: JAPANESE INTERMEDIATE CODE: R313113

R350 Written notification of registration of transfer

Free format text: JAPANESE INTERMEDIATE CODE: R350

R250 Receipt of annual fees

Free format text: JAPANESE INTERMEDIATE CODE: R250

LAPS Cancellation because of no payment of annual fees