JP5862425B2 - 画像形成装置 - Google Patents
画像形成装置 Download PDFInfo
- Publication number
- JP5862425B2 JP5862425B2 JP2012083429A JP2012083429A JP5862425B2 JP 5862425 B2 JP5862425 B2 JP 5862425B2 JP 2012083429 A JP2012083429 A JP 2012083429A JP 2012083429 A JP2012083429 A JP 2012083429A JP 5862425 B2 JP5862425 B2 JP 5862425B2
- Authority
- JP
- Japan
- Prior art keywords
- image forming
- image
- photoconductor
- photosensitive member
- forming apparatus
- Prior art date
- Legal status (The legal status is an assumption and is not a legal conclusion. Google has not performed a legal analysis and makes no representation as to the accuracy of the status listed.)
- Active
Links
- 238000004140 cleaning Methods 0.000 claims description 122
- 108091008695 photoreceptors Proteins 0.000 claims description 31
- 230000015572 biosynthetic process Effects 0.000 claims description 5
- 230000007613 environmental effect Effects 0.000 claims description 4
- 238000005755 formation reaction Methods 0.000 claims 3
- 238000010586 diagram Methods 0.000 description 9
- 230000002159 abnormal effect Effects 0.000 description 8
- 238000000034 method Methods 0.000 description 5
- 230000007547 defect Effects 0.000 description 4
- 230000008569 process Effects 0.000 description 4
- 230000009467 reduction Effects 0.000 description 4
- 230000001629 suppression Effects 0.000 description 4
- 230000007423 decrease Effects 0.000 description 3
- 238000003825 pressing Methods 0.000 description 3
- 230000007261 regionalization Effects 0.000 description 3
- 241000519995 Stachys sylvatica Species 0.000 description 2
- 238000010521 absorption reaction Methods 0.000 description 2
- 238000010438 heat treatment Methods 0.000 description 2
- 239000000463 material Substances 0.000 description 2
- 239000002245 particle Substances 0.000 description 2
- 238000003860 storage Methods 0.000 description 2
- XLYOFNOQVPJJNP-UHFFFAOYSA-N water Substances O XLYOFNOQVPJJNP-UHFFFAOYSA-N 0.000 description 2
- 230000002087 whitening effect Effects 0.000 description 2
- 229920006311 Urethane elastomer Polymers 0.000 description 1
- 230000004308 accommodation Effects 0.000 description 1
- 230000009471 action Effects 0.000 description 1
- 230000002547 anomalous effect Effects 0.000 description 1
- 230000008859 change Effects 0.000 description 1
- 239000012141 concentrate Substances 0.000 description 1
- 230000018109 developmental process Effects 0.000 description 1
- 229920001971 elastomer Polymers 0.000 description 1
- 229910052736 halogen Inorganic materials 0.000 description 1
- 150000002367 halogens Chemical class 0.000 description 1
- JEIPFZHSYJVQDO-UHFFFAOYSA-N iron(III) oxide Inorganic materials O=[Fe]O[Fe]=O JEIPFZHSYJVQDO-UHFFFAOYSA-N 0.000 description 1
- 230000007246 mechanism Effects 0.000 description 1
- 238000002360 preparation method Methods 0.000 description 1
- 239000002699 waste material Substances 0.000 description 1
Images
Landscapes
- Discharging, Photosensitive Material Shape In Electrophotography (AREA)
- Cleaning In Electrography (AREA)
- Control Or Security For Electrophotography (AREA)
Description
前記感光体と前記クリーニング装置のクリーニングブレードの摩擦力を軽減して像流れ現象抑制のための感光体回転を行なうことができ、また、該摩擦力軽減により像流れ現象抑制のための感光体回転時の「異音」発生を抑制するとともに感光体とクリーニングブレードの長寿命化を図ることができる画像形成装置を提供することを課題とする。
回転駆動される感光体表面を帯電装置で帯電させ、前記感光体表面の前記帯電装置による帯電域に、形成しようとする画像に応じた画像露光を施して静電潜像を形成し、前記静電潜像を現像装置で現像して可視トナー像を形成する画像形成部を少なくとも一つ含み、前記画像形成部で形成されるトナー像を記録シートに転写、定着させることができ、前記画像形成部の感光体上の転写残トナーを含む残留物をクリーニング装置でクリーニングする画像形成装置であって、前記クリーニング装置として、前記感光体にカウンター方式で弾性先端部が当接されるクリーニングブレードを有するクリーニング装置を採用する画像形成装置であり、
前記感光体を画像形成のための正転方向にも、該正転方向に対する逆転方向にも回転駆動可能な感光体駆動部と、
前記感光体駆動部の制御部を含んでおり、
前記制御部は、前記画像形成部でトナー像が形成され、該トナー像が記録シートに転写される画像形成動作の終了後の非画像形成動作時に、前記感光体駆動部に前記感光体を、前記帯電装置による放電生成物の前記感光体への局所的集中付着を抑制するように、前記帯電装置による帯電幅の移動距離が確保できる微小角度で逆転させることができる画像形成装置を提供する。
画像形成動作時の画像形成枚数が予め定めた枚数より少なく、感光体への放電生成物付着を無視してもよい場合もあり、そのような場合、前記制御部は感光体を逆転させなくてもよい。
また、前記帯電装置から感光体への放電生成物付着量は画像形成動作終了からの時間の経過ととともに減少するので、前記制御部は、前記感光体駆動部に前記感光体を複数回逆転させるとき、逆転開始の時間間隔を逆転回数が増えるに応じて長くしてもよい。
前記感光体と前記クリーニング装置のクリーニングブレードの摩擦力を軽減して像流れ現象抑制のための感光体回転を行なうことができ、また、該摩擦力軽減により像流れ現象抑制のための感光体回転時の「異音」発生を抑制するとともに感光体とクリーニングブレードの長寿命化を図ることができる画像形成装置を提供することができる。
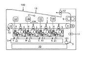
図1は本発明に係る画像形成装置の1例の構成の概略を示している。図1の画像形成装置100は電子写真方式で画像形成するタンデム型のフルカラープリンタである。
画像形成部Y、M、C及びKのすべてを用いてフルカラー画像を形成する場合を例にとると、先ず、イエロー画像形成部Yにおいてイエロートナー像を形成し、これを転写ベルト7に1次転写する。
かくして転写ベルト7上に形成された多重トナー像は転写ベルト7の回動により2次転写ローラー8へ向け移動する。
図4(A)に示すように、感光体クリーニングにおいては感光体1が図中CW方向に回転している状態において、クリーニングブレード51の先端部511が感光体1との間の摩擦力により感光体回転方向CWに引っ張られる。
印字動作終了後、感光体1と帯電器2の間にはコロナ放電により発生した放電生成物が浮遊している。浮遊した放電生成物は吸水作用により帯電器2の周囲に付着する。ここで、帯電電極21やメッシュ状グリッド電極22などに付着した放電生成物は錆の原因となる。さらに、浮遊した放電生成物は帯電器直下の感光体1表面にも付着してしまう。この感光体表面に付着した放電生成物200は像流れと呼ばれる画像不良を引き起こす。
図6(A)は感光体1表面上の非トナー像形成部とトナー像形成部での電荷の様子と該両部分間の電位差ΔVaを表している。図6(B)は感光体1表面に放電生成物が付着した場合の状態を示している。
印字終了後から所定時間T4経過すると(S8)、放電性生物の濃度が低くなり感光体付着の影響が小さくなるため、所定時間T4経過までの間、所定時間間隔で感光体逆回転を繰り返す(S6、S7)。
印字動作時T1は感光体を正回転させる。全ての画像形成終了後に感光体1を停止させる。印字終了時の感光体停止時より所定時間T2経過したら、感光体1を所定時間T31逆回転させ、クリーニングブレード51を図9(A)の状態から図9(B)の状態へ変え、食い込みを解除させる。
このクリーニングブレード51はクリーニング性に優れたクリーニング部512と、クリーニング部512よりも摩擦係数が小さくこすれによる音が小さい静音部513とからなっている。
Y、M、C、K 画像形成部
1 感光体
DY、DM、DC、DK 感光体駆動部
2 帯電器
w 帯電器幅
200 放電生成物
3 画像露光装置
4 現像装置
5 クリーニング装置
51 クリーニングブレード
511 ブレード先端部
512 クリーニング部
513 静音部
514 段差部
Cont 制御部
s1 湿度センサ
θ 感光体の微小逆転角度
Claims (9)
- 回転駆動される感光体表面を帯電装置で帯電させ、前記感光体表面の前記帯電装置による帯電域に、形成しようとする画像に応じた画像露光を施して静電潜像を形成し、前記静電潜像を現像装置で現像して可視トナー像を形成する画像形成部を少なくとも一つ含み、前記画像形成部で形成されるトナー像を記録シートに転写、定着させることができ、前記画像形成部の感光体上の転写残トナーを含む残留物をクリーニング装置でクリーニングする画像形成装置であって、前記クリーニング装置として、前記感光体にカウンター方式で弾性先端部が当接されるクリーニングブレードを有するクリーニング装置を採用する画像形成装置であり、
前記感光体を画像形成のための正転方向にも、該正転方向に対する逆転方向にも回転駆動可能な感光体駆動部と、
前記感光体駆動部の制御部を含んでおり、
前記制御部は、前記画像形成部でトナー像が形成され、該トナー像が記録シートに転写される画像形成動作の終了後の非画像形成動作時に、前記感光体駆動部に前記感光体を、前記帯電装置による放電生成物の前記感光体への局所的集中付着を抑制するように、前記帯電装置による帯電幅の移動距離が確保できる微小角度で逆転させることができることを特徴とする画像形成装置。 - 前記制御部は、前記画像形成部でトナー像が形成され、該トナー像が記録シートに転写される画像形成動作の終了後の非画像形成動作時に、前記感光体駆動部に前記感光体を逆転させるにあたり、前記画像形成動作時の画像形成枚数に応じた回数、前記微小角度で逆転させる請求項1記載の画像形成装置。
- 前記制御部は、前記感光体駆動部に前記感光体を複数回逆転させるとき、1回目逆転時の感光体逆転速度を2回目以後の逆転時の感光体逆転速度より遅く設定する請求項1又は2記載の画像形成装置。
- 前記画像形成部が複数設けられており、前記画像形成部で形成されるトナー像は中間転写体に一次転写され、前記中間転写体から前記記録シートに二次転写され、前記制御部は、前記感光体駆動部に前記感光体を逆転させるとき、前記各画像形成部の感光体の逆転タイミングを画像形成部ごとにずらす請求項1、2又は3記載の画像形成装置。
- 前記制御部は、前記感光体駆動部に前記感光体を少なくとも1回逆転させるとき、前記画像形成動作終了から各回の感光体逆転開始までの時間を前記画像形成動作時の画像形成枚数に応じて制御する請求項1、2、3又は4記載の画像形成装置。
- 前記制御部は、前記感光体駆動部に前記感光体を少なくとも1回逆転させるとき、前記画像形成動作終了から各回の感光体逆転開始までの時間を前記画像形成動作時の画像形成枚数及び画像形成装置環境湿度のうち少なくとも一方に応じて制御する請求項1、2,3又は4記載の画像形成装置。
- 前記クリーニング装置のクリーニングブレードは、前記感光体の正転時と逆転時で前記感光体への当接部分の該感光体との摩擦係数が異なっており、前記感光体逆転時に前記感光体へ当接する部分の摩擦係数の方が前記感光体正転時に前記感光体へ当接する部分の摩擦係数より小さい請求項1から6のいずれか1項に記載の画像形成装置。
- 前記制御部は、前記感光体駆動部に前記感光体を複数回逆転させるとき、逆転開始の時間間隔を逆転回数が増えるに応じて長くする請求項1から7のいずれか1項に記載の画像形成装置。
- 前記制御部が、前記画像形成部でトナー像が形成され、該トナー像が記録シートに転写される画像形成動作の終了後の非画像形成動作時に、前記感光体駆動部に前記感光体を、前記画像形成動作時の画像形成枚数に応じた回数、前記微小角度で逆転させるときの、該画像形成動作時の画像形成枚数に応じた回数は、前記画像形成動作の終了から前記放電生成物の前記感光体への付着が無くなるとみなすことができる時までの時間範囲内で決められる回数である請求項2項に記載の画像形成装置。
Priority Applications (1)
| Application Number | Priority Date | Filing Date | Title |
|---|---|---|---|
| JP2012083429A JP5862425B2 (ja) | 2012-04-01 | 2012-04-01 | 画像形成装置 |
Applications Claiming Priority (1)
| Application Number | Priority Date | Filing Date | Title |
|---|---|---|---|
| JP2012083429A JP5862425B2 (ja) | 2012-04-01 | 2012-04-01 | 画像形成装置 |
Publications (2)
| Publication Number | Publication Date |
|---|---|
| JP2013213886A JP2013213886A (ja) | 2013-10-17 |
| JP5862425B2 true JP5862425B2 (ja) | 2016-02-16 |
Family
ID=49587265
Family Applications (1)
| Application Number | Title | Priority Date | Filing Date |
|---|---|---|---|
| JP2012083429A Active JP5862425B2 (ja) | 2012-04-01 | 2012-04-01 | 画像形成装置 |
Country Status (1)
| Country | Link |
|---|---|
| JP (1) | JP5862425B2 (ja) |
Cited By (1)
| Publication number | Priority date | Publication date | Assignee | Title |
|---|---|---|---|---|
| EP4579352A1 (en) * | 2023-12-25 | 2025-07-02 | FUJIFILM Business Innovation Corp. | Image forming apparatus |
Families Citing this family (2)
| Publication number | Priority date | Publication date | Assignee | Title |
|---|---|---|---|---|
| JP6921558B2 (ja) * | 2017-02-28 | 2021-08-18 | キヤノン株式会社 | 画像形成装置 |
| JP7246901B2 (ja) * | 2018-11-27 | 2023-03-28 | キヤノン株式会社 | 画像形成装置 |
Family Cites Families (17)
| Publication number | Priority date | Publication date | Assignee | Title |
|---|---|---|---|---|
| JPH09292761A (ja) * | 1996-02-28 | 1997-11-11 | Fuji Xerox Co Ltd | 画像形成装置 |
| JP4562017B2 (ja) * | 2000-07-13 | 2010-10-13 | 株式会社リコー | 像担持体回転制御装置、像担持体回転制御方法、および画像形成装置 |
| JP2003015491A (ja) * | 2001-06-28 | 2003-01-17 | Canon Inc | 画像形成装置 |
| JP2004102178A (ja) * | 2002-09-12 | 2004-04-02 | Fuji Xerox Co Ltd | 画像形成装置及びクリーニング装置 |
| JP2004287316A (ja) * | 2003-03-25 | 2004-10-14 | Konica Minolta Holdings Inc | 画像形成装置 |
| JP2005077575A (ja) * | 2003-08-29 | 2005-03-24 | Kyocera Mita Corp | 画像形成装置 |
| JP2005077576A (ja) * | 2003-08-29 | 2005-03-24 | Kyocera Mita Corp | 画像形成装置 |
| JP4285168B2 (ja) * | 2003-09-24 | 2009-06-24 | コニカミノルタビジネステクノロジーズ株式会社 | 画像形成装置 |
| JP4305334B2 (ja) * | 2004-08-31 | 2009-07-29 | コニカミノルタビジネステクノロジーズ株式会社 | 画像形成装置 |
| JP2006072172A (ja) * | 2004-09-06 | 2006-03-16 | Ricoh Co Ltd | 画像形成装置 |
| JP2007333810A (ja) * | 2006-06-12 | 2007-12-27 | Konica Minolta Business Technologies Inc | 画像形成装置および画像形成方法 |
| JP4985133B2 (ja) * | 2007-06-15 | 2012-07-25 | コニカミノルタビジネステクノロジーズ株式会社 | 画像形成装置および画像形成方法 |
| JP2010002436A (ja) * | 2008-06-18 | 2010-01-07 | Konica Minolta Business Technologies Inc | 帯電器及び画像形成装置 |
| US20100111566A1 (en) * | 2008-11-06 | 2010-05-06 | Kabushiki Kaisha Toshiba | Photoconductive drums controller |
| JP5262881B2 (ja) * | 2009-03-18 | 2013-08-14 | コニカミノルタビジネステクノロジーズ株式会社 | 画像形成装置、画像形成装置の制御方法、及び画像形成装置の制御プログラム |
| JP5494945B2 (ja) * | 2010-01-27 | 2014-05-21 | 株式会社リコー | 画像形成装置 |
| JP2012013718A (ja) * | 2010-06-29 | 2012-01-19 | Konica Minolta Business Technologies Inc | 画像形成装置 |
-
2012
- 2012-04-01 JP JP2012083429A patent/JP5862425B2/ja active Active
Cited By (1)
| Publication number | Priority date | Publication date | Assignee | Title |
|---|---|---|---|---|
| EP4579352A1 (en) * | 2023-12-25 | 2025-07-02 | FUJIFILM Business Innovation Corp. | Image forming apparatus |
Also Published As
| Publication number | Publication date |
|---|---|
| JP2013213886A (ja) | 2013-10-17 |
Similar Documents
| Publication | Publication Date | Title |
|---|---|---|
| JP6264643B2 (ja) | 画像形成装置 | |
| CN102269953B (zh) | 图像形成装置 | |
| JP2012233994A (ja) | 画像形成装置 | |
| JP5862425B2 (ja) | 画像形成装置 | |
| JP2012123251A (ja) | 画像形成装置 | |
| JP4929829B2 (ja) | 画像形成装置 | |
| JP4766091B2 (ja) | 画像形成装置 | |
| JP2005250215A (ja) | 画像形成装置および方法 | |
| JP5267930B2 (ja) | スコロトロン帯電装置、画像形成装置及びプロセスカートリッジ | |
| JP2012194493A (ja) | 画像形成装置 | |
| JP3839979B2 (ja) | 画像形成装置 | |
| JP7013734B2 (ja) | 画像形成装置、及び、プロセスカートリッジ | |
| JP2022114924A (ja) | 画像形成装置 | |
| JP4821295B2 (ja) | 画像形成装置 | |
| JP2013222110A (ja) | 画像形成装置 | |
| JP2013140293A (ja) | 画像形成装置 | |
| JP4947067B2 (ja) | 画像形成装置 | |
| JP5251636B2 (ja) | 画像形成装置 | |
| JP5814706B2 (ja) | 画像形成装置 | |
| JP2007024999A (ja) | 画像形成装置 | |
| JP2008209602A (ja) | 画像形成装置 | |
| JP2007248547A (ja) | 画像形成装置 | |
| JP2007240922A (ja) | 画像形成装置 | |
| JP2008310056A (ja) | 帯電ローラ及び画像形成装置 | |
| JP4862488B2 (ja) | 画像形成装置 |
Legal Events
| Date | Code | Title | Description |
|---|---|---|---|
| A621 | Written request for application examination |
Free format text: JAPANESE INTERMEDIATE CODE: A621 Effective date: 20141118 |
|
| A977 | Report on retrieval |
Free format text: JAPANESE INTERMEDIATE CODE: A971007 Effective date: 20150909 |
|
| A131 | Notification of reasons for refusal |
Free format text: JAPANESE INTERMEDIATE CODE: A131 Effective date: 20150915 |
|
| A521 | Written amendment |
Free format text: JAPANESE INTERMEDIATE CODE: A523 Effective date: 20151112 |
|
| TRDD | Decision of grant or rejection written | ||
| A01 | Written decision to grant a patent or to grant a registration (utility model) |
Free format text: JAPANESE INTERMEDIATE CODE: A01 Effective date: 20151201 |
|
| A61 | First payment of annual fees (during grant procedure) |
Free format text: JAPANESE INTERMEDIATE CODE: A61 Effective date: 20151214 |
|
| R150 | Certificate of patent or registration of utility model |
Ref document number: 5862425 Country of ref document: JP Free format text: JAPANESE INTERMEDIATE CODE: R150 |
