JP5798397B2 - 電磁誘導式絶対位置測定用エンコーダ - Google Patents

電磁誘導式絶対位置測定用エンコーダ Download PDF

Info

Publication number
JP5798397B2
JP5798397B2 JP2011161399A JP2011161399A JP5798397B2 JP 5798397 B2 JP5798397 B2 JP 5798397B2 JP 2011161399 A JP2011161399 A JP 2011161399A JP 2011161399 A JP2011161399 A JP 2011161399A JP 5798397 B2 JP5798397 B2 JP 5798397B2
Authority
JP
Japan
Prior art keywords
coil
scale
absolute position
electromagnetic induction
coils
Prior art date
Legal status (The legal status is an assumption and is not a legal conclusion. Google has not performed a legal analysis and makes no representation as to the accuracy of the status listed.)
Expired - Fee Related
Application number
JP2011161399A
Other languages
English (en)
Other versions
JP2013024782A (ja
Inventor
佐々木 康二
康二 佐々木
Current Assignee (The listed assignees may be inaccurate. Google has not performed a legal analysis and makes no representation or warranty as to the accuracy of the list.)
Mitutoyo Corp
Original Assignee
Mitutoyo Corp
Priority date (The priority date is an assumption and is not a legal conclusion. Google has not performed a legal analysis and makes no representation as to the accuracy of the date listed.)
Filing date
Publication date
Application filed by Mitutoyo Corp filed Critical Mitutoyo Corp
Priority to JP2011161399A priority Critical patent/JP5798397B2/ja
Priority to US13/550,040 priority patent/US8928311B2/en
Priority to EP12177166.1A priority patent/EP2549239B1/en
Priority to CN201210254896.7A priority patent/CN102889899B/zh
Publication of JP2013024782A publication Critical patent/JP2013024782A/ja
Application granted granted Critical
Publication of JP5798397B2 publication Critical patent/JP5798397B2/ja
Expired - Fee Related legal-status Critical Current
Anticipated expiration legal-status Critical

Links

Images

Classifications

    • GPHYSICS
    • G01MEASURING; TESTING
    • G01DMEASURING NOT SPECIALLY ADAPTED FOR A SPECIFIC VARIABLE; ARRANGEMENTS FOR MEASURING TWO OR MORE VARIABLES NOT COVERED IN A SINGLE OTHER SUBCLASS; TARIFF METERING APPARATUS; MEASURING OR TESTING NOT OTHERWISE PROVIDED FOR
    • G01D5/00Mechanical means for transferring the output of a sensing member; Means for converting the output of a sensing member to another variable where the form or nature of the sensing member does not constrain the means for converting; Transducers not specially adapted for a specific variable
    • G01D5/12Mechanical means for transferring the output of a sensing member; Means for converting the output of a sensing member to another variable where the form or nature of the sensing member does not constrain the means for converting; Transducers not specially adapted for a specific variable using electric or magnetic means
    • G01D5/14Mechanical means for transferring the output of a sensing member; Means for converting the output of a sensing member to another variable where the form or nature of the sensing member does not constrain the means for converting; Transducers not specially adapted for a specific variable using electric or magnetic means influencing the magnitude of a current or voltage
    • G01D5/20Mechanical means for transferring the output of a sensing member; Means for converting the output of a sensing member to another variable where the form or nature of the sensing member does not constrain the means for converting; Transducers not specially adapted for a specific variable using electric or magnetic means influencing the magnitude of a current or voltage by varying inductance, e.g. by a movable armature
    • G01D5/204Mechanical means for transferring the output of a sensing member; Means for converting the output of a sensing member to another variable where the form or nature of the sensing member does not constrain the means for converting; Transducers not specially adapted for a specific variable using electric or magnetic means influencing the magnitude of a current or voltage by varying inductance, e.g. by a movable armature by influencing the mutual induction between two or more coils
    • G01D5/2073Mechanical means for transferring the output of a sensing member; Means for converting the output of a sensing member to another variable where the form or nature of the sensing member does not constrain the means for converting; Transducers not specially adapted for a specific variable using electric or magnetic means influencing the magnitude of a current or voltage by varying inductance, e.g. by a movable armature by influencing the mutual induction between two or more coils by movement of a single coil with respect to two or more coils

Landscapes

  • Physics & Mathematics (AREA)
  • General Physics & Mathematics (AREA)
  • Transmission And Conversion Of Sensor Element Output (AREA)

Description

本発明は、電磁誘導式絶対位置測定用エンコーダに係り、特に、ノギス、インジケータ、リニアスケール、マイクロメータ等に用いるのに好適な、S/N向上による測定の高精度化、及び/又は、スケール幅、ひいてはエンコーダ幅の縮小によるエンコーダの小型化を図ることが可能な、電磁誘導式絶対位置測定用エンコーダに関する。
特許文献1や2に記載されている如く、図1に特許文献2の例を示すように、測定方向に沿ってスケール10上に多数配列されたスケールコイル14、16と、前記スケール10に対して測定方向に相対移動自在なグリッド(スライダとも称する)12上に配設された送信コイル24、26及び受信コイル20、22とを備え、送信コイルを励磁した時に、スケールコイルを経由して受信コイルで検出される磁束の変化から、スケール10とグリッド12の相対移動量を検出する電磁誘導式エンコーダが知られている。図において、28は送信制御部、30は受信制御部である。
このような電磁誘導式エンコーダで、余分な信号であるオフセットを低減しようとした場合、図2に示す如く、送信コイル24が発生する磁界がキャンセルされ、正味零となる部分(図2の例では、両側の送信コイルの間の中央部分)に受信コイル20を配置することでオフセットを低減していた。なお、特許文献2では、図2の第1の送信コイル24と第1の受信コイル20でなる構成に加えて、図3に示す如く、第2の送信コイル26の両側に第2の受信コイル22も配設されている。
しかしながら、この構成は、スケールコイルが3列必要となり、スケールコイルの配線が長くなるため、発生する誘導電流が、スケールコイル自身のインピーダンスによって減衰してしまい、強い信号が得難いという問題点を有していた。
このような問題点を解決するべく、出願人は特許文献3で、その図6に対応する本願の図4に示す如く、送信コイル24A、24B、受信コイル20A、20Bとスケールコイル14A、14Bを、スケール10の中心に対して対称に複数セット配置し、スケール中心に関して対称な位置にあるスケールコイルの一方(例えば14A)を、他方のスケールコイル(例えば14B)に対し、スケールピッチλの1/2位相がずれた関係となるようにすることを提案している。
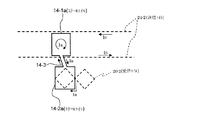
更に、図5に示す如く、スケールコイル、送信コイル及び受信コイルを有するトラックを、異なるスケールピッチλ1、λ2でスケール幅方向(グリッド幅方向)に2組(図の下側の送信コイル24−1と図の上側のスケールコイル14−1a、受信コイル20−1でなるスケールピッチλ1の組と、図の上側の送信コイル24−2と図の下側のスケールコイル14−2a、受信コイル20−2でなるスケールピッチλ2の組)配置して、絶対位置測定を可能とすることが考えられる。図において、14−3は、スケールコイル14−1aと14−2aを接続するコイル(接続コイルと称する)である。
図5上側のスケールピッチλ1のスケールコイル14−1aを受信コイル20−1で検出する動作を図6に示す。図に示すように、駆動電流IDによる送信コイル24−1の駆動によって発生する磁界により、スケールコイル14−2aに誘電電流Iaが発生し、接続コイル14−3を介してスケールコイル14−1aに流れる電流Iaによって発生する磁界を受信コイル20−1で検出する。
一方、図5下側のスケールピッチλ2のスケールコイル14−2aを受信コイル20−2で検出する動作を図7に示す。図に示すように、駆動電流IDによる送信コイル24−2の駆動によって発生する磁界により、スケールコイル14−1aに誘導電流Iaが発生し、接続コイル14−3を介してスケールコイル14−2aに流れる電流Iaによって発生する磁界を受信コイル20−2で検出する。
特開平10−318781号公報 特開2003−121206号公報(図1、図2、図3) 特開2009−186200号公報(図6)
しかしながら図5の構成では、グリッド12上における送信コイル24−1、24−2から受信コイル20−2、20−1への直接のクロストーク量を低減するため、受信コイル20−1(20−2)と送信コイル24−1(24−2)を離した位置に配置する必要があるので、スケール10上のスケールコイルの長さ(スケールコイル14−1aの長さ+スケールコイル14−2aの長さ+接続コイル14−3の長さ)が長くなり、発生する誘導電流Iaがスケールコイル自身のインピーダンスによって減衰してしまい、強い信号が得難いという問題点を有していた。
本発明は、前記従来の問題点を解消するべくなされたもので、送信コイルを励磁した時のスケールコイルでの誘導電流を増加することによって、受信コイルでの検出信号強度を向上して、S/Nの向上による測定の高精度化、及び/又は、スケール幅、ひいてはエンコーダ幅を縮小してエンコーダの小型化を図ることを課題とする。
本発明は、スケール上に、測定方向に沿って互いに異なるスケールピッチで多数配列された2列以上のスケールコイルと、前記スケールに対して測定方向に相対移動自在なグリッド上に、前記スケールコイルと対向するように配設された送信コイル及び受信コイルとを備え、前記送信コイルを励磁した時に、前記スケールコイルを経由して前記受信コイルで検出される磁束の変化から、前記スケールに対する前記グリッドの絶対位置測定を可能とする2つ以上のトラックを有する電磁誘導式絶対位置測定用エンコーダにおいて、少なくとも1つのトラックの前記スケールコイルの測定方向の少なくとも片側に閉じられたコイル配線を付加することにより、前記課題を解決したものである。
ここで、前記スケールコイルの測定方向両側に閉じられたコイル配線を付加することができる。
本発明によれば、図5の構成に比べ、送信コイルと受信コイル間のクロストーク量は同じで、スケールコイル経由の受信信号強度を増加することができる。従って、(1)S/N向上による測定精度の向上、(2)グリッドとスケール間のギャップの拡大、(3)スケールコイルの幅縮小によるスケール幅、ひいてはエンコーダ幅の縮小によるエンコーダの小型化、等を図ることができる。
特許文献2に記載された従来の電磁誘導式エンコーダの全体構成を示す斜視図 同じくグリッド上のコイルの配置及び第1の作用を示す平面図 同じくグリッド上のコイルの配置及び第2の作用を示す平面図 特許文献3に記載された従来の電磁誘導式エンコーダのグリッドとスケールの平面図 発明者が検討中の電磁誘導式絶対位置測定用エンコーダの基本的な構成を示すグリッドとスケールの平面図 図5の下側の送信コイルを駆動して上側の受信コイルで検出する様子を示す要部平面図 図5の上側の送信コイルを駆動して下側の受信コイルで検出する様子を示す要部平面図 本発明の第1実施形態を示すスケールの平面図 図8の下側の送信コイルを駆動して上側の受信コイルで検出する様子を示す要部平面図 図8の上側の送信コイルを駆動して下側の受信コイルで検出する様子を示す要部平面図 本発明の第2実施形態を示すスケールの平面図 同じく第3実施形態を示すスケールの平面図
以下図面を参照して、本発明の実施形態を詳細に説明する。
本発明の第1実施形態は、図8に示す如く、図5と同様のスケールコイル14−1a本体(本体コイルとも称する)の測定方向両側に、図中に破線で示すコイル配線(付加コイルとも称する)14−1b、14−1cを付加してスケールコイル14−1とすると共に、同じく図5と同様のスケールコイル14−2a本体(本体コイルとも称する)の測定方向両側に、図中に破線で示すコイル配線(付加コイルとも称する)14−2b、14−2cを付加してスケールコイル14−2としたものである。
上記の構成によりスケールコイルに発生する誘導電流が増加することを以下に詳細に説明する。
まず、図8上側のスケールピッチλ1のスケールコイル14−1を受信コイル20−1で検出するときは、図9に示す如く、駆動電流IDによる送信コイル24−1の駆動によって発生する磁界により、従来のスケールコイル本体14−2aによる誘導電流Iaに加え、コイル14−2bと14−2cを付加したことにより、それらによる誘導電流Ib+Icが加わる。よって、接続コイル14−3を介してスケールコイル14−1に流れる電流は、I=Ia+Ib+Icとなる。この電流Iはスケールコイル14−1の最短部に流れるため、電流Iのほぼ全てがスケールコイル本体14−1aに流れることとなる。スケールコイル14−1に付加コイル14−1bと14−1cが存在することによる磁界分布等の変化はなく、信号強度のみが向上するため、不都合を発生しない。よって、図5のスケール構成に比べ、受信コイル20−1で検出される信号強度は(Ia+Ib+Ic)/Ia倍に増加する。
一方、図8下側のスケールピッチλ2のスケールコイル14−2を受信コイル20−2で検出するときは、図10に示す如く、上記説明と同様に、駆動電流IDによる送信コイル24−2の駆動によって発生する磁界により、従来のスケールコイル本体14−1aによる誘導電流Iaに加え、コイル14−1bと14−1cを付加したことにより、誘導電流Ib+Icが加わる。よって、接続コイル14−3を介してスケールコイル14−2に流れる電流は、I=Ia+Ib+Icとなる。この電流Iはスケールコイル14−2の最短部に流れるため、電流Iのほぼ全てがスケールコイル本体14−2aに流れることとなる。スケールコイル14−2に付加コイル14−2bと14−2cが存在することによる磁界分布等の変化はなく、信号強度のみが向上するため、不都合を発生しない。よって、図5のスケール構成に比べ、受信コイル20−2で検出される信号強度は(Ia+Ib+Ic)/Ia倍に増加する。
ここで、前記付加コイル14−1b、14−1c、14−2b、14−2cの配線の太さは、信号強度を考えると、スケールコイル本体14−1a、14−2aと同じ太さとすることが好ましいが、配線の太さを変えることもできる。
又、付加コイル14−1bと14−1c、14−2bと14−2cの面積は、それぞれ測定方向両側で同じとすることができ、この場合には、スケールコイル本体14−1a(14−2a)に対する付加コイル14−1b(14−2b)、14−1c(14−2c)の影響を均等にすることができる。尚、測定方向の前後で付加コイルの面積を変え、例えば図11に示す第2実施形態の如く、測定方向の片側(図11では左側)にのみコイル配線14−1b、14−2bを付加することも可能である。
更に、本発明の適用対象は、図8や図11に示した2列のトラックを有するものに限定されず、図12に示す第3実施形態のように、例えばスケールピッチλ2のスケールコイル14−2の上下両側にスケールピッチλ1のスケールコイル14−1を配置した3列のトラックを有するものにも適用することができる。
この第3実施形態においては、上下両側のスケールコイル14−1のみに付加コイル14−1b、14−1cが付加されており、中央のスケールコイル14−2にはコイルが付加されていない。このように一部の付加コイルを省略することもできる。
尚、前記実施形態においては、いずれも、スケールコイルの形状が矩形の枠状とされていたが、スケールコイルの形状は、これに限定されず、例えば、矩形内に電極が存在する板状、あるいは逆に矩形部分を抜いた板状とすることも可能である。
10…スケール
12…グリッド
14−1、14−2…スケールコイル
14−1a、14−2a…本体コイル
14−1b、14−1c、14−2b、14−2c…付加コイル
14−3…接続コイル
20−1、20−2…受信コイル
24−1、24−2…送信コイル

Claims (2)

  1. スケール上に、測定方向に沿って互いに異なるスケールピッチで多数配列された2列以上のスケールコイルと、
    前記スケールに対して測定方向に相対移動自在なグリッド上に、前記スケールコイルと対向するように配設された送信コイル及び受信コイルとを備え、
    前記送信コイルを励磁した時に、前記スケールコイルを経由して前記受信コイルで検出される磁束の変化から、前記スケールに対する前記グリッドの絶対位置測定を可能とする2つ以上のトラックを有する電磁誘導式絶対位置測定用エンコーダにおいて、
    少なくとも1つのトラックの前記スケールコイルの測定方向の少なくとも片側に閉じられたコイル配線を付加したことを特徴とする電磁誘導式絶対位置測定用エンコーダ。
  2. 前記スケールコイルの測定方向両側に閉じられたコイル配線を付加したことを特徴とする請求項1に記載の電磁誘導式絶対位置測定用エンコーダ。
JP2011161399A 2011-07-22 2011-07-22 電磁誘導式絶対位置測定用エンコーダ Expired - Fee Related JP5798397B2 (ja)

Priority Applications (4)

Application Number Priority Date Filing Date Title
JP2011161399A JP5798397B2 (ja) 2011-07-22 2011-07-22 電磁誘導式絶対位置測定用エンコーダ
US13/550,040 US8928311B2 (en) 2011-07-22 2012-07-16 Electromagnetic induction type absolute position measuring encoder
EP12177166.1A EP2549239B1 (en) 2011-07-22 2012-07-19 Electromagnetic induction type absolute position measuring encoder
CN201210254896.7A CN102889899B (zh) 2011-07-22 2012-07-20 电磁感应式绝对位置测量用编码器

Applications Claiming Priority (1)

Application Number Priority Date Filing Date Title
JP2011161399A JP5798397B2 (ja) 2011-07-22 2011-07-22 電磁誘導式絶対位置測定用エンコーダ

Publications (2)

Publication Number Publication Date
JP2013024782A JP2013024782A (ja) 2013-02-04
JP5798397B2 true JP5798397B2 (ja) 2015-10-21

Family

ID=46940206

Family Applications (1)

Application Number Title Priority Date Filing Date
JP2011161399A Expired - Fee Related JP5798397B2 (ja) 2011-07-22 2011-07-22 電磁誘導式絶対位置測定用エンコーダ

Country Status (4)

Country Link
US (1) US8928311B2 (ja)
EP (1) EP2549239B1 (ja)
JP (1) JP5798397B2 (ja)
CN (1) CN102889899B (ja)

Families Citing this family (22)

* Cited by examiner, † Cited by third party
Publication number Priority date Publication date Assignee Title
JP5809479B2 (ja) * 2011-08-03 2015-11-11 株式会社ミツトヨ 電磁誘導式絶対位置測定用エンコーダ
DE102013218768A1 (de) * 2013-09-19 2015-03-19 Dr. Johannes Heidenhain Gmbh Induktive Positionsmesseinrichtung
US9733317B2 (en) * 2014-03-10 2017-08-15 Dmg Mori Seiki Co., Ltd. Position detecting device
US9435663B2 (en) * 2014-08-22 2016-09-06 Mitutoyo Corporation Absolute position encoder scale having layers in a stacked configuration
US9612136B1 (en) * 2015-09-30 2017-04-04 Mitutoyo Corporation Absolute position encoder including a redundant spatial phase signal
JP6234497B2 (ja) * 2016-03-15 2017-11-22 Thk株式会社 エンコーダ装置及びエンコーダ装置付き運動案内装置
US10612943B2 (en) * 2016-08-24 2020-04-07 Mitutoyo Corporation Winding and scale configuration for inductive position encoder
US10520335B2 (en) * 2016-08-24 2019-12-31 Mitutoyo Corporation Winding configuration for inductive position encoder
US10775199B2 (en) * 2016-08-24 2020-09-15 Mitutoyo Corporation Winding and scale configuration for inductive position encoder
JP6877829B2 (ja) * 2017-03-23 2021-05-26 株式会社ミツトヨ 電磁誘導型変位検出装置およびこれを用いた測定器
US10690517B2 (en) * 2017-11-01 2020-06-23 Integrated Device Technology, Inc. Sensor Coil optimization
US10585149B2 (en) * 2017-11-01 2020-03-10 Integrated Device Technology, Inc. Sensor coil optimization
JP7118627B2 (ja) * 2017-12-01 2022-08-16 株式会社ミツトヨ 電磁誘導式位置検出装置
JP6970640B2 (ja) * 2018-04-13 2021-11-24 株式会社ミツトヨ 電磁誘導式エンコーダ
CN209605843U (zh) * 2019-04-11 2019-11-08 郝佳 感应式位置测量传感器
US11169008B2 (en) 2020-03-23 2021-11-09 Mitutoyo Corporation Transmitter and receiver configuration for inductive position encoder
US11181395B2 (en) 2020-03-23 2021-11-23 Mitutoyo Corporation Transmitter and receiver configuration for inductive position encoder
US11067414B1 (en) 2020-03-23 2021-07-20 Mitutoyo Corporation Transmitter and receiver configuration for inductive position encoder
US11713983B2 (en) 2021-06-30 2023-08-01 Mitutoyo Corporation Sensing winding configuration for inductive position encoder
US12072212B2 (en) 2022-08-31 2024-08-27 Mitutoyo Corporation Inductive position encoder utilizing transmissive configuration
US12072213B2 (en) 2022-08-31 2024-08-27 Mitutoyo Corporation Inductive position encoder utilizing slanted scale pattern
US12385764B2 (en) 2022-12-30 2025-08-12 Mitutoyo Corporation Absolute position encoder utilizing single track configuration

Family Cites Families (15)

* Cited by examiner, † Cited by third party
Publication number Priority date Publication date Assignee Title
JPH02278119A (ja) * 1989-04-19 1990-11-14 Omron Corp 電磁誘導式変位センサ
JP2638460B2 (ja) * 1993-12-27 1997-08-06 日本電気株式会社 インダクトシンセンサ
US5886519A (en) * 1997-01-29 1999-03-23 Mitutoyo Corporation Multi-scale induced current absolute position transducer
US6005387A (en) 1997-04-16 1999-12-21 Mitutoyo Corporation Reduced offset high accuracy induced current position transducer
DE10111975B9 (de) * 2000-03-13 2012-11-15 Mitutoyo Corp. Verfahren zur Fehlererfassung für eine Vorrichtung zur Positionserfassung mit elektromagnetischer Induktion
JP4172918B2 (ja) * 2001-01-22 2008-10-29 株式会社ミツトヨ 電磁誘導型絶対位置トランスデューサ
JP3842099B2 (ja) * 2001-10-12 2006-11-08 株式会社ミツトヨ 磁気式エンコーダ
JP3806358B2 (ja) * 2002-02-27 2006-08-09 株式会社ミツトヨ 誘導型位置トランスデューサ
JP3978049B2 (ja) * 2002-02-28 2007-09-19 株式会社ミツトヨ 誘導型位置トランスデューサ
GB2394293A (en) * 2002-10-16 2004-04-21 Gentech Invest Group Ag Inductive sensing apparatus and method
JP2004198253A (ja) * 2002-12-18 2004-07-15 Mitsutoyo Corp 磁気式エンコーダのスケール及び磁気式エンコーダ
JP4199583B2 (ja) * 2003-04-10 2008-12-17 株式会社ミツトヨ 誘導型トランスデューサ
KR101433784B1 (ko) * 2007-01-19 2014-08-27 케이에스알 아이피 홀딩스 엘엘씨. 기준 신호를 사용하는 유도 위치 센서
JP5224838B2 (ja) 2008-02-04 2013-07-03 株式会社ミツトヨ 電磁誘導式エンコーダ
CN101806575B (zh) * 2010-04-24 2012-04-25 上海交通大学 组合编码式涡流栅绝对位置传感器

Also Published As

Publication number Publication date
CN102889899A (zh) 2013-01-23
US8928311B2 (en) 2015-01-06
CN102889899B (zh) 2016-11-23
EP2549239A2 (en) 2013-01-23
JP2013024782A (ja) 2013-02-04
US20130021024A1 (en) 2013-01-24
EP2549239A3 (en) 2017-07-05
EP2549239B1 (en) 2018-04-18

Similar Documents

Publication Publication Date Title
JP5798397B2 (ja) 電磁誘導式絶対位置測定用エンコーダ
JP5809479B2 (ja) 電磁誘導式絶対位置測定用エンコーダ
JP5885382B2 (ja) 電磁誘導式直線型エンコーダ
JP5224838B2 (ja) 電磁誘導式エンコーダ
CN104880141B (zh) 用于力指示卡尺的位移传感器
JP2017187300A (ja) 電流センサ
JP2018004314A (ja) 電流センサ
JP2019138815A (ja) 電流センサ
JPWO2016056135A1 (ja) 電流検出装置、及び電流検出方法
JP5945975B2 (ja) バスバモジュール
JP5676223B2 (ja) 電磁誘導式エンコーダ
JP6134964B2 (ja) 誘導型変位検出装置
KR101870348B1 (ko) 홀효과 증대를 위한 홀플레이트 적층구조 및 이를 이용한 3차원 홀센서
JP4249529B2 (ja) 電磁誘導型トランスジューサ
JP6144597B2 (ja) 電流センサ
JP6390966B2 (ja) 磁束密度センサ
JP2005077150A (ja) 誘導型位置検出装置
JP2002031546A (ja) 磁気式エンコーダ
JP6626199B2 (ja) 電流センサ
HK1114664A (en) Inductive position sensor

Legal Events

Date Code Title Description
A621 Written request for application examination

Free format text: JAPANESE INTERMEDIATE CODE: A621

Effective date: 20140602

A977 Report on retrieval

Free format text: JAPANESE INTERMEDIATE CODE: A971007

Effective date: 20150212

A131 Notification of reasons for refusal

Free format text: JAPANESE INTERMEDIATE CODE: A131

Effective date: 20150317

A521 Request for written amendment filed

Free format text: JAPANESE INTERMEDIATE CODE: A523

Effective date: 20150416

TRDD Decision of grant or rejection written
A01 Written decision to grant a patent or to grant a registration (utility model)

Free format text: JAPANESE INTERMEDIATE CODE: A01

Effective date: 20150818

A61 First payment of annual fees (during grant procedure)

Free format text: JAPANESE INTERMEDIATE CODE: A61

Effective date: 20150821

R150 Certificate of patent or registration of utility model

Ref document number: 5798397

Country of ref document: JP

Free format text: JAPANESE INTERMEDIATE CODE: R150

R250 Receipt of annual fees

Free format text: JAPANESE INTERMEDIATE CODE: R250

R250 Receipt of annual fees

Free format text: JAPANESE INTERMEDIATE CODE: R250

LAPS Cancellation because of no payment of annual fees