JP5796740B2 - 交通情報通知システム、交通情報通知プログラム及び交通情報通知方法 - Google Patents

交通情報通知システム、交通情報通知プログラム及び交通情報通知方法 Download PDF

Info

Publication number
JP5796740B2
JP5796740B2 JP2011270462A JP2011270462A JP5796740B2 JP 5796740 B2 JP5796740 B2 JP 5796740B2 JP 2011270462 A JP2011270462 A JP 2011270462A JP 2011270462 A JP2011270462 A JP 2011270462A JP 5796740 B2 JP5796740 B2 JP 5796740B2
Authority
JP
Japan
Prior art keywords
information
target vehicle
travel
state
notification
Prior art date
Legal status (The legal status is an assumption and is not a legal conclusion. Google has not performed a legal analysis and makes no representation as to the accuracy of the status listed.)
Expired - Fee Related
Application number
JP2011270462A
Other languages
English (en)
Other versions
JP2013122659A (ja
Inventor
昌俊 ▲高▼原
昌俊 ▲高▼原
豪 伊藤
豪 伊藤
広彦 後藤
広彦 後藤
Current Assignee (The listed assignees may be inaccurate. Google has not performed a legal analysis and makes no representation or warranty as to the accuracy of the list.)
Aisin AW Co Ltd
Original Assignee
Aisin AW Co Ltd
Priority date (The priority date is an assumption and is not a legal conclusion. Google has not performed a legal analysis and makes no representation as to the accuracy of the date listed.)
Filing date
Publication date
Application filed by Aisin AW Co Ltd filed Critical Aisin AW Co Ltd
Priority to JP2011270462A priority Critical patent/JP5796740B2/ja
Priority to CN201210480474.1A priority patent/CN103164988B/zh
Publication of JP2013122659A publication Critical patent/JP2013122659A/ja
Application granted granted Critical
Publication of JP5796740B2 publication Critical patent/JP5796740B2/ja
Expired - Fee Related legal-status Critical Current
Anticipated expiration legal-status Critical

Links

Images

Landscapes

  • Traffic Control Systems (AREA)
  • Navigation (AREA)

Description

本発明は、道路に指定された進行方向に対して逆方向に走行する状態である逆走状態の対象車両の走行状態を管理センタ及び対象車両の周辺に存在する周辺車両の少なくとも一方に通知する技術に関する。
高速道路や自動車専用道路など、進行方向が一方向に指定された道路と、一般道路との接続点であるインターチェンジやランプウェイには、誤進入を抑制するために、通行区分を示す標識などが設置されている。しかし、ドライバーの見落としや勘違いなどにより、一般道路への出口となる接続点から車両が誤進入して、高速道路などを逆走する場合がある。このように逆走する車両(逆走車両)の存在は、当該逆走車両のみならず、逆走車両に対向して走行することになる他の車両にとっても好ましいものではない。
特開2010−210435号公報(特許文献1)には、ナビゲーション装置のマップマッチング処理で用いる地図データベース内のリンクの情報を活用し、当該リンクの向きと自車の走行方向との一致/不一致を判定して、不一致の場合には逆走と判定する技術が開示されている(第16段落等)。また、特開2009−140008号公報(特許文献2)には、車載装置と地上処理センターとを含む情報提供システムが開示されている。車載装置は、当該車載装置が搭載された車両の走行軌跡の情報や速度の情報、当該車両が逆走しているか否かの情報などを地上処理センーにアップリンクすることが可能に構成されている。地上処理センターは、車載装置が搭載された車両や、道路に設置された電光表示板に逆走車両の存在を報知する(第13−15、32、33−34段落、図1、図6等)。
このようなシステムは、迅速に有益な情報を提供することができる優れたものであるが、情報を送信する側の車両が頻繁に地上処理センターなどのサーバー装置へ情報を送ると、当該車両及びシステム全体の通信負荷や処理負荷が増大する。また、ユーザーが負担する通信コストも増大する。近年、高機能携帯電話をはじめとして、電波を利用した広域でのワイヤレス通信機器の利用が拡大している。通信量の増大による通信不良も発生しており、限られた電波を効率良く利用することが求められている。
特開2010−210435号公報 特開2009−140008号公報
上記背景に鑑みて、逆走状態の対象車両の走行状態を効果的に且つ効率的に対象車両から通知対象に通知する技術の提供が望まれる。
上記課題に鑑みた本発明に係る交通情報通知システムの特徴構成は、
道路に指定された進行方向に対して逆方向に走行する状態である逆走状態の対象車両の走行状態を管理センタ及び前記対象車両の周辺に存在する周辺車両の少なくとも一方である通知対象に通知する交通情報通知システムであって、
前記対象車両が存在する位置である対象車両位置を特定する車両位置特定部と、
前記対象車両位置において道路に指定された進行方向を示す通行区分の情報を少なくとも含む道路情報を取得する道路情報取得部と、
前記通行区分に対して前記対象車両が走行する方向である走行方向の情報を少なくとも含むと共に、前記対象車両の走行速度及び走行距離の少なくとも一方を含む走行情報を取得する走行情報取得部と、
前記道路情報と前記走行情報と予め規定された逆走判定条件とに基づいて、前記対象車両の前記走行状態が前記逆走状態であるか否かを判定する逆走状態判定部と、
前記対象車両が前記逆走状態であると判定されている場合に、前記対象車両の前記走行情報に基づいて予め規定された通知条件を満たす毎に、前記通知対象に前記走行状態を示す情報である走行状態情報を送信する走行状態情報送信部と、を備え
前記走行状態情報送信部は、前記走行速度又は単位時間当たりの前記走行距離が予め規定された増加量以上増加したことを前記通知条件として、前記対象車両が前記逆走状態であることを示す情報を少なくとも含む前記走行状態情報を送信する点にある。
この特徴構成によれば、交通情報通知システムは、対象車両が逆走状態であると判定されている場合に常に走行状態情報を送信し続けるのではなく、予め規定された通知条件を満たす毎に、通知対象に走行状態情報を送信する。つまり、断続的に対象車両から通知対象に走行状態情報を送信することによって、限られた通信容量を効率良く利用して走行状態情報を送信することができる。また、断続的に走行状態情報を送る構成であっても、予め規定された通知条件を満たす毎に、走行状態情報が送信されるので、適切なタイミングで対象車両から通知対象に効果的に走行状態情報を送信することが可能である。
また、対象車両の走行速度が予め規定された増加量以上増加する場合や、対象車両の単位時間当たりの走行距離が予め規定された増加量以上増加する場合には、対象車両が加速しつつ逆走している可能性が高い。従って、迅速に走行状態情報が送信されることが好ましい。この特徴構成によれば、当該条件を満たす場合には、通知条件を満たしたとして走行状態情報が送信される。
ここで、本発明に係る交通情報通知システムにおいて、前記対象車両の前記走行情報は、前記対象車両の走行速度及び走行距離の少なくとも一方を含み、前記走行状態情報送信部は、前記対象車両が予め規定された要通知速度以上で走行する状態で、前回の前記走行状態情報の送信から予め規定された通知時間間隔及び予め規定された通知距離間隔の少なくとも一方に達したことを前記通知条件として、前記走行状態情報を送信すると好適である。対象車両が要通知速度以上で走行している場合には、対象車両の逆走状態が継続していることが想定されるので、適切なタイミングで走行状態情報が送信されることが好ましい。例えば、前回の走行状態情報の送信から予め規定された通知時間間隔を経過する毎に走行状態情報を送信すると、無駄な送信を抑制しつつ、適切なタイミングで必要な走行状態情報を確実に送信することができる。また、例えば、前回の走行状態情報の送信から予め規定された通知距離間隔を対象車両が走行する毎に走行状態情報を送信すると、対象車両が対向車両に接近する度合いに応じて、無駄な送信を抑制しつつ、適切なタイミングで必要な走行状態情報を確実に送信することができる。あるいは、走行速度と走行距離との双方に基づき、例えば予め規定された通知時間間隔及び予め規定された通知距離間隔の双方に達する毎に走行状態情報を送信すると、さらに無駄な送信を抑制しつつ、適切なタイミングで必要な走行状態情報を確実に送信することができる。つまり、逆走状態になっている対象車両の走行状態を効果的に且つ効率的に対象車両から通知対象に通知することが可能となる。尚、「対象車両が予め規定された要通知速度以上で走行する状態」は、走行情報に含まれる走行速度によって判定されても良いし、走行情報に含まれる走行距離とその間の経過時間とに基づいて演算により求められる速度によって判定されてもよい。
また、本発明に係る交通情報通知システムにおいて、前記走行状態情報は、更に、前記対象車両位置を示す情報、前記対象車両の走行速度の情報、及び前記対象車両が走行する車線の情報、の少なくとも一つを含むと好適である
対象車両が逆走状態であるか否かを判定するためには、対象車両が走行している道路及び走行路が精度良く特定されることが好ましい。また、当該道路や走行路の通行方向の情報も精度良く整備されていることが好ましい。このような条件は、高速道路や自動車専用道路などにおいては比較的整っているため、逆走状態を含む走行状態情報は、高速道路などにおいて通知されると好適である。さらに、走行する車両の速度も考慮すれば、一般道路よりも高速道路など、車両が高速で走行する道路において逆走状態を含む走行状態情報が通知されると好適である。ところで、対象車両がインターチェンジなどの高速道路施設と高速道路の走行路との境界を通過すると、対象車両は高速道路の走行路に存在していないこととなり、精度の高い逆走状態の判定も困難となる可能性や、逆走状態が解消している可能性がある。また、上述したように、走行する車両の速度も考慮すれば、一般道路においては高速道路などと比べて逆走状態を含む走行状態情報の重要性が低くなる。通信の効率や情報提供の効果を考慮すれば、対象車両が高速道路の走行路に存在していない場合には、走行状態情報の送信は必ずしも必要ではない。従って、このような場合には、逆走状態を含む走行状態情報の提供を終了することを通知するために走行状態情報を送信すると好ましい。1つの態様として、本発明に係る交通情報通知システムの前記走行状態情報送信部は、前記対象車両がインターチェンジを少なくとも含む高速道路施設と高速道路の走行路との境界を通過したことを前記通知条件として前記走行状態情報を送信すると好適である。
上述した本発明に係る交通情報通知システムの種々の技術的特徴は、交通情報通知プログラムや、交通情報通知方法にも適用可能である。従って、本発明は、そのような交通情報通知プログラムや、交通情報通知方法も権利の対象とすることができる。例えば、本発明に係る、交通情報通知プログラムは、上述した交通情報通知システムの特徴を備えた各種の機能をコンピュータに実行させることが可能である。以下にその代表的な態様を例示する。当然ながらこのような交通情報通知プログラムも、上述した交通情報通知システムの作用効果を奏することができる。さらに、交通情報通知システムの好適な態様として例示した種々の付加的特徴をこの交通情報通知プログラムに組み込むことも可能であり、当該プログラムはそれぞれの付加的特徴に対応する作用効果も奏することができる。本発明に係る交通情報通知方法についても同様である。
その場合における、本発明に係る交通情報通知プログラムの特徴構成は、
道路に指定された進行方向に対して逆方向に走行する状態である逆走状態の対象車両の走行状態を管理センタ及び前記対象車両の周辺に存在する周辺車両の少なくとも一方である通知対象に通知する交通情報通知プログラムであって、
前記対象車両が存在する位置である対象車両位置を特定する車両位置特定機能と、
前記対象車両位置において道路に指定された進行方向を示す通行区分の情報を少なくとも含む道路情報を取得する道路情報取得機能と、
前記通行区分に対して前記対象車両が走行する方向である走行方向の情報を少なくとも含むと共に、前記対象車両の走行速度及び走行距離の少なくとも一方を含む走行情報を取得する走行情報取得機能と、
前記道路情報と前記走行情報と予め規定された逆走判定条件とに基づいて、前記車両の前記走行状態が前記逆走状態であるか否かを判定する逆走状態判定機能と、
前記車両が前記逆走状態であると判定されている場合に、前記車両の前記走行情報に基づいて予め規定された通知条件を満たす毎に、前記通知対象に前記走行状態を示す情報である走行状態情報を送信する走行状態情報送信機能と、をコンピュータに実現させ
前記走行状態情報送信機能では、前記走行速度又は単位時間当たりの前記走行距離が予め規定された増加量以上増加したことを前記通知条件として、前記対象車両が前記逆走状態であることを示す情報を少なくとも含む前記走行状態情報を送信する点にある。
また、本発明に係る交通情報通知方法の特徴は、
道路に指定された進行方向に対して逆方向に走行する状態である逆走状態の対象車両の走行状態を管理センタ及び前記対象車両の周辺に存在する周辺車両の少なくとも一方である通知対象に通知する交通情報通知システムを用いた交通情報通知方法であって、
車両位置特定部が、前記対象車両が存在する位置である対象車両位置を特定する車両位置特定ステップと、
道路情報取得部が、前記対象車両位置において道路に指定された進行方向を示す通行区分の情報を少なくとも含む道路情報を取得する道路情報取得ステップと、
走行情報取得部が、前記通行区分に対して前記対象車両が走行する方向である走行方向の情報を少なくとも含むと共に、前記対象車両の走行速度及び走行距離の少なくとも一方を含む走行情報を取得する走行情報取得ステップと、
逆走状態判定部が、前記道路情報と前記走行情報と予め規定された逆走判定条件とに基づいて、前記車両の前記走行状態が前記逆走状態であるか否かを判定する逆走状態判定ステップと、
走行状態情報送信部が、前記車両が前記逆走状態であると判定されている場合に、前記車両の前記走行情報に基づいて予め規定された通知条件を満たす毎に、前記通知対象に前記走行状態を示す情報である走行状態情報を送信する走行状態情報送信ステップと、を備え
前記走行状態情報送信ステップでは、前記走行速度又は単位時間当たりの前記走行距離が予め規定された増加量以上増加したことを前記通知条件として、前記対象車両が前記逆走状態であることを示す情報を少なくとも含む前記走行状態情報を送信する点にある。
交通情報システムの構成を模式的に示した俯瞰図 交通情報システム及びナビゲーションシステムの模式的なブロック図 ナビゲーションシステムの構成を模式的に示すブロック図 交通情報通知システムによる処理手順の一例を示すフローチャート 高速道路施設との境界の一例を示す図 一般道路との境界の一例を示す図
以下、本発明の実施形態を図面に基づいて説明する。図1は、本発明に係る交通情報通知システム(通知システム2)を含む交通情報システム1の構成を模式的に示した俯瞰図である。この交通情報システム1は、渋滞情報や道路の状態の情報、道路を走行中の車両の走行情報などの種々の交通情報を収集し、車両等に対してその交通情報を提供するシステムである。本実施形態では図2に示すように、交通情報システム1は、通知システム2(交通情報通知システム)と、管理センタ3と、受信システム4(交通情報受信システム)とを備えて構成される。交通情報は、道路に設置された固定装置や車両(対象車両80)に搭載された移動装置を含む通知システム2によって収集され、通知対象としての管理センタ3に送信される。管理センタ3は、通知システム2から通知された交通情報を収集すると共に、必要に応じて受信システム4に対して交通情報を送信する。尚、受信システム4及び受信システム4が搭載された車両(対象車両の周辺に存在する周辺車両90)を通知対象とし、通知システム2から直接に受信システム4に交通情報が送信されてもよい。
例えば、図1に示す対象車両80は、車両位置(対象車両位置)や、車両の走行速度、走行軌跡等の走行状態情報DIをプローブ情報PIとして、管理センタ3に送信可能な通知システム2を備えて構成されている。このプローブ情報PIは、管理センタ3を介して交通情報TIとして周辺車両90に提供される。あるいは、周辺車両90が対象車両80より送信されたプローブ情報PIを直接受信してもよい。また、対象車両80は、通知システム2を有すると共に受信システム4を有して構成されていてもよく、周辺車両90も、受信システム4を有すると共に通知システム2を有して構成されていてもよい。つまり、各車両(80,90)には、通知システム2及び受信システム4を備えたナビゲーションシステム5が搭載されていると好適である(図2参照)。
本実施形態では、対象車両80は、自車両の走行状態情報DI、少なくとも逆走状態を含む走行状態情報DIをプローブ情報PIとして、管理センタ3及び対象車両80の周辺に存在する周辺車両90の少なくとも一方である通知対象に通知する。ここで、逆走状態とは、道路に指定された進行方向(通行方向)に対して逆方向に走行する状態を示す。図2に示すように、本実施形態では、通知システム2と受信システム4と経路案内システム6とを有してナビゲーションシステム5が構成される。これらナビゲーションシステム5を構成する各システムは、マイクロコンピュータやDSP(digital signal processor)やメモリなどのハードウェアと、プログラムやパラメータなどのソフトウェアとの協働によって実現される。各システムは複数の機能部を有して構成されるが、各機能部が複数のシステムに共通することを妨げるものではない。図3は、ナビゲーションシステム5の構成を模式的に示すブロック図である。図3に示す各機能部は、上述したようにハードウェアとソフトウェアとの協働によって実現される。尚、本発明の交通情報通知システムを構成する機能部は、本発明の交通情報通知プログラムにおける“機能”に相当し、本発明の交通情報通知方法における“ステップ”の実行部に相当する。
経路案内演算部61は、ナビゲーションシステム5及び経路案内システム6の中核となる機能部であり、ナビゲーションシステム5(又は対象車両80)の存在する位置(車両位置)に基づいて、目的地までの経路案内や車両位置における種々の情報提供を実施する。経路案内演算部61は、例えば、探索目的地を設定する目的地設定部や、探索開始位置から探索目的地まで経路探索を行う経路探索部や、探索目的地までの経路案内や車両位置における種々の情報提供を実施する経路案内情報演算部を備えて構成される(不図示)。
経路案内演算部61による案内や情報提供は、例えばユーザーインターフェース部13(ユーザーI/F部)を介してモニタ装置59に提供され、モニタ装置59からユーザーに提供される。モニタ装置59は、スピーカや、タッチパネル等も備えており、ユーザーに対して音声案内を提供したり、ユーザーからの指示入力を受け付けたりすることも可能である。例えば、ユーザーによる探索目的地の設定や、探索目的地の種別の変更などの指示入力は、タッチパネル及びユーザーインターフェース部13を介して経路案内演算部61に伝達される。尚、通知システム2によって送信されるプローブ情報PIや、受信システム4によって受信される交通情報TIも、交通情報取得部42を介して経路案内演算部61に伝達され、モニタ装置59を介して提供される。
車両位置特定部11は、対象車両80が存在する位置である車両位置(対象車両位置)を特定する機能部である。つまり、車両位置特定部11は、経路案内演算部61が目的地までの経路案内や車両位置における種々の情報提供を実施するために、対象車両80の車両位置を特定する。車両位置特定部11は、GPS受信器52、方位センサ53、距離センサ54などにより取得された情報を用いて、GPS(global positioning system)による測量やデッドレコニング(Dead-Reckoning)による自律制御を利用した演算を実行して車両位置を特定する。対象車両80にカメラ51が搭載されているような場合には、車両位置特定部11は、位置精度を高めるために、地物認識機能をさらに付加されていてもよい。即ち、車両位置特定部11は、車両周辺を撮影した画像データから路面に設けられた道路標示(ペイント)などの地物を画像認識すると共に、道路地図データベースに格納された道路表示の位置情報と照合することによって、対象車両80の車両位置を特定してもよい。
道路地図データベース12(道路地図DB)は、道路ネットワークの情報が格納されたデータベースである。例えば、道路地図データベース12には、道路間の接続情報(接続点:ノード、及び、接続点間の道路:リンク)、道路の種別(高速道路、有料道路、国道、県道等の種別)や、道路の長さ、道路の形状、道路幅、通行区分などの情報が、格納されている。通行区分には、高速道路などにおいて当該道路に指定された通行方向も含まれる。また、種々の高速道路施設(サービスエリア、パーキングエリア、インターチェンジ、ランプ、ジャンクション等)の情報も、道路地図データベース12に格納されている。この他、道路地図データベース12には、道路上や道路周辺に設けられた各種の地物(例えば、道路標示、道路標識、信号機、標識、陸橋、トンネル等)の情報、すなわち地物情報が格納されていてもよい。例えば、車両位置特定部11は、カメラ51による撮影画像と、これらの地物情報とを用いて車両位置を特定することができる。
走行情報取得部21は、通知システム2が通知する走行状態情報DI(プローブ情報PI)の元となるデータ(走行情報)を取得する機能部である。例えば、走行情報取得部21は、方位センサ53の検出結果に基づいて対象車両80の走行方向を取得し、距離センサ54の検出結果に基づいて対象車両80の走行速度や走行距離を取得する。また、走行情報取得部21は、車両位置特定部11によって特定された車両位置(対象車両位置)も、走行状態情報DIの元となるデータとして取得する。本実施形態では、通知システム2として逆走状態であるか否かを判定するために、走行情報取得部21は、通行区分に対して対象車両80が走行する方向である走行方向の情報を少なくとも含む走行情報を取得する。
道路情報取得部22は、道路地図データベース12から道路情報を取得する機能部である。本実施形態では、通知システム2として逆走状態であるか否かを判定するために、道路情報取得部22は、車両位置特定部11によって特定された車両位置において道路に指定された進行方向を示す通行区分の情報を少なくとも含む道路情報を道路地図データベース12から取得する。道路情報取得部22が取得した通行区分の情報は、逆走状態判定部23に提供される。
逆走状態判定部23は、道路情報と走行情報と予め規定された逆走判定条件とに基づいて、対象車両80の走行状態が逆走状態であるか否かを判定する機能部である。逆走判定条件とは、例えば、対象車両80の走行方向が道路に指定された進行方向に対して逆方向であり、対象車両80の走行速度が予め規定された基準速度以上であることである。この場合には、逆走状態判定部23は、道路情報取得部22から提供された通行区分の情報と、走行情報取得部21から提供された走行方向の情報及び走行速度の情報とに基づいて、当該走行方向が逆走する方向であるか否かを判定する。当然ながら、対象車両80の走行方向が道路に指定された進行方向に対して逆方向であることのみを条件としてもよい。この場合には、逆走状態判定部23は、道路情報取得部22から提供された通行区分の情報と、走行情報取得部21から提供された走行方向の情報とに基づいて、当該走行方向が逆走する方向であるか否かを判定する。
走行状態情報生成部24は、逆走状態であることを示す情報を含む走行状態情報DI(プローブ情報PI)を生成する機能部である。生成された走行状態情報DIは、管理センタ3や周辺車両90などの通知対象9に走行状態情報DIを送信する走行状態情報送信部25に伝達される。また、ナビゲーションシステム5の内部において当該走行状態情報DIを活用するために、生成された走行状態情報DIは、交通情報取得部42にも伝達される。交通情報取得部42については、後述する。
走行状態情報送信部25は、通知対象9に走行状態を示す情報である走行状態情報DIを送信する機能部である。走行状態情報送信部25は、対象車両80が逆走状態であると判定されている場合に、対象車両80の走行情報に基づいて予め規定された通知条件を満たす毎に、走行状態を示す情報である走行状態情報DIを通知対象9に送信する。走行状態情報送信部25は、対象車両80が逆走状態である間は、継続的に逆走状態であることを送信する。しかし、単純に継続して走行状態情報DIを送信すると、通信負荷やシステムの演算負荷を増大させてしまう。従って、走行状態情報送信部25は、予め規定された通知条件を満たす毎に、走行状態情報DIを送信する。
ここで、通知条件とは、例えば逆走状態であることが未だ通知されていない状態(後述する“逆走通知フラグ”のステータスが“0”の状態)において、逆走状態判定部23によって逆走状態であると判定された(後述する“逆走状態検知フラグ”のステータスが“1”となった)こととすることができる(初期通知条件)。この初期通知条件が満たされた場合には、当該逆走状態において初回の送信が実行され、後述する“逆走通知フラグ”のステータスが“1”に変更される。この初回の送信の後は、他の通知条件(継続通知条件)を満たす毎に走行状態情報DIが送信される。
例えば、対象車両80が予め規定された要通知速度ThV以上で走行する状態で、前回の走行状態情報DIの送信から、予め規定された通知時間間隔ThPT以上の時間が経過したことや、予め規定された通知距離間隔ThTD以上の距離を対象車両80が走行したことが通知条件となる(詳細は、図4のステップ#10〜#12を参照して後述する。)。上述したように、対象車両80の走行速度Vは、距離センサ54の検出結果に基づいて走行情報取得部21が取得している。この際、走行情報取得部21は、速度センサとしても機能する距離センサ54から直接、走行速度を取得しても良いし、距離センサ54の検出結果に基づく走行距離と当該走行距離に対応する走行時間とから走行速度を演算して取得してもよい。つまり、対象車両80が予め規定された要通知速度ThV以上で走行する状態は、距離センサ54などから直接取得された走行速度に基づいて判定されてもよいし、演算によって取得された走行速度に基づいて判定されてもよい。
また、走行速度Vが予め規定された増加量ThdV以上増加したこと、つまり走行速度Vの増加量ΔVが規定された増加量ThdV以上となったことを通知条件としてもよい。この場合も、単位時間当たりの走行距離が予め規定された増加量以上増加したこと、つまり走行距離の増加量が規定された増加量以上となったことを通知条件とすることと等価である。
尚、逆走状態である対象車両80が、インターチェンジから一般道路へ降りた場合や、サービスエリアやパーキングエリアに入った場合や、その中で停車した場合には、高速道路の走行路における逆走状態が解消、又は逆走の検知が終了される。このため、逆走状態であることの通知を終了することを示す走行状態情報DIを通知対象9に送信する必要がある。送信する走行状態情報DIは、逆走状態判定部23の判定結果などに基づいて走行状態情報生成部24によって更新されているから、走行状態情報送信部25は、通知条件を満たせば、逆走状態であることの通知を終了することを示す走行状態情報DIを送信する。この際の通知条件は、例えば、対象車両80がインターチェンジを少なくとも含む高速道路施設と高速道路の走行路との境界を通過したこととすると好適である。
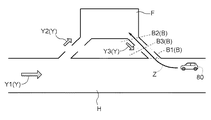
高速道路施設と高速道路の走行路との境界の例を、図5及び図6に示す。図5及び図6においてブロック矢印は、道路に指定された進行方向Y(Y1〜Y3)を示している。Y1は、高速道路の走行路H(本線)の進行方向Yを示しており、Y2は、サービスエリアやパーキングエリアなどの高速道路施設Fや一般道路Rへの走行路Hからの誘導路となる減速車線の進行方向Yを示しており、Y3は、高速道路施設Fや一般道路Rから走行路Hへの誘導路となる加速車線の進行方向Yを示している。また、実線矢印Zは、対象車両80の走行軌跡を示している。
図5及び図6に示すように、対象車両80が走行路H上を逆走状態で走行している場合、例えば、加速車線の進行方向Y3に対して逆行して、高速道路施設Fに進入したり、一般道路Rへ降りたりすることが想定される。1つの態様として、走行路Hと加速車線などの誘導路や接続道路との境を、高速道路施設Fと高速道路の走行路Hとの境界B(B1,B4)として規定することができる。あるいは、対象車両80が誘導路や接続道路上を逆走している間も、逆走状態であることを通知可能とするために、誘導路や接続道路と高速道路施設Fや一般道路Rとの境が、境界B(B2,B5)として規定されてもよい。あるいは、このような誘導路や接続道路の途中が境界B(B3,B6)として規定されてもよい。
走行状態情報送信部25は、上述したような“通知条件”を満たす毎に、不図示のアンテナや変調回路などを有して構成された通信モジュール58を介して、走行状態情報DIを送信する。通信モジュール58は、走行状態情報DIを送信する送信機として機能すると共に受信機としても機能する。つまり、通信モジュール58は、他の車両から送信される走行状態情報DIや、管理センタ3から送信される交通情報TIなどを受信し、交通情報受信部41に伝達する。交通情報受信部41は、通信モジュール58を介して交通情報TIや他の車両から送信された走行状態情報DIを受信する。
交通情報取得部42は、交通情報受信部41が受信した交通情報TIや他の車両の走行状態情報DI、さらに走行状態情報生成部24が生成した自車両(対象車両80)の走行状態情報DIを経路案内演算部61に伝達する。経路案内演算部61は、交通情報取得部42から受け取った情報の重要度や緊急度に応じ、予め規定されたタイミングでユーザーインターフェース部13を介してモニタ装置59に交通情報TIや走行状態情報DIに基づく報知情報を出力する。例えば、交通情報TIや走行状態情報DIに自車両や他車両が逆走状態であるという情報が含まれる場合には、重要度も緊急度も高いので、即時、モニタ装置59を介して表示並びに音声によりユーザーに情報が報知されると好適である。この際、逆走状態にある車両が自車両(対象車両80)である場合には、速やかに逆走状態を解消させるべく、自車両が逆走していること、並びに、路肩等へ車を寄せて速やかに停車すべきことなどを報知すると好適である。また、逆走状態にある車両が他車両である場合には、前方に注意して走行すること、周辺の他車両の回避行動に対しても充分な対応ができるように車間距離を多く取るなどの注意喚起の報知を行うと好適である。
対象車両80の通知システム2から送信される走行状態情報DIには、少なくとも対象車両80が逆走状態であることを示す情報が含まれる。1つの態様として、対象車両80が逆走状態であるか否かは、逆走状態検知フラグによって示される。例えば、逆走状態検知フラグの値が“0”の場合には、対象車両80は逆走状態ではなく、当該フラグの値が“1”の場合には、対象車両80は逆走状態である。また、好ましくは、走行状態情報DIには、逆走状態検知フラグの他、対象車両80の座標(対象車両位置)を示す情報や、対象車両80の走行速度の情報が含まれるとよい。例えば、逆走状態であるという情報を受け取った周辺車両90は、自車(周辺車両90)と逆走している車両(逆走車両、ここでは対象車両80)とが遭遇する時刻等を推定することが可能となる。そして、自車(周辺車両90)の後方に逆走車両が通り過ぎたり、逆走車両の逆走状態が解消されたりするまで、最寄りのサービスエリアなどに避難することも可能である。対象車両80の座標を示す情報は、対象車両位置に限らず、対象車両80が存在するリンクの情報であってもよい。
また、走行路が複数の車線を有している場合には、逆走状態であるという情報を受け取った周辺車両90がより安全な車線を選択することが可能なように、走行状態情報DIに逆走車両(対象車両80)が走行する車線の情報が含まれると好適である。例えば、最寄りのサービスエリアなどに避難したり、最寄りのインターチェンジから一般道路へ避難したりすることができないような位置に逆走車両が存在する場合に、情報を受け取った周辺車両90はより安全な車線を選択することが可能となる。
また、走行状態情報DIは、対象車両80が逆走を開始した地点の情報を含むと好適である。例えば、管理センタ3は、インターチェンジから逆走を開始したか、サービスエリアやパーキングエリアから逆走を開始したか等の情報を集積し、逆走を生じ易い高速道路施設Fを統計的に抽出することが可能となる。そして、当該インターチェンジから高速道路へ進入する車両や、当該サービスエリアなどから出発する車両などに、進行方向を充分に確認するような注意を喚起することが可能となる。
以下、図4のフローチャートを利用して、通知システム2(交通情報通知システム)により走行状態情報を通知する処理手順の一例を説明する。ナビゲーションシステム5の車両位置特定部11により、対象車両80が存在する位置である車両位置(対象車両位置)が特定される(#1:車両位置特定機能/ステップ)。次に、特定された車両位置において道路に指定された進行方向を示す通行区分の情報を少なくとも含む道路情報が、道路情報取得部22により道路地図データベース12から取得される(#2:道路情報取得機能/ステップ)。また、取得された通行区分に対して対象車両80が走行する方向である走行方向の情報を少なくとも含む走行情報が、走行情報取得部21により取得される(#3:走行情報取得機能/ステップ)。尚、機能/ステップ#3において走行情報取得部21は、絶対方位で示された走行方向を取得してもよいし、絶対方位と通行区分により規定された進行方向との角度によって示された走行方向を取得してもよい。あるいは、走行情報取得部21は、通行区分に規定された進行方向に対して対象車両80が進行する方向が正方向であるか逆方向であるかによって示された走行方向を取得してもよい。また、本実施形態においては、走行情報取得部21は、対象車両80の走行速度Vや累積走行距離TDも走行情報として取得する(詳細については後述する。)。
次に、機能/ステップ#1〜#3において取得された各種の情報と、上述したような予め規定された逆走判定条件とに基づいて、逆走状態判定部23により、対象車両80の走行状態が逆走状態であるか否かが判定される(#4:逆走状態判定機能/ステップ)。つまり、道路情報と走行情報と逆走判定条件とに基づいて、逆走状態であるか否かが判定される。逆走状態判定部23は、対象車両80が逆走状態であると判定すると、例えばナビゲーションシステム5を構成するマイクロピュータのフラグレジスタ等により実現される逆走状態検知フラグの値を“1”に設定する(#5:逆走状態判定機能/ステップ)。既に、逆走状態であると判定されていた場合には、逆走状態検知フラグの値が“1”から“1”に再設定される。一方、逆走状態でなないと判定されていた場合には、逆走状態検知フラグの値が“0”から“1”に変更される。同様に、逆走状態判定部23は、対象車両80が逆走状態ではないと判定すると、逆走状態検知フラグの値を“0”に設定する(#21:逆走状態判定機能/ステップ)。既に、逆走状態であると判定されていた場合には、逆走状態検知フラグの値が“1”から“0”に変更される。一方、逆走状態でなないと判定されていた場合には、逆走状態検知フラグの値が“0”から“0”に再設定される。
走行状態情報生成部24は、逆走状態であるか否かを示す情報を含み、対象車両80の走行状態を示す情報である走行状態情報DIを生成する。好適には、対象車両80の走行状態が逆走状態であるか否かに拘わらず、機能/ステップ#1〜#3において取得された各種の情報を用いて走行状態情報が生成されるとよい。走行状態情報DIに、逆走状態検知フラグが含まれていれば、逆走状態検知フラグの値によって逆走状態を示す情報が付加される。つまり、逆走状態である場合に、改めて逆走状態であることを示す情報を付加して走行状態情報DIを生成する必要はなく、単純に逆走状態検知フラグを走行状態情報DIに含めておくだけで、効率的に逆走状態であるか否かを示す情報を含む走行状態情報DIが生成される。
走行状態情報DIを生成する走行状態情報生成機能/ステップは、図4に示すフローチャートとは独立して実行されてもよいし、図4に示すフローチャートの中で1箇所又は複数箇所で実施されてもよい。例えば、図4には不図示であるが、機能/ステップ#5の後に実行されると、機能/ステップ#1〜#3において取得された各種の情報、及び逆走状態検知フラグの値を走行状態情報に反映することができて好適である。また、詳細は後述するが、機能/ステップ#21や#7の後に走行状態情報生成機能/ステップが実行されても好適である。
逆走状態判定部23により、対象車両80の走行状態が逆走状態であるか否かが判定され(#4)、逆走状態検知フラグの値が判定結果に応じて設定されると(#5,#21)、走行状態情報送信部25により、逆走通知フラグの値が判定される(#6,#22:通知状況判定機能/ステップ)。逆走通知フラグは、逆走状態検知フラグと同様に、例えばナビゲーションシステム5を構成するマイクロピュータのフラグレジスタ等により実現される。逆走通知フラグは、対象車両80の走行状態が逆走状態であるという情報を含んだ走行状態情報DIが、同一の逆走状態に対して既に1回以上送信されているか否かを示すフラグである。換言すれば、機能/ステップ#6及び#22は、機能/ステップ#4において逆走状態であると判定された後、初回の走行状態情報DIの送信に至る途上であるか、2回目以降の送信に至る途上であるかを判定する機能/ステップである。
逆走通知フラグは、初期値が“0”であり、逆走状態であるという走行状態を含む走行状態情報DIを送信した後、その値が“1”に設定されるフラグである(#14参照)。従って、機能/ステップ#6において、逆走通知フラグの値が“1”ではない(“0”である)と判定されると、初回の走行状態情報DIの送信に至る途上であることになる。従って、逆走状態の発生を速やかに通知するために、走行状態情報送信機能/ステップ#13に移行し、通信モジュール58を介して通知対象9に走行状態情報DIが送信される。一方、機能/ステップ#6において、逆走通知フラグの値が“1”と判定されると、機能/ステップ#7〜#12に例示するような通知条件を満たす毎に、走行状態情報DIが送信される。以下、機能/ステップ#7〜#12について説明する。機能/ステップ#22〜#24については、機能/ステップ#7〜#12の説明の中で適宜説明する。
上述したように、逆走車両がインターチェンジ(IC)を通過して一般道路に降りたり、サービスエリア(SA)やパーキングエリア(PA)に進入したりした場合には、通知システム2は、逆走状態であることの通知を終了する。そこで、走行状態情報送信部25により、対象車両80が、高速道路施設F(IC/SA/PA)との境界B(図5及び図6参照)を通過したか否かが判定される(#7)。対象車両80が、境界Bを通過した場合には、逆走状態であることを示す情報の提供を終了する情報を含んだ走行状態情報DIが走行状態情報送信部25により送信される(#8)。送信される走行状態情報DIには、通過した境界Bに対応する高速道路施設Fの情報が含まれると好適である。この走行状態情報DIは、例えば、走行状態情報生成部24により、機能/ステップ#7の後に生成、又は部分的に変更(終了情報や高速道路施設Fの情報の追加など)された走行状態情報DIであると好適である。尚、この時点では、逆走状態検知フラグの値は逆走を検知していることを示す“1”のままでよい。
走行状態情報送信部25は、機能/ステップ#8において逆走検知の終了を示す情報を含んだ走行状態情報DIを送信すると、機能/ステップ#24において逆走通知フラグの値を“0”に設定し、機能/ステップ#1からの一連の処理を繰り返す。対象車両80は、高速道路施設Fなどとの境界Bを通過したことによって、逆走判定条件を満たさなくなっている。従って、繰り返し実行される一連の処理における機能/ステップ#4において逆走状態ではないと判定され、機能/ステップ#21において逆走状態検知フラグの値が“0”に変更される。続いて、機能/ステップ#22において逆走通知フラグの値が判定される。逆走通知フラグの値は、既に前回の一連の処理における機能/ステップ#24において“0”に変更されている。従って、走行状態情報送信部25は、走行状態情報DIを送信することなく、逆走通知フラグの値を“0”に再設定して、機能/ステップ#1からの一連の処理を繰り返す。
機能/ステップ#7において、対象車両80が、高速道路施設F(IC/SA/PA)との境界Bを通過していないと判定されると、機能/ステップ#9〜#12の各通知条件を満たすか否かが判定される。機能/ステップ#9においては、走行速度Vの増加量ΔVが予め規定された増加量ThdV以上増加したか否かが判定される。走行速度Vの増加量ΔVが規定された増加量ThdV未満ではない場合(規定された増加量ThdV以上である場合)には、機能/ステップ#13に移行して走行状態情報DIが送信される。この走行状態情報DIは、例えば、走行状態情報生成部24により機能/ステップ#5の後に生成された走行状態情報DIであると好適である。尚、走行速度Vの増加量ΔVに代えて、単位時間当たりの走行距離が予め規定された増加量以上増加したことを通知条件としてもよい。
機能/ステップ#9において走行速度Vの増加量ΔVが規定された増加量ThdV未満であると判定された場合には、機能/ステップ#10に移行して別の通知条件を満たすか否かが判定される。機能/ステップ#10では、対象車両80の走行速度Vが予め規定された要通知速度ThV以上であるか否かが判定される。走行速度Vが要通知速度ThV未満である場合には、対象車両80が対向車に接近する速度も小さくなるので、走行状態情報DIが送信されることなく、機能/ステップ#1からの一連の処理が繰り返される。
尚、上述したように、逆走状態判定機能/ステップ#4においては、対象車両80の走行速度Vが予め規定された基準速度以上であるか否かが逆走判定条件として用いられていた。1つの態様として、要通知速度ThVと逆走判定条件における基準速度とが同じ値に設定されていてもよい。この場合には、既に、逆走状態判定部23により対象車両80の走行速度Vが基準速度以上であること、つまり要通知速度ThV以上であることが判定されていることになるので、機能/ステップ#10を省略することが可能である。当然ながら、機能/ステップ#10を設ける場合には、逆走判定条件における基準速度よりも高い速度に要通知速度ThVが設定されていると好適である。
機能/ステップ#10において、走行速度Vが要通知速度ThV以上であると判定された場合には、前回の走行状態情報DIの送信からの経過時間PTが予め規定された通知時間間隔ThPT以上であるか否かが判定される(#11)。経過時間PTは、例えばナビゲーションシステム5を構成するマイクロピュータのタイマやカウンタなどにより実現される。経過時間PTが通知時間間隔ThPT未満ではない場合(経過時間PTが通知時間間隔ThPT以上の場合)には、機能/ステップ#13に移行して走行状態情報DIが送信される。この走行状態情報DIは、例えば、走行状態情報生成部24により機能/ステップ#5の後に生成された走行状態情報DIであると好適である。
一方、機能/ステップ#11において、経過時間PTが通知時間間隔ThPT以上ではない(経過時間PTが通知時間間隔ThPT未満である)と判定された場合には、機能/ステップ#12において別の通知条件を満たすか否かが判定される。即ち、前回の走行状態情報の送信からの累積走行距離TDが予め規定された通知距離間隔ThTD以上であるか否かが判定される(#12)。累積走行距離TDは、例えばナビゲーションシステム5を構成するマイクロピュータのカウンタや汎用レジスタや加算器などを利用して、距離センサ54の検出結果を積算することによって実現することができる。累積走行距離TDが通知距離間隔ThTD以上の場合には、機能/ステップ#13に移行して走行状態情報DIが送信される。この走行状態情報DIは、例えば、走行状態情報生成部24により機能/ステップ#5の後に生成された走行状態情報DIであると好適である。
機能/ステップ#10及び#11は、対象車両80が予め規定された要通知速度ThV以上で走行する状態で、前回の走行状態情報DIの送信からの経過時間PTが、予め規定された通知時間間隔ThPTに達したこと(条件A)を通知条件として走行状態情報DIを送信する形態を例示している。また、機能/ステップ#10及び#12は、対象車両80が予め規定された要通知速度ThV以上で走行する状態で、前回の走行状態情報DIの送信からの対象車両80の累積走行距離TDが、予め規定された通知距離間隔ThTDに達したこと(条件B)を通知条件として、走行状態情報DIを送信する形態を例示している。
このように、機能/ステップ#10〜#12では、対象車両80が予め規定された要通知速度ThV以上で走行する状態で、条件A又は条件Bを満足することを通知条件とする形態を例示した。しかし、この形態に限定されることなく、対象車両80が予め規定された要通知速度ThV以上で走行する状態で、条件A及び条件Bを満足することを通知条件としてもよい。
また、図4に示した形態では、機能/ステップ#10において対象車両80の走行速度Vが要通知速度ThV未満であると判定された場合には、走行状態情報DIが送信されることなく、機能/ステップ#1からの一連の処理が繰り返される例を示した。しかし、要通知速度ThVが、ゼロでない場合には、対象車両80が低速であっても逆走状態で走行している可能性がある。従って、機能/ステップ#10において対象車両80の走行速度Vが要通知速度ThV未満であると判定された場合でも、前回の走行状態情報DIの送信からの経過時間PTが予め規定された最大通知時間間隔に達したことを通知条件として、走行状態情報DIを送信するように構成されていると好適である。ここで、最大通知時間間隔は、通知時間間隔ThPTよりも大きい値に設定されていると好適である。
尚、機能/ステップ#10において対象車両80の走行速度Vが要通知速度ThV未満であると判定された場合には、例えば、ナビゲーションシステム5を構成するマイクロピュータのタイマやカウンタなどによる経過時間PTの計測を一時的に休止(保持)したり、リセットしてもよい。同様に、例えばナビゲーションシステム5を構成するマイクロピュータのカウンタや汎用レジスタや加算器などによる累積走行距離TDの積算を一時的に一時的に休止(保持)したり、リセットしてもよい。当然ながら、経過時間PTの計測を一時的に休止又はリセットする一方で累積走行距離TDの積算を継続してもよいし、累積走行距離TDの積算を一時的に休止又はリセットする一方で経過時間PTの計測を継続してもよい。
また、図4のフローチャートに例示した“通知条件”は、当該フローチャートのように全てが適用されなくてもよい。例えば、機能/ステップ#9の通知条件と、機能/ステップ#10〜#12の通知条件との何れか一方だけが通知条件として適用されてもよい。また、機能/ステップ#7〜#8の通知条件は、機能/ステップ#9の通知条件及び機能/ステップ#10〜#12の通知条件の一方又は双方と共に適用されてもよいし、適用されなくてもよい。
以上説明したように、本発明によって、逆走状態の対象車両の走行状態を効果的に且つ効率的に対象車両から通知対象に通知することができる交通情報通知システムを提供することが可能となる。
本発明は、道路に指定された進行方向に対して逆方向に走行する状態である逆走状態の対象車両の走行状態を管理センタ及びこの対象車両の周辺に存在する周辺車両の少なくとも一方である通知対象に通知する交通情報通知システムに適用することができる。
ΔV :走行速度の増加量
2 :通知システム(交通情報通知システム)
3 :管理センタ
9 :通知対象
11 :車両位置特定部
21 :走行情報取得部
22 :道路情報取得部
23 :逆走状態判定部
25 :走行状態情報送信部
80 :対象車両
90 :周辺車両
B :境界
DI :走行状態情報
F :高速道路施設
H :走行路
ThPT :通知時間間隔
ThTD :通知距離間隔
ThV :要通知速度
ThdV :予め規定された走行速度の増加量
V :走行速度
Y :道路に指定された進行方向

Claims (6)

  1. 道路に指定された進行方向に対して逆方向に走行する状態である逆走状態の対象車両の走行状態を管理センタ及び前記対象車両の周辺に存在する周辺車両の少なくとも一方である通知対象に通知する交通情報通知システムであって、
    前記対象車両が存在する位置である対象車両位置を特定する車両位置特定部と、
    前記対象車両位置において道路に指定された進行方向を示す通行区分の情報を少なくとも含む道路情報を取得する道路情報取得部と、
    前記通行区分に対して前記対象車両が走行する方向である走行方向の情報を少なくとも含むと共に、前記対象車両の走行速度及び走行距離の少なくとも一方を含む走行情報を取得する走行情報取得部と、
    前記道路情報と前記走行情報と予め規定された逆走判定条件とに基づいて、前記対象車両の前記走行状態が前記逆走状態であるか否かを判定する逆走状態判定部と、
    前記対象車両が前記逆走状態であると判定されている場合に、前記対象車両の前記走行情報に基づいて予め規定された通知条件を満たす毎に、前記通知対象に前記走行状態を示す情報である走行状態情報を送信する走行状態情報送信部と、を備え
    前記走行状態情報送信部は、前記走行速度又は単位時間当たりの前記走行距離が予め規定された増加量以上増加したことを前記通知条件として、前記対象車両が前記逆走状態であることを示す情報を少なくとも含む前記走行状態情報を送信する交通情報通知システム。
  2. 前記対象車両の前記走行情報は、前記対象車両の走行速度及び走行距離の少なくとも一方を含み、前記走行状態情報送信部は、前記対象車両が予め規定された要通知速度以上で走行する状態で、前回の前記走行状態情報の送信から予め規定された通知時間間隔及び予め規定された通知距離間隔の少なくとも一方に達したことを前記通知条件として、前記走行状態情報を送信する請求項1に記載の交通情報通知システム。
  3. 前記走行状態情報は、更に、前記対象車両位置を示す情報、前記対象車両の走行速度の情報、及び前記対象車両が走行する車線の情報、の少なくとも一つを含む請求項1又は2に記載の交通情報通知システム。
  4. 前記走行状態情報送信部は、前記対象車両がインターチェンジを少なくとも含む高速道路施設と高速道路の走行路との境界を通過したことを前記通知条件として前記走行状態情報を送信する請求項1から3の何れか一項に記載の交通情報通知システム。
  5. 道路に指定された進行方向に対して逆方向に走行する状態である逆走状態の対象車両の走行状態を管理センタ及び前記対象車両の周辺に存在する周辺車両の少なくとも一方である通知対象に通知する交通情報通知プログラムであって、
    前記対象車両が存在する位置である対象車両位置を特定する車両位置特定機能と、
    前記対象車両位置において道路に指定された進行方向を示す通行区分の情報を少なくとも含む道路情報を取得する道路情報取得機能と、
    前記通行区分に対して前記対象車両が走行する方向である走行方向の情報を少なくとも含むと共に、前記対象車両の走行速度及び走行距離の少なくとも一方を含む走行情報を取得する走行情報取得機能と、
    前記道路情報と前記走行情報と予め規定された逆走判定条件とに基づいて、前記車両の前記走行状態が前記逆走状態であるか否かを判定する逆走状態判定機能と、
    前記車両が前記逆走状態であると判定されている場合に、前記車両の前記走行情報に基づいて予め規定された通知条件を満たす毎に、前記通知対象に前記走行状態を示す情報である走行状態情報を送信する走行状態情報送信機能と、をコンピュータに実現させ
    前記走行状態情報送信機能では、前記走行速度又は単位時間当たりの前記走行距離が予め規定された増加量以上増加したことを前記通知条件として、前記対象車両が前記逆走状態であることを示す情報を少なくとも含む前記走行状態情報を送信する交通情報通知プログラム。
  6. 道路に指定された進行方向に対して逆方向に走行する状態である逆走状態の対象車両の走行状態を管理センタ及び前記対象車両の周辺に存在する周辺車両の少なくとも一方である通知対象に通知する交通情報通知システムを用いた交通情報通知方法であって、
    車両位置特定部が、前記対象車両が存在する位置である対象車両位置を特定する車両位置特定ステップと、
    道路情報取得部が、前記対象車両位置において道路に指定された進行方向を示す通行区分の情報を少なくとも含む道路情報を取得する道路情報取得ステップと、
    走行情報取得部が、前記通行区分に対して前記対象車両が走行する方向である走行方向の情報を少なくとも含むと共に、前記対象車両の走行速度及び走行距離の少なくとも一方を含む走行情報を取得する走行情報取得ステップと、
    逆走状態判定部が、前記道路情報と前記走行情報と予め規定された逆走判定条件とに基づいて、前記車両の前記走行状態が前記逆走状態であるか否かを判定する逆走状態判定ステップと、
    走行状態情報送信部が、前記車両が前記逆走状態であると判定されている場合に、前記車両の前記走行情報に基づいて予め規定された通知条件を満たす毎に、前記通知対象に前記走行状態を示す情報である走行状態情報を送信する走行状態情報送信ステップと、を備え
    前記走行状態情報送信ステップでは、前記走行速度又は単位時間当たりの前記走行距離が予め規定された増加量以上増加したことを前記通知条件として、前記対象車両が前記逆走状態であることを示す情報を少なくとも含む前記走行状態情報を送信する交通情報通知方法。
JP2011270462A 2011-12-09 2011-12-09 交通情報通知システム、交通情報通知プログラム及び交通情報通知方法 Expired - Fee Related JP5796740B2 (ja)

Priority Applications (2)

Application Number Priority Date Filing Date Title
JP2011270462A JP5796740B2 (ja) 2011-12-09 2011-12-09 交通情報通知システム、交通情報通知プログラム及び交通情報通知方法
CN201210480474.1A CN103164988B (zh) 2011-12-09 2012-11-23 交通信息通知系统及方法

Applications Claiming Priority (1)

Application Number Priority Date Filing Date Title
JP2011270462A JP5796740B2 (ja) 2011-12-09 2011-12-09 交通情報通知システム、交通情報通知プログラム及び交通情報通知方法

Publications (2)

Publication Number Publication Date
JP2013122659A JP2013122659A (ja) 2013-06-20
JP5796740B2 true JP5796740B2 (ja) 2015-10-21

Family

ID=48588036

Family Applications (1)

Application Number Title Priority Date Filing Date
JP2011270462A Expired - Fee Related JP5796740B2 (ja) 2011-12-09 2011-12-09 交通情報通知システム、交通情報通知プログラム及び交通情報通知方法

Country Status (2)

Country Link
JP (1) JP5796740B2 (ja)
CN (1) CN103164988B (ja)

Families Citing this family (16)

* Cited by examiner, † Cited by third party
Publication number Priority date Publication date Assignee Title
DE102014208673A1 (de) 2013-09-06 2015-03-12 Robert Bosch Gmbh Verfahren und Verkehrsüberwachungseinrichtung zum Feststellen einer Falschfahrt eines Kraftfahrzeugs
DE102013224167A1 (de) * 2013-11-26 2015-05-28 Robert Bosch Gmbh Verfahren und Steuer- und Erfassungseinrichtung zum Plausibilisieren einer Falschfahrt eines Kraftfahrzeugs
KR101603618B1 (ko) * 2014-11-12 2016-03-28 현대모비스 주식회사 주변 차량 인지 시스템 및 방법
DE102015213517A1 (de) * 2015-07-17 2017-01-19 Robert Bosch Gmbh Verfahren und Vorrichtung zum Warnen anderer Verkehrsteilnehmer bei einem falsch fahrenden Fahrzeug
DE102015215380A1 (de) * 2015-08-12 2017-02-16 Robert Bosch Gmbh Verfahren und Vorrichtung zum Absichern einer Falschfahrerinformation
JP6731622B2 (ja) * 2016-11-29 2020-07-29 パナソニックIpマネジメント株式会社 車両逆走防止装置、車両逆走防止方法、およびプログラム
US10442429B2 (en) * 2017-03-30 2019-10-15 Ford Global Technologies, Llc Wrong-way vehicle detection
CN109884338B (zh) * 2019-04-11 2021-04-27 武汉小安科技有限公司 共享电动车逆行检测方法、装置、设备及存储介质
CN111127877A (zh) * 2019-11-19 2020-05-08 华为技术有限公司 一种路况信息的监测方法及装置
JP7668515B2 (ja) * 2020-01-07 2025-04-25 株式会社ユピテル システム及びプログラム等
CN111627226A (zh) * 2020-06-01 2020-09-04 上海钧正网络科技有限公司 一种车辆逆行监测网络、方法、装置、介质及电子设备
CN112201055A (zh) * 2020-11-10 2021-01-08 上海悦充网络科技有限公司 一种车辆行驶危险感应识别处理方法及系统
US20220169243A1 (en) * 2020-12-02 2022-06-02 GM Global Technology Operations LLC Reverse operation detection systems and methods
CN113183983B (zh) * 2021-04-07 2024-01-30 浙江吉利控股集团有限公司 控制车辆的方法、装置、电子设备、存储介质及程序产品
CN113870554B (zh) * 2021-09-06 2022-11-25 北京中交兴路信息科技有限公司 一种车辆安全监测方法、装置、存储介质及终端
CN116153085B (zh) * 2023-04-18 2023-08-08 浙江口碑网络技术有限公司 逆行行为处理方法、路网数据提供方法、装置

Family Cites Families (16)

* Cited by examiner, † Cited by third party
Publication number Priority date Publication date Assignee Title
US3876973A (en) * 1973-03-13 1975-04-08 William C Griebel Method and apparatus for deterring wrong way drivers
US6329932B1 (en) * 1997-02-14 2001-12-11 Mannesmann Ag Method for determining traffic data and traffic information exchange
JPH1153697A (ja) * 1997-07-31 1999-02-26 Toyota Motor Corp 対向車両警報装置
JP2002269692A (ja) * 2001-03-14 2002-09-20 Mitsubishi Electric Corp 交通情報提供システム、および交通情報提供システムに用いられる走行情報提供装置
DE202005001927U1 (de) * 2005-02-04 2005-04-07 May Rudi Warnsystem
JP2008077143A (ja) * 2006-09-19 2008-04-03 Kddi Corp プローブ情報収集装置、プローブ情報送信装置およびプローブ情報収集方法
JP2008146151A (ja) * 2006-12-06 2008-06-26 Sumitomo Electric System Solutions Co Ltd 走行データ収集装置、収集プログラム及び方法
JP2008181328A (ja) * 2007-01-24 2008-08-07 Toyota Motor Corp 車両用運転支援装置
JP2009140008A (ja) * 2007-12-03 2009-06-25 Sumitomo Electric Ind Ltd 危険走行情報提供装置、危険走行判定プログラム及び危険走行判定方法
CN100578562C (zh) * 2007-12-28 2010-01-06 云南澜博科技有限公司 用视频监测车辆违法行为的方法
JP2009252065A (ja) * 2008-04-09 2009-10-29 Toyota Motor Corp 運転補助装置
JP5015849B2 (ja) * 2008-04-11 2012-08-29 トヨタ自動車株式会社 逆走警告装置、逆走警告方法
JP2010210435A (ja) * 2009-03-10 2010-09-24 Denso Corp ナビゲーション装置における逆走検出方法
JP2011022828A (ja) * 2009-07-16 2011-02-03 Suzuki Motor Corp 車両逆走防止システム
CN102142200B (zh) * 2009-12-17 2014-04-30 株式会社电装 车辆用防止逆行系统
CN102081844A (zh) * 2011-01-25 2011-06-01 华中科技大学 一种交通视频行为分析与报警服务器

Also Published As

Publication number Publication date
CN103164988A (zh) 2013-06-19
CN103164988B (zh) 2016-06-01
JP2013122659A (ja) 2013-06-20

Similar Documents

Publication Publication Date Title
JP5796740B2 (ja) 交通情報通知システム、交通情報通知プログラム及び交通情報通知方法
US11037382B2 (en) System and method for evaluating operation of environmental sensing systems of vehicles
US11636760B2 (en) Detection and estimation of variable speed signs
EP3528078B1 (en) Vehicle platoon system control for intersections
JP6424761B2 (ja) 運転支援システム及びセンタ
US9024785B2 (en) Traffic information distribution system and traffic information system, traffic information distribution program, and traffic information distribution method
CN107826104B (zh) 用于提供关于运输工具的预计行驶意图的信息的方法
JP4929114B2 (ja) 車両用情報報知装置、情報提供システム、情報報知方法
JP7205695B2 (ja) 運転支援システム
JP5575234B2 (ja) 通信装置、車両間通信制御方法及び車両間通信システム
JP6260912B2 (ja) 渋滞箇所情報提供のための装置、方法、及びプログラム
WO2021261228A1 (ja) 障害物情報管理装置、障害物情報管理方法、車両用装置
JP2017062583A (ja) 危険情報報知システム、サーバ及びコンピュータプログラム
CN111006681A (zh) 一种辅助导航方法、装置、设备和介质
JP6801384B2 (ja) 交通情報提供装置、交通情報提供プログラム、交通情報提供方法および交通情報提供システム
KR101430071B1 (ko) 도로 정보 제공 시스템 및 방법
JP5464035B2 (ja) カーナビゲーションシステム
JP6960956B2 (ja) 車載器およびこれを用いた路車間通信システム並びに路側機情報報知方法
JP5720951B2 (ja) 交通情報配信システム及び交通情報システム、並びに交通情報配信プログラム、交通情報配信方法
US11705000B2 (en) Information generation device, information generation method, and program for information generation device
JP6714944B2 (ja) 運転支援装置、運転支援プログラム、運転支援方法および運転支援システム
JP5811898B2 (ja) 交通情報受信システム及び交通情報受信プログラム及び交通情報受信方法、並びに交通情報システム
JP2013122719A (ja) 交通情報受信システム、交通情報受信プログラム及び交通情報受信方法
JP2008145247A (ja) 車両用現在位置特定装置
JP6484424B2 (ja) 走行システム、ナビゲーション装置、自動走行指示方法、およびプログラム

Legal Events

Date Code Title Description
A621 Written request for application examination

Free format text: JAPANESE INTERMEDIATE CODE: A621

Effective date: 20140314

A977 Report on retrieval

Free format text: JAPANESE INTERMEDIATE CODE: A971007

Effective date: 20141217

A131 Notification of reasons for refusal

Free format text: JAPANESE INTERMEDIATE CODE: A131

Effective date: 20141218

A521 Request for written amendment filed

Free format text: JAPANESE INTERMEDIATE CODE: A523

Effective date: 20150213

TRDD Decision of grant or rejection written
A01 Written decision to grant a patent or to grant a registration (utility model)

Free format text: JAPANESE INTERMEDIATE CODE: A01

Effective date: 20150723

A61 First payment of annual fees (during grant procedure)

Free format text: JAPANESE INTERMEDIATE CODE: A61

Effective date: 20150805

R150 Certificate of patent or registration of utility model

Ref document number: 5796740

Country of ref document: JP

Free format text: JAPANESE INTERMEDIATE CODE: R150

LAPS Cancellation because of no payment of annual fees