JP5778916B2 - 空気入りタイヤ - Google Patents
空気入りタイヤ Download PDFInfo
- Publication number
- JP5778916B2 JP5778916B2 JP2010265570A JP2010265570A JP5778916B2 JP 5778916 B2 JP5778916 B2 JP 5778916B2 JP 2010265570 A JP2010265570 A JP 2010265570A JP 2010265570 A JP2010265570 A JP 2010265570A JP 5778916 B2 JP5778916 B2 JP 5778916B2
- Authority
- JP
- Japan
- Prior art keywords
- modulus
- density
- band
- low
- disposed
- Prior art date
- Legal status (The legal status is an assumption and is not a legal conclusion. Google has not performed a legal analysis and makes no representation as to the accuracy of the status listed.)
- Expired - Fee Related
Links
- 239000000463 material Substances 0.000 claims description 17
- 239000011324 bead Substances 0.000 claims description 15
- 239000002131 composite material Substances 0.000 description 9
- 239000011295 pitch Substances 0.000 description 6
- 239000004677 Nylon Substances 0.000 description 3
- 239000004760 aramid Substances 0.000 description 3
- 229920003235 aromatic polyamide Polymers 0.000 description 3
- 230000000052 comparative effect Effects 0.000 description 3
- 238000011156 evaluation Methods 0.000 description 3
- 239000000835 fiber Substances 0.000 description 3
- 229920001778 nylon Polymers 0.000 description 3
- 238000012360 testing method Methods 0.000 description 3
- 238000004804 winding Methods 0.000 description 3
- 229920000297 Rayon Polymers 0.000 description 2
- 238000004519 manufacturing process Methods 0.000 description 2
- 239000002964 rayon Substances 0.000 description 2
- 229920001875 Ebonite Polymers 0.000 description 1
- 229910000831 Steel Inorganic materials 0.000 description 1
- 239000010426 asphalt Substances 0.000 description 1
- 239000012141 concentrate Substances 0.000 description 1
- 238000013461 design Methods 0.000 description 1
- 230000000694 effects Effects 0.000 description 1
- 238000002474 experimental method Methods 0.000 description 1
- 238000005259 measurement Methods 0.000 description 1
- 238000000034 method Methods 0.000 description 1
- 229920003207 poly(ethylene-2,6-naphthalate) Polymers 0.000 description 1
- 229920000728 polyester Polymers 0.000 description 1
- 239000011112 polyethylene naphthalate Substances 0.000 description 1
- 230000003014 reinforcing effect Effects 0.000 description 1
- 230000000087 stabilizing effect Effects 0.000 description 1
- 239000010959 steel Substances 0.000 description 1
- 239000000725 suspension Substances 0.000 description 1
- 238000010998 test method Methods 0.000 description 1
Images
Classifications
-
- B—PERFORMING OPERATIONS; TRANSPORTING
- B60—VEHICLES IN GENERAL
- B60C—VEHICLE TYRES; TYRE INFLATION; TYRE CHANGING; CONNECTING VALVES TO INFLATABLE ELASTIC BODIES IN GENERAL; DEVICES OR ARRANGEMENTS RELATED TO TYRES
- B60C9/00—Reinforcements or ply arrangement of pneumatic tyres
- B60C9/18—Structure or arrangement of belts or breakers, crown-reinforcing or cushioning layers
- B60C9/20—Structure or arrangement of belts or breakers, crown-reinforcing or cushioning layers built-up from rubberised plies each having all cords arranged substantially parallel
- B60C9/22—Structure or arrangement of belts or breakers, crown-reinforcing or cushioning layers built-up from rubberised plies each having all cords arranged substantially parallel the plies being arranged with all cords disposed along the circumference of the tyre
- B60C9/2204—Structure or arrangement of belts or breakers, crown-reinforcing or cushioning layers built-up from rubberised plies each having all cords arranged substantially parallel the plies being arranged with all cords disposed along the circumference of the tyre obtained by circumferentially narrow strip winding
-
- B—PERFORMING OPERATIONS; TRANSPORTING
- B60—VEHICLES IN GENERAL
- B60C—VEHICLE TYRES; TYRE INFLATION; TYRE CHANGING; CONNECTING VALVES TO INFLATABLE ELASTIC BODIES IN GENERAL; DEVICES OR ARRANGEMENTS RELATED TO TYRES
- B60C9/00—Reinforcements or ply arrangement of pneumatic tyres
- B60C9/18—Structure or arrangement of belts or breakers, crown-reinforcing or cushioning layers
- B60C9/20—Structure or arrangement of belts or breakers, crown-reinforcing or cushioning layers built-up from rubberised plies each having all cords arranged substantially parallel
- B60C9/22—Structure or arrangement of belts or breakers, crown-reinforcing or cushioning layers built-up from rubberised plies each having all cords arranged substantially parallel the plies being arranged with all cords disposed along the circumference of the tyre
- B60C2009/2252—Physical properties or dimension of the zero degree ply cords
- B60C2009/2266—Density of the cords in width direction
- B60C2009/2271—Density of the cords in width direction with variable density
Landscapes
- Engineering & Computer Science (AREA)
- Mechanical Engineering (AREA)
- Tires In General (AREA)
Description
初期歪:10%
振幅:±1%
周波数:10Hz
変形モード:引張
測定温度:70°C
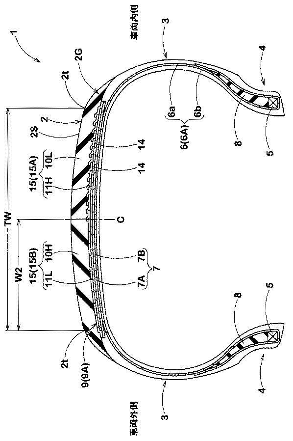
図1に示されるように、本実施形態の空気入りタイヤ(以下、単に「タイヤ」ということがある)1は、トレッド部2からサイドウォール部3をへてビード部4のビードコア5に至るカーカス6と、このカーカス6のタイヤ半径方向外側かつトレッド部2の内部に配されたベルト層7と、このベルト層7のタイヤ半径方向外側に配されるバンド層9と、このバンド層9の外側に配されかつ路面と接地するトレッドゴム2Gとを具えた乗用車用のラジアルタイヤとして構成されている。
このタイヤ1は、車両への装着の向きが指定されたトレッドパターン(図示省略)を有し、装着の向きはタイヤ1のサイドウォール部3などに表示されている。本実施形態のトレッド部2は、タイヤ赤道Cよりも車両外側の領域に、高モジュラス部10Hが配置される一方、タイヤ赤道Cよりも車両内側の領域に、低モジュラス部10Lが配置されている。即ち、モジュラスが異なるゴムの境界がタイヤ赤道C上にある。このようなタイヤ1は、旋回中の接地圧が比較的大きい車両外側に、高モジュラス部10Hが十分に広い領域で配されるとともに、相対的に接地圧が小さい車両内側に、低モジュラス部10Lが配されるため、トレッド部2の摩耗の均一化をより効果的に図ることができる。
タイヤサイズ:225/45R17
リムサイズ:17×7.5J
トレッド接地幅TW:180mm
帯状プライの幅W1:10.5mm
バンドコードのコード材料:ナイロン
バンドコードの構造:1400dtex/2
テストの方法は次の通りである。
各試供タイヤを上記リムにリム組みし、内圧210kPaを充填して、排気量2000ccの国産FR車の全輪に装着し、乾燥アスファルト路面のサーキットコースを合計24km旋回走行(限界走行)した後に、トレッド部の偏摩耗の有無を目視によって観察した。評価は、比較例1を100とする指数であり、数値が大きいほど良好である。
上記車両にて、サーキットコースを旋回したときの挙動等をドライバーのフィーリングにより評価された。評価は、比較例1を100とする指数であり、数値が大きいほど良好である。
上記車両にて、サーキットコースを旋回走行(限界走行)したときのグリップの安定性や駆動力の伝わり方をドライバーの官能により評価した。評価は、比較例1を100とする指数で表示した。数値が大きいほど良好である。
テストの結果を表1に示す。
2 トレッド部
2G トレッドゴム
3 サイドウォール部
4 ビード部
5 ビードコア
6 カーカス
7 ベルト層
9 バンド層
10H 高モジュラス部
10L 低モジュラス部
11H 高密度部
11L 低密度部
12 バンドコード
Claims (6)
- トレッド部からサイドウォール部を経てビード部のビードコアに至るカーカスと、
このカーカスのタイヤ半径方向外側かつトレッド部の内方に配されたベルト層と、
このベルト層のタイヤ半径方向外側に配されかつタイヤ周方向に対して5度以下の角度で配列されたバンドコードを有するバンド層と、
前記バンド層の外側に配されかつ路面と接地するトレッドゴムとを具えた空気入りタイヤであって、
前記トレッドゴムは、少なくとも一方のショルダー領域に配されかつモジュラスが大きいゴム材からなる高モジュラス部と、
この高モジュラス部にトレッド幅方向で隣接しかつ前記高モジュラス部よりもモジュラスが小さいゴム材からなる低モジュラス部とを含み、
前記バンド層は、前記高モジュラス部のタイヤ半径方向内側に配されかつバンドコードの配列密度が小さい低密度部と、
前記低モジュラス部のタイヤ半径方向内側に配されかつバンドコードの配列密度が前記低密度部よりも大きい高密度部とを含み、
前記高密度部のバンドコードの配列密度Baと、前記低密度部のバンドコードの配列密度Bbとの比Ba/Bbであるバンドコード密度比Rbが1.50以上1.81以下であり、
前記高モジュラス部のモジュラスMaと、前記低モジュラス部のモジュラスMbとの比Ma/Mbであるモジュラス比Rmが1.15以上1.5以下であることを特徴とする空気入りタイヤ。 - 前記高モジュラス部は、両側のショルダー領域に配されるとともに、前記低モジュラス部は、ショルダー領域の間かつタイヤ赤道を含むクラウン領域に配される請求項1記載の空気入りタイヤ。
- 車両への装着の向きが指定されるとともに、前記高モジュラス部は車両外側に配される一方、前記低モジュラス部は車両内側に配される請求項1記載の空気入りタイヤ。
- 前記高モジュラス部のタイヤ軸方向の幅が、トレッド接地幅の20%以上である請求項1乃至3のいずれかに記載の空気入りタイヤ。
- 前記モジュラス比Rmと前記バンドコード密度比Rbとの比Rm/Rbが0.78以上1.19以下である請求項4記載の空気入りタイヤ。
- 前記高密度部の配列密度Baは、5〜30(本/cm)である請求項1乃至5のいずれかに記載の空気入りタイヤ。
Priority Applications (1)
| Application Number | Priority Date | Filing Date | Title |
|---|---|---|---|
| JP2010265570A JP5778916B2 (ja) | 2010-11-29 | 2010-11-29 | 空気入りタイヤ |
Applications Claiming Priority (1)
| Application Number | Priority Date | Filing Date | Title |
|---|---|---|---|
| JP2010265570A JP5778916B2 (ja) | 2010-11-29 | 2010-11-29 | 空気入りタイヤ |
Publications (2)
| Publication Number | Publication Date |
|---|---|
| JP2012116246A JP2012116246A (ja) | 2012-06-21 |
| JP5778916B2 true JP5778916B2 (ja) | 2015-09-16 |
Family
ID=46499644
Family Applications (1)
| Application Number | Title | Priority Date | Filing Date |
|---|---|---|---|
| JP2010265570A Expired - Fee Related JP5778916B2 (ja) | 2010-11-29 | 2010-11-29 | 空気入りタイヤ |
Country Status (1)
| Country | Link |
|---|---|
| JP (1) | JP5778916B2 (ja) |
Families Citing this family (5)
| Publication number | Priority date | Publication date | Assignee | Title |
|---|---|---|---|---|
| JP6503241B2 (ja) * | 2015-06-23 | 2019-04-17 | 株式会社ブリヂストン | 航空機用空気入りタイヤ |
| JP7119868B2 (ja) * | 2018-10-03 | 2022-08-17 | 住友ゴム工業株式会社 | タイヤ |
| JP7467964B2 (ja) * | 2019-03-22 | 2024-04-16 | 住友ゴム工業株式会社 | 自動二輪車用タイヤ |
| JP7381869B2 (ja) * | 2019-12-18 | 2023-11-16 | 横浜ゴム株式会社 | 空気入りタイヤ及び空気入りタイヤの製造方法 |
| JP7675514B2 (ja) | 2020-11-20 | 2025-05-13 | 株式会社ブリヂストン | タイヤ |
Family Cites Families (6)
| Publication number | Priority date | Publication date | Assignee | Title |
|---|---|---|---|---|
| JPS6467404A (en) * | 1987-09-07 | 1989-03-14 | Yokohama Rubber Co Ltd | Radial tire |
| JPH0325003A (ja) * | 1989-06-23 | 1991-02-01 | Toyo Tire & Rubber Co Ltd | 超偏平ラジアルタイヤ |
| JP4040893B2 (ja) * | 2002-03-22 | 2008-01-30 | 株式会社ブリヂストン | スクーター用空気入りラジアルタイヤおよびスクーター |
| JP4295795B2 (ja) * | 2007-12-07 | 2009-07-15 | 住友ゴム工業株式会社 | 空気入りタイヤ |
| JP2009262808A (ja) * | 2008-04-25 | 2009-11-12 | Bridgestone Corp | 空気入りタイヤ |
| JP5331377B2 (ja) * | 2008-05-19 | 2013-10-30 | 株式会社ブリヂストン | 空気入りタイヤ |
-
2010
- 2010-11-29 JP JP2010265570A patent/JP5778916B2/ja not_active Expired - Fee Related
Also Published As
| Publication number | Publication date |
|---|---|
| JP2012116246A (ja) | 2012-06-21 |
Similar Documents
| Publication | Publication Date | Title |
|---|---|---|
| JP5756486B2 (ja) | 空気入りタイヤ | |
| JP4377933B2 (ja) | 空気入りタイヤ | |
| JP5412503B2 (ja) | 自動二輪車用タイヤ | |
| US10870318B2 (en) | Pneumatic tire | |
| KR20110060805A (ko) | 공기 타이어 | |
| EP2543522B1 (en) | Two-wheeled automotive vehicle tire | |
| WO2016067513A1 (ja) | 乗用車用空気入りタイヤ | |
| JP5778916B2 (ja) | 空気入りタイヤ | |
| US8944124B2 (en) | Pneumatic tire for a motorcycle | |
| JP2009057022A (ja) | 空気入りタイヤ | |
| CN101795875B (zh) | 重载车用轮胎 | |
| JP4377934B2 (ja) | 空気入りタイヤ | |
| JP5308781B2 (ja) | 空気入りタイヤ | |
| JP5350749B2 (ja) | 二輪自動車用タイヤ対 | |
| JP5103081B2 (ja) | 自動二輪車用空気入りタイヤ | |
| EP3900953B1 (en) | Tire | |
| JP2022143219A (ja) | カート用タイヤ | |
| EP3932695A1 (en) | Motorcycle tire | |
| JP2017121848A (ja) | 空気入りタイヤ | |
| JP6204938B2 (ja) | 空気入りタイヤ | |
| JP2016141317A (ja) | 空気入りタイヤ | |
| JP5449262B2 (ja) | 空気入りタイヤ | |
| JP6141178B2 (ja) | 空気入りタイヤ | |
| JP2014231267A (ja) | 二輪自動車用タイヤ | |
| JP5823795B2 (ja) | 重荷重用空気入りラジアルタイヤ |
Legal Events
| Date | Code | Title | Description |
|---|---|---|---|
| A621 | Written request for application examination |
Free format text: JAPANESE INTERMEDIATE CODE: A621 Effective date: 20130920 |
|
| A977 | Report on retrieval |
Free format text: JAPANESE INTERMEDIATE CODE: A971007 Effective date: 20140523 |
|
| A131 | Notification of reasons for refusal |
Free format text: JAPANESE INTERMEDIATE CODE: A131 Effective date: 20140610 |
|
| A521 | Request for written amendment filed |
Free format text: JAPANESE INTERMEDIATE CODE: A523 Effective date: 20140806 |
|
| A02 | Decision of refusal |
Free format text: JAPANESE INTERMEDIATE CODE: A02 Effective date: 20150127 |
|
| A521 | Request for written amendment filed |
Free format text: JAPANESE INTERMEDIATE CODE: A523 Effective date: 20150427 |
|
| A911 | Transfer to examiner for re-examination before appeal (zenchi) |
Free format text: JAPANESE INTERMEDIATE CODE: A911 Effective date: 20150501 |
|
| TRDD | Decision of grant or rejection written | ||
| A01 | Written decision to grant a patent or to grant a registration (utility model) |
Free format text: JAPANESE INTERMEDIATE CODE: A01 Effective date: 20150630 |
|
| A61 | First payment of annual fees (during grant procedure) |
Free format text: JAPANESE INTERMEDIATE CODE: A61 Effective date: 20150710 |
|
| R150 | Certificate of patent or registration of utility model |
Ref document number: 5778916 Country of ref document: JP Free format text: JAPANESE INTERMEDIATE CODE: R150 |
|
| R250 | Receipt of annual fees |
Free format text: JAPANESE INTERMEDIATE CODE: R250 |
|
| LAPS | Cancellation because of no payment of annual fees |
