JP5715744B2 - 部品搭載方法 - Google Patents

部品搭載方法 Download PDF

Info

Publication number
JP5715744B2
JP5715744B2 JP2008049552A JP2008049552A JP5715744B2 JP 5715744 B2 JP5715744 B2 JP 5715744B2 JP 2008049552 A JP2008049552 A JP 2008049552A JP 2008049552 A JP2008049552 A JP 2008049552A JP 5715744 B2 JP5715744 B2 JP 5715744B2
Authority
JP
Japan
Prior art keywords
component
angle
mounting
suction nozzle
degrees
Prior art date
Legal status (The legal status is an assumption and is not a legal conclusion. Google has not performed a legal analysis and makes no representation as to the accuracy of the status listed.)
Expired - Fee Related
Application number
JP2008049552A
Other languages
English (en)
Other versions
JP2009206405A (ja
Inventor
小沢 正人
正人 小沢
Current Assignee (The listed assignees may be inaccurate. Google has not performed a legal analysis and makes no representation or warranty as to the accuracy of the list.)
Juki Corp
Original Assignee
Juki Corp
Priority date (The priority date is an assumption and is not a legal conclusion. Google has not performed a legal analysis and makes no representation as to the accuracy of the date listed.)
Filing date
Publication date
Application filed by Juki Corp filed Critical Juki Corp
Priority to JP2008049552A priority Critical patent/JP5715744B2/ja
Publication of JP2009206405A publication Critical patent/JP2009206405A/ja
Application granted granted Critical
Publication of JP5715744B2 publication Critical patent/JP5715744B2/ja
Expired - Fee Related legal-status Critical Current
Anticipated expiration legal-status Critical

Links

Images

Landscapes

  • Supply And Installment Of Electrical Components (AREA)

Description

本発明は、部品搭載方法に係り、特に、回転可能な部品吸着用の吸着ノズルを有する搭載ヘッドにより、部品供給部に供給される部品を吸着ノズルで吸着し、該吸着された部品を部品認識カメラで認識し、該認識した結果を用いて該部品を回路基板に搭載する部品搭載方法に用いるのに好適な、吸着ノズルの回転がたなどによる部品搭載精度の低下を防止可能な部品搭載方法に関する。
従来、部品吸着用の吸着ノズルを有する搭載ヘッドにより、IC等の部品を部品供給部から吸着した後、部品搭載部の所定の位置に位置決めされている回路基板上に搭載ヘッドを移動させて、回路基板上の所定の位置に部品を搭載する特許文献1に示す部品搭載装置が、一般的に知られている。このような部品搭載装置は、搭載ヘッドがX軸方向およびY軸方向(平面的)に移動可能とされると共に、吸着ノズルがZ軸方向(X軸、Y軸に対して垂直方向)に移動可能かつZ軸周りに回転可能とされている。即ち、部品搭載装置には、各方向への移動と回転のための駆動手段が設けられている。これらの駆動手段と吸着ノズルに対する負圧供給手段とが部品搭載装置の制御手段によって制御されることにより、部品搭載装置は部品の吸着と搭載とを自動的に行うことができる。
部品搭載装置では、回路基板上の所定の位置に正確に部品を搭載する必要がある。このため、例えば吸着ノズルによる部品吸着位置のずれについては、部品吸着後に部品認識カメラによる撮像等に基づいて部品認識がなされることで、部品吸着位置のずれが算出され、それに応じて部品搭載位置の補正が行われている。又、部品搭載装置の使用開始前や、吸着ノズルを交換したとき等の修理・交換後に、最初に部品搭載位置の誤差を調べ、それに応じた校正データを用いて、部品搭載位置の補正を行うといったことも従来から行われている。
特開昭60−1900号公報
しかしながら、一般に、部品供給部における部品は一定の位置と向きで配置されているが、回路基板上の部品レイアウトによっては、部品の搭載される向きは様々である。つまり、吸着ノズルにより吸着された部品は、必ずしもその吸着された角度のまま、回路基板に搭載されるとはかぎらず、45度や、90度、あるいは180度等に回転される。そして、部品の搭載がなされる角度(搭載角度と称する)に回転された部品は、部品認識カメラで撮像されて搭載位置の誤差を補正すべく、再度回転させられる。このため、その回転方向が、撮像される前に行われた回転方向と変わるおそれがあり、その際には回転がたによる回転誤差も部品搭載位置の位置ずれを生じさせるうることとなる。
更に、この搭載角度の変化に伴って吸着ノズルの回転角や回転方向が変わることで、吸着ノズルの曲がり(ノズルの下降時の垂線からのずれ)や偏心等に起因した部品搭載位置の位置ずれの可能性がある。例えば、部品の搭載に際して、部品認識によって搭載角度が変更される。このとき、搭載角度が0度の場合には吸着ノズルの曲がり(ノズルの下降時の垂線からのずれ)や偏心によって吸着ノズル先端がずれる傾向があるとすると、搭載角度が90度、180度、270度等の場合でも、部品搭載の際に吸着ノズル先端のずれが生じて、部品搭載位置の位置ずれが生じる問題を有していた。
又、搭載角度が90度や180度でない場合は、部品認識カメラの撮像面を形成する個々のセンサ素子の並ぶ方向に対して、認識される部品の形状像の向きと斜めとなってしまい、部品搭載位置の補正をする上で十分な部品認識精度を得ることができないという問題を有していた。
このような問題に対し、部品の搭載角度に応じてソフトウェア的処理で、上述の校正データで部品搭載位置の位置ずれを調整することが考えられる。しかし、校正データには種々の要因による誤差分が含まれ、全ての搭載角度に対して校正データを持つとなると膨大なデータ量となるため、搭載角度に応じてソフトウェア的処理で吸着ノズルの曲がり(ノズルの下降時の垂線からのずれ)等による所定の誤差分だけを調整して、精度良く部品搭載を行うことは極めて困難であった。
本発明は、上記の事情に鑑み、部品の搭載時の角度と部品吸着時の角度とが異なる場合でも、部品認識状態の制御や、吸着ノズルの回転方向・位置条件を部品搭載時に一定に保つことなどにより、回転がた、吸着ノズルの曲がり(ノズルの下降時の垂線からのずれ)、撮像条件等による影響を低減し、部品搭載を精度良く行うことのできる部品搭載方法を提供することを課題とする。
本願の請求項1に係る発明は、部品供給部に供給される部品を吸着ノズルで吸着し、該吸着された部品を部品認識カメラで認識し、該認識した結果を用いて該部品を回路基板に搭載する部品搭載方法において、前記部品供給部における前記部品の供給される角度と前記回路基板における該部品の搭載される角度との差である差分搭載角度が求められる工程と、基準角度にある前記吸着ノズルの角度を所定の回転方向に該差分搭載角度で回転させてから該部品が吸着ノズルに吸着される工程と、該吸着された部品が、該所定の回転方向で前記吸着ノズルと共に、前記部品認識カメラの撮像面を形成する複数のセンサ素子の並ぶ方向と該部品を撮像した際の形状像の向きとが略平行となるように該部品認識カメラの撮像位置に所定角度分だけ回転される工程と、該回転された部品を該撮像位置で認識して、前記回路基板へ搭載する角度である搭載補正角度を求める工程と、該認識された部品を前記吸着ノズルと共に該搭載補正角度まで該撮像位置への回転方向と同じ方向に回転させる工程と、該回転された部品を前記回路基板に搭載する工程と、を備え、前記基準角度にある前記吸着ノズルの方向と、前記部品認識カメラの撮像面を形成する複数のセンサ素子の並ぶ方向と、前記部品供給部に供給される前記部品の方向と、を平行とし、前記搭載補正角度を、前記吸着ノズルの角度が前記基準角度に略同一に戻る角度とし、更に、前記所定角度分を、90*n度(前記差分搭載角度=0のときには、nは1乃至3のいずれかの整数で、該差分搭載角度≠0のときには、nは0乃至3のいずれかの整数)としたものである。
この方法によると、部品の認識前後の吸着ノズルの回転方向が同一なので、回転方向が異なることによる回転がたで生じる誤差に起因する部品搭載位置の位置ずれを防止することができ、精度良く部品を搭載することができる。又、吸着ノズルは、差分搭載角度を回転してから部品を吸着するため、部品搭載時の吸着ノズルの角度位置を、差分搭載角度の回転前の吸着ノズルの角度位置とほぼ同じ角度位置(基準角度と称する)に保つことができる。このため、基準角度での吸着ノズルの曲がりを含めた部品搭載特性は一定なので部品搭載位置は安定している。つまり、部品搭載位置の位置ずれの補正が容易であり、必要に応じて校正データで部品搭載位置の位置ずれを調整することで、より精度良く部品を搭載することができる。
そして、吸着された部品が、前記部品認識カメラの撮像面を形成する複数のセンサ素子の並ぶ方向と部品を撮像した際の形状像の向きとが略平行となるまで所定の回転方向で吸着ノズルと共に回転されるので、撮像面におけるセンサ素子の並び方向により生じる部品の撮像誤差(単に撮像誤差と称する)を低減することができる。このため、部品搭載角度に影響されないで部品認識カメラの認識能力を損なうことなく、部品認識が可能となり認識精度が向上する。認識精度が向上することで、より精度の高い部品搭載が可能となる。
本発明によれば、部品が、部品認識前に回転された方向と同じ方向に部品認識後においても回転されて部品搭載を行うので、回転がたの影響を低減できるため、精度良く部品を搭載することができる。
又、吸着された部品が、前記部品認識カメラの撮像面を形成する複数のセンサ素子の並ぶ方向と該部品を撮像した際の形状像の向きとが略平行となる撮像位置まで所定の回転方向で吸着ノズルと共に回転された場合には、撮像面におけるセンサ素子の並び方向により生じる撮像誤差を低減することができる。このため、部品搭載角度に影響されないで部品認識カメラの認識能力を損なうことなく、部品認識が可能となり認識精度が向上する。認識精度が向上することで、より精度の高い部品搭載が可能となる。
以下、図面を参照して、本発明の実施形態を詳細に説明する。
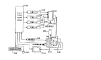
図1は本実施形態に係る部品搭載装置の概略図、図2は部品認識カメラの撮像面の模式図、図3は全体の制御系の構成を表すブロック図、図4は部品吸着動作から部品搭載動作までの全体フロー図の一例を示す図、図5は図4のステップ4以降の主要な部分の詳細フロー図を示す図、図6は差分搭載角度に基づく図5のモードの分担を表す図、図7は図5に示したモード(A)〜(D)で処理した場合の部品と吸着ノズルの角度関係を表した図、図8は図5に示したモード(A)〜(D)で処理した場合の部品と吸着ノズルの別の角度関係を表した図、図9は図5に示した比較例のモード(E)で処理した場合の部品と吸着ノズルの角度関係を表した図である。
最初に、本実施形態の部品搭載装置の構成について説明する。図1に示すように、部品搭載装置100は、部品102が供給される部品供給部106と、部品102(図3参照)を吸着して回路基板104上に搭載する吸着ノズル108を有する搭載ヘッド110と、吸着ノズル108に吸着された部品102の認識を行う部品認識カメラ120と、を備える。更に、図1に示すように、部品搭載装置100は、搭載ヘッド110をXY軸方向に移動させるX軸移動機構112、Y軸移動機構114と、中央部から少し後方で左右方向に延在する基板搬送路118と、本体部130と、を備えている。このような構成により、部品搭載装置100は、部品供給部106に供給される部品102を吸着ノズル108で吸着し、吸着された部品102を部品認識カメラ120で認識し、認識した結果を用いて、吸着ノズル108を制御することで、部品102を回路基板104上の所定の位置に搭載することができる。
前記X軸移動機構112は、図1に示すように、吸着ノズル108を有する搭載ヘッド110をX軸方向に移動させ、またY軸移動機構114は、X軸移動機構112並びに搭載ヘッド110をY軸方向に移動させる。
前記搭載ヘッド110は、吸着ノズル108を垂直方向(Z軸方向)に昇降可能に移動させるZ軸移動機構(図示せず)を備える。そして、吸着ノズル108をそのノズル軸(吸着軸)を中心に回転させるθ軸移動機構(図示せず)を備えている。又、搭載ヘッド110には、回路基板104上に形成された基板マーク(図示せず)を撮像する基板認識カメラ122が搭載されている。
前記部品認識カメラ120は、搭載ヘッド110の可動範囲内の適宜個所、例えば部品供給部106の側部に配置され、吸着ノズル108に吸着された部品102を下方から撮像することができる。部品認識カメラ120において、撮像対象物、例えば部品102であれば、図2(A)に示す如く、部品認識カメラ120の撮像面120Aが複数のセンサ素子120Bで形成されている。当該センサ素子120Bは、平面的に規則正しく並べられているので、撮像面120Aは長方形の形状である。なお、部品供給部106における部品102を撮像した際の形状像の向きは、本実施形態において、部品認識カメラ120の撮像面120Aを形成する複数のセンサ素子120Bの並ぶ方向に対して斜めの角度とはなっておらず、略平行状態である。このため、センサ素子120Bと斜めでない略平行の形状像の傾き誤差θ1は、図2(B)に示す如く、センサ素子120Bに斜めの角度(例えば45度)を有するθ2に比べて小さいので(θ2>θ1)、吸着後に部品102を回転させても回転角度が90度あるいはその倍数(180度、270度、360度等)であれば、部品認識カメラ120はその認識能力を損なうことなく、高精度に部品102の画像を撮影することができる。このような傾き誤差θ1、θ2に係る誤差を、撮像誤差と称する。
部品搭載装置100全体の制御系の構成を図3に示し、関連する構成要素について以下説明する。本体部130に設けられたコントローラ132は、マイクロコンピュータ(CPU)、並びにRAM、ROMを有して、X軸モータ113、Y軸モータ115、Z軸モータ116、θ軸モータ117、表示装置134、記憶装置136、キーボード138、マウス140、画像認識装置142等に接続されて、部品搭載装置100全体を制御する。
ここで、θ軸モータ117は、後述するように吸着ノズル108のθ軸回転機構の駆動源である。即ち、θ軸モータ117とコントローラ132とは、吸着ノズル108を部品102の吸着前に回転させ、且つ、部品102を吸着後に吸着ノズル108と共に所定の回転方向で回転させる回転手段を構成している。又、後述するように、画像認識装置142は、部品認識カメラ120で部品102を撮像して部品認識データをコントローラ132へ伝送する。即ち、θ軸モータ117とコントローラ132と画像認識装置142とは、部品認識カメラ120で部品102を撮像して回路基板104へ搭載する角度(搭載補正角度と称する)βを求めると共に、当該搭載補正角度βまで前述の所定の回転方向と同じ方向に部品102を回転させるように吸着ノズル108を制御する制御手段を構成している。
前記X軸モータ113は、X軸移動機構112の駆動源で、搭載ヘッド110をX軸方向に移動させる。又、前記Y軸モータ115は、Y軸移動機構114の駆動源で、X軸移動機構112をY軸方向に駆動する。
前記Z軸モータ116は、搭載ヘッド110に設けられており、吸着ノズル108をZ軸方向(高さ方向)に昇降させるZ軸駆動機構(図示せず)の駆動源である。又、前記θ軸モータ117は、吸着ノズル108のθ軸回転機構(図示せず)の駆動源である。Z軸モータ116、θ軸モータ117には、それぞれロータリエンコーダからなる位置検出手段116A、117A(図示せず)が設けられており、これらにより吸着ノズル108の上下位置および回転角が検出されるようになっている。なお、搭載ヘッド110には、吸着ノズル108で部品102を吸着するための負圧を供給する配管(図示せず)等が具備されている。
前記表示装置(モニタ)134は、部品データ、演算データ、および部品認識カメラ120で撮像した部品102の画像などをその表示面に表示する。
前記記憶装置136は、フラッシュメモリなどで構成され、キーボード138とマウス140により入力された部品102の端子数、端子配置、大きさ、形などの情報(部品データと称する)や部品供給部106に供給される部品102の位置や向きなどの情報(部品供給データと称する)や回路基板104上の各部品の搭載される位置や角度などの部品レイアウト情報(基板データと称する)、および不図示のホストコンピュータから伝送される部品データ、部品供給データ、基板データなどを格納するのに用いられる。また、基板認識カメラ122で撮像した基板マークによる回路基板104の基板補正データ等も格納される。
前記キーボード138と前記マウス140は、部品データなどのデータを入力するために用いられる。
前記画像認識装置142は、図3に示す如く、吸着ノズル108に吸着された部品102の画像認識を行うもので、メモリ144、CPU146およびA/D変換器148から構成される。ここでは、吸着された部品102を撮像した部品認識カメラ120から出力されるアナログの画像信号をA/D変換器148によりデジタル信号に変換してメモリ144に格納し、CPU146がその画像データに基づいて吸着された部品102の認識を行う。すなわち、画像認識装置142は、部品102中心と傾き(部品認識データと称する)を演算し、部品102の吸着姿勢を認識する。又、画像認識装置142は、基板認識カメラ122に接続されて、基板認識カメラ122で撮像された基板マークの画像を処理して基板マーク位置を認識し、回路基板104の基板補正データを演算することができる。画像認識装置142は、上述した部品認識データと基板補正データとをコントローラ132へ伝送することができる。
次に、本実施形態における部品吸着動作から部品搭載動作までの全体フロー図の一例である図4を用いて、特に角度に注目して説明する。
最初に、部品搭載のための部品吸着動作がスタートすると、回路基板104に部品102を搭載するための生産プログラムの部品搭載リストから回路基板104上の部品搭載位置等に対応する基板データがコントローラ132に読み出される。同時に、部品供給部106の部品102の部品供給データも、予め基板認識カメラ120で基板マークを撮像することで得られた回路基板104の基板補正データ(Δx、Δy、Δθ)もコントローラ132に読み出される(ステップS2)。
次に、上記データより、部品供給部106における部品102の供給される角度(部品供給角度と称する)と回路基板104における部品102の搭載される角度(部品搭載角度と称する)を求め、更にそれらの差である差分搭載角度α(=部品搭載角度―部品供給角度)を求める。ここで、部品102の上面から見て時計回り(CW)を+側、反時計回り(CCW)をマイナス側と定義することで、差分搭載角度α(−φ≦α<360−φ)が算出される(ステップS4)。このときの算出処理は、コントローラ132で行われるため、コントローラ132が演算手段として機能する。
次に、搭載ヘッド110を部品供給部106の上方へ移動させる(ステップS6)。
次に、コントローラ132とθ軸モータ117とで構成される回転手段により、差分搭載角度α(あるいは360−α)で吸着ノズル108を所定の回転方向(後述)に回転させる(ステップS10)。
次に、吸着ノズル108が下降し、吸着ノズル108で部品供給部106に供給された部品102を吸着する。部品吸着後は、吸着ノズル108が部品102を吸着したまま、上昇する(ステップS12)。
次に、吸着ノズル108で吸着された部品102を部品認識カメラ120の上部に移動させて、吸着された部品102が、部品認識カメラ120の撮像面120Aを形成する複数のセンサ素子120Bの並ぶ方向と部品102を撮像した際の形状像の向きとを略平行となる撮像位置まで(所定角度分と称する)、前記所定の回転方向で吸着ノズル108と共に回転される(ステップS14)。
次に、前述の撮像位置・角度(認識位置)において部品認識カメラ120で部品102を撮像する。撮像された部品102の画像は、画像認識装置142で画像処理されて、部品102の認識がなされ、部品102の中心位置・傾きのデータ(部品認識データ)が抽出される(ステップS16)。そして、部品認識データは、コントローラ132へ伝送される。なお、部品認識データはコントローラ132で部品102の上面からの後述する基準角度(0度)を基準とする認識誤差データ(プラス値、マイナス値のいずれをも取りうる値)に変換される。
次に、コントローラ132は、記憶装置136から基板補正データと基板データを読み出して、変換された認識誤差データと、ステップS14で用いた所定角度分を用いて回路基板104へ搭載する角度である搭載補正角度βを求める(ステップS18)。
次に、部品102は、部品102の前述した撮像位置(認識位置)への回転方向(所定の回転方向)と同じ方向に、θ軸モータ117により搭載補正角度βまで回転させられ、角度補正がなされる(ステップS20)。
最後に、角度補正された状態で、吸着ノズル108が回路基板104上に降下して、所定の位置に部品102が搭載される(ステップS22)。
上述した所定の回転方向と所定角度分を説明するために、図5を用いて、図4のステップS4以降を詳細に説明する。なお、便宜的に、吸着ノズル108の部品102が部品供給部106に供給された際の、いわば、部品吸着動作を始める前の角度である基準角度(0度)を、図7〜図9に示すように下方向(実線直線矢印の向き)として、角度はCWをプラス側、CCWをマイナス側として、回転方向を適時CWあるいはCCWで表す。更に、部品供給部106における部品102を撮像した際の形状像の向きは、上述の如く、部品認識カメラ120の撮像面120Aを形成する複数のセンサ素子120Bの並ぶ方向に対して斜めの角度とはなっておらず、略平行の状態である。
差分搭載角度αが算出された後(ステップS4)に、基本的に差分搭載角度αはその角度により4つのモード(A)〜(D)に場合分けがなされる。ただし、モード(A)の特別な場合(0度から−φ度まで)をモード(E)として設けて、図6に差分搭載角度αとモード(A)〜(E)の関係を示す。なお、角度φは、認識誤差データを付加しても、部品搭載まで必ず同一回転方向(所定の回転方向)を確保できるように、モード(A)〜(E)を切り換えるために設けた角度である。角度φは、0より大きく、45度以下とすることができ、部品搭載装置100の仕様や使用環境などの条件で決定することができる。ここで、角度φが45度のとき、モード(A)とモード(E)が同じ角度範囲となるので(図6参照)、角度φは45度以下としたものである。
差分搭載角度αが0≦α<(90−φ)度のとき(ステップS80、S86でYES)、図6に示す如く、モード(A)の動作を行うこととなる。即ち、図5に示す如く、所定の回転方向としてCCW方向に、吸着ノズル108が差分搭載角度α度回転される(ステップS100)。そして、吸着ノズル108で、部品102を吸着する(ステップS120)。次に、部品102を、前述した所定の回転方向と同じ方向であるCCW方向に、所定角度分として90度回転させる(ステップS140)。
次に、部品102は、部品認識カメラ120で撮像され認識誤差データを求め演算処理にて、搭載補正角度βが算出される(ステップS180)。ここで、部品供給部106における部品102を撮像した際の形状像の向きは、上述の所定角度分の定義から、部品認識カメラ120の撮像面120Aを形成する複数のセンサ素子120Bの並ぶ方向に対して斜めの角度とはなっていない。このため、部品吸着後に所定角度分である90度で部品102を回転させても部品102の形状像の向きは、撮像位置において部品認識カメラ120の撮像面120Aを形成する複数のセンサ素子120Bの並ぶ方向に対して斜めの角度とはならず、略並行となる。このため、部品102に微細な多数の端子が設けられた場合であっても、部品認識カメラ120の認識能力を損なうことなく、部品102の傾きを敏感に認識することができる。
又、吸着ノズル108は、部品102の吸着前に差分搭載角度αを回転方向であるCCW方向に、基準角度から回転されて、部品102を吸着している。このため、吸着ノズル108の角度をほぼ基準角度に戻すことで、差分搭載角度αによる部品102の搭載が実現できることとなる。
なお、吸着ノズル108は、部品102を吸着してから部品認識までにCCW方向に90度回転しており、部品102の吸着前に既にCCW方向にα度回転しているから、部品認識によって求められる認識誤差データを付加し、搭載補正角度βは、CCW方向に(270−α+認識誤差データ)度となる。差分搭載角度αは0≦α<(90−φ)で、角度φが0<φ≦45で、搭載補正角度βは、0よりも大きい値となる。
次に、吸着ノズル108が移動されて、前述した所定の回転方向と同一方向であるCCW方向に搭載補正角度β度まで回転される(ステップS200)。
差分搭載角度αが(90−φ)度以上で、(180−φ)度よりも小さいとき(ステップS82でYES)、図6に示す如く、モード(B)の動作を行うこととなる。
即ち、図5に示す如く、所定の回転方向としてCCW方向に、吸着ノズル108が差分搭載角度α度回転される(ステップS102)。そして、吸着ノズル108で、部品102を吸着する(ステップS122)。
次に、部品102は、部品認識カメラ120で撮像され認識誤差データを求め演算処理にて、搭載補正角度βが算出される(ステップS182)。なお、ここでの撮像位置(認識位置)までの所定角度分は0(回転移動しない)である。ここで、部品供給部106における部品102を撮像した際の形状像の向きは、上述のように、部品認識カメラ120の撮像面120Aを形成する複数のセンサ素子120Bの並ぶ方向に対して斜めの角度とはなっていない。このため、部品吸着後に部品102は、撮像位置において部品認識カメラ120の撮像面120Aを形成する複数のセンサ素子120Bの並ぶ方向に対して斜めの角度とはならず、略平行となる。このため、部品102に微細な多数の端子が設けられた場合であっても、部品認識カメラ120の認識能力を損なうことなく、部品102の傾きを敏感に認識することができる。
又、吸着ノズル108は、部品102の吸着前に差分搭載角度αを回転方向であるCCW方向に、基準角度から回転されて、部品102を吸着している。このため、吸着ノズル108の角度をほぼ基準角度に戻すことで、差分搭載角度αによる部品102の搭載が実現できることとなる。
なお、吸着ノズル108は、部品102を吸着してから部品認識まで回転されていないが、部品102の吸着前に既にCCW方向にα度回転しているから、部品認識によって求められる認識誤差データを付加し、搭載補正角度βは、CCW方向に(270−(α−90)+認識誤差データ)度となる。差分搭載角度αは(90−φ)≦α<(180−φ)で、角度φが0<φ≦45で、搭載補正角度βは、0よりも大きい値となる。
次に、吸着ノズル108が移動されて、前述した所定の回転方向と同一方向であるCCW方向に搭載補正角度β度まで回転される(ステップS202)。
差分搭載角度αが(180−φ)度以上で、(270−φ)度よりも小さいとき(ステップS84でYES)、図6に示す如く、モード(C)の動作を行うこととなる。
即ち、図5に示す如く、所定の回転方向としてCW方向に、吸着ノズル108が差分搭載角度(360−α)度回転される(ステップS104)。そして、吸着ノズル108で、部品102を吸着する(ステップS124)。次に、部品102を、前述した所定の回転方向と同じ方向であるCW方向に、所定角度分として90度回転させる(ステップS144)。
次に、部品102は、部品認識カメラ120で撮像され認識誤差データを求め演算処理にて、搭載補正角度βが算出される(ステップS184)。ここで、部品供給部106における部品102を撮像した際の形状像の向きは、上述のように、部品認識カメラ120の撮像面120Aを形成する複数のセンサ素子120Bの並ぶ方向に対して斜めの角度とはなっていない。このため、部品吸着後に所定角度分である90度で部品102を回転させても部品102の形状像の向きは、撮像位置において部品認識カメラ120の撮像面120Aを形成する複数のセンサ素子120Bの並ぶ方向に対して斜めの角度とはならず、略平行である。このため、部品102に微細な多数の端子が設けられた場合であっても、部品認識カメラ120の認識能力を損なうことなく、部品102の傾きを敏感に認識することができる。
又、吸着ノズル108は、部品102の吸着前に差分搭載角度(360−α)を回転方向であるCW方向に、基準角度から回転されて、部品102を吸着している。このため、吸着ノズル108の角度をほぼ基準角度に戻すことで、差分搭載角度αによる部品102の搭載が実現できることとなる。
なお、吸着ノズル108は、部品102を吸着してから部品認識までにCW方向に90度回転しており、部品102の吸着前に既にCW方向に(360−α)度回転しているから、部品認識によって求められる認識誤差データを付加し、搭載補正角度βは、CW方向に(α−90)−認識誤差データ)度となる。差分搭載角度αは(180−φ)≦α<(270−φ)で、角度φが0<φ≦45で、搭載補正角度βは、0よりも大きい値となる。
なお、モードA(、B、E)と、モードC(、D)とは吸着ノズル108の回転方向が異なる。そのため、モードC(、D)は、上述の如く、モードA(、B、E)の搭載補正角度βを求める際の認識誤差データの加減算が逆となっている。
次に、吸着ノズル108が移動されて、前述した所定の回転方向と同一方向であるCW方向に搭載補正角度β度まで回転される(ステップS204)。
差分搭載角度αが(270−φ)度以上で、(360−φ)度よりも小さいとき(ステップS84でNO)、図6に示す如く、モード(D)の動作を行うこととなる。
即ち、図5に示す如く、所定の回転方向としてCW方向に、吸着ノズル108が差分搭載角度(360−α)度回転される(ステップS106)。そして、吸着ノズル108で、部品102を吸着する(ステップS126)。次に、部品102を、前述した所定の回転方向と同じ方向であるCW方向に、撮像位置(認識位置)へ所定角度分として180度回転させる(ステップS146)。
次に、部品102は、部品認識カメラ120で撮像され認識誤差データを求め演算処理にて、搭載補正角度βが算出される(ステップS186)。ここで、部品供給部106における部品102を撮像した際の形状像の向きは、上述のように、部品認識カメラ120の撮像面120Aを形成する複数のセンサ素子120Bの並ぶ方向に対して斜めの角度とはなっていない。このため、部品吸着後に所定角度分である180度で部品102を回転させても部品102の形状像の向きは、撮像位置において部品認識カメラ120の撮像面120Aを形成する複数のセンサ素子120Bの並ぶ方向に対して斜めの角度とはならず、略平行である。このため、部品102に微細な多数の端子が設けられた場合であっても、部品認識カメラ120の認識能力を損なうことなく、部品102の傾きを敏感に認識することができる。
又、吸着ノズル108は、部品102の吸着前に差分搭載角度(360−α)を回転方向であるCW方向に、基準角度から回転されて、部品102を吸着している。このため、吸着ノズル108の角度をほぼ基準角度に戻すことで、差分搭載角度αによる部品102の搭載が実現できることとなる。
なお、吸着ノズル108は、部品102を吸着してから部品認識までにCW方向に180度回転しており、部品102の吸着前に既にCW方向に(360−α)度回転しているから、部品認識によって求められる搭載補正角度βは、CW方向に((α−180)−認識誤差データ)度となる。差分搭載角度αは(270−φ)≦α<(360−φ)で、角度φが0<φ≦45で、認識誤差データは角度φに比べて小さいので、搭載補正角度βは、0よりも大きい値となる。
次に、吸着ノズル108が移動されて、前述した所定の回転方向と同一方向であるCW方向に搭載補正角度β度まで回転される(ステップS206)。
差分搭載角度αが(−φ)度と0度の間のとき(ステップS80でYES、ステップS86でNO)、図6に示す如く、比較例のモード(E)の動作を行うことができる
即ち、CW方向に、吸着ノズル108が差分搭載角度α度回転される(ステップS108)。そして、吸着ノズル108で、部品102を吸着する(ステップS128)。次に、部品102を、前述の回転方向と逆方向であるCCW方向(所定の回転方向)に、所定角度分として90度回転させる(ステップS148)。その後、部品認識カメラ120で、吸着された部品102が撮像され認識誤差データを求め演算処理にて、搭載補正角度βが算出される(ステップS188)。
ここで、モード(A)で説明したように、部品102は部品認識カメラ120の撮像面120Aを形成する複数のセンサ素子120Bの並ぶ方向に対して斜めの角度とはならない。このため、部品認識カメラ120の認識能力を損なうことなく、部品102の傾きを敏感に認識することができる。
次に、吸着ノズル108は移動されて、前述した撮像位置(認識位置)への回転方向と同一方向であるCCW方向に搭載補正角度β度まで回転される(ステップS208)。
上述した動作を具体的に適用した例を図7〜9に示す。
図7には、差分搭載角度αが、0度、90度、180度、270度のときのそれぞれ(それぞれはモード(A)〜(D)に対応)において、図の左から、吸着ノズル108が基準角度にあるとき(図4のステップS10より前の状態、若しくは図5のステップS100〜S108より前の状態)、吸着ノズル108で部品102を吸着したとき(図4のステップS12の状態、若しくは図5のステップS120〜S128の状態)、部品102を部品認識カメラ120で認識しているとき(図4のステップS16の状態、若しくは図5のステップS140〜S148とS180〜S188との間の状態)、部品102を搭載補正角度βで回転したとき(図4のステップS20の状態、若しくは図5のステップS200〜S208の状態)を示している。なお、図7中の点線の円周方向矢印は、吸着ノズル108の回転方向と回転角を示している。同じく、実線の円周方向矢印は、部品供給部106における部品供給角度から、回路基板104における部品搭載角度までの回転角度を示している。部品102には、その上面に部品の回転角度を示すために便宜的に部品マーク102Aを設けている。
又、図8には、差分搭載角度αが、45度、135度、225度、315度のときのそれぞれ(それぞれはモード(A)〜(D)に対応)を示しており、図9には、差分搭載角度αが、350度のとき(モード(E)に対応)を示している。なお、図9において、角度φは、例えば、15度としている。
このようにして、部品搭載角度が図7の条件(0度、90度、180度、270度)、図8の条件(45度、135度、225度、315度)と変わっても、吸着ノズル108が基本的に4つのモードにより定められた処理内容に沿って、部品吸着前に差分搭載角度だけ予め回転されて、部品102が吸着された後に所定の回転方向に回転され、部品認識後には当該所定の回転方向と同一の方向に回転されるので、吸着ノズル108はその部品吸着動作前から最大で(360+φ)度程度回転されることで部品搭載位置に移動し、部品102が搭載されることとなる。これにより、吸着ノズル108の曲がりや偏心等がある場合において部品搭載角度が変わっても、精度の高い安定した部品搭載精度が確保される。詳細に説明すると以下のように示すことができる。
部品102の認識前後の吸着ノズル108の回転方向が同一なので、回転方向が異なることによる回転がたにより生じる誤差に起因する部品搭載位置の位置ずれを防止することができ、精度良く部品102を搭載することができる。
又、吸着ノズル108は、差分搭載角度αを回転してから部品102を吸着するため、部品搭載時の吸着ノズル108の角度位置を、差分搭載角度の回転前の吸着ノズル108の角度位置とほぼ同じ位置(基準角度)に保つことができる。つまり、吸着ノズル108の同一の角度位置(基準角度)で部品搭載を行うことができる。このため、基準角度での吸着ノズル108の曲がりを含めた部品搭載特性は一定なので部品搭載位置は安定している。つまり、部品搭載位置の位置ずれの補正が容易であり、必要に応じて校正データで部品搭載位置の位置ずれを調整することで、より精度良く部品を搭載することができる。
更に、吸着された部品102が、前記部品認識カメラ120の撮像面120Aを形成する複数のセンサ素子120Bの並ぶ方向と部品102を撮像した際の形状像の向きとが略平行となるまで所定の回転方向で吸着ノズル108と共に回転されるので、撮像面120Aにおけるセンサ素子120Bの並び方向により生じる部品102の撮像誤差を低減することができる。このため、部品搭載角度に影響されないで、部品認識カメラ120の認識能力を損なうことなく、部品認識が可能となり認識精度が向上する。認識精度が向上することで、より精度の高い部品搭載が可能となる。
本発明について本実施形態を挙げて説明したが、本発明は本実施形態に限定されるものではない。即ち、本発明の要旨を逸脱しない範囲においての改良並びに設計の変更が可能なことは言うまでもない。
又、例えば、本実施形態においては、図5〜図9の説明において部品供給部106における部品102の向き、吸着ノズル108の基準角度、モード(A)〜(E)の決め方、吸着ノズル108の回転方向・角度と規則、などを定めて説明したが、本発明はこれに限定されるものではない。
又、図10に示す如く、より認識精度を向上させるために部品認識時の部品102の角度を同一にすることも可能である。例えば、モード(A)の角度を基準にし、モード(B)では認識時にさらにCCW方向に90度、モード(C)ではさらにCW方向に180度、モード(D)ではさらにCW方向に90度回転させて部品102を認識し、部品搭載時はその撮像位置(認識位置)からの回転分を補正して部品搭載することができる。
本実施形態に係る部品搭載装置の概略図 同じく部品認識カメラの撮像面の模式図 同じく全体の制御系の構成を表すブロック図 同じく部品吸着動作から部品搭載動作までの全体フロー図の一例を示す図 同じく図4のステップS4以降の主要な部分の詳細フロー図を示す図 同じく差分搭載角度に基づく図5のモードの分担を表す図 同じく図5に示したモード(A)〜(D)で処理した場合の部品と吸着ノズルの角度関係を表した図 同じく図5に示したモード(A)〜(D)で処理した場合の部品と吸着ノズルの別の角度関係を表した図 5に示した比較例のモード(E)で処理した場合の部品と吸着ノズルの角度関係を表した図 別の実施形態におけるモード(A)〜(D)で処理した場合の部品と吸着ノズルの角度関係を表した図
符号の説明
100…部品搭載装置
102…部品
104…回路基板
106…部品供給部
108…吸着ノズル
110…搭載ヘッド
112…X軸移動機構
113…X軸モータ
114…Y軸移動機構
115…Y軸モータ
116…Z軸モータ
117…θ軸モータ
120…部品認識カメラ
120A…撮像面
120B…センサ素子
122…基板認識カメラ
132…コントローラ
136…記憶装置
142…画像認識装置

Claims (1)

  1. 部品供給部に供給される部品を吸着ノズルで吸着し、該吸着された部品を部品認識カメラで認識し、該認識した結果を用いて該部品を回路基板に搭載する部品搭載方法において、
    前記部品供給部における前記部品の供給される角度と前記回路基板における該部品の搭載される角度との差である差分搭載角度が求められる工程と、
    基準角度にある前記吸着ノズルの角度を所定の回転方向に該差分搭載角度で回転させてから該部品が吸着ノズルに吸着される工程と、
    該吸着された部品が、該所定の回転方向で前記吸着ノズルと共に、前記部品認識カメラの撮像面を形成する複数のセンサ素子の並ぶ方向と該部品を撮像した際の形状像の向きとが略平行となるように該部品認識カメラの撮像位置に所定角度分だけ回転される工程と、
    該回転された部品を該撮像位置で認識して、前記回路基板へ搭載する角度である搭載補正角度を求める工程と、
    該認識された部品を前記吸着ノズルと共に該搭載補正角度まで該撮像位置への回転方向と同じ方向に回転させる工程と、
    該回転された部品を前記回路基板に搭載する工程と、
    を備え
    前記基準角度にある前記吸着ノズルの方向と、前記部品認識カメラの撮像面を形成する複数のセンサ素子の並ぶ方向と、前記部品供給部に供給される前記部品の方向と、を平行とし、
    前記搭載補正角度を、前記吸着ノズルの角度が前記基準角度に略同一に戻る角度とし、
    更に、前記所定角度分を、90*n度(前記差分搭載角度=0のときには、nは1乃至3のいずれかの整数で、該差分搭載角度≠0のときには、nは0乃至3のいずれかの整数)としていることを特徴とする部品搭載方法。
JP2008049552A 2008-02-29 2008-02-29 部品搭載方法 Expired - Fee Related JP5715744B2 (ja)

Priority Applications (1)

Application Number Priority Date Filing Date Title
JP2008049552A JP5715744B2 (ja) 2008-02-29 2008-02-29 部品搭載方法

Applications Claiming Priority (1)

Application Number Priority Date Filing Date Title
JP2008049552A JP5715744B2 (ja) 2008-02-29 2008-02-29 部品搭載方法

Publications (2)

Publication Number Publication Date
JP2009206405A JP2009206405A (ja) 2009-09-10
JP5715744B2 true JP5715744B2 (ja) 2015-05-13

Family

ID=41148362

Family Applications (1)

Application Number Title Priority Date Filing Date
JP2008049552A Expired - Fee Related JP5715744B2 (ja) 2008-02-29 2008-02-29 部品搭載方法

Country Status (1)

Country Link
JP (1) JP5715744B2 (ja)

Families Citing this family (1)

* Cited by examiner, † Cited by third party
Publication number Priority date Publication date Assignee Title
CN113993296B (zh) * 2020-11-25 2023-06-30 深圳市安泰自动化设备有限公司 一种led贴片校准方法

Family Cites Families (4)

* Cited by examiner, † Cited by third party
Publication number Priority date Publication date Assignee Title
JP2633147B2 (ja) * 1992-07-23 1997-07-23 松下電工株式会社 部品実装方法
JP3774011B2 (ja) * 1997-01-20 2006-05-10 ヤマハ発動機株式会社 部品実装方法及び同装置
JPH1197897A (ja) * 1997-09-18 1999-04-09 Matsushita Electric Ind Co Ltd 部品装着方法および装置
JP4765199B2 (ja) * 2001-05-31 2011-09-07 ソニー株式会社 部品実装装置

Also Published As

Publication number Publication date
JP2009206405A (ja) 2009-09-10

Similar Documents

Publication Publication Date Title
KR20160110110A (ko) 본딩 장치 및 본딩 방법
JP2007220837A (ja) 電子部品実装方法及び装置
JP2022044608A (ja) ロボットシステム、デバイス製造装置、デバイス製造方法
CN108307616B (zh) 部件安装系统及部件安装方法以及修正值计算装置
JP6190229B2 (ja) 部品実装装置
CN104285508A (zh) 部件安装装置
JP6438826B2 (ja) ボンディング装置及びボンディング方法
JP2013251398A (ja) 部品実装装置および部品実装方法
JP6547137B2 (ja) 部品実装システムおよび部品実装方法ならびに補正値算出装置
JP5715744B2 (ja) 部品搭載方法
JP4664015B2 (ja) 電子部品実装方法および電子部品実装装置
US11357146B2 (en) Component mounting machine
JP2012019144A (ja) 部品実装方法
KR102205705B1 (ko) 산업용 로봇의 보정값 산출 방법
JP2004288824A (ja) 電子部品装着装置のキャリブレーション法及びその方法を用いた装置
JP2019145585A (ja) 産業用ロボットの補正値算出方法
JP6999443B2 (ja) 産業用ロボットの補正値算出方法
JP4707596B2 (ja) 部品搭載方法
JP5398314B2 (ja) 露光装置、及び露光方法
JP7145332B2 (ja) ロボット制御システム及びロボット制御方法
JP5271654B2 (ja) 電子部品実装装置
JP6985814B2 (ja) 基板作業機
JP4902305B2 (ja) 露光装置およびアライメント方法
JP7531760B1 (ja) 支援装置、支援システム、支援方法及びプログラム
JP4931772B2 (ja) 電子部品実装装置

Legal Events

Date Code Title Description
A621 Written request for application examination

Free format text: JAPANESE INTERMEDIATE CODE: A621

Effective date: 20110218

A977 Report on retrieval

Free format text: JAPANESE INTERMEDIATE CODE: A971007

Effective date: 20120410

A131 Notification of reasons for refusal

Free format text: JAPANESE INTERMEDIATE CODE: A131

Effective date: 20120424

A521 Request for written amendment filed

Free format text: JAPANESE INTERMEDIATE CODE: A523

Effective date: 20120625

A131 Notification of reasons for refusal

Free format text: JAPANESE INTERMEDIATE CODE: A131

Effective date: 20130108

RD13 Notification of appointment of power of sub attorney

Free format text: JAPANESE INTERMEDIATE CODE: A7433

Effective date: 20130228

A521 Request for written amendment filed

Free format text: JAPANESE INTERMEDIATE CODE: A523

Effective date: 20130308

A521 Request for written amendment filed

Free format text: JAPANESE INTERMEDIATE CODE: A821

Effective date: 20130228

A02 Decision of refusal

Free format text: JAPANESE INTERMEDIATE CODE: A02

Effective date: 20131022

A521 Request for written amendment filed

Free format text: JAPANESE INTERMEDIATE CODE: A523

Effective date: 20140122

A911 Transfer to examiner for re-examination before appeal (zenchi)

Free format text: JAPANESE INTERMEDIATE CODE: A911

Effective date: 20140130

A912 Re-examination (zenchi) completed and case transferred to appeal board

Free format text: JAPANESE INTERMEDIATE CODE: A912

Effective date: 20140404

A521 Request for written amendment filed

Free format text: JAPANESE INTERMEDIATE CODE: A523

Effective date: 20141215

A61 First payment of annual fees (during grant procedure)

Free format text: JAPANESE INTERMEDIATE CODE: A61

Effective date: 20150316

R150 Certificate of patent or registration of utility model

Ref document number: 5715744

Country of ref document: JP

Free format text: JAPANESE INTERMEDIATE CODE: R150

LAPS Cancellation because of no payment of annual fees