JP5584635B2 - シート、ロール状シート及び巻付方法 - Google Patents
シート、ロール状シート及び巻付方法 Download PDFInfo
- Publication number
- JP5584635B2 JP5584635B2 JP2011016027A JP2011016027A JP5584635B2 JP 5584635 B2 JP5584635 B2 JP 5584635B2 JP 2011016027 A JP2011016027 A JP 2011016027A JP 2011016027 A JP2011016027 A JP 2011016027A JP 5584635 B2 JP5584635 B2 JP 5584635B2
- Authority
- JP
- Japan
- Prior art keywords
- sheet
- core
- winding
- end portion
- longitudinal direction
- Prior art date
- Legal status (The legal status is an assumption and is not a legal conclusion. Google has not performed a legal analysis and makes no representation as to the accuracy of the status listed.)
- Active
Links
Images
Landscapes
- Winding Of Webs (AREA)
- Storage Of Web-Like Or Filamentary Materials (AREA)
Description
ここで、シート200が巻芯100に渦巻き状に巻かれると、巻き付け圧力がシート200の厚さ方向tに作用する。
特に、ジャンボロール製品群と呼ばれる幅及び巻き取り長さが長いサイズのシートは、巻き付け圧力が大きくなるので、ブロッキングが発生する可能性はより高くなる。
本発明のシートによれば、巻芯側となる裏側の表面の先端部が、巻芯側と反対側にあたる表側の表面の先端部よりも巻き付け方向の側にあるので、シートが巻芯に巻かれた際に、シート端の側面と巻芯の表面との間に、シート端が巻芯側に撓むための空間が形成される。シート端は、シート端に巻かれた2周目以降のシートによる巻き付け圧力により、この空間内で巻芯側に撓み、巻芯の表面からシートにおいて裏側の表面とは反対側にあたる表側の表面への緩やかな傾斜面を形成する。このため、シート端の近傍に巻かれたシートの部分に、芯部跡が付きにくくすることができる。
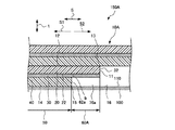
図1及び図2を参照して、本発明に係るシート10及びロール状シート150の第1実施形態について説明する。
シート10は、シート10の幅方向と直角の長手方向Sにおいて、一方のシート端11と他方のシート端(図示せず)とを有する。シート10は、長手方向Sにおいて、一方のシート端11から他方のシート端(図示せず)に向けて順に巻芯100に巻き付けられる(このときの一方のシート端11から他方のシート端(図示せず)への方向を巻き付け方向S1という。)。シート10は、裏側の表面14が在る範囲のシート本体部50と、シート10の長手方向Sのシート本体部50よりシート端11の側の範囲のシート端部60とを有する。
シート端部60の側面62は、例えば、シート10をカッターのような切断装置により切断して形成される。
さらには、基材シートとしては、上質紙、含浸紙、アート紙、コート紙、グラシン紙等からなる紙類、これらの紙基材にポリエチレン等の熱可塑性樹脂をラミネートしたラミネート紙等の各種紙類、アルミニウム箔や銅箔や鉄箔等の金属箔、さらには不織布、合成紙等が用いられる。
これらの基材シートの厚さは、特に制限はなく、通常2μm〜1000μm程度の範囲であるが、取り扱いやすさの面から、好ましくは10μm〜500μm程度の範囲である。
合成ゴム系粘着剤の具体例としては、スチレン−ブタジエンゴム、ポリイソブチレンゴム、イソブチレン−イソプレンゴム、イソプレンゴム、スチレン−イソプレンブロック共重合体、スチレン−ブタジエンブロック共重合体、スチレン−エチレン−ブチレンブロック共重合体、エチレン−酢酸ビニル熱可塑性エラストマー等が挙げられる。アクリル樹脂系粘着剤の具体例としては、アクリル酸、アクリル酸メチル、アクリル酸エチル、アクリル酸プロピル、アクリル酸ブチル、アクリル酸−2−エチルヘキシル、メタクリル酸メチル、メタクリル酸エチル、メタクリル酸ブチル、アクリロニトリル等の単独重合体若しくは共重合体等が挙げられる。ポリエステル樹脂系粘着剤は、多価アルコールと多塩基酸の共重合体であり、多価アルコールとしてはエチレングリコール、プロピレングリコール、ブタンジオール等が挙げられ、多塩基酸としては、テレフタル酸、アジピン酸、マレイン酸等が挙げられる。ポリビニルエーテル樹脂系粘着剤の具体例としては、ポリビニルエーテル、ポリビニルイソブチルエーテル等が挙げられる。シリコーン樹脂系粘着剤の具体例としては、ジメチルポリシロキサン等が挙げられる。これらの粘着剤は、1種単独で又は2種以上を組み合わせて用いることができる。
粘着剤層の厚さは、特に制限ないが、通常1μm〜200μmであればよく、好ましくは3μm〜100μmである。
なお、本発明における粘着剤層30とは、シート状の中間基材の両側に粘着剤を積層した両面テープタイプのものも含む。中間基材としては、基材シート20として前述したものの中から選択でき、中間基材の両側に積層する粘着剤としては、前記で例示した粘着剤を使用することができる。
剥離剤層を形成させるために用いる剥離剤としては、例えばオレフィン系樹脂、イソプレン系樹脂、ブタジエン系樹脂等のゴム系エラストマー、長鎖アルキル系樹脂、アルキド系樹脂、フッ素系樹脂、シリコーン系樹脂等が用いられる。
巻芯100に巻かれるシート10の長さ寸法は、例えば、1m〜5万mとされ、好ましくは30m〜3万mとされ、より好ましくは100m〜1万mとされる。幅寸法は、例えば、10mm〜1万mmとされ、好ましくは50mm〜5000mmとされ、より好ましくは100mm〜3000mmとされる。厚さ寸法は、例えば、5μm〜5000μmとされ、好ましくは50μm〜1000μmとされ、より好ましくは100μm〜500μmとされる。
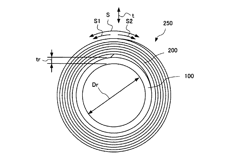
巻芯100は、通常円筒の外形を有する。巻芯100は、シート10の幅寸法と略同じかそれ以上の幅寸法を有する。巻芯100の内径Dr(図5参照)は、例えば、5mm〜3mとされ、好ましくは1cm〜1mとされ、より好ましくは3cm〜50cmとされる。
巻芯100の円筒を形成する素材の厚さtr(図5参照)は特に限定されないが、例えば1mm〜10cmとされ、好ましくは5mm〜5cmとされる。
シート10を巻芯100に巻き付けると、シート本体部50は、巻芯100の表面110に1周分直接巻かれる(ここで、巻芯100の表面110に巻かれた1周分のシート本体部50を1周目の部分10aとする。)。
さらに、2周目のシート10をシート端部60及び1周目の部分10aの表側の表面12に巻き付けると、2周目のシート10は、1周目の部分10aの表側の表面12にさらに1周分巻かれる(ここで、さらに1周分巻かれたシート本体部50の部分を2周目の部分10bとする。)。
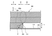
図3を参照して、本発明に係るシート10A及びロール状シート150Aについて説明する。なお、第1実施形態と同一の構成部分については、同一の符号を付して説明を省略する。
また、空間70aは、シート10Aの厚さ方向tにおいて、仮想平面16と、粘着剤層30の巻芯100側の表面との間の寸法が略一定の矩形状とされる。
なお、シート10Aの表側の表面12の先端部13は、シート10Aの幅方向に延びる線状部分である。一方、シート10Aの長手方向Sにおけるシート端11は、基材シート20の端部であるので、シート10Aの幅方向及び厚さ方向tに延びる面状部分である。
第1実施形態及び第2実施形態では、シートは、基材シート、粘着剤層及び剥離シートを有しているとして説明したが、これに限定されず、基材シートのみで構成されていてもよいし、基材シートと粘着剤層とのみで構成されていてもよい。
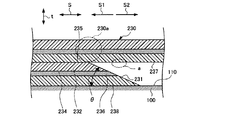
(試験1:裏側の表面とシート端の側面との間のなす角度θの違いによる確認試験)
表1に示す試験条件のシート(実施例1〜3、比較例1)を作製し、万能材料試験機5581(インストロンジャパンカンパニィリミテッド社製)を用いて芯部跡と同じ原理で発生するうねり(芯部跡様うねり)及びブロッキングの発生の有無を確認した。すなわち、図4に示すように、複数のシート330を束ねたシート束320に試験対象のシート340を置き、その上におもり310を置くように構成されている試験装置300を作成した。この試験装置300を用いて荷重をかけることにより、シート340(巻芯に巻かれた1周目のシートに相当)とシート束320(巻芯に巻かれた2周目以降のシートに相当)に巻き付け圧力が作用したのと同じ状態を再現できる。
おもり310の荷重:1MPa
荷重負荷時間:おもり310を16時間乗せる。
荷重環境:室温23℃、相対湿度50%
シート330、340:サイズ 100mm×100mm
基材シート:厚さ25μmのポリエチレンテレフタレート(PET)フィルム[三菱化学ポリエステルフィルム株式会社製、商品名「PET25T620EW07」]
粘着剤:アクリル系粘着剤[リンテック株式会社製、商品名「PU−V」]
剥離シート:厚さ38μmの離型ポリエステルフィルム[リンテック株式会社製、商品名「スーパステックSP−PET38(S)」]
シート10の作製:前記基材シートに前記粘着剤を固形分で20g/m2塗布して得られた粘着シートと前記剥離シートを、上下2軸剥離ラミ試験機HDF−905L−800[萩原工業株式会社製]を用いて積層してシート10(総厚83μm)を得た。
シート330の作製:得られたシート10を裁断し100mm×100mmの大きさになるようにシート330を作製した。
シート340の作製:得られたシート10の長手方向におけるシート端11を、角度θが表1の角度になるように切断した後、他の部分を裁断し100mm×100mmの大きさになるようにシート340を作製した。
Rt値:JIS B0601:2001に基づき、おもり310が載置されたシート330の表面における粗さ曲線の最大断面高さ(μm)(粗さ曲線の最大値とおもり310の載置によりシート330に生じた芯部跡様のうねりにおける谷深さの最大値との和)、サンプリング数n=3の平均値とする。
ブロッキングの発生の評価:目視により「なし」、「ややあり」、「あり」の3段階で評価する。
なお、実施例1〜3及び比較例1のいずれも、ブロッキングは発生しなかった。
(試験2:材質の異なる基材シートを用いた確認試験)
基材シート20の材質、シート10の厚さ(図1において寸法T)及びシート束320を構成するシート330の枚数を表2のように変えたシートを作製し、それ以外の条件を試験1の条件と同一にして、材質の違う基材シートによる芯部跡様のうねりの発生確認試験を行った。
ガラスカバーシート03[リンテック社製]:総厚450μm、材質はポリカーボネート(PC)とポリエチレンテレフタレート(PET)。
ヒートカット IR−50HD[リンテック社製]:総厚112μm、材質はポリエチレンテレフタレート(PET)。
(試験3:高温雰囲気環境下における芯部跡及びブロッキングの発生の確認試験)
下記の条件で作製したシート10のシート端11を角度θが表3に示す値になるように切断し、シート10を巻芯100に巻いて、ロール状シートを作製し、以下に示す試験条件で芯部跡及びブロッキングの発生の有無の確認試験をした。なお、環境試験室を53℃にした。これにより、巻芯100の膨張によって巻き付け圧力が強くなり、シート10に芯部跡やブロッキングが発生しやすくなるため、比較が容易になる。
テスト用シートの構成
寸法:幅150mm×80m
基材シート:厚さ25μmのポリエチレンテレフタレート(PET)フィルム[三菱化学ポリエステルフィルム株式会社製、商品名「PET25T620EW07」]
粘着剤:テルペン系水素添加樹脂[ヤスハラケミカル株式会社製、商品名「クリアロンM105GK」]
剥離シート:シリコーン系剥離層を設けたポリエステル長尺剥離フィルム[三菱化学ポリエステルフィルム株式会社製、商品名「SP−PET MRF#38」]
シート10の作製:前記基材シートに前記粘着剤を20g/m2塗布して得られた粘着シートと前記剥離シートとを、上下2軸剥離ラミ試験機HDF−905L−800[萩原工業株式会社製]を用いて積層してシート10(ロール状シート)を得た。
巻き取り条件
巻芯:3インチABSコア
巻き取り張力:60N(400N/m)
巻き取り速度:10m/min
保存条件
環境試験室条件:53℃
環境試験室投入時間:18時間
芯部跡の測定方法:シートの表面(剥離シート面)からレーザ顕微鏡Wyko NT1100(日本ビーコ株式会社製)にてRt値を測定。
Rt値:JIS B0601:2001に基づき、フィルムの巻き付け始めに重なる部分の表面における粗さ曲線の最大断面高さ(μm)(粗さ曲線の最大値と芯部跡における谷深さの最大値との和)、サンプリング数n=3の平均値とする。
ブロッキングの発生の評価:目視により「なし」、「ややあり」、「あり」の3段階で評価する。
表3に示すように、実施例6のシートの芯部跡のRt値は、比較例4及び5のシートの芯部跡のRt値よりも小さい。したがって、実施例6のように、角度θを鈍角にすることにより、芯部跡の発生を抑えることができるといえる。また、実施例6では比較例4と比べてブロッキングが抑制されたといえる。実施例6の形態では粘着剤がはみ出ても、2層目の剥離シートに付着しにくいためと考えられる。
11 シートの長手方向におけるシート端
12 表側の表面
13 表側の表面の先端部
14 裏側の表面
15 裏側の表面の先端部
16 裏側の表面を長手方向に延長した仮想平面
20 基材シート
30 粘着剤層
32 シート端部の側面における基材シートの露出面
40 剥離シート
50 シート本体部
60 シート端部
62 シート端部の側面(シート端の側面)
62a 剥離シートの端部の側面
70 シート端部の側面と、裏側の表面を長手方向に延長した仮想平面との間に形成された三角形状の空間
70a シート10Aの長手方向Sにおいて剥離シート40の端部の側面62aよりもシート端11の側に形成された矩形状の空間
100 巻芯
110 巻芯の表面
S シートの長手方向
S1 シートの長手方向のうち巻き付け方向
S2 シートの長手方向のうち巻き付け方向とは反対方向
t シートの厚さ方向
T シートの厚さ寸法
Claims (4)
- 巻芯に巻き付けられるシートであって、
前記シートの巻き付け始めの長手方向のシート端の、前記シートの厚さ方向の切断面において、前記巻芯側となる裏側の表面の先端部が、前記巻芯側とは反対側にあたる表側の表面の先端部よりも、前記シートの長手方向のうち、シートを巻き付ける巻き付け方向の側にあり、
基材シート、粘着剤層及び剥離シートが順次積層されてなる、シート。 - 前記シートの長手方向の前記シート端の側面と前記裏側の表面との間のなす角度は、95°以上175°以下の範囲内にある、請求項1に記載のシート。
- 請求項1又は2に記載のシートと、前記シートが巻き付けられている巻芯とを備えるロール状シート。
- 請求項1又は2に記載のシートを前記巻芯に巻き付ける巻き付け方法であって、前記シート端の側面が前記巻芯側に向くように、前記シート端から前記巻芯に巻き付ける巻き付け方法。
Priority Applications (1)
| Application Number | Priority Date | Filing Date | Title |
|---|---|---|---|
| JP2011016027A JP5584635B2 (ja) | 2011-01-28 | 2011-01-28 | シート、ロール状シート及び巻付方法 |
Applications Claiming Priority (1)
| Application Number | Priority Date | Filing Date | Title |
|---|---|---|---|
| JP2011016027A JP5584635B2 (ja) | 2011-01-28 | 2011-01-28 | シート、ロール状シート及び巻付方法 |
Publications (2)
| Publication Number | Publication Date |
|---|---|
| JP2012153514A JP2012153514A (ja) | 2012-08-16 |
| JP5584635B2 true JP5584635B2 (ja) | 2014-09-03 |
Family
ID=46835673
Family Applications (1)
| Application Number | Title | Priority Date | Filing Date |
|---|---|---|---|
| JP2011016027A Active JP5584635B2 (ja) | 2011-01-28 | 2011-01-28 | シート、ロール状シート及び巻付方法 |
Country Status (1)
| Country | Link |
|---|---|
| JP (1) | JP5584635B2 (ja) |
Families Citing this family (2)
| Publication number | Priority date | Publication date | Assignee | Title |
|---|---|---|---|---|
| JP6363001B2 (ja) * | 2014-11-10 | 2018-07-25 | リンテック株式会社 | 積層体の巻取方法及び巻取りロール |
| WO2018150502A1 (ja) * | 2017-02-15 | 2018-08-23 | リンテック株式会社 | ロール |
Family Cites Families (1)
| Publication number | Priority date | Publication date | Assignee | Title |
|---|---|---|---|---|
| JP2010254439A (ja) * | 2009-04-27 | 2010-11-11 | Toyobo Co Ltd | フィルムロール |
-
2011
- 2011-01-28 JP JP2011016027A patent/JP5584635B2/ja active Active
Also Published As
| Publication number | Publication date |
|---|---|
| JP2012153514A (ja) | 2012-08-16 |
Similar Documents
| Publication | Publication Date | Title |
|---|---|---|
| KR100790651B1 (ko) | 양면 접착 테이프 또는 시이트 및 그의 제조방법 | |
| JP5820762B2 (ja) | 透明導電性フィルム用表面保護フィルム及びそれを用いた透明導電性フィルム | |
| EP2816690B1 (en) | Sheet for wire harness, wire harness, and production method for wire harness | |
| US20040018329A1 (en) | Laminate sheet and producing methods therefor | |
| JP4999413B2 (ja) | 剥離ライナー付き感圧接着シート | |
| JP2023177089A (ja) | 巻取りロール | |
| KR101714105B1 (ko) | 점착 시트 | |
| TW201213219A (en) | Method for fabricating adhesive tape with protruding liner | |
| JP5584635B2 (ja) | シート、ロール状シート及び巻付方法 | |
| JP2015147396A (ja) | 粘着剤付き化粧シート | |
| US20110014411A1 (en) | Pressure-sensitive adhesive sheet and pressure-sensitive adhesive sheet with release sheet using the same | |
| KR101985993B1 (ko) | 권취 롤 | |
| JP2014151985A (ja) | 巻芯および巻体 | |
| JP2018127582A (ja) | 粘着シートおよび貼着体の製造方法 | |
| JP2020172019A (ja) | セパレータ、複合セパレータ、セパレータ付両面粘着テープ、粘着剤付研磨パッド及び粘着剤付バックパッド、並びに、複合セパレータの剥離方法 | |
| WO2007094163A1 (ja) | 自動車マーキング用粘着シート | |
| JP6912918B2 (ja) | ラベルロール品 | |
| JP5548512B2 (ja) | 紙製巻芯 | |
| JP2008156041A (ja) | 塗膜転写具用パンケーキ | |
| JP6865048B2 (ja) | クッションテープ | |
| JP7722828B2 (ja) | セパレーター付き粘着体 | |
| TW202302437A (zh) | 捲芯、原材料捲筒及原材料捲筒的製造方法 | |
| JP2015140384A (ja) | テープロール体およびテープロール体の製造方法 | |
| JP2005027945A (ja) | 回転式粘着除塵具、粘着除塵クリーナー及び粘着テープ用アダプター | |
| JP7176906B2 (ja) | 粘着シート |
Legal Events
| Date | Code | Title | Description |
|---|---|---|---|
| A621 | Written request for application examination |
Free format text: JAPANESE INTERMEDIATE CODE: A621 Effective date: 20130918 |
|
| A977 | Report on retrieval |
Free format text: JAPANESE INTERMEDIATE CODE: A971007 Effective date: 20140529 |
|
| A131 | Notification of reasons for refusal |
Free format text: JAPANESE INTERMEDIATE CODE: A131 Effective date: 20140603 |
|
| A521 | Request for written amendment filed |
Free format text: JAPANESE INTERMEDIATE CODE: A523 Effective date: 20140611 |
|
| TRDD | Decision of grant or rejection written | ||
| A01 | Written decision to grant a patent or to grant a registration (utility model) |
Free format text: JAPANESE INTERMEDIATE CODE: A01 Effective date: 20140701 |
|
| A61 | First payment of annual fees (during grant procedure) |
Free format text: JAPANESE INTERMEDIATE CODE: A61 Effective date: 20140718 |
|
| R150 | Certificate of patent or registration of utility model |
Ref document number: 5584635 Country of ref document: JP Free format text: JAPANESE INTERMEDIATE CODE: R150 |
|
| R250 | Receipt of annual fees |
Free format text: JAPANESE INTERMEDIATE CODE: R250 |
|
| R250 | Receipt of annual fees |
Free format text: JAPANESE INTERMEDIATE CODE: R250 |
|
| R250 | Receipt of annual fees |
Free format text: JAPANESE INTERMEDIATE CODE: R250 |
|
| R250 | Receipt of annual fees |
Free format text: JAPANESE INTERMEDIATE CODE: R250 |
|
| R250 | Receipt of annual fees |
Free format text: JAPANESE INTERMEDIATE CODE: R250 |
|
| R250 | Receipt of annual fees |
Free format text: JAPANESE INTERMEDIATE CODE: R250 |
|
| R250 | Receipt of annual fees |
Free format text: JAPANESE INTERMEDIATE CODE: R250 |
|
| R250 | Receipt of annual fees |
Free format text: JAPANESE INTERMEDIATE CODE: R250 |
|
| R250 | Receipt of annual fees |
Free format text: JAPANESE INTERMEDIATE CODE: R250 |
