JP5467775B2 - ガスセンサの性能評価方法 - Google Patents

ガスセンサの性能評価方法 Download PDF

Info

Publication number
JP5467775B2
JP5467775B2 JP2009017781A JP2009017781A JP5467775B2 JP 5467775 B2 JP5467775 B2 JP 5467775B2 JP 2009017781 A JP2009017781 A JP 2009017781A JP 2009017781 A JP2009017781 A JP 2009017781A JP 5467775 B2 JP5467775 B2 JP 5467775B2
Authority
JP
Japan
Prior art keywords
voltage
bridge circuit
gas sensor
comparison element
detection element
Prior art date
Legal status (The legal status is an assumption and is not a legal conclusion. Google has not performed a legal analysis and makes no representation as to the accuracy of the status listed.)
Expired - Fee Related
Application number
JP2009017781A
Other languages
English (en)
Other versions
JP2010175367A (ja
Inventor
隆博 荘田
Current Assignee (The listed assignees may be inaccurate. Google has not performed a legal analysis and makes no representation or warranty as to the accuracy of the list.)
Yazaki Corp
Original Assignee
Yazaki Corp
Priority date (The priority date is an assumption and is not a legal conclusion. Google has not performed a legal analysis and makes no representation as to the accuracy of the date listed.)
Filing date
Publication date
Application filed by Yazaki Corp filed Critical Yazaki Corp
Priority to JP2009017781A priority Critical patent/JP5467775B2/ja
Publication of JP2010175367A publication Critical patent/JP2010175367A/ja
Application granted granted Critical
Publication of JP5467775B2 publication Critical patent/JP5467775B2/ja
Expired - Fee Related legal-status Critical Current
Anticipated expiration legal-status Critical

Links

Images

Landscapes

  • Investigating Or Analyzing Materials Using Thermal Means (AREA)
  • Investigating Or Analyzing Materials By The Use Of Electric Means (AREA)

Description

本発明は、ガスセンサの性能評価方法に係り、特に、検知対象ガスと燃焼する検出素子と、検知対象ガスと燃焼しない比較素子と、から構成されるガスセンサの性能評価方法に関するものである。
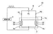
上述したガスセンサを組み込んだガス検出装置として、例えば図6に示されたものが一般的に知られている。同図に示すように、ガス検出装置10は、検出素子Rs及び比較素子Rrから構成されたガスセンサ2を有している。上記検出素子Rsは、検知対象ガスとの燃焼を促進する触媒(例えばパラジウム(Pd))を担持した担体(例えばアルミナ(Al23))から成る触媒担体層21と、この触媒担体層21に覆われた白金ヒータ22と、から構成されている。比較素子Rrは、検知対象ガスに対して不感となる材料(例えばAl23)のみからなる担体層23と、この担体層23に覆われた白金ヒータ24と、から構成されている。
上記検出素子Rsの白金ヒータ22と、比較素子Rrの白金ヒータ24とは、検知対象ガスのない空気中(エアベース)では等しい抵抗値になるように設けられている。上述した検出素子Rs及び比較素子Rrは、互いに並列配置され、固定抵抗R1、R2、可変抵抗Rvと共にブリッジ回路Bを構成している。このブリッジ回路Bには、駆動回路5からパルス電圧が供給されている。よって、パルス電圧がHレベルのときに、検出素子Rsが加熱されて検知対象ガスが燃焼する。
以上の構成によれば、ブリッジ回路Bは検知対象ガスのない空気中では平衡状態となり、中点電位差V0が0となる。これに対して、検知対象ガスを含む空気中では検知対象ガスとの燃焼熱により検出素子Rsの温度が上昇し、これに伴って検出素子Rsの白金ヒータ22の抵抗値が増加する。一方、比較素子Rrは検知対象ガスと燃焼しないため、検出素子Rsの温度より低くなる。このため、ブリッジ回路Bは不平衡状態となり、中点電位差V0が発生する。この中点電位差V0が、検知対象ガスの濃度に応じたセンサ出力となる。
しかしながら、上述したガス検出装置10においては、検出素子Rsと比較素子Rrとの形状の製造時におけるばらつきや、構造、材料等の違いにより、素子の熱特性(熱容量、熱伝導率、放熱特性)に差異が生じて、検出素子Rsと比較素子Rrとの熱的バランスが均等でない場合がある。このように熱的バランスが均等でないガスセンサ2を組み込んだブリッジ回路Bに対して上述したようにパルス電圧を供給すると、エアベースであってもその過渡期の中点電位差V0に大きな変位が発生する。
即ち、エアベースにおいて上述したように検出素子Rsと比較素子Rrとで熱特性(熱容量、熱伝導率、放熱特性)が異なるブリッジ回路Bに対してパルス電圧を供給すると、図7(B)に示すように、検出素子Rsと比較素子Rrとの両端電圧の立ち上がり時間が互いに異なる。このため、図7(C)に示すように、過渡期の中点電位差V0に大きな変位が発生してしまう。
中点電位差V0は後段の図示しない増幅回路で設定されたゲインで増幅される。このため、熱的バランスが悪く過渡期における中点電位差V0の変位が大きいほど、増幅回路の出力が飽和しないように増幅回路のゲインを低く設定する必要があり、感度が悪くなる。そこで、熱的バランスの良いガスセンサ2を設計する必要があるが、従来ではガスセンサ2の熱的バランスを簡単に評価する方法が提案されていなかった。
そこで、本発明は、簡単に検出素子と比較素子との熱的バランスを評価することができるガスセンサの性能評価方法を提供することを課題とする。
上記課題を解決するためになされた請求項1記載の発明は、検知対象ガスと燃焼する検出素子と、前記検知対象ガスと燃焼しない比較素子と、から構成されるガスセンサの性能評価方法であって、前記検出素子及び前記比較素子を含むブリッジ回路に交流電圧を供給する第1工程と、前記検出素子又は前記比較素子の何れか一方の温度が予め定めた値になるように前記交流電圧の大きさを調整する第3工程と、前記交流電圧を供給したときの前記ブリッジ回路の中点電位差が最小になるように前記ブリッジ回路を構成する可変抵抗を調整する第4工程と、前記可変抵抗を調整した後に前記検出素子及び前記比較素子の何れか一方の温度が前記予め定めた値になるように前記交流電圧の大きさを再び調整する第5工程と、前記交流電圧を供給したときの前記ブリッジ回路の中点電位差の大きさに基づいて前記ガスセンサを評価する第2工程と、を順次行うことを特徴とするガスセンサの性能評価方法に存する。
以上説明したように請求項記載の発明によれば、交流電圧をブリッジ回路に供給することによりブリッジ回路からは過渡期の中点電位差が常に出力される。この過渡期の中点電位差は検出素子と比較素子との熱的バランスが崩れているほど大きくなるので、交流電圧を供給されているときの中点電位差の大きさによってガスセンサの評価を行うことができる。従って、ブリッジ回路に交流電圧を供給するだけで簡単に検出素子と比較素子との熱的バランスを評価することができる。
また、請求項記載の発明によれば、交流電圧を供給したときのブリッジ回路の中点電位差が最小になるようにブリッジ回路を構成する可変抵抗を調整することにより、エアベースにおいてブリッジ回路を最も平衡状態に近く設定できる。よって、この状態で発生する中点電位差は検出素子と比較素子との熱的バランスの違いによるものだけである。また、可変抵抗を調整した後に検出素子及び比較素子の温度が第3工程と同じ予め定めた値になるように交流電圧を調整することにより、可変抵抗を調整したことによって生じた検出素子及び比較素子の温度変化分を予め定めた値に戻すことができる。従って、より一層正確に検出素子と比較素子との熱的バランスを評価することができる。
本発明のガスセンサの性能評価装置の一実施形態を示す図である。 図1に示すガスセンサの構成例を示し、(A)は平面図、(B)は底面図、(C)は(A)におけるA−A線断面図である。 図1に示す交流電源から出力される交流電圧のタイムチャートである。 互いに触媒担体層や担体層の塗布方法、塗布量が異なる試料No.1〜No.6のガスセンサ2である標準品と、試料No.1〜No.6の標準品の触媒担体層及び担体層の塗布前の白金ヒータ22、24のみの状態である理想品と、について、それぞれ本発明の性能評価方法を用いて中点電位差の実効値を記録した結果を示すグラフである。 他の実施形態におけるブリッジ回路Bを示す回路図である。 従来のガス検出装置の一例を示す回路図である。 (A)は図6の駆動回路から出力されるパルス電圧、(B)は検出素子及び比較素子の両端電圧、(C)は中点電位差のタイムチャートである。
以下、本発明の実施の形態を図面に基づいて説明する。ガスセンサの性能評価装置1(以下単に性能評価装置1)は、ガスセンサ2を組み込んだブリッジ回路Bと、交流電源3と、出力手段としてのマルチメータ4と、を備える。ガスセンサ2は、図1に示すように、検出素子Rs及び比較素子Rrから構成されている。上記検出素子Rsは、触媒担体層21と、白金ヒータ22と、から構成されている。触媒担体層21は、検知対象ガスとの燃焼を促進する触媒(例えばパラジウム(Pd))を担持した担体(アルミナ(Al23))から成る。白金ヒータ22は、温度に応じて抵抗値が変化する測温抵抗体であり、上記触媒担体層21に覆われている。
上記比較素子Rrは、担体層23と、白金ヒータ24と、から構成されている。担体層23は、検知対象ガスに対して不感となる材料(例えばアルミナ(Al23))のみから構成される。白金ヒータ24は、温度に応じて抵抗値が変化する測温抵抗体であり、上記担体層23に覆われている。
詳しくは、図2(A)〜(C)に示すように、このガスセンサ2は、シリコン(Si)ウエハ25の上に、酸化シリコン(SiO2)膜26a、窒化シリコン(SiN)膜26b及び酸化ハフニウム(HfO2)膜26cからなる絶縁薄膜が成膜され、その上に、検出素子Rsとしての触媒担体層21及び白金ヒータ22、比較素子Rrとしての担体層23及び白金ヒータ24が形成されている。また、図2(C)に示すように、異方性エッチングして凹部27及び28を形成して、それぞれ薄膜ダイヤフラムDs及びDrを形成することにより熱容量を小さくしている。
白金ヒータ22及び24は、図1に示すように、固定抵抗R1及びR2と可変抵抗Rvと共にブリッジ回路Bを構成している。そして、このブリッジ回路Bにおいて、可変抵抗Rvの可動端子と、検出素子Rr及び比較素子Rsの接続点と、の間には交流電源3からの交流電圧が供給されている。また、固定抵抗R1及び比較素子Rrの接続点と、固定抵抗R2及び検出素子Rsの接続点と、の間に発生する中点電位差V0は、マルチメータ4に接続されている。このマルチメータ4は、接続された中点電位差V0の実効値を表示する。
次に、上述した構成の性能評価装置1を用いた性能評価方法について説明する。まず、評価者が、交流電源3を操作して交流電圧をブリッジ回路Bに供給する。その後、比較素子Rrの両端電圧を計測して、図3に示すように、交流電圧の最大値で比較素子Rrの温度が例えば400℃、交流電圧の最小値で比較素子Rrの温度が例えば200℃になるように交流電圧の大きさを調整する。その後、マルチメータ4に表示された中点電位差V0の実効値を見ながらその実効値が最低電位となるように可変抵抗Rvの調整を行う。これにより、中点電位V0に発生する電圧を検出素子Rsと比較素子Rrとの熱的バランスのばらつきのみに起因させることができる。
次に、この可変抵抗Rvの調整により検出素子Rs及び比較素子Rrの温度が変化するため、再度、比較素子Rrの両端電圧を計測して、交流電圧の最大値で比較素子Rrの温度が400℃、交流電圧の最小値で比較素子Rrの温度が200℃になるように交流電圧の大きさを調整する。この調整により、可変抵抗Rvを調整したことによって生じた検出素子Rs及び比較素子Rrの温度変化分をキャンセルすることができる。その後、マルチメータ4に表示された中点電位差V0の実効値を記録する。
互いに触媒担体層21や担体層23の塗布方法、塗布量が異なる試料No.1〜No.6のガスセンサ2である標準品と、試料No.1〜No.6の標準品の触媒担体層21及び担体層23の塗布前の白金ヒータ22、24のみの状態である理想品と、について、それぞれ上記性能評価方法を用いて中点電位差V0の実効値を記録した結果を図4に示す。触媒担体層21及び担体層23を塗布する前の白金ヒータ22、24のみの状態は検出素子Rsと比較素子Rrとのばらつきが極めて小さいと考えられるため、原理確認のための理想品としている。
同図に示すように、理想品の中点電位V0の実効値が平均0.008mV程度の電位しか発生していないのに対して、標準品の中点電位V0の実効値は0.523mVと数十倍の電位が発生した。また、理想品に対して標準品は試料毎の偏差も大きく触媒担体層21や担体層23の塗布量のばらつきを検出できていることが分かった。即ち、交流電圧をブリッジ回路Bに供給することによりブリッジ回路Bからは過渡期の中点電位差V0が常に出力され、この過渡期の中点電位差V0は検出素子Rsと比較素子Rrとの熱的バランスが崩れているほど大きくなることが分かった。
よって、上述した性能評価方法を実施することにより、標準試料No.1〜No.6の中では試料No.6の中点電位差V0の実効値が一番小さく、検出素子Rsと比較素子Rrとの熱的バランスが一番良いことが分かる。一方、試料No.4の中点電位差V0の実効値が一番大きく、検出素子Rsと比較素子Rrとの熱的バランスが一番悪いことが分かる。
上述した性能評価方法によれば、検出素子Rs及び比較素子Rrを互いに並列配置して設けたブリッジ回路Bに交流電圧を供給した後に、交流電圧を供給したときのブリッジ回路Bの中点電位差V0の大きさに基づいてガスセンサ2を評価している。これにより、ブリッジ回路Bに交流電圧を供給するだけで簡単に検出素子Rsと比較素子Rrとの熱的バランスを評価することができる。
また、上述した性能評価方法によれば、ブリッジ回路Bの中点電位差V0が最小になるようにブリッジ回路Bを構成する可変抵抗Rvを調整することにより、エアベースにおいてブリッジ回路Bを最も平衡状態に近く設定できる。よって、この状態で発生する中点電位差V0は検出素子Rsと比較素子Rrとの熱的バランスの違いによるものだけである。また、可変抵抗Rvを調整した後に検出素子Rs及び比較素子Rrの温度が予め定めた値(例えば200℃〜400℃)になるように交流電圧を調整することにより、可変抵抗Rvを調整したことによって生じた検出素子Rs及び比較素子Rrの温度変化分を予め定めた値に戻すことができる。従って、より一層正確に検出素子Rsと比較素子Rrとの熱的バランスを評価することができる。
上述した性能評価方法を用いれば、出荷前に熱バランスの悪いガスセンサ2を容易に選別してはじくことができる。即ち、ガスセンサ2がガス検知器に組み込まれる前に熱バランスの悪いものをはじくことができるので、ガスセンサ2がガス検知器に組み込まれた後に規格外と判断される場合に比べて製造コストを低減できる。また、上述した性能評価方法を用いれば、触媒担体層21や担体層23の塗布方法、塗布量を調整して熱バランスの改善を行う際の評価が可能となり、簡単に熱バランスを改善したガスセンサ2を設計することができる。そして、これによりエアベースにおける過渡期の中点電位差V0を小さくすることができ、増幅回路のゲインを高い値に設定し、高感度なガス検知器を提供することができる。
なお、上述した実施形態によれば、出力手段として中点電位差V0の実効値を表示するマルチメータ4を用いていたが、本発明はこれに限ったものではない。出力手段としては、例えば単に中点電位差V0を表示するものであっても良い。
また、上述した実施形態によれば、ブリッジ回路Bとしては図1に示すような構成のものを用いていたが、本発明はこれに限ったものではない。ブリッジ回路Bとしては、検出素子Rs及び比較素子Rrを含んでいればよく、例えば、図5(A)及び(B)に示すような構成であってもよい。
また、前述した実施形態は本発明の代表的な形態を示したに過ぎず、本発明は、実施形態に限定されるものではない。即ち、本発明の骨子を逸脱しない範囲で種々変形して実施することができる。
1 ガスセンサの性能評価装置
2 ガスセンサ
3 交流電源
4 マルチメータ(出力手段)
B ブリッジ回路
Rs 検出素子
Rr 比較素子
Rv 可変抵抗
V0 中点電位差

Claims (1)

  1. 検知対象ガスと燃焼する検出素子と、前記検知対象ガスと燃焼しない比較素子と、から構成されるガスセンサの性能評価方法であって、
    前記検出素子及び前記比較素子を含むブリッジ回路に交流電圧を供給する第1工程と、
    前記検出素子又は前記比較素子の何れか一方の温度が予め定めた値になるように前記交流電圧の大きさを調整する第3工程と、
    前記交流電圧を供給したときの前記ブリッジ回路の中点電位差が最小になるように前記ブリッジ回路を構成する可変抵抗を調整する第4工程と、
    前記可変抵抗を調整した後に前記検出素子及び前記比較素子の何れか一方の温度が前記予め定めた値になるように前記交流電圧の大きさを再び調整する第5工程と、
    前記交流電圧を供給したときの前記ブリッジ回路の中点電位差の大きさに基づいて前記ガスセンサを評価する第2工程と、
    を順次行うことを特徴とするガスセンサの性能評価方法。
JP2009017781A 2009-01-29 2009-01-29 ガスセンサの性能評価方法 Expired - Fee Related JP5467775B2 (ja)

Priority Applications (1)

Application Number Priority Date Filing Date Title
JP2009017781A JP5467775B2 (ja) 2009-01-29 2009-01-29 ガスセンサの性能評価方法

Applications Claiming Priority (1)

Application Number Priority Date Filing Date Title
JP2009017781A JP5467775B2 (ja) 2009-01-29 2009-01-29 ガスセンサの性能評価方法

Publications (2)

Publication Number Publication Date
JP2010175367A JP2010175367A (ja) 2010-08-12
JP5467775B2 true JP5467775B2 (ja) 2014-04-09

Family

ID=42706493

Family Applications (1)

Application Number Title Priority Date Filing Date
JP2009017781A Expired - Fee Related JP5467775B2 (ja) 2009-01-29 2009-01-29 ガスセンサの性能評価方法

Country Status (1)

Country Link
JP (1) JP5467775B2 (ja)

Families Citing this family (3)

* Cited by examiner, † Cited by third party
Publication number Priority date Publication date Assignee Title
JP6574472B2 (ja) * 2017-12-13 2019-09-11 矢崎エナジーシステム株式会社 ガス検知素子、及び、接触燃焼式ガスセンサ
JP7591796B2 (ja) * 2021-05-12 2024-11-29 国立研究開発法人産業技術総合研究所 ガス検出装置
CN118392946B (zh) * 2024-06-28 2024-11-19 南方电网数字电网研究院股份有限公司 目标环境多组分气体下mos气体传感器选择系统

Family Cites Families (8)

* Cited by examiner, † Cited by third party
Publication number Priority date Publication date Assignee Title
JPS59180350A (ja) * 1983-03-30 1984-10-13 Matsushita Electric Works Ltd ガス検知回路
JPS63128249A (ja) * 1986-11-18 1988-05-31 Matsushita Electric Ind Co Ltd 接触燃焼式ガスセンサ
JP2784404B2 (ja) * 1993-07-16 1998-08-06 矢崎総業株式会社 ガス警報装置
JP3308784B2 (ja) * 1995-11-17 2002-07-29 矢崎総業株式会社 酸素濃度計のセンサ特性調整回路
JPH10142184A (ja) * 1996-11-11 1998-05-29 Matsushita Electric Ind Co Ltd ガスセンサとその制御装置
JP4790430B2 (ja) * 2006-01-25 2011-10-12 泰三 石川 接触燃焼式ガスセンサを用いた検出回路
JP2007232406A (ja) * 2006-02-27 2007-09-13 Fis Inc ガス検出装置
JP2008298617A (ja) * 2007-05-31 2008-12-11 Yazaki Corp 接触燃焼式ガスセンサおよび接触燃焼式ガスセンサの製造方法

Also Published As

Publication number Publication date
JP2010175367A (ja) 2010-08-12

Similar Documents

Publication Publication Date Title
US11408843B2 (en) Gas sensor
CN112005105B (zh) 用于确定天然气热容量的传感器
US11467110B2 (en) Method for operating a sensor device
JP5563507B2 (ja) ガス検出装置
US12085526B2 (en) Sensor device and electronic assembly
JP2018096865A (ja) 気体センサ装置
JP6222443B2 (ja) 絶対湿度センサおよびこれに用いる絶対湿度センサチップ
JP5436147B2 (ja) 接触燃焼式ガスセンサ
JP5467775B2 (ja) ガスセンサの性能評価方法
JP6372097B2 (ja) 検出装置、検出回路、センサモジュール及び画像形成装置
CN108249384B (zh) 可控制加热能量的微机电装置
JP5115411B2 (ja) 薄膜ガスセンサ
JP5330159B2 (ja) ガス検出装置
JP2010256172A (ja) ガス検出装置及びガス検出装置の温度補正方法
JP5385055B2 (ja) ガス検出装置
JP5178261B2 (ja) 熱式流量計
JP2003194759A (ja) 可燃性ガス検出器
JP2009186222A (ja) 劣化検出装置
JP2014185855A (ja) 絶対湿度センサおよびこれに用いる絶対湿度センサチップ
JPH0712771A (ja) ガス検出器
CN119023725A (zh) 用于操作热导率传感器的方法
JPH11118567A (ja) フローセンサ
JP4575862B2 (ja) ガス検出装置
JP3802291B2 (ja) 雰囲気センサ
JP5303196B2 (ja) ガス検出装置及び経年変化補正方法

Legal Events

Date Code Title Description
A621 Written request for application examination

Free format text: JAPANESE INTERMEDIATE CODE: A621

Effective date: 20111129

A977 Report on retrieval

Free format text: JAPANESE INTERMEDIATE CODE: A971007

Effective date: 20130128

A131 Notification of reasons for refusal

Free format text: JAPANESE INTERMEDIATE CODE: A131

Effective date: 20130205

A521 Request for written amendment filed

Free format text: JAPANESE INTERMEDIATE CODE: A523

Effective date: 20130405

A131 Notification of reasons for refusal

Free format text: JAPANESE INTERMEDIATE CODE: A131

Effective date: 20131015

A521 Request for written amendment filed

Free format text: JAPANESE INTERMEDIATE CODE: A523

Effective date: 20131213

TRDD Decision of grant or rejection written
A01 Written decision to grant a patent or to grant a registration (utility model)

Free format text: JAPANESE INTERMEDIATE CODE: A01

Effective date: 20140107

A61 First payment of annual fees (during grant procedure)

Free format text: JAPANESE INTERMEDIATE CODE: A61

Effective date: 20140128

R150 Certificate of patent or registration of utility model

Ref document number: 5467775

Country of ref document: JP

Free format text: JAPANESE INTERMEDIATE CODE: R150

Free format text: JAPANESE INTERMEDIATE CODE: R150

R250 Receipt of annual fees

Free format text: JAPANESE INTERMEDIATE CODE: R250

R250 Receipt of annual fees

Free format text: JAPANESE INTERMEDIATE CODE: R250

R250 Receipt of annual fees

Free format text: JAPANESE INTERMEDIATE CODE: R250

R250 Receipt of annual fees

Free format text: JAPANESE INTERMEDIATE CODE: R250

R250 Receipt of annual fees

Free format text: JAPANESE INTERMEDIATE CODE: R250

R250 Receipt of annual fees

Free format text: JAPANESE INTERMEDIATE CODE: R250

LAPS Cancellation because of no payment of annual fees