JP5413402B2 - 燃料タンク構造 - Google Patents

燃料タンク構造 Download PDF

Info

Publication number
JP5413402B2
JP5413402B2 JP2011115921A JP2011115921A JP5413402B2 JP 5413402 B2 JP5413402 B2 JP 5413402B2 JP 2011115921 A JP2011115921 A JP 2011115921A JP 2011115921 A JP2011115921 A JP 2011115921A JP 5413402 B2 JP5413402 B2 JP 5413402B2
Authority
JP
Japan
Prior art keywords
fuel tank
tank
fuel
valve
valve body
Prior art date
Legal status (The legal status is an assumption and is not a legal conclusion. Google has not performed a legal analysis and makes no representation as to the accuracy of the status listed.)
Expired - Fee Related
Application number
JP2011115921A
Other languages
English (en)
Other versions
JP2012240650A (ja
Inventor
晋治 下川
Current Assignee (The listed assignees may be inaccurate. Google has not performed a legal analysis and makes no representation or warranty as to the accuracy of the list.)
Toyota Motor Corp
Original Assignee
Toyota Motor Corp
Priority date (The priority date is an assumption and is not a legal conclusion. Google has not performed a legal analysis and makes no representation as to the accuracy of the date listed.)
Filing date
Publication date
Application filed by Toyota Motor Corp filed Critical Toyota Motor Corp
Priority to JP2011115921A priority Critical patent/JP5413402B2/ja
Priority to US13/456,938 priority patent/US9079488B2/en
Publication of JP2012240650A publication Critical patent/JP2012240650A/ja
Application granted granted Critical
Publication of JP5413402B2 publication Critical patent/JP5413402B2/ja
Expired - Fee Related legal-status Critical Current
Anticipated expiration legal-status Critical

Links

Images

Classifications

    • BPERFORMING OPERATIONS; TRANSPORTING
    • B60VEHICLES IN GENERAL
    • B60KARRANGEMENT OR MOUNTING OF PROPULSION UNITS OR OF TRANSMISSIONS IN VEHICLES; ARRANGEMENT OR MOUNTING OF PLURAL DIVERSE PRIME-MOVERS IN VEHICLES; AUXILIARY DRIVES FOR VEHICLES; INSTRUMENTATION OR DASHBOARDS FOR VEHICLES; ARRANGEMENTS IN CONNECTION WITH COOLING, AIR INTAKE, GAS EXHAUST OR FUEL SUPPLY OF PROPULSION UNITS IN VEHICLES
    • B60K15/00Arrangement in connection with fuel supply of combustion engines or other fuel consuming energy converters, e.g. fuel cells; Mounting or construction of fuel tanks
    • B60K15/03Fuel tanks
    • BPERFORMING OPERATIONS; TRANSPORTING
    • B60VEHICLES IN GENERAL
    • B60KARRANGEMENT OR MOUNTING OF PROPULSION UNITS OR OF TRANSMISSIONS IN VEHICLES; ARRANGEMENT OR MOUNTING OF PLURAL DIVERSE PRIME-MOVERS IN VEHICLES; AUXILIARY DRIVES FOR VEHICLES; INSTRUMENTATION OR DASHBOARDS FOR VEHICLES; ARRANGEMENTS IN CONNECTION WITH COOLING, AIR INTAKE, GAS EXHAUST OR FUEL SUPPLY OF PROPULSION UNITS IN VEHICLES
    • B60K15/00Arrangement in connection with fuel supply of combustion engines or other fuel consuming energy converters, e.g. fuel cells; Mounting or construction of fuel tanks
    • B60K15/03Fuel tanks
    • B60K2015/03256Fuel tanks characterised by special valves, the mounting thereof
    • B60K2015/03263Ball valves
    • BPERFORMING OPERATIONS; TRANSPORTING
    • B60VEHICLES IN GENERAL
    • B60KARRANGEMENT OR MOUNTING OF PROPULSION UNITS OR OF TRANSMISSIONS IN VEHICLES; ARRANGEMENT OR MOUNTING OF PLURAL DIVERSE PRIME-MOVERS IN VEHICLES; AUXILIARY DRIVES FOR VEHICLES; INSTRUMENTATION OR DASHBOARDS FOR VEHICLES; ARRANGEMENTS IN CONNECTION WITH COOLING, AIR INTAKE, GAS EXHAUST OR FUEL SUPPLY OF PROPULSION UNITS IN VEHICLES
    • B60K15/00Arrangement in connection with fuel supply of combustion engines or other fuel consuming energy converters, e.g. fuel cells; Mounting or construction of fuel tanks
    • B60K15/03Fuel tanks
    • B60K2015/03256Fuel tanks characterised by special valves, the mounting thereof
    • B60K2015/03296Pressure regulating valves

Landscapes

  • Engineering & Computer Science (AREA)
  • Life Sciences & Earth Sciences (AREA)
  • Sustainable Development (AREA)
  • Sustainable Energy (AREA)
  • Chemical & Material Sciences (AREA)
  • Combustion & Propulsion (AREA)
  • Transportation (AREA)
  • Mechanical Engineering (AREA)
  • Cooling, Air Intake And Gas Exhaust, And Fuel Tank Arrangements In Propulsion Units (AREA)

Description

本発明は、燃料タンク構造に関し、さらに詳しくは、燃料タンクへの過給油を抑制可能な燃料タンク構造に関する。
燃料タンクへの過給油を防止するために、たとえば特許文献1には、燃料タンクとキャニスタとを接続する第1の蒸発燃料通路にフロート弁を設け、燃料タンクが満タンになったときに第1の蒸発燃料通路を閉塞するようにした構造が記載されている。
特許文献1に記載の構造では、さらに、フロート弁の開弁後も、燃料タンクの圧力が所定値以上に上昇すると開弁するチェック弁を備えている。
このように、特許文献1に記載の構造では、燃料タンクが満タンになってフロート弁が閉弁された状態でも、チェック弁が開弁されて燃料タンクの内圧が低下するため、給油管内の燃料が流下してしまい、過給油を招くおそれがある。
特開2004−100622号公報
本発明は上記事実を考慮し、燃料タンクへの過給油を抑制する効果の高い燃料タンク構造を得ることを課題とする。
請求項1に記載の発明では、内部に燃料を収容可能な燃料タンクと、前記燃料タンク内の蒸発燃料を吸着剤により吸着可能なキャニスタと、前記燃料タンク内に設けられ、前記燃料タンク内の燃料液面があらかじめ設定された満タン液位に達すると閉弁する満タン規制バルブと、前記満タン規制バルブと前記キャニスタとを連通する共通配管と、前記満タン規制バルブの上部から分岐し前記燃料タンク内に位置する分岐配管と、前記燃料タンクから前記満タン液位よりも高い位置まで延出されて燃料タンクへの給油用とされる給油配管と、前記分岐配管に設けられたバルブハウジングと、前記バルブハウジング内に前記バルブハウジングと隙間をあけて配置され、前記燃料タンクが満タンになった状態で燃料タンクのタンク内圧を受けて前記バルブハウジング内の気体移動を許容する位置から上昇すると前記バルブハウジングの上部開口を閉塞し前記バルブハウジング内の該気体移動を制限する第1バルブ体と、前記第1バルブ体内で前記第1バルブ体の下部開口を閉塞すると共に前記燃料タンクのタンク内圧を受けて上昇すると前記下部開口を開放し前記第1バルブ体内を通じて前記バルブハウジングの前記上部開口に抜ける気体移動を許容する第2バルブ体と、前記第1バルブ体に設けられ前記第2バルブ体が前記下部開口を閉塞した状態で前記第1バルブ体の内部と前記隙間との気体移動に対し抵抗を作用させつつ該気体移動を許容するオリフィスと、を有する。
この燃料タンク構造では、給油配管を通じて燃料が給油されるとき、燃料タンク内の燃料液面が満タン液位に達する前は、満タン規制バルブが開弁されており、燃料タンク内の気体は共通配管を通じてキャニスタに流れる(この気体中の蒸発燃料は吸着剤で吸着される)。したがって、引き続き燃料タンクに給油できる。
燃料タンク内の燃料液面が満タン液位に達すると、満タン規制バルブが閉弁されるので、燃料タンク内の気体が共通配管を通じてキャニスタに流れることはない。ここで、さらに給油された燃料は燃料配管内を上昇して給油ガンに達するので、給油ガンのオートストップ機能により、給油が停止される。
分岐配管には、バルブハウジングが設けられている。バルブハウジング内には第1バルブ体が配置されている。第1バルブ体は、燃料タンクが満タンになった状態で燃料タンクのタンク内圧を受けると、バルブハウジング内の気体移動を許容する位置から上昇する。そして、バルブハウジングの上部開口を閉塞し、バルブハウジング内の気体移動を制限する。すなわち、満タン規制バルブが閉弁状態であっても、燃料タンクからキャニスタへの気体移動が制限される。これにより、給油配管内の燃料が燃料タンク内に流下することが抑制されるので、給油が停止された状態が維持され、過給油が抑制される。
第1バルブ体内では、第2バルブ体が、第1バルブ体の下部開口を閉塞しているが、第2バルブ体は、燃料タンクのタンク内圧を受けて上昇すると、第1バルブ体の下部開口を開放する。そして、第1バルブ体内を通じてバルブハウジングの上部開口に抜ける気体移動が許容される。
また、第2バルブ体が第1バルブ体の下部開口を閉塞した状態で、第1バルブ体の内部と、隙間(バルブハウジングと第1バルブ体との隙間)との気体移動に対し抵抗を作用させつつ、この気体移動を許容する。これにより、燃料タンク内の気体が僅かずつキャニスタに移動するので、燃料タンクのタンク内圧を緩やかに低下させることができる。
請求項2に記載の発明では、請求項1に記載の発明において、前記燃料タンク内で前記満タン液位よりも高い位置で前記分岐配管に設けられ、燃料タンクのタンク内圧が所定値を超えると開弁して分岐配管を開くカットオフバルブ、を有する。
したがって、タンク内圧が所定値を超えるとカットオフバルブが開弁し、分岐配管を通じて燃料タンク内の気体がキャニスタに移動可能となる。これにより、燃料タンクのタンク内圧の過度の上昇を抑制できる。
本発明は上記構成としたので、燃料タンクへの過給油を抑制する効果が高くなる。
本発明の第1実施形態の燃料タンク構造を示す概略構成図である。 本発明の第1実施形態の燃料タンク構造を構成する内圧制御バルブを示す断面図である。 本発明の第1実施形態の燃料タンク構造を構成する内圧制御バルブを示す断面図である。 本発明の第1実施形態の燃料タンク構造を構成する内圧制御バルブを示す断面図である。 給油時における燃料タンクのタンク内圧の経時変化示すグラフである。 本発明の第2実施形態の燃料タンク構造を示す概略構成図である。
図1には、本発明の第1実施形態の燃料タンク構造12が示されている。また、図2〜図4には、この燃料タンク構造12を構成する内圧制御バルブ32が断面図にて示されている。
燃料タンク構造12は、内部に燃料を収容可能な燃料タンク14を有している、燃料タンクの上部には、給油配管16の下端部分が接続されている。給油配管16の上端の開口部分は給油口16Hとされている。給油口16Hに給油ガンを差し入れて、燃料タンク14に給油することができる。
燃料タンク14の外部には、内部に活性炭等の吸着剤が収容されたキャニスタ18が備えられている。燃料タンク14の内部の気体層とキャニスタ18とは共通配管20で接続されており、燃料タンク14内の気体をキャニスタ18に流入させることができる。流入された気体中の蒸発燃料は、キャニスタ18の吸着剤で吸着され、それ以外の気体(大気成分)が、大気連通管22から大気中に排出される
共通配管20の下端には、燃料タンク14内の上部に位置するように、満タン規制バルブ24が設けられている。満タン規制バルブ24は、いわゆるフロートバルブであり、燃料FEに浮遊する図示しないフロートを有している。燃料タンク14内の燃料FEの液面が満タン液位FLに達するまでは、フロートは燃料に浮くことはないが、燃料FEが満タン液位FLに達すると、満タン規制バルブ24のフロートが燃料FEに浮き、満タン規制バルブ24は閉弁状態となる。この状態では、共通配管20も閉塞されるので、共通配管20を通じての燃料タンク14からキャニスタ18への気体の移動は阻止される。
満タン規制バルブ24の上部からは、分岐配管26が延出されている。本実施形態では、後述するカットオフバルブ28から分岐配管26及び共通配管20を経てキャニスタ18まで気体の移動が可能とされている
分岐配管26の先端(下端)には、カットオフバルブ28が備えられている。カットオフバルブ28は、燃料タンク14内において、満タン規制バルブ24よりも高い位置に設けられている。カットオフバルブ28は、燃料タンク14のタンク内圧が上昇して所定値を超えると開弁され、燃料タンク14内の気体をキャニスタ18に流入可能とする。たとえば、満タン規制バルブ24が閉弁されていても、カットオフバルブ28が開弁されることで、燃料タンク14内の気体がキャニスタ18に移動可能となる。これにより、燃料タンク14のタンク内圧の過度の上昇が抑制される。
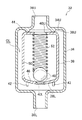
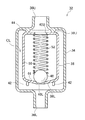
分岐配管26の中間位置(カットオフバルブ28からキャニスタ18までの間)には、内圧制御バルブ32が設けられている。図2にも詳細に示すように、内圧制御バルブ32は、略円筒状に形成されたバルブハウジング34を有している。バルブハウジング34の上壁34Uに形成された上部開口36Uはキャニスタ18側に位置し、下壁34Lに形成された下部開口36Lは燃料タンク14側に位置するように、バルブハウジング34は分岐配管26に取り付けられている。
バルブハウジング34の内部には、第1バルブ体38が収容されている。第1バルブ体38は略円筒状に形成されており、バルブハウジング34の内周面と第1バルブ体38の外周面との間には所定の隙間CLが構成されている。第1バルブ体38は、バルブハウジング34内において、上下に移動可能となっている。第1バルブ体38は、本発明のバルブ部材の一例である。
第1バルブ体38の上壁38Uには、バルブハウジング34の上部開口36Uに臨む上部開口40Uが形成されている。同様に、第1バルブ体38の下壁38Lは、バルブハウジング34の下部開口36Lに臨む下部開口40Lが形成されている。
バルブハウジング34の上壁34Uの下面には、第1バルブ体38の上面と対向する環状のシール部44が形成されている。第1バルブ体38が上昇してシール部44に全周にわたって接触すると、隙間CLと上部開口36Uとの間での気体の移動が阻止される。
第1バルブ体38の下壁38Lからは、下方に突出する複数本の脚部42が形成されている。脚部42は、第1バルブ体38の周方向には所定の間隔をあけて形成されている。脚部42は、第1バルブ体38が下降したときにバルブハウジング34の下壁34Lに接触する。ただし、この状態においても、隙間CLと下部開口36Lとの気体の移動が可能となっている。
第1バルブ体38の内部には、第2バルブ体48が収容されている。第2バルブ体48は、たとえば略球状に形成されて、その外径(図2における幅)が、第1バルブ体38の内径よりも小さくされており、第1バルブ体38内で上下に移動することが可能となっている。第1バルブ体38の内部には、圧縮コイルスプリング52が収容されている。圧縮コイルスプリング52は、所定のバネ力で第2バルブ体48を下部開口40Lに向かって押圧している。
第2バルブ体48の外径は、第1バルブ体38の下部開口40Lよりも大径とされており、第1バルブ体38内で降下すると、下部開口40Lの口縁に全周で接触する。これにより、下部開口40Lを通じての気体の移動が阻止される。
第1バルブ体38の下壁38Lの上面は、下部開口40Lに向かって逆円錐状に傾斜する傾斜面46とされている。傾斜面46によって、第2バルブ体48は降下時に下部開口40Lの中心に案内される。
第1バルブ体38と第2バルブ体48及び圧縮コイルスプリング52を合わせた質量は、燃料タンク14内が満タン状態となって満タン規制バルブ24が閉弁された状態で、燃料タンク14内の気体の流れが下部開口36Lから作用したときに、第1バルブ体38及び第2バルブ体48が上昇するように、所定の質量とされている。そして、燃料タンク14から作用する圧力が低下し、所定の開弁圧になったときに、第1バルブ体38が降下してシール部44から離間するように、所定の開弁圧に設定されている、
また、第2バルブ体48が第1バルブ体38に対し上昇して下部開口40Lの口縁から離間するときの圧力(第2バルブ体48が開弁されるときの開弁圧)は、給油配管16内に溜まった燃料のヘッド圧と同程度あるいは、このヘッド圧よりもわずかに低い程度とされている。
第1バルブ体38の側面には、小孔状(たとえば直径が0.5mm以下の円形の孔)のオリフィス50が形成されている。オリフィス50により、第1バルブ体38の内部と外部(ただしバルブハウジング34内部、すなわち隙間CL)との間の気体の移動が許容される。ただし、オリフィス50は小孔状とされているため、この気体の移動には、所定の抵抗が生じる。
次に、本実施形態の燃料タンク構造12の作用を説明する。
燃料タンク14に給油する場合には、給油配管16の上端の給油口16Hに図示しない給油ガンを差し入れる。給油中は、燃料タンク14のタンク内圧が燃料タンク14内の燃料量や満タン規制バルブ24の状態等に応じて変化する。図5には、給油開始時からの時間tの経過に伴う燃料タンク14のタンク内圧Pの変化が定性的に示されている。このグラフにおいて、給油配管16内を上昇して給油ガンに達した燃料のヘッド圧(P1)を一点鎖線L3で示している。
燃料タンク14内の燃料FEの液面が満タン液位FLに達するまで(図5におけるA〜Bの時間)は、満タン規制バルブ24は開弁されている、燃料タンク14内の気体はキャニスタ18に移動するため、燃料タンク14に引き続き給油することが可能である。この状態では、図2に示すように、内圧制御バルブ32の第1バルブ体38は降下している。
燃料タンク14内の燃料FEの液面が満タン液位FLに達すると(図5おけるBの時点)、満タン規制バルブ24が閉弁されるので、燃料タンク14のタンク内圧Pが短時間で上昇する。この状態で、カットオフバルブ28は開弁されており、燃料タンク14内の圧力は(実質的に流速の速い気体として)内圧制御バルブ32に作用する。このため、満タン状態あるいは満タン状態になる直前において、図3に示すように、内圧制御バルブ32の第1バルブ体38が上昇し、シール部44に接触する。分岐配管26を通じての燃料タンク14からキャニスタ18への気体の移動が制限される。給油された燃料は給油配管16内を上昇し、給油ガンに達する。そして、給油ガンのオートストップ機構が働くことで、給油が止められる。
ここで、燃料タンク14のタンク内圧Pは、給油配管16におけるヘッド圧と同程度に維持される。すなわち、燃料タンク14のタンク内圧Pが急激に降下することがなく、給油配管16内において、給油ガンに接触する液面位置を維持できる。給油ガンのオートストップ機構は引き続き働くので、いわゆる過給油にならない。
この状態で、オリフィス50を通じて、僅かずつではあるが燃料タンク14内の気体がキャニスタ18に移動する。したがって、図5におけるB〜Eの時間では、燃料タンク14のタンク内圧Pが漸減している。
また、燃料タンク14内のタンク内圧Pのわずかな変動(上昇)等に伴い、内圧制御バルブ32の第2バルブ体48が上昇して下部開口40Lの口縁から離れると、燃料タンク14から分岐配管26を通じて気体がキャニスタ18に移動し、燃料タンク14のタンク内圧が降下する。これにより、第2バルブ体48も降下するので、下部開口40Lの口縁に再び接触し、気体のキャニスタ18への移動が阻止される。すなわち、図4において、実線及び二点鎖線で示すように、第2バルブ体48が下部開口40Lの口縁への接触と離間とを繰り返す(図5におけるB〜Cの時間)。
したがって、図5におけるB〜Dの時間では、タンク内圧Pは、上下に変動しつつ、この時間全体ではゆるやかに降下している。
ここで、図5には、比較例における燃料タンクのタンク内圧Pの定性的な経時変化も、二点鎖線L2で併せて示されている。比較例の燃料タンク構造では、本実施形態の第1バルブ体38を有さない構造であるが、これ以外は本実施形態と同じ構造とされている。したがって、第2バルブ体48の上下動により、バルブハウジング34の下部開口36Lが開閉される。
比較例の燃料タンク構造では、第2バルブ体48の上下動に伴い、燃料タンク14のタンク内圧Pが上下している。しかしながら、分岐配管26を通じて燃料タンク14からキャニスタ18への気体の移動を積極的に制限する(そのような所定の抵抗を生じさせる)構造ではないため、Bの時点から短時間でタンク内圧が降下し、給油配管16のヘッド圧P1よりも低くなっている。
これに対し、本実施形態の燃料タンク構造12では、燃料タンク14のタンク内圧Pが徐々に降下するため、給油配管16のヘッド圧P1よりもタンク内圧Pが高い状態を、より長時間にわたって維持できる(図5におけるB〜Cの時間)。給油配管16内では、燃料が給油ガンに達した状態を維持でき、オートストップ機構が継続するので、いわゆる過給油を抑制する効果が、たとえば比較例の燃料タンク構造よりも高くなる。
なお、この時間(B〜Cの時間)において、一時的に燃料タンク14のタンク内圧Pがヘッド圧P1よりも小さくなる状態が存在していても、短時間であれば、給油配管16内の燃料が燃料タンク14内に流下することはない。換言すれば、このように、給油配管16内の燃料が燃料タンク14内に流下しない程度であれば、燃料タンク14のタンク内圧Pが、給油配管16におけるヘッド圧P1に維持されていることになる。
そして、燃料タンク14のタンク内圧が所定値以下になると、第1バルブ体38が降下する。脚部42がバルブハウジング34の下壁34Lに接触し、内圧制御バルブ32(分岐配管26)を通じて、燃料タンク14内の気体がキャニスタ18に移動可能な状態となる(図5におけるEの時点)。
以降は、内圧制御バルブ32は常時開弁されている(カットオフバルブ28も開弁されている)ので、たとえば、キャニスタ18に備えられたOBDポンプ(故障診断用のポンプ)を駆動して燃料タンク14に所定の圧力を作用させ、燃料タンク14の不具合検知を行うことが可能である。
図6には、本発明の第2実施形態の燃料タンク構造72が示されている。第2実施形態では、2つのカットオフバルブ28を有している。そして、これら2つのカットオフバルブ28のそれぞれに接続された分岐配管74が合流部76で合流され、さらに、カットオフバルブ28まで分岐配管26で接続されている(分岐配管74も分岐配管26の一部を成している)。2つのカットオフバルブ28は互いに対等な関係にあるが、燃料タンク14に対する位置が異なっている。これ以外は、第2実施形態の燃料タンク構造72は、第1実施形態の燃料タンク構造12と同一構成とされている。
したがって、第2実施形態の燃料タンク構造72においても、第1実施形態の燃料タンク構造12と略同様の作用効果を奏する。さらに、第2実施形態の燃料タンク構造72では、異なる位置に設けられた2つのカットオフバルブ28を有しているため、燃料タンク14内の液面の傾斜等によって一方のカットオフバルブ28が液没しても、他方のカットオフバルブ28は液没しない状態を維持する可能性が高くなる。
なお、このように、燃料タンク14内の液面傾斜時にカットオフバルブ28の液没を防止する観点からは、3つ以上のカットオフバルブ28を備える構成としてもよい。
上記では、本発明の内圧制御バルブとして、バルブハウジング34内に第1バルブ体38を備えると共に、さらに第1バルブ体38内に第2バルブ体48を備えた構成を挙げているが、内圧制御バルブの具体的構成はこれに限定されない。要するに、燃料タンク14の満タン状態(満タン規制バルブ24の閉弁状態)で、分岐配管26の流路抵抗を大きくする等により燃料タンク14からキャニスタ18への気体の移動を抑制し、燃料タンク14のタンク内圧を給油配管16のヘッド圧に所定時間維持できればよい。
また、オリフィス50が形成されていない構造の内圧制御バルブとしても、燃料タンク14のタンク内圧を、給油配管16のヘッド圧に維持することは可能である。ただし、オリフィス50による気体移動はないため、第2バルブ体48の上下動のみで燃料タンク14のタンク内圧を降下させて、内圧制御バルブを開弁状態にする必要がある(必要以上に長い時間を要すると共に、その制御も難しくなる)。これに対し、オリフィス50を有する構成では、オリフィス50を通じて燃料タンク14内の気体を単位時間当たり所定量でキャニスタ18に移動させるので、必要以上に時間を要することなく、しかも確実にタンク内圧を降下させ、内圧制御バルブ32を開弁状態に移行させることができる。
12 燃料タンク構造
14 燃料タンク
16 給油配管
18 キャニスタ
20 共通配管
24 満タン規制バルブ
26 分岐配管
28 カットオフバルブ
32 内圧制御バルブ
38 第1バルブ体
48 第2バルブ体
50 オリフィス
72 燃料タンク構造
FE 燃料
FL 満タン液位

Claims (2)

  1. 内部に燃料を収容可能な燃料タンクと、
    前記燃料タンク内の蒸発燃料を吸着剤により吸着可能なキャニスタと、
    前記燃料タンク内に設けられ、前記燃料タンク内の燃料液面があらかじめ設定された満タン液位に達すると閉弁する満タン規制バルブと、
    前記満タン規制バルブと前記キャニスタとを連通する共通配管と、
    前記満タン規制バルブの上部から分岐し前記燃料タンク内に位置する分岐配管と、
    前記燃料タンクから前記満タン液位よりも高い位置まで延出されて燃料タンクへの給油用とされる給油配管と、
    前記分岐配管に設けられたバルブハウジングと、
    前記バルブハウジング内に前記バルブハウジングと隙間をあけて配置され、前記燃料タンクが満タンになった状態で燃料タンクのタンク内圧を受けて前記バルブハウジング内の気体移動を許容する位置から上昇すると前記バルブハウジングの上部開口を閉塞し前記バルブハウジング内の該気体移動を制限する第1バルブ体と、
    前記第1バルブ体内で前記第1バルブ体の下部開口を閉塞すると共に前記燃料タンクのタンク内圧を受けて上昇すると前記下部開口を開放し前記第1バルブ体内を通じて前記バルブハウジングの前記上部開口に抜ける気体移動を許容する第2バルブ体と、
    前記第1バルブ体に設けられ前記第2バルブ体が前記下部開口を閉塞した状態で前記第1バルブ体の内部と前記隙間との気体移動に対し抵抗を作用させつつ該気体移動を許容するオリフィスと、
    を有する燃料タンク構造。
  2. 前記燃料タンク内で前記満タン液位よりも高い位置で前記分岐配管に設けられ、燃料タンクのタンク内圧が所定値を超えると開弁して分岐配管を開くカットオフバルブ、
    を有する請求項1に記載の燃料タンク構造。
JP2011115921A 2011-05-24 2011-05-24 燃料タンク構造 Expired - Fee Related JP5413402B2 (ja)

Priority Applications (2)

Application Number Priority Date Filing Date Title
JP2011115921A JP5413402B2 (ja) 2011-05-24 2011-05-24 燃料タンク構造
US13/456,938 US9079488B2 (en) 2011-05-24 2012-04-26 Fuel tank structure

Applications Claiming Priority (1)

Application Number Priority Date Filing Date Title
JP2011115921A JP5413402B2 (ja) 2011-05-24 2011-05-24 燃料タンク構造

Publications (2)

Publication Number Publication Date
JP2012240650A JP2012240650A (ja) 2012-12-10
JP5413402B2 true JP5413402B2 (ja) 2014-02-12

Family

ID=47218494

Family Applications (1)

Application Number Title Priority Date Filing Date
JP2011115921A Expired - Fee Related JP5413402B2 (ja) 2011-05-24 2011-05-24 燃料タンク構造

Country Status (2)

Country Link
US (1) US9079488B2 (ja)
JP (1) JP5413402B2 (ja)

Families Citing this family (1)

* Cited by examiner, † Cited by third party
Publication number Priority date Publication date Assignee Title
JP7124971B2 (ja) * 2019-07-30 2022-08-24 三菱自動車工業株式会社 燃料タンクシステム

Family Cites Families (11)

* Cited by examiner, † Cited by third party
Publication number Priority date Publication date Assignee Title
JPH07290981A (ja) * 1994-04-26 1995-11-07 Toyoda Gosei Co Ltd 燃料蒸気回収制御弁装置
US5590697A (en) * 1994-08-24 1997-01-07 G. T. Products, Inc. Onboard vapor recovery system with two-stage shutoff valve
IL114959A0 (en) * 1995-08-16 1995-12-08 Aran Eng Dev Ltd Over filling valve
US5782258A (en) * 1995-12-11 1998-07-21 Alfmeier Corporation Vapor recovery fuel tank system
US6405747B1 (en) * 1999-10-29 2002-06-18 Stant Manufacturing, Inc. Fuel tank vent valve with liquid carryover filter
US6655403B2 (en) * 2002-01-08 2003-12-02 Eaton Corporation Controlling fuel vapor venting in a fuel tank
JP4058617B2 (ja) * 2002-07-22 2008-03-12 株式会社ニフコ 燃料タンクの複合型エアベントバルブ及びエアベント機構
JP4035022B2 (ja) * 2002-09-11 2008-01-16 本田技研工業株式会社 蒸発燃料処理装置
US7234452B2 (en) * 2004-12-20 2007-06-26 Eaton Corporation Controlling vapor emission in a small engine fuel tank system
JP2010173467A (ja) 2009-01-29 2010-08-12 Yachiyo Industry Co Ltd 通気制御バルブ
JP2012047169A (ja) 2010-07-30 2012-03-08 Toyoda Gosei Co Ltd 燃料タンク用弁装置および燃料タンクの通気装置

Also Published As

Publication number Publication date
JP2012240650A (ja) 2012-12-10
US9079488B2 (en) 2015-07-14
US20120298534A1 (en) 2012-11-29

Similar Documents

Publication Publication Date Title
US9494325B2 (en) Fuel tank structure
CN103442920B (zh) 过供油防止阀
US8485214B2 (en) Small engine emissions control valve
CN105736774B (zh) 流量控制阀和蒸发燃料处理装置
CN101332769A (zh) 一种车载汽油蒸气的回收装置及回收方法
JP2006097674A (ja) 燃料遮断弁
JP2012047169A (ja) 燃料タンク用弁装置および燃料タンクの通気装置
JP5413402B2 (ja) 燃料タンク構造
US20150306951A1 (en) Fuel tank structure
JP5888302B2 (ja) バルブ及び燃料タンク構造
JP6945310B2 (ja) 燃料タンクシステム
JP2017172452A (ja) 燃料タンク用通気制御弁
JP2006051928A (ja) キャニスタ用エアフィルターの空気吸入装置
CN211203005U (zh) 一种坡度排气阀
US12090837B2 (en) Over-fueling prevention valve
JP5428993B2 (ja) 過給油防止装置
JP2010100117A (ja) フロート弁装置
JP6060609B2 (ja) 通気制御弁装置
JP6384456B2 (ja) 燃料タンクシステム
JP2010173397A (ja) 燃料遮断弁
JP2006097599A (ja) 燃料遮断弁
KR100535512B1 (ko) 주유시 연료압 해소를 위한 연료압 감쇄장치
JP2004300939A (ja) 燃料タンクの燃料流出規制装置
JP2008064016A (ja) 燃料タンク用バルブ装置
JP2018145947A (ja) 燃料遮断弁

Legal Events

Date Code Title Description
A977 Report on retrieval

Free format text: JAPANESE INTERMEDIATE CODE: A971007

Effective date: 20130425

A131 Notification of reasons for refusal

Free format text: JAPANESE INTERMEDIATE CODE: A131

Effective date: 20130507

A521 Request for written amendment filed

Free format text: JAPANESE INTERMEDIATE CODE: A523

Effective date: 20130625

TRDD Decision of grant or rejection written
A01 Written decision to grant a patent or to grant a registration (utility model)

Free format text: JAPANESE INTERMEDIATE CODE: A01

Effective date: 20131015

A61 First payment of annual fees (during grant procedure)

Free format text: JAPANESE INTERMEDIATE CODE: A61

Effective date: 20131028

R151 Written notification of patent or utility model registration

Ref document number: 5413402

Country of ref document: JP

Free format text: JAPANESE INTERMEDIATE CODE: R151

LAPS Cancellation because of no payment of annual fees