JP5407520B2 - 印刷制御装置及び印刷制御システム - Google Patents

印刷制御装置及び印刷制御システム Download PDF

Info

Publication number
JP5407520B2
JP5407520B2 JP2009105864A JP2009105864A JP5407520B2 JP 5407520 B2 JP5407520 B2 JP 5407520B2 JP 2009105864 A JP2009105864 A JP 2009105864A JP 2009105864 A JP2009105864 A JP 2009105864A JP 5407520 B2 JP5407520 B2 JP 5407520B2
Authority
JP
Japan
Prior art keywords
data
print
print data
variable
information
Prior art date
Legal status (The legal status is an assumption and is not a legal conclusion. Google has not performed a legal analysis and makes no representation as to the accuracy of the status listed.)
Expired - Fee Related
Application number
JP2009105864A
Other languages
English (en)
Other versions
JP2010257170A (ja
Inventor
浩隆 飯田
Current Assignee (The listed assignees may be inaccurate. Google has not performed a legal analysis and makes no representation or warranty as to the accuracy of the list.)
Fujifilm Business Innovation Corp
Original Assignee
Fuji Xerox Co Ltd
Fujifilm Business Innovation Corp
Priority date (The priority date is an assumption and is not a legal conclusion. Google has not performed a legal analysis and makes no representation as to the accuracy of the date listed.)
Filing date
Publication date
Application filed by Fuji Xerox Co Ltd, Fujifilm Business Innovation Corp filed Critical Fuji Xerox Co Ltd
Priority to JP2009105864A priority Critical patent/JP5407520B2/ja
Priority to US12/620,224 priority patent/US8514434B2/en
Publication of JP2010257170A publication Critical patent/JP2010257170A/ja
Application granted granted Critical
Publication of JP5407520B2 publication Critical patent/JP5407520B2/ja
Expired - Fee Related legal-status Critical Current
Anticipated expiration legal-status Critical

Links

Images

Classifications

    • GPHYSICS
    • G06COMPUTING OR CALCULATING; COUNTING
    • G06FELECTRIC DIGITAL DATA PROCESSING
    • G06F3/00Input arrangements for transferring data to be processed into a form capable of being handled by the computer; Output arrangements for transferring data from processing unit to output unit, e.g. interface arrangements
    • G06F3/12Digital output to print unit, e.g. line printer, chain printer
    • G06F3/1201Dedicated interfaces to print systems
    • G06F3/1278Dedicated interfaces to print systems specifically adapted to adopt a particular infrastructure
    • G06F3/1285Remote printer device, e.g. being remote from client or server
    • GPHYSICS
    • G06COMPUTING OR CALCULATING; COUNTING
    • G06FELECTRIC DIGITAL DATA PROCESSING
    • G06F3/00Input arrangements for transferring data to be processed into a form capable of being handled by the computer; Output arrangements for transferring data from processing unit to output unit, e.g. interface arrangements
    • G06F3/12Digital output to print unit, e.g. line printer, chain printer
    • G06F3/1201Dedicated interfaces to print systems
    • G06F3/1202Dedicated interfaces to print systems specifically adapted to achieve a particular effect
    • G06F3/1203Improving or facilitating administration, e.g. print management
    • GPHYSICS
    • G06COMPUTING OR CALCULATING; COUNTING
    • G06FELECTRIC DIGITAL DATA PROCESSING
    • G06F3/00Input arrangements for transferring data to be processed into a form capable of being handled by the computer; Output arrangements for transferring data from processing unit to output unit, e.g. interface arrangements
    • G06F3/12Digital output to print unit, e.g. line printer, chain printer
    • G06F3/1201Dedicated interfaces to print systems
    • G06F3/1223Dedicated interfaces to print systems specifically adapted to use a particular technique
    • G06F3/1237Print job management
    • G06F3/1242Image or content composition onto a page
    • G06F3/1243Variable data printing, e.g. document forms, templates, labels, coupons, advertisements, logos, watermarks, transactional printing, fixed content versioning

Landscapes

  • Engineering & Computer Science (AREA)
  • Theoretical Computer Science (AREA)
  • Human Computer Interaction (AREA)
  • Physics & Mathematics (AREA)
  • General Engineering & Computer Science (AREA)
  • General Physics & Mathematics (AREA)
  • Accessory Devices And Overall Control Thereof (AREA)
  • Record Information Processing For Printing (AREA)

Description

本発明は、印刷制御装置及び印刷制御システムに関する。
特許文献1の印刷制御システムは、データベースの項目データのネーム情報とレイアウトファイルのフィールドのネーム情報とを取得するネーム情報取得手段と、データベースの項目データのネーム情報にレイアウトファイルのフィールドのネーム情報が全て含まれるかどうか判定することでデータベースの項目データとレイアウトファイルのフィールドとを関連付けるかどうか判定する判定手段と、判定手段によってそれぞれの項目データ及びフィールドを関連付けると判定されたとき、それぞれの項目データ及びフィールドを関連付ける関連付け手段と、レイアウトファイルに関連付けられたデータベース内のデータをレイアウトファイルに含まれるテンプレートに則した状態で表示する表示制御手段とを有し、レイアウトファイルに対するデータベースの関連付けを利用者の作業を必要とすることなく実行し、関連付けが行われたデータベース内のデータをテンプレートに則して表示するものである。
特開2006−293430号公報
本発明の目的は、依頼側装置にてデータベースから受信したデータに基づき作成された印刷に必要なデータを、印刷装置にて受信して印刷処理するのに比べて、印刷装置が印刷に必要なデータの受信を開始してから当該データに基づく印刷を終了するまでに要する時間を短縮することができる印刷制御装置及び印刷制御システムを提供することにある。
[1]レコードに含まれる項目データから使用する項目データを指定する項目データ指定情報と、複数のフィールドを含むテンプレート及び前記テンプレートの前記複数のフィールドに対して適用すべき前記項目データを割り当てる割当情報とを含んだ印刷指示データを受け付ける受付手段と、
複数のレコードを記憶する外部のデータベースからレコードを順次指定して、前記項目データ指定情報に基づいて、前記指定したレコードから前記使用する項目データを取得する項目データ取得手段と、
前記割当情報に基づいて前記取得した項目データを、前記割当情報に基づき前記テンプレートの前記複数のフィールドに対して適用することで順次、印刷データを作成するものであって、最初の印刷データに前記割当情報を加え、最初でない印刷データには前記割当情報を加えない印刷データ作成手段と、
前記最初の印刷データを外部の印刷装置に送信し、前記外部の印刷装置が、送信した印刷データを処理している間に前記最初でない印刷データを生成し、前記外部の印刷装置が前記最初の印刷データに係る印刷画像の生成を完了すると、前記生成済みの最初でない印刷データを前記外部の印刷装置に送信する印刷データ送信手段とを有する印刷制御装置。
[2]印刷装置と印刷制御装置とからなる印刷制御システムであって、
レコードに含まれる項目データから使用する項目データを指定する項目データ指定情報と、複数のフィールドを含むテンプレート及び前記テンプレートの前記複数のフィールドに対して適用すべき前記項目データを割り当てる割当情報とを含んだ印刷指示データを受け付けて、複数のレコードを記憶する外部のデータベースからレコードを順次指定して、前記項目データ指定情報に基づいて、前記指定したレコードから前記使用する項目データを取得し、前記割当情報に基づいて前記取得した項目データを、前記割当情報に基づき前記テンプレートの前記複数のフィールドに対して適用することで順次、印刷データを作成するものであって、最初の印刷データに前記割当情報を加え、最初でない印刷データには前記割当情報を加えずに印刷データを作成して、前記最初の印刷データを前記印刷装置に送信する印刷制御装置と、
前記印刷制御装置から受信した前記割当情報に基づいて、受信した前記印刷データを処理して印刷画像を生成し、前記最初の印刷データに係る印刷画像の生成が完了すると、当該生成した印刷画像と以降生成される印刷画像とが一連のものであることを示す情報とともに続きの印刷データの要求を前記印刷制御装置に送信する印刷装置とを有し、
前記印刷制御装置は、前記最初の印刷データを送信後、前記最初でない印刷データの生成を実施し、前記印刷装置から前記一連のものであることを示す情報と前記要求とを受信すると、前記最初でないデータに前記一連のものであることを示す情報を含め、順次前記最初でない印刷データを前記外部の印刷装置に送信する印刷制御システム。
請求項1又はに係る発明によれば、依頼側装置にてデータベースから受信したデータに基づき作成された印刷に必要なデータを、印刷装置にて受信して印刷処理するのに比べて、印刷装置が印刷に必要なデータの受信を開始してから当該データに基づく印刷を終了するまでに要する時間を短縮することができる。
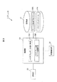
本発明の実施の形態に係る印刷制御システムの構成例を示す概略図である。 本発明の実施の形態に係るプリントサーバの構成例を示す概略図である。 本発明の実施の形態に係るプリンタの構成例を示す概略図である。 本発明の実施の形態に係るバリアブルジョブファイルの構成例を示す概略図である。 本発明の実施の形態に係るカーソルの構成例を示す概略図である。 本発明の実施の形態に係るカーソル処理ファイルの構成例を示す概略図である。 本発明の実施の形態に係るバリアブルデータの構成例を示す概略図である。 本発明の実施の形態に係る印刷制御システムの動作例を示すフローチャートである。 本発明の実施の形態に係る印刷制御システムの他の動作例を示すフローチャートである。
(画像形成システムの構成)
図1は、本発明の実施の形態に係る印刷制御システムの構成例を示す概略図である。
印刷制御システム100は、後述する端末装置4から印刷を指示する印刷指示データ(バリアブルジョブファイル)を受け付けて後述するデータベース2から取得したデータに基づいて印刷データ(バリアブルデータ)を生成するとともにそれらを用いて後述するプリンタ3に対して印刷指示を行う印刷制御装置としてのプリントサーバ1と、複数の項目データを持つ複数のレコードからなるデータを格納するデータベース2と、プリントサーバ1の印刷指示に基づいて印刷データをテンプレートに適用することで印刷画像を生成する印刷装置としてのプリンタ3と、利用者によって使用するテンプレート及び使用する項目データを指定されることでバリアブルジョブファイルを生成する端末装置4とを有する。
また、プリントサーバ1は、CPU(Central Processing Unit)やHDD(Hard Disk Drive)等の電子部品により構成され、端末装置4は、マウスやキーボード等の操作部から入力される操作信号に基づいて動作し、CPUやHDD等の電子部品により構成されて情報を処理し、LCD(Liquid Crystal Display)パネル等である表示部に画像を表示する。
図2は、本発明の実施の形態に係るプリントサーバの構成例を示す概略図である。
プリントサーバ1は、CPU等から構成され各部を制御するとともに各種のプログラムを実行する制御部10と、HDDやフラッシュメモリ等の記憶装置から構成され情報を記憶する記憶部11と、LAN(Local Area Network)等のネットワークを介してデータベース2、プリンタ3及び端末装置4と通信する通信部12とを有する。
制御部10は、後述する印刷制御プログラム11Aを実行することで、ジョブ受付手段10Aと、ジョブファイル解析手段10Bと、バリアブルデータ作成手段10Cと、データベースクエリカーソル管理手段10Dと、データベース接続手段10Eと、バリアブルデータ送信手段10Fとを動作させる。
ジョブ受付手段10Aは、端末装置4からバリアブルジョブファイルを受け付ける。ジョブファイル解析手段10Bは、ジョブ受付手段10Aが受け付けたバリアブルジョブファイルが指定する項目データやテンプレートを解析する。バリアブルデータ作成手段10Cは、データベース2から指定した項目データの情報を取得してテンプレートのフィールドに関連付けて後述するバリアブルデータ11Bを作成する。データベースクエリカーソル管理手段10Dは、バリアブルデータ作成手段10Cがデータベース2からデータを取得するときにデータベース2内のレコードにカーソルを作成する。データベース接続手段10Eは、データベース2との通信を管理する。バリアブルデータ送信手段10Fは、プリンタ3に対して作成したバリアブルデータ11Bを送信する。
記憶部11は、制御部10を上述した各手段として動作させる印刷制御プログラム11Aと、バリアブルデータ作成手段10Cが作成したバリアブルデータ11Bとを記憶する。
図3は、本発明の実施の形態に係るプリンタの構成例を示す概略図である。
プリンタ3は、CPU等から構成され各部を制御するとともに各種のプログラムを実行する制御部30と、HDDやフラッシュメモリ等の記憶装置から構成され情報を記憶する記憶部31と、LAN(Local Area Network)等のネットワークを介してプリントサーバ1、データベース2及び端末装置4と通信する通信部33と、用紙を収容するトレイや用紙に対して印刷を実行する機構等を備えた印刷機能部32とを有する。
制御部30は、後述するプリンタ制御プログラム31Aを実行することで、バリアブルデータ受付手段30Aと、バリアブル印刷RIP(Raster Image Processor)処理手段30Bとを動作させる。
バリアブルデータ受付手段30Aは、プリントサーバ1からバリアブルデータを受け付ける。バリアブル印刷RIP処理手段30Bは、バリアブルデータ受付手段30Aが受け付けたバリアブルデータを解析し、バリアブルデータに記述された内容に基づいて後述するバリアブルリソース31Bを取得して印刷画像を生成する。
記憶部31は、制御部30を上述した各手段として動作させるプリンタ制御プログラム31Aと、テンプレートやフォント等の可変印刷の資源であるバリアブルリソース31Bとを記憶する。
図4は、本発明の実施の形態に係るバリアブルジョブファイルの構成例を示す概略図である。
バリアブルジョブファイル100Aは、端末装置4において生成されてプリントサーバ1が受信する情報であり、印刷ジョブを定義する割当情報としての可変印刷ジョブ100aと、「START_QUERY」と「END_QUERY」とに挟まれて記述されデータベースからデータを抽出する項目データを指定する項目データ指定情報としてのデータベースクエリ101a及びテンプレートのフィールドに対してデータベースクエリ101aによって指定されたデータの割当を指定するフィールド割当情報102aとを有する。
データベースクエリ101aは、指定する項目データ1000a〜1000cを有する。また、フィールド割当情報102aは、割り当てるフィールド1001a〜1001cを有する。
図5は、本発明の実施の形態に係るカーソルの構成例を示す概略図である。
カーソル100Dは、プリントサーバ1のデータベースクエリカーソル管理手段10Dにおいて作成されて、データベース2のレコードを示す行に対して行取得位置を示すカーソルを作成する情報である。
図6は、本発明の実施の形態に係るカーソル処理ファイルの構成例を示す概略図である。
カーソル処理ファイル100Cは、プリントサーバ1のバリアブルデータ作成手段10Cにおいて作成されてデータベース2に作成されたカーソルを用いてレコードからデータを取得する情報であり、取得されたデータは、バリアブルデータ11Bとして記憶部11に記憶される。
図7は、本発明の実施の形態に係るバリアブルデータの構成例を示す概略図である。
バリアブルデータ110aは、プリントサーバ1のバリアブルデータ作成手段10Cがデータベース2からデータを取得して最初に作成するバリアブルデータであり、図7(a)に示すように、可変印刷ジョブ100aの記述を可変印刷ジョブ111aとして前半に含み、後半にテンプレートのフィールド割当を指定する情報と、データベース2から取得したデータと、続きのバリアブルデータがあることを示す記述である「!!CONTINUE」とを有する。
バリアブルデータ110bは、バリアブルデータ110a以降に作成されるバリアブルデータであり、図7(b)に示すように、バリアブルデータの続きであって同一の印刷画像生成の集合であることを示すRIPセッション情報と、データベース2から取得したデータの続きと、続きのバリアブルデータがあることを示す記述である「!!CONTINUE」とを有する。なお、RIPセッション情報は、後述するようにバリアブル印刷RIP処理手段30Bから受信したものを使用する。
バリアブルデータ110cは、バリアブルデータ110a、110b、…と連続して作成された後、最後に作成されるバリアブルデータであり、図7(c)に示すように、バリアブルデータの続きであって同一の印刷画像生成であることを示すRIPセッション情報と、データベース2から取得したデータの続きと、最後のバリアブルデータであることを示す記述である「!!END」とを有する。
(動作)
以下に、本発明の一実施の形態における印刷制御システムの動作を各図を参照しつつ説明する。
まず、利用者は、例えば、端末装置4においてデータベース2の項目データのうち所望するデータと、可変印刷のテンプレートとなるレイアウトファイルを選択し、バリアブルジョブファイルを生成する。次に、バリアブルジョブファイルは、端末装置4からプリントサーバ1に対して送信される。
以下の説明において、プリントサーバ1がバリアブルジョブファイルを処理してプリンタ3を動作させる内容を説明する。
図8は、本発明の実施の形態に係る印刷制御システムの動作例を示すフローチャートである。
まず、プリントサーバ1のジョブ受付手段10Aは、端末装置4から通信部12を介して印刷ジョブとしてバリアブルジョブファイルを受け付ける(S1)。次に、ジョブファイル解析手段10Bは、図4に示すジョブ受付手段10Aが受け付けたバリアブルジョブファイル100Aの可変印刷ジョブ100aの内容、データベースクエリ100b及びフィールド割当情報100cを解析する(S2)。次に、データベースクエリカーソル管理手段10Dは、ジョブファイル解析手段10Bが解析した内容に基づいてカーソル100Dを生成し、データベース2に対してカーソル処理ファイル100Cを送信してカーソルの作成を要求する(S3)。なお、特に説明がない限り、データベース2にデータベース接続手段10Eを介してアクセスするものとする。
ステップS3に対するデータベース2からの応答として、データベースクエリカーソル管理手段10Dは、カーソルの現在位置を示すポインタを受信し(S4)、バリアブルデータ作成手段10Cは、カーソルのポインタに基づいてデータベース2のレコードから指定した項目データのデータを受信してバリアブルデータ110a〜110cを作成する(S5)。なお、このとき取得するレコード数は単数でも複数でもよい。
バリアブルデータ作成手段10Cにおいて作成したバリアブルデータが最初のバリアブルデータであるとき(S6;Yes)、バリアブルデータ送信手段10Fは、例えば、図7(a)に示すバリアブルデータ110aのように、可変印刷ジョブ111aとともにバリアブルデータをプリンタ3に送信する(S7)。
また、ステップS6において、バリアブルデータ作成手段10Cにおいて作成したバリアブルデータが最初のバリアブルデータでないとき(S6;No)、バリアブルデータ送信手段10Fは、例えば、図7(b)又は(c)に示すバリアブルデータ110b又は110cのように、バリアブルデータをプリンタ3に送信する(S7)。
次に、プリンタ3においてバリアブルデータ110a、110b又は110cのRIP処理が完了するとRIPセッション情報を受信する(S8)。以上のステップS4からS8は、バリアブルデータ作成手段10Cが受信したバリアブルジョブファイルを処理して全てのバリアブルデータの作成を完了するまで実行される(S9)。
図9は、本発明の実施の形態に係る印刷制御システムの他の動作例を示すフローチャートである。なお、以下に示す動作は、図8において説明した動作と同時に実行されるものである。
まず、プリンタ3のバリアブルデータ受付手段30Aは、通信部33を介してプリントサーバ1からバリアブルデータを受け付ける(S20)。次に、バリアブル印刷RIP処理手段30Bは、受け付けたバリアブルデータの可変印刷ジョブに基づいてバリアブルリソース31Bからテンプレートを含むレイアウトファイルや必要なフォント、画像データ等を取得する(S21)。
次に、バリアブル印刷RIP処理手段30Bは、受け付けたバリアブルデータ及び取得したバリアブルリソース31Bを用いてRIP処理を実行し(S22)、実行し終えるとRIP処理によって生成された印刷画像情報が一連のものであるようにするためにRIPセッション情報を生成する(S23)。次に、生成したRIPセッション情報とともにプリントサーバ1に対して続きのバリアブルデータを要求する(S24)。
以上のステップS20〜S24は、「!!END」を含む最後のバリアブルデータ110cをRIP処理するまで実行され(S25)、RIP処理によって生成された印刷画像情報は図示しないメモリ等に一時的に記憶された後、印刷機能部32において用紙に画像として印刷される。
[他の実施の形態]
なお、本発明は、上記実施の形態に限定されず、本発明の趣旨を逸脱しない範囲で種々な変形が可能である。例えば、プリントサーバ1のバリアブルデータ送信手段10Fと、プリンタ3のバリアブルデータ受付手段30Aとの間でネットワークストリームを作成してもよい。バリアブルデータ作成手段10Cは、作成したバリアブルデータを随時ネットワークストリームを使用して送信し、バリアブル印刷RIP処理手段30Bは、ネットワークストリームを使用して直接バリアブルデータを取得するため、バリアブル印刷RIP処理手段30Bからバリアブルデータ作成手段10Cに対するバリアブルデータの要求を必要とせず、RIPセッション情報を使用する必要がなくなる。
また、バリアブルデータ受付手段30Aがバリアブルデータキューを作成してもよい。バリアブルデータ作成手段10Cは、作成したバリアブルデータをバリアブルデータ送信手段10Fを介して随時バリアブルデータ受付手段30Aに送信し、バリアブルデータ受付手段30Aは、受信したバリアブルデータを作成したバリアブルデータキューにキューイングし、バリアブル印刷RIP処理手段30Bは、キューから順次バリアブルデータを取得してRIP処理を実行するため、バリアブル印刷RIP処理手段30Bからバリアブルデータ作成手段10Cに対するバリアブルデータの要求を必要とせず、RIPセッション情報を使用する必要がなくなる。
また、バリアブル印刷RIP処理手段30Bは、単数のRIP処理手段に限らず、並列RIP処理が可能な構成であってもよい。このとき、バリアブルデータ作成手段10Cは、プリンタ3に対して並列RIP処理が可能な数を問い合わせて、初回のバリアブルデータ送信時に同数のレコード数を含むバリアブルデータを送信する。
また、上記実施の形態で使用されるジョブ受付手段10Aと、ジョブファイル解析手段10Bと、バリアブルデータ作成手段10Cと、データベースクエリカーソル管理手段10Dと、データベース接続手段10Eと、バリアブルデータ送信手段10Fと、バリアブルデータ受付手段30Aと、バリアブル印刷RIP処理手段30Bとは、CD−ROM等の記憶媒体から装置内の記憶部に読み込んでも良く、インターネット等のネットワークに接続されているサーバ装置等から装置内の記憶部にダウンロードしてもよい。また、上記実施の形態で使用される手段の一部または全部をASIC等のハードウェアによって実現してもよい。
1…プリントサーバ、2…データベース、3…プリンタ、4…端末装置、10…制御部、10A…ジョブ受付手段、10B…ジョブファイル解析手段、10C…バリアブルデータ作成手段、10D…データベースクエリカーソル管理手段、10E…データベース接続手段、10F…バリアブルデータ送信手段、11…記憶部、11A…印刷制御プログラム、11B…バリアブルデータ、12…通信部、30…制御部、30A…バリアブルデータ受付手段、30B…バリアブル印刷RIP処理手段、31…記憶部、31A…プリンタ制御プログラム、31B…バリアブルリソース、32…印刷機能部、33…通信部、100…印刷制御システム、100A…バリアブルジョブファイル、100C…カーソル処理ファイル、100D…カーソル、100a…可変印刷ジョブ、101b…データベースクエリ、102a…フィールド割当情報、110a−110c…バリアブルデータ、111a…可変印刷ジョブ

Claims (2)

  1. レコードに含まれる項目データから使用する項目データを指定する項目データ指定情報と、複数のフィールドを含むテンプレート及び前記テンプレートの前記複数のフィールドに対して適用すべき前記項目データを割り当てる割当情報とを含んだ印刷指示データを受け付ける受付手段と、
    複数のレコードを記憶する外部のデータベースからレコードを順次指定して、前記項目データ指定情報に基づいて、前記指定したレコードから前記使用する項目データを取得する項目データ取得手段と、
    前記割当情報に基づいて前記取得した項目データを、前記割当情報に基づき前記テンプレートの前記複数のフィールドに対して適用することで順次、印刷データを作成するものであって、最初の印刷データに前記割当情報を加え、最初でない印刷データには前記割当情報を加えない印刷データ作成手段と、
    前記最初の印刷データを外部の印刷装置に送信し、前記外部の印刷装置が、送信した印刷データを処理している間に前記最初でない印刷データを生成し、前記外部の印刷装置が前記最初の印刷データに係る印刷画像の生成を完了すると、前記生成済みの最初でない印刷データを前記外部の印刷装置に送信する印刷データ送信手段とを有する印刷制御装置。
  2. 印刷装置と印刷制御装置とからなる印刷制御システムであって、
    レコードに含まれる項目データから使用する項目データを指定する項目データ指定情報と、複数のフィールドを含むテンプレート及び前記テンプレートの前記複数のフィールドに対して適用すべき前記項目データを割り当てる割当情報とを含んだ印刷指示データを受け付けて、複数のレコードを記憶する外部のデータベースからレコードを順次指定して、前記項目データ指定情報に基づいて、前記指定したレコードから前記使用する項目データを取得し、前記割当情報に基づいて前記取得した項目データを、前記割当情報に基づき前記テンプレートの前記複数のフィールドに対して適用することで順次、印刷データを作成するものであって、最初の印刷データに前記割当情報を加え、最初でない印刷データには前記割当情報を加えずに印刷データを作成して、前記最初の印刷データを前記印刷装置に送信する印刷制御装置と、
    前記印刷制御装置から受信した前記割当情報に基づいて、受信した前記印刷データを処理して印刷画像を生成し、前記最初の印刷データに係る印刷画像の生成が完了すると、当該生成した印刷画像と以降生成される印刷画像とが一連のものであることを示す情報とともに続きの印刷データの要求を前記印刷制御装置に送信する印刷装置とを有し、
    前記印刷制御装置は、前記最初の印刷データを送信後、前記最初でない印刷データの生成を実施し、前記印刷装置から前記一連のものであることを示す情報と前記要求とを受信すると、前記最初でないデータに前記一連のものであることを示す情報を含め、順次前記最初でない印刷データを前記外部の印刷装置に送信する印刷制御システム。
JP2009105864A 2009-04-24 2009-04-24 印刷制御装置及び印刷制御システム Expired - Fee Related JP5407520B2 (ja)

Priority Applications (2)

Application Number Priority Date Filing Date Title
JP2009105864A JP5407520B2 (ja) 2009-04-24 2009-04-24 印刷制御装置及び印刷制御システム
US12/620,224 US8514434B2 (en) 2009-04-24 2009-11-17 Print control device, print control system, and print control method

Applications Claiming Priority (1)

Application Number Priority Date Filing Date Title
JP2009105864A JP5407520B2 (ja) 2009-04-24 2009-04-24 印刷制御装置及び印刷制御システム

Publications (2)

Publication Number Publication Date
JP2010257170A JP2010257170A (ja) 2010-11-11
JP5407520B2 true JP5407520B2 (ja) 2014-02-05

Family

ID=42991875

Family Applications (1)

Application Number Title Priority Date Filing Date
JP2009105864A Expired - Fee Related JP5407520B2 (ja) 2009-04-24 2009-04-24 印刷制御装置及び印刷制御システム

Country Status (2)

Country Link
US (1) US8514434B2 (ja)
JP (1) JP5407520B2 (ja)

Families Citing this family (2)

* Cited by examiner, † Cited by third party
Publication number Priority date Publication date Assignee Title
JP5733201B2 (ja) * 2011-12-27 2015-06-10 コニカミノルタ株式会社 印刷制御装置、印刷制御プログラム
CN108733332B (zh) * 2018-06-19 2021-04-16 浪潮通用软件有限公司 一种通用的打印模板元数据设计方法

Family Cites Families (16)

* Cited by examiner, † Cited by third party
Publication number Priority date Publication date Assignee Title
JP3087834B2 (ja) * 1997-04-01 2000-09-11 日本電気株式会社 オンライン帳票出力制御方式
JPH10289075A (ja) * 1997-04-15 1998-10-27 Hitachi Ltd プリントキューへのプリントジョブ送信システム
US6330071B1 (en) * 1999-05-17 2001-12-11 Electronics For Imaging, Inc. Variable data print job system
US20020167554A1 (en) * 2001-05-10 2002-11-14 Parry Travis J. Methods and systems of using data fields to print dynamic data
US7383321B2 (en) * 2002-07-09 2008-06-03 Moyer Alan L Method and system for communicating between a remote printer and a server
US20050063010A1 (en) * 2003-09-24 2005-03-24 Hewlett-Packard Development Company, L.P. Multiple flow rendering using dynamic content
GB2407677A (en) * 2003-10-31 2005-05-04 Hewlett Packard Development Co Post-rendering document space based on rules
JP2005235108A (ja) * 2004-02-23 2005-09-02 Fuji Xerox Co Ltd 帳票印刷制御装置及び帳票印刷制御システム
JP2006235935A (ja) * 2005-02-24 2006-09-07 Canon Inc 印刷システム
JP2006293430A (ja) 2005-04-05 2006-10-26 Canon Inc 情報処理装置及び情報処理方法
JP2006318055A (ja) * 2005-05-10 2006-11-24 Canon Marketing Japan Inc 印刷制御装置、印刷制御方法、プログラム及びコンピュータ読み取り可能な記憶媒体
JP2007108963A (ja) 2005-10-12 2007-04-26 Kyoiku Shuppan Center:Kk セレモニー関連印刷物作成システム、セレモニー関連印刷物作成方法、セレモニー関連印刷物作成プログラム及びコンピュータで読み取り可能な記録媒体並びに記憶した機器
JP4848796B2 (ja) * 2006-02-28 2011-12-28 株式会社日立製作所 帳票出力装置および帳票出力方法
JP4759458B2 (ja) 2006-06-23 2011-08-31 キヤノン株式会社 帳票出力制御装置、帳票出力制御方法及びプログラム
JP5127232B2 (ja) * 2007-01-05 2013-01-23 キヤノン株式会社 データ処理装置、データ処理方法、及びコンピュータプログラム
JP2008269453A (ja) 2007-04-24 2008-11-06 Konica Minolta Medical & Graphic Inc 印刷システム及び印刷システムのプログラム

Also Published As

Publication number Publication date
US20100271658A1 (en) 2010-10-28
US8514434B2 (en) 2013-08-20
JP2010257170A (ja) 2010-11-11

Similar Documents

Publication Publication Date Title
JP7229680B2 (ja) 情報処理装置、制御方法及びプログラム
JP4240690B2 (ja) 情報処理装置と情報処理方法、及び情報処理システム、並びに記録媒体
JP5654806B2 (ja) サーバシステムとプリント装置及びそれらを有するネットワーク印刷システムとそれらにおける方法
JP7175618B2 (ja) 印刷システム、印刷装置とその制御方法、及びプログラム
JP2018081345A (ja) 印刷設定履歴表示プログラム、印刷システム及びサーバー
JP5821626B2 (ja) 画像形成装置及びプログラム
JP2011164854A (ja) 印刷設定管理装置、アプリケーション装置、印刷設定管理方法、印刷制御方法、及びプログラム
US10003703B2 (en) Data processing apparatus and print system
JP2012079219A (ja) ジョブ実行システム、ジョブ受付装置及びプログラム
JP2002215353A (ja) 印刷処理システム
JP2016200934A (ja) 画像出力システム、画像処理装置、画像出力装置、これらにおける方法及びプログラム
JP2006252480A (ja) コンピュータ、画像処理システム、及び画像処理方法
US6988243B2 (en) Print system and information processing apparatus
US20130077130A1 (en) Printing control system, printing control method, and image processor
US11520536B2 (en) Information processing apparatus, control method and program therefor, and server system capable of communicating with the information processing apparatus
US20160212300A1 (en) Image forming apparatus that executes job received from mobile device, control method for the image forming apparatus, and storage medium
JP5407520B2 (ja) 印刷制御装置及び印刷制御システム
US20120057199A1 (en) Image forming system, server, and image forming apparatus
JP2009053789A (ja) 情報処理装置とプログラムとコンピュータ読み取り可能な記録媒体
JP6197557B2 (ja) 画像処理装置及びプログラム
US11934707B2 (en) Image forming apparatus, control method, and storage medium
JP2006209309A (ja) 印刷システム
JP2004151993A (ja) 印刷方法
JP2015082159A (ja) 印刷装置、印刷システム及びプログラム
JP2009211523A (ja) 情報処理装置およびプログラム

Legal Events

Date Code Title Description
A621 Written request for application examination

Free format text: JAPANESE INTERMEDIATE CODE: A621

Effective date: 20120323

A977 Report on retrieval

Free format text: JAPANESE INTERMEDIATE CODE: A971007

Effective date: 20130529

A131 Notification of reasons for refusal

Free format text: JAPANESE INTERMEDIATE CODE: A131

Effective date: 20130604

A521 Request for written amendment filed

Free format text: JAPANESE INTERMEDIATE CODE: A523

Effective date: 20130724

A01 Written decision to grant a patent or to grant a registration (utility model)

Free format text: JAPANESE INTERMEDIATE CODE: A01

Effective date: 20131008

A61 First payment of annual fees (during grant procedure)

Free format text: JAPANESE INTERMEDIATE CODE: A61

Effective date: 20131021

LAPS Cancellation because of no payment of annual fees