JP5374599B2 - フォトマスクブランク及びフォトマスクの製造方法、並びに半導体装置の製造方法 - Google Patents

フォトマスクブランク及びフォトマスクの製造方法、並びに半導体装置の製造方法 Download PDF

Info

Publication number
JP5374599B2
JP5374599B2 JP2012016186A JP2012016186A JP5374599B2 JP 5374599 B2 JP5374599 B2 JP 5374599B2 JP 2012016186 A JP2012016186 A JP 2012016186A JP 2012016186 A JP2012016186 A JP 2012016186A JP 5374599 B2 JP5374599 B2 JP 5374599B2
Authority
JP
Japan
Prior art keywords
shielding film
film
light
light shielding
pattern
Prior art date
Legal status (The legal status is an assumption and is not a legal conclusion. Google has not performed a legal analysis and makes no representation as to the accuracy of the status listed.)
Active
Application number
JP2012016186A
Other languages
English (en)
Other versions
JP2012108533A (ja
Inventor
剛之 山田
浩之 岩下
正男 牛田
Current Assignee (The listed assignees may be inaccurate. Google has not performed a legal analysis and makes no representation or warranty as to the accuracy of the list.)
Hoya Corp
Original Assignee
Hoya Corp
Priority date (The priority date is an assumption and is not a legal conclusion. Google has not performed a legal analysis and makes no representation as to the accuracy of the date listed.)
Filing date
Publication date
Application filed by Hoya Corp filed Critical Hoya Corp
Priority to JP2012016186A priority Critical patent/JP5374599B2/ja
Publication of JP2012108533A publication Critical patent/JP2012108533A/ja
Application granted granted Critical
Publication of JP5374599B2 publication Critical patent/JP5374599B2/ja
Active legal-status Critical Current
Anticipated expiration legal-status Critical

Links

Images

Classifications

    • GPHYSICS
    • G03PHOTOGRAPHY; CINEMATOGRAPHY; ANALOGOUS TECHNIQUES USING WAVES OTHER THAN OPTICAL WAVES; ELECTROGRAPHY; HOLOGRAPHY
    • G03FPHOTOMECHANICAL PRODUCTION OF TEXTURED OR PATTERNED SURFACES, e.g. FOR PRINTING, FOR PROCESSING OF SEMICONDUCTOR DEVICES; MATERIALS THEREFOR; ORIGINALS THEREFOR; APPARATUS SPECIALLY ADAPTED THEREFOR
    • G03F1/00Originals for photomechanical production of textured or patterned surfaces, e.g., masks, photo-masks, reticles; Mask blanks or pellicles therefor; Containers specially adapted therefor; Preparation thereof
    • G03F1/26Phase shift masks [PSM]; PSM blanks; Preparation thereof
    • G03F1/32Attenuating PSM [att-PSM], e.g. halftone PSM or PSM having semi-transparent phase shift portion; Preparation thereof
    • GPHYSICS
    • G03PHOTOGRAPHY; CINEMATOGRAPHY; ANALOGOUS TECHNIQUES USING WAVES OTHER THAN OPTICAL WAVES; ELECTROGRAPHY; HOLOGRAPHY
    • G03FPHOTOMECHANICAL PRODUCTION OF TEXTURED OR PATTERNED SURFACES, e.g. FOR PRINTING, FOR PROCESSING OF SEMICONDUCTOR DEVICES; MATERIALS THEREFOR; ORIGINALS THEREFOR; APPARATUS SPECIALLY ADAPTED THEREFOR
    • G03F1/00Originals for photomechanical production of textured or patterned surfaces, e.g., masks, photo-masks, reticles; Mask blanks or pellicles therefor; Containers specially adapted therefor; Preparation thereof
    • G03F1/20Masks or mask blanks for imaging by charged particle beam [CPB] radiation, e.g. by electron beam; Preparation thereof
    • GPHYSICS
    • G03PHOTOGRAPHY; CINEMATOGRAPHY; ANALOGOUS TECHNIQUES USING WAVES OTHER THAN OPTICAL WAVES; ELECTROGRAPHY; HOLOGRAPHY
    • G03FPHOTOMECHANICAL PRODUCTION OF TEXTURED OR PATTERNED SURFACES, e.g. FOR PRINTING, FOR PROCESSING OF SEMICONDUCTOR DEVICES; MATERIALS THEREFOR; ORIGINALS THEREFOR; APPARATUS SPECIALLY ADAPTED THEREFOR
    • G03F1/00Originals for photomechanical production of textured or patterned surfaces, e.g., masks, photo-masks, reticles; Mask blanks or pellicles therefor; Containers specially adapted therefor; Preparation thereof
    • G03F1/36Masks having proximity correction features; Preparation thereof, e.g. optical proximity correction [OPC] design processes
    • GPHYSICS
    • G03PHOTOGRAPHY; CINEMATOGRAPHY; ANALOGOUS TECHNIQUES USING WAVES OTHER THAN OPTICAL WAVES; ELECTROGRAPHY; HOLOGRAPHY
    • G03FPHOTOMECHANICAL PRODUCTION OF TEXTURED OR PATTERNED SURFACES, e.g. FOR PRINTING, FOR PROCESSING OF SEMICONDUCTOR DEVICES; MATERIALS THEREFOR; ORIGINALS THEREFOR; APPARATUS SPECIALLY ADAPTED THEREFOR
    • G03F1/00Originals for photomechanical production of textured or patterned surfaces, e.g., masks, photo-masks, reticles; Mask blanks or pellicles therefor; Containers specially adapted therefor; Preparation thereof
    • G03F1/38Masks having auxiliary features, e.g. special coatings or marks for alignment or testing; Preparation thereof
    • G03F1/46Antireflective coatings
    • GPHYSICS
    • G03PHOTOGRAPHY; CINEMATOGRAPHY; ANALOGOUS TECHNIQUES USING WAVES OTHER THAN OPTICAL WAVES; ELECTROGRAPHY; HOLOGRAPHY
    • G03FPHOTOMECHANICAL PRODUCTION OF TEXTURED OR PATTERNED SURFACES, e.g. FOR PRINTING, FOR PROCESSING OF SEMICONDUCTOR DEVICES; MATERIALS THEREFOR; ORIGINALS THEREFOR; APPARATUS SPECIALLY ADAPTED THEREFOR
    • G03F1/00Originals for photomechanical production of textured or patterned surfaces, e.g., masks, photo-masks, reticles; Mask blanks or pellicles therefor; Containers specially adapted therefor; Preparation thereof
    • G03F1/54Absorbers, e.g. of opaque materials
    • GPHYSICS
    • G03PHOTOGRAPHY; CINEMATOGRAPHY; ANALOGOUS TECHNIQUES USING WAVES OTHER THAN OPTICAL WAVES; ELECTROGRAPHY; HOLOGRAPHY
    • G03FPHOTOMECHANICAL PRODUCTION OF TEXTURED OR PATTERNED SURFACES, e.g. FOR PRINTING, FOR PROCESSING OF SEMICONDUCTOR DEVICES; MATERIALS THEREFOR; ORIGINALS THEREFOR; APPARATUS SPECIALLY ADAPTED THEREFOR
    • G03F1/00Originals for photomechanical production of textured or patterned surfaces, e.g., masks, photo-masks, reticles; Mask blanks or pellicles therefor; Containers specially adapted therefor; Preparation thereof
    • G03F1/68Preparation processes not covered by groups G03F1/20 - G03F1/50
    • G03F1/80Etching
    • HELECTRICITY
    • H01ELECTRIC ELEMENTS
    • H01LSEMICONDUCTOR DEVICES NOT COVERED BY CLASS H10
    • H01L21/00Processes or apparatus adapted for the manufacture or treatment of semiconductor or solid state devices or of parts thereof
    • H01L21/02Manufacture or treatment of semiconductor devices or of parts thereof
    • H01L21/027Making masks on semiconductor bodies for further photolithographic processing not provided for in group H01L21/18 or H01L21/34
    • H01L21/033Making masks on semiconductor bodies for further photolithographic processing not provided for in group H01L21/18 or H01L21/34 comprising inorganic layers
    • H01L21/0334Making masks on semiconductor bodies for further photolithographic processing not provided for in group H01L21/18 or H01L21/34 comprising inorganic layers characterised by their size, orientation, disposition, behaviour, shape, in horizontal or vertical plane
    • H01L21/0335Making masks on semiconductor bodies for further photolithographic processing not provided for in group H01L21/18 or H01L21/34 comprising inorganic layers characterised by their size, orientation, disposition, behaviour, shape, in horizontal or vertical plane characterised by their behaviour during the process, e.g. soluble masks, redeposited masks
    • HELECTRICITY
    • H01ELECTRIC ELEMENTS
    • H01LSEMICONDUCTOR DEVICES NOT COVERED BY CLASS H10
    • H01L21/00Processes or apparatus adapted for the manufacture or treatment of semiconductor or solid state devices or of parts thereof
    • H01L21/02Manufacture or treatment of semiconductor devices or of parts thereof
    • H01L21/027Making masks on semiconductor bodies for further photolithographic processing not provided for in group H01L21/18 or H01L21/34
    • H01L21/033Making masks on semiconductor bodies for further photolithographic processing not provided for in group H01L21/18 or H01L21/34 comprising inorganic layers
    • H01L21/0334Making masks on semiconductor bodies for further photolithographic processing not provided for in group H01L21/18 or H01L21/34 comprising inorganic layers characterised by their size, orientation, disposition, behaviour, shape, in horizontal or vertical plane
    • H01L21/0337Making masks on semiconductor bodies for further photolithographic processing not provided for in group H01L21/18 or H01L21/34 comprising inorganic layers characterised by their size, orientation, disposition, behaviour, shape, in horizontal or vertical plane characterised by the process involved to create the mask, e.g. lift-off masks, sidewalls, or to modify the mask, e.g. pre-treatment, post-treatment

Landscapes

  • General Physics & Mathematics (AREA)
  • Physics & Mathematics (AREA)
  • Engineering & Computer Science (AREA)
  • Manufacturing & Machinery (AREA)
  • Inorganic Chemistry (AREA)
  • Condensed Matter Physics & Semiconductors (AREA)
  • Chemical & Material Sciences (AREA)
  • Computer Hardware Design (AREA)
  • Microelectronics & Electronic Packaging (AREA)
  • Power Engineering (AREA)
  • Preparing Plates And Mask In Photomechanical Process (AREA)
  • Exposure And Positioning Against Photoresist Photosensitive Materials (AREA)
  • Drying Of Semiconductors (AREA)

Description

本発明は、遮光膜パターン形成のためのドライエッチング処理用に遮光膜のドライエッチング速度を最適化させたフォトマスクブランク及びフォトマスクの製造方法、並びに半導体装置の製造方法に関する。
一般に、半導体装置の製造工程では、フォトリソグラフィー法を用いて微細パターンの形成が行われている。また、この微細パターンの形成には通常何枚ものフォトマスクと呼ばれている基板が使用される。このフォトマスクは、一般に透光性のガラス基板上に、金属薄膜等からなる遮光性の微細パターンを設けたものであり、このフォトマスクの製造においてもフォトリソグラフィー法が用いられている。
フォトリソグラフィー法によるフォトマスクの製造には、ガラス基板等の透光性基板上に遮光膜を有するフォトマスクブランクが用いられる。このフォトマスクブランクを用いたフォトマスクの製造は、フォトマスクブランク上に形成されたレジスト膜に対し、所望のパターン露光を施す露光工程と、所望のパターン露光に従って前記レジスト膜を現像してレジストパターンを形成する現像工程と、レジストパターンに沿って前記遮光膜をエッチングするエッチング工程と、残存したレジストパターンを剥離除去する工程とを有して行われている。上記現像工程では、フォトマスクブランク上に形成されたレジスト膜に対し所望のパターン露光を施した後に現像液を供給して、現像液に可溶なレジスト膜の部位を溶解し、レジストパターンを形成する。また、上記エッチング工程では、このレジストパターンをマスクとして、たとえばウェットエッチングによって、レジストパターンの形成されていない遮光膜が露出した部位を溶解し、これにより所望のマスクパターンを透光性基板上に形成する。こうして、フォトマスクが出来上がる。
特許文献1には、ウェットエッチングに適したマスクブランクとして、透明基板上に、クロム炭化物を含有するクロム膜を遮光膜として備えたフォトマスクブランクが記載されている。また、特許文献2には、同じくウェットエッチングに適したマスクブランクとして、透明基板上に、ハーフトーン材料膜と金属膜との積層膜を有し、この金属膜は、表面側から透明基板側に向かってエッチングレートが異なる材料で構成される領域が存在しており、例えばCrN/CrCの金属膜とCrONの反射防止膜からなるハーフトーン型位相シフトマスクブランクが記載されている。
ところで、半導体装置のパターンを微細化するに当たっては、フォトマスクに形成されるマスクパターンの微細化に加え、フォトリソグラフィーで使用される露光光源波長の短波長化が必要となる。半導体装置製造の際の露光光源としては、近年ではKrFエキシマレーザー(波長248nm)から、ArFエキシマレーザー(波長193nm)、更にはF2エキシマレーザー(波長157nm)へと短波長化が進んでいる。
その一方で、フォトマスクやフォトマスクブランクにおいては、フォトマスクに形成されるマスクパターンを微細化するに当たっては、フォトマスクブランクにおけるレジスト膜の薄膜化と、フォトマスク製造の際のパターニング手法として、従来のウェットエッチングに替わってドライエッチング加工が必要になってきている。
しかし、レジスト膜の薄膜化とドライエッチング加工は、以下に示す技術的な問題が生じている。
一つは、フォトマスクブランクのレジスト膜の薄膜化を進める際、遮光膜の加工時間が1つの大きな制限事項となっていることである。遮光膜の材料としては、一般にクロム系の材料が用いられ、クロムのドライエッチング加工では、エッチングガスに塩素ガスと酸素ガスの混合ガスが用いられている。レジストパターンをマスクにして遮光膜をドライエッチングでパターニングする際、レジストは有機膜でありその主成分は炭素であるので、ドライエッチング環境である酸素プラズマに対しては非常に弱い。遮光膜をドライエッチングでパターニングする間、その遮光膜上に形成されているレジストパターンは十分な膜厚で残っていなければならない。一つの指標として、マスクパターンの断面形状を良好にするために、ジャストエッチングタイムの2倍(100%オーバーエッチング)程度を行っても残存するようなレジスト膜厚にしなければならない。例えば、一般には、遮光膜の材料であるクロムと、レジスト膜とのエッチング選択比は1以下となっているので、レジスト膜の膜厚は、遮光膜の膜厚の2倍以上の膜厚が必要となることになる。遮光膜の加工時間を短くする方法として、遮光膜の薄膜化が考えられる。遮光膜の薄膜化については、特許文献3に提案されている。
特許文献3には、フォトマスクの製造において、透明基板上のクロム遮光膜の膜厚を薄膜化することにより、エッチング時間を短くでき、クロムパターンの形状を改善することが開示されている。
特公昭62−32782号公報 特許第2983020号公報 特開平10−69055号公報
しかしながら、遮光膜の膜厚を薄くしようとすると、遮光性が不十分となるため、このようなフォトマスクを使用してパターン転写を行っても、転写パターン不良が発生してしまう。遮光膜は、その遮光性を十分確保するためには、所定の光学濃度(例えば2.5以上)が必要となるため、上記特許文献3のように遮光膜の膜厚を薄くするといっても、自ずと限界が生じる。
また、上記特許文献1に記載されたクロム炭化物を含有するクロム膜を遮光膜とする場合、ドライエッチング速度が低下する傾向があり、ドライエッチングによる遮光膜の加工時間の短縮化を図ることができない。
さらに、上記特許文献2に記載された膜厚方向でウェットエッチングレートが異なるCrN/CrCの金属膜においては、CrC膜をCrN膜よりも厚くする必要があった。その理由は、第1に、上層のCrC膜と下層のCrN膜はいずれもウェットエッチングレートが良好であるが、下層中に窒素が含まれていると、ウェットエッチング処理した場合、アンダーカットが大きくなるという問題が生じるため、CrN膜の膜厚を相対的に薄くする必要があったからである。第2に、従来露光装置において使用されている波長であるi線(365nm)やKrFエキシマレーザー(248nm)においては、CrN膜の吸収係数が小さいため、遮光膜として所望の光学濃度を得るには、遮光性の高いCrC膜を厚めにする必要があったからである。第3に、遮光膜上にレジストパターンを形成するための露光(描画)は電子線を用いるのが一般的であるが、その際のチャージアップを抑制するためにはCrC膜を厚めにして遮光膜のシート抵抗を小さくする必要があったからである。しかし、特許文献2のマスクブランクは、上記金属膜中の炭素含有率が高くなり、ドライエッチングによりパターニングを行う場合、エッチング速度が低下するので、遮光膜の加工時間を短縮できないという問題がある。また、特許文献2のマスクブランクをドライエッチング処理に用いた場合、遮光膜の深さ方向に向かって、最初はドライエッチング速度が速く、主にCrC膜の領域では遅くなり、最後にCrN膜の領域では再び速くなるため、パターンの断面形状を劣化させたり、グローバルローディング現象が起こりやすいという問題がある。
そこで本発明は、従来の問題点を解決するべくなされたものであり、その目的とするところは、第一に、遮光膜のドライエッチング速度を高めることで、ドライエッチング時間が短縮でき、レジスト膜の膜減りを低減することができ、その結果、レジスト膜を薄膜化して解像性、パターン精度(CD精度)を向上でき、ドライエッチング時間の短縮化による断面形状の良好な遮光膜のパターンが形成することができるフォトマスクブランク及びフォトマスクの製造方法を提供することである。第二に、遮光膜に必要な遮光性能を有しつつ、遮光膜の薄膜化により、断面形状の良好な遮光膜のパターンが形成することができるフォトマスクブランク及びフォトマスクの製造方法を提供することである。第三に、遮光膜の深さ方向でのドライエッチング速度を最適化させることでグローバルローディング現象を低減でき、良好なパターン精度が得られるフォトマスクブランク及びフォトマスクの製造方法を提供することである。第四に、本発明のフォトマスクを使用してフォトリソグラフィー法により半導体基板上にパターン転写することにより、回路パターンの欠陥のない、良好な半導体装置が得られる半導体装置の製造方法を提供することである。
上記課題を解決するため、本発明は以下の構成を有する。
(構成1)透光性基板上に遮光膜を有するフォトマスクブランクにおいて、前記フォトマスクブランクは、前記遮光膜上に形成されるマスクパターンをマスクにしてドライエッチング処理により、前記遮光膜をパターニングするフォトマスクの作製方法に対応するドライエッチング処理用のフォトマスクブランクであって、前記遮光膜は、主にクロム(Cr)と窒素(N)とを含む材料からなり、かつ、X線回折による回折ピークが実質的にCrN(200)であることを特徴とするフォトマスクブランクである。
(構成2)前記遮光膜は、クロム(Cr)を基準としたときに窒素(N)が深さ方向に略均一に含まれていることを特徴とする構成1記載のフォトマスクブランクである。
(構成3)透光性基板上に遮光膜を有するフォトマスクブランクにおいて、前記フォトマスクブランクは、前記遮光膜上に形成されるマスクパターンをマスクにしてドライエッチング処理により、前記遮光膜をパターニングするフォトマスクの作製方法に対応するドライエッチング処理用のフォトマスクブランクであって、前記遮光膜は、クロム(Cr)を基準としたときに窒素(N)が深さ方向に略均一に含まれていることを特徴とするフォトマスクブランクである。
(構成4)前記遮光膜は、更に酸素を含み、表面側から透光性基板側に向かって酸素の含有量が減少していることを特徴とする構成1乃至3の何れか一に記載のフォトマスクブランクである。
(構成5)前記遮光膜の上層部に酸素を含む反射防止層を形成することを特徴とする構成1乃至4の何れか一に記載のフォトマスクブランクである。
(構成6)前記透光性基板と前記遮光膜との間に、ハーフトーン型位相シフター膜が形成されていることを特徴とする構成1乃至5の何れか一に記載のフォトマスクブランクである。
(構成7)構成1乃至6の何れか一に記載のフォトマスクブランクにおける前記遮光膜をドライエッチングによりパターニングして前記透光性基板上に遮光膜パターンを形成することを特徴とするフォトマスクの製造方法である。
(構成8)構成6に記載のフォトマスクブランクにおける前記遮光膜をドライエッチングによりパターニングして遮光膜パターンを形成した後、該遮光膜パターンをマスクにして、ドライエッチングにより前記ハーフトーン型位相シフター膜をパターニングして前記透光性基板上にハーフトーン型位相シフター膜パターンを形成することを特徴とするフォトマスクの製造方法である。
(構成9)構成7又は8に記載のフォトマスクにおける前記遮光膜パターン又は前記ハーフトーン型位相シフター膜パターンをフォトリソグラフィー法により、半導体基板上にパターンを転写することを特徴とする半導体装置の製造方法である。
構成1にあるように、本発明のフォトマスクブランクは、透光性基板上に遮光膜を有するフォトマスクブランクにおいて、前記フォトマスクブランクは、前記遮光膜上に形成されるマスクパターンをマスクにしてドライエッチング処理により、前記遮光膜をパターニングするフォトマスクの作製方法に対応するドライエッチング処理用のフォトマスクブランクであって、前記遮光膜は、主にクロム(Cr)と窒素(N)とを含む材料からなり、かつ、X線回折による回折ピークが実質的にCrN(200)である。ここで、X線回折による回折ピークが実質的にCrN(200)であるとは、有意な回折ピークが1本であり、CrN(200)以外の結晶に対応する回折ピークが現れないことを意味する。
このような主にクロム(Cr)と窒素(N)とを含む材料からなり、かつ、X線回折による回折ピークが実質的にCrN(200)であるような遮光膜は、クロム単体からなる遮光膜よりもドライエッチング速度が速くなり、ドライエッチング時間の短縮化を図ることができる。ドライエッチング速度を速くできることで、遮光膜のパターニングに必要なレジスト膜の膜厚を薄くすることができ、遮光膜のパターン精度(CD精度)が良好になる。また、このような元素を含むクロム系材料の遮光膜は、パターンの微細化を達成する上で有効な200nm以下の露光波長においては、膜厚を厚くしなくてもある程度の薄膜で所望の光学濃度(例えば2.5以上であることが好ましい)を得ることができる。つまり、遮光膜に必要な遮光性能を有しつつ、遮光膜の薄膜化を達成することが可能になる。
構成2にあるように、前記遮光膜は、クロム(Cr)を基準としたときに窒素(N)が深さ方向に略均一に含まれていることが好ましい。遮光膜が、クロム(Cr)を基準としたときに窒素(N)が深さ方向に略均一に含まれていることで、遮光膜の深さ方向に略均一な組成のCrN(200)が形成されている。その結果、構成1によるドライエッチング速度を速める効果がより一層発揮され、更に、パターン断面を良好、即ち垂直に立たせるためのエッチングプロセスの設定が容易になる。尚、遮光膜を、クロム(Cr)を基準としたときに窒素(N)が深さ方向に略均一に含ませる構成は、後述の構成6と組み合わせた場合に最適である。即ち、構成6にあるように、遮光膜がハーフトーン型位相シフター膜をパターニングする際のマスク層としての機能を持つ場合、遮光膜パターンをマスクにして形成されるハーフトーン型位相シフター膜パターンの断面形状も良好となる。
構成3にあるように、本発明のフォトマスクブランクは、透光性基板上に遮光膜を有するフォトマスクブランクにおいて、前記フォトマスクブランクは、前記遮光膜上に形成されるマスクパターンをマスクにしてドライエッチング処理により、前記遮光膜をパターニングするフォトマスクの作製方法に対応するドライエッチング処理用のフォトマスクブランクであって、前記遮光膜は、クロム(Cr)を基準としたときに窒素(N)が深さ方向に略均一に含まれていることである。
このような膜とすることにより、クロム単体からなる遮光膜よりもドライエッチング速度を速くできることで、遮光膜のパターニングに必要なレジスト膜の膜厚を薄くすることができ、遮光膜のパターン精度(CD精度)が良好になる。また、このような元素を含むクロム系材料の遮光膜は、パターンの微細化を達成する上で有効な200nm以下の露光波長においては、膜厚を厚くしなくてもある程度の薄膜で所望の光学濃度(例えば2.5以上であることが好ましい)を得ることができる。つまり、遮光膜に必要な遮光性能を有しつつ、遮光膜の薄膜化を達成することが可能になる。
また、遮光膜を、クロム(Cr)を基準としたときに窒素(N)が深さ方向に略均一に含ませた構成とすることにより、パターン断面を良好、即ち垂直に立たせるためのエッチングプロセスの設定が容易になる。尚、この構成は、後述の構成6と組み合わせた場合に最適である。即ち、構成6にあるように、遮光膜がハーフトーン型位相シフター膜をパターニングする際のマスク層としての機能を持つ場合、遮光膜パターンをマスクにして形成されるハーフトーン型位相シフター膜パターンの断面形状も良好となる。
構成4にあるように、前記遮光膜は、更に酸素を含み、表面側から透光性基板側に向かって酸素の含有量が減少していることにより、遮光膜の深さ方向(つまり遮光膜の表面側から透光性基板側)に向かってドライエッチング速度を遅くさせるように制御することができる。これにより、グローバルローディング現象を低減させ、パターン精度を向上させることができる。透光性基板側のドライエッチング速度が、表面側のドライエッチング速度に近づくにつれ、パターン粗密によるCDバイアス差、即ち、グローバルローディングエラーが大きくなる。そのため、透光性基板側のドライエッチング速度を、表面側のドライエッチング速度に対し適度に遅くすると、グローバルローディングエラーが低減し、パターン精度を向上させることができる。
構成5にあるように、前記遮光膜はその上層部に酸素を含む反射防止層を形成することができる。このような反射防止層を形成することにより、露光波長における反射率を低反射率に抑えることができるので、マスクパターンを被転写体に転写するときに、投影露光面との間での多重反射を抑制し、結像特性の低下を抑制することが出来る。また、フォトマスクブランクやフォトマスクの欠陥検査に用いる波長(例えば257nm、364nm、488nm等)に対する反射率を低く抑えることができるので、欠陥を検出する精度が向上する。
構成6にあるように、透光性基板と遮光膜との間に、ハーフトーン型位相シフター膜を形成しても良い。
その場合、遮光膜は、ハーフトーン型位相シフター膜との積層構造において、露光光に対して所望の光学濃度(例えば2.5以上であることが好ましい)となるように設定されればよい。
構成7にあるように、構成1乃至6の何れか一に記載のフォトマスクブランクにおける遮光膜をドライエッチング処理を用いてパターニングする工程を有するフォトマスクの製造方法によれば、ドライエッチング時間を短縮でき、断面形状の良好な遮光膜パターンが精度良く形成されたフォトマスクを得ることができる。
構成8にあるように、構成6に記載のフォトマスクブランクにおける前記遮光膜をドライエッチングによりパターニングして遮光膜パターンを形成した後、該遮光膜パターンをマスクにして、ドライエッチングにより前記ハーフトーン型位相シフター膜パターンを形成するフォトマスクの製造方法によれば、断面形状の良好なハーフトーン型位相シフター膜パターンが精度良く形成されたフォトマスクを得ることができる。
構成9にあるように、構成7又は8に記載のフォトマスクにおける前記遮光膜パターン又は前記ハーフトーン型位相シフター膜パターンをフォトリソグラフィー法により、半導体基板上にパターンを転写するので、半導体基板上に形成される回路パターンに欠陥のない半導体装置を製造することができる。
本発明によれば、遮光膜のドライエッチング速度を高めることで、ドライエッチング時間が短縮でき、レジスト膜の膜減りを低減することができる。その結果、レジスト膜の薄膜化が可能となり、パターンの解像性、パターン精度(CD精度)を向上することができる。更に、ドライエッチング時間の短縮化により、断面形状の良好な遮光膜パターンが形成できるフォトマスクブランク及びフォトマスクの製造方法を提供することができる。
また、本発明によれば、遮光膜に必要な遮光性能を有しつつ、遮光膜の薄膜化により、断面形状の良好な遮光膜のパターンが形成することができるフォトマスクブランク及びフォトマスクの製造方法を提供することができる。
さらに、本発明によれば、遮光膜の深さ方向でのドライエッチング速度を最適化させることでグローバルローディング現象を低減でき、良好なパターン精度が得られるフォトマスクブランク及びフォトマスクの製造方法を提供することができる。
またさらに、本発明のフォトマスクにおける遮光膜パターン又はハーフトーン型位相シフター膜パターンをフォトリソグラフィー法により、半導体基板上にパターン転写することにより、半導体基板上に形成される回路パターンに欠陥のない半導体装置を提供することができる。
本発明により得られるフォトマスクブランクの一実施の形態を示す断面図である。 フォトマスクブランクを用いたフォトマスクの製造工程を示す断面図である。 本発明の第二の実施の形態に係るフォトマスクブランク及びこのフォトマスクブランクを用いたフォトマスクの製造工程を示す断面図である。 本発明により得られるハーフトーン型位相シフトマスクの断面図である。 実施例1の遮光膜のラザフォード後方散乱分析による結果を示す図である。
以下、図面を参照して、本発明の実施の形態を詳述する。
図1は本発明により得られるフォトマスクブランクの第1の実施の形態を示す断面図である。
図1のフォトマスクブランク10は、透光性基板1上に遮光膜2を有するバイナリマスク用フォトマスクブランクの形態のものである。
上記フォトマスクブランク10は、前記遮光膜2上に形成されるレジストパターンをマスクにしてドライエッチング処理により、前記遮光膜2をパターニングするフォトマスクの作製方法に対応するドライエッチング処理用のマスクブランクである。
ここで、透光性基板1としては、ガラス基板が一般的である。ガラス基板は、平坦度及び平滑度に優れるため、フォトマスクを使用して半導体基板上へのパターン転写を行う場合、転写パターンの歪み等が生じないで高精度のパターン転写を行える。
上記遮光膜2は、主にクロム(Cr)と窒素(N)とを含む材料からなり、かつ、X線回折による回折ピークが実質的にCrN(200)である。
ここで、X線回折による回折ピークが実質的にCrN(200)であるとは、前にも説明したように、不純物等に由来する回折ピークを除く有意な回折ピークが1本であり、遮光膜の組成に由来する回折ピークがCrN(200)の結晶に対応する回折ピーク以外に現れないことを意味する。
このような主にクロム(Cr)と窒素(N)とを含む材料からなり、かつ、X線回折による回折ピークが実質的にCrN(200)であるような遮光膜は、クロム単体からなる遮光膜よりもドライエッチング速度が速くなり、ドライエッチング時間の短縮化を図ることができる。そして、ドライエッチング速度を速くできることで、遮光膜のパターニングに必要なレジスト膜の膜厚を薄くすることができ、遮光膜のパターン精度(CD精度)が良好になる。
また本発明において、上記遮光膜2は、クロム(Cr)を基準としたときに窒素(N)が深さ方向に略均一に含まれていることが好ましい。遮光膜が、クロム(Cr)を基準としたときに窒素(N)が深さ方向に略均一に含まれていることで、遮光膜の深さ方向に略均一な組成のCrN(200)が形成されており、Cr(110)成分は実質的に含まれていない。したがって、クロム(Cr)を基準としたときに窒素(N)が深さ方向に略均一に含まれている遮光膜は、本発明によるドライエッチング速度を速める効果がより一層発揮され、更に、パターン断面を良好、即ち垂直に立たせるためのエッチングプロセス(エッチング条件など)の設定が容易になる。
ここで、具体的には、クロム(Cr)を基準としたときに窒素(N)が深さ方向に略均一に含まれているとは、遮光膜の表面近傍と、透光性基板側の遮光膜界面を除く領域において、「クロム(Cr)を1としたときの窒素(N)の割合の平均値±0.05」となる状態をいう。好ましくは、クロム(Cr)を1としたときの窒素(N)の割合の平均値±0.025、更に好ましくは、クロム(Cr)を1としたときの窒素(N)の割合の平均値±0.01とすることが好ましい。
上記遮光膜2は、その上に形成されるレジストパターンをマスクにしてドライエッチングによってパターニングする際にレジスト膜の膜減りが起こっても、遮光膜のパターニング終了時点でレジスト膜が残存するように、ドライエッチング処理において、レジストとの選択比が1を超える材料とすることができる。選択比は、ドライエッチング処理に対するレジストの膜減り量と遮光膜の膜減り量の比(=遮光膜の膜減り量/レジストの膜減り量)で表される。好ましくは、遮光膜パターンの断面形状の悪化防止や、グローバルローディング現象を抑える点から、遮光膜は、レジストとの選択比が1を超え10以下、更に好ましくは、1を超え5以下とすることが望ましい。
また、このようなクロムと窒素とを含むクロム系材料の遮光膜は、パターンの微細化を達成する上で有効な200nm以下の露光波長においては、膜厚を厚くしなくてもある程度の薄膜で所望の光学濃度(例えば2.5以上であることが好ましい)を得ることができる。つまり、遮光膜に必要な遮光性能を有しつつ、遮光膜の薄膜化を達成することが可能になる。
上記遮光膜2中の窒素の含有量としては、15〜80原子%の範囲が好適である。窒素の含有量が15原子%未満であると、クロム単体よりもドライエッチング速度が速くなる効果が得られ難い。また、窒素の含有量が80原子%を超えると、波長200nm以下の例えばArFエキシマレーザー(波長193nm)においての吸収係数が小さくなるため、所望の光学濃度(例えば2.5以上)を得るためには膜厚を厚くする必要が生じてしまう。
本発明において、上記遮光膜2は、更に酸素を含むことができる。その場合、表面側から透光性基板側に向かって酸素の含有量が減少していることが好ましい。遮光膜の表面側から透光性基板側に向かって酸素の含有量が減少していることにより、遮光膜の深さ方向(つまり遮光膜の表面側から透光性基板側)に向かってドライエッチング速度を遅くさせるように制御することができる。これにより、グローバルローディング現象を低減させ、パターン精度を向上させることができる。透光性基板側のドライエッチング速度が、表面側のドライエッチング速度に近づくにつれ、パターン粗密によるCDバイアス差、即ち、グローバルローディングエラーが大きくなる。そのため、透光性基板側のドライエッチング速度を、表面側のドライエッチング速度に対し適度に遅くすると、グローバルローディングエラーが低減し、パターン精度を向上させることができる。
遮光膜2中に酸素を含む場合の酸素の含有量は、5〜80原子%の範囲が好適である。酸素の含有量が5原子%未満であると、遮光膜の深さ方向に向かってドライエッチング速度を遅くさせるように制御する効果が得られ難い。一方、酸素の含有量が80原子%を超えると、波長200nm以下の例えばArFエキシマレーザー(波長193nm)においての吸収係数が小さくなるため、所望の光学濃度(例えば2.5以上)を得るためには膜厚を厚くする必要が生じてしまう。また、好ましい遮光膜2中の酸素の含有量は特に10〜50原子%の範囲とするのが好ましい。
また、遮光膜2中に窒素と酸素の両方を含んでもよい。その場合の含有量は、窒素と酸素の合計が10〜80原子%の範囲とするのが好適である。また、遮光膜2中に窒素と酸素の両方を含む場合の窒素と酸素の含有比は、特に制約はされず、吸収係数等の兼ね合いで適宜決定される。
また、遮光膜2中に炭素を含むことができる。遮光膜2中に炭素を含む場合、炭素の含有量は、1〜20原子%の範囲が好適である。炭素は導電性を高める効果、反射率を低減させる効果がある。しかし、遮光膜中に炭素が含まれていると、ドライエッチング速度が低下し、遮光膜をドライエッチングによりパターニングする際に要するドライエッチング時間が長くなり、レジスト膜を薄膜化することが困難となる。以上の点から、炭素の含有量は、1〜20原子%が好ましく、さらに好ましくは、3〜15原子%が望ましい。
上記遮光膜2の形成方法は、特に制約する必要はないが、なかでもスパッタリング成膜法が好ましく挙げられる。スパッタリング成膜法によると、均一で膜厚の一定な膜を形成することが出来るので、本発明には好適である。透光性基板1上に、スパッタリング成膜法によって上記遮光膜2を成膜する場合、スパッタターゲットとしてクロム(Cr)ターゲットを用い、チャンバー内に導入するスパッタガスは、アルゴンガスやヘリウムガスなどの不活性ガスに酸素、窒素もしくは二酸化炭素、一酸化窒素等のガスを混合したものを用いる。アルゴンガス等の不活性ガスに窒素ガスを混合したスパッタガスを用いると、クロムと窒素を含む遮光膜を形成することができる。また、アルゴンガス等の不活性ガスに酸素ガス或いは二酸化炭素ガスを混合したスパッタガスを用いると、クロムに酸素を含む遮光膜を形成することができ、またアルゴンガス等の不活性ガスに一酸化窒素ガスを混合したスパッタガスを用いると、クロムに窒素と酸素を含む遮光膜を形成することができる。また、アルゴンガス等の不活性ガスにメタンガスを混合したスパッタガスを用いると、クロムに炭素を含む遮光膜を形成することができる。
本発明においては、遮光膜を構成する全ての層において、成膜する際、窒素を含む雰囲気中でスパッタリング成膜する。
上記遮光膜2の膜厚は、露光光に対して光学濃度が2.5以上となるように設定される。具体的には、上記遮光膜2の膜厚は、90nm以下であることが好ましい。その理由は、近年におけるサブミクロンレベルのパターンサイズへのパターンの微細化に対応するためには、膜厚が90nmを超えると、ドライエッチング時のパターンのマイクロローディング現象等によって、微細パターンの形成が困難となる場合が考えられるためである。膜厚をある程度薄くすることによって、パターンのアスペクト比(パターン幅に対するパターン深さの比)の低減を図ることができ、グローバルローディング現象及びマイクロローディング現象による線幅エラーを低減することができる。さらに、膜厚をある程度薄くすることによって、特にサブミクロンレベルのパターンサイズのパターンに対し、パターンへのダメージ(倒壊等)を防止することが可能になる。本発明における遮光膜2は、200nm以下の露光波長においては、膜厚を90nm以下の薄膜としても所望の光学濃度(例えば2.5以上)を得ることができる。遮光膜2の膜厚の下限については、所望の光学濃度が得られる限りにおいては薄くすることができる。
また、上記遮光膜2は、単層であることに限られず、多層でもよいが、何れの膜にも少なくとも窒素を含むことが好ましい。遮光膜2は、表層部(上層部)に例えば酸素を含む反射防止層を含むものであってもよい。その場合、反射防止層としては、例えばCrO,CrCO,CrNO,CrCON等の材質が好ましく挙げられる。反射防止層を設けることによって、露光波長における反射率を例えば20%以下、好ましくは15%以下に抑えることができるので、マスクパターンを被転写体に転写するときに、投影露光面との間での多重反射を抑制し、結像特性の低下を抑制することができる。さらに、フォトマスクブランクやフォトマスクの欠陥検査に用いる波長(例えば257nm、364nm、488nm等)に対する反射率を例えば30%以下とすることが、欠陥を高精度で検出する上で望ましい。特に、反射防止層として炭素を含む膜とすることにより、露光波長に対する反射率を低減させ、且つ、上記検査波長(特に257nm)に対する反射率が20%以下とすることができるので望ましい。具体的には、炭素の含有量は、5〜20原子%とすることが好ましい。炭素の含有量が5原子%未満の場合、反射率を低減させる効果が小さくなり、また、炭素の含有量が20原子%超の場合、ドライエッチング速度が低下し、遮光膜をドライエッチングによりパターニングする際に要するドライエッチング時間が長くなり、レジスト膜を薄膜化することが困難となるので好ましくない。
なお、反射防止層は必要に応じて透光性基板側にも設けてもよい。
また、上記遮光膜2は、クロムと、窒素、酸素、炭素等の元素の含有量が深さ方向で異なり、表層部の反射防止層と、それ以外の層(遮光層)で段階的、又は連続的に組成傾斜した組成傾斜膜としても良い。このような遮光膜を組成傾斜膜とするためには、例えば前述のスパッタリング成膜時のスパッタガスの種類(組成)を成膜中に適宜切替える方法が好適である。
また、フォトマスクブランクとしては、後述する図2(a)にあるように、上記遮光膜2の上に、レジスト膜3を形成した形態であっても構わない。レジスト膜3の膜厚は、遮光膜のパターン精度(CD精度)を良好にするためには、できるだけ薄い方が好ましい。本実施の形態のような所謂バイナリマスク用フォトマスクブランクの場合、具体的には、レジスト膜3の膜厚は、300nm以下が好ましい。さらに好ましくは、200nm以下、さらに好ましくは150nm以下とすることが望ましい。レジスト膜の膜厚の下限は、レジストパターンをマスクにして遮光膜をドライエッチングしたときに、レジスト膜が残存するように設定される。また、高い解像度を得るために、レジスト膜3の材料はレジスト感度の高い化学増幅型レジストが好ましい。
次に、図1に示すフォトマスクブランク10を用いたフォトマスクの製造方法を説明する。
このフォトマスクブランク10を用いたフォトマスクの製造方法は、フォトマスクブランク10の遮光膜2を、ドライエッチングを用いてパターニングする工程を有し、具体的には、フォトマスクブランク10上に形成されたレジスト膜に対し、所望のパターン露光(パターン描画)を施す工程と、所望のパターン露光に従って前記レジスト膜を現像してレジストパターンを形成する工程と、レジストパターンに沿って前記遮光膜をエッチングする工程と、残存したレジストパターンを剥離除去する工程とを有する。
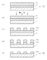
図2は、フォトマスクブランク10を用いたフォトマスクの製造工程を順に示す断面図である。
図2(a)は、図1のフォトマスクブランク10の遮光膜2上にレジスト膜3を形成した状態を示している。尚、レジスト材料としては、ポジ型レジスト材料でも、ネガ型レジスト材料でも用いることができる。
次に、図2(b)は、フォトマスクブランク10上に形成されたレジスト膜3に対し、所望のパターン露光(パターン描画)を施す工程を示す。パターン露光は、電子線描画装置などを用いて行われる。上述のレジスト材料は、電子線又はレーザーに対応する感光性を有するものが使用される。
次に、図2(c)は、所望のパターン露光に従ってレジスト膜3を現像してレジストパターン3aを形成する工程を示す。該工程では、フォトマスクブランク10上に形成したレジスト膜3に対し所望のパターン露光を施した後に現像液を供給して、現像液に可溶なレジスト膜の部位を溶解し、レジストパターン3aを形成する。
次いで、図2(d)は、上記レジストパターン3aに沿って遮光膜2をエッチングする工程を示す。本発明のフォトマスクブランクはドライエッチングに好適であるため、エッチングはドライエッチングを用いることが好適である。該エッチング工程では、上記レジストパターン3aをマスクとして、ドライエッチングによって、レジストパターン3aの形成されていない遮光膜2が露出した部位を除去し、これにより所望の遮光膜パターン2a(マスクパターン)を透光性基板1上に形成する。
このドライエッチングには、塩素系ガス、又は、塩素系ガスと酸素ガスとを含む混合ガスからなるドライエッチングガスを用いることが本発明にとって好適である。本発明における主にクロムと窒素とを含む材料からなる遮光膜2に対しては、上記のドライエッチングガスを用いてドライエッチングを行うことにより、ドライエッチング速度を高めることができ、ドライエッチング時間の短縮化を図ることができ、断面形状の良好な遮光膜パターンを形成することができる。ドライエッチングガスに用いる塩素系ガスとしては、例えば、Cl,SiCl,HCl、CCl、CHCl等が挙げられる。
尚、クロムと窒素の他に更に酸素を含む材料からなる遮光膜の場合、遮光膜中の酸素とクロムと塩素系ガスとの反応により塩化クロミルが生成されるため、ドライエッチングに塩素系ガスと酸素ガスの混合ガスからなるドライエッチングガスを用いる場合、遮光膜に含まれる酸素の含有量に応じ、ドライエッチングガス中の酸素の含有量を低減させることができる。このように酸素の量を低減させたドライエッチングガスを用いてドライエッチングを行うことにより、レジストパターンに悪影響を与える酸素の量を低減することができ、ドライエッチング時のレジストパターンへのダメージを防止できるため、遮光膜のパターン精度の向上したフォトマスクが得られる。なお、遮光膜に含まれる酸素の含有量によっては、ドライエッチングガス中の酸素の量をゼロとした酸素を含まないドライエッチングガスを用いることも可能である。
図2(e)は、残存したレジストパターン3aを剥離除去することにより得られたフォトマスク20を示す。こうして、断面形状の良好な遮光膜パターンが精度良く形成されたフォトマスクが出来上がる。
尚、本発明は以上説明した実施の形態には限定されない。即ち、透光性基板上に遮光膜を形成した、所謂バイナリマスク用フォトマスクブランクに限らず、例えば、ハーフトーン型位相シフトマスクの製造に用いるためのフォトマスクブランクであってもよい。この場合、後述する第2の実施の形態に示すように、透光性基板上のハーフトーン位相シフター膜上に遮光膜が形成される構造となり、ハーフトーン位相シフター膜と遮光膜とを合わせて所望の光学濃度(例えば2.5以上)が得られればよいため、遮光膜自体の光学濃度は例えば2.5よりも小さい値とすることもできる。
次に、図3(a)を用いて本発明のフォトマスクブランクの第2の実施の形態を説明する。
図3(a)のフォトマスクブランク30は、透光性基板1上に、ハーフトーン型位相シフター膜4とその上の遮光層5と反射防止層6とからなる遮光膜2を有する形態のものである。透光性基板1、遮光膜2については、上記第1の実施の形態で説明したので省略する。
上記ハーフトーン型位相シフター膜4は、実質的に露光に寄与しない強度の光(例えば、露光波長に対して1%〜40%)を透過させるものであって、所定の位相差を有するものである。このハーフトーン型位相シフター膜4は、該ハーフトーン型位相シフター膜4をパターニングした光半透過部と、ハーフトーン型位相シフター膜4が形成されていない実質的に露光に寄与する強度の光を透過させる光透過部とによって、光半透過部を透過して光の位相が光透過部を透過した光の位相に対して実質的に反転した関係になるようにすることによって、光半透過部と光透過部との境界部近傍を通過し回折現象によって互いに相手の領域に回りこんだ光が互いに打ち消しあうようにし、境界部における光強度をほぼゼロとし境界部のコントラスト即ち解像度を向上させるものである。
このハーフトーン型位相シフター膜4は、その上に形成される遮光膜2とエッチング特性が異なる材料とすることが好ましい。例えば、ハーフトーン型位相シフター膜4としては、モリブデン、タングステン、タンタル、ハフニウムなどの金属、シリコン、酸素及び/又は窒素を主たる構成要素とする材料が挙げられる。また、ハーフトーン型位相シフター膜4は、単層でも複数層であっても構わない。
この第2の実施の形態における上記遮光膜2は、ハーフトーン型位相シフト膜と遮光膜とを合わせた積層構造において、露光光に対して光学濃度が2.5以上となるように設定する。そのように設定される遮光膜2の膜厚は、50nm以下であることが好ましい。その理由は、上記第1の実施の形態と同様であって、ドライエッチング時のパターンのマイクロローディング現象等によって、微細パターンの形成が困難となる場合が考えられるからである。遮光膜の膜厚を50nm以下とすることにより、ドライエッチング時のグローバルローディング現象及びマイクロローディング現象による線幅エラーを更に低減することができる。また、本実施の形態において、上記反射防止層6上に形成するレジスト膜の膜厚は、250nm以下が好ましい。さらに好ましくは、200nm以下、さらに好ましくは150nm以下とすることが望ましい。レジスト膜の膜厚の下限は、レジストパターンをマスクにして遮光膜をドライエッチングしたときに、レジスト膜が残存するように設定される。また、前述の実施の形態の場合と同様、高い解像度を得るために、レジスト膜の材料はレジスト感度の高い化学増幅型レジストが好ましい。
以下、実施例により、本発明の実施の形態を更に具体的に説明する。併せて、実施例に対する比較例についても説明する。
(実施例1)
本実施例のフォトマスクブランクは、透光性基板1上に遮光層と反射防止層とからなる遮光膜2からなる。
このフォトマスクブランクは、次のような方法で製造することができる。
スパッタリング装置を用いて、スパッタターゲットにクロムターゲットを使用し、アルゴンガスと窒素ガスとヘリウムガスの混合ガス(Ar:30体積%、N:30体積%、He:40体積%)雰囲気中で反応性スパッタリングを行って透光性基板1上に遮光層を形成し、その後、アルゴンガスと窒素ガスとメタンガスとヘリウムガスの混合ガス(Ar:54体積%、N:10体積%、CH:6体積%、He:30体積%)雰囲気中で反応性スパッタリングを行い、引き続き、アルゴンガスと一酸化窒素ガスの混合ガス(Ar:90体積%、NO:10体積%)雰囲気中で反応性スパッタリングを行うことによって、反射防止層を形成し、合成石英ガラスからなる透光性基板1上に遮光膜2を形成した。尚、上記遮光層成膜時のスパッタリング装置のパワーは1.16kW、全ガス圧は0.17パスカル(Pa)、反射防止層成膜時のスパッタリング装置のパワーは0.33kW、全ガス圧は0.28パスカル(Pa)の条件で遮光膜を形成した。遮光膜の膜厚は、67nmであった。遮光膜について、ラザフォード後方散乱分析法により組成分析を行った結果、窒素(N)は33.0原子%、酸素(O)は12.3原子%、水素(H)は5.9原子%が含まれているクロム(Cr)膜であった。また、オージエ電子分光法により組成分析を行った結果、上記遮光膜中には炭素(C)が8.0原子%含まれていた。
図5は本実施例の遮光膜のラザフォード後方散乱分析による遮光膜の深さ方向の組成分析結果を示す図である。但し、図5の縦軸は、クロムを1としたときの各元素の組成比で示している。
この結果によると、遮光膜のうち遮光層は、クロム、窒素及び反射防止層の形成に用いた酸素、炭素が若干購入した組成傾斜膜となった。また反射防止層は、クロム、窒素、及び酸素、並びに、炭素が若干購入した組成傾斜膜となった。なお、遮光膜中の酸素は表面側の反射防止層中の含有量が高く、全体としては深さ方向に向かって含有量が減少している。また、遮光膜中の水素については、表面側の反射防止層中の含有量が高く、全体としては遮光膜の深さ方向に向かって水素の含有量が略減少している。そして、特に特徴的な点は、クロムを基準としたときに窒素が遮光膜の深さ方向に均一に含まれていることである。
また、本実施例の遮光膜をX線回折による分析を行ったところ、回折角度2θが44.081degの位置に1本の回折ピークが検出され、本実施例の遮光膜がCrN(200)を主体とする膜であることが判明した。
この遮光膜の光学濃度は、3.0であった。また、この遮光膜の露光波長193nmにおける反射率は14.8%と低く抑えることができた。さらに、フォトマスクの欠陥検査波長である257nm又は364nmに対しては、それぞれ19.9%、19.7%となり、検査する上でも問題とならない反射率であった。
次に、前記フォトマスクブランク上に、化学増幅型レジストである電子線描画用レジスト膜(富士フィルムエレクトロニクスマテリアルズ社製:FEP171)を形成した。レジスト膜の形成は、スピンナー(回転塗布装置)を用いて、回転塗布した。尚、上記レジスト膜を塗布後、加熱乾燥装置を用いて所定の加熱乾燥処理を行った。
次にフォトマスクブランク上に形成されたレジスト膜に対し、電子線描画装置を用いて所望のパターン描画(80nmのラインアンドスペースパターン)を行った後、所定の現像液で現像してレジストパターンを形成した。
次に、上記レジストパターンに沿って、遮光層と反射防止層とからなる遮光膜2のドライエッチング処理を行って遮光膜パターン2aを形成した。ドライエッチングガスとして、塩素(Cl)ガスと酸素(O)ガスの混合ガス(Cl:O=4:1)を用いた。このとき、遮光膜全体のエッチング速度は、3.8Å/秒であった。遮光膜の深さ方向におけるエッチング速度は、遮光膜の表面側のエッチング速度が速く、透光性基板側が遅い傾向であった。
本実施例では、遮光膜2が主にクロムと窒素とを含む材料からなり、かつ、CrN(200)を主体とする膜であることにより、遮光膜2全体のエッチング速度を速めることができた。また、遮光膜2における反射防止層に主に酸素を多く含め、かつ深さ方向に向かって酸素の含有量が減少するようにして、遮光膜の深さ方向に向かってドライエッチング速度を適度に遅くすることで、グローバルローディングエラーは実用上許容できる数値に収まった。このように、遮光膜2は膜厚が薄い上にエッチング速度が速く、エッチング時間も速いことから、遮光膜パターン2aの断面形状も垂直形状となり良好となった。また、遮光膜パターン2a上にはレジスト膜が残存していた。
最後に残存するレジストパターンを剥離して、フォトマスクを得た。その結果、透光性基板上に80nmのラインアンドスペースの遮光膜パターンが形成されたフォトマスクを作製することができた。
(実施例2)
図3は、本実施例に係るフォトマスクブランク及びこのフォトマスクブランクを用いたフォトマスクの製造工程を示す断面図である。本実施例のフォトマスクブランク30は、同図(a)に示すように、透光性基板1上に、ハーフトーン型位相シフター膜4とその上の遮光層5と反射防止層6とからなる遮光膜2からなる。
このフォトマスクブランク30は、次のような方法で製造することができる。
合成石英ガラスからなる透光性基板上に、枚葉式スパッタ装置を用いて、スパッタターゲットにモリブデン(Mo)とシリコン(Si)との混合ターゲット(Mo:Si=8:92mol%)を用い、アルゴン(Ar)と窒素(N)との混合ガス雰囲気(Ar:N=10体積%:90体積%)で、反応性スパッタリング(DCスパッタリング)により、モリブデン、シリコン、及び窒素を主たる構成要素とする単層で構成されたArFエキシマレーザー(波長193nm)用ハーフトーン型位相シフター膜を膜厚69nmに形成した。尚、このハーフトーン型位相シフター膜は、ArFエキシマレーザー(波長193nm)でおいて、透過率は5.5%、位相シフト量が略180°となっている。
次に、上記ハーフトーン型位相シフター膜上に、実施例1と同様にして総膜厚が48nmの遮光層及び反射防止層からなる遮光膜を形成した。
次に、前記フォトマスクブランク30上に、化学増幅型レジストである電子線描画用レジスト膜(富士フィルムエレクトロニクスマテリアルズ社製:FEP171、膜厚:200nm)を形成した。レジスト膜の形成は、スピンナー(回転塗布装置)を用いて、回転塗布した。尚、上記レジスト膜を塗布後、加熱乾燥装置を用いて所定の加熱乾燥処理を行った。
次に、前記フォトマスクブランク30上に形成されたレジスト膜に対し、電子線描画装置を用いて、所望のパターン描画(70nmのラインアンドスペースパターン)を行った後、所定の現像液で現像してレジストパターン7を形成した(図3(b)参照)。
次に、上記レジストパターン7に沿って、遮光層5と反射防止層6とからなる遮光膜2のドライエッチングを行って遮光膜パターン2aを形成した(同図(c)参照)。
次に、上述の遮光膜パターン2a及びレジストパターン7をマスクに、ハーフトーン型位相シフター膜4のエッチングを行ってハーフトーン型位相シフター膜パターン4aを形成した(同図(d)参照)。このハーフトーン型位相シフター膜4のエッチングにおいては、前記遮光膜パターン2aの断面形状が影響するため、遮光膜パターン2aの断面形状が良好であるために、ハーフトーン型位相シフター膜パターン4aの断面形状も良好となった。
次に、残存するレジストパターン7を剥離後、再度レジスト膜8を塗布し、転写領域内の不要な遮光膜パターンを除去するためのパターン露光を行った後、該レジスト膜8を現像してレジストパターン8aを形成した(同図(e)、(f)参照)。次いで、ウェットエッチングを用いて不要な遮光膜パターンを除去し、残存するレジストパターンを剥離して、フォトマスク40を得た(同図(g)参照)。
その結果、透光性基板上に、70nmのラインアンドスペースのハーフトーン型位相シフター膜パターンが形成されたフォトマスクを作製することが出来た。また、グローバルローディングエラーは実用上許容できる数値に収まった。
尚、図3(g)に示す例は、転写領域(マスクパターン形成領域)以外の領域である周辺領域において、位相シフター膜上に遮光膜を形成したものである。この遮光膜は、この周辺領域を露光光が通過できないようにするものである。すなわち、位相シフトマスクは、縮小投影露光装置(ステッパー)のマスクとして用いられるが、この縮小投影露光装置を用いてパターン転写を行うときは、該露光装置に備えられた被覆部材(アパーチャー)によって位相シフトマスクの転写領域のみを露出させるように周縁領域を被覆して露光を行う。しかしながら、この被覆部材を、精度良く転写領域のみを露出させるように設置することは難しく、多くの場合、露出部が転写領域の外周周辺の非転写領域にはみ出てしまう。通常、マスクの非転写領域にはこのはみ出してきた露光光を遮断するために遮光膜が設けられる。ハーフトーン型位相シフトマスクの場合は、位相シフター膜が遮光機能を有しているが、この位相シフター膜は露光光を完全に遮断するものではなく、1回の露光によっては実質的に露光に寄与できない程度の僅かな量ではあるが露光光を通過させる。それゆえ、繰り返しのステップ時にこのはみ出しによって位相シフター膜を通過した露光光がすでにパターン露光がなされた領域に達して重複露光がされたり、或いは他のショットの際に同様にはみ出しによる僅かな露光がなされた部分に重ねて露光する場合が生じる。この重複露光によって、それらが加算されて露光に寄与する量に達して、欠陥が発生する場合があった。マスクパターン形成領域以外の領域である周辺領域において位相シフター膜上に形成された上記遮光膜はこの問題を解消するものである。また、マスクの周辺領域に識別用の符号等を付す場合に、遮光膜があると、付された符号等を認識し易くなる。
(実施例3)
実施例1と同じ合成石英ガラスからなる透光性基板上に、枚葉式スパッタ装置を用いて、スパッタターゲットにタンタル(Ta)とハフニウム(Hf)との混合ターゲット(Ta:Hf=90:10at%)を用い、アルゴン(Ar)ガス雰囲気中で、DCマグネトロンスパッタリングにより、膜厚75ÅのTaHf膜を形成し、次に、Siターゲットを用い、アルゴンと酸素と窒素の混合ガス雰囲気中で、反応性スパッタリングにより、膜厚740ÅのSiON膜(Si:O:N=40:27:33at%)を形成した。つまり、TaHf膜を下層とし、SiON膜を上層とする二層で構成されたArFエキシマレーザー(波長193nm)用ハーフトーン型位相シフター膜を形成した。尚、このハーフトーン型位相シフター膜は、ArFエキシマレーザー(波長193nm)でおいて、透過率は15.0%と高透過率を有し、位相シフト量が略180°となっている。
次に、上記ハーフトーン型位相シフター膜上に、実施例2と全く同様にして総膜厚が48nmの遮光層及び反射防止層からなる遮光膜を形成した。
このようにして得られたハーフトーン型位相シフトマスク用のフォトマスクブランクを用いて、実施例2と同様に、ハーフトーン型位相シフトマスクを作製した。但し、本実施例では、図4に示すように、転写領域内の遮光膜パターンを除去せずに、マスクパターンにおける光透過部(マスクパターンが形成されておらず透明基板が露出している部分)との境界部を除く部分に遮光膜を形成させておいた。
その結果、透光性基板上に、70nmのラインアンドスペースのハーフトーン型位相シフター膜パターンが形成されたフォトマスクを作製することが出来た。また、グローバルローディングエラーは実用上許容できる数値に収まった。
図4に示すハーフトーン型位相シフトマスクは、位相シフター膜のマスクパターンが形成されている領域にあって、マスクパターンにおける光透過部(マスクパターンが形成されておらず透明基板が露出している部分)との境界部を除く部分に遮光膜を形成させておくことによって、本来は完全に遮光されることが望ましい部分の遮光をより完全にするようにしたものである。すなわち、マスクパターンが形成されている領域内にあっては、マスクパターンである位相シフター膜に本来要求される機能は、光透過部との境界部のみで位相をシフトさせた光を通過させればよく、他の大部分(上記境界部を除く部分)は、むしろ完全に遮光することが望ましいからである。本実施例のように、露光光に対する透過率が高い位相シフター膜を備える場合には、本実施例のフォトマスクの形態は特に好適である。
(実施例4)
実施例2におけるハーフトーン型位相シフター膜4上に形成する遮光膜2を、以下の条件にてスパッタ成膜した以外は実施例2と同様にしてフォトマスクブランク及びフォトマスクを作製した。ハーフトーン型位相シフター膜上の遮光膜は、スパッタリング装置を用いて、スパッタターゲットにクロムターゲットを使用し、アルゴンガスと窒素ガスとヘリウムガスの混合ガス(Ar:15体積%、N:30体積%、He:55体積%)雰囲気中で反応性スパッタリングを行って遮光層を形成した後、アルゴンガスと窒素ガスとメタンガスとヘリウムガスの混合ガス(Ar:54体積%、N:10体積%、CH:6体積%、He:30体積)雰囲気中で反応性スパッタリングを行い、引き続き、アルゴンガスと一酸化窒素ガスの混合ガス(Ar:90体積%、NO:10体積%)雰囲気中で反応性スパッタリングを行うことによって、反射防止層を形成し、遮光膜とした。尚、遮光層及び、反射防止層成膜時のスパッタリング装置のパワー、全ガス圧は、実施例1と同様の条件で行い、遮光膜の膜厚は、48nmとした。
本実施例の遮光膜をラザフォード後方散乱分析による遮光膜の深さ方向の組成分析を行ったところ、クロムを基準(即ち、1)としたときの窒素は、遮光膜の深さ方向に均一に含まれていることを確認した。
また、本実施例の遮光膜をX線回折による分析を行ったところ、回折ピーク強度が弱く結晶性もあまり高くない膜であった。
このようにして得られたハーフトーン型位相シフトマスク用のフォトマスクブランクを用いて、実施例2と同様に、ハーフトーン型位相シフトマスクを作製した。
その結果、透光性基板上に、70nmのラインアンドスペースのハーフトーン型位相シフター膜パターンが形成されたフォトマスクを作製することが出来た。また、グローバルローディングエラーは実用上許容できる数値に収まった。
(比較例)
スパッタリングターゲットにクロムターゲットを使用し、アルゴンガスと窒素ガスの混合ガス(Ar:70体積%、N:30体積%)雰囲気中で反応性スパッタリングを行って透光性基板1上に遮光層を形成し、その後、アルゴンガスとメタンガスの混合ガス(Ar:90体積%、CH:10体積%)雰囲気中で反応性スパッタリングを行い、引き続き、アルゴンガスと一酸化窒素ガスの混合ガス(Ar:90体積%、NO:10体積%)雰囲気中で反応性スパッタリングを行うことによって、反射防止層を形成し、合成石英ガラスからなる透光性基板1上に遮光膜2を形成した。尚、上記遮光層成膜時のスパッタリング装置のパワーは0.33kW、全ガス圧は0.28パスカル(Pa)、反射防止層成膜時のスパッタリング装置のパワーは0.33kW、全ガス圧は0.28パスカル(Pa)の条件で遮光膜を形成した。遮光膜の膜厚は、70nmであった。
本比較例の遮光膜をX線回折による分析を行ったところ、回折角度2θが43.993degと45.273degの2本の回折ピークが検出され、本比較例の遮光膜がCrN(200)とCr(110)の混在する膜であることが判明した。
また、本比較例の遮光膜のラザフォード後方散乱分析による遮光膜の深さ方向の組成分析結果を行なったところ、クロムを基準としたときに窒素が遮光膜の深さ方向に均一には含まれておらず、とくに遮光層では深さ方向に窒素が減少していることがわかった。
次に、前記フォトマスクブランク上に、化学増幅型レジストである電子線描画用レジスト膜(富士フィルムエレクトロニクスマテリアルズ社製:FEP171)を形成した。レジスト膜の形成は、スピンナー(回転塗布装置)を用いて、回転塗布した。尚、上記レジスト膜を塗布後、加熱乾燥装置を用いて所定の加熱乾燥処理を行った。
次にフォトマスクブランク上に形成されたレジスト膜に対し、電子線描画装置を用いて所望のパターン描画(80nmのラインアンドスペースパターン)を行った後、所定の現像液で現像してレジストパターンを形成した。
次に、上記レジストパターンに沿って、遮光層と反射防止層とからなる遮光膜2のドライエッチング処理を行って遮光膜パターン2aを形成した。ドライエッチングガスとして、塩素(Cl)ガスと酸素(O)ガスの混合ガス(Cl:O=4:1)を用いた。このとき、遮光膜全体のエッチング速度は、2.4Å/秒であった。遮光膜の深さ方向におけるエッチング速度は、遮光膜の表面側と透光性基板側とでは同一であった。
本比較例では、遮光膜2におけるドライエッチング速度が遅いために、遮光膜2のドライエッチング時間が長くなり、断面形状の良好な遮光膜パターンが得られなかった。また、ドライエッチング時間が長くなることにより、レジスト膜を厚めに形成する必要があったため、良好な解像性、パターン精度が得られなかった。また、遮光膜の深さ方向に向かってドライエッチング速度が略一定となったため、グローバルローディングエラーが大きくなり、グローバルローディングエラーは実用上許容できる数値に収まらなかった。
(半導体装置の製造方法)
実施例1〜4によって得られたフォトマスクを露光装置にセットし、半導体基板上のレジスト膜にパターン転写を行って、半導体装置を作製したところ、半導体基板上に形成された回路パターンの欠陥もなく、良好な半導体装置を得ることができた。
1 透光性基板
2 遮光膜
3 レジスト膜
4 ハーフトーン型位相シフター膜
5 遮光層
6 反射防止層
2a 遮光膜のパターン
3a レジストパターン
10、30 フォトマスクブランク
20、40 フォトマスク

Claims (5)

  1. 透光性基板上に露光光に対して光学濃度が2.5以上となるように複数の薄膜が形成されたフォトマスクブランクであって、
    前記フォトマスクブランクは、前記薄膜上に形成されるマスクパターンをマスクにしてドライエッチング処理により、前記薄膜をパターニングするフォトマスクの作製方法に対応するドライエッチング処理用のフォトマスクブランクであって、
    前記フォトマスクブランクは、前記透光性基板側から、金属、シリコン、酸素及び/又は窒素を主たる構成要素とする材料からなる層と、主にクロム(Cr)と窒素(N)とを含む材料からなり、かつ、X線回折による回折ピークが実質的にCrN(200)からなる層とを有することを特徴とするフォトマスクブランク。
  2. 前記主にクロム(Cr)と窒素(N)とを含む材料からなる層は、クロム(Cr)を基準としたときに窒素(N)が深さ方向に略均一に含まれていることを特徴とする請求項1記載のフォトマスクブランク。
  3. 前記主にクロム(Cr)と窒素(N)とを含む材料からなる層は、更に酸素を含み、表面側から透光性基板側に向かって酸素の含有量が減少していることを特徴とする請求項1又は2記載のフォトマスクブランク。
  4. 請求項1乃至3の何れか一に記載のフォトマスクブランクにおける前記主にクロム(Cr)と窒素(N)とを含む材料からなる層をドライエッチングによりパターニングして、主にクロムと窒素とを含む材料からなるパターンを形成した後、該パターンをマスクにして、ドライエッチングにより前記金属、シリコン、酸素及び/又は窒素を主たる構成要素とする材料からなる層をパターニングすることを特徴とするフォトマスクの製造方法。
  5. 請求項4に記載のフォトマスクを露光装置にセットし、半導体基板上のレジスト膜にパターン転写を行うことを特徴とする半導体装置の製造方法。

JP2012016186A 2005-12-26 2012-01-30 フォトマスクブランク及びフォトマスクの製造方法、並びに半導体装置の製造方法 Active JP5374599B2 (ja)

Priority Applications (1)

Application Number Priority Date Filing Date Title
JP2012016186A JP5374599B2 (ja) 2005-12-26 2012-01-30 フォトマスクブランク及びフォトマスクの製造方法、並びに半導体装置の製造方法

Applications Claiming Priority (3)

Application Number Priority Date Filing Date Title
JP2005371908 2005-12-26
JP2005371908 2005-12-26
JP2012016186A JP5374599B2 (ja) 2005-12-26 2012-01-30 フォトマスクブランク及びフォトマスクの製造方法、並びに半導体装置の製造方法

Related Parent Applications (1)

Application Number Title Priority Date Filing Date
JP2007551978A Division JP4968740B2 (ja) 2005-12-26 2006-12-26 フォトマスクブランク及びフォトマスクの製造方法、並びに半導体装置の製造方法

Publications (2)

Publication Number Publication Date
JP2012108533A JP2012108533A (ja) 2012-06-07
JP5374599B2 true JP5374599B2 (ja) 2013-12-25

Family

ID=38218026

Family Applications (2)

Application Number Title Priority Date Filing Date
JP2007551978A Active JP4968740B2 (ja) 2005-12-26 2006-12-26 フォトマスクブランク及びフォトマスクの製造方法、並びに半導体装置の製造方法
JP2012016186A Active JP5374599B2 (ja) 2005-12-26 2012-01-30 フォトマスクブランク及びフォトマスクの製造方法、並びに半導体装置の製造方法

Family Applications Before (1)

Application Number Title Priority Date Filing Date
JP2007551978A Active JP4968740B2 (ja) 2005-12-26 2006-12-26 フォトマスクブランク及びフォトマスクの製造方法、並びに半導体装置の製造方法

Country Status (4)

Country Link
JP (2) JP4968740B2 (ja)
KR (2) KR101333991B1 (ja)
TW (2) TWI451191B (ja)
WO (1) WO2007074806A1 (ja)

Families Citing this family (22)

* Cited by examiner, † Cited by third party
Publication number Priority date Publication date Assignee Title
US8512916B2 (en) 2008-03-31 2013-08-20 Hoya Corporation Photomask blank, photomask, and method for manufacturing photomask blank
US9005851B2 (en) 2008-06-25 2015-04-14 Hoya Corporation Phase shift mask blank and phase shift mask
KR102198731B1 (ko) * 2008-06-25 2021-01-05 호야 가부시키가이샤 위상 시프트 마스크 블랭크 및 위상 시프트 마스크
WO2010113474A1 (ja) * 2009-03-31 2010-10-07 Hoya株式会社 マスクブランクおよび転写用マスク
KR101374484B1 (ko) 2010-11-22 2014-03-13 신에쓰 가가꾸 고교 가부시끼가이샤 포토마스크 블랭크 및 포토마스크의 제조 방법, 및 크롬계 재료막
JP5820766B2 (ja) 2012-05-16 2015-11-24 信越化学工業株式会社 フォトマスクブランクの製造方法、フォトマスクブランク、フォトマスク、および、パターン転写方法
JP5795991B2 (ja) * 2012-05-16 2015-10-14 信越化学工業株式会社 フォトマスクブランク、フォトマスクの製造方法、および位相シフトマスクの製造方法
JP5739375B2 (ja) 2012-05-16 2015-06-24 信越化学工業株式会社 ハーフトーン位相シフトマスクブランク及びハーフトーン位相シフトマスクの製造方法
JP5635577B2 (ja) * 2012-09-26 2014-12-03 Hoya株式会社 フォトマスクの製造方法、フォトマスク、パターン転写方法、及びフラットパネルディスプレイの製造方法
JP6229466B2 (ja) 2013-12-06 2017-11-15 信越化学工業株式会社 フォトマスクブランク
JP6150299B2 (ja) 2014-03-30 2017-06-21 Hoya株式会社 マスクブランク、転写用マスクの製造方法及び半導体装置の製造方法
JP2016057578A (ja) * 2014-09-12 2016-04-21 信越化学工業株式会社 フォトマスクブランク
WO2016147518A1 (ja) * 2015-03-19 2016-09-22 Hoya株式会社 マスクブランク、転写用マスク、転写用マスクの製造方法および半導体デバイスの製造方法
US10018905B2 (en) * 2015-04-06 2018-07-10 S & S Tech Co., Ltd Phase shift blankmask and photomask
JP6375269B2 (ja) 2015-07-01 2018-08-15 信越化学工業株式会社 無機材料膜、フォトマスクブランク、およびフォトマスクの製造方法
JP6451561B2 (ja) * 2015-09-03 2019-01-16 信越化学工業株式会社 フォトマスクブランク
JP6783551B2 (ja) * 2016-05-20 2020-11-11 アルバック成膜株式会社 マスクブランクスの製造方法
JP7115281B2 (ja) * 2018-12-12 2022-08-09 信越化学工業株式会社 フォトマスクブランク、及びフォトマスクの製造方法
WO2020261986A1 (ja) * 2019-06-27 2020-12-30 Hoya株式会社 薄膜付基板、多層反射膜付基板、反射型マスクブランク、反射型マスク及び半導体装置の製造方法
JP7329031B2 (ja) 2020-12-31 2023-08-17 エスケー エンパルス カンパニー リミテッド ブランクマスク及びそれを用いたフォトマスク
JP7329033B2 (ja) 2020-12-31 2023-08-17 エスケー エンパルス カンパニー リミテッド ブランクマスク及びそれを用いたフォトマスク
JP7731294B2 (ja) * 2022-01-04 2025-08-29 アルバック成膜株式会社 位相シフトマスクブランクス、位相シフトマスク、製造方法

Family Cites Families (10)

* Cited by examiner, † Cited by third party
Publication number Priority date Publication date Assignee Title
JPH05297570A (ja) * 1992-04-20 1993-11-12 Toppan Printing Co Ltd フォトマスクブランクの製造方法
JPH0695362A (ja) * 1992-09-10 1994-04-08 Toppan Printing Co Ltd フォトマスクブランク
JP3166812B2 (ja) * 1994-09-09 2001-05-14 凸版印刷株式会社 ハーフトーン型位相シフトマスク
JP3037941B2 (ja) * 1997-12-19 2000-05-08 ホーヤ株式会社 ハーフトーン型位相シフトマスク及びハーフトーン型位相シフトマスクブランク
JP3276954B2 (ja) * 1998-07-31 2002-04-22 ホーヤ株式会社 フォトマスクブランク、フォトマスク、及びそれらの製造方法並びに微細パターン形成方法
JP2983020B1 (ja) * 1998-12-18 1999-11-29 ホーヤ株式会社 ハーフトーン型位相シフトマスクブランク及びハーフトーン型位相シフトマスク
JP2003195483A (ja) * 2001-12-28 2003-07-09 Hoya Corp フォトマスクブランク、フォトマスク、及びそれらの製造方法
DE112004000235B4 (de) * 2003-02-03 2018-12-27 Hoya Corp. Fotomasken-Rohling, Fotomaske und Muster-Übertragungsverfahren unter Verwendung einer Fotomaske
JP4405443B2 (ja) * 2004-10-22 2010-01-27 信越化学工業株式会社 フォトマスクブランクおよびフォトマスクならびにこれらの製造方法
JP4766507B2 (ja) * 2005-03-30 2011-09-07 Hoya株式会社 位相シフトマスクブランク及び位相シフトマスクの製造方法

Also Published As

Publication number Publication date
JPWO2007074806A1 (ja) 2009-06-04
KR101333991B1 (ko) 2013-11-27
WO2007074806A1 (ja) 2007-07-05
JP4968740B2 (ja) 2012-07-04
TW201341945A (zh) 2013-10-16
KR101319659B1 (ko) 2013-10-17
KR20120057612A (ko) 2012-06-05
KR20080089442A (ko) 2008-10-06
JP2012108533A (ja) 2012-06-07
TW200731005A (en) 2007-08-16
TWI451191B (zh) 2014-09-01
TWI397766B (zh) 2013-06-01

Similar Documents

Publication Publication Date Title
JP5374599B2 (ja) フォトマスクブランク及びフォトマスクの製造方法、並びに半導体装置の製造方法
JP5820557B2 (ja) フォトマスクブランク及びフォトマスクの製造方法、並びに半導体装置の製造方法
JP5455147B2 (ja) フォトマスクブランクの製造方法及びフォトマスクの製造方法、並びに半導体装置の製造方法
JP4989800B2 (ja) マスクブランク及び転写用マスクの製造方法
KR101511926B1 (ko) 포토 마스크의 제조방법 및 포토 마스크 블랭크
KR101780068B1 (ko) 마스크 블랭크 및 전사용 마스크의 제조 방법
JP5185888B2 (ja) フォトマスクブランク及びフォトマスク
US8021806B2 (en) Photomask blank, photomask, and methods of manufacturing the same
WO2010113787A1 (ja) マスクブランク及び転写用マスクの製造方法
JP2006048033A (ja) フォトマスクブランク及びフォトマスクの製造方法、並びに半導体装置の製造方法
JP4834203B2 (ja) フォトマスクブランクの製造方法及びフォトマスクの製造方法
TWI789999B (zh) 遮罩基底、轉印用遮罩及半導體元件之製造方法
JP4614877B2 (ja) フォトマスクブランクの製造方法及びフォトマスクの製造方法

Legal Events

Date Code Title Description
A977 Report on retrieval

Free format text: JAPANESE INTERMEDIATE CODE: A971007

Effective date: 20130822

TRDD Decision of grant or rejection written
A01 Written decision to grant a patent or to grant a registration (utility model)

Free format text: JAPANESE INTERMEDIATE CODE: A01

Effective date: 20130827

A61 First payment of annual fees (during grant procedure)

Free format text: JAPANESE INTERMEDIATE CODE: A61

Effective date: 20130920

R150 Certificate of patent or registration of utility model

Ref document number: 5374599

Country of ref document: JP

Free format text: JAPANESE INTERMEDIATE CODE: R150

Free format text: JAPANESE INTERMEDIATE CODE: R150

R250 Receipt of annual fees

Free format text: JAPANESE INTERMEDIATE CODE: R250

R250 Receipt of annual fees

Free format text: JAPANESE INTERMEDIATE CODE: R250

R250 Receipt of annual fees

Free format text: JAPANESE INTERMEDIATE CODE: R250

R250 Receipt of annual fees

Free format text: JAPANESE INTERMEDIATE CODE: R250

R250 Receipt of annual fees

Free format text: JAPANESE INTERMEDIATE CODE: R250

R250 Receipt of annual fees

Free format text: JAPANESE INTERMEDIATE CODE: R250

R250 Receipt of annual fees

Free format text: JAPANESE INTERMEDIATE CODE: R250

R250 Receipt of annual fees

Free format text: JAPANESE INTERMEDIATE CODE: R250

R250 Receipt of annual fees

Free format text: JAPANESE INTERMEDIATE CODE: R250

R250 Receipt of annual fees

Free format text: JAPANESE INTERMEDIATE CODE: R250