JP5367524B2 - 定着装置、及び画像形成装置 - Google Patents

定着装置、及び画像形成装置 Download PDF

Info

Publication number
JP5367524B2
JP5367524B2 JP2009221190A JP2009221190A JP5367524B2 JP 5367524 B2 JP5367524 B2 JP 5367524B2 JP 2009221190 A JP2009221190 A JP 2009221190A JP 2009221190 A JP2009221190 A JP 2009221190A JP 5367524 B2 JP5367524 B2 JP 5367524B2
Authority
JP
Japan
Prior art keywords
opening
fixing device
closing body
roller
fixing
Prior art date
Legal status (The legal status is an assumption and is not a legal conclusion. Google has not performed a legal analysis and makes no representation as to the accuracy of the status listed.)
Active
Application number
JP2009221190A
Other languages
English (en)
Other versions
JP2011070013A (ja
Inventor
昌也 浅川
孝師 山中
博一 中村
典子 井上
雅樹 雨宮
Current Assignee (The listed assignees may be inaccurate. Google has not performed a legal analysis and makes no representation or warranty as to the accuracy of the list.)
Sharp Corp
Original Assignee
Sharp Corp
Priority date (The priority date is an assumption and is not a legal conclusion. Google has not performed a legal analysis and makes no representation as to the accuracy of the date listed.)
Filing date
Publication date
Application filed by Sharp Corp filed Critical Sharp Corp
Priority to JP2009221190A priority Critical patent/JP5367524B2/ja
Publication of JP2011070013A publication Critical patent/JP2011070013A/ja
Application granted granted Critical
Publication of JP5367524B2 publication Critical patent/JP5367524B2/ja
Active legal-status Critical Current
Anticipated expiration legal-status Critical

Links

Images

Landscapes

  • Fixing For Electrophotography (AREA)

Description

本発明は、複写機、プリンタ、ファクシミリ装置等の画像形成装置で用いられる定着装置、及びそれを用いた画像形成装置に関する。
この種の画像形成装置としては、電子写真方式のものがある。この方式の装置では、静電潜像を感光体ドラム表面に形成し、トナーにより感光体ドラム表面の静電潜像を現像して、感光体ドラム表面にトナー像を形成し、トナー像を感光体ドラムから記録用紙等に転写し、記録用紙を加熱及び加圧して、トナー像を記録用紙上に定着させている。
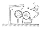
記録用紙上のトナー像の定着には、例えば図6(a)に示すような定着装置が用いられる。この定着装置では、加熱ローラ101と加圧ローラ102を相互に圧接させた状態で軸支し、各ローラ101、102を回転させて、各ローラ101、102間に記録用紙Pを導いて搬送しつつ、記録用紙Pを加熱及び加圧して、トナー像を記録用紙P上に定着させている。また、図6(a)、(b)に示すように開閉体103を軸103a周りで回転自在に軸支して、開閉体103を開閉可能に設け、開閉体103を開いて、各ローラ101、102間に詰まった記録用紙の除去を可能にしている。
このような定着装置には、通常、寿命があって、その寿命に達したときには新たなものに交換される。ところが、定着装置を交換するべく、新たな定着装置を机等の上に載置して準備した状態で、加熱ローラや加圧ローラが露出したならば、これらのローラに傷が付いたり埃等が付着することがある。
図7は、図6の定着装置を平坦な載置面に載置した状態を示す断面図である。図7に示すように定着装置が平坦な載置面に載置された状態で、開閉体103が開かれると、各ローラ101、102が露出し、各ローラ101、102に傷が付いたり埃等が付着する。
このため、特許文献1では、定着装置の開口部に入口ガイドを回転移動可能に設け、入口ガイドをバネにより付勢している。定着装置が画像形成装置から取り外された状態では、バネにより入口ガイドが回転移動されて、入口ガイドにより定着装置の開口部が閉じられるので、定着装置内部の加熱ローラや加圧ローラが露出しない。また、定着装置が画像形成装置に装着されると、定着装置の入口ガイドが画像形成装置側の突き当て部に突き当たって移動し、定着装置の開口部が開かれ、記録用紙を開口部を通じて定着装置内部に導入することが可能になる。
特開2003−295655号公報
しかしながら、特許文献1では、定着装置側に入口ガイド及びバネ等の付勢手段を設け、画像形成装置側に突き当て部を設ける必要があって、部品点数が多く、構成が複雑化するという問題があった。
そこで、本発明は、上記課題を解決するためになされたものであり、簡単な構成でありながら、机等の上に載置された状態では定着ローラが露出することのない定着装置、及びそれを備えた画像形成装置を提供することを目的とする。
上記課題を解決するために、本発明の定着装置は、シート上のトナー像を定着させる定着部材と、開閉自在に軸支され、閉成されたときに前記定着部材を覆い、開成されたときに前記定着部材を露出させる開閉体とを備えた定着装置であって、前記シートが通過する下側開口部及び上側開口部を有し、前記下側開口部を前記定着装置の載置面側の底板に形成しており、前記開閉体が閉成されたときに前記底板と同一高さにある開成禁止部を前記開閉体に一体的に設け、前記開成禁止部は、前記開閉体の開成に伴い前記底板の下方に移動する。
また、本発明の定着装置においては、前記定着装置が載置されたときに前記開成禁止部が前記定着装置の載置面に当接して、前記底板の下方への前記開成禁止部の移動が制限され、前記開閉体の開成が禁止される。
また、前記開閉体は、前記シートの搬送ガイドとして兼用されている。
例えば、前記定着部材は、前記シートを搬送し加熱する加熱ローラである。あるいは、前記定着部材は、前記シートを搬送し加圧する加圧ローラである。
一方、本発明の画像形成装置は、上記本発明の定着装置を備えている。
本発明の定着装置によれば、定着部材を覆う開閉可能な開閉体を備え、定着装置が載置されたときに定着装置の開閉体の開成を禁止する開成禁止部を備えている。従って、定着装置が載置された状態では、開閉体が開かれることはなく、定着部材が露出することもない。このため、定着装置を交換するべく、新たな定着装置を机等の上に載置して準備した状態では、定着ローラが露出せず、定着ローラに傷が付いたり埃等が付着することもない。
また、開成禁止部は、定着装置が載置されたときに開閉体の開成を禁止するだけであり、その構成を簡単化することができる。
例えば、開成禁止部は、開閉体と一体的に設けられており、定着装置が載置されたときに開成禁止部が定着装置の載置面に当接して、開成禁止部の動きが制限され、開閉体の開成が禁止される。あるいは、開閉体は、回転自在に軸支されて、回転することにより開閉され、開成禁止部は、定着装置の底面側に開閉体と一体的に設けられており、定着装置が載置されたときに開成禁止部が定着装置の載置面に当接して、開成禁止部の動きが制限され、開閉体の回転並びに開成が禁止される。このような開成禁止部は、開閉体と一体的に設けられるものであって、他の部品等を必要としないので、部品点数の増加がなく、構成が複雑化することもない。
また、開閉体は、シートの搬送ガイドとして兼用される。この場合は、シートの搬送ガイドを別途設ける必要がなく、部品点数の低減を図ることができる。
更に、定着部材は、シートを搬送し加熱する加熱ローラである。あるいは、定着部材は、シートを搬送し加圧する加圧ローラである。このような加熱ローラや加圧ローラは、その表面もしくは表面近くに弾性層が設けられているので、傷や埃が付き易く、このため本発明の提供が有効である。
一方、本発明の画像形成装置は、上記本発明の定着装置を備えているので、同様の作用効果を果たす。
本発明の定着装置の一実施形態を適用した画像形成装置を示す断面図である。 本実施形態の定着装置を示す断面図である。 図2の定着装置の開閉体を開いた状態を示す断面図である。 (a)は図2の定着装置を画像形成装置に装着し、ドアを閉じた状態を概略的に示す図であり、また(b)はドアを開いた状態を概略的に示す図である。 図2の定着装置を机等の平坦な載置面上に載置した状態を示す断面図である。 (a)は従来の定着装置を示す断面図であり、(b)は(a)の定着装置の開閉体を開いた状態を示す断面図である。 図6の定着装置を平坦な載置面に載置した状態を示す断面図である。
以下、本発明の実施形態を添付図面を参照して詳細に説明する。
図1は、本発明の定着装置の一実施形態を適用した画像形成装置を示す断面図である。この画像形成装置100は、スキャナ機能、複写機能、プリンタ機能、及びファクシミリ機能等を有する所謂複合機であり、原稿読取り装置101により読取られた原稿の画像を外部に送信したり(スキャナ機能に相当する)、この読取られた原稿の画像又は外部から受信した画像をカラーもしくは単色で記録用紙に記録形成する(複写機能、プリンタ機能、及びファクシミリ機能に相当する)。記録用紙の他に、OHPシート等の他の種類のシートへの記録も可能である。
この画像形成装置100は、原稿の画像を読取るべく、原稿読取り装置101及び原稿搬送部42を備えている。原稿読取り装置101は、原稿搬送部42により搬送されている原稿画像を読取る。原稿搬送部42では、原稿が原稿セットトレイ41にセットされると、原稿ピックアップローラ44が原稿表面に押し付けられて回転され、原稿が原稿セットトレイ41から引き出され、原稿がサバキローラ45と分離パッド46間を通過して1枚ずつに分離されてから搬送経路47へと搬送される。
この搬送経路47では、原稿の先端が原稿レジストローラ49に当接して、原稿の先端が原稿レジストローラ49と平行に揃えられ、この後に原稿が原稿レジストローラ49により搬送されて読取りガイド51と読取りガラス52間を通過する。更に、原稿は、搬送ローラ57により搬送され、排紙ローラ58を介して排紙トレイ59に排出される。
原稿読取り装置101では、原稿が読取りガイド51と読取りガラス52間を通過するに際し、第1走査部53の光源の光が読取りガラス52を介して原稿表面に照射され、その反射光が読取りガラス52を介して第1走査部53に入射し、この反射光が第1及び第2走査部53、54のミラーで反射されて結像レンズ55へと導かれ、結像レンズ55によって原稿の画像がCCD(Charge Coupled Device)56上に結像される。CCD56は、原稿の画像を読取り、原稿の画像を示す画像データを出力する。
また、原稿台ガラス61上に載置された原稿を読取ることができる。原稿搬送部42は、その奥一辺をヒンジ(図示せず)により下側の原稿読取り装置101の奥一辺に枢支され、その手前部分を上下させることにより開閉される。この原稿搬送部42が開かれると、原稿台ガラス61が開放されて、原稿台ガラス61上に原稿を載置することができる。原稿が載置されて、原稿搬送部42が閉じられると、第1及び第2走査部53、54が副走査方向に移動されつつ、第1走査部53の光源によって原稿台ガラス61上の原稿表面が露光され、第1及び第2走査部53、54のミラーによって原稿表面からの反射光が結像レンズ55へと導かれ、結像レンズ55によって原稿の画像がCCD56上に結像される。このとき、第1及び第2走査部53、54が相互に所定の速度関係を維持しつつ移動されて、原稿表面→第1及び第2走査部53、54→結像レンズ55→CCD56という反射光の光路の長さが変化しないように第1及び第2走査部53、54の位置関係が常に維持され、これによりCCD56上での原稿の画像のピントが常に正確に維持される。
こうして読取られた原稿の画像全体は、画像データとして画像形成装置100のレーザ露光装置1へと送受され、画像形成装置100において画像が記録用紙に印刷される。
また、画像形成装置100は、画像を記録用紙に印刷するべく、レーザ露光装置1、現像装置2、感光体ドラム3、帯電器5、クリーナ装置4、中間転写ベルト装置8、定着装置12、用紙搬送経路S、給紙トレイ10、及び用紙排出トレイ15等を備えている。
画像形成装置100において扱われる画像データは、ブラック(K)、シアン(C)、マゼンタ(M)、イエロー(Y)の各色を用いたカラー画像に応じたもの、又は単色(例えばブラック)を用いたモノクロ画像に応じたものである。このため、現像装置2、感光体ドラム3、帯電器5、クリーナ装置4は各色に応じた4種類の画像を形成するようにそれぞれ4個ずつ設けられ、それぞれがブラック、シアン、マゼンタ、及びイエローに対応付けられて、4つの画像ステーションPa、Pb、Pc、Pdが構成されている。
感光体ドラム3は、その表面に光感光層を有している。
帯電器5は、感光体ドラム3の表面を所定の電位に均一に帯電させるための帯電手段であり、接触型であるローラ型やブラシ型の帯電器のほか、チャージャー型の帯電器が用いられる。
レーザ露光装置1は、レーザダイオード及び反射ミラーを備えたレーザスキャニングユニット(LSU)であり、帯電された感光体ドラム3表面を画像データに応じて露光して、その表面に画像データに対応する静電潜像を形成する。
現像装置2は、感光体ドラム3上に形成された静電潜像を(K、C、M、Y)のトナーにより現像する。クリーナ装置4は、現像及び画像転写後に感光体ドラム3表面に残留したトナーを除去及び回収する。
感光体ドラム3の上方に配置されている中間転写ベルト装置8は、中間転写ベルト7、中間転写ベルト駆動ローラ21、従動ローラ22、中間転写ローラ6、及び中間転写ベルトクリーニング装置9を備えている。
中間転写ベルト駆動ローラ21、中間転写ローラ6、従動ローラ22等は、中間転写ベルト7を張架して支持し、中間転写ベルト7を矢印C方向に周回移動させる。
中間転写ローラ6は、中間転写ベルト7近傍に回転可能に支持され、中間転写ベルト7を介して感光体ドラム3に押圧されている。
中間転写ベルト7は、厚さ100μm〜150μm程度のフィルムを用いて無端ベルト状に形成されている。
各感光体ドラム3表面のトナー像が中間転写ベルト7に順次重ねて転写されて、中間転写ベルト7上にカラーのトナー像(各色のトナー像)が形成される。感光体ドラム3から中間転写ベルト7へのトナー像の転写は、中間転写ベルト7裏面に圧接されている中間転写ローラ6によって行われる。中間転写ローラ6には、トナー像を転写するために高電圧の転写バイアス(トナーの帯電極性(−)とは逆極性(+)の高電圧)が印加されている。中間転写ローラ6は、直径8〜10mmの金属(例えばステンレス)軸をベースとし、その表面が導電性の弾性材(例えばEPDM、発泡ウレタン等)により覆われているローラである。この導電性の弾性材により記録用紙に対して均一に高電圧を印加することができる。
上述の様に各感光体ドラム3表面のトナー像は、中間転写ベルト7で積層され、画像データによって示されるカラーのトナー像となる。このように積層された各色のトナー像は、中間転写ベルト7と共に搬送され、中間転写ベルト7と接触する2次転写装置11の転写ローラ11aによって記録用紙上に転写される。
中間転写ベルト7と2次転写装置11の転写ローラ11aとは相互に圧接されて、ニップ域を形成する。また、2次転写装置11の転写ローラ11aには、中間転写ベルト7上の各色のトナー像を記録用紙に転写させるための電圧(トナーの帯電極性(−)とは逆極性(+)の高電圧)が印加される。さらに、そのニップ域を定常的に得るために、2次転写装置11の転写ローラ11aもしくは中間転写ベルト駆動ローラ21の何れか一方を硬質材料(金属等)とし、他方を弾性ローラ等の軟質材料(弾性ゴムローラ、または発泡性樹脂ローラ等)としている。
また、2次転写装置11によって中間転写ベルト7上のトナー像が記録用紙上に完全に転写されず、中間転写ベルト7上にトナーが残留することがあり、この残留トナーが次工程でトナーの混色を発生させる原因となる。このため、中間転写ベルトクリーニング装置9によって残留トナーを除去及び回収する。中間転写ベルトクリーニング装置9には、例えばクリーニング部材として、中間転写ベルト7に接触して残留トナーを除去するクリーニングブレードが設けられており、クリーニングブレードが接触する部位で、従動ローラ22により中間転写ベルト7裏側が支持されている。
給紙トレイ10は、記録用紙を格納しておくためのトレイであり、画像形成装置100の下部に設けられて、トレイ内の記録用紙を供給する。
画像形成装置100には、給紙トレイ10から供給された記録用紙を2次転写装置11や定着装置12を経由させて用紙排出トレイ15に送るための、Sの字形状の用紙搬送経路Sが設けられている。この用紙搬送経路Sに沿って、用紙ピックアップローラ16、用紙レジストローラ14、定着装置12、及び記録用紙を搬送する搬送ローラ13や排紙ローラ17等が配置されている。
用紙ピックアップローラ16は、給紙トレイ10の端部に設けられ、給紙トレイ10から記録用紙を1枚ずつ用紙搬送経路Sに供給する呼び込みローラである。搬送ローラは、記録用紙の搬送を促進補助するための小型のローラであり、複数個設けられている。
用紙レジストローラ14は、搬送されて来た記録用紙を一旦停止させて、記録用紙の先端を揃え、中間転写ベルト7と2次転写装置11の転写ローラ11a間のニップ域で中間転写ベルト7上のカラーのトナー像が記録用紙に転写されるように、感光体ドラム3及び中間転写ベルト7の回転にあわせて、記録用紙をタイミングよく搬送する。
例えば、用紙レジストローラ14は、図示しないレジスト前検知スイッチの検出出力に基づき、中間転写ベルト7と2次転写装置11の転写ローラ11a間のニップ域で中間転写ベルト7上のカラーのトナー像の先端が記録用紙の画像形成領域の先端に合うように、記録用紙を搬送する。
定着装置12は、定着ローラである加熱ローラ31及び加圧ローラ32等を備えている。加熱ローラ31及び加圧ローラ32は、中間転写ベルト7と2次転写装置11の転写ローラ11a間のニップ域を通過して来た記録用紙を挟み込んで搬送する。
加熱ローラ31は、図示しない温度検出器の検出出力に基づき、所定の定着温度となるように制御されており、加圧ローラ32とともに記録用紙を熱圧着することにより、記録用紙に転写されたトナー像を溶融、混合、圧接し、記録用紙に対して熱定着させる機能を有している。
各色のトナー像の定着後の記録用紙は、排紙ローラ17によって用紙排出トレイ15上にフェイスダウンで排出される。
ところで、画像形成装置100においては、用紙搬送経路Sが設けられている側の側壁を開閉可能なドア71としている。ドア71は、矢印Aの方向にスライド可能に支持されており、ドア71をスライドさせて開いたり閉じることができる。ドア71を開いた状態では、定着装置12を交換したり、用紙搬送経路Sに詰まった記録用紙を容易に除去することができる。
定着装置12には寿命があって、例えば定着装置12の稼働時間もしくは定着処理枚数が一定値に達すると、定着装置12の性能が劣化し始める。このため、定着装置12の交換が可能になっている。
しかしながら、定着装置12を交換するべく、新たな定着装置12を机等の上に載置して準備した状態で、加熱ローラ31や加圧ローラ32が露出したならば、これらのローラ31、32に傷や埃が付くことがある。
そこで、本実施形態の定着装置12では、各ローラ31、32を覆う開閉体を設け、定着装置12が机等の上に載置されたときにその開閉体の開成を禁止して、各ローラ31、32を露出させないようにしている。
図2は、本実施形態の定着装置12を示す断面図である。この定着装置12は、本体筐体81と、本体筐体81の内側に設けられた加熱ローラ31及び加圧ローラ32とを備えている。加熱ローラ31及び加圧ローラ32は、本体筐体81の内側で相互に圧接された状態で軸支されており、各ローラ31、32間にニップ域が形成されている。例えば、加熱ローラ31が回転駆動されて、加圧ローラ32が従動回転される。
加熱ローラ31は、芯金の外表面に弾性層を設け、この弾性層の外表面に離型層を形成してなる3層構造のローラである。芯金には、例えば鉄、ステンレス鋼、アルミニウム、銅等の金属或いはそれらの合金等が用いられる。また、弾性層にはシリコンゴムが用いられ、離型層にはPFA(テトラフルオロエチレンとパーフルオロアルキルビニルエーテルとの共重合体)やPTFE(ポリテトラフルオロエチレン)等のフッ素樹脂が用いられる。
加熱ローラ31内部(芯金の内部)には、該ローラ31を加熱する熱源のヒータランプ(ハロゲンランプ)が設けられている。
加圧ローラ32も、加熱ローラ31と同様に、鉄、ステンレス鋼、アルミニウム、銅等の金属或いはそれらの合金等よりなる芯金、この芯金表面のシリコンゴム等の弾性層、更にその上のPFAやPTFE等の離型層からなる3層構造のローラである。
また、本体筐体81は、その上下にそれぞれの開口部81a、81bを有している。記録用紙は、図1における中間転写ベルト7と2次転写装置11の転写ローラ11a間のニップ域を通過した後、下側の開口部81bを通じて各ローラ31、32間のニップ域に導かれ、各ローラ31、32により加熱及び加圧され、更に上側の開口部81aを通じて搬送されて行く。
ここで、本体筐体81は、天板82、側板83、左側底板84、右側底板85、及び開閉体86を有し、更に各ローラ31、32の軸両端を軸支する各側壁(図示せず)を有している。左側底板84と右側底板85は相互に離間し、これらの間が下側の開口部81bとなっている。また、天板82と開閉体86も相互に離間し、これらの間が上側の開口部81aとなっている。天板82のガイド部材82aと開閉体86のガイド部材86aは、上側の開口部81aを介して対向配置されており、これらのガイド部材82a、86aによって記録用紙がガイドされる。
開閉体86は、ガイド部材86aを有するだけでなく、側板86b及び当接リブ86cを一体化したものであり、側板86bの下部が軸86d周りで回転自在に軸支され、開閉体86全体が軸86d周りに回転可能に支持されている。開閉体86の回転は、反時計回り方向及び時計周り方向のいずれもストッパー(図示せず)により制限されている。
開閉体86をストッパーによる制限位置まで反時計回り方向に回転させると、ガイド部材86aが天板82のガイド部材82aと対向し、ガイド部材86aの先端86eが加圧ローラ32の表面近傍に位置決めされる。このとき、開閉体86の当接リブ86cの下端86fが左側底板84と同一高さとなる。
また、図3に示すように開閉体86をストッパーによる他の制限位置まで時計回り方向に回転させると、ガイド部材86aが天板82のガイド部材82aから離間し、各ガイド部材82a、86a間が大きく開かれる。このとき、開閉体86の当接リブ86cの下端86fが左側底板84よりも下方に移動する。
図4(a)は、定着装置12を画像形成装置100に装着し、ドア71を閉じた状態を示している。ドア71は、スライドレール72及びレールガイド等(図示せず)によりスライド可能に支持されており、矢印Aの方向に移動され開閉される。このドア71が閉じられると、ドア71の内側に設けられた押さえ部材73により定着装置12の開閉体86が押されるので、開閉体86が開くことはない。
図4(b)は、ドア71を開いた状態を示している。ドア71が開かれると、定着装置12が露呈し、定着装置12の着脱が可能になる。また、ドア71の内側の押さえ部材73が定着装置12の開閉体86から離間するので、開閉体86を軸86d周りで時計回り方向に回転させて、開閉体86を開成させることができる。この状態で、各ローラ31、32間に詰まった記録用紙を除去することができる。尚、開閉体86の当接リブ86cの下方は空きスペースとなっており、当接リブ86cの下方への移動を阻止するものはない。
次に、定着装置12を交換するべく、新たな定着装置12を机等の上に載置して準備したときの状態を説明する。
図5は、定着装置12を机等の上に載置した状態を示している。この図5から明らかなように定着装置12を机等の平坦な載置面91上に載置すると、定着装置12の左側底板84が載置面91に当接し、左側底板84と同一高さの当接リブ86cの下端86fも載置面91に当接する。この状態では、開閉体86が軸86d周りで時計回り方向に回転しようとしても、当接リブ86cの下端86fが載置面91で突き当たって、当接リブ86cの動きが制限されることから、開閉体86の時計回り方向の回転が阻止され、開閉体86の開成が禁止される。従って、開閉体86の当接リブ86c並びにその下端86fは、定着装置12が載置されたときに開閉体86の開成を禁止する禁止部といえる。
このため、定着装置12を交換するべく、新たな定着装置12を机等の上に載置して準備したときには、開閉体86が開成されることはなく、各ローラ31、32が露出することもなく、各ローラ31、32に傷が付いたり埃等が付着することがない。これらのローラ31、32は、先に述べたようにその表面近くに弾性層が設けられているので、傷や埃が付き易く、そのように開閉体86の開成を禁止することが有効である。
また、当接リブ86cを開閉体86に一体的に設けただけであるから、部品点数の格別な増加や構成の複雑化を招くことがない。
更に、開閉体86には、当接リブ86cだけでなく、ガイド部材86aをも一体化しているので、これによっても部品点数の増加や構成の複雑化が抑えられる。
以上、本発明の実施形態を詳述したが、本発明は、上記実施形態に限定されるものではなく、本発明の要旨を逸脱しない範疇の設計変更等が施されたものであっても、本発明の範囲に含まれる。
例えば、定着部材として、加熱ローラや加圧ローラ(定着ローラ)を例示しているが、無端状の定着ベルトを架け渡し、この定着ベルトとローラ間にニップ域を形成して、このニップ域に記録用紙を挟み込んで搬送しつつ、記録用紙を加熱及び加圧する定着装置であっても、本発明を適用することができる。
1 レーザ露光装置
2 現像装置
3 感光体ドラム
4 クリーナ装置
5 帯電器
8 中間転写ベルト装置
10 給紙トレイ
11 2次転写装置
12 定着装置
15 用紙排出トレイ
42 原稿搬送部
71 ドア
81 本体筐体
82 天板
83 側板
84 左側底板
85 右側底板
86 開閉体
100 画像形成装置
101 原稿読取り装置

Claims (6)

  1. シート上のトナー像を定着させる定着部材と、開閉自在に軸支され、閉成されたときに前記定着部材を覆い、開成されたときに前記定着部材を露出させる開閉体とを備えた定着装置であって、
    前記シートが通過する下側開口部及び上側開口部を有し、前記下側開口部を前記定着装置の載置面側の底板に形成しており、
    前記開閉体が閉成されたときに前記底板と同一高さにある開成禁止部を前記開閉体に一体的に設け、前記開成禁止部は、前記開閉体の開成に伴い前記底板の下方に移動することを特徴とする定着装置。
  2. 請求項1に記載の定着装置であって、
    前記定着装置が載置されたときに前記開成禁止部が前記定着装置の載置面に当接して、前記底板の下方への前記開成禁止部の移動が制限され、前記開閉体の開成が禁止されることを特徴とする定着装置。
  3. 請求項1又は2に記載の定着装置であって、
    前記開閉体は、前記シートの搬送ガイドとして兼用されることを特徴とする定着装置。
  4. 請求項1〜3のいずれか1つに記載の定着装置であって、
    前記定着部材は、前記シートを搬送し加熱する加熱ローラであることを特徴とする定着装置。
  5. 請求項1〜4のいずれか1つに記載の定着装置であって、
    前記定着部材は、前記シートを搬送し加圧する加圧ローラであることを特徴とする定着装置。
  6. 請求項1〜5のいずれか1つに記載の定着装置を備えることを特徴とする画像形成装置。
JP2009221190A 2009-09-25 2009-09-25 定着装置、及び画像形成装置 Active JP5367524B2 (ja)

Priority Applications (1)

Application Number Priority Date Filing Date Title
JP2009221190A JP5367524B2 (ja) 2009-09-25 2009-09-25 定着装置、及び画像形成装置

Applications Claiming Priority (1)

Application Number Priority Date Filing Date Title
JP2009221190A JP5367524B2 (ja) 2009-09-25 2009-09-25 定着装置、及び画像形成装置

Publications (2)

Publication Number Publication Date
JP2011070013A JP2011070013A (ja) 2011-04-07
JP5367524B2 true JP5367524B2 (ja) 2013-12-11

Family

ID=44015364

Family Applications (1)

Application Number Title Priority Date Filing Date
JP2009221190A Active JP5367524B2 (ja) 2009-09-25 2009-09-25 定着装置、及び画像形成装置

Country Status (1)

Country Link
JP (1) JP5367524B2 (ja)

Families Citing this family (1)

* Cited by examiner, † Cited by third party
Publication number Priority date Publication date Assignee Title
JP7487585B2 (ja) 2020-07-01 2024-05-21 株式会社リコー 定着装置及び画像形成装置

Family Cites Families (5)

* Cited by examiner, † Cited by third party
Publication number Priority date Publication date Assignee Title
JPH0611984A (ja) * 1992-06-25 1994-01-21 Ricoh Co Ltd 定着装置
JPH07140820A (ja) * 1993-11-19 1995-06-02 Brother Ind Ltd 加熱ローラカートリッジ
JP4289016B2 (ja) * 2003-05-16 2009-07-01 富士ゼロックス株式会社 定着装置
JP2005099073A (ja) * 2003-09-22 2005-04-14 Canon Inc プロセスカートリッジ
JP5171229B2 (ja) * 2007-11-29 2013-03-27 キヤノン株式会社 画像加熱装置

Also Published As

Publication number Publication date
JP2011070013A (ja) 2011-04-07

Similar Documents

Publication Publication Date Title
US8280289B2 (en) Fixing apparatus and image forming apparatus including the same
CN101995798B (zh) 图像形成装置
JP5804652B2 (ja) 画像形成装置
JP5688929B2 (ja) 画像読取り装置、及びそれを備える画像形成装置
CN103030007B (zh) 自动送稿器和图像形成设备
US20140376976A1 (en) Image forming apparatus
US8750756B2 (en) Image forming apparatus for performing fixing processing by induction heating system
JP5409676B2 (ja) 定着装置及び画像形成装置
JP7161699B2 (ja) 定着装置、及び、画像形成装置
CN111352324A (zh) 转印带单元及图像处理装置
JP5468302B2 (ja) 画像形成装置
CN101628670B (zh) 片材输送装置
JP5367524B2 (ja) 定着装置、及び画像形成装置
JP5579012B2 (ja) 定着装置、及び画像形成装置
US8320809B2 (en) Cleaning apparatus using web sheet
JP5031699B2 (ja) 開閉装置及びこれを備えた画像形成装置
JP2018194655A (ja) 搬送装置および画像形成装置
JP7118768B2 (ja) 画像読取装置及び画像形成装置
JP6302631B2 (ja) 画像形成装置
JP4312526B2 (ja) 定着装置
JP2014228631A (ja) 画像形成装置
JP4002070B2 (ja) 画像形成装置及び該画像形成装置を備えた画像形成システム
JP2012035942A (ja) 画像形成装置
JP3689633B2 (ja) プロセスカートリッジおよび画像形成装置
JP2009115991A (ja) 画像形成装置

Legal Events

Date Code Title Description
A621 Written request for application examination

Free format text: JAPANESE INTERMEDIATE CODE: A621

Effective date: 20110824

A977 Report on retrieval

Free format text: JAPANESE INTERMEDIATE CODE: A971007

Effective date: 20121130

A131 Notification of reasons for refusal

Free format text: JAPANESE INTERMEDIATE CODE: A131

Effective date: 20121204

A521 Written amendment

Free format text: JAPANESE INTERMEDIATE CODE: A523

Effective date: 20130128

TRDD Decision of grant or rejection written
A01 Written decision to grant a patent or to grant a registration (utility model)

Free format text: JAPANESE INTERMEDIATE CODE: A01

Effective date: 20130820

A61 First payment of annual fees (during grant procedure)

Free format text: JAPANESE INTERMEDIATE CODE: A61

Effective date: 20130911

R150 Certificate of patent or registration of utility model

Ref document number: 5367524

Country of ref document: JP

Free format text: JAPANESE INTERMEDIATE CODE: R150

Free format text: JAPANESE INTERMEDIATE CODE: R150