JP5319084B2 - 半導体装置 - Google Patents

半導体装置 Download PDF

Info

Publication number
JP5319084B2
JP5319084B2 JP2007160882A JP2007160882A JP5319084B2 JP 5319084 B2 JP5319084 B2 JP 5319084B2 JP 2007160882 A JP2007160882 A JP 2007160882A JP 2007160882 A JP2007160882 A JP 2007160882A JP 5319084 B2 JP5319084 B2 JP 5319084B2
Authority
JP
Japan
Prior art keywords
semiconductor
semiconductor layer
main surface
layer
diode
Prior art date
Legal status (The legal status is an assumption and is not a legal conclusion. Google has not performed a legal analysis and makes no representation as to the accuracy of the status listed.)
Expired - Fee Related
Application number
JP2007160882A
Other languages
English (en)
Other versions
JP2009004398A (ja
Inventor
正樹 白石
Current Assignee (The listed assignees may be inaccurate. Google has not performed a legal analysis and makes no representation or warranty as to the accuracy of the list.)
Renesas Electronics Corp
Original Assignee
Renesas Electronics Corp
Priority date (The priority date is an assumption and is not a legal conclusion. Google has not performed a legal analysis and makes no representation as to the accuracy of the date listed.)
Filing date
Publication date
Application filed by Renesas Electronics Corp filed Critical Renesas Electronics Corp
Priority to JP2007160882A priority Critical patent/JP5319084B2/ja
Priority to US12/141,978 priority patent/US7838907B2/en
Publication of JP2009004398A publication Critical patent/JP2009004398A/ja
Application granted granted Critical
Publication of JP5319084B2 publication Critical patent/JP5319084B2/ja
Expired - Fee Related legal-status Critical Current
Anticipated expiration legal-status Critical

Links

Images

Classifications

    • HELECTRICITY
    • H10SEMICONDUCTOR DEVICES; ELECTRIC SOLID-STATE DEVICES NOT OTHERWISE PROVIDED FOR
    • H10DINORGANIC ELECTRIC SEMICONDUCTOR DEVICES
    • H10D84/00Integrated devices formed in or on semiconductor substrates that comprise only semiconducting layers, e.g. on Si wafers or on GaAs-on-Si wafers
    • H10D84/01Manufacture or treatment
    • HELECTRICITY
    • H10SEMICONDUCTOR DEVICES; ELECTRIC SOLID-STATE DEVICES NOT OTHERWISE PROVIDED FOR
    • H10DINORGANIC ELECTRIC SEMICONDUCTOR DEVICES
    • H10D30/00Field-effect transistors [FET]
    • H10D30/40FETs having zero-dimensional [0D], one-dimensional [1D] or two-dimensional [2D] charge carrier gas channels
    • H10D30/47FETs having zero-dimensional [0D], one-dimensional [1D] or two-dimensional [2D] charge carrier gas channels having 2D charge carrier gas channels, e.g. nanoribbon FETs or high electron mobility transistors [HEMT]
    • H10D30/471High electron mobility transistors [HEMT] or high hole mobility transistors [HHMT]
    • H10D30/475High electron mobility transistors [HEMT] or high hole mobility transistors [HHMT] having wider bandgap layer formed on top of lower bandgap active layer, e.g. undoped barrier HEMTs such as i-AlGaN/GaN HEMTs
    • H10D30/4755High electron mobility transistors [HEMT] or high hole mobility transistors [HHMT] having wider bandgap layer formed on top of lower bandgap active layer, e.g. undoped barrier HEMTs such as i-AlGaN/GaN HEMTs having wide bandgap charge-carrier supplying layers, e.g. modulation doped HEMTs such as n-AlGaAs/GaAs HEMTs
    • HELECTRICITY
    • H10SEMICONDUCTOR DEVICES; ELECTRIC SOLID-STATE DEVICES NOT OTHERWISE PROVIDED FOR
    • H10DINORGANIC ELECTRIC SEMICONDUCTOR DEVICES
    • H10D8/00Diodes
    • HELECTRICITY
    • H10SEMICONDUCTOR DEVICES; ELECTRIC SOLID-STATE DEVICES NOT OTHERWISE PROVIDED FOR
    • H10DINORGANIC ELECTRIC SEMICONDUCTOR DEVICES
    • H10D84/00Integrated devices formed in or on semiconductor substrates that comprise only semiconducting layers, e.g. on Si wafers or on GaAs-on-Si wafers
    • H10D84/01Manufacture or treatment
    • H10D84/02Manufacture or treatment characterised by using material-based technologies
    • H10D84/08Manufacture or treatment characterised by using material-based technologies using combinations of technologies, e.g. using both Si and SiC technologies or using both Si and Group III-V technologies
    • HELECTRICITY
    • H10SEMICONDUCTOR DEVICES; ELECTRIC SOLID-STATE DEVICES NOT OTHERWISE PROVIDED FOR
    • H10DINORGANIC ELECTRIC SEMICONDUCTOR DEVICES
    • H10D84/00Integrated devices formed in or on semiconductor substrates that comprise only semiconducting layers, e.g. on Si wafers or on GaAs-on-Si wafers
    • H10D84/80Integrated devices formed in or on semiconductor substrates that comprise only semiconducting layers, e.g. on Si wafers or on GaAs-on-Si wafers characterised by the integration of at least one component covered by groups H10D12/00 or H10D30/00, e.g. integration of IGFETs
    • H10D84/811Combinations of field-effect devices and one or more diodes, capacitors or resistors
    • HELECTRICITY
    • H10SEMICONDUCTOR DEVICES; ELECTRIC SOLID-STATE DEVICES NOT OTHERWISE PROVIDED FOR
    • H10DINORGANIC ELECTRIC SEMICONDUCTOR DEVICES
    • H10D88/00Three-dimensional [3D] integrated devices
    • HELECTRICITY
    • H01ELECTRIC ELEMENTS
    • H01LSEMICONDUCTOR DEVICES NOT COVERED BY CLASS H10
    • H01L2224/00Indexing scheme for arrangements for connecting or disconnecting semiconductor or solid-state bodies and methods related thereto as covered by H01L24/00
    • H01L2224/01Means for bonding being attached to, or being formed on, the surface to be connected, e.g. chip-to-package, die-attach, "first-level" interconnects; Manufacturing methods related thereto
    • H01L2224/02Bonding areas; Manufacturing methods related thereto
    • H01L2224/04Structure, shape, material or disposition of the bonding areas prior to the connecting process
    • H01L2224/06Structure, shape, material or disposition of the bonding areas prior to the connecting process of a plurality of bonding areas
    • H01L2224/0601Structure
    • H01L2224/0603Bonding areas having different sizes, e.g. different heights or widths
    • HELECTRICITY
    • H01ELECTRIC ELEMENTS
    • H01LSEMICONDUCTOR DEVICES NOT COVERED BY CLASS H10
    • H01L2224/00Indexing scheme for arrangements for connecting or disconnecting semiconductor or solid-state bodies and methods related thereto as covered by H01L24/00
    • H01L2224/01Means for bonding being attached to, or being formed on, the surface to be connected, e.g. chip-to-package, die-attach, "first-level" interconnects; Manufacturing methods related thereto
    • H01L2224/42Wire connectors; Manufacturing methods related thereto
    • H01L2224/47Structure, shape, material or disposition of the wire connectors after the connecting process
    • H01L2224/48Structure, shape, material or disposition of the wire connectors after the connecting process of an individual wire connector
    • H01L2224/481Disposition
    • H01L2224/48151Connecting between a semiconductor or solid-state body and an item not being a semiconductor or solid-state body, e.g. chip-to-substrate, chip-to-passive
    • H01L2224/48221Connecting between a semiconductor or solid-state body and an item not being a semiconductor or solid-state body, e.g. chip-to-substrate, chip-to-passive the body and the item being stacked
    • H01L2224/48245Connecting between a semiconductor or solid-state body and an item not being a semiconductor or solid-state body, e.g. chip-to-substrate, chip-to-passive the body and the item being stacked the item being metallic
    • H01L2224/48247Connecting between a semiconductor or solid-state body and an item not being a semiconductor or solid-state body, e.g. chip-to-substrate, chip-to-passive the body and the item being stacked the item being metallic connecting the wire to a bond pad of the item
    • HELECTRICITY
    • H01ELECTRIC ELEMENTS
    • H01LSEMICONDUCTOR DEVICES NOT COVERED BY CLASS H10
    • H01L2224/00Indexing scheme for arrangements for connecting or disconnecting semiconductor or solid-state bodies and methods related thereto as covered by H01L24/00
    • H01L2224/01Means for bonding being attached to, or being formed on, the surface to be connected, e.g. chip-to-package, die-attach, "first-level" interconnects; Manufacturing methods related thereto
    • H01L2224/42Wire connectors; Manufacturing methods related thereto
    • H01L2224/47Structure, shape, material or disposition of the wire connectors after the connecting process
    • H01L2224/49Structure, shape, material or disposition of the wire connectors after the connecting process of a plurality of wire connectors
    • H01L2224/491Disposition
    • H01L2224/4911Disposition the connectors being bonded to at least one common bonding area, e.g. daisy chain
    • H01L2224/49111Disposition the connectors being bonded to at least one common bonding area, e.g. daisy chain the connectors connecting two common bonding areas, e.g. Litz or braid wires
    • HELECTRICITY
    • H01ELECTRIC ELEMENTS
    • H01LSEMICONDUCTOR DEVICES NOT COVERED BY CLASS H10
    • H01L2924/00Indexing scheme for arrangements or methods for connecting or disconnecting semiconductor or solid-state bodies as covered by H01L24/00
    • H01L2924/10Details of semiconductor or other solid state devices to be connected
    • H01L2924/11Device type
    • H01L2924/13Discrete devices, e.g. 3 terminal devices
    • H01L2924/1304Transistor
    • H01L2924/1305Bipolar Junction Transistor [BJT]
    • H01L2924/13055Insulated gate bipolar transistor [IGBT]
    • HELECTRICITY
    • H01ELECTRIC ELEMENTS
    • H01LSEMICONDUCTOR DEVICES NOT COVERED BY CLASS H10
    • H01L2924/00Indexing scheme for arrangements or methods for connecting or disconnecting semiconductor or solid-state bodies as covered by H01L24/00
    • H01L2924/10Details of semiconductor or other solid state devices to be connected
    • H01L2924/11Device type
    • H01L2924/13Discrete devices, e.g. 3 terminal devices
    • H01L2924/1304Transistor
    • H01L2924/1306Field-effect transistor [FET]
    • H01L2924/13091Metal-Oxide-Semiconductor Field-Effect Transistor [MOSFET]
    • HELECTRICITY
    • H10SEMICONDUCTOR DEVICES; ELECTRIC SOLID-STATE DEVICES NOT OTHERWISE PROVIDED FOR
    • H10DINORGANIC ELECTRIC SEMICONDUCTOR DEVICES
    • H10D62/00Semiconductor bodies, or regions thereof, of devices having potential barriers
    • H10D62/80Semiconductor bodies, or regions thereof, of devices having potential barriers characterised by the materials
    • H10D62/85Semiconductor bodies, or regions thereof, of devices having potential barriers characterised by the materials being Group III-V materials, e.g. GaAs
    • H10D62/8503Nitride Group III-V materials, e.g. AlN or GaN
    • HELECTRICITY
    • H10SEMICONDUCTOR DEVICES; ELECTRIC SOLID-STATE DEVICES NOT OTHERWISE PROVIDED FOR
    • H10DINORGANIC ELECTRIC SEMICONDUCTOR DEVICES
    • H10D64/00Electrodes of devices having potential barriers
    • H10D64/20Electrodes characterised by their shapes, relative sizes or dispositions 
    • H10D64/23Electrodes carrying the current to be rectified, amplified, oscillated or switched, e.g. sources, drains, anodes or cathodes
    • H10D64/251Source or drain electrodes for field-effect devices
    • H10D64/256Source or drain electrodes for field-effect devices for lateral devices wherein the source or drain electrodes are recessed in semiconductor bodies

Landscapes

  • Junction Field-Effect Transistors (AREA)
  • Electrodes Of Semiconductors (AREA)

Description

本発明は、半導体装置技術に関し、特に、電力変換装置に用いられる半導体装置に適用して有効な技術に関するものである。
電力変換装置はスイッチング素子と呼ばれる素子をON−OFF制御して入力電力を所望の出力電力に変換する装置であり、各種電子機器の電源用途や、モータなどの駆動用電力を供給する用途など、種々の用途に利用されている。
電力変換装置のスイッチング素子は、半導体トランジスタと、ダイオードとが並列接続されて構成されている。この半導体トランジスタには、例えば、パワーMOSFET(Metal Oxide Semiconductor−Field Effect Transitor)や、IGBT(Insulated Gate Bipolar Transistor)などが用いられる。
パワーMOSFETやIGBTを構成する半導体層には一般に単結晶のSi(シリコン)が用いられるが、近年、Siよりも広いバンドギャップを有するSiC(シリコンカーバイド)などのワイドバンドギャップ半導体を半導体層に用いるMOSFETもある。
また、ワイドバンドギャップ半導体を用いたトランジスタとして、GaN(ガリウムナイトライド)などのIII−V族化合物半導体を用いたHEMT(High Electron Mobility Transistor:高電子移動度トランジスタ)と呼ばれるトランジスタがある。
例えば、特開2006−86398号公報(特許文献1)には、導電層上に、バッファ層と、III-V族窒化物半導体からなるチャネル層と、III-V族窒化物半導体からなるショットキー層とが形成され、ショットキー層の上方にそれぞれソース電極、ドレイン電極及びゲート電極とが形成されたHEMT構造のトランジスタが開示されている。
特開2006−86398号公報
本発明者は、半導体装置、特に電力変換装置に用いられる半導体装置について検討を行い、以下の課題を見出した。
電力変換装置は、用途に応じて要求される耐圧性能は異なるが、例えば、ハイブリッド自動車用のモータを駆動する交流電力供給用の電力変換装置には600V程度の耐圧性能が要求される。
600V程度の耐圧性能を得るため、電力変換装置のスイッチング素子にIGBTのトランジスタを用いる場合、IGBTは同一チップ内に、ダイオードを形成することが出来ないのでIGBT素子を備えた半導体チップと、ダイオードを備えた半導体チップを並列接続で実装することとなる。このため、スイッチング素子1個に対して2個の半導体チップが必要となるので電力変換装置のコストが増加する。あるいは、小型化の要求に応えることができないという課題がある。
また、IGBTはパワーMOSFETと比較してスイッチング損失が大きい。また、ビルトインポテンシャルが1V程度と高いため、電力変換装置を小電力供給用途に流用した場合、オン電圧が高くなるので電力損失が大きいという課題がある。
また、半導体層に単結晶のSiを用いたMOSFETは、同一チップ内にMOSFET素子とダイオードを形成することができるが、例えば200Vを超える高耐圧とした場合、オン抵抗が高くなるため電力損失が大きくなる(すなわち、電力変換装置の効率が低下する)という問題がある。
トランジスタに、SiCやGaNなどのワイドバンドギャップ半導体を備えたトランジスタを用いた場合、ワイドバンドギャップ半導体は、Siと比較して絶縁破壊強度が高いため、Siの半導体層を備えたトランジスタと比較して、同じ耐圧性能であれば、オン抵抗を低減することができる。
しかし、SiCのワイドバンドギャップ半導体は、pn接合のビルトインポテンシャルが3V程度と高いため、ワイドバンドギャップ半導体領域にpn接合のダイオードを形成することができない。また、SiCの半導体層を備えるMOSFETの場合、SiCの半導体層にショットキーバリアダイオードを形成する方法はあるが、製造方法が複雑、チップ面積が大きくなるなどの理由から電力変換装置のコストが増加してしまう。
このため、ワイドバンドギャップ半導体を備えたトランジスタを用いる場合も、IGBT素子を用いる場合と同様、同一のチップ内にトランジスタとダイオードを内蔵させることはできず、結果として電力変換装置の小型化の要求に対して十分に応えられていないという課題がある。
本願に開示された一つの代表的な発明の目的は、電力変換装置のスイッチング素子を小型化することができる技術を提供することにある。
また、本願に開示された他の代表的な発明の目的は、電力変換装置の電力変換効率を向上させることができる技術を提供することにある。
本発明の前記ならびにその他の目的と新規な特徴は、本明細書の記述および添付図面から明らかになるであろう。
本願において開示される発明のうち、代表的なものの概要を簡単に説明すれば、次のとおりである。
すなわち、本発明は、同一の半導体チップ内に、ダイオードおよび高電子移動度トランジスタを内蔵する半導体装置であって、前記ダイオードが有する半導体基板の第1主面上に前記高電子移動度トランジスタが有する化合物半導体層を形成し、前記ダイオードのアノード電極は、前記化合物半導体層の主面から前記半導体基板の第1主面の前記アノード領域に達する孔に埋め込まれた導電体を通じて前記アノード領域に電気的に接続するように構成するものである。
本願において開示される発明のうち、代表的なものによって得られる効果を簡単に説明すれば以下のとおりである。
すなわち、電力変換装置のスイッチング素子を小型化することができる。
本実施の形態を説明するための全図において同一機能を有するものは同一の符号を付すようにし、その繰り返しの説明は原則として省略する。以下、本発明の実施の形態を図面に基づいて詳細に説明する。以下、本発明の実施の形態を図面に基づいて詳細に説明する。
(実施の形態1)
本実施の形態1では、高電子移動度トランジスタを備えた半導体装置を、電力変換装置のスイッチング素子として適用する実施態様について説明する。
<電力変換装置の回路構成>
まず、図1を用いて本実施の形態1の電力変換装置の回路構成について説明する。図1は本実施の形態1の電力変換装置の回路図である。
図1において、本実施の形態1の電力変換装置100は、例えば、直流電源101から供給される直流電源を3相交流電源に変換して、負荷であるモータ102に供給するDC(Direct Current)−AC(Alternating Current)インバータである。
また、電力変換装置100の電力変換方式はスイッチング方式であり、スイッチング素子3はトランジスタ1とダイオード2とを有している。トランジスタ1とダイオード2とは並列接続されている。図1ではこのスイッチング素子3が、上下アーム分および3相分で合計6素子配置されている例について示している。
なお、電力変換装置100に用いるスイッチング素子3の素子数は6個に限定される訳ではない。電力変換のタイプ(DC−AC、AC−DC、あるいはDC−DCなど)や要求される電源電圧に応じて、適宜選択することが可能である。
各スイッチング素子3の入力には、それぞれゲートドライバ4が電気的に接続されており、各スイッチング素子3は、このゲートドライバ4によって駆動する。
ここで、図1に示すスイッチング素子3が備えているトランジスタ1は、HEMT(High Electron Mobility Transistor)と呼ばれる高電子移動度トランジスタである。
HEMTは、MOSFETやIGBTと比較してオン抵抗が低い。したがって、電力変換装置100の、スイッチング素子3にHEMTを用いることにより、電力変換時の電力損失を低減することができる。このため、電力変換装置100はスイッチング素子にMOSFETやIGBTを用いた電力変換装置と比較して、電力変換効率を向上させることが可能となる。
また、HEMTのチャネル層に用いられる、GaN(ガリウムナイトライド)はSiと比較して絶縁破壊強度が10倍程度高い。このため、スイッチング素子3の耐圧性能を向上させることが可能となる。したがって、電力変換装置100は例えば、ハイブリッド自動車用のモータを駆動する交流電力供給用途など600V程度の耐圧が要求される電力変換装置に適用することができる。
<半導体装置の構造>
次に、図2を用いて本実施の形態1の半導体装置の構造について説明する。
図2は本実施の形態1の半導体装置を構成する半導体チップの要部断面図である。
図2において、本実施の形態1の半導体チップ30は半導体基板(第1基板)20と、半導体基板20上に形成される化合物半導体層(第2基板)10とを備えている。また、この半導体基板20にはダイオードが、化合物半導体層10にはトランジスタがそれぞれ形成されている。
すなわち、半導体チップ30は図1で示したスイッチング素子3に相当し、スイッチング素子3が備えるトランジスタ1およびダイオード2を一つの半導体チップ30内に内蔵している。
この半導体チップ30のトランジスタは、ダイオードが形成された半導体基板20の主面(第1主面)20a上に下層から順に積層された、AlN(窒化アルミニウム)からなるバッファ層(第1化合物半導体層)11、アンドープのGaNからなるチャネル層(第2化合物半導体層)12、AlGaN(窒化アルミニウムガリウム)からなる電子供給層(第3化合物半導体層)13を備えている。
すなわち、このトランジスタは、チャネル層12にアンドープのIII−V属化合物半導体であるGaN層を備えた、HEMT素子である。
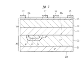
また、トランジスタは、化合物半導体層10の主面(第3主面)10a上に、主面10aに沿って、順に配置されたドレイン電極15、ゲート電極16およびソース電極17を備えている。ドレイン電極15、ゲート電極16およびソース電極17は互いに接触しておらず、主面10a上に所定の間隔を持って配置されている。
また、ドレイン電極15、ゲート電極16およびソース電極17はそれぞれ半導体チップ30の外部接続端子となるドレインパッド、ゲートパッド、およびソースパッド(図示は省略)に電気的に接続されている。
ドレイン電極15およびソース電極17は、例えばTi(チタン)とその上に形成されたAl(アルミニウム)との積層体で形成される。また、ゲート電極16は、例えばNi(ニッケル)とその上に形成されたAu(金)との積層体で形成される。
また、化合物半導体層10の主面10a上には、例えば、SiN(窒化シリコン)とSiO(二酸化シリコン)の積層体である絶縁層18が堆積されている。絶縁層18は、ドレイン電極15、ゲート電極16およびソース電極17を覆うように形成されており、各電極の間も埋めるように形成されている。
一方、ダイオードが形成された半導体基板20は、主面(第2主面)20bを持つn型(第1導電型)のn層(第1半導体層、カソード領域)21と、n層21上に形成されるn層(第2半導体層、カソード領域)22を備えている。n層21およびn層22は半導体であるSiにそれぞれ所定量の不純物(例えばリンなど)が添加された半導体層である。つまり半導体基板20はSi基板である。
また、半導体基板20の主面20a側の一部には、p型(第2導電型)のp領域(アノード領域)23およびp領域(アノード領域)24が形成されている。すなわち、半導体基板20には、pn接合型のダイオードが形成されている。
ここで、ダイオードとしての電気的特性を示すpn接合は、n層22とp領域24との接合により実現されている。n層21およびp領域23は、それぞれカソード電極27およびアノード電極26にオーミック接続するためのコンタクト層として機能している。本明細書では、n層22とn層21を含めてカソード領域とし、p領域24とp領域23を含めてアノード領域として説明する。
ダイオードのアノード電極26は、化合物半導体層10の主面10a上、詳しくは、主面10a上に堆積された絶縁層18上に形成されている。また、化合物半導体層10には、主面10aから、半導体基板20のアノード領域まで達するビアホール(孔)25が形成されている。ビアホール25は絶縁層18も貫通している。また、ビアホール25は半導体基板20のアノード領域のうち、コンタクト層であるp領域23に達するまで形成されている。
また、このビアホール25にはAlなどの導電体が充填されている。また、主面10a上に形成されたアノード電極26とビアホール25に充填された導電体とは一体構造となっているため電気的に接続されている。つまり、アノード電極26は、ビアホール25に充填された導電体を通じてアノード領域と電気的に接続されている。
ビアホール25を主面10aから、半導体基板20のアノード領域まで達するように形成することにより、半導体基板20に形成したアノード領域と、アノード電極26との電気的接続を、トランジスタの主面10a上で確保することが可能となる。
また、ダイオードのカソード電極27は半導体基板20の主面20b側に形成されている。カソード電極27は、例えば、Ti/Ni/Auの積層体であり、主面20b全体に形成されている。つまり、このダイオードはいわゆる縦型と呼ばれる厚さ方向に沿ってpn接合を有するダイオードである。
ダイオードを縦型構造とすることにより、カソード電極27の平面積を広くとることができる。このため、カソード電極27にかかる電界を分散することができるのでダイオードの耐圧性能を向上させることが可能となる。また、カソード電極27の平面積を広くとると、ダイオードの外部ノイズに対する耐性を向上させることができる。
本実施の形態1の半導体装置は、Siで構成されるダイオードの半導体基板20上に、チャネル層12にアンドープのGaN層を備えたHEMT素子を積層することにより、半導体チップ30内に、HEMT素子とpn接合型のダイオードの両方を内蔵することができる。
次にアノード電極26の、その他の構造的特徴について説明する。
図2に示す化合物半導体層10の主面10a上に形成された絶縁層18において、ソース電極17の上部には、コンタクトホール(開口部)19が設けられている。ダイオードのアノード電極26を構成する例えばAlなどの導電体は、このコンタクトホール19にも充填されている。すなわち、ダイオードのアノード領域であるp領域23は、アノード電極26を構成する導電体を通じてトランジスタのソース電極17と電気的に接続されている。
半導体チップ30を図1に示す電力変換装置100のスイッチング素子3として用いる場合、トランジスタ1とダイオード2とを並列接続して使用する。本実施の形態1では、半導体チップ30が備えるトランジスタのソース電極17と、ダイオードのアノード電極26とは、半導体チップ30内で電気的に接続されている。
また、図2において、アノード電極26は、化合物半導体層10の主面10aの上方において、ソース電極17側からゲート電極16とドレイン電極15の間まで主面10aに沿って延在している。詳しくは、アノード電極26はドレイン電極15、およびゲート電極16を覆う絶縁層18上に延在している。
アノード電極26をこのように配置すると、フィールドプレートとしても機能させることができるので、トランジスタのゲート−ドレイン間にかかる電界を緩和することができる。このため、トランジスタの耐圧性能を向上させることが可能となる。
<半導体装置の実装態様>
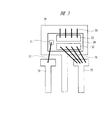
次に図3を用いて図2に示す半導体チップ30を電力変換装置のスイッチング素子として実装した半導体パッケージの構造例について説明する。図3は図1の半導体チップ30のパッケージ構造例を示す平面図である。
図3において、半導体チップ30の表面には、ゲートパッド31、ソースパッド32、およびドレインパッド33が形成されている。このゲートパッド31、ソースパッド32、およびドレインパッド33は半導体チップ30の外部接続端子となっており、それぞれ、図2に示したゲート電極16、ソース電極17、およびドレイン電極15に電気的に接続されている。
また、ゲートパッド31、ソースパッド32、およびドレインパッド33は、パッケージが備えるゲート端子34、ソース端子35、およびドレイン端子36にそれぞれ電気的に接続されている。電気的接続手段は、例えば、導電性部材であるボンディングワイヤ37、38、39を介してそれぞれ電気的に接続されている。
また、図2で説明したダイオードのアノード電極26は、半導体チップ30の内部でソース電極17に電気的に接続されているので、アノード電極26専用の外部接続端子を形成する必要はなく、ソースパッド32を介してソース端子35に電気的に接続されている。
また、図2で説明したダイオードのカソード電極27は半導体チップ30の主面20b側に形成されており、ドレイン端子36に形成された半導体チップ30の実装面と対向した状態で、電気的に接続されている。カソード電極27とドレイン端子36の電気的接続手段は、たとえば、Ag(銀)ペーストなどの導電性樹脂を用いて接続する方法を適用することができる。
図3に示すように、半導体チップ30が備えるダイオードのカソード電極27(図2参照)とトランジスタが備えるドレイン電極15(図2参照)は、それぞれドレイン端子36に電気的に接続されているので、カソード電極27(図2参照)とドレイン電極15とは電気的に接続されている。
したがって、上記電気的接続構造とすることにより、図1に示すような、トランジスタ1とダイオード2とが並列接続されたスイッチング素子3を構成することができる。
<半導体装置の製造方法>
次に、図4〜図9を用いて図2に示す半導体装置の製造方法を説明する。
図4〜図9は図2に示す半導体チップ30を製造するための主な工程毎の基板の要部断面図である。
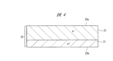
(a)まず、基板準備工程で、図4に示す、Si半導体層であるn層21と、n層21上に形成されるn層22とを備える半導体基板20(この段階の半導体基板20はウエハと称する平面略円形の半導体薄板である)を準備する。n層22は、例えば、n層21上にエピタキシャル成長法により形成することができる。
(b)次に、アノード領域形成工程で、図5に示す半導体基板20の主面20a側に形成されたn層22に、ダイオードのアノード領域となるp領域24およびp領域23を順に形成する。
領域24およびp領域23は、n層22の全面に形成するのではなく、n層22の持つ主面20aの一部に選択的に形成される。本工程では、イオン打ち込み法と熱拡散法を併用することによりp領域24およびp領域23を形成することができる。
ここで、p領域24およびp領域23は、後述する(e)絶縁層、ビアホール形成工程の後でイオン打ち込み法と熱拡散法を併用することにより形成することもできるが、この場合、トランジスタの各種電極が形成された後の工程となるため、高温による熱処理が難しいので、トランジスタを積層する前の本段階で形成することが好ましい。
(c)次に、化合物半導体層形成工程で、図6に示す半導体基板20の主面20a上に、AlNからなるバッファ層11、アンドープのGaNからなるチャネル層12、AlGaNからなる電子供給層13を順次積層して形成する。
本工程では、有機金属気相成長法(Metal Organic Chemical Vapor Deposition:MOCVD)により、バッファ層11、チャネル層12、および電子供給層13を形成することができる。
(d)次に、トランジスタ電極形成工程で、図7に示す化合物半導体層10の主面10a上にドレイン電極15、ゲート電極16およびソース電極17をそれぞれ形成する。
ここで、ドレイン電極15とソース電極17には、電子供給層13とオーミック接合がとれるように、例えばTiの上にAlを積層した積層体で形成する。また、ゲート電極16は電子供給層13とショットキー接合がとれるように、例えばNiの上にAuを積層した積層体で形成する。
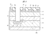
(e)次に、絶縁層、ビアホール形成工程で、図8に示す化合物半導体層10の主面10a上に絶縁層18を形成した後、ビアホール25を形成する。本工程では、まず、例えばSiN/SiOからなる絶縁層18を堆積する。次いでホトリソグラフィーとドライエッチングによって、ビアホール25を形成する。
ここで、ビアホール25は、化合物半導体層10の主面10aにおいて、ダイオードのアノード領域であるp領域23が形成された領域の上方からp領域23に到達する深さまでエッチングする。したがって、ビアホール25は、その底面にp領域23の上面(主面10a)が露出した状態となる。
また、本工程では、ソース電極17が形成された領域の上方に堆積された絶縁層18の一部にコンタクトホール19を形成する。このコンタクトホール19はソース電極17に接した状態で形成される。すなわち、コンタクトホール19を形成することにより、ソース電極17の一部が露出する。
(f)次に、配線工程で、ダイオードのアノード電極26およびカソード電極27を形成する。本工程では、ビアホール25にAlなどの導電体を埋め込むことによりアノード電極26を形成する。この時、アノード電極26を構成する導電体は前記(e)工程で形成したソース電極17上のコンタクトホール19にも埋め込まれ、ソース電極17とアノード電極26とは電気的に接続される。
また、アノード電極26を構成する導電体を、絶縁層18上において、ソース電極17側から、ゲート電極16とドレイン電極15の間まで延在するように形成する。アノード電極26をフィールドプレートとして機能させるためである。
また、半導体基板20の主面20bには、ダイオードのカソード電極27を形成する。カソード電極27は、n層21とオーミック接合がとれるように例えば、Ti、Ni、Auを下層から順に積層することで形成する。
以上の工程により、図2に示す半導体装置を製造することができる。
(実施の形態2)
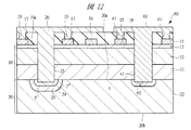
次に、図10を用いて本実施の形態2の半導体装置について説明する。図10は本実施の形態2の半導体装置を構成する半導体チップ40の要部断面図である。
図10において、本実施の形態2の半導体チップ40と前記実施の形態1で説明した半導体チップ30の相違点は、ダイオードのカソード電極27が、トランジスタのドレイン電極15と半導体チップ40内部で電気的に接続されている点である。
半導体チップ40には、化合物半導体層10の主面10aから、半導体基板20のn層21まで達するビアホール(孔)41が形成されている。ビアホール41は絶縁層18も貫通している。つまり、ビアホール41を形成された段階では、ビアホール41の底面にn層21の上面が露出した状態となる。
また、ドレイン電極15の上部には、ソース電極17の上部に形成されたコンタクトホール19と同様に絶縁層18にコンタクトホール(開口部)43が形成されている。
このビアホール41およびコンタクトホール43には、例えばAlなどの導電体42が埋め込まれている。また、この導電体42は、ビアホール41と、コンタクトホール43とを接続するように絶縁層18上にも形成されている。このため、ドレイン電極15と、n層21とは電気的に接続されている。
つまり、半導体チップ40が有するダイオードのカソード電極27とトランジスタのドレイン電極15とは、ビアホールに埋め込まれた導電体42を通じて電気的に接続されている。
このように、半導体チップ40は、化合物半導体層10の主面10aから、半導体基板20のn層21まで達するビアホール(孔)41を形成し、導電体42を埋め込むことにより、カソード電極27とドレイン電極15とを導電体42を通じて、半導体チップ40の内部で電気的に接続することができる。
本実施の形態2の半導体チップ40は、半導体チップ40の内部でカソード電極27とドレイン電極15とを電気的に接続しているので、半導体チップ40を例えば図3に示すような電力変換装置で用いられるパッケージに実装した場合に、ドレインパッド33とドレイン端子36とをボンディングワイヤ39を用いることなく電気的に接続することが可能となる。
このため、ドレイン端子36上にボンディングワイヤ39を接続する領域を確保する必要がなくなるので、ドレイン端子36の平面積を小さくすることができる。すなわち、電力変換装置のスイッチング素子を小型化することが可能となる。
本実施の形態2によれば、前記実施の形態1で説明した半導体チップ30よりもさらに電力変換装置のスイッチング素子を小型化することが可能となる。
次に本実施の形態2の半導体チップ40の製造方法について、前記実施の形態1で説明した半導体チップ30の製造方法との相違点を説明する。
本実施の形態2の半導体チップ40の製造方法では、前記実施の形態1で説明した(e)工程で、ホトリソグラフィーとドライエッチングによって、ビアホール25を形成した後、さらにホトリソグラフィー工程とドライエッチング工程を追加する。
この追加したホトリソグラフィー工程とドライエッチング工程で、図10に示すビアホール41を形成する。また、コンタクトホール43は、前記(e)工程で、絶縁層18にコンタクトホール19を形成する段階で併せて形成することができる。
次に、(f)配線工程でアノード電極26を形成する際に、導電体42を併せて形成する。
(実施の形態3)
次に、図11を用いて本実施の形態3の半導体装置について説明する。図11は本実施の形態3の半導体装置を構成する半導体チップ50の要部断面図である。
図11において、本実施の形態3の半導体チップ50と前記実施の形態2の半導体チップ40との相違点は、カソード電極27とドレイン電極15の電気的接続構造である。
すなわち、本実施の形態3の半導体チップ50では、第1に、n層22の一部に半導体基板20の主面20aからn層22とn層21の接触面まで延在するn領域(第3半導体領域)51が形成されている。また、第2にビアホール41が、n層21に達する深さまで形成されておらず、化合物半導体層10の主面10aからn領域(第3半導体領域)51に達するまでの深さで形成されている。
このn領域51の不純物濃度はn層22の不純物濃度よりも高く、n層21と同程度の不純物濃度となっている。このため、本実施の形態3では、図11に示すようにカソード電極27とドレイン電極15とを電気的に接続するためのビアホール41を不純物濃度の高いn層21に到達するまでの深さ(厚さ方向の長さ)とする必要はなく、n領域51に到達するまでの深さとすることができる。
すなわち、前記実施の形態2で説明した半導体チップ40と比較してビアホール41を浅くすることができる。このため、図11に示すようにビアホール41とビアホール25の深さを同じに設定することができる。
ビアホール41とビアホール25の深さを同じ深さとすることにより、半導体チップ50の製造工程では、前記実施の形態1で説明した(e)工程で、ホトリソグラフィーとドライエッチングによって、ビアホール25を形成する際に、同時にビアホール41を形成することが可能となる。つまり、前記実施の形態2で説明した半導体チップ40の製造方法のように、ホトリソグラフィー工程とドライエッチング工程とを追加する必要がないので、製造工程を簡略化することができる。
なお、ビアホール41とビアホール25は、それぞれ半導体基板20の主面20aに接触しており、かつ、同一の製造工程で形成することができれば良いので、これらの深さは、完全に同じ深さであることを要さない。つまり、加工精度などの影響により、一方のビアホールの深さが他方のビアホールの深さよりも若干深くなることを排除するものではない。
本実施の形態3の半導体チップ50の製造方法において、n領域51は、前記実施の形態1で説明した(b)工程で形成することが好ましい。
つまり、図5に示す半導体基板20の主面20a側に形成されたn層22に、ダイオードのアノード領域となるp領域24およびp領域23を順に形成する工程の前あるいは後に、イオン打ち込み法によって、n層22の一部にn領域51を形成することができる。
層22が厚い場合、1回のイオン打ち込みでn領域51を形成すると、n領域51が主面20aからn層21に達しない場合がある。この場合は、複数段の高エネルギーイオンを打ち込み法を用いることにより、n層51をn層21に接触させることができる。図11では、複数段の高エネルギーイオンを打ち込み法を用いた例として、3段の高エネルギーイオンを打ち込み法を用いた場合のn領域51の状態を示している。
本実施の形態3の製造方法では、前記実施の形態2で説明した製造方法と比較して、n領域51を形成するためのイオン打ち込み工程が追加されている。しかし、イオン打ち込み工程は、ホトリソグラフィー工程やドライエッチング工程と比較して、制御が容易であるため、製造工程全体としての製造効率を低減することが可能となる。
また、図11に示す半導体チップ50も半導体チップ50の内部でカソード電極27とドレイン電極15とが電気的に接続されているので、前記実施の形態2で説明した半導体チップ40と同様の効果が得られることは言うまでもない。
(実施の形態4)
次に、図12を用いて本実施の形態4の半導体装置について説明する。図12は本実施の形態4の半導体装置を構成する半導体チップ60の要部断面図である。
本実施の形態4の半導体チップ60と前記実施の形態3の半導体チップ50との相違点は、ダイオードのカソード電極の位置である。
すなわち、前記実施の形態3で説明した図11に示す半導体チップ50のダイオードのカソード電極27が、半導体基板20の主面20b側に形成されている。このような構造のダイオードは、縦型構造と呼ばれ、キャリアが半導体基板20の厚さ方向に沿って移動する。
一方、本実施の形態4の半導体チップ60は、カソード電極61が半導体基板20の主面20a側に形成されている。このようにアノード電極26とカソード電極61とが同じ主面20a側に形成された構造のダイオードは、横型構造と呼ばれ、キャリアが半導体基板20の主面20aに沿って移動する。
図12に示す半導体チップ60のように、ダイオードを横型構造とすると、半導体基板20の主面20aに沿った方向で耐圧を保持しなければならなくなるため、前記実施の形態1〜3で説明した半導体チップ30、40、50と比較すると、ダイオードの高耐圧化は困難になる。
しかし、ダイオードを横型構造とすると、カソード領域のうち、コンタクト層であるn領域62を主面20a側に形成するので、半導体基板20をn層22の単層構造とすることができる。半導体基板20を単層構造とすると、半導体基板20を製造する際にエピタキシャル成長工程を用いなくて済むので、製造工程を簡略化することができる。
また、ダイオードを横型構造とすると、主面20b側に電極を形成しなくて済むので、製造工程を簡略化することができる。また、カソード領域のうち、コンタクト層であるn領域62は、前記実施の形態3で説明した図11に示す半導体チップ50が備えるn領域51のように主面20aからn層22の下面まで延在するように形成する必要がないので、n領域62を追加することによる工程の増加負担を軽減することができる。
半導体チップ60の製造方法においては、n領域62は前記実施の形態1で説明した(b)工程で形成することが好ましい。
つまり、図5に示す半導体基板20の主面20a側に形成されたn層22に、ダイオードのアノード領域となるp領域24およびp領域23を順に形成する工程の後に、イオン打ち込み法によって、n層22の一部にn領域62を形成することができる。
また、カソード電極61は、前記実施の形態3で説明した図11に示す導電体42と同様の製造方法により形成することができる。
(実施の形態5)
次に、図13を用いて本実施の形態5の半導体装置について説明する。図13は本実施の形態5の半導体チップ70の構造を示す断面図である。
本実施の形態5の半導体チップ70と前記実施の形態1の半導体チップ30との相違点は、ダイオードがショットキーバリアダイオードとなっている点である。
すなわち、半導体チップ70のダイオードが備えるアノード領域は、例えばTiW(チタンタングステン)により形成されるショットキーバリア金属71で構成されている。
ここで、n層21およびn層22は半導体であるSiにそれぞれ所定量の不純物(例えばリンなど)が添加された半導体層である。このようにSiの基板に形成したショットキーダイオードは、高耐圧化(例えば100V以上の耐圧)が困難である。
しかし、半導体チップ70はダイオードをショットキーバリアダイオードとすることにより、前記実施の形態1で説明した図2に示した半導体チップ30のpn接合型のダイオードのように、アノード領域として、p領域24とp領域23を形成しなくて済むため、製造工程を簡略化することができる。
また、ショットキーダイオードはpn接合型のダイオードと比較して、Vf(forword Voltage)およびリカバリー電流を抑制することができるので、例えば電源用DC−DCコンバータなど低耐圧の用途においては、電力変換時の電力損失を低減することができる。
本実施の形態5の半導体チップ70の製造方法は、前記実施の形態1で説明した(b)工程を省略することができる。
また、(e)工程で、図8に示す化合物半導体層10の主面10a上に形成した絶縁層18から、半導体基板20の主面20aに到達するまでの深さでビアホール25を形成する。その後、ビアホール25の底部、すなわちn層22と接する領域に例えばTiWを堆積してショットキーバリア金属71を形成する。
(実施の形態6)
次に、図14を用いて本実施の形態6の半導体装置について説明する。図14は本実施の形態6の半導体装置を構成する半導体チップ80の要部断面図である。
本実施の形態6の半導体チップ80と前記実施の形態5の半導体チップ70との相違点は、ダイオードを備える半導体基板20がSiC(シリコンカーバイド)で構成されている点である。
すなわち、半導体チップ80のダイオードが備えるn層81およびn層82は半導体であるSiCにそれぞれ所定量の不純物が添加された半導体層である。また、半導体チップ80のダイオードが備えるショットキーバリア金属83には例えば、Mo(モリブデン)を用いることができる。
前述したようにSiの基板に形成したショットキーダイオードは、高耐圧化(例えば100V以上の耐圧)が困難である。しかし、本実施の形態6の半導体チップ80のように、SiCで構成される半導体基板20にショットキーバリアダイオードを形成する場合、例えば600Vを超える高耐圧化をすることができる。
本実施の形態6によれば、半導体基板20をSiCで構成することにより、前記実施の形態5で説明した半導体チップ70と比較して、コストは上昇するが、半導体チップ80に内蔵されるダイオードを高耐圧化することができる。
以上、本発明者によってなされた発明を発明に実施の形態に基づき具体的に説明したが、本発明は前記発明の実施の形態に限定されるものではなく、その要旨を逸脱しない範囲で種々変更可能である。
例えば、図14に示す半導体チップ80において、図10あるいは図11に示すようにカソード電極27とドレイン電極15とを導電体42を介して半導体チップ80内で電気的に接続する構造としてもよい。
この場合、半導体チップ80を図3に示すような電力変換装置のパッケージに実装する際に、ドレイン端子36上にボンディングワイヤ39を接続する領域を確保する必要がなくなるので、ドレイン端子36の平面積を小さくすることができることは言うまでもない。
本発明は、半導体装置、特に電力変換装置に用いる半導体装置に適用できる。
本発明の実施の形態1である電力変換装置の回路構造を示す回路図である。 本発明の実施の形態1である半導体装置を構成する半導体チップの要部断面図である。 図1の半導体装置のパッケージ構造例を示す平面図である。 図2の半導体装置を製造するための基板準備工程を示す断面図である。 図2の半導体装置を製造するためのアノード領域形成工程を示す基板の要部断面図である。 図2の半導体装置を製造するための化合物半導体層形成工程を示す基板の要部断面図である。 図2に示す半導体装置を製造するためのトランジスタ電極形成工程を示す基板の要部断面図である。 図2の半導体装置を製造するための絶縁層、ビアホール形成工程を示す基板の要部断面図である。 図2の半導体装置を製造するための配線工程を示す基板の要部断面図である。 本発明の実施の形態2である半導体装置を構成する半導体チップの要部断面図である。 本発明の実施の形態3である半導体装置を構成する半導体チップの要部断面図である。 本発明の実施の形態4である半導体装置を構成する半導体チップの要部断面図である。 本発明の実施の形態5である半導体装置を構成する半導体チップの要部断面図である。 本発明の実施の形態6である半導体装置を構成する半導体チップの要部断面図である。
符号の説明
1 トランジスタ
2 ダイオード
3 スイッチング素子
4 ゲートドライバ
10 化合物半導体層(第2基板)
10a 主面(第3主面)
11 バッファ層(第1化合物半導体層)
12 チャネル層(第2化合物半導体層)
13 電子供給層(第3化合物半導体層)
15 ドレイン電極
16 ゲート電極
17 ソース電極
18 絶縁層
19 コンタクトホール
20 半導体基板(第1基板)
20a 主面(第1主面)
20b 主面(第2主面)
21 n層(第1半導体層、カソード領域)
22 n層(第2半導体層、カソード領域)
23 p領域(アノード領域)
24 p領域(アノード領域)
25 ビアホール
26 アノード電極
27 カソード電極
30、40、50、60、70、80 半導体チップ(半導体装置)
31 ゲートパッド
32 ソースパッド
33 ドレインパッド
34 ゲート端子
35 ソース端子
36 ドレイン端子
37、38、39 ボンディングワイヤ
41 ビアホール
42 導電体
43 コンタクトホール
51 n領域(第3半導体領域)
61 カソード電極
71 ショットキーバリア金属
81 n層(第1半導体層、カソード領域)
82 n層(第2半導体層、カソード領域)
100 電力変換装置
101 直流電源
102 モータ

Claims (9)

  1. 同一の半導体チップ内に高電子移動度トランジスタとダイオードとを有し、
    前記半導体チップは、
    厚さ方向に沿って互いに反対側に位置する第1主面および第2主面を有する半導体基板と、
    前記半導体基板上に形成された化合物半導体層とを有しており、
    前記高電子移動度トランジスタは、
    前記化合物半導体層と、前記化合物半導体層の主面上に形成されたドレイン電極、ゲート電極およびソース電極とを有しており、
    前記ダイオードは、
    前記半導体基板に形成されたカソード領域と、
    前記カソード領域に接するように前記半導体基板の前記第1主面側に形成されたアノード領域と、
    前記化合物半導体層の主面上に形成されたアノード電極とを有しており、
    前記アノード電極は、前記化合物半導体層の主面から前記半導体基板の前記第1主面の前記アノード領域に達する孔に埋め込まれた導電体を通じて前記アノード領域に電気的に接続されており、
    前記高電子移動度トランジスタの前記ソース電極と、前記ダイオードの前記アノード領域とは電気的に接続されており、
    前記高電子移動度トランジスタの前記ソース電極と、前記ダイオードの前記アノード領域とは前記アノード電極を構成する前記導電体によって電気的に接続されており、
    前記化合物半導体層の主面上には、前記ドレイン電極、前記ゲート電極および前記ソース電極が所定の間隔を持って順に配置され、
    前記アノード電極は、前記化合物半導体層の主面上方において、前記ソース電極側から前記ゲート電極と前記ドレイン電極との間まで前記化合物半導体層の主面に沿って延在するように配置されていることを特徴とする半導体装置。
  2. 請求項に記載の半導体装置において、
    前記ダイオードのカソード電極は、前記高電子移動度トランジスタの前記ドレイン電極と、前記半導体チップ内で電気的に接続されていることを特徴とする半導体装置。
  3. 請求項に記載の半導体装置において、
    前記半導体基板は、
    前記第2主面から順に積層される第1導電型の第1半導体層、および第2半導体層とを備え、
    前記第1半導体層は、第1不純物濃度であり、
    前記第2半導体層は、前記第1不純物濃度よりも低い第2不純物濃度であり、
    前記ダイオードの前記カソード電極は、前記化合物半導体層の主面から前記半導体基板の前記第1半導体層に達する孔に埋め込まれた前記導電体を通じて前記ドレイン電極に電気的に接続されていることを特徴とする半導体装置。
  4. 請求項に記載の半導体装置において、
    前記半導体基板は、
    前記第2主面から順に積層される第1導電型の第1半導体層、および第2半導体層とを備え、
    前記第1半導体層は、第1不純物濃度であり、
    前記第2半導体層は、前記第1不純物濃度よりも低い第2不純物濃度であり、
    前記第2半導体層には、前記第1主面から前記第1半導体層との接触面まで達するように延在する第3半導体領域を備え、
    前記ダイオードの前記カソード電極は、前記化合物半導体層の主面から前記半導体基板の前記第3半導体領域に達する孔に埋め込まれた前記導電体を通じて前記ドレイン電極に電気的に接続されていることを特徴とする半導体装置。
  5. 請求項1に記載の半導体装置において、
    前記半導体基板は、
    前記第2主面から順に積層される第1導電型の第1半導体層、および第2半導体層とを備え、
    前記第1半導体層は、第1不純物濃度であり、
    前記第2半導体層は、前記第1不純物濃度よりも低い第2不純物濃度であり、
    前記ダイオードは、前記半導体基板の前記第2主面にカソード電極を備えていることを特徴とする半導体装置。
  6. 請求項1に記載の半導体装置において、
    前記半導体基板を構成する半導体材料はシリコンであることを特徴とする半導体装置。
  7. 請求項に記載の半導体装置において、
    前記ダイオードの前記アノード領域は、前記第1導電型と反対導電型の半導体領域であることを特徴とする半導体装置。
  8. 請求項1に記載の半導体装置において、
    前記半導体基板は、
    前記第2主面から順に積層される第1導電型の第1半導体層、および第2半導体層とを備え、
    前記第1半導体層は、第1不純物濃度であり、
    前記第2半導体層は、前記第1不純物濃度よりも低い第2不純物濃度であり、
    前記ダイオードの前記アノード領域は、ショットキーバリア金属であることを特徴とする半導体装置。
  9. 請求項に記載の半導体装置において、
    前記半導体基板を構成する半導体材料はシリコンカーバイドであることを特徴とする半導体装置。
JP2007160882A 2007-06-19 2007-06-19 半導体装置 Expired - Fee Related JP5319084B2 (ja)

Priority Applications (2)

Application Number Priority Date Filing Date Title
JP2007160882A JP5319084B2 (ja) 2007-06-19 2007-06-19 半導体装置
US12/141,978 US7838907B2 (en) 2007-06-19 2008-06-19 Semiconductor device and power conversion device using the same

Applications Claiming Priority (1)

Application Number Priority Date Filing Date Title
JP2007160882A JP5319084B2 (ja) 2007-06-19 2007-06-19 半導体装置

Publications (2)

Publication Number Publication Date
JP2009004398A JP2009004398A (ja) 2009-01-08
JP5319084B2 true JP5319084B2 (ja) 2013-10-16

Family

ID=40135551

Family Applications (1)

Application Number Title Priority Date Filing Date
JP2007160882A Expired - Fee Related JP5319084B2 (ja) 2007-06-19 2007-06-19 半導体装置

Country Status (2)

Country Link
US (1) US7838907B2 (ja)
JP (1) JP5319084B2 (ja)

Cited By (1)

* Cited by examiner, † Cited by third party
Publication number Priority date Publication date Assignee Title
US10158012B1 (en) 2017-06-16 2018-12-18 Kabushiki Kaisha Toshiba Semiconductor device

Families Citing this family (70)

* Cited by examiner, † Cited by third party
Publication number Priority date Publication date Assignee Title
US8017978B2 (en) * 2006-03-10 2011-09-13 International Rectifier Corporation Hybrid semiconductor device
JP4478175B2 (ja) 2007-06-26 2010-06-09 株式会社東芝 半導体装置
JP5433214B2 (ja) * 2007-12-07 2014-03-05 パナソニック株式会社 モータ駆動回路
JP2009164158A (ja) * 2007-12-28 2009-07-23 Panasonic Corp 半導体装置及びその製造方法
JP5320774B2 (ja) * 2008-03-03 2013-10-23 三菱電機株式会社 半導体装置
JP5524462B2 (ja) * 2008-08-06 2014-06-18 シャープ株式会社 半導体装置
JPWO2010021099A1 (ja) * 2008-08-22 2012-01-26 パナソニック株式会社 電界効果トランジスタ
CN202721890U (zh) * 2009-02-13 2013-02-06 许廷格电子两合公司 用于等离子体供给装置的模块和等离子体供给装置
DE102009018054B4 (de) 2009-04-21 2018-11-29 Infineon Technologies Austria Ag Lateraler HEMT und Verfahren zur Herstellung eines lateralen HEMT
US7915645B2 (en) * 2009-05-28 2011-03-29 International Rectifier Corporation Monolithic vertically integrated composite group III-V and group IV semiconductor device and method for fabricating same
US20110147796A1 (en) * 2009-12-17 2011-06-23 Infineon Technologies Austria Ag Semiconductor device with metal carrier and manufacturing method
US8981380B2 (en) * 2010-03-01 2015-03-17 International Rectifier Corporation Monolithic integration of silicon and group III-V devices
US9219058B2 (en) 2010-03-01 2015-12-22 Infineon Technologies Americas Corp. Efficient high voltage switching circuits and monolithic integration of same
JP5056883B2 (ja) 2010-03-26 2012-10-24 サンケン電気株式会社 半導体装置
JP5672756B2 (ja) * 2010-04-16 2015-02-18 サンケン電気株式会社 半導体装置
CN103109369B (zh) 2010-06-24 2016-04-06 富士通株式会社 半导体装置
EP2595181B8 (en) 2010-07-14 2018-07-04 Fujitsu Limited Compound semiconductor device and manufacturing method thereof
JP5872766B2 (ja) * 2010-12-10 2016-03-01 ローム株式会社 半導体装置および半導体パッケージ
JP2014504013A (ja) * 2010-12-15 2014-02-13 エフィシエント パワー コンヴァーション コーポレーション 背面アイソレーションを有する半導体デバイス
CN103392225B (zh) * 2011-02-23 2016-01-20 松下知识产权经营株式会社 氮化物半导体装置
JP5866773B2 (ja) * 2011-02-25 2016-02-17 富士通株式会社 化合物半導体装置及びその製造方法
JP5692357B2 (ja) 2011-03-18 2015-04-01 富士通株式会社 化合物半導体装置及びその製造方法
US9362905B2 (en) * 2011-03-21 2016-06-07 Infineon Technologies Americas Corp. Composite semiconductor device with turn-on prevention control
ITTO20110603A1 (it) * 2011-07-08 2013-01-09 St Microelectronics Srl Dispositivo elettronico basato su un composto di gallio su un substrato di silicio, e relativo metodo di fabbricazione
US9087812B2 (en) * 2011-07-15 2015-07-21 International Rectifier Corporation Composite semiconductor device with integrated diode
US9281388B2 (en) * 2011-07-15 2016-03-08 Infineon Technologies Americas Corp. Composite semiconductor device with a SOI substrate having an integrated diode
JP5896667B2 (ja) * 2011-09-26 2016-03-30 トランスフォーム・ジャパン株式会社 化合物半導体装置及びその製造方法
US20130087803A1 (en) * 2011-10-06 2013-04-11 Epowersoft, Inc. Monolithically integrated hemt and schottky diode
US9887139B2 (en) 2011-12-28 2018-02-06 Infineon Technologies Austria Ag Integrated heterojunction semiconductor device and method for producing an integrated heterojunction semiconductor device
JP2013153027A (ja) * 2012-01-24 2013-08-08 Fujitsu Ltd 半導体装置及び電源装置
US8872235B2 (en) 2012-02-23 2014-10-28 Infineon Technologies Austria Ag Integrated Schottky diode for HEMTs
US9165839B2 (en) * 2012-03-13 2015-10-20 Taiwan Semiconductor Manufacturing Company, Ltd. Plasma protection diode for a HEMT device
JP5659182B2 (ja) 2012-03-23 2015-01-28 株式会社東芝 窒化物半導体素子
JP5696083B2 (ja) 2012-03-26 2015-04-08 株式会社東芝 窒化物半導体素子及びその製造方法
JP2014036115A (ja) * 2012-08-08 2014-02-24 Renesas Electronics Corp 半導体装置
JP2014056938A (ja) * 2012-09-12 2014-03-27 Fujitsu Semiconductor Ltd 半導体装置及びその製造方法
JP6134119B2 (ja) * 2012-10-05 2017-05-24 ルネサスエレクトロニクス株式会社 半導体装置
US9093462B2 (en) * 2013-05-06 2015-07-28 Qualcomm Incorporated Electrostatic discharge diode
JP6107435B2 (ja) 2013-06-04 2017-04-05 三菱電機株式会社 半導体装置及びその製造方法
WO2015008444A1 (ja) * 2013-07-16 2015-01-22 パナソニックIpマネジメント株式会社 半導体装置
JP6143598B2 (ja) * 2013-08-01 2017-06-07 株式会社東芝 半導体装置
KR101758082B1 (ko) * 2013-12-30 2017-07-17 한국전자통신연구원 질화물 반도체 소자의 제조 방법
US10290566B2 (en) * 2014-09-23 2019-05-14 Infineon Technologies Austria Ag Electronic component
JP6319028B2 (ja) * 2014-10-03 2018-05-09 三菱電機株式会社 半導体装置
US9356017B1 (en) 2015-02-05 2016-05-31 Infineon Technologies Austria Ag Switch circuit and semiconductor device
JP6478395B2 (ja) * 2015-03-06 2019-03-06 住友電工デバイス・イノベーション株式会社 半導体装置
ITUB20155862A1 (it) 2015-11-24 2017-05-24 St Microelectronics Srl Transistore di tipo normalmente spento con ridotta resistenza in stato acceso e relativo metodo di fabbricazione
US11430882B2 (en) 2016-06-24 2022-08-30 Wolfspeed, Inc. Gallium nitride high-electron mobility transistors with p-type layers and process for making the same
US10192980B2 (en) * 2016-06-24 2019-01-29 Cree, Inc. Gallium nitride high-electron mobility transistors with deep implanted p-type layers in silicon carbide substrates for power switching and radio frequency applications and process for making the same
US12484244B2 (en) 2016-06-24 2025-11-25 Wolfspeed, Inc. Group III-nitride high-electron mobility transistors with gate connected buried p-type layers and process for making the same
US10892356B2 (en) 2016-06-24 2021-01-12 Cree, Inc. Group III-nitride high-electron mobility transistors with buried p-type layers and process for making the same
US9881862B1 (en) 2016-09-20 2018-01-30 Infineon Technologies Austria Ag Top side cooling for GaN power device
US10128228B1 (en) 2017-06-22 2018-11-13 Infineon Technologies Americas Corp. Type III-V semiconductor device with integrated diode
WO2020001636A1 (en) * 2018-06-30 2020-01-02 Jin Wei Semiconductor device, semiconductor apparatus and method of manufacturing the same
KR20210119511A (ko) * 2019-01-28 2021-10-05 크리 인코포레이티드 매립된 p형 층을 갖는 3족 질화물 고전자 이동도 트랜지스터 및 이를 제조하기 위한 공정
US11810971B2 (en) * 2019-03-21 2023-11-07 Transphorm Technology, Inc. Integrated design for III-Nitride devices
CN112331718B (zh) * 2019-08-05 2022-02-22 苏州捷芯威半导体有限公司 一种半导体器件及其制备方法
CN219040486U (zh) * 2020-01-16 2023-05-16 华为技术有限公司 一种氮化物半导体晶体管及电子设备
CN111312712A (zh) * 2020-02-25 2020-06-19 英诺赛科(珠海)科技有限公司 半导体器件及其制造方法
CN111312711A (zh) * 2020-02-25 2020-06-19 英诺赛科(珠海)科技有限公司 半导体器件及其制造方法
US20230317716A1 (en) * 2020-09-08 2023-10-05 Rohm Co., Ltd. Semiconductor device
US20240405118A1 (en) * 2021-02-01 2024-12-05 Sony Semiconductor Solutions Corporation Semiconductor device, semiconductor module, and electronic apparatus
US12402346B2 (en) 2021-05-17 2025-08-26 Wolfspeed, Inc. Circuits and group III-nitride transistors with buried p-layers and controlled gate voltages and methods thereof
US11929428B2 (en) 2021-05-17 2024-03-12 Wolfspeed, Inc. Circuits and group III-nitride high-electron mobility transistors with buried p-type layers improving overload recovery and process for implementing the same
WO2023106087A1 (ja) 2021-12-09 2023-06-15 国立研究開発法人産業技術総合研究所 半導体装置
CN115332334A (zh) * 2022-08-26 2022-11-11 电子科技大学 具有反向续流能力的集成二极管的GaN HEMT纵向器件
CN115799330A (zh) * 2022-11-11 2023-03-14 深圳天狼芯半导体有限公司 耐高压hemt器件及其制备方法
US20240213239A1 (en) * 2022-12-21 2024-06-27 Analog Devices, Inc. High-electron-mobility transistor device with integrated p-n layer
US20240395805A1 (en) * 2023-05-26 2024-11-28 Cambridge Gan Devices Limited Power semiconductor device comprising a silicon substrate
US20240395804A1 (en) * 2023-05-26 2024-11-28 Cambridge Gan Devices Limited Power semiconductor device comprising a wide bandgap substrate

Family Cites Families (8)

* Cited by examiner, † Cited by third party
Publication number Priority date Publication date Assignee Title
SE515158C2 (sv) * 1999-02-10 2001-06-18 Ericsson Telefon Ab L M Halvledaranordning med jordanslutning via en ej genomgående plugg
JP3317347B2 (ja) * 1999-09-02 2002-08-26 日本電気株式会社 ダイオードを備えた半導体装置およびその製造方法
JP2004523924A (ja) * 2001-03-21 2004-08-05 コーニンクレッカ フィリップス エレクトロニクス エヌ ヴィ 電子デバイス
JP2006086398A (ja) 2004-09-17 2006-03-30 Matsushita Electric Ind Co Ltd 半導体装置及びその製造方法
US7285807B2 (en) * 2005-08-25 2007-10-23 Coldwatt, Inc. Semiconductor device having substrate-driven field-effect transistor and Schottky diode and method of forming the same
JP5052807B2 (ja) * 2006-03-29 2012-10-17 古河電気工業株式会社 半導体装置及び電力変換装置
JP2007273640A (ja) * 2006-03-30 2007-10-18 Sanken Electric Co Ltd 半導体装置
US7820519B2 (en) * 2006-11-03 2010-10-26 Freescale Semiconductor, Inc. Process of forming an electronic device including a conductive structure extending through a buried insulating layer

Cited By (1)

* Cited by examiner, † Cited by third party
Publication number Priority date Publication date Assignee Title
US10158012B1 (en) 2017-06-16 2018-12-18 Kabushiki Kaisha Toshiba Semiconductor device

Also Published As

Publication number Publication date
US7838907B2 (en) 2010-11-23
US20080315257A1 (en) 2008-12-25
JP2009004398A (ja) 2009-01-08

Similar Documents

Publication Publication Date Title
JP5319084B2 (ja) 半導体装置
US10692861B2 (en) Method of manufacturing a semiconductor device
US12051662B2 (en) Electronic component and semiconductor device
JP4815885B2 (ja) 半導体装置の制御方法
US9356017B1 (en) Switch circuit and semiconductor device
US8941117B2 (en) Monolithically integrated vertical JFET and Schottky diode
US9324645B2 (en) Method and system for co-packaging vertical gallium nitride power devices
US9324809B2 (en) Method and system for interleaved boost converter with co-packaged gallium nitride power devices
US9231056B2 (en) Semiconductor device and fabrication method therefor, and power supply apparatus
US8937317B2 (en) Method and system for co-packaging gallium nitride electronics
US9799734B2 (en) Semiconductor device and manufacturing method for same, as well as power conversion device
KR20160110011A (ko) 반도체 장치 및 반도체 패키지
US10199347B2 (en) Semiconductor device
US20240063216A1 (en) Semiconductor device and electronic device
CN121003028A (zh) 半导体装置以及电力转换装置
JP4876418B2 (ja) 半導体装置

Legal Events

Date Code Title Description
A621 Written request for application examination

Free format text: JAPANESE INTERMEDIATE CODE: A621

Effective date: 20100209

A711 Notification of change in applicant

Free format text: JAPANESE INTERMEDIATE CODE: A712

Effective date: 20100528

A131 Notification of reasons for refusal

Free format text: JAPANESE INTERMEDIATE CODE: A131

Effective date: 20121218

A521 Request for written amendment filed

Free format text: JAPANESE INTERMEDIATE CODE: A523

Effective date: 20130215

TRDD Decision of grant or rejection written
A01 Written decision to grant a patent or to grant a registration (utility model)

Free format text: JAPANESE INTERMEDIATE CODE: A01

Effective date: 20130618

A61 First payment of annual fees (during grant procedure)

Free format text: JAPANESE INTERMEDIATE CODE: A61

Effective date: 20130711

R150 Certificate of patent or registration of utility model

Ref document number: 5319084

Country of ref document: JP

Free format text: JAPANESE INTERMEDIATE CODE: R150

Free format text: JAPANESE INTERMEDIATE CODE: R150

S531 Written request for registration of change of domicile

Free format text: JAPANESE INTERMEDIATE CODE: R313531

R350 Written notification of registration of transfer

Free format text: JAPANESE INTERMEDIATE CODE: R350

LAPS Cancellation because of no payment of annual fees