JP5259298B2 - ウエーハの研削方法 - Google Patents

ウエーハの研削方法 Download PDF

Info

Publication number
JP5259298B2
JP5259298B2 JP2008212439A JP2008212439A JP5259298B2 JP 5259298 B2 JP5259298 B2 JP 5259298B2 JP 2008212439 A JP2008212439 A JP 2008212439A JP 2008212439 A JP2008212439 A JP 2008212439A JP 5259298 B2 JP5259298 B2 JP 5259298B2
Authority
JP
Japan
Prior art keywords
grinding
wafer
chuck table
wheel
feed
Prior art date
Legal status (The legal status is an assumption and is not a legal conclusion. Google has not performed a legal analysis and makes no representation as to the accuracy of the status listed.)
Active
Application number
JP2008212439A
Other languages
English (en)
Other versions
JP2010046743A (ja
Inventor
修 長井
Current Assignee (The listed assignees may be inaccurate. Google has not performed a legal analysis and makes no representation or warranty as to the accuracy of the list.)
Disco Corp
Original Assignee
Disco Corp
Priority date (The priority date is an assumption and is not a legal conclusion. Google has not performed a legal analysis and makes no representation as to the accuracy of the date listed.)
Filing date
Publication date
Application filed by Disco Corp filed Critical Disco Corp
Priority to JP2008212439A priority Critical patent/JP5259298B2/ja
Publication of JP2010046743A publication Critical patent/JP2010046743A/ja
Application granted granted Critical
Publication of JP5259298B2 publication Critical patent/JP5259298B2/ja
Active legal-status Critical Current
Anticipated expiration legal-status Critical

Links

Images

Landscapes

  • Constituent Portions Of Griding Lathes, Driving, Sensing And Control (AREA)
  • Grinding Of Cylindrical And Plane Surfaces (AREA)
  • Mechanical Treatment Of Semiconductor (AREA)

Description

本発明は、ウエーハを生産性良く研削可能なウエーハの研削方法に関する。
IC、LSI等の数多くのデバイスが表面に形成され、且つ個々のデバイスが分割予定ライン(ストリート)によって区画された半導体ウエーハは、研削装置によって裏面が研削されて所定の厚みに加工された後、ダイシング装置によって分割予定ラインを切削して個々のデバイスに分割され、分割されたデバイスは携帯電話、パソコン等の電気機器に利用される。
ウエーハの裏面を研削する研削装置は、ウエーハを保持する保持面を備え回転可能なチャックテーブルと、該チャックテーブルに保持されたウエーハを研削する研削ホイールを回転可能に装着した研削手段と、研削手段をチャックテーブルの保持面に対して垂直方向に接近及び離反させる研削送り手段とから少なくとも構成されていて、ウエーハを所定の厚みに研削することができる(例えば、特開2004−322247号公報参照)。
一般的なウエーハの研削方法では、ウエーハを所定の厚みに研削する際に、当初の研削送り速度を5μm/秒程度と比較的高速とし、所望の厚みに近づくに連れて1μm/秒程度まで減速して研削を遂行し、ウエーハの研削面からダメージ層を除去するように研削送り手段を制御している。
特開2004−322247号公報
上述した従来の一般的な研削方法では、所望の厚みに近づくに連れて減速して研削を遂行するため、研削を終了するまでに比較的研削時間がかかり生産性が悪いという問題がある。
本発明はこのような点に鑑みてなされたものであり、その目的とするところは、効率良くウエーハを研削可能なウエーハの研削方法を提供することである。
本発明によると、ウエーハを保持する保持面を備え回転可能なチャックテーブルと、該チャックテーブルに保持されたウエーハを研削する研削ホイールを回転可能に装着した研削手段と、該研削手段を該チャックテーブルの保持面に対して垂直方向に接近及び離反させる研削送り手段とを具備した研削装置を用いたウエーハの研削方法であって、該研削送り手段を作動して該チャックテーブルに保持されたウエーハに対して該研削手段を接近させ、一定の研削送り速度で該研削ホイールをウエーハに接触させて研削する粗研削工程と、ウエーハの仕上がり厚さに達する前に該研削ホイールの回転数を増大させ前記一定の研削送り速度で研削を遂行する仕上げ研削工程と、ウエーハの厚さが仕上がり厚さに達した際、該研削送り手段を逆転して該研削ホイールを該チャックテーブルに保持されたウエーハから離反させる研削終了工程と、を備え、前記一定の送り速度は3μm/秒〜6μm/秒の範囲内であり、前記仕上げ研削工程において該研削ホイールの回転数を2000rpmから10000rpmに増大させることを特徴とするウエーハの研削方法が提供される。
本発明によると、研削ホイールの研削送り速度を高速に維持した状態で所定の厚みまでウエーハを研削し、その後、研削送り速度を高速に維持した状態で研削ホイールの回転速度を増大させ、ウエーハの裏面から研削ダメージを除去して仕上げ研削工程を遂行するようにしたので、研削時間を短縮することができ生産性が向上する。
以下、本発明実施形態ウエーハの研削方法を図面を参照して詳細に説明する。図1は所定の厚さに加工される前の半導体ウエーハの斜視図である。図1に示す半導体ウエーハ11は、例えば厚さが700μmのシリコンウエーハからなっており、表面11aに複数のストリート(分割予定ライン)13が格子状に形成されているとともに、該複数のストリート13によって区画された複数の領域にIC、LSI等のデバイス15が形成されている。
このように構成された半導体ウエーハ11は、デバイス15が形成されているデバイス領域17と、デバイス領域17を囲繞する外周余剰領域19を備えている。又、半導体ウエーハ11の外周には、シリコンウエーハの結晶方位を示すマークとしてのノッチ21が形成されている。
半導体ウエーハ11の表面11aには、保護テープ貼着工程により保護テープ23が貼着される。従って、半導体ウエーハ11の表面11aは保護テープ23によって保護され、図2に示すように裏面11bが露出する形態となる。
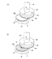
次に、図3を参照して、本発明の研削方法を実施するのに適した研削装置の一例について説明する。4は研削装置2のハウジングであり、ハウジング4の後方にはコラム6が立設されている。コラム6には、上下方向に伸びる一対のガイドレール8が固定されている。
この一対のガイドレール8に沿って研削ユニット(研削手段)10が上下方向に移動可能に装着されている。研削ユニット10は、ハウジング12と、ハウジング12を保持する支持部14を有しており、支持部14が一対のガイドレール8に沿って上下方向に移動する移動基台16に取り付けられている。
図4も併せて参照すると、研削ユニット10はハウジング12中に回転可能に収容されたスピンドル18と、スピンドル18の先端に固定されたマウンタ20と、マウンタ20に螺子締結され環状に配設された複数の研削砥石24を有する研削ホイール22と、スピンドル18を回転駆動するサーボモータ26を含んでいる。
研削装置2は、研削ユニット10を一対の案内レール8に沿って上下方向に移動するボール螺子28とパルスモータ30とから構成される研削ユニット移動機構(研削送り手段)32を備えている。パルスモータ30をパルス駆動すると、ボール螺子28が回転し、移動基台16が上下方向に移動される。
ハウジング4の上面には凹部4aが形成されており、この凹部4aにチャックテーブル機構34が配設されている。チャックテーブル機構34はチャックテーブル36を有し、図示しない移動機構により図3に示されたウエーハ着脱位置Aと、研削ユニット10に対向する研削位置Bとの間でY軸方向に移動される。38,40は蛇腹である。ハウジング4の前方側には、研削装置2のオペレータが研削条件等を入力する操作パネル42が配設されている。
サーボモータ26及びパルスモータ30は制御手段44により制御される。制御手段44は、研削送り速度制御部46と、研削量算出部48と、研削量算出部48の出力信号及びマップ50の出力信号が入力される回転速度制御部52を有している。
マップ50には、ウエーハ11の研削量とサーボモータ26の回転速度との関係がプロットされている。研削送り速度制御部46でパルスモータ30を制御して、研削ユニット移動機構32の送り速度を制御する。回転速度制御部52は研削量制御部48及びマップ50の出力に基づいて、サーボモータ26の回転速度を制御する。
このように構成された研削装置2の本発明実施形態の研削方法について以下に説明する。図3に示すウエーハ着脱位置Aに位置付けられたチャックテーブル36上に、図2に示された保護テープ23が貼付されたウエーハ11を保護テープ23を下にして吸引保持する。次いで、チャックテーブル36をY軸方向に移動して図3及び図4(A)に示す研削位置Bに位置付ける。
このように位置付けられたウエーハ11に対して、一定の研削送り速度で研削ホイール22をウエーハ11に接触させて研削する粗研削工程を遂行する。即ち、チャックテーブル36を矢印a方向に例えば300rpmで回転しつつ、研削ホイール22をチャックテーブル36と同一方向に、即ち矢印b方向に例えば2000rpmで回転させるとともに、研削ユニット移動機構32を作動して研削砥石22をウエーハ11の裏面11bに接触させる。
そして、研削ホイール22を所定の研削送り速度(例えば3〜6μm/秒)で下方に所定量研削送りして、ウエーハ11の粗研削を実施する。この粗研削は研削ホイール22を前記所定の研削送り速度で下方に所定量研削送りして遂行するため、粗研削の経過時間に応じて研削量算出部48で研削量を算出できる。
よって、研削量が500μmになった時点で回転速度制御部52により研削ホイール22の回転速度10000rpmになるまで連続的に増加させ、研削量が600μmになるまで仕上げ研削を遂行する。このとき、研削ホイール22の研削送り速度は減速せずに前記所定の研削送り速度を維持する。
図示しない接触式の厚み測定ゲージによってウエーハ11の厚みを測定しながら仕上げ研削を実施し、ウエーハ11を所望の厚み、例えば100μmに仕上げる。研削加工を実施すると、粗研削工程及び仕上げ研削工程とも、ウエーハ11の裏面(被研削面)11bには、図4(B)に示すように多数の弧が放射状に描かれた模様を呈する研削条痕31が残留する。
本実施形態の研削方法では、研削送り速度を減速せずに高速に維持した状態で研削ホイール22の回転速度を連続的に増大させるように制御するので、研削砥石24による研削能力を連続的に増大することができ、ウエーハ11の裏面から研削ダメージを除去して仕上げ研削工程を遂行することができる。その結果、研削時間を短縮することができ、生産性が向上する。
ウエーハ11の裏面研削が終了すると、チャックテーブル移動機構を作動してチャックテーブル36を図3に示すウエーハ着脱位置Aに位置付け、チャックテーブル36の吸引を解除してチャックテーブル36上からウエーハ11をとり外す。
半導体ウエーハの表面側斜視図である。 保護テープが貼着された半導体ウエーハの裏面側斜視図である。 本発明実施形態のウエーハの研削方法を実施するのに適した制御手段のブロック図及び研削装置の斜視図である。 研削加工時の研削砥石とチャックテーブルに保持されたウエーハとの位置関係を示す斜視図である。
符号の説明
2 研削装置
10 研削ユニット
11 半導体ウエーハ
22 研削ホイール
23 保護テープ
24 研削砥石
36 チャックテーブル
46 研削送り速度制御部
48 研削量算出部
52 回転速度制御部

Claims (1)

  1. ウエーハを保持する保持面を備え回転可能なチャックテーブルと、該チャックテーブルに保持されたウエーハを研削する研削ホイールを回転可能に装着した研削手段と、該研削手段を該チャックテーブルの保持面に対して垂直方向に接近及び離反させる研削送り手段とを具備した研削装置を用いたウエーハの研削方法であって、
    該研削送り手段を作動して該チャックテーブルに保持されたウエーハに対して該研削手段を接近させ、一定の研削送り速度で該研削ホイールをウエーハに接触させて研削する粗研削工程と、
    ウエーハの仕上がり厚さに達する前に該研削ホイールの回転数を増大させ前記一定の研削送り速度で研削を遂行する仕上げ研削工程と、
    ウエーハの厚さが仕上がり厚さに達した際、該研削送り手段を逆転して該研削ホイールを該チャックテーブルに保持されたウエーハから離反させる研削終了工程と、を備え、
    前記一定の送り速度は3μm/秒〜6μm/秒の範囲内であり、前記仕上げ研削工程において該研削ホイールの回転数を2000rpmから10000rpmに増大させることを特徴とするウエーハの研削方法。
JP2008212439A 2008-08-21 2008-08-21 ウエーハの研削方法 Active JP5259298B2 (ja)

Priority Applications (1)

Application Number Priority Date Filing Date Title
JP2008212439A JP5259298B2 (ja) 2008-08-21 2008-08-21 ウエーハの研削方法

Applications Claiming Priority (1)

Application Number Priority Date Filing Date Title
JP2008212439A JP5259298B2 (ja) 2008-08-21 2008-08-21 ウエーハの研削方法

Publications (2)

Publication Number Publication Date
JP2010046743A JP2010046743A (ja) 2010-03-04
JP5259298B2 true JP5259298B2 (ja) 2013-08-07

Family

ID=42064280

Family Applications (1)

Application Number Title Priority Date Filing Date
JP2008212439A Active JP5259298B2 (ja) 2008-08-21 2008-08-21 ウエーハの研削方法

Country Status (1)

Country Link
JP (1) JP5259298B2 (ja)

Families Citing this family (1)

* Cited by examiner, † Cited by third party
Publication number Priority date Publication date Assignee Title
JP6803171B2 (ja) * 2016-08-18 2020-12-23 株式会社ディスコ 研削装置及び加工装置

Family Cites Families (2)

* Cited by examiner, † Cited by third party
Publication number Priority date Publication date Assignee Title
JPS63150158A (ja) * 1986-12-10 1988-06-22 Sumitomo Electric Ind Ltd 端面研削盤切込み装置
JPH07109385B2 (ja) * 1990-03-12 1995-11-22 株式会社島津製作所 分析試料研磨方法

Also Published As

Publication number Publication date
JP2010046743A (ja) 2010-03-04

Similar Documents

Publication Publication Date Title
JP5147417B2 (ja) ウェーハの研磨方法および研磨装置
JP2012043825A (ja) ウエーハの加工方法
JP2009125915A (ja) 研削ホイール装着機構
JP2014237210A (ja) 研削装置及び研削方法
JP5455609B2 (ja) 研削装置及び該研削装置を使用したウエーハの研削方法
JP2013115187A (ja) ウェーハの加工方法
JP2012146889A (ja) ウエーハの研削方法
JP2010247311A (ja) 被加工物の研削方法
CN112589540B (zh) 板状工件的磨削方法
JP2012148389A (ja) 硬質基板の研削方法
JP5943766B2 (ja) 研削装置
JP5259298B2 (ja) ウエーハの研削方法
JP2010021330A (ja) ウエーハの加工方法
JP2010094789A (ja) 研削ホイール
JP2013202704A (ja) 研削装置及び研削方法
JP2012231057A (ja) ウエーハの加工方法
JP6300653B2 (ja) 研削方法
JP5693303B2 (ja) 研削装置
JP5963580B2 (ja) ウエーハの加工装置
JP5473684B2 (ja) ウエーハの加工方法
JP6086670B2 (ja) 研磨装置
JP2010046744A (ja) サファイアウエーハの研削方法
JP2014097551A (ja) 研削方法
JP5955069B2 (ja) ウエーハの研削方法
JP2012009662A (ja) ウエーハの研削方法

Legal Events

Date Code Title Description
A621 Written request for application examination

Free format text: JAPANESE INTERMEDIATE CODE: A621

Effective date: 20110801

A131 Notification of reasons for refusal

Free format text: JAPANESE INTERMEDIATE CODE: A131

Effective date: 20130122

A521 Request for written amendment filed

Free format text: JAPANESE INTERMEDIATE CODE: A523

Effective date: 20130318

TRDD Decision of grant or rejection written
A01 Written decision to grant a patent or to grant a registration (utility model)

Free format text: JAPANESE INTERMEDIATE CODE: A01

Effective date: 20130423

A61 First payment of annual fees (during grant procedure)

Free format text: JAPANESE INTERMEDIATE CODE: A61

Effective date: 20130424

FPAY Renewal fee payment (event date is renewal date of database)

Free format text: PAYMENT UNTIL: 20160502

Year of fee payment: 3

R150 Certificate of patent or registration of utility model

Ref document number: 5259298

Country of ref document: JP

Free format text: JAPANESE INTERMEDIATE CODE: R150

Free format text: JAPANESE INTERMEDIATE CODE: R150

R250 Receipt of annual fees

Free format text: JAPANESE INTERMEDIATE CODE: R250

R250 Receipt of annual fees

Free format text: JAPANESE INTERMEDIATE CODE: R250

R250 Receipt of annual fees

Free format text: JAPANESE INTERMEDIATE CODE: R250

R250 Receipt of annual fees

Free format text: JAPANESE INTERMEDIATE CODE: R250

R250 Receipt of annual fees

Free format text: JAPANESE INTERMEDIATE CODE: R250

R250 Receipt of annual fees

Free format text: JAPANESE INTERMEDIATE CODE: R250

R250 Receipt of annual fees

Free format text: JAPANESE INTERMEDIATE CODE: R250

R250 Receipt of annual fees

Free format text: JAPANESE INTERMEDIATE CODE: R250

R250 Receipt of annual fees

Free format text: JAPANESE INTERMEDIATE CODE: R250

R250 Receipt of annual fees

Free format text: JAPANESE INTERMEDIATE CODE: R250

R250 Receipt of annual fees

Free format text: JAPANESE INTERMEDIATE CODE: R250