JP5154965B2 - ケーブル巻き取り機構の組付け方法及びケーブル巻き取り機構 - Google Patents

ケーブル巻き取り機構の組付け方法及びケーブル巻き取り機構 Download PDF

Info

Publication number
JP5154965B2
JP5154965B2 JP2008024793A JP2008024793A JP5154965B2 JP 5154965 B2 JP5154965 B2 JP 5154965B2 JP 2008024793 A JP2008024793 A JP 2008024793A JP 2008024793 A JP2008024793 A JP 2008024793A JP 5154965 B2 JP5154965 B2 JP 5154965B2
Authority
JP
Japan
Prior art keywords
drum
cable
housing
guide member
engaged
Prior art date
Legal status (The legal status is an assumption and is not a legal conclusion. Google has not performed a legal analysis and makes no representation as to the accuracy of the status listed.)
Expired - Fee Related
Application number
JP2008024793A
Other languages
English (en)
Other versions
JP2009185475A (ja
Inventor
公宏 木下
正之 林
活明 丸山
Current Assignee (The listed assignees may be inaccurate. Google has not performed a legal analysis and makes no representation or warranty as to the accuracy of the list.)
Toyota Motor Corp
Shiroki Corp
Original Assignee
Toyota Motor Corp
Shiroki Corp
Priority date (The priority date is an assumption and is not a legal conclusion. Google has not performed a legal analysis and makes no representation as to the accuracy of the date listed.)
Filing date
Publication date
Application filed by Toyota Motor Corp, Shiroki Corp filed Critical Toyota Motor Corp
Priority to JP2008024793A priority Critical patent/JP5154965B2/ja
Publication of JP2009185475A publication Critical patent/JP2009185475A/ja
Application granted granted Critical
Publication of JP5154965B2 publication Critical patent/JP5154965B2/ja
Expired - Fee Related legal-status Critical Current
Anticipated expiration legal-status Critical

Links

Images

Landscapes

  • Window Of Vehicle (AREA)

Description

本発明は、自動車ドアのケーブル式のウインドレギュレータのケーブル巻き取り機構及びその組付け方法に関し、更に詳しくは、周面に螺旋状の溝が形成され、一方の端面の中心に被係合部が設けられた円柱状のドラムと、該ドラムの一方の端面に一端部が係止され、中間部が前記ドラムの一方の端面側から前記ドラムの溝に沿って巻回され、前記ドラムが一方の方向に回転すると、前記ドラムから繰り出される第1のケーブルと、前記ドラムの他方の端面に一端部が係止され、中間部が前記ドラムの他方の端面側から前記ドラムの溝に沿って巻回され、前記ドラムが一方の方向に回転すると、前記ドラムに巻き取られる第2のケーブルと、前記ドラムの被係合部に係脱可能な係合部を有し、係合した前記ドラムを回転駆動する駆動源と、該駆動源側に設けられ、一方の面が開放面となった有底円筒状で、底部には前記駆動源の係合部が設けられ、前記駆動源に係合した前記ドラムの周面を覆い、前記第1,第2のケーブルが前記ドラムの溝から外れるのを防止する周面部を有するドラムハウジングと、該ドラムハウジングの周面部に形成された切り欠き部に設けられ、前記第1,第2のケーブルの他端部側を案内するケーブルガイド部材と、前記ドラムハウジングの開放面を覆うドラムカバーと、からなるケーブル巻き取り機構及びその組付け方法に関する。
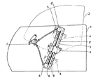
自動車ドアのウインドガラスを開閉するウインドレギュレータにあっては、モータを用いたウインドレギュレータがある。図5、図6を用いて説明する。
図5において、ドア本体1内には、ウインドガラス2の開閉方向に沿ったガイド3が設けられている。このガイド3には、ウインドガラス2が取り付けられたキャリアプレート4が移動可能に係合している。ガイド3はその上下両端のブラケット5,5を介してドア本体1に取り付けられており、各ブラケット5にはプーリ6,6’が設けられている。また、ドア本体1には、ケーブル巻取り機構を駆動する駆動源としてのモータ7が設けられている。
ここで、ケーブル巻き取り機構を説明する。
図6に示すように、モータ7によって回転駆動されるドラム10には、ワイヤが巻回されている。
ドラム10は円柱状で、その周面には螺旋状の溝が形成されている。一方の端面(本例では下面)の中心には、モータ7の断面形状が矩形の出力軸に係合する角穴が設けられている。ドラム10の一方の端面には、第1のケーブル8の一端部が係止され、第1のケーブル8の中間部がドラム10の一方の端面側からドラム10の溝に沿って巻回され、ドラム10が一方の方向に回転すると、ドラム10から繰り出されるようになっている。ドラム10の他方の端面には、第2のケーブル8’の一端部が係止され、第2のケーブル8’の中間部がドラム10の他方の端面側からドラム10の溝に沿って巻回され、ドラム10が一方の方向に回転すると、ドラム10に巻き取られるようになっている。第1のケーブル8,第2のケーブル8’の他端部側は交差し、ケーブルガイド部材11によって案内されるようになっている。モータ7側には、底部にはモータ7の駆動軸が設けられ、周面部にケーブルガイド部材11が取り付けられ、ケーブルガイド部材11以外の周面部では、モータ7に係合したドラム10の周面を覆い、第1,第2のケーブル8,8’がドラム10の溝から外れるのを防止する一方の面が開放面となった有底円筒状のドラムハウジング9が設けられている。ドラムハウジング9の開放面は、ドラムカバー15によって覆われるようになっている。
図5に示すように、そして、ドラム10を出た第1のケーブル8は、プーリ6を介してキャリアプレート4に接続されている。また、ドラム10を出た第2のケーブル8’は、プーリ6’を介してキャリアプレート4に接続されている。よって、モータ7を駆動すると、第1のケーブル8、第2のケーブル8’が進退し、キャリアプレート4がガイド3に沿って移動し、ウインドガラス2が開閉する(特許文献1参照)。
ここで、このような構成のケーブル巻き取り機構の組み付け方法を説明する。
最初に、ドラム10の一方の端面に、第1のケーブル8の一端部を係止させ、専用のケーブル巻き取り装置にドラム10をセットし、中間部をドラム10の一方の端面側からドラム10の溝に沿って巻回する。次に、ドラム10の他方の端面に、第2のケーブル8’の一端部を係止させ、中間部をドラム10の他方の端面側からドラム10の溝に沿って巻回する。
次に、専用のケーブル巻き取り装置にセットされたドラム10の角穴にモータ7の駆動軸を係合させ、専用のケーブル巻き取り装置より第1のケーブル8及び第2のケーブル8’とが巻回されたドラム10を取り外して、モータ7側に移動させた後に、ケーブルガイド部材11を取り付け、最後に、ドラムカバー15を取り付ける。
実開平6−28163号公報(図10,図11)
特許文献1に記載されたケーブル巻き取り機構を組付ける際には、専用のケーブル巻き取り装置にドラム10をセットし、ドラム10に第1のケーブル8及び第2のケーブル8’を巻回し、専用のケーブル巻き取り装置にセットされたドラム10の角穴にモータ7の駆動軸に係合させ、専用のケーブル巻き取り装置より第1のケーブル8及び第2のケーブル8’が巻回されたドラム10を取り外して、モータ7側に移動させる手間が必要である。また、専用のケーブル巻き取り装置が必要である。
よって、製造工数が多く、製造コストが高いという問題点がある。
本発明は、上記問題点に鑑みてなされたもので、その課題は、製造工数を削減でき、製造コストも低減できるケーブル巻き取り機構の組付け方法及びケーブル巻き取り機構を提供することにある。
請求項1に係る発明は、周面に螺旋状の溝が形成され、一方の端面の中心に被係合部が設けられた円柱状のドラムと、該ドラムの一方の端面に一端部が係止され、中間部が前記ドラムの一方の端面側から前記ドラムの溝に沿って巻回され、前記ドラムが一方の方向に回転すると、前記ドラムから繰り出される第1のケーブルと、前記ドラムの他方の端面に一端部が係止され、中間部が前記ドラムの他方の端面側から前記ドラムの溝に沿って巻回され、前記ドラムが一方の方向に回転すると、前記ドラムに巻き取られる第2のケーブルと、前記ドラムの被係合部に係脱可能な係合部を有し、係合した前記ドラムを回転駆動する駆動源と、該駆動源側に設けられ、一方の面が開放面となった有底円筒状で、底部には前記駆動源の係合部が設けられ、前記駆動源に係合した前記ドラムの周面を覆い、前記第1,第2のケーブルが前記ドラムの溝から外れるのを防止する周面部を有するドラムハウジングと、該ドラムハウジングの周面部に形成された切り欠き部に設けられ、前記第1,第2のケーブルの他端部側を案内するケーブルガイド部材と、前記ドラムハウジングの開放面を覆うドラムカバーと、からなるケーブル巻き取り機構の組み付け方法において、前記ドラムの被係合部が前記駆動源の係合部に係合すると、前記ドラムの周面に形成された溝のうち、他方の端面側の溝の少なくとも一巻き分が前記ドラムハウジングから外部に露出するように前記ドラム、前記ドラムハウジングの高さを設定し、前記ケーブルガイド部材を、前記第1のケーブルを案内する第1のケーブルガイド部材と、前記第2のケーブルを案内する第2のケーブルガイド部材とで構成し、前記ドラムカバーは、前記ドラムハウジングの開放面を覆う本体部と、前記ドラムハウジングから外部に露出した前記ドラムの周面を覆うドラム周面対向部とを有し、前記第1のケーブルに前記第1のケーブルガイド部材、前記第2のケーブルに前記第2のケーブルガイド部材を取り付け、前記ドラムの一方の端面に前記第1のケーブルの一端部側を係止し、前記ドラムハウジングの開放面から前記ドラムを挿入し、前記ドラムの一方の端面側の被係合部を前記駆動源の係合部に係合させ、前記第1のケーブルガイド部材を前記ドラムハウジングの切り欠き部に設け、前記駆動源を駆動して、前記ドラムを一方の方向に回転させて、前記第1のケーブルを前記ドラムに巻回し、前記ドラムの他方の端面に前記第2のケーブルの一端部側を係止すると共に、前記ドラムハウジングから外部に露出したドラムの周面の溝に前記第2のケーブルを巻き付け、前記第2のケーブルガイド部材を前記ドラムハウジングの切り欠き部に設け、前記ドラムカバーで前記ドラムハウジングの開放面を覆うことを特徴とするケーブル巻き取り機構の組付け方法である。
請求項2に係る発明は、周面に螺旋状の溝が形成され、一方の端面の中心に被係合部が設けられた円柱状のドラムと、該ドラムの一方の端面に一端部が係止され、中間部が前記ドラムの一方の端面側から前記ドラムの溝に沿って巻回され、前記ドラムが一方の方向に回転すると、前記ドラムから繰り出される第1のケーブルと、前記ドラムの他方の端面に一端部が係止され、中間部が前記ドラムの他方の端面側から前記ドラムの溝に沿って巻回され、前記ドラムが一方の方向に回転すると、前記ドラムに巻き取られる第2のケーブルと、前記ドラムの被係合部に係脱可能な係合部を有し、係合した前記ドラムを回転駆動する駆動源と、該駆動源側に設けられ、一方の面が開放面となった有底円筒状で、底部には前記駆動源の係合部が設けられ、前記駆動源に係合した前記ドラムの周面を覆い、前記第1,第2のケーブルが前記ドラムの溝から外れるのを防止する周面部を有するドラムハウジングと、該ドラムハウジングの周面部に形成された切り欠き部に設けられ、前記第1,第2のケーブルの他端部側を案内するケーブルガイド部材と、前記ドラムハウジングの開放面を覆うドラムカバーと、からなるケーブル巻き取り機構において、前記ドラムの被係合部が前記駆動源の係合部に係合すると、前記ドラムの周面に形成された溝のうち、他方の端面側の溝の少なくとも一巻き分が前記ドラムハウジングから外部に露出するように前記ドラム、前記ドラムハウジングの高さを設定し、前記ケーブルガイド部材を、前記第1のケーブルを案内する第1のケーブルガイド部材と、前記第2のケーブルを案内する第2のケーブルガイド部材とで構成し、前記ドラムカバーは、前記ドラムハウジングの開放面を覆う本体部と、前記ドラムハウジングから外部に露出した前記ドラムの周面を覆うドラム周面対向部とを有したことを特徴とするケーブル巻き取り機構である。
請求項1に係る発明によれば、前記ドラムの被係合部が前記駆動源の係合部に係合すると、前記ドラムの周面に形成された溝のうち、他方の端面側の溝の少なくとも一巻き分が前記ドラムハウジングから外部に露出するように前記ドラム、前記ドラムハウジングの高さを設定し、前記ケーブルガイド部材を、前記第1のケーブルを案内する第1のケーブルガイド部材と、前記第2のケーブルを案内する第2のケーブルガイド部材とで構成し、前記ドラムカバーは、前記ドラムハウジングの開放面を覆う本体部と、前記ドラムハウジングから外部に露出した前記ドラムの周面を覆うドラム周面対向部とを有し、前記第1のケーブルに前記第1のケーブルガイド部材、前記第2のケーブルに前記第2のケーブルガイド部材を取り付け、前記ドラムの一方の端面に前記第1のケーブルの一端部側を係止し、前記ドラムハウジングの開放面から前記ドラムを挿入し、前記ドラムの一方の端面側の被係合部を前記駆動源の係合部に係合させ、前記第1のケーブルガイド部材を前記ドラムハウジングの切り欠き部に設け、前記駆動源を駆動して、前記ドラムを一方の方向に回転させて、前記第1のケーブルを前記ドラムに巻回し、前記ドラムの他方の端面に前記第2のケーブルの一端部側を係止すると共に、前記ドラムハウジングから外部に露出したドラムの周面の溝に前記第2のケーブルを巻き付け、前記第2のケーブルガイド部材を前記ドラムハウジングの切り欠き部に設け、前記ドラムカバーで前記ドラムハウジングの開放面を覆うことにより、ケーブル巻き取り機構を組付ける際には、専用のケーブル巻き取り装置にドラムをセットし、ドラムに第1のケーブルを巻回し、専用のケーブル巻き取り装置にセットされたドラムの角穴にモータの駆動軸に係合させ、専用のケーブル巻き取り装置より第1のケーブルが巻回されたドラムを取り外して、モータ7側に移動させる手間が不要となる。また、専用のケーブル巻き取り装置が不要となる。よって、製造工数を削減でき、製造コストも低減できる。
請求項2に係る発明によれば、前記ドラムの被係合部が前記駆動源の係合部に係合すると、前記ドラムの周面に形成された溝のうち、他方の端面側の溝の少なくとも一巻き分が前記ドラムハウジングから外部に露出するように前記ドラム、前記ドラムハウジングの高さを設定し、前記ケーブルガイド部材を、前記第1のケーブルを案内する第1のケーブルガイド部材と、前記第2のケーブルを案内する第2のケーブルガイド部材とで構成し、
前記ドラムカバーは、前記ドラムハウジングの開放面を覆う本体部と、前記ドラムハウジングから外部に露出した前記ドラムの周面を覆うドラム周面対向部とを有したことにより、組み付けの際に、前記第1のケーブルに前記第1のケーブルガイド部材、前記第2のケーブルに前記第2のケーブルガイド部材を取り付け、前記ドラムの一方の端面に前記第1のケーブルの一端部側を係止すると共に、前記第1のケーブルガイド部材を前記ドラムハウジングの切り欠き部に設け、前記ドラムハウジングの開放面から前記ドラムを挿入し、前記ドラムの一方の端面側の被係合部を前記駆動源の係合部に係合させ、前記第1のケーブルガイド部材を前記ドラムハウジングに取り付け、前記駆動源を駆動して、前記ドラムを一方の方向に回転させて、前記第1のケーブルを前記ドラムに巻回し、前記ドラムの他方の端面に前記第2のケーブルの一端部側を係止すると共に、前記ドラムハウジングから外部に露出したドラムの周面の溝に前記第2のケーブルを巻き付け、前記第2のケーブルガイド部材を前記ドラムハウジングの切り欠き部に設け、前記ドラムカバーで前記ドラムハウジングの開放面を覆えば、ケーブル巻き取り機構を組付ける際には、専用のケーブル巻き取り装置にドラムをセットし、ドラムに第1のケーブルを巻回し、専用のケーブル巻き取り装置にセットされたドラムの角穴にモータの駆動軸に係合させ、専用のケーブル巻き取り装置より第1のケーブルが巻回されたドラムを取り外して、モータ7側に移動させる手間が不要となる。また、専用のケーブル巻き取り装置が不要となる。よって、製造工数を削減でき、製造コストも低減できる。
図1−図4を用いて、ウインドレギュレータに用いられる本形態例のケーブル巻き取り機構の構成を説明する。図1は本形態例のケーブル巻き取り機構の分解斜視図、図2は図1の分解斜視図を下方から見た分解斜視図、図3は組み付け後における図1の上面図、図4は図3の切断線A−Aでの断面図である。
図1、図2に示すように、円柱状のドラム101の周面には、螺旋状の溝103が形成されている。図2に示すように、ドラム101の下面(一方の端面)105の中心には、被係合部としての断面形状が非円形の角穴107が形成されている。
図1に示すように、ドラム101の上面(他方の端面)109には、ケーブルの先端に設けられたエンド部材が係合可能で、係合したケーブルをドラム101の周面の溝まで案内するエンド部材係止部111が形成されている。図2に示すように、ドラム101の下面105には、ケーブルの先端に設けられたエンド部材が係合可能で、係合したケーブルをドラム101の周面の溝まで案内するエンド部材係止部113が形成されている。
図2に示すように、第1のケーブル121の先端にはエンド部材123が取り付けられ、このエンド部材123は、ドラム101の下面105のエンド部材係止部113に係止され、ドラム101の溝103に沿って巻回され、ドラム101が一方の方向(図2において、矢印II方向)に回転すると、第1のケーブル121は、ドラム101から繰り出されるようになっている。
また、図1に示すように、第2のケーブル131の先端にはエンド部材133が取り付けられ、このエンド部材133は、ドラム101の上面109のエンド部材係止部111に係止され、ドラム101の溝103に沿って巻回され、ドラム101が一方の方向(図1において、矢印I方向)に回転すると、第2のケーブル131は、ドラム101に巻き取られるようになっている。
図1に示すように、駆動源は減速機構が一体化したモータ141でなり、その出力軸143は、断面形状が非円形の矩形となっている。そして、この出力軸143には、ドラム101の下面(一方の端面)105の中心に形成された角穴107が係脱可能となっている。ドラム101の角穴107が、モータ141の出力軸に係合することにより、ドラム101はモータ141により回転駆動される。
また、図1、図2に示すように、第1のケーブル121,第2のケーブル131の中間部は、アウタケーブル125,135内を挿通している。アウタケーブル125,135の一方の端部には、円板状のケーブルエンド部材125a,135aが取り付けられている。
モータ141には、第1のケーブルガイド部材129,第2のケーブルガイド部材139が取り付けられる。第1のケーブルガイド部材129、第2のケーブルガイド部材139は、第1のケーブル121、第2のケーブル131が挿通可能な溝を有している。第1のケーブル121、第2のケーブル131が溝を挿通することにより、第1のケーブル121はドラム101の下面105に、第2のケーブル131はドラム101の上面109にそれぞれ案内されるようになっている。
また、モータ141に取り付けられた第1のケーブルガイド部材129と、第1のケーブル121のアウタケーブル125のエンド部材125aとの間には、スプリング127が設けられ、アウタケーブル125を軸方向に付勢している。また、アウタケーブル125の他方の側は固定されており、第1のケーブル121にたるみが発生すると、スプリング127の付勢力により、アウタケーブル125が押し出され、第1のケーブル121の経路が伸びて、第1のケーブル121のたるみが吸収される。
同様に、モータ141に取り付けられた第2のケーブルガイド部材139と、第2のケーブル131のアウタケーブル135のエンド部材135aとの間には、スプリング137が設けられ、アウタケーブル135を軸方向に付勢している。また、アウタケーブル135の他方の側は固定されており、第2のケーブル131にたるみが発生すると、スプリング137の付勢力により、アウタケーブル135が押し出され、第2のケーブル131の経路が伸びて、第2のケーブル131のたるみが吸収される。
図1に示すように、モータ141には、有底円筒状のドラムハウジング151が設けられる。このドラムハウジング151の底部にはモータ141の出力軸143が設けられる。ドラムハウジング151の周面部153には、第1のケーブルガイド部材129、第2のケーブルガイド部材139が設けられる切り欠き部155が形成されている。切り欠き部155以外の周面部153は、モータ141に係合したドラム101の周面を覆い、第1,第2のケーブル121,131がドラム101の溝103から外れるのを防止するようになっている。
図1、図2に示すように、ドラムハウジング151の開放面は、ねじ161でモータ141に取り付けられるドラムカバー163で覆われる。
そして、本形態例では、図4に示すように、ドラム101の角穴107がモータ141の出力軸143に係合すると、ドラム101の周面に形成された溝103のうち、上面(他方の面)109側の溝の少なくとも一巻き分がドラムハウジング151から外部に露出するように、ドラム101、ドラムハウジング151の周面部153の高さを設定している。また、ドラムカバー163は、ドラムハウジング151の開放面を覆う本体部165と、ドラムハウジング151から外部に露出したドラム101の周面を覆うドラム周面対向部167とを有している。
次に、上記構成のケーブル巻き取り機構の組付け方法を説明する。
第1のケーブル121に第1のケーブルガイド部材129を取り付け、第2のケーブル131に第2のケーブルガイド部材139を取り付ける(第1工程)。
ドラム101の下面(一方の端面)105のエンド部材係止部113に第1のケーブル121のエンド部材123を係止する(第2工程)。
ドラムハウジング151の開放面からドラム101を挿入し、前記ドラム101の下面(一方の端面)の角穴107をモータの出力軸143に係合させる(第3工程)。
第1のケーブルガイド部材129をドラムハウジング151の切り欠き部155に設ける(第4工程)。
モータ141を駆動して、ドラム101を一方の方向に回転させて、第1のケーブル121をドラム101に巻回する(第5工程)。
ドラム101の上面(他方の端面)109のエンド部材係止部111に第2のケーブル131のエンド部材133を係止し、ドラムハウジング151から外部に露出したドラム101の周面の溝に第2のケーブル131を巻き付ける(第6工程)。
第2のケーブルガイド部材139をドラムハウジング151の切り欠き部155に設ける(第7工程)。
ねじ161を用いてドラムカバー163を取り付け、ドラムハウジング151の開放面を覆う(第8工程)。
このような構成によれば、ケーブル巻き取り機構を組付ける際には、専用のケーブル巻き取り装置にドラムをセットし、ドラムに第1のケーブルを巻回し、専用のケーブル巻き取り装置にセットされたドラムの角穴にモータの駆動軸を係合させ、専用のケーブル巻き取り装置より第1のケーブル121及び第2のケーブル131が巻回されたドラム101を取り外して、モータ141側に移動させる手間が不要となる。また、専用のケーブル巻き取り装置が不要となる。よって、製造工数を削減でき、製造コストも低減できる。
本形態例のケーブル巻き取り機構の分解斜視図である。 図1の分解斜視図を下方から見た分解斜視図である。 組み付け後における図1の上面図である。 図3の切断線A−Aでの断面図である。 ウインドレギュレータの構成図である。 図5のケーブル巻き取り機構の分解斜視図である。
符号の説明
101 ドラム
103 溝
121 第1のケーブル
129 第1のケーブルガイド部材
131 第2のケーブル
139 第2のケーブルガイド部材
151 ドラムハウジング
163 ドラムカバー

Claims (2)

  1. 周面に螺旋状の溝が形成され、一方の端面の中心に被係合部が設けられた円柱状のドラムと、
    該ドラムの一方の端面に一端部が係止され、中間部が前記ドラムの一方の端面側から前記ドラムの溝に沿って巻回され、前記ドラムが一方の方向に回転すると、前記ドラムから繰り出される第1のケーブルと、
    前記ドラムの他方の端面に一端部が係止され、中間部が前記ドラムの他方の端面側から前記ドラムの溝に沿って巻回され、前記ドラムが一方の方向に回転すると、前記ドラムに巻き取られる第2のケーブルと、
    前記ドラムの被係合部に係脱可能な係合部を有し、係合した前記ドラムを回転駆動する駆動源と、
    該駆動源側に設けられ、一方の面が開放面となった有底円筒状で、底部には前記駆動源の係合部が設けられ、前記駆動源に係合した前記ドラムの周面を覆い、前記第1,第2のケーブルが前記ドラムの溝から外れるのを防止する周面部を有するドラムハウジングと、
    該ドラムハウジングの周面部に形成された切り欠き部に設けられ、前記第1,第2のケーブルの他端部側を案内するケーブルガイド部材と、
    前記ドラムハウジングの開放面を覆うドラムカバーと、
    からなるケーブル巻き取り機構の組み付け方法において、
    前記ドラムの被係合部が前記駆動源の係合部に係合すると、前記ドラムの周面に形成された溝のうち、他方の端面側の溝の少なくとも一巻き分が前記ドラムハウジングから外部に露出するように前記ドラム、前記ドラムハウジングの高さを設定し、
    前記ケーブルガイド部材を、前記第1のケーブルを案内する第1のケーブルガイド部材と、前記第2のケーブルを案内する第2のケーブルガイド部材とで構成し、
    前記ドラムカバーは、前記ドラムハウジングの開放面を覆う本体部と、前記ドラムハウジングから外部に露出した前記ドラムの周面を覆うドラム周面対向部とを有し、
    前記第1のケーブルに前記第1のケーブルガイド部材、前記第2のケーブルに前記第2のケーブルガイド部材を取り付け、
    前記ドラムの一方の端面に前記第1のケーブルの一端部側を係止し、
    前記ドラムハウジングの開放面から前記ドラムを挿入し、前記ドラムの一方の端面側の被係合部を前記駆動源の係合部に係合させ、
    前記第1のケーブルガイド部材を前記ドラムハウジングの切り欠き部に設け、
    前記駆動源を駆動して、前記ドラムを一方の方向に回転させて、前記第1のケーブルを前記ドラムに巻回し、
    前記ドラムの他方の端面に前記第2のケーブルの一端部側を係止すると共に、前記ドラムハウジングから外部に露出したドラムの周面の溝に前記第2のケーブルを巻き付け、
    前記第2のケーブルガイド部材を前記ドラムハウジングの切り欠き部に設け、
    前記ドラムカバーで前記ドラムハウジングの開放面を覆うことを特徴とするケーブル巻き取り機構の組付け方法。
  2. 周面に螺旋状の溝が形成され、一方の端面の中心に被係合部が設けられた円柱状のドラムと、
    該ドラムの一方の端面に一端部が係止され、中間部が前記ドラムの一方の端面側から前記ドラムの溝に沿って巻回され、前記ドラムが一方の方向に回転すると、前記ドラムから繰り出される第1のケーブルと、
    前記ドラムの他方の端面に一端部が係止され、中間部が前記ドラムの他方の端面側から前記ドラムの溝に沿って巻回され、前記ドラムが一方の方向に回転すると、前記ドラムに巻き取られる第2のケーブルと、
    前記ドラムの被係合部に係脱可能な係合部を有し、係合した前記ドラムを回転駆動する駆動源と、
    該駆動源側に設けられ、一方の面が開放面となった有底円筒状で、底部には前記駆動源の係合部が設けられ、前記駆動源に係合した前記ドラムの周面を覆い、前記第1,第2のケーブルが前記ドラムの溝から外れるのを防止する周面部を有するドラムハウジングと、
    該ドラムハウジングの周面部に形成された切り欠き部に設けられ、前記第1,第2のケーブルの他端部側を案内するケーブルガイド部材と、
    前記ドラムハウジングの開放面を覆うドラムカバーと、
    からなるケーブル巻き取り機構において、
    前記ドラムの被係合部が前記駆動源の係合部に係合すると、前記ドラムの周面に形成された溝のうち、他方の端面側の溝の少なくとも一巻き分が前記ドラムハウジングから外部に露出するように前記ドラム、前記ドラムハウジングの高さを設定し、
    前記ケーブルガイド部材を、前記第1のケーブルを案内する第1のケーブルガイド部材と、前記第2のケーブルを案内する第2のケーブルガイド部材とで構成し、
    前記ドラムカバーは、前記ドラムハウジングの開放面を覆う本体部と、前記ドラムハウジングから外部に露出した前記ドラムの周面を覆うドラム周面対向部とを有したことを特徴とするケーブル巻き取り機構。
JP2008024793A 2008-02-05 2008-02-05 ケーブル巻き取り機構の組付け方法及びケーブル巻き取り機構 Expired - Fee Related JP5154965B2 (ja)

Priority Applications (1)

Application Number Priority Date Filing Date Title
JP2008024793A JP5154965B2 (ja) 2008-02-05 2008-02-05 ケーブル巻き取り機構の組付け方法及びケーブル巻き取り機構

Applications Claiming Priority (1)

Application Number Priority Date Filing Date Title
JP2008024793A JP5154965B2 (ja) 2008-02-05 2008-02-05 ケーブル巻き取り機構の組付け方法及びケーブル巻き取り機構

Publications (2)

Publication Number Publication Date
JP2009185475A JP2009185475A (ja) 2009-08-20
JP5154965B2 true JP5154965B2 (ja) 2013-02-27

Family

ID=41068983

Family Applications (1)

Application Number Title Priority Date Filing Date
JP2008024793A Expired - Fee Related JP5154965B2 (ja) 2008-02-05 2008-02-05 ケーブル巻き取り機構の組付け方法及びケーブル巻き取り機構

Country Status (1)

Country Link
JP (1) JP5154965B2 (ja)

Families Citing this family (3)

* Cited by examiner, † Cited by third party
Publication number Priority date Publication date Assignee Title
JP5841754B2 (ja) * 2011-06-30 2016-01-13 株式会社ハイレックスコーポレーション ウインドレギュレータ
JP6345063B2 (ja) 2014-09-26 2018-06-20 シロキ工業株式会社 車両用ウインドレギュレータ及び傾き抑制機構
EP3284890A4 (en) * 2015-04-14 2018-12-12 Shiroki Corporation Window regulator manufacturing method and tension applying method for drive wire

Family Cites Families (3)

* Cited by examiner, † Cited by third party
Publication number Priority date Publication date Assignee Title
JP2521628Y2 (ja) * 1991-12-11 1996-12-25 日本ケーブル・システム株式会社 ケ−ブル式ウインドレギュレ−タ用駆動部の構造
JPH1113336A (ja) * 1997-06-20 1999-01-19 Nippon Cable Syst Inc パワーウインドレギュレータ
JP3560850B2 (ja) * 1999-06-03 2004-09-02 株式会社ミツバ ケーブル駆動装置

Also Published As

Publication number Publication date
JP2009185475A (ja) 2009-08-20

Similar Documents

Publication Publication Date Title
US6796085B2 (en) Window regulator
JP6374296B2 (ja) ガイドレール嵌合構造及びウィンドウレギュレータ
US20090090065A1 (en) Window Regulator
US9957746B2 (en) Motor unit, motor with speed reduction mechanism, and sliding door automatic opening/closing device
JP5154965B2 (ja) ケーブル巻き取り機構の組付け方法及びケーブル巻き取り機構
JP4031457B2 (ja) ワイヤ式ウインドウレギュレータの駆動装置
JP2013249683A (ja) ウインドレギュレータにおける駆動モータの固定方法及びウインドレギュレータ
JP4746400B2 (ja) ワイヤ巻回装置
US20130133265A1 (en) Window regulator
US20070199246A1 (en) Window regulator cable drum
WO2008072316A1 (ja) ウインドレギュレータおよび治具
JP3178741B2 (ja) ウインドレギュレ−タのワイヤ巻取装置
JP4354933B2 (ja) ウインドレギュレータおよび治具
CN105143583B (zh) 车窗开闭调节器
JP3798646B2 (ja) ウインドレギュレータ
JP4213458B2 (ja) ワイヤ式ウインドレギュレータ装置
JP2017040093A (ja) ウインドレギュレータの製造方法及びウインドレギュレータ
JP2014091923A (ja) ワイヤ駆動装置
JP7710419B2 (ja) 対象物移動装置およびウインドレギュレータ
JP3805994B2 (ja) ウインドレギュレータ
JP2001328434A (ja) サンルーフ装置
JP2014177836A (ja) ウインドウレギュレータ
JP3802364B2 (ja) ウインドレギュレータ
JP2003082926A (ja) 車両ドア開閉駆動装置
JP2007309453A (ja) ワイヤ巻取装置

Legal Events

Date Code Title Description
A621 Written request for application examination

Free format text: JAPANESE INTERMEDIATE CODE: A621

Effective date: 20101004

RD04 Notification of resignation of power of attorney

Free format text: JAPANESE INTERMEDIATE CODE: A7424

Effective date: 20111024

A977 Report on retrieval

Free format text: JAPANESE INTERMEDIATE CODE: A971007

Effective date: 20120424

A131 Notification of reasons for refusal

Free format text: JAPANESE INTERMEDIATE CODE: A131

Effective date: 20120523

A521 Request for written amendment filed

Free format text: JAPANESE INTERMEDIATE CODE: A523

Effective date: 20120613

TRDD Decision of grant or rejection written
A01 Written decision to grant a patent or to grant a registration (utility model)

Free format text: JAPANESE INTERMEDIATE CODE: A01

Effective date: 20121204

A61 First payment of annual fees (during grant procedure)

Free format text: JAPANESE INTERMEDIATE CODE: A61

Effective date: 20121206

FPAY Renewal fee payment (event date is renewal date of database)

Free format text: PAYMENT UNTIL: 20151214

Year of fee payment: 3

R150 Certificate of patent or registration of utility model

Ref document number: 5154965

Country of ref document: JP

Free format text: JAPANESE INTERMEDIATE CODE: R150

Free format text: JAPANESE INTERMEDIATE CODE: R150

R250 Receipt of annual fees

Free format text: JAPANESE INTERMEDIATE CODE: R250

R250 Receipt of annual fees

Free format text: JAPANESE INTERMEDIATE CODE: R250

R250 Receipt of annual fees

Free format text: JAPANESE INTERMEDIATE CODE: R250

R250 Receipt of annual fees

Free format text: JAPANESE INTERMEDIATE CODE: R250

LAPS Cancellation because of no payment of annual fees