JP5076144B2 - 孔版印刷装置 - Google Patents

孔版印刷装置 Download PDF

Info

Publication number
JP5076144B2
JP5076144B2 JP2007149677A JP2007149677A JP5076144B2 JP 5076144 B2 JP5076144 B2 JP 5076144B2 JP 2007149677 A JP2007149677 A JP 2007149677A JP 2007149677 A JP2007149677 A JP 2007149677A JP 5076144 B2 JP5076144 B2 JP 5076144B2
Authority
JP
Japan
Prior art keywords
printing
ink
thermal head
master
coated paper
Prior art date
Legal status (The legal status is an assumption and is not a legal conclusion. Google has not performed a legal analysis and makes no representation as to the accuracy of the status listed.)
Expired - Fee Related
Application number
JP2007149677A
Other languages
English (en)
Other versions
JP2008302523A (ja
Inventor
肇 加藤
健悟 椿
Current Assignee (The listed assignees may be inaccurate. Google has not performed a legal analysis and makes no representation or warranty as to the accuracy of the list.)
Tohoku Ricoh Co Ltd
Original Assignee
Tohoku Ricoh Co Ltd
Priority date (The priority date is an assumption and is not a legal conclusion. Google has not performed a legal analysis and makes no representation as to the accuracy of the date listed.)
Filing date
Publication date
Application filed by Tohoku Ricoh Co Ltd filed Critical Tohoku Ricoh Co Ltd
Priority to JP2007149677A priority Critical patent/JP5076144B2/ja
Priority to US12/026,047 priority patent/US7878117B2/en
Priority to GB0802425.9A priority patent/GB2449956B/en
Publication of JP2008302523A publication Critical patent/JP2008302523A/ja
Application granted granted Critical
Publication of JP5076144B2 publication Critical patent/JP5076144B2/ja
Expired - Fee Related legal-status Critical Current
Anticipated expiration legal-status Critical

Links

Images

Classifications

    • BPERFORMING OPERATIONS; TRANSPORTING
    • B41PRINTING; LINING MACHINES; TYPEWRITERS; STAMPS
    • B41JTYPEWRITERS; SELECTIVE PRINTING MECHANISMS, i.e. MECHANISMS PRINTING OTHERWISE THAN FROM A FORME; CORRECTION OF TYPOGRAPHICAL ERRORS
    • B41J2/00Typewriters or selective printing mechanisms characterised by the printing or marking process for which they are designed
    • B41J2/315Typewriters or selective printing mechanisms characterised by the printing or marking process for which they are designed characterised by selective application of heat to a heat sensitive printing or impression-transfer material
    • B41J2/32Typewriters or selective printing mechanisms characterised by the printing or marking process for which they are designed characterised by selective application of heat to a heat sensitive printing or impression-transfer material using thermal heads
    • BPERFORMING OPERATIONS; TRANSPORTING
    • B41PRINTING; LINING MACHINES; TYPEWRITERS; STAMPS
    • B41JTYPEWRITERS; SELECTIVE PRINTING MECHANISMS, i.e. MECHANISMS PRINTING OTHERWISE THAN FROM A FORME; CORRECTION OF TYPOGRAPHICAL ERRORS
    • B41J2/00Typewriters or selective printing mechanisms characterised by the printing or marking process for which they are designed
    • B41J2/315Typewriters or selective printing mechanisms characterised by the printing or marking process for which they are designed characterised by selective application of heat to a heat sensitive printing or impression-transfer material
    • B41J2/32Typewriters or selective printing mechanisms characterised by the printing or marking process for which they are designed characterised by selective application of heat to a heat sensitive printing or impression-transfer material using thermal heads
    • B41J2/35Typewriters or selective printing mechanisms characterised by the printing or marking process for which they are designed characterised by selective application of heat to a heat sensitive printing or impression-transfer material using thermal heads providing current or voltage to the thermal head
    • B41J2/355Control circuits for heating-element selection
    • B41J2/36Print density control
    • BPERFORMING OPERATIONS; TRANSPORTING
    • B41PRINTING; LINING MACHINES; TYPEWRITERS; STAMPS
    • B41JTYPEWRITERS; SELECTIVE PRINTING MECHANISMS, i.e. MECHANISMS PRINTING OTHERWISE THAN FROM A FORME; CORRECTION OF TYPOGRAPHICAL ERRORS
    • B41J2202/00Embodiments of or processes related to ink-jet or thermal heads
    • B41J2202/30Embodiments of or processes related to thermal heads
    • B41J2202/32Thermal head for perforating stencil

Landscapes

  • Manufacture Or Reproduction Of Printing Formes (AREA)

Description

本発明は、製版装置を備えた孔版印刷装置に関する。
簡便な印刷方式としてデジタル式の感熱製版装置を搭載したデジタル式の感熱孔版印刷装置(以下、「孔版印刷装置」という)が知られている。その製版装置では、主走査方向に配列された複数の発熱素子、発熱抵抗体等とも呼ばれる複数の発熱体を具備したサーマルヘッドとプラテンローラとで、熱可塑性樹脂フィルム(以下、単に「フィルム」ともいう)を有する感熱性孔版マスタ(以下、単に「マスタ」という)を押し付けながら、主走査方向と直交する副走査方向にプラテンローラの回転を介してマスタを相対的に移動させつつ、画像信号に応じたサーマルヘッドの各発熱体の加熱により、ドット状の穿孔・製版画像(穿孔パターン)をマスタに形成するものである。
一般的な孔版印刷装置では、製版装置によって上述のように穿孔・製版画像が形成された製版済みのマスタを版胴の外周に巻き付けた後に、版胴を回転させ、版胴の回転運動に同期させて所定のタイミングをもって被印刷媒体である印刷用紙(以下、単に「用紙」ともいう)を版胴とプレスローラや圧胴等からなる押圧部材との間に搬送し、押圧部材により用紙を版胴上の製版済みのマスタに圧接し、版胴内に供給したインキを版胴の開孔部、メッシュスクリーンおよびマスタの穿孔部分から滲み出させて用紙に転移・転写することにより印刷物を得るようになっている。
製版画像が転写された印刷物はその後、排紙台に向けて排出され該排紙台に順次積載されていく。一般の孔版印刷装置で使用されるインキは、エマルションインキ(以下、「エマルジョンインキ」ともいう)であり、用紙への転写後、そのインキは直ぐには定着しない。印刷物の乾燥は、通常、時間経過に伴うインキの用紙への吸収、すなわち自然乾燥に頼っている。つまり、孔版印刷を実行するに際して、通常の印刷インキを使用すると、インキは浸透乾燥されるために裏移りや沁み通しが生じるので、一般的に良好な両面印刷物等は得難く、また表面が光沢を有するアート紙やコート紙では容易に乾燥しないので、片面印刷であっても良好な片面印刷物を得難かった。
そこで、活性エネルギー線硬化型インキである光(紫外線)硬化型インキと活性エネルギー線照射手段である光(紫外線)照射手段を使用して、孔版による両面印刷や、アート紙、コート紙に孔版印刷する装置が提案されている(例えば、特許文献1および2参照)。
特開2004−136672号公報 特開2006−281658号公報
しかしながら、一般的な孔版印刷装置では、活性エネルギー線硬化型インキの使用やコート紙印刷などは考慮されていなく、活性エネルギー線硬化型インキとコート紙との組合せの印刷では、製版済みのマスタの浮きによる白スジ状の画像不良となる印刷シワやマスタの寄りが発生してしまうという問題があった。
そこで、本発明は、上記事情に鑑みてなされたものであって、孔版印刷装置で使用するインキがエマルジョンインキもしくは孔版印刷用の活性エネルギー線硬化型インキの場合であっても、さらには使用する被印刷媒体が上質紙等の非コート紙もしくはコート紙の場合であっても、製版済みのマスタの浮きによる印刷シワ(白スジ状の画像不良)やマスタの寄りが発生せず、最適な印刷画像品質が得られる孔版印刷装置を実現し提供することを主な目的とする。
本発明は、上述した課題を解決して上記目的を達成するために、請求項ごとの発明においては以下の構成を採っていることを特徴とするものである。
請求項1記載の発明は、熱可塑性樹脂フィルムを有するマスタの該熱可塑性樹脂フィルム側に、主走査方向に配列された多数の発熱体を備えたサーマルヘッドを直接的に接触させると共に、上記主走査方向と直交する副走査方向にマスタを相対的に移動させつつ画像信号に応じた上記各発熱体の位置選択的な発熱駆動により上記熱可塑性樹脂フィルムを溶融穿孔させて上記画像信号に応じた穿孔パターンを得、この穿孔パターンが形成された製版済みのマスタを印刷ドラムの外周面に巻装し、上記印刷ドラムの内周側からインキを供給し、上記穿孔パターンを介して滲み出たインキにより上記画像信号に応じたインキ画像を被印刷媒体上に形成し、上記インキとして活性エネルギー線硬化型インキを使用することにより完全定着が可能な孔版印刷装置において、上記各発熱体の奇数番目に当たる奇数ビット、および該各発熱体の偶数番目に当たる偶数ビットの発熱駆動によって上記熱可塑性樹脂フィルムに形成される穿孔が上記主走査方向の互いに異なる一列上にそれぞれ形成されるように、かつ、隣接した上記奇数ビットと上記偶数ビットとの発熱駆動によって上記熱可塑性樹脂フィルムに形成される各穿孔が上記主走査方向の同じ一列上に隣り合わないように、上記サーマルヘッドを制御する第1の制御手段と、上記各発熱体の発熱駆動によって上記熱可塑性樹脂フィルムに形成される穿孔が上記主走査方向の同じ一列上に形成されるように上記サーマルヘッドを制御する第2の制御手段と、上記被印刷媒体として、コート紙および非コート紙にそれぞれ対応した製版および印刷動作を実行する製版・印刷モードを選択設定することが可能なコート紙/非コート紙別製版・印刷モード選択設定手段とを有し、第1の制御手段による特殊製版と第2の制御手段による通常製版との双方が実行可能であり、上記コート紙/非コート紙別製版・印刷モード選択設定手段により、少なくともコート紙製版・印刷モードが選択された場合には、第1の制御手段による特殊製版を行うことを特徴とする。
請求項記載の発明は、請求項1記載の孔版印刷装置において、上記奇数ビットと上記偶数ビットとに対する通電タイミングを異ならせる通電タイミング変更手段を有することを特徴とする。
請求項記載の発明は、請求項1または2記載の孔版印刷装置において、上記サーマルヘッドによる上記熱可塑性樹脂フィルムへの穿孔状態として、該熱可塑性樹脂フィルムの互いに隣る穿孔間の残存幅寸法が、該熱可塑性樹脂フィルムの厚みよりも広いことを特徴とする。
請求項記載の発明は、請求項1ないしの何れか一つに記載の孔版印刷装置において、上記奇数ビットと上記偶数ビットとに対して印加する印加エネルギーを異ならせる印加エネルギー変更手段を有することを特徴とする。
請求項記載の発明は、請求項1ないしの何れか一つに記載の孔版印刷装置において、上記サーマルヘッドは、複数に分割されて発熱駆動されるように構成されており、上記奇数ビットによる上記熱可塑性樹脂フィルムへの穿孔と上記偶数ビットによる上記熱可塑性樹脂フィルムへの穿孔とにおける上記副走査方向のピッチ差が、上記サーマルヘッドの駆動分割内で該サーマルヘッドの解像度の1/2であることを特徴とする。
請求項記載の発明は、請求項1記載の孔版印刷装置において、上記活性エネルギー線硬化型インキの他に、上記非コート紙対応のエマルションインキを使用することも可能なことを特徴とする。
請求項記載の発明は、請求項記載の孔版印刷装置において、インキの種類を検知するインキ種類検知手段と、使用するインキが上記コート紙または上記非コート紙に見合っていない場合に、それを報知する報知手段と、上記インキ種類検知手段からの信号に基づいて、使用するインキが上記コート紙または上記非コート紙に見合っていない場合に、それを報知するように上記報知手段を制御する報知制御手段とを有することを特徴とする。
請求項記載の発明は、請求項または記載の孔版印刷装置において、上記印刷ドラムに対して上記被印刷媒体を押し付ける際の印圧を変える印圧可変手段と、上記コート紙または上記非コート紙へ印刷する際、該コート紙または該非コート紙に応じた印圧値に設定するように上記印圧可変手段を制御する印圧可変制御手段と有することを特徴とする。
本発明によれば、上述した従来の問題点を解決して新規な孔版印刷装置を実現し提供することができる。請求項ごとの効果を挙げれば以下のとおりである。
請求項1記載の発明によれば、上記構成により、被印刷媒体として、コート紙および非コート紙にそれぞれ対応した製版および印刷動作を実行することが可能となるとともに、活性エネルギー線硬化型インキ(例えば紫外線硬化型インキ)と例えばコート紙の組合せで主に発生する印刷シワを発生させずに、好適な条件で最適な印刷画像品質を得ることが可能となる。
求項記載の発明によれば、通電タイミング変更手段は、サーマルヘッドの奇数ビットと偶数ビットとに対する通電タイミングを異ならせているので、確実に、請求項1記載の発明の効果を奏する。
請求項記載の発明によれば、サーマルヘッドによる熱可塑性樹脂フィルムへの穿孔状態として、該熱可塑性樹脂フィルムの互いに隣る穿孔間の残存幅寸法が、該熱可塑性樹脂フィルムの厚みよりも広いので、確実に、請求項1または2記載の発明の効果を奏する。
請求項記載の発明によれば、印加エネルギー変更手段は、サーマルヘッドの奇数ビットと偶数ビットとに対して印加する印加エネルギーを異ならせるので、請求項1ないしの何れか一つに記載の発明の効果が得られるということのみならず、細線等をより綺麗に印刷することが可能となる。
請求項記載の発明によれば、上記構成により、確実に、請求項1ないしの何れか一つに記載の発明の効果を奏する。
請求項記載の発明によれば、活性エネルギー線硬化型インキの他に、非コート紙対応のエマルションインキを使用することも可能なことにより、請求項1記載の発明の効果を奏することのみならず、特には非コート紙印刷時に好適な印刷画像品質を得ることができる。
請求項記載の発明によれば、上記構成により、請求項記載の発明の効果を奏することのみならず、孔版印刷装置を使用するユーザが間違って印刷ドラムまたはインキをセットしても自動的に報知されるので、マスタ、インキ、被印刷媒体等のサプライの無駄遣いを無くすことが可能となる。
請求項記載の発明によれば、上記構成により、請求項または記載の発明の効果を奏することのみならず、より一層、非コート紙またはコート紙別にシワ、破れの発生の無い好適な印刷画像品質を得ることが可能となる。
以下、図を参照して本発明を実施するための最良の形態および実施例を含む本発明の一実施形態を説明する。実施形態や変形例等に亘り、同一の機能および形状等を有する部材や構成部品等の構成要素については、同一符号を付すことにより一度説明した後ではその説明を省略する。図および説明の簡明化を図るため、図に表されるべき構成要素であっても、その図において特別に説明する必要がないものは適宜断わりなく省略することがある。公開特許公報等の構成要素をそのまま引用して説明する場合は、その符号に括弧を付して示し、実施形態等のそれと区別するものとする。
図1は、本発明の一実施形態に係るデジタル感熱式の孔版印刷装置の全体構成を模式的に示し、図2は、図1における主としてデジタル感熱式の孔版印刷装置本体の全体構成を示している。
本実施形態では、活性エネルギー線硬化型インキの使用が可能であるため、その活性エネルギー線硬化型のインキを硬化させるための活性エネルギー線硬化定着装置201が図1の孔版印刷装置の排紙側に併設されている。活性エネルギー線硬化型インキとしては、その一例として紫外線硬化型インキが用いられ、活性エネルギー線硬化定着装置としては、その一例として紫外線硬化定着装置が用いられる。
図1において、200は、図2に詳しく示す孔版印刷装置本体であり、孔版印刷装置本体200の右側には給紙部202が設けられている。上記したように、孔版印刷装置本体200の排紙側に、活性エネルギー線硬化定着装置201が併設されている。この活性エネルギー線硬化定着装置201内には、活性エネルギー線ランプや用紙を搬送するモータやベルト、吸着ファン等が組み込まれている。そして、活性エネルギー線硬化定着装置201内で活性エネルギー線硬化型インキを用紙上に定着させ、ベルト・吸着搬送で排紙台204へ印刷・定着済み用紙を排紙させるように構成されている。図1において、給紙部202は、図2に示す孔版印刷装置本体200側の給紙側に配設されている給紙部110(図1では括弧を付して示す)と実質的に同一の構成であり、給紙部202の給紙台203と給紙部110の給紙台51(図1では括弧を付して示す)とは、同一のものであることを表している。同様に、排紙台204と排紙台52(図1では括弧を付して示す)とは、同一のものであることを表している。
活性エネルギー線硬化定着装置201の内部構成は、例えば本願出願人が提案した特開2006−281658号公報の図1に示されている紫外線照射装置としてのUV照射装置(2)と同様である。これとの関連で、図2に示す孔版印刷装置本体200側には、特許文献2に係る特開2006−281658号公報の図4等に記載されている孔版印刷制御装置(55)と同様の構成が配設されている。
まず、図2を参照して、孔版印刷装置本体200側の全体構成について説明する。図2において、50は、孔版印刷装置本体200側の骨組みをなす装置本体を示す。同図に示すように、装置本体50の上部にある、80で示す部分は原稿読取装置としての原稿読取部を、その下方の1で示す部分はデジタル感熱孔版式の製版装置としての製版部を、製版部1の左側に20で示す部分は多孔性円筒状の版胴を外周部に備えた印刷ドラム21が配置された印刷ドラム装置としての印刷ドラム部を、印刷ドラム21の下方の120で示す部分は印圧装置としての印圧部を、印刷ドラム21の左側に70で示す部分は排版装置としての排版部を、製版部1の下方の110で示す部分は給紙装置としての給紙部を、印圧装置120の左側であって排版装置70の下方の130で示す部分は排紙装置としての排紙部を、それぞれ示している。このように、図2に示す孔版印刷装置には、製版部1が装置本体50内に一体的に装備されている。
原稿読取部80は、図示しない原稿載置台上から移送される原稿60の表面の画像を読み取る機能を、製版部1は、ロール状に巻かれたマスタ12を製版し給版搬送する機能を、印刷ドラム部100は、製版済みのマスタ12をその外周面に巻装し印刷ドラム21上の製版済みのマスタ12にインキを供給する機能を、印圧部120は、後述する押圧手段により印刷ドラム21に対して被印刷媒体としての用紙62を押し付けて用紙62上に印刷画像を形成する機能を、排版部70は、印刷ドラム21の外周面から使用済みのマスタ12を剥ぎ取りこれを排版ボックス74内に排出・排版する機能を、給紙部110は、給紙台51上に積載された用紙62を印刷ドラム部100と印圧部120との間に給送する機能を、排紙部130は、印刷ドラム部100と印圧部120にて印刷された用紙62を排紙台52に排出する機能を、それぞれ有する。
図2〜図4を参照して、従来と同様の後述する通常製版モード設定時の孔版印刷装置の基本的な動作について、説明する。後述する特殊製版モードに関する構成および通常製版モード設定時の動作と相違する点の動作は、この説明の後で詳述する。
先ず、使用者が、原稿読取部80の上部に配置された図示しない原稿載置台に印刷すべき画像を持った原稿60を載置・セットし、図3に示す操作パネル90の製版スタートキー91を押す。この製版スタートキー91の押下に伴い、製版スタート信号が生成されこれがトリガとなって、先ず排版工程が実行される。すなわち、この状態においては、印刷ドラム21の外周面に前回の印刷で使用された使用済みのマスタ12が装着されたまま残っている。印刷ドラム21は、図示しない駆動機構を介して印刷ドラム駆動手段(図示せず、例えばメインモータ等)に連結されていて、印刷ドラム駆動手段によって回転駆動される。
印刷ドラム21が図中矢印方向Aと反対方向に回転し、印刷ドラム21の外周面に装着されていた使用済みのマスタ12の後端部が排版部70の排版剥離ローラ対71a,71bに近づくと、同ローラ対71a,71bは回転しつつ一方の排版剥離ローラ71bで使用済みのマスタ12の後端部をすくい上げ、排版剥離ローラ対71a,71bの左方に配設された排版コロ対73a,73bと排版剥離ローラ対71a,71bとの間に掛け渡された排版搬送ベルト対72a,72bで構成される排版剥離搬送装置により、使用済みのマスタ12は印刷ドラム21の外周面から漸次剥され矢印方向Y1方向へ搬送されつつ排版ボックス74内へ排出されていわゆる排版工程が終了する。この時印刷ドラム21は反時計回り方向への回転を続けている。排出された使用済みのマスタ12は、その後、圧縮板75によって排版ボックス74の内部で圧縮される。
排版工程と並行して、原稿読取部80が作動して原稿読み取りが行われる。すなわち、上記原稿載置台に載置された原稿60は、分離ローラ81、前原稿搬送ローラ対82a,82bおよび後原稿搬送ローラ対83a,83bのそれぞれの回転により矢印Y2からY3方向(以下、「原稿搬送方向Y2」という)に搬送されつつ露光読み取りに供される。このとき、原稿60が多数枚あるときは、分離ブレード84の作用でその最下部の原稿のみが搬送される。
上側の後原稿搬送ローラ83aは、例えばステッピングモータからなる原稿搬送モータ(図示せず)によって回転駆動される。上側の前原稿搬送ローラ82aは、上側の搬送ローラ83aと搬送ローラ82aとの間に掛け渡されたタイミングベルト(図示せず)を介して上記原稿搬送モータによって回転駆動され、各ローラ82b,83bはそれぞれ従動回転する。この際、図4に示すその他制御手段7に含まれている副走査方向送り速度制御手段からの指令により、上記原稿搬送モータは、原稿60の副走査送りピッチを副走査方向の解像度(ドット/インチ)に対応した所定の副走査送りピッチに変えるように制御される。また、これに限ったことではなく、所定の副走査送りピッチで読み込み、画像記憶手段としての原稿メモリに一度格納し、処理しても構わない。
原稿60の画像読み取りは、コンタクトガラス85上を搬送されつつ、蛍光灯86により照明された原稿60の表面からの反射光を、ミラー87で反射させレンズ88を通して、CCD(電荷結合素子等の光電変換素子)からなる画像センサ89に入射させることにより行われる。その画像が読み取られた原稿60は原稿トレイ80A上に排出される。
原稿読取部80には、多色重ね刷り印刷に必要な色分解のための諸機能を有する構成、例えば特開昭64−18682号公報記載の複数の色フィルターを切換可能に制御できるフィルターユニットと同様の機能および構成を有するものが、ミラー87とレンズ88との間の光路上に配設されている。
図2および図4において、原稿60の光学情報(画像データ)は画像センサ89で光電変換され、そのアナログの電気信号はアナログ/デジタル(A/D)変換部に入力されデジタルの画像信号に変換される。このデジタルの画像信号は図4に示す制御部2内の画像処理部4で孔版用に画像処理を施され、こうして画像処理を施された2値の黒画素および白画素に関するデジタル画像信号は、図4に示すサーマルヘッド駆動制御部5に入力される。サーマルヘッド駆動制御部5は、主としてサーマルヘッド駆動回路(図示せず)を介して図2および図4に示すサーマルヘッド10の個々の発熱体9を制御するものであり、図4に示すマイクロコンピュータ周辺回路3からの指令を受けて制御動作を行う。
以下、サーマルヘッド駆動制御部5内に具備されている製版方法選択手段によって、従来から周知の通常製版が実行されるものとして説明する。「通常製版」とは、デジタル画像信号に応じて、サーマルヘッド10の個々の発熱体9の発熱駆動によってマスタ12の熱可塑性樹脂フィルムに形成される穿孔がサーマルヘッド10の主走査方向の同一の一列上に形成される周知の製版方法を意味する。サーマルヘッド駆動制御部5内には、後で詳細に説明する本実施形態に特有の特殊製版を実行させる第1の制御手段の他に、上記製版方法選択手段からの信号に基づき、上記通常製版を実行するようにサーマルヘッド10の個々の発熱体9を制御する第2の制御手段が配設されている。
なお、上記A/D変換部へ入力される光学情報(画像データ)は上記CCDで読み取ったものに限らず、例えば密着イメージセンサ(CIS)等からのものでも構わない。また、制御部2内のサーマルヘッド駆動制御部5に入力されるデジタル画像データは、パソコン等のコンピュータから送信されるデジタル画像信号であっても構わない。
制御部2内のサーマルヘッド駆動制御部5に入力したデジタル画像信号は、上記特殊製版を行うための印加エネルギー変更手段および通電タイミング変更手段を除く公知の各種制御、すなわち制御部2に配設された熱履歴制御手段による熱履歴制御、コモンドロップ補正制御手段によるコモンドロップ補正制御等を適宜施されて、またその他制御手段7により種々の制御等を適宜施されて、サーマルヘッド駆動用の信号としてデジタル画像データ信号(以下、単に「データ信号」もしくは「DATA信号」とも略記する)、クロック信号(以下、「CLK信号」とも略記する)、ラッチ信号(以下、「LATCH信号」とも略記する)、通電信号(以下、「ストローブ信号」もしくは「STB信号」とも略記する)等を生成されて、サーマルヘッド駆動回路(図示せず)を介してサーマルヘッド10に送信される。
一方、このような原稿走査および画像読み取り動作と並行して、デジタル信号化された画像情報(デジタル画像信号)に基づき製版および給版工程が行われる。すなわち、上記製版スタート信号がトリガとなって、例えばステッピングモータからなるマスタ送りモータ11が回転駆動されることにより、図示しないマスタ支持部材を介してマスタ12を繰り出し可能にセットされ、芯管12aの周りにロール状に巻かれて形成されたマスタロール12Aからマスタ12が引き出される。この時、マスタ12は、マスタ12を介してサーマルヘッド10に押し付けられているマスタ搬送手段としてのプラテンローラ14およびテンションローラ対15a,15bの一定速度の回転により、図中矢印Yで示す副走査方向Y(以下、「マスタ搬送方向Y」ともいう)の下流側に搬送される。
この際、図4に示したその他制御手段7内の副走査方向送り速度制御手段からの指令により、マスタ送りモータ11は、マスタ12の副走査送りピッチを副走査方向Yの解像度に対応した所定の副走査送りピッチに変えるように制御される。
搬送されるマスタ12に対して、サーマルヘッド10の主走査方向にライン状に並んで配列された多数の微小な発熱体9が、制御部2内のサーマルヘッド駆動制御部5から送られてくるデジタル画像データ信号に応じて各々位置選択的に発熱し、発熱した発熱体9に接触しているマスタ12のフィルム部分が加熱溶融穿孔される。このようにして、画像情報に応じたマスタ12の位置選択的な溶融穿孔により、画像情報が穿孔パターンとしてマスタ12に書き込まれる。
プラテンローラ14は、タイミングベルトおよびギヤ等の回転伝達部材(図示せず)を介してマスタ送りモータ11に連結されていて、マスタ送りモータ11により回転される。マスタ送りモータ11は、例えばステッピングモータからなる。マスタ送りモータ11の回転駆動力は、ギヤ等の回転伝達部材(図示せず)を介して、テンションローラ対15a,15bおよび電磁クラッチ(図示せず)を介して上下一対の反転ローラ17a,17bに伝達されるようになっている。
なお、上記電磁クラッチに代えて、反転ローラ17a,17bの駆動ローラを回転させるマスタ送りモータ11とは別のステッピングモータを配設した装置もある。
画像情報が書き込まれた製版済みのマスタ12の先端は、反転ローラ対17a,17bにより印刷ドラム21の外周部側へ向かって送り出され、さらに給版ガイド板18により進行方向を下方へ変えられ、図2に二点鎖線で示す給版位置状態にある印刷ドラム21の拡開したマスタクランパ22へ向かって垂れ下がる。このとき印刷ドラム21は、排版工程により使用済みのマスタ12を既に除去されている。
そして、装置本体50側に配設されマスタクランパ22を開閉する図示しない開閉装置の作動により、製版済みのマスタ12の先端が一定のタイミングでマスタクランパ22によってクランプ・保持されると、印刷ドラム21は図中矢印A方向(時計回り方向)に回転しつつ外周面に製版済みのマスタ12を徐々に巻き付けていく。製版済みのマスタ12の後端部は、製版完了後にカッタ13により一定の長さに切断されて、1版の製版済みのマスタ12が印刷ドラム21の外周面に完全に巻装された段階で製版および給版工程が終了する。
その後、プラテンローラ14、テンションローラ対15a,15bおよび反転ローラ対17a,17bの回転により、切断された上流側の残りのマスタ12の先端が反転ローラ対17a,17bのニップ部に向けて搬送される。こうして搬送されたマスタ12の先端が図示しないマスタ先端検知センサによって検知され、マスタ12の先端が初期位置を占めたと判断されると、プラテンローラ14、テンションローラ対15a,15bおよび反転ローラ対17a,17bの回転が停止し、次の製版に備えた製版待機状態になる。マスタ12の初期位置は、例えば、反転ローラ対17a,17bのニップ部で挟持された位置から少し前方にはみ出た位置に予め設定されている。
なお、プラテンローラ14、テンションローラ対15a,15b、反転ローラ対17a,17bおよびマスタ送りモータ11は、マスタ12を搬送する手段を構成しており、図4においてこれらを総称してマスタ搬送手段19とする。
次いで、印刷工程が開始される。先ず、給紙台51上に積載された用紙62のうちの最上位の1枚が、給紙コロ111により引き出され、さらに分離コロ対112a,112bの協働作用により1枚に分離されてレジストローラ対113a,113bに向けて矢印Y4方向(以下、「用紙搬送方向Y4」という)に給送され、さらにレジストローラ対113a,113bにより印刷ドラム21の回転と同期した所定のタイミングで印圧部120における印刷ドラム21とプレスローラ23との間に給送される。このプレスローラ23は、図示しない公知のプレスローラ変位手段により印刷ドラム21の外周面に接離自在になされており、外周面に製版済みのマスタ12が巻装された印刷ドラム21に対して給送されてきた用紙62を押し付けて印刷画像を用紙62上に形成する押圧手段として機能する。そして、給送されてきた用紙62が、印刷ドラム21とプレスローラ23との間に挿入されてくると、印刷ドラム21の外周面下方に離間していたプレスローラ23が揺動・上昇されることにより、印刷ドラム21の外周面に巻装されている製版済みのマスタ12に押し付けられる。こうして、印刷ドラム21の多孔部から滲み出たインキの粘性による付着力によって、製版済みのマスタ12が印刷ドラム21の外周面上に密着すると同時に、さらに製版済みのマスタ12の穿孔パターン部からインキが滲み出し、この滲み出たインキが用紙62の表面に転移されて、印刷画像が形成される。
この時、印刷ドラム21の内周側では、支軸24を兼ねるインキ供給管24からインキローラ25とドクターローラ26との間に形成されるインキ溜まり27にインキが供給され、印刷ドラム21の回転方向と同一方向に、かつ、印刷ドラム21の回転速度と同期して回転しながら内周面に転接するインキローラ25により、インキが印刷ドラム21の内周側に供給される。
なお、インキ供給管24、インキローラ25およびドクターローラ26は、印刷ドラム21上の製版済みのマスタ12にインキを供給するインキ供給手段を構成する。従来の通常製版モード設定時であって、上質紙等への非コート紙に印刷する場合に使用するインキとしては、例えばW/O型のエマルジョンインキが好ましく用いられる。押圧手段は、プレスローラ23に限らず、印刷ドラム(版胴)21の直径とほぼ同径の圧胴等も用いられ、このような圧胴方式の孔版印刷装置でも無論、本発明は適用される。
印圧部120において印刷画像が形成された用紙62は、排紙部130における排紙剥離爪114により印刷ドラム21から剥がされ、吸引用ファン118に吸引されつつ、吸着排紙入口ローラ115および吸着排紙出口ローラ116に掛け渡された多孔性の搬送ベルト117に吸着され、この搬送ベルト117の反時計回り方向の回転により、矢印Y5のように排紙台52へ向かって搬送され、排紙台52上に順次排出積載される。このようにしていわゆる版付け印刷が終了する。なお、版付け印刷時の印刷速度は、例えば16〜20枚/min(分)というような低速度に設定される。
版付け印刷終了後、プレスローラ23は印刷ドラム21から離間し、印刷ドラム21は図2においてマスタクランパ22が略真上となる初期位置(ホームポジション)に復帰して、印刷待機状態となる。
次に、図3に示す操作パネル90に配置されている図示しない印刷速度設定キーを押下することにより、所望する印刷速度値を設定し、これに前後して操作パネル90のテンキー93で印刷枚数をセットし、印刷スタートキー92を押すと上記版付け印刷と同様の工程で、給紙、印刷および排紙の各工程が設定された印刷速度でセットした印刷枚数分繰り返して行われ、孔版印刷の全工程が終了する。
以下、本実施形態に特有の特殊製版モードおよびこれに関連する要部構成について、製版部1、操作パネル90、印刷ドラム部100、印圧可変手段等の詳細を説明する。
図1および図2に示した孔版印刷装置で現在使用されているマスタ12としては、例えば熱可塑性樹脂フィルムと、和紙繊維とか合成繊維あるいは和紙繊維および合成繊維を混抄したもの等からなる多孔質支持体とを貼り合わせたラミネート構造のものが挙げられる。熱可塑性樹脂フィルムとしては、例えばポリエチレンテレフタレート(PET)系のものが用いられる。なお、マスタ12としては、公知の全てのマスタ、すなわち一般的に、孔版印刷装置で使用されるマスタ12の厚みとしては、20〜60μmの範囲のものであり、そのうちの熱可塑性樹脂フィルムの厚みとしては、1.0〜2.5μmの範囲のものである。
マスタ12は、上記した物に限らず、マスタ12の多孔質支持体の厚さを薄くしたマスタであってもよく、例えば特開平11−77949号公報に記載されているような合成繊維ベースマスタ(2)でもよいし、また特開平10−147075号公報に記載されているような熱可塑性樹脂フィルムと少なくとも一層の多孔性樹脂膜と多孔性支持体とを有するマスタ、すなわち熱可塑性樹脂フィルムの一方の面上に樹脂からなる多孔性樹脂膜を設け、さらにその表面に繊維状物質からなる多孔性繊維膜を積層してなるマスタ、あるいは実質的に熱可塑性樹脂フィルムのみからなるマスタも使用することができる。
図2に示すように、装置本体50内における排版部70の上方近傍には、環境温度を検出する環境温度検知手段としての環境温度センサ210が配設されている。印刷ドラム21の内部には、インキ供給手段のインキ溜まり27形成部に配置されインキの温度を検出するインキ温度検知手段としてのインキ温度センサ211が配設されている。インキ温度センサ211は、図4においてインキ温度検知部として構成されている。
また、製版部1内には、サーマルヘッド10の温度を検出するサーマルヘッド温度検知手段としてのサーマルヘッド温度検知センサ212が配設されている。サーマルヘッド温度検知センサ212の配置個所としては、特開2006−82358号公報の図4に示されていると同様の部位、すなわち、発熱体9の表面部分、例えば電極に囲まれた発熱体9中央の表面部分に近い部位であることが望ましいが、現時点における技術ではその部分での検出は不可に近いので、ここではサーマルヘッド10に搭載されている回路基板上であるサーマルヘッド基板上でサーマルヘッド10本体の温度検出を行う。これに限らず、サーマルヘッド10を構成するアルミ放熱板とも呼ばれるアルミ放熱支持体の内部に設けてもよい。
環境温度センサ210、インキ温度センサ211およびサーマルヘッド温度検知センサ212としては、所望する感度・信頼性を備え、かつ、比較的小型で安価なサーミスタが好ましく使用される。上記ほどの利点を望まなくても良いのであれば、他の温度検出手段でも構わない。
サーマルヘッド10は、上記したように画像センサ89、図示しないA/D変換部、画像処理部4等を経由して、あるいは図示しないパソコン等からのデジタル画像信号を受信するための図示しないパソコン・コントローラやインターフェース装置、データ展開部等を経由して画像処理部を介して、それぞれ制御部2のサーマルヘッド駆動制御部5で処理されて送出されるデジタル画像データ信号を含むサーマルヘッド駆動用の信号に基づいて、多数の発熱体を位置選択的に加熱することにより、マスタ12を位置選択的に加熱溶融穿孔し製版する製版手段としての機能を有する。サーマルヘッド10は、図示しない周知の接離手段により、マスタ12を介してプラテンローラ14に接離自在となっている。
製版部1は、装置本体50に対して周知の着脱手段を介して着脱自在な製版ユニットを構成している。
この孔版印刷装置では、サーマルヘッド10としては、一般的に薄膜式サーマルヘッドのうちで平面型サーマルヘッドと呼ばれているものを用いているが、これに限らず、主走査方向に配列された複数(多数)の発熱体を具備したものであれば、公知の全ての形式・タイプのものを含む。すなわち、サーマルヘッド10としては、平面型サーマルヘッド、端面型サーマルヘッド、リアルエッジ型サーマルヘッドまたはコーナーエッジ型サーマルヘッドであってもよい。
また、サーマルヘッド10の発熱体9としては、通常、その平面視形状が矩形型のものを用いているが、熱集中型でもよい。
上述したとおり、製版部1は、サーマルヘッド10の主走査方向に配列された多数の発熱体9の部分をマスタ12のフィルムに接触させ、主走査方向と直交する副走査方向にマスタ12を所定の副走査送りピッチで移動させ、画像データ(画像信号)に応じての個々の発熱体9の位置選択的な加熱によりマスタ12のフィルムを溶融穿孔して画像信号に応じたドット状の穿孔・製版画像(穿孔パターン)をマスタ12に形成する装置である。
本実施形態の製版部1では、副走査方向Yにマスタ12を相対的に移動させる際の副走査方向Yの解像度が、サーマルヘッド10の解像度と同じ解像度となるように予め設定されている。マスタ12を副走査方向Yに搬送する送り動作は、上記例のように所定の送りピッチで間欠的に移動するものに限らず、連続的に送るようにしてもよい。また、原稿読取部80に限らず、原稿60をコンタクトガラス上に載置・固定し、蛍光灯およびミラー等を具備した走査光学系を駆動モータにより移動させつつ原稿の読み取りを行うスキャナ移動方式を採用してもよい。この場合、上記走査光学系の移動速度を、副走査方向Yの解像度に対応した所定の送りピッチに変えるように上記駆動モータを制御すればよい。
操作パネル90は、原稿読取部80の上部の一側部に配置されている。操作パネル90には、図3に示すように、製版スタートキー91、印刷スタートキー92、テンキー93、試し刷りキー94、エンターキー95、モードクリアキー96、タッチパネル98および表示器99等が配設されている。また、操作パネル90には、図4に示すように、報知手段およびコート紙/非コート紙設定手段として機能するものも配設されている。これらについては、後述する。
製版スタートキー91は、原稿の画像の読み取りから排版、製版、給版、給紙、版付け印刷、排紙工程に至るまでの一連の工程(動作)を起動するための動作起動手段としての機能を、テンキー93は、印刷枚数等を入力・設定する機能を、印刷スタートキー92は、テンキー93で入力・設定された印刷枚数分の印刷動作の起動等を行う機能を、試し刷りキー94は、試し刷り印刷動作を起動する機能を、それぞれ有する。エンターキー95は、各種設定時に数値等を確定・設定する機能を、モードクリアキー96は、各種モード設定状態を消去・クリアする機能を有し、それぞれそれらの機能を発揮させたい場合等に押下される。
タッチパネル98は、図示しないタッチパネル駆動回路を含むLCD(液晶表示装置)駆動回路により駆動され、周知のタッチパネル方式で画面表示された各種モードや種々の選択設定手段(上述のコート紙/非コート紙設定手段)を白黒反転表示させて選択設定できるように構成されている。
タッチパネル98に配設されたLCD画面からなる表示手段ないしは報知手段は、使用するインキがコート紙または非コート紙に見合っていない場合に、それを表示ないしは報知するものであり、具体的にはタッチパネル98に「この組合せでは、印刷できません」等の表示・報知がなされる。
コート紙/非コート紙設定手段は、用紙として、コート紙および非コート紙にそれぞれ対応した製版および印刷動作を実行する製版・印刷モードを選択設定することが可能なコート紙/非コート紙別製版・印刷モード選択設定手段としての機能を有し、具体的にはタッチパネル98に設けられたコート紙設定キー131、非コート紙設定キー132で構成されている。
報知手段は、タッチパネル98に表示されるものに限らず、例えば単なるLCD表示やLED表示、音声による報知や、操作パネル90等に配設されたブザー97による吹鳴警告音あるいはLEDの7セグメントを使用したコード表記でもよいし、あるいはそれらを適宜組合せたものでも構わない。コート紙/非コート紙設定手段は、タッチパネル98に配設されたものに限らず、例えば専用のキーを設けたり、LCDで階層表示させながら複数の選択設定キーで設定するものでもよい。
インキ種類検知手段は、狭義には活性エネルギー硬化型インキおよびエマルジョンインキのうち何れのインキを使用しているかを検知する手段であり、広義には孔版印刷装置で使用される全てのインキ種類を検知する手段である。以下、狭義のインキ種類検知手段について、説明する。
印刷ドラム21は、図示しないインキ容器やインキ供給ポンプと一体的にユニット化されたドラムユニットを構成していて、装置本体50に対して着脱手段を介して簡単な操作で着脱できるようになっている。そして、活性エネルギー線硬化型インキが充填・装着された活性エネルギー線硬化型インキ用印刷ドラムを備えた活性エネルギー線硬化型インキ用印刷ドラムユニットと、非活性エネルギー線硬化型インキとしてのエマルジョンインキが充填・装着されたエマルジョンインキ用印刷ドラムを備えたエマルジョンインキ用印刷ドラムユニットとは別々に設定されていて、それぞれが前記着脱手段を介して装置本体50に対して着脱自在に構成されている。この活性エネルギー線硬化型インキ用印刷ドラムユニットおよびエマルジョンインキ用印刷ドラムユニットを装置本体50に対して選択的に着脱可能とさせる着脱手段ないしは着脱機構(図示せず)の具体例としては、例えば実開昭61−85462号公報の第1図ないし第4図に示されている版胴支持装置と同様のものを採用している。その他、例えば特開平5−229243号公報の図2および図3等に示され段落「0021」等に記載されている保持手段(36)、把持フレーム(50)、前フレーム(51)および後フレーム(52)等から構成されているものと同様のものでも構わない。
前記着脱手段近傍の装置本体50には、該着脱手段に装着された活性エネルギー線硬化型インキ用印刷ドラムユニットまたはエマルジョンインキ用印刷ドラムユニットの何れであるかを検知することにより、インキの種類を検知するインキ種類検知手段としての図4のみに示すインキ種類検知センサ213が配設されている。インキ種類検知センサ213の具体例としては、例えば印刷ドラムユニット側に配設された電気コネクタ(例えば雄)と、装置本体50側に配設された電気コネクタ(例えば雌)との結合の組み合わせにより、マイクロコンピュータ周辺回路2を介してその他制御手段7内に配設されている報知制御手段がその違いを電気的に検出し判断するものが採用されている。これは、特許文献2に係る特開2006−281658号公報の図4に示されているドラムユニットインキ種類識別センサ(51)と同様のものである。
活性エネルギー硬化型インキおよびエマルジョンインキのうち何れのインキを使用しているかを検知するインキ種類検知手段は、インキ種類検知センサ213に限らず、以下の原理により検知するものでもよい。すなわち、活性エネルギー硬化インキは、その検知の際のインキ温度の差異に関わらず、エマルジョンインキよりもインキの凝集力、タック値等が高い。そこで、本願出願人が提案した特開平10−44577号公報記載のインキ粘度検出装置を用いてインキ粘度を検出し、活性エネルギー硬化型インキおよびエマルジョンインキのうち何れのインキを使用しているかを検知してもよい。
このインキ種類検知手段は、印刷ドラム21の内周面にインキを供給するインキローラ25とこのインキローラ25に近接して配置されたドクターローラ26との近接部におけるインキローラ25の回転方向下流側のインキ塗布面にインキ層を介して接触すべく配置されたインキ粘度検出ローラ(図示せず)と、このインキ粘度検出ローラを一定のトルクで回転するローラ駆動手段(図示せず)と、このローラ駆動手段をして一定のトルクで回転駆動させる定電流を供給する定電流電源(図示せず)と、インキ粘度検出ローラの回転速度を検出するローラ速度検出手段とを有するインキ粘度検出装置であって、インキ粘度検出ローラの回転速度の変化を検出することによってインキの粘度を検出する。そして、ローラ速度検出手段は、インキ粘度検出ローラに配設されたエンコーダと、該エンコーダに近接して配置され該エンコーダと協働してパルスを発生するパルス発生器とを有し、パルス発生器から発生するパルスの変化に基づいてインキの粘度を検出し、活性エネルギー硬化型インキおよびエマルジョンインキのうち何れのインキを使用しているかを検知するものである。インキの粘度が相対的に高い場合、活性エネルギー硬化インキが使用されていると判断するものである。
次に、印刷ドラム21に対して被印刷媒体としての用紙62を押し付ける際の印圧を変える印圧可変手段について、説明する。本実施形態の印圧可変手段としては、印刷ドラム21に対するプレスローラ23の押圧力である印圧を変化させる印圧可変手段を用いており、本願出願人が提案した特開2004−155170号公報の図3に示されていると同様の印圧可変手段(20)を採用している。
すなわち、上記公報の図3に示されているとおり、印圧可変手段(20)は、装置本体フレーム(50)に図示しない不動部材を介して固着されその出力軸にウォーム(15)が取付けられ正逆転可能な印圧制御モータ(14)と、スプリング(6)の他端が係止されていて、かつ、装置本体フレーム(50)に形成された溝(図示せず)を介して用紙搬送方向(Y4)の前後方向にのみ進退自在に支持されその内周部に雌ネジが形成された可動軸(7)と、可動軸(7)の雌ネジと螺合する雄ネジがその外周部に形成された回転自在な回転軸(10)と、この回転軸(10)に固着されウォーム(15)と常時噛み合うウォームホイール(11)と、回転軸(10)の一端に固着されウォームホイール(11)の回転数を検出するためのエンコーダ(12)と、装置本体フレーム(50)におけるエンコーダ(12)近傍の位置に図示しない不動部材を介して取り付けられエンコーダ(12)を所定の間隔をもって挾み付けるスプリング長さ検知センサ(13)と、可動軸(7)の外周部から外方に向かって突出形成された遮光板(8)と、装置本体フレーム(50)における遮光板(8)近傍の位置に図示しない不動部材を介して取り付けられていて、所定の間隔をもって遮光板(8)を挾み付けてエンコーダ(12)のホームポジション(印圧標準状態を示す位置)を検知するための印圧ホームポジションセンサ(9)とから主に構成される公知のものである。印圧制御モータ(14)は、スプリング(6)の引張り長さの変化、すなわちスプリング(6)の張力を変化することを介して、印刷ドラム(101)に対するプレスローラ(103)の印圧を変化させるための駆動源としての機能を有する。
本実施形態の印圧可変手段としては、上記公報の図3に示されている印圧可変手段(20)に数値500を加えた符号520をもって印圧可変手段(20)と実質的に同様であることを表す(図4に示す印圧可変手段520参照)こととする。
印圧可変手段520は、これに限らず、例えば圧胴の場合を含めて、特開2003−39802号公報の図5および図6に示されている押圧力可変手段(130)を用いてもよい。
図4を参照して、孔版印刷装置の主として製版部1、操作パネル90、印圧可変手段520を制御するための制御構成周りを説明する。同図に示すように、制御部2内のマイクロコンピュータ周辺回路3は、CPU、ROM、RAM、内部タイマ、I/OポートやA/D変換器、各種カウンタ等を備えたマイクロコンピュータ等を具備して構成されている。
マイクロコンピュータ周辺回路3のCPUは、演算および制御機能を有し、それぞれ後述する画像処理部4、サーマルヘッド駆動制御部5、印圧可変制御手段6、その他制御手段7を統括的に制御している。マイクロコンピュータ周辺回路3のROMには、マイクロコンピュータ周辺回路3の上記機能を発揮するための動作プログラムおよび関係データ等が予め記憶されている。マイクロコンピュータ周辺回路3のRAMは、各種センサからのデータやマイクロコンピュータ周辺回路3の演算結果を一時的に記憶する。
また制御部2には、環境温度センサ210から出力される環境温度に係る検知データ信号(環境温度検知情報)から環境温度を検出することが可能な環境温度検出部、サーマルヘッド温度検知センサ212から出力されるサーマルヘッド温度に係る検知データ信号(サーマルヘッド温度検知情報)からサーマルヘッド温度を検出することが可能なサーマルヘッド温度検出部、インキ温度センサ211から出力されるインキ温度に係る検知データ信号(インキ温度検知情報)からインキ温度を検出することが可能なインキ温度検出部が設けられている。
環境温度検出部、サーマルヘッド温度検出部、インキ温度検出部の各種検出部は、A/D変換等を用いて各種温度を検出することが可能に構成されている。
マイクロコンピュータ周辺回路3およびサーマルヘッド駆動制御部5の通電タイミング変更手段および製版方法選択手段は、画像処理部4から順次送信されてくる黒画素のデータ信号に応じて、サーマルヘッド10の各発熱体9の奇数番目に当たる奇数ビット、および各発熱体9の偶数番目に当たる偶数ビットの発熱駆動によってフィルムに形成される穿孔が主走査方向の互いに異なる一列上にそれぞれ形成されるように、かつ、隣接した奇数ビットと偶数ビットとの発熱駆動によってフィルムに形成される各穿孔が主走査方向の同じ一列上に隣り合わないように、サーマルヘッド10の個々の発熱体9を制御する第1の制御手段として機能する。
画像処理部4から順次送信されてくる黒画素や白画素のデータ信号は、サーマルヘッド10の主走査方向の一端部より他端部に向けて順に一列に配列された発熱体9に対応して1対1に予め割り当てられているため、黒画素や白画素のデータ信号に対応してサーマルヘッド10の奇数ビット(奇数番目の発熱体9)と偶数ビット(偶数番目の発熱体9)は一義的に定まることとなる。
サーマルヘッド駆動制御部5の通電タイミング変更手段は、サーマルヘッド10の奇数ビットと偶数ビットとに対する通電タイミングを異ならせる機能を有する。
サーマルヘッド駆動制御部5の印加エネルギー変更手段は、サーマルヘッド10の奇数ビットと偶数ビットとに対して印加する印加エネルギーを異ならせる機能を有する。
印圧可変制御手段6は、コート紙または非コート紙へ印刷する際、コート紙または非コート紙に応じた印圧値に設定するように印圧可変手段520の印圧制御モータ(14)を制御する機能を有する。
その他制御手段7内の報知制御手段は、インキ種類検知213からの信号に基づいて、使用するインキ(活性エネルギー線硬化型インキ/エマルジョンインキ)がコート紙または非コート紙に見合っていない場合に、それを表示・報知するようにタッチパネル98のLCD画面(表示・報知手段)を制御する機能を有する。
なお、図4に示した制御構成はあくまでも本実施形態の一例に過ぎず、例えばマイクロコンピュータ周辺回路3をサーマルヘッド駆動制御部5内に組み込んで一体化したような制御構成でも構わない。
次に、図5(a)、(b)を参照して、本実施形態における孔版印刷装置のサーマルヘッド10でマスタ12のフィルムに溶融穿孔される穿孔パターンに関して説明する。図5(a)は、本実施形態(本発明)の第1の制御手段による特殊製版モード実行時にマスタ12のフィルムに形成される概略的な穿孔パターンであり、図5(b)は、本実施形態(比較例)の第2の制御手段による通常製版モード実行時にマスタ12’のフィルムに形成される概略的な穿孔パターンであり、共にベタ部での状態を抜粋したものである。なお、図5および図11等において、通常製版モードの実行により得られたマスタ12’を、特殊製版モードの実行により得られたマスタ12と区別するため、上記図を引用して説明する場合に限り、符号12’とする。
両穿孔パターンは共に次の仕様のサーマルヘッド10、製版部1の副走査送り解像度および印加エネルギー(穿孔用エネルギー)条件で穿孔・製版されるものである。両モード実行時、マスタは同一の仕様のものを使用し、環境条件の温湿度等も同一である。
サーマルヘッド仕様:600dpi(薄膜式かつ平面型で発熱体が矩形状)
副走査送り解像度(送りピッチ):600dpi
画像パターン(穿孔パターン):ベタ
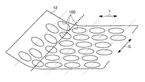
図5(a)において、100は、サーマルヘッド10でマスタ12のフィルムを溶融穿孔した穿孔箇所を示している。同図において、101はサーマルヘッド10の奇数ビットでの発熱体9で溶融穿孔されるラインを、102は、サーマルヘッド10の偶数ビットでの発熱体9で溶融穿孔されるラインを、それぞれ示している。105は、使用するサーマルヘッド10の主走査方向Sの解像度ピッチである。103は、サーマルヘッド10の奇数ビットでの発熱体9で溶融穿孔されるライン101の副走査方向Yのピッチを、104は、サーマルヘッド10の奇数ビットと偶数ビットの発熱体9で溶融穿孔させた場合の副走査方向Yのピッチ差を、それぞれ示している。
図5(a)の穿孔状態に特徴的なこととしては、大きく見ると、穿孔パターンの配置として亀の甲羅のようになっていて、規則正しく配置されていることであり、これは特殊製版モード実行時に特有のものである。図5(a)では、サーマルヘッド10での発熱体9で溶融穿孔された状態として、発熱体9での奇数ビットおよび偶数ビットとの副走査方向Y(マスタ搬送方向Y)のピッチ差104が、サーマルヘッド10の主走査方向Sの解像度ピッチ105の1/2となっている。
次に、図5(b)に示した比較例としての従来の穿孔状態について説明する。図5(b)において、100’,103’,105’は、図5(a)での100,103,105に各々対応している。図5(a)、(b)において、破線で囲んで示す矩形枠の一つ一つは、1画素を示している(以下、同様)。
図5(a)および図5(b)に示す穿孔状態としては、各穿孔100間および各穿孔100’間には離間部が形成されていて、互いに独立穿孔されている。また、図5(a)に示す穿孔状態としては、そのフィルムの互いに隣る穿孔100間の残存幅寸法が熱可塑性樹脂フィルムの厚みよりも広いことが特徴である。ちなみに、使用したマスタ12の熱可塑性樹脂フィルムの厚みが1.8μmのとき、その熱可塑性樹脂フィルムの溶融穿孔した際の残存幅寸法は副走査方向Yで隣り合う一番狭い幅の箇所において、1.8μmよりも広い幅寸法となっている。
次に、図6を参照してサーマルヘッド10の各発熱体9で溶融穿孔させる駆動方法に関して説明する。同図は、サーマルヘッド10における各発熱体9での奇数ビットおよび偶数ビットとの通電タイミングの概略を図示したものである。基本的には、サーマルヘッド駆動制御部5の通電タイミング変更手段によって、奇数ビットと偶数ビットで異なったタイミングで通電させている。上述したように、サーマルヘッド10を駆動させる際には、サーマルヘッドに印字させる際のDATA信号、このDATA信号をサーマルヘッド10内に具備されているドライバICへ転送させるためのCLK信号、ドライバICに転送されたDATA信号をラッチさせるLATCH信号、サーマルヘッド10に通電させるためのSTB信号の4つの信号が基本的に必要となる。
図6では分かりやすくするため、その信号を奇数ビット用のodd、偶数ビット用のevenで切り分けて記載している。同図に特徴的なこととしては、奇数ビットと偶数ビットとの通電タイミングが異なっている点である。実際には、サーマルヘッド10内は数ブロックに分割されて発熱駆動される場合が多く、その際にはブロック毎の制御に拘らず、ブロックに分かれていても奇数ビットおよび偶数ビット別に制御してやること等が考えられ、他には、ブロック内で奇数ビットおよび偶数ビット毎に制御しても構わなく、また、サーマルヘッド10内のドライバIC自身が奇数ビットと偶数ビットに分かれていて実施しても構わない。本発明で重要なこととしては、奇数ビットと偶数ビットが主走査方向S上に一列に並ぶことがないようにすることである。サーマルヘッド10の駆動分割内における穿孔状態としても、発熱体9での奇数ビットおよび偶数ビットとの副走査方向Y(マスタ搬送方向Y)のピッチ差104が、サーマルヘッド10の主走査方向Sの解像度ピッチ105の1/2となることは無論である。
図7を参照して、本実施形態で形成可能な穿孔パターンに関して説明する。同図は、サーマルヘッド10の各発熱体9で溶融穿孔させる駆動方法として、各発熱体9での奇数ビットおよび偶数ビットを駆動させる際の通電エネルギーを異ならせ、すなわち図4に示したサーマルヘッド駆動制御部5の印加エネルギー変更手段によって、偶数ビットの発熱体9に付与する印加エネルギーとしての通電エネルギー(例えば通電パルス幅)を奇数ビットのそれよりも小さくすることで、穿孔状態としても異なっている、つまり偶数ビットによる穿孔106の大きさ(径)を奇数ビットによる穿孔100の大きさ(径)よりも小さく形成したものを図示したものである。このような穿孔状態を得ることによって、細線時の印刷状態が滑らかになる効果が得られる。
なお、印加エネルギー(穿孔エネルギー)の調整・変更は、特許第2756219号公報に記載されているように、画像信号に応じてサーマルヘッド10の個々の発熱素子9に流す電流値もしくは発熱素子9に印加する電圧値の変化により行うようにしてもよいが、本実施形態においては、上記サーマルヘッド駆動回路を介してサーマルヘッド10の各発熱素子9へ供給する通電パルス幅の変化により行うのが一般的である。
次に図8および図9のフローチャートを参照して、図4に示した制御部2のマイクロコンピュータ周辺回路3のCPUの指令の下に実行される本実施形態の動作を説明する。この動作説明では、本発明に関わる箇所のみを説明することにし、それ以外に関しては周知であるため省略する。両図において、活性エネルギー線硬化型インキを、「活性エネルギー硬化インキ」と略記している。
先ず、図8に示すステップS1において、製版動作か印刷動作かを判断する。製版動作を実行する場合、ステップS2に進み、使用する用紙に関して上述で説明したコート紙/非コート紙設定手段(コート紙/非コート紙別製版・印刷モード選択手段)のコート紙設定キー131または非コート紙設定キー132をタッチして設定する。非コート紙設定キー132で非コート紙を設定したときには、ステップS3に進み、インキ種類検知センサ213によってエマルジョンインキ、活性エネルギー硬化インキのどちらのインキを充填・装着している印刷ドラムなのかを検出してインキ種類を判断する。
一方、コート紙設定キー131でコート紙を設定したときには、ステップS7に進み、上記ステップS3と同様に、インキ種類検知センサ213によってエマルジョンインキ、活性エネルギー硬化インキのどちらのインキを充填・装着している印刷ドラムなのかを検出してインキ種類を判断する。
ステップS3およびステップS7において、選択されるモードは3種類あり、以下のように製版設定が分別される。すなわち、
通常製版モード:非コート紙設定、かつ、エマルジョンインキ検知の場合であり、第2の制御手段によって通常製版(従来の製版)方法で穿孔・製版動作が実行されるモードである(ステップS4)。
特殊製版モード:非コート紙設定、かつ、活性エネルギー硬化インキの場合、あるいはコート紙設定、かつ、活性エネルギー硬化インキ検知の場合であって、本発明での穿孔状態、すなわち第1の制御手段によってサーマルヘッド10における各発熱体9の奇数ビットおよび偶数ビットの発熱駆動によって穿孔が主走査方向Sの互いに異なる一列上に形成され、かつ、隣接する奇数ビットと偶数ビットとの発熱駆動によって各穿孔が主走査方向Sの同じ一列上に隣り合わない穿孔パターンとなる穿孔状態が得られるモードである(ステップS8)。
無製版モード:コート紙設定、かつ、エマルジョンインキ検知の場合であり、図3に示したタッチパネル98のLCD画面に、警告表示「この組合せでは、製版できません」という旨の表示・報知がなされると共に、製版動作が停止されるモードである(ステップS9、ステップS10)。これは、エマルジョンインキは浸透乾燥に頼るインキであり、コート紙の場合はインキの浸透が得られない。それ故に、この組合せではインキの定着は得られず、印刷物として使用できなくなるため、製版動作を停止する。ここで、上記3種類のモード設定は、本実施形態(本発明)における初期設定であり変更可能である。また、上記3種類の製版モード設定は、図4に示したサーマルヘッド駆動制御部5の製版方法選択手段によりなされる。
次に、通常製版モードまたは特殊製版モード内容で製版が完了し(ステップS6)、印刷動作に移った際には各モードに見合った印圧の設定がされ、印刷が実施あるいは警告が出される。
すなわち、図9に示す印刷動作を実行する場合、ステップS20に進み、使用する用紙に関してコート紙および非コート紙のうちの何れが設定されたのかが判断される。非コート紙を設定したときには、ステップS21に進み、エマルジョンインキ、活性エネルギー硬化インキのどちらのインキを充填・装着している印刷ドラムなのかを検出してインキ種類を判断する。
一方、コート紙を設定したときには、ステップS25に進み、エマルジョンインキ、活性エネルギー硬化インキのどちらのインキを充填・装着している印刷ドラムなのかを検出してインキ種類を判断する。
ステップS21およびステップS25において、選択されるモードは図8に示した各製版モードに対応して3種類あり、以下のように印刷動作設定が分別される。すなわち、
通常印刷モード:非コート紙設定、かつ、エマルジョンインキ検知の場合の通常製版モードに対応した印刷モードであって、図4に示した印圧可変制御手段6によって印圧可変手段520の印圧制御モータ(14)が制御されることで、エマルジョンインキを使用して印刷を行う際に好適な印圧が設定される(ステップS22)。
特殊印刷モード:非コート紙設定、かつ、活性エネルギー硬化インキの場合、あるいはコート紙設定、かつ、活性エネルギー硬化インキ検知の場合の特殊製版モードに対応した印刷モードであって、図4に示した印圧可変制御手段6によって印圧可変手段520の印圧制御モータ(14)が制御されることで、エマルジョンインキを使用して印刷を行う際に好適な印圧が設定される(ステップS26)。
ここで、エマルジョンインキよりもインキの凝集力、タック値が高い活性エネルギー硬化インキや、平滑度の高いコート紙を使用するとマスタと用紙の密着力が高まり、白スジ状の印刷画像不良となる印刷シワが発生する可能性がある。そこで、印圧設定は、通常印刷モードのときに比ベて特殊製版モードの印圧を低く設定してある。このとき、大きく用紙を区別して非コート紙、コート紙別でも構わないが、非コート紙、コート紙のさらなる区分けで細かく印圧設定しても構わない。
無印刷モード:コート紙設定、かつ、エマルジョンインキ検知の場合の無製版モードに対応した印刷モードであって、図3に示したタッチパネル98のLCD画面に、警告表示「この組合せでは、印刷できません」という旨の表示・報知がなされると共に、印刷動作が停止されるモードである(ステップS27、ステップS28)。これは、エマルジョンインキは浸透乾燥に頼るインキであり、コート紙の場合はインキの浸透が得られない。それ故に、この組合せではインキの定着は得られず、印刷物として使用できなくなるため、印刷動作を停止する。上記3種類の印刷モード設定は、図4に示したサーマルヘッド駆動制御部5の製版方法選択手段によりなされる。
次に、図10を参照して、第1の制御手段による特殊製版モードで、第2の制御手段による従来の通常製版モードでそれぞれ実行した製版・印刷に関する実施例1について説明する。本実施例では、従来の通常製版モードの実行により得られた穿孔状態(穿孔パターン)およびコ一ト紙に印刷した場合の印刷状態と、本実施形態(本発明)の特殊製版モードの実行により得られた穿孔状態およびコート紙に印刷した場合の印刷状態とを比較し、活性エネルギー線硬化性インキとコート紙との組合せで印刷中に発生する使用済みのマスタの浮きによる印刷シワに関して述べる。
図10に示す写真は、33×33mmのベタ画像を穿孔製版させた際の穿孔状態(穿孔パターン)と、コ一ト紙に印刷した場合の印刷状態とを示している。同図の左側に示す写真は、従来の通常製版モードでコート紙と活性エネルギー線硬化型インキとの組合せで得られた穿孔状態(穿孔パターン)およびコート紙に印刷した印刷物であって、図1に示した活性エネルギー線硬化定着装置201を使用し、完全定着させた印刷物を示している。一方、同図の右側に示す写真は、本実施形態(本発明)の特殊製版モードでコート紙と活性エネルギー線硬化型インキとの組合せで得られた穿孔状態(穿孔パターン)およびコート紙に印刷した印刷物であって、同じく活性エネルギー線硬化定着装置201を使用し、完全定着させた印刷物を示している。活性エネルギー線硬化定着装置201は、具体的には紫外線照射定着装置を用いている。
上記製版・印刷を実施した共通の製版・印刷条件の概要を以下に示す。両者とも、図4に示した印圧可変制御手段6による印圧可変制御は実施せず、同一の印圧で実施した。
環境条件:温度23℃、湿度41%RH
製版解像度:サーマルヘッドの主走査方向の解像度…600dpi、マスタの副走査方向の解像度ピッチ(送りピッチ)…600dpi
画像パターン(穿孔パターン):ベタ
使用マスタ:株式会社リコー製の「TypeIマスタ」…特開平10−147075号公報に記載されている熱可塑性樹脂フィルムと少なくとも一層の多孔性樹脂膜と多孔性支持体とを有するマスタである。
使用インキ:今回実験用に試作した孔版印刷用活性エネルギー線硬化型インキであって、紫外線硬化型インキを用いた。
印刷用紙:三菱製紙製パールコート紙68k
孔版印刷装置:株式会社リコー製の「サテリオA650改造品」
上記条件下にて印刷した図10の左側は、従来の通常製版モードで上記コート紙と上記活性エネルギー線硬化型インキとの組合せで得られた穿孔状態の製版済みのマスタを用いて上記コート紙に印刷した印刷物であって、活性エネルギー線硬化定着装置201を使用し、完全定着させた印刷物であるため、問題となるベタ画像でベタの横方向に白スジ状の画像不良が発生してしまっているのに対して、図10の右側は、本実施形態(本発明)の特殊製版モードで上記コート紙と上記活性エネルギー線硬化型インキとの組合せで得られた穿孔状態の製版済みのマスタを用いて上記コート紙に印刷した印刷物であって、同じく活性エネルギー線硬化定着装置201を使用し、完全定着させた印刷物であるため、ベタ画像において問題の無い画像が得られていることが分かる。
白スジ状の画像不良となる印刷シワが発生する理由としては、第1にコート紙は非コート紙に比べ平滑度が高いため用紙とマスタの密着力が高いこと、第2に活性エネルギー線硬化性インキは一般的に上述のエマルジョンインキよりもインキの凝集力、タック値が高いため用紙とマスタの密着力が高くなることが挙げられる。そのため印刷している際にベタ部が徐々に製版済みのマスタの搬送後方側、すなわち印刷画像の排出後方側へ引っ張られて最初は製版済みのマスタの浮きによる曲げが発生し、徐々に製版済みのマスタが伸びてたるみ、ひだ状になってマスタの浮きによる印刷シワ(白スジ状の画像)が発生してしまう現象が実験によって確認された。このような印刷シワは孔版印刷装置では重大な問題であり、また許されない不具合でもある。
しかしながら、本実施形態(本発明)でのサーマルヘッドの各発熱体で溶融穿孔させる穿孔パターンとしては、サーマルヘッドの各発熱体の奇数ビットおよび偶数ビットの発熱駆動によってフィルムに形成される穿孔が主走査方向の互いに異なる一列上にそれぞれ形成され、かつ、隣接した奇数ビットと偶数ビットとの発熱駆動によってフィルムに形成される各穿孔が主走査方向の同じ一列上に隣り合わないことを特徴としている。従って、図11に示すように従来の通常製版モードによって得られた製版済みのマスタ12’と比較して、図12に示すように本実施形態(本発明)の特殊製版モードによって得られた製版済みのマスタ12では、穿孔100形成部を除くフィルム残存部面積(非製版画像部の面積)が主走査方向Sで広くとれるため主走査方向Sへの曲げ、折れ等には剛性的に強くなっており、また太い破線で示すラインで考えると、穿孔されている数が少なくなり、前述したように用紙とマスタの密着力も弱まり、結果的にベタ部での印刷シワに対して発生防止効果が得られる。
以上説明したように、本実施形態(本発明)では、孔版印刷装置で使用するインキがエマルジョンインキもしくは孔版印刷用の活性エネルギー線硬化型インキの場合であっても、さらには非コート紙(上質紙等)もしくはコート紙の場合であっても、マスタによる印刷シワおよびマスタ寄りが発生せず、最適な印刷画像品質が得られる孔版印刷装置を実現し提供することが可能となる。また、上述した効果の欄に記載した効果を本実施形態でも奏するものである。
次に、上記実施形態の変形例を説明する。従来の通常製版方法であると、ベタ等の製版時には発熱体の隣接ビットも同時に発熱駆動されるのに対して、本実施形態(本発明)の特殊製版方法だと発熱体の隣接ビットはタイミングをずらしているので同時には発熱駆動されない。従って、サーマルヘッドヘ同一の印加エネルギーを印加させた場合には、従来の通常製版方法だと隣接ビットでの発熱の影響を受け、そのマスタの穿孔状態としては大きく穿孔されてしまう。これに対して、上記実施形態の特殊製版方法だとそれに対して小さめな穿孔状態となってしまう。そこで、このままであると、特にはインキの拡がりが殆ど無いコート紙等への印刷時にはベタが埋まらない現象や、印刷画像濃度低下等を招いてしまう。このような事情に鑑みて本変形例を創作し、それを補うこととした。
すなわち、本変形例では、第1の制御手段による特殊製版モードと第2の制御手段による通常製版モードとの双方が実行可能であり、第2の制御手段によりサーマルヘッド10の各発熱体9へ印加される印加エネルギーをEaとし、第1の制御手段によりサーマルヘッド10の各発熱体9へ印加される印加エネルギーをEbとした場合、Ea≦Ebの関係を満足するものである。この変形例によれば、上述した効果の欄に記載した効果を本変形例でも奏することは無論である。
上述した「被印刷媒体」とは、狭義にはコート紙の他に、上質紙、普通紙やハガキ等を包含する非コート紙を含むことは無論のこと、広義には樹脂製のフィルムシートや、金属製のシート、ガラス製のシートなども含まれる。
以上述べたとおり、本発明を特定の実施形態等について説明したが、本発明が開示する技術的範囲は、上述した実施形態等に例示されているものに限定されるものではなく、それらを適宜組み合わせて構成してもよく、本発明の範囲内において、その必要性および用途等に応じて種々の実施形態や変形例あるいは実施例を構成し得ることは当業者ならば明らかである。
本発明の一実施形態を示す孔版印刷装置の模式的な正面図である。 図1の孔版印刷装置本体の全体構成を示す正面図である。 図2の孔版印刷装置本体に用いられる操作パネルの平面図である。 図1および図2に示した孔版印刷装置の要部の制御構成を示すブロック図である。 (a)は、本実施形態(本発明)の特殊製版モードによって得られた製版済みのマスタの穿孔状態を説明する平面図、(b)は、従来の通常製版モードによって得られた製版済みのマスタの穿孔状態を説明する平面図である。 本実施形態のサーマルヘッドに送信される各信号のタイミングチャートである。 本実施形態の特殊製版モードによって形成可能な穿孔パターンに関して、通電エネルギーを異ならせた場合に得られた製版済みのマスタの穿孔状態を説明する平面図である。 本実施形態の製版動作を表すフローチャートである。 図8に続く本実施形態の印刷動作を表すフローチャートである。 実施例1を示す写真であって、図において左側に示すものは、従来の通常製版モードによって得られたマスタの穿孔状態およびこれを用いてコート紙に印刷したときの印刷状態を、右側に示すものは、本実施形態(本発明)の特殊製版モードによって得られたマスタの穿孔状態およびこれを用いてコート紙に印刷したときの印刷状態を、それぞれ示す写真である。 従来の通常製版モードによって得られた製版済みのマスタを曲げたときの、主走査方向の互いに隣る穿孔間の残存幅(非画像部)の面積を説明する図である。 本実施形態(本発明)の特殊製版モードによって得られた製版済みのマスタの穿孔状態を曲げたときの、主走査方向の互いに隣る穿孔間の残存幅(非画像部)の面積を説明する図である。
符号の説明
1 製版部(製版装置)
2 制御部
3 マイクロコンピュータ周辺回路(第1、第2の制御手段を構成)
4 画像処理部
5 サーマルヘッド駆動制御部(第1、第2の制御手段を構成)
6 印圧可変制御手段
7 その他制御手段(報知制御手段)
9 発熱体(発熱素子)
10 サーマルヘッド(製版手段)
11 マスタ送りモータ
12 マスタ
14 プラテンローラ
21 印刷ドラム
23 プレスローラ(押圧手段)
62 用紙(被印刷媒体、シート状記録媒体)
90 操作パネル
98 タッチパネル
100、100’、106 マスタのフィルムに形成された穿孔
101 サーマルヘッドの奇数ビットで穿孔されるライン
102 サーマルヘッドの偶数ビットで穿孔されるライン
103 サーマルヘッドの奇数ビットで穿孔されるラインの副走査方向ピッチ
104 サーマルヘッドの奇数ビットと偶数ビットで穿孔させた場合の副走査方向のピッチ差
105 サーマルヘッドの主走査方向の解像度ピッチ
131 コート紙設定キー(コート紙/非コート紙設定手段)
132 非コート紙設定キー(コート紙/非コート紙設定手段)
200 孔版印刷装置
201 活性エネルギー線硬化定着装置
202 給紙部
203 給紙台
204 排紙台
213 インキ種類検知センサ(インキ種類検知手段)
S 主走査方向
Y 副走査方向・マスタ搬送方向

Claims (8)

  1. 熱可塑性樹脂フィルムを有するマスタの該熱可塑性樹脂フィルム側に、主走査方向に配列された多数の発熱体を備えたサーマルヘッドを直接的に接触させると共に、上記主走査方向と直交する副走査方向にマスタを相対的に移動させつつ画像信号に応じた上記各発熱体の位置選択的な発熱駆動により上記熱可塑性樹脂フィルムを溶融穿孔させて上記画像信号に応じた穿孔パターンを得、この穿孔パターンが形成された製版済みのマスタを印刷ドラムの外周面に巻装し、上記印刷ドラムの内周側からインキを供給し、上記穿孔パターンを介して滲み出たインキにより上記画像信号に応じたインキ画像を被印刷媒体上に形成し、上記インキとして活性エネルギー線硬化型インキを使用することにより完全定着が可能な孔版印刷装置において、
    上記各発熱体の奇数番目に当たる奇数ビット、および該各発熱体の偶数番目に当たる偶数ビットの発熱駆動によって上記熱可塑性樹脂フィルムに形成される穿孔が上記主走査方向の互いに異なる一列上にそれぞれ形成されるように、かつ、隣接した上記奇数ビットと上記偶数ビットとの発熱駆動によって上記熱可塑性樹脂フィルムに形成される各穿孔が上記主走査方向の同じ一列上に隣り合わないように、上記サーマルヘッドを制御する第1の制御手段と、
    上記各発熱体の発熱駆動によって上記熱可塑性樹脂フィルムに形成される穿孔が上記主走査方向の同じ一列上に形成されるように上記サーマルヘッドを制御する第2の制御手段と、
    上記被印刷媒体として、コート紙および非コート紙にそれぞれ対応した製版および印刷動作を実行する製版・印刷モードを選択設定することが可能なコート紙/非コート紙別製版・印刷モード選択設定手段と、
    を有し、
    第1の制御手段による特殊製版と第2の制御手段による通常製版との双方が実行可能であり、
    上記コート紙/非コート紙別製版・印刷モード選択設定手段により、少なくともコート紙製版・印刷モードが選択された場合には、第1の制御手段による特殊製版を行うことを特徴とする孔版印刷装置。
  2. 請求項1記載の孔版印刷装置において、
    上記奇数ビットと上記偶数ビットとに対する通電タイミングを異ならせる通電タイミング変更手段を有することを特徴とする孔版印刷装置。
  3. 請求項1または2記載の孔版印刷装置において、
    上記サーマルヘッドによる上記熱可塑性樹脂フィルムへの穿孔状態として、該熱可塑性樹脂フィルムの互いに隣る穿孔間の残存幅寸法が、該熱可塑性樹脂フィルムの厚みよりも広いことを特徴とする孔版印刷装置。
  4. 請求項1ないし3の何れか一つに記載の孔版印刷装置において、
    上記奇数ビットと上記偶数ビットとに対して印加する印加エネルギーを異ならせる印加エネルギー変更手段を有することを特徴とする孔版印刷装置。
  5. 請求項1ないし4の何れか一つに記載の孔版印刷装置において、
    上記サーマルヘッドは、複数に分割されて発熱駆動されるように構成されており、
    上記奇数ビットによる上記熱可塑性樹脂フィルムへの穿孔と上記偶数ビットによる上記熱可塑性樹脂フィルムへの穿孔とにおける上記副走査方向のピッチ差が、上記サーマルヘッドの駆動分割内で該サーマルヘッドの解像度の1/2であることを特徴とする孔版印刷装置。
  6. 請求項1記載の孔版印刷装置において、
    上記活性エネルギー線硬化型インキの他に、上記非コート紙対応のエマルションインキを使用することも可能なことを特徴とする孔版印刷装置。
  7. 請求項記載の孔版印刷装置において、
    インキの種類を検知するインキ種類検知手段と、
    使用するインキが上記コート紙または上記非コート紙に見合っていない場合に、それを報知する報知手段と、
    上記インキ種類検知手段からの信号に基づいて、使用するインキが上記コート紙または上記非コート紙に見合っていない場合に、それを報知するように上記報知手段を制御する報知制御手段と、
    を有することを特徴とする孔版印刷装置。
  8. 請求項6または7記載の孔版印刷装置において、
    上記印刷ドラムに対して上記被印刷媒体を押し付ける際の印圧を変える印圧可変手段と、
    上記コート紙または上記非コート紙へ印刷する際、該コート紙または該非コート紙に応じた印圧値に設定するように上記印圧可変手段を制御する印圧可変制御手段と、
    を有することを特徴とする孔版印刷装置。
JP2007149677A 2007-06-05 2007-06-05 孔版印刷装置 Expired - Fee Related JP5076144B2 (ja)

Priority Applications (3)

Application Number Priority Date Filing Date Title
JP2007149677A JP5076144B2 (ja) 2007-06-05 2007-06-05 孔版印刷装置
US12/026,047 US7878117B2 (en) 2007-06-05 2008-02-05 Stencil printing apparatus having controlled thermal head for perforating stencil
GB0802425.9A GB2449956B (en) 2007-06-05 2008-02-08 Stencil printing apparatus

Applications Claiming Priority (1)

Application Number Priority Date Filing Date Title
JP2007149677A JP5076144B2 (ja) 2007-06-05 2007-06-05 孔版印刷装置

Publications (2)

Publication Number Publication Date
JP2008302523A JP2008302523A (ja) 2008-12-18
JP5076144B2 true JP5076144B2 (ja) 2012-11-21

Family

ID=39247396

Family Applications (1)

Application Number Title Priority Date Filing Date
JP2007149677A Expired - Fee Related JP5076144B2 (ja) 2007-06-05 2007-06-05 孔版印刷装置

Country Status (3)

Country Link
US (1) US7878117B2 (ja)
JP (1) JP5076144B2 (ja)
GB (1) GB2449956B (ja)

Cited By (1)

* Cited by examiner, † Cited by third party
Publication number Priority date Publication date Assignee Title
US8809457B2 (en) 2011-09-30 2014-08-19 Tokyo Ohka Kogyo Co., Ltd. Adhesive composition, adhesive film, and method for treating substrate

Families Citing this family (5)

* Cited by examiner, † Cited by third party
Publication number Priority date Publication date Assignee Title
US8203747B2 (en) * 2008-03-20 2012-06-19 Sharp Laboratories Of America, Inc. Methods and systems for time-efficient print-data rendering
JP5381651B2 (ja) * 2009-11-27 2014-01-08 ブラザー工業株式会社 液体吐出装置
JP5737884B2 (ja) * 2010-08-24 2015-06-17 キヤノン株式会社 印刷装置およびその制御方法
JP2013154944A (ja) * 2012-01-31 2013-08-15 Seiko Instruments Inc 粘着力発現ユニット、粘着ラベル発行装置、及びプリンタ
JP7643234B2 (ja) 2021-07-28 2025-03-11 株式会社リコー 液体吐出ヘッド角度調整機構、液体吐出モジュール及び液体吐出装置

Family Cites Families (17)

* Cited by examiner, † Cited by third party
Publication number Priority date Publication date Assignee Title
JPS54148417A (en) * 1978-05-15 1979-11-20 Ricoh Co Ltd Recording head
AU567487B2 (en) * 1982-01-25 1987-11-26 Sony Corporation Thermal printer
US4779102A (en) * 1985-12-05 1988-10-18 Ricoh Company, Ltd. Head drive system for a thermal printer
JPH05338243A (ja) * 1992-06-06 1993-12-21 Yupiteru Ind Co Ltd 記録方法及び記録装置
GB2287224B (en) * 1994-03-02 1997-08-13 Tohoku Ricoh Co Limited Control device for a thermosensitive stencil printer
JPH08309954A (ja) * 1995-05-24 1996-11-26 Asahi Chem Ind Co Ltd 感熱孔版製版方法
JPH10147075A (ja) * 1996-11-15 1998-06-02 Tohoku Ricoh Co Ltd 感熱孔版印刷用マスター及びその製造方法
JP4009026B2 (ja) * 1998-06-30 2007-11-14 東北リコー株式会社 感熱製版装置
JP4392077B2 (ja) * 1999-05-21 2009-12-24 東北リコー株式会社 製版装置
JP2001062985A (ja) * 1999-08-31 2001-03-13 Riso Kagaku Corp 製版用サーマルヘッドの制御方法および製版装置
JP2001287333A (ja) * 2000-04-07 2001-10-16 Tohoku Ricoh Co Ltd 感熱製版装置及び感熱製版印刷装置
JP4547069B2 (ja) * 2000-05-24 2010-09-22 東北リコー株式会社 印刷装置
JP2004136672A (ja) 2002-09-27 2004-05-13 Riso Kagaku Corp 光硬化型インクの定着装置、定着方法、及び印刷装置
US20060075914A1 (en) * 2002-09-27 2006-04-13 Masakazu Kawano Light-curing ink fixing device, fixing method, and printer
JP4464621B2 (ja) * 2003-04-07 2010-05-19 理想科学工業株式会社 孔版印刷装置及び印刷方法
JP4584753B2 (ja) * 2005-04-01 2010-11-24 東北リコー株式会社 印刷装置および紫外線照射装置
JP4652128B2 (ja) * 2005-05-26 2011-03-16 東北リコー株式会社 印刷装置

Cited By (1)

* Cited by examiner, † Cited by third party
Publication number Priority date Publication date Assignee Title
US8809457B2 (en) 2011-09-30 2014-08-19 Tokyo Ohka Kogyo Co., Ltd. Adhesive composition, adhesive film, and method for treating substrate

Also Published As

Publication number Publication date
GB2449956B (en) 2012-01-11
GB2449956A (en) 2008-12-10
GB0802425D0 (en) 2008-03-19
US7878117B2 (en) 2011-02-01
JP2008302523A (ja) 2008-12-18
US20080302259A1 (en) 2008-12-11

Similar Documents

Publication Publication Date Title
JP2003200645A (ja) 両面印刷装置
JP5076144B2 (ja) 孔版印刷装置
JP4478382B2 (ja) 印刷装置
JP2007331159A (ja) 印刷装置
JP5034048B2 (ja) 孔版印刷装置
JP2008307829A (ja) 孔版印刷装置
JP2009126061A (ja) 孔版印刷装置
JP2009056654A (ja) 孔版印刷装置
JP2006341556A (ja) 孔版製版装置および孔版印刷装置
JP4712963B2 (ja) 製版装置および製版印刷装置
JPH07241974A (ja) 感熱孔版印刷装置
JP4824188B2 (ja) 製版印刷装置
JP5181166B2 (ja) 感熱孔版印刷装置
JP4430345B2 (ja) 製版装置および製版印刷装置
JPS62264953A (ja) 感熱穿孔印刷法
JP4813828B2 (ja) 両面印刷装置
JP2007296788A (ja) 孔版印刷装置
JP4774277B2 (ja) 孔版印刷装置
JP3913529B2 (ja) 多色印刷装置
JP4727213B2 (ja) 感熱孔版印刷装置
JP2000263827A (ja) 画像形成装置
JP2005254568A (ja) 印刷装置
CN100506531C (zh) 孔版印刷方法
JP2009143076A (ja) 孔版印刷装置
JPH09286157A (ja) 孔版印刷装置

Legal Events

Date Code Title Description
A621 Written request for application examination

Free format text: JAPANESE INTERMEDIATE CODE: A621

Effective date: 20100421

A131 Notification of reasons for refusal

Free format text: JAPANESE INTERMEDIATE CODE: A131

Effective date: 20120131

A521 Request for written amendment filed

Free format text: JAPANESE INTERMEDIATE CODE: A523

Effective date: 20120330

A131 Notification of reasons for refusal

Free format text: JAPANESE INTERMEDIATE CODE: A131

Effective date: 20120501

A521 Request for written amendment filed

Free format text: JAPANESE INTERMEDIATE CODE: A523

Effective date: 20120627

TRDD Decision of grant or rejection written
A01 Written decision to grant a patent or to grant a registration (utility model)

Free format text: JAPANESE INTERMEDIATE CODE: A01

Effective date: 20120731

A01 Written decision to grant a patent or to grant a registration (utility model)

Free format text: JAPANESE INTERMEDIATE CODE: A01

A61 First payment of annual fees (during grant procedure)

Free format text: JAPANESE INTERMEDIATE CODE: A61

Effective date: 20120802

FPAY Renewal fee payment (event date is renewal date of database)

Free format text: PAYMENT UNTIL: 20150907

Year of fee payment: 3

R150 Certificate of patent or registration of utility model

Free format text: JAPANESE INTERMEDIATE CODE: R150

S111 Request for change of ownership or part of ownership

Free format text: JAPANESE INTERMEDIATE CODE: R313113

Free format text: JAPANESE INTERMEDIATE CODE: R313111

R350 Written notification of registration of transfer

Free format text: JAPANESE INTERMEDIATE CODE: R350

LAPS Cancellation because of no payment of annual fees