JP5028126B2 - 誘電体基板の製造方法 - Google Patents

誘電体基板の製造方法 Download PDF

Info

Publication number
JP5028126B2
JP5028126B2 JP2007092829A JP2007092829A JP5028126B2 JP 5028126 B2 JP5028126 B2 JP 5028126B2 JP 2007092829 A JP2007092829 A JP 2007092829A JP 2007092829 A JP2007092829 A JP 2007092829A JP 5028126 B2 JP5028126 B2 JP 5028126B2
Authority
JP
Japan
Prior art keywords
dielectric substrate
conductive film
hole
conductor
via hole
Prior art date
Legal status (The legal status is an assumption and is not a legal conclusion. Google has not performed a legal analysis and makes no representation as to the accuracy of the status listed.)
Expired - Fee Related
Application number
JP2007092829A
Other languages
English (en)
Other versions
JP2008251935A (ja
Inventor
隆啓 杉山
清 川口
Current Assignee (The listed assignees may be inaccurate. Google has not performed a legal analysis and makes no representation or warranty as to the accuracy of the list.)
New Japan Radio Co Ltd
Original Assignee
New Japan Radio Co Ltd
Priority date (The priority date is an assumption and is not a legal conclusion. Google has not performed a legal analysis and makes no representation as to the accuracy of the date listed.)
Filing date
Publication date
Application filed by New Japan Radio Co Ltd filed Critical New Japan Radio Co Ltd
Priority to JP2007092829A priority Critical patent/JP5028126B2/ja
Publication of JP2008251935A publication Critical patent/JP2008251935A/ja
Application granted granted Critical
Publication of JP5028126B2 publication Critical patent/JP5028126B2/ja
Expired - Fee Related legal-status Critical Current
Anticipated expiration legal-status Critical

Links

Images

Landscapes

  • Printing Elements For Providing Electric Connections Between Printed Circuits (AREA)

Description

本発明は、高周波回路基板等として使用される誘電体基板の製造方法に関し、特に、ビアホールを備えた誘電体基板の製造方法に関する。
誘電体基板に導電体を充填したビアホールを形成する従来例を図3に示す。図3に示すように誘電体基板21の所定の位置にスルーホール22を形成する(図3a)。その後、スルーホール22内に導電体23を充填(例えばガラスメタル系導電性材料をスクリーン印刷法により充填)し、熱硬化させる(図3b)。このときスルーホール22の側壁と導電体23との間には、導電体23と誘電体基板21の膨張率の違いによって、隙間が生じてしまう。そこで、その隙間を電界メッキ法あるいは無電解メッキ法によるメッキ膜からなる導電層24で充填する(図3c)。その結果、スルーホール内は、導電体23及び導電層24によって密閉され、誘電体基板の表面と裏面の気密性が確保される。その後、必要に応じて、誘電体基板の表面を研磨し、所望の厚さの誘電体基板を形成することができる。(特許文献1参照)。
またその他の方法として、スルーホールの内周面に導電被膜を形成し、少なくともスルーホールの直径よりも大きく、表面にハンダを被膜した球状導電体をスルーホールに圧入した後、ハンダの融点まで加熱し、溶融したハンダによってスルーホール内の導電被膜と球状導電体の間の空隙を充填する方法も提案されている(特許文献2参照)。
特開2001−332650号公報 特開2006−179519号公報
上記のような従来のビアホールの製造方法では、一般に、誘電体基板にスルーホールを形成する際、レーザ光の照射、ブラスト法、ドリル等を用いて加工するため、スルーホールの側壁は平坦となる。このように平坦な側壁では、隙間を埋めるために形成するメッキ膜との接着性が非常に弱い。また平坦な側壁に接着性の良い導電被膜を形成した場合でも、導電体を圧入する際、導電被膜の一部が剥離してしまい、接着性が弱くなってしまう場合があった。さらにまた導電被膜とハンダとの接着性は必ずしも十分でなかった。このように、誘電体基板と導電体との接着強度が低く、その後の工程で誘電体基板の表面を研磨する際、ビアホール内に充填した導電体や導電被膜等が脱落、剥離するなどの問題点があった。
本発明は上記問題を解消し、ビアホール内でその側壁と導電体との密着性が良く、誘電体基板の一方の面と他方の面の気密性を保つことができる誘電体基板の形成方法を提供することを目的とする。
上記目的を達成するため本願請求項1に係る発明は、ビアホールを有する誘電体基板の製造方法において、誘電体基板にスルーホールを形成する工程と、該スルーホールの側壁および前記誘電体基板の表面に該誘電体基板に接着性の良い第1の導電膜を形成する工程と、該第1の導電膜で側壁が被覆された前記スルーホール内に導電体を充填する工程と、前記誘電体基板の一方の面上の前記第1の導電膜を除去した後、前記スルーホール内の前記第1の導電膜と前記導電体との隙間に、該第1の導電膜を電極として用いた電界メッキ法により該第1の導電膜と前記導電体のいずれとも接着性の良い第2の導電膜を形成し、前記スルーホール内を前記第1の導電膜、前記導電体及び前記第2の導電膜によって充填された前記ビアホールを形成する工程と、該ビアホールを形成後、少なくとも前記誘電体基板の他方の面上に残る前記第1の導電膜を除去する工程とを含むことを特徴とする。
本発明の誘電体基板の製造方法によれば、誘電体基板のビアホール側壁とその中に充填した導電体との隙間全体に第1及び第2の導電膜を充填している。この二重の導電膜により、誘電体基板と第1の導電膜の接着性を高め、さらに、第1の導電膜と第2の導電膜及び導電体間の接着性を高めることができる。その結果、ビアホール内に充填した導電体の脱落、剥離等がなくなり、また十分な気密性を確保した誘電体基板を提供することができる。
本発明より形成されたビアホールを備えた誘電体基板は、ビアホールの熱伝導性が優れており、サーマルビアとして好適となる。また導電性に優れているため、接地用ビアとして好適となり、高周波回路基板として用いた場合、特性の優れた高周波回路を提供することが可能となるという利点がある。
以下、本発明の誘電体基板の製造方法について、図1、図2を用いて実施例について詳細に説明する。
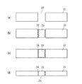
図1は、本発明の第1の実施例の説明図である。まず、誘電体基板11の所定の位置に、例えばレーザ光の照射、ブラスト法、ドリル等を用いる等の通常の方法により、誘電体基板11を貫通するスルーホール12を形成する(図1a)。
次に、誘電体基板11の表面及びスルーホール12の側壁を被覆するように、蒸着法またはスパッタリング法により、チタン、白金、金などの導電物質からなる第1の導電膜13を形成する(図1b)。ここで第1の導電膜13は、誘電体基板11と接着性の良い導電物質を選択する。
その後、スルーホール12内にスクリーン印刷等により、銀、銀−パラジウム金属を含有したガラスメタル系導電性材料等の導電体14を充填する。充填した導電体14は、400〜850℃の温度で焼成し、硬化させる。この焼結によって図1(c)に示すように、第1の導電膜13と導電体14の間には、隙間が生じる。
次に、誘電体基板11の一方の面上の第1の導電膜13をイオンミリング装置等により除去する(図1d)。ここで、誘電体基板11の他方の面上の第1の導電膜13は残しておく。
その後、電界メッキ法により銅、金等のメッキを施し、第1の導電膜13と導電体14の間に第2の導電膜15を形成する。このとき、誘電体基板11の他方の面上に残した第1の導電膜13は、電界メッキ法の電極として用いられる。またメッキされる金属は、第1の導電膜13と導電体14のいずれとも接着性のよい金属を選択する。電界メッキ法によるため、スルーホール12内の誘電体基板11の厚さ方向の隙間全体にメッキ金属が析出し、第1の導電膜13と導電体14の間を隙間なく充填する(図1e)。この第2の導電膜15の充填により、スルーホール12の側壁と誘電体14が十分に接着するとともに、誘電体基板11の一方の面と他方の面の気密性が保たれることになる。
最後に、誘電体基板11の表面を研磨し、表面に残る第1の導電体13、導電体14、第2の導電膜15の一部を除去し、誘電体基板11の表面を露出させ、ビアホール16を備えた誘電体基板11が完成する。必要に応じて、誘電体基板11の表面を研磨し、所望の厚さの誘電体基板11を完成することもできる(図1f)。
次に第2の実施例について説明する。図2は、本発明の第2の実施例の説明図である。まず第1の実施例同様、誘電体基板11の所定の位置に、例えばレーザ光の照射、ブラスト法、ドリル等を用いる等の通常の方法により、誘電体基板11を貫通するスルーホール12を形成する(図2a)。
次に、誘電体基板11の表面及びスルーホール12の側壁を被覆するように、蒸着法またはスパッタリング法により、チタン、白金、金などの導電物質からなる第1の導電膜13を形成する(図2b)。ここで第1の導電膜13は、誘電体基板11と接着性の良い導電物質を選択する。
次に、スルーホール2に充填する導電体として、ハンダボール17をスルーホール12の上に配置する(図2c)。
その後、ハンダボール17の融点以上に加熱し、溶融したハンダボール17をスルーホール12の中に充填する。ハンダボール17は、その表面張力により、図2(d)に示すようにスルーホール12内に充填される。ここで、ハンダボール17の充填は、圧入等の方法によらないため、第1の導電膜13はスルーホール12の側壁に被覆形成された接着力を保ったままとなる。
次に、第1の実施例同様、誘電体基板11の一方の面上の第1の導電膜13をイオンミリング装置等により除去する(図2e)。ここで、誘電体基板11の他方の面上の第1の導電膜13は残しておく。
その後、電界メッキ法により銅、金等のメッキを施し、第1の導電膜13とハンダボール17の間に第2の導電膜15を形成する。このとき、誘電体基板11の他方の面上に残る第1の導電膜13は、電界メッキ法の電極として用いられる。またメッキされる金属は、第1の導電膜13とハンダボール17のいずれとも接着性のよい金属を選択する。電界メッキ法によるため、スルーホール12内の誘電体基板11の厚さ方向の隙間全体にメッキ金属が析出し、第1の導電膜13とハンダボール17の間を隙間なく充填する(図2f)。この第2の導電膜15の充填により、スルーホール12の側壁とハンダボール17が十分に接着するとともに、誘電体基板11の一方の面と他方の面の気密性が保たれることになる。
最後に、誘電体基板11の表面を研磨し、第1の導電体13、ハンダボール17、第2の導電膜15の一部を除去し、誘電体基板11の表面を露出させ、ビアホール16を備えた誘電体基板11を完成する。必要に応じて、誘電体基板11の表面を研磨し、所望の厚さの誘電体基板11が完成することもできる(図2g)。
本発明の第1の実施例の説明図である。 本発明の第2の実施例の説明図である。 誘電体基板に導電体を充填したビアホールを形成する従来例の説明図である。
符号の説明
11;誘電体基板
12;スルーホール
13;第1の導電膜
14;導電体
15;第2の導電膜
16;ビアホール
17;ハンダボール
21;誘電体基板
22;スルーホール
23;導電体
24;導電膜

Claims (1)

  1. ビアホールを有する誘電体基板の製造方法において、
    誘電体基板にスルーホールを形成する工程と、
    該スルーホールの側壁および前記誘電体基板の表面に該誘電体基板に接着性の良い第1の導電膜を形成する工程と、
    該第1の導電膜で側壁が被覆された前記スルーホール内に導電体を充填する工程と、
    前記誘電体基板の一方の面上の前記第1の導電膜を除去した後、前記スルーホール内の前記第1の導電膜と前記導電体との隙間に、該第1の導電膜を電極として用いた電界メッキ法により該第1の導電膜と前記導電体のいずれとも接着性の良い第2の導電膜を形成し、前記スルーホール内を前記第1の導電膜、前記導電体及び前記第2の導電膜によって充填された前記ビアホールを形成する工程と、
    該ビアホールを形成後、少なくとも前記誘電体基板の他方の面上に残る前記第1の導電膜を除去する工程とを含むことを特徴とする誘電体基板の製造方法。
JP2007092829A 2007-03-30 2007-03-30 誘電体基板の製造方法 Expired - Fee Related JP5028126B2 (ja)

Priority Applications (1)

Application Number Priority Date Filing Date Title
JP2007092829A JP5028126B2 (ja) 2007-03-30 2007-03-30 誘電体基板の製造方法

Applications Claiming Priority (1)

Application Number Priority Date Filing Date Title
JP2007092829A JP5028126B2 (ja) 2007-03-30 2007-03-30 誘電体基板の製造方法

Publications (2)

Publication Number Publication Date
JP2008251935A JP2008251935A (ja) 2008-10-16
JP5028126B2 true JP5028126B2 (ja) 2012-09-19

Family

ID=39976513

Family Applications (1)

Application Number Title Priority Date Filing Date
JP2007092829A Expired - Fee Related JP5028126B2 (ja) 2007-03-30 2007-03-30 誘電体基板の製造方法

Country Status (1)

Country Link
JP (1) JP5028126B2 (ja)

Families Citing this family (2)

* Cited by examiner, † Cited by third party
Publication number Priority date Publication date Assignee Title
KR100968977B1 (ko) * 2008-10-17 2010-07-14 삼성전기주식회사 무수축 세라믹 기판 및 무수축 세라믹 기판의 제조 방법
KR101153492B1 (ko) * 2010-08-24 2012-06-11 삼성전기주식회사 프로브 카드용 세라믹 기판 제조 방법 및 프로브 카드용 세라믹 기판

Family Cites Families (2)

* Cited by examiner, † Cited by third party
Publication number Priority date Publication date Assignee Title
JP2001332650A (ja) * 2000-05-24 2001-11-30 Tateyama Kagaku Kogyo Kk 電子素子用基板とその製造方法並びに電子素子とその製造方法
JP2007081100A (ja) * 2005-09-14 2007-03-29 Tdk Corp 配線基板およびその製造方法

Also Published As

Publication number Publication date
JP2008251935A (ja) 2008-10-16

Similar Documents

Publication Publication Date Title
US6815348B2 (en) Method of plugging through-holes in silicon substrate
US10790209B2 (en) Wiring circuit substrate, semiconductor device, method of producing the wiring circuit substrate, and method of producing the semiconductor device
EP3220417B1 (en) Wiring circuit board, semiconductor device, wiring circuit board manufacturing method, and semiconductor device manufacturing method
JP4904242B2 (ja) 配線基板及びその製造方法
CN100358114C (zh) 形成穿透电极的方法以及具有穿透电极的基片
WO2006082784A1 (ja) 多層プリント配線板
WO2006082785A1 (ja) 多層プリント配線板
JP2009088469A (ja) 印刷回路基板及びその製造方法
JP4713602B2 (ja) 基板モジュールおよびその製造方法ならびに電子機器
JP2017204527A (ja) 配線回路基板及びその製造方法
JP3775129B2 (ja) 半導体チップの接続方法
KR20140020114A (ko) 금속 방열기판 및 그 제조방법
JP5028126B2 (ja) 誘電体基板の製造方法
CN109075125B (zh) 用于填充陶瓷衬底的通孔的方法以及由此形成的陶瓷衬底通孔填充物
JP6566811B2 (ja) 半田チップ、半田チップを用いた端子付きガラス基板の製造方法
KR101119259B1 (ko) 하이브리드형 방열기판 및 그 제조방법
TWI294760B (ja)
JP2017228727A (ja) 配線基板及びその製造方法
JP2005322805A (ja) 両面配線基板及びその製造方法
JP2017005205A (ja) 配線基板および配線基板の製造方法
JP2006196599A (ja) 基板両面の導通方法及び配線基板
JP6936965B2 (ja) 配線基板及びその製造方法
JP7182856B2 (ja) 配線基板及びその製造方法
JP2003060343A (ja) 配線基板の製造方法
JP2005129874A (ja) 半導体チップ、半導体チップの製造方法、半導体実装基板、電子デバイスおよび電子機器

Legal Events

Date Code Title Description
A621 Written request for application examination

Free format text: JAPANESE INTERMEDIATE CODE: A621

Effective date: 20100122

A977 Report on retrieval

Free format text: JAPANESE INTERMEDIATE CODE: A971007

Effective date: 20110914

A131 Notification of reasons for refusal

Free format text: JAPANESE INTERMEDIATE CODE: A131

Effective date: 20110927

A521 Request for written amendment filed

Free format text: JAPANESE INTERMEDIATE CODE: A523

Effective date: 20111121

TRDD Decision of grant or rejection written
A01 Written decision to grant a patent or to grant a registration (utility model)

Free format text: JAPANESE INTERMEDIATE CODE: A01

Effective date: 20120605

A01 Written decision to grant a patent or to grant a registration (utility model)

Free format text: JAPANESE INTERMEDIATE CODE: A01

A61 First payment of annual fees (during grant procedure)

Free format text: JAPANESE INTERMEDIATE CODE: A61

Effective date: 20120625

FPAY Renewal fee payment (event date is renewal date of database)

Free format text: PAYMENT UNTIL: 20150629

Year of fee payment: 3

R150 Certificate of patent or registration of utility model

Ref document number: 5028126

Country of ref document: JP

Free format text: JAPANESE INTERMEDIATE CODE: R150

Free format text: JAPANESE INTERMEDIATE CODE: R150

R250 Receipt of annual fees

Free format text: JAPANESE INTERMEDIATE CODE: R250

R250 Receipt of annual fees

Free format text: JAPANESE INTERMEDIATE CODE: R250

R250 Receipt of annual fees

Free format text: JAPANESE INTERMEDIATE CODE: R250

LAPS Cancellation because of no payment of annual fees