JP5013263B2 - 棒状部材に対する部材取付け構造 - Google Patents

棒状部材に対する部材取付け構造 Download PDF

Info

Publication number
JP5013263B2
JP5013263B2 JP2007278391A JP2007278391A JP5013263B2 JP 5013263 B2 JP5013263 B2 JP 5013263B2 JP 2007278391 A JP2007278391 A JP 2007278391A JP 2007278391 A JP2007278391 A JP 2007278391A JP 5013263 B2 JP5013263 B2 JP 5013263B2
Authority
JP
Japan
Prior art keywords
rod
clamping
shaped member
members
shaped
Prior art date
Legal status (The legal status is an assumption and is not a legal conclusion. Google has not performed a legal analysis and makes no representation as to the accuracy of the status listed.)
Expired - Fee Related
Application number
JP2007278391A
Other languages
English (en)
Other versions
JP2009108872A (ja
Inventor
典之 和田
Current Assignee (The listed assignees may be inaccurate. Google has not performed a legal analysis and makes no representation or warranty as to the accuracy of the list.)
Daifuku Co Ltd
Original Assignee
Daifuku Co Ltd
Priority date (The priority date is an assumption and is not a legal conclusion. Google has not performed a legal analysis and makes no representation as to the accuracy of the date listed.)
Filing date
Publication date
Application filed by Daifuku Co Ltd filed Critical Daifuku Co Ltd
Priority to JP2007278391A priority Critical patent/JP5013263B2/ja
Priority to TW97134518A priority patent/TWI402434B/zh
Priority to CN2008801052383A priority patent/CN101796310B/zh
Priority to PCT/JP2008/068965 priority patent/WO2009054345A1/ja
Publication of JP2009108872A publication Critical patent/JP2009108872A/ja
Application granted granted Critical
Publication of JP5013263B2 publication Critical patent/JP5013263B2/ja
Expired - Fee Related legal-status Critical Current
Anticipated expiration legal-status Critical

Links

Images

Classifications

    • FMECHANICAL ENGINEERING; LIGHTING; HEATING; WEAPONS; BLASTING
    • F16ENGINEERING ELEMENTS AND UNITS; GENERAL MEASURES FOR PRODUCING AND MAINTAINING EFFECTIVE FUNCTIONING OF MACHINES OR INSTALLATIONS; THERMAL INSULATION IN GENERAL
    • F16BDEVICES FOR FASTENING OR SECURING CONSTRUCTIONAL ELEMENTS OR MACHINE PARTS TOGETHER, e.g. NAILS, BOLTS, CIRCLIPS, CLAMPS, CLIPS OR WEDGES; JOINTS OR JOINTING
    • F16B7/00Connections of rods or tubes, e.g. of non-circular section, mutually, including resilient connections
    • F16B7/04Clamping or clipping connections
    • F16B7/044Clamping or clipping connections for rods or tubes being in angled relationship
    • F16B7/048Clamping or clipping connections for rods or tubes being in angled relationship for rods or for tubes without using the innerside thereof
    • F16B7/0493Clamping or clipping connections for rods or tubes being in angled relationship for rods or for tubes without using the innerside thereof forming a crossed-over connection

Landscapes

  • Engineering & Computer Science (AREA)
  • General Engineering & Computer Science (AREA)
  • Mechanical Engineering (AREA)
  • Mutual Connection Of Rods And Tubes (AREA)
  • Clamps And Clips (AREA)

Description

本発明は、各種ラックや台車、支持台、などの軽量枠組み構造物を、パイプ材などの棒状部材を使用して組み立てる際に活用できる棒状部材に対する部材取付け構造に関するものである。
上記のような用途に活用される棒状部材に対する部材取付け構造としては、特許文献1に記載されるように、パイプ材に継手部材を嵌合させて両者を接着固定するか又は両者間にスリーブを圧入固定する構造や、特許文献2に記載されるように、パイプ材に嵌合させる継手部材を2つ割り構造又は分割構造とし、この継手部材をボルトナットで締結することにより当該継手部材をパイプ材に固定する構造のものが知られている。
実公昭63−16889号公報 特公昭53−25170号公報
何れの構造においても、部材を取り付ける相手は丸パイプ材であって、継手部材などの各種取付け部材を当該丸パイプ材に接着固定するときの接着性能を高め、或いは摩擦力を高めるために、当該丸パイプ材としては、金属製パイプの表面に樹脂コーティングしたものが一般的に使用されるので、コスト高になっていた。勿論、樹脂パイプや金属製パイプを使用することも可能であるが、樹脂パイプでは組み立てられた構造体に必要な強度が得られないし、金属製パイプのままでは特殊な接着剤が必要になるか又は、摩擦力不足で所定位置に所定向きに取付け部材を確実に固定することが困難になることは予測される。更に、取付け部材の向きを特定させることができる構成として、特許文献1に記載のように、取付け部材の取付け相手として角パイプ材を使用する構成も考えられているが、横断面が正四角形の一般的に知られている角パイプ材では、取付け部材の取付け向きを角パイプ材の周方向90度間隔おきで規制することができるだけである。従って、直角二等辺三角形の各頂点相当位置に角パイプ材の軸心が位置するように互いに平行な向きに角パイプ材が配置されている枠組み構造体において、前記取付け部材を、角パイプ材に対する他の棒状部材の継手手段に利用して、前記直角二等辺三角形の斜辺両端相当位置に配置された角パイプ材どうしを連結棒状部材で連結し、組み立てられた枠組み構造体の歪みを矯正すると共に強度アップを図ろうとした場合、結果的には、丸パイプ材用の取付け部材と同じように、角パイプ材に対して自由に回転させることができる取付け部材が必要になるだけでなく、前記斜辺両端相当位置にある2本の角パイプ材間の距離が所定値になるように連結棒状部材の長さを正確に調整しなければならないという問題点が生ずる。
本発明は上記のような従来の問題点を解消し得る棒状部材に対する部材取付け構造を提供することを目的とするものであって、請求項1に記載の部材取付け構造は、後述する実施形態の参照符号を付して示すと、棒状部材に対する部材取付け構造であって、棒状部材P1は、横断面において正8角形又は正16角形の外周面を備えたものとし、この棒状部材P1に対して取り付けられる取付け部材(継手)は、前記棒状部材P1を挟持する挟持部4をそれぞれ有する少なくとも2つの挟持部材2A,2Bと、この挟持部材2A,2Bどうしを前記挟持部4の挟持方向に互いに締結する締結用ボルトナット3を備え、この締結用ボルトナット3の締結により各挟持部材2A,2Bの挟持部4が、前記棒状部材P1の角柱状外側面の内、周方向の少なくとも3側面(例えば4側面6b,6c,7b,7c)に当接して、当該棒状部材P1をその軸心周りの相対回転不能に挟み付けて固定する構成となっている。
上記構成の本発明を実施するについて、具体的には請求項2に記載のように、前記挟持部材2A,2Bの内、少なくとも1つの挟持部材2Aの挟持部4には、前記棒状部材P1の角柱状外側面の内、周方向に離れた対称位置にある2側面6b,6cに当接する対称2側面8b,8cを備えた外広がり折曲内側面8a〜8cを設け、締結用ボルトナット3による挟持部材2A,2Bどうしの締結時に、棒状部材P1の前記対称位置にある2側面6b,6cに前記挟持部4の外広がり折曲内側面8a〜8cの2側面8b,8cが圧接するように構成するか又は、請求項3に記載のように、前記挟持部材2A,2Bの内、少なくとも1つの挟持部材2Aの挟持部4には、前記棒状部材P1の角柱状外側面の内、山形状に隣接する2側面6d,6eに当接する外広がり折曲内側面8h,8iを設けることができる。
又、請求項4に記載のように、前記2つの挟持部材2A,2Bは、前記棒状部材P1に対し直交する向きに配置し、前記挟持部4が前記棒状部材P1の長さ方向中間部を挟持するように構成するか又は、請求項5に記載のように、前記2つの挟持部材2A,2Bは、棒状部材P2の延長向きに配置し、その挟持部5が前記棒状部材P2の端部を挟持するように構成することができる。
上記請求項4に記載の構成を採用する場合、請求項6に記載のように、前記取付け部材(継手)には、前記締結用ボルトナット3の位置から片持ち状に突出する挟持部4を備えた2つの挟持部材2A,2Bを有せしめ、各挟持部4の遊端側には、両挟持部4の遊端の棒状部材周方向の離間移動を阻止する状態に互いに係合する係脱自在な係合部10を設けることができるし、請求項7に記載のように、前記取付け部材(継手)は、中間位置にそれぞれ挟持部4を有する2つの直線状挟持部材18A,18Bを備えたものとし、前記締結用ボルトナット3は、前記挟持部4の両側に配設することができる。
又、上記請求項4に記載の構成を採用する場合、請求項8に記載のように、前記取付け部材(継手)は、折曲部内側に挟持部26を有する外側折れ曲がり挟持部材29と、折曲部外側に挟持部21を有する内側折れ曲がり挟持部材30とから構成し、前記締結用ボルトナット3は、前記挟持部26,21の両側に配設することができる。この場合、請求項9に記載のように、前記外側折れ曲がり挟持部材29の挟持部26には、前記棒状部材P1の角柱状外側面の内、対称位置にある平行側面6a,7aの一方6aと当該一側面6aを中心に対称位置にある2側面6b,6cとに対面する外広がり折曲内側面8a〜8cを設け、内側折れ曲がり挟持部材30の挟持部21には、前記平行側面6a,7aの他方の面7aに当接する内側面8dを設けることができる。勿論、請求項8に記載の構成において、各挟持部26,21を請求項3に記載のように構成することもできる。
又、上記請求項4に記載の構成を採用する場合、請求項10に記載のように、前記取付け部材(継手)は、長さ方向の中間位置に挟持部4を有する直線状挟持部材20と、折曲部外側に挟持部21を有する2つの折れ曲がり挟持部材24A,24Bとから構成し、これら3つの挟持部材20,24A,24Bを各挟持部4,21で1本の前記棒状部材P1を包囲挟持するように互いに締結一体化する締結用ボルトナット3を配設することができる。この場合、請求項11に記載のように、前記直線状挟持部材20の挟持部4には、前記棒状部材P1の角柱状外側面の内、対称位置にある平行側面6a,6bの一方6aと当該一側面6aを中心に対称位置にある2側面6b,6cの3側面に対面する外広がり折曲内側面8a〜8cを設け、2つの折れ曲がり挟持部材24A,24Bの挟持部21には、前記平行側面6a,7aの他方の面7aを中心に対称位置にある2側面7b,7cにそれぞれ当接する内側面8dを設けることが望ましいが、この場合も、各挟持部4,21を請求項3に記載のように構成することもできる。
更に、上記請求項4に記載の構成を採用する場合、請求項12に記載のように、前記取付け部材(継手)は、折曲部外側に挟持部21を有する4つの折れ曲がり挟持部材32A〜32Dから構成し、これら4つの挟持部材32A〜32Dを各挟持部21で1本の前記棒状部材P1を包囲挟持するように互いに締結一体化する締結用ボルトナット3を配設することができる。この場合、請求項13に記載のように、前記4つの折れ曲がり挟持部材32A〜32Dの各挟持部21には、前記棒状部材P1の角柱状外側面の内、周方向90度間隔で位置する4つの各側面6b,6c,7b,7cに当接する内側面8dを設けることが望ましいが、各挟持部21を請求項3に記載のように構成することもできる。
又、本発明に係る取付け部材は、この取付け部材を構成する挟持部材に、例えば棚受け部、棒状部材以外の別部品(例えば壁板)を取り付ける別部品取付け部、脚部(設置レベル調整のためのアジャスター付きの脚部を含む)、その他の種々のものを設けることができるが、棒状部材どうしの継手として本発明の取付け部材を利用できるように、請求項14に記載のように、前記棒状部材P1を挟持する挟持部4を主挟持部として、互いに隣り合って前記主挟持部を構成する2つの挟持部材2A,2Bの遊端側には、前記棒状部材P1とは別の棒状部材P2を挟持する副挟持部5を設けることができる。
請求項14に記載の構成を実施する場合、請求項15に記載のように、前記取付け部材(継手1,33)の副挟持部5,36は、主挟持部4,35が挟持する棒状部材P1に対し副挟持部5,36が挟持する棒状部材P2が直角向きになるように設けることができる。この場合、請求項16に記載のように、前記取付け部材(継手59)の副挟持部は2つ設け、これら2つの副挟持部5A,5Bは、これら2つの副挟持部5A,5Bが挟持する棒状部材P2,P3が、互いに平行になるように設けることができる。
又、請求項14に記載の構成を実施する場合、請求項17に記載のように、前記取付け部材(継手54)の副挟持部4Bは、主挟持部4Aが挟持する棒状部材P1と副挟持部4Bが挟持する棒状部材P2とが互いに平行向きになるように設けることができるし、請求項18に記載のように、前記取付け部材(継手41)の主挟持部4と副挟持部5とは支軸(ボルトナット44)の周りに相対揺動自在に連結することができる。この場合、請求項19に記載のように、前記支軸は、主挟持部4と副挟持部5との内、一方の挟持部4を構成する2つの挟持部材42A,42Bを互いに締結する締結用ボルトナット44で兼用させることができる。
更に、請求項20に記載のように、丸パイプ材P6を挟持するように円弧面8gで形成された副挟持部58を組み合わせることができる。この場合、請求項21に記載のように、丸パイプ材P6を挟持する前記副挟持部58には、円筒体67をその軸心の周りに自転可能に保持させ、当該円筒体67の内側貫通孔は、横断面において正8角形又は正16角形の外周面を備えた前記棒状部材P1を長さ方向移動のみ自在に挿入できる角孔69に構成することができる。
上記請求項1に記載の本発明に係る棒状部材に対する部材取付け構造によれば、取付け部材が有する2つの挟持部材を、その挟持部が棒状部材を挟み付けて包囲するように配置すると共に、当該2つの挟持部材を締結用ボルトナットで締結することにより、取付け部材(2つの挟持部材)を棒状部材に対して取り付けることができるのであるが、このとき、前記棒状部材は、横断面において正8角形又は正16角形の外周面を備えており、取付け部材側の少なくとも2つの挟持部材における挟持部は、前記棒状部材の角柱状外側面の周方向の少なくとも3側面に当接して、当該棒状部材をその軸心周りの相対回転不能に挟み付けて包囲する構成であるから、締結用ボルトナットで2つの挟持部材を適度に締め付けるだけで、取付け部材(2つの挟持部材)が棒状部材の周りで回転して向きが不測に変わってしまうような恐れがなく、棒状部材に対して取付け部材を一定向きに確実強力に固定することができる。
しかも、棒状部材に対する取付け部材の取付け向きは、当該棒状部材の周方向において少なくとも45度(横断面で正16角形の外周面を備えている棒状部材の場合は22.5度)の間隔で規制させることができるので、前記取付け部材を、棒状部材に対する他の棒状部材の継手手段に利用した場合、組立てできる枠組み構造体の形状を、横断面で正4角形の外周面を備えている角パイプ材を棒状部材に使用する場合と比較して多彩にすることができる。更に、直角二等辺三角形の各頂点相当位置に棒状部材の軸心が位置するように互いに平行な向きに棒状部材が配置されている枠組み構造体において、前記取付け部材を、棒状部材に対する他の棒状部材の継手手段に利用して、前記直角二等辺三角形の斜辺両端相当位置に配置された棒状部材どうしを連結棒状部材で連結し、組み立てられた枠組み構造体の歪みを矯正すると共に強度アップを図る場合でも、本発明の部材取付け構造をそのまま活用することができるばかりでなく、前記連結棒状部材の向きを、前記斜辺両端相当位置に配置された互いに平行な向きの棒状部材の軸心どうしを結ぶ斜め45度の向きに正確に規制できるので、前記連結棒状部材としては取付け部材に結合できる長さであれば良く、その長さを正確に調整しなければならないという従来の問題点も解消する。
尚、請求項2に記載の構成によれば、両挟持部材をボルトナットで締め付けたとき、両挟持部の外広がり内側面における対称2側面と棒状部材の角柱状外側面における周方向に離れた対称位置にある2側面とが確実に面接触して、挟持部が楔作用的に棒状部材に食い込んで行くことになるので、丸パイプ材を挟持する2つの挟持部材をボルトナットで締結する従来の構成のように、両者が線接触する恐れがなく、比較的小さな締結力をもってしても強力且つ安定的に取付け部材を棒状部材に取り付けることができる。勿論、棒状部材に対する取付け部材の回り止め効果を主に考えるならば、請求項3に記載の構成を採用すれば良い。特にこの請求項3に記載の構成は、1つの棒状部材の周方向3つ又はそれ以上の数の挟持部材の挟持部で当該棒状部材を挟持する場合には、効果的である。
又、請求項4に記載の構成によれば、棒状部材の長さ方向中間位置に取付け部材を取り付けることができる構成として、各種の枠組み構造体を組み立てる手段に活用できるし、請求項5に記載の構成によれば、棒状部材の端部に当該棒状体の延長方向に取付け部材を取り付けることができる構成として、各種の枠組み構造体を組み立てる手段に活用できる。
前記請求項4に記載の構成を採用する場合に請求項6に記載の構成によれば、棒状部材の片側に取付け部材を取り付けることができる構成として、各種の枠組み構造体を組み立てる手段に活用できるのであるが、このとき、締結用ボルトナットの締め付けにより挟持部の遊端側が開く不都合を確実に回避し、係合部を支点にして両挟持部を梃子作用的に強力に棒状部材に挟み付けることができる。
又、請求項4に記載の構成を採用する場合に請求項7に記載の構成によれば、1本の棒状部材の両側に取付け部材を取り付けることができる構成として、各種の枠組み構造体を組み立てる手段に活用できる。この場合には、請求項2に記載の構成を採用することにより、両直線状挟持部材の挟持部が備える外広がり折曲内側面によって、請求項2に記載の構成によって得られる作用効果が期待でき、強力且つ安定的に取付け部材を棒状部材に取り付けることができる。
又、請求項8に記載の構成によれば、1本の棒状部材に対しその軸心方向から見てL字形に取付け部材を取り付けることができる構成として、各種の枠組み構造体を組み立てる手段に活用できるし、請求項10に記載の構成によれば、1本の棒状部材に対しその軸心方向から見てT字形に取付け部材を取り付けることができる構成として、各種の枠組み構造体を組み立てる手段に活用できる。更に、請求項12に記載の構成によれば、1本の棒状部材に対しその軸心方向から見て十字形に取付け部材を取り付けることができる構成として、各種の枠組み構造体を組み立てる手段に活用できる。
尚、請求項8又は10に記載の構成を採用する場合、請求項9又は11に記載の構成によれば、外側折れ曲がり挟持部材又は直線状挟持部材の挟持部が備える外広がり折曲内側面によって、請求項2に記載の構成によって得られる作用効果が期待でき、強力且つ安定的に取付け部材を棒状部材に取り付けることができる。更に、請求項12に記載の構成を採用する場合、請求項13に記載の構成によれば、4つの折れ曲がり挟持部材の各挟持部を、1本の棒状部材の角柱状外側面の内、周方向90度間隔で位置する4つの各側面に確実に圧接させて、当該棒状部材に対し4つの折れ曲がり挟持部材を自動調心的に位置決めして確実強力に取り付けることができる。
先に説明したように、本発明に係る取付け部材は、この取付け部材を構成する挟持部材に、例えば棚受け部、棒状部材以外の別部品(例えば壁板)を取り付ける別部品取付け部、脚部(設置レベル調整のためのアジャスター付きの脚部を含む)、その他の種々のものを設けることができるが、請求項14に記載の構成によれば、棒状部材どうし(少なくとも何れか一方は、横断面において正8角形又は正16角形の外周面を備えた前記棒状部材)の継手として本発明の取付け部材を利用できるが、この場合、請求項15に記載の構成によれば、2本の棒状部材をT字形又は十字形に接続することができるし、請求項16に記載の構成によれば、1本の棒状部材に対して2本の棒状部材を互いに平行に並列する状態でT字形又は十字形に接続することができる。更に、請求項17に記載の構成によれば、2本の棒状部材を互いに平行に並列する状態に接続することができるし、請求項18に記載の構成によれば、2本の棒状部材を支軸の周りに相対揺動自在に接続するヒンジとして活用できる。この場合、請求項19に記載の構成によれば、部品点数を減らして構造をシンプルにし、コストダウンを図ることができる。
更に、請求項20に記載の構成によれば、横断面において正8角形又は正16角形の外周面を備えた前記棒状部材と一般的な丸パイプ材との継手として活用できるし、請求項21に記載の構成によれば、横断面において正8角形又は正16角形の外周面を備えた前記棒状部材どうしの継手でありながら、一方の棒状部材の周方向に他方の棒状部材を回転させることができるヒンジとして活用できる。
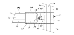
以下に本発明の具体的実施例を添付図に基づいて説明する。図1〜図4は、本発明の第一実施形態を示すものであって、この第一実施形態において使用される取付け部材としての継手1は、2つの挟持部材2A,2Bと1本の締結用ボルトナット3によって構成されている。この継手1で接続される2本の棒状部材P1,P2は、断面サイズが同一で横断面形状が正8角形の金属製パイプ材である。
2つの挟持部材2A,2Bは同一構造のものを向かい合わせに組み合わせたものであって、各挟持部材2A,2Bは、それぞれ金属板を折曲加工して構成した第一挟持部4と第二挟持部5とを溶接によりT字形に互いに固着したものであり、各挟持部4,5は、棒状部材P1,P2の対称位置にある平行側面6a,7aとその両側の対称2側面6b,6c及び7b,7cの3側面に対面する外広がり折曲内側面8a〜8cを有するもので、この外広がり折曲内側面8a〜8cが同一側に位置すると共に第一挟持部4の外広がり折曲内側面8a〜8cに嵌合する棒状部材P1に対し第二挟持部5の外広がり折曲内側面8a〜8cに嵌合する棒状部材P2がT字形に位置するように、両挟持部4,5がT字形に互いに固着されている。
又、両挟持部材2A,2Bの第一挟持部4の遊端には、棒状部材P1の対称位置にある平行側面6a,7aに対し直交向きにある平行側面9a,9bの一方(側面9a)に沿うように折曲連設された板部により、係合部10が構成されている。この係合部10は、両挟持部材2A,2Bを向かい合わせに重ねたときに互いに係合し合う形状で、蟻溝形凹部10aと当該蟻溝形凹部10aに丁度嵌合する逆台形突起部10bとが並設されている。
前記外広がり折曲内側面8a〜8cの内、中央の内側面、即ち、棒状部材P1,P2の対称位置にある平行側面6a,7aに対面する内側面8aは、その幅が棒状部材P1,P2の対称位置にある平行側面6a,7aの幅よりも狭くなっており、従って、外広がり折曲内側面8a〜8cを棒状部材P1,P2に嵌合させたとき、前記内側面8aは棒状部材P1,P2の対称位置にある平行側面6a,7aには当接せず、その両側の外広がり内側面8b,8cのみが棒状部材P1,P2の対称2側面6b,6c又は7b,7cに当接するように構成されている。
尚、第一挟持部4の長さ(この第一挟持部4の外広がり折曲内側面8a〜8cに嵌合する棒状部材P1の長さ方向)は、第二挟持部5の幅と等しくなるように構成され、第二挟持部5には、棒状部材P2の対称位置にある平行側面6a,7aに対し直交向きにある平行側面9a,9bの一部を挟む平行両側板部11が折曲連設されている。
締結用ボルトナット3は、挟持部材2A,2Bにおける第二挟持部5の第一挟持部4側の端部近くで、外広がり折曲内側面8a〜8cの中央の内側面8aを貫通するように設けられたボルト孔12を挿通するボルト3aと、これに螺合するナット3bとから成るものである。従って、第二挟持部5は、これを貫通する締結用ボルトナット3よりも外側(第一挟持部4のある側とは反対側)の領域部分で棒状部材P2を挟持することになる。
以上のように構成された取付け部材、即ち、継手1は、棒状部材P1の長さ方向中間所定位置に対して挟持部材2A,2Bの第一挟持部4を両側から嵌合させると共に、棒状部材P2の端部に対して両挟持部材2A,2Bの第二挟持部5を両側から嵌合させる。このとき、両挟持部材2A,2Bの第一挟持部4の遊端に連設された係合部10を互いに係合させるために、両挟持部材2A,2Bを前記係合部10において互いに隣接するようにV字形に配置して、一方の係合部10の逆台形突起部10bの先端を他方の係合部10の蟻溝形凹部10aの奥端部に嵌合させた状態で、両挟持部材2A,2Bを閉じるように操作し、その過程で両挟持部材2A,2Bの第一挟持部4を棒状部材P1の長さ方向中間所定位置に被せるようにすれば良い。係る状態で、締結用ボルトナット3のボルト3aを挟持部材2A,2Bのボルト孔12に挿通させ、当該ボルト3aの先端にナット3bを螺合させて締め付けることにより、両挟持部材2A,2B間で棒状部材P1,P2をT字形に結合することができる。
このとき棒状部材P2は、締結用ボルトナット3のボルト3aに先端が当接又は接近する位置まで、両挟持部材2A,2Bの第二挟持部5間に差し込まれている。そして両挟持部材2A,2Bの各挟持部4,5における外広がり折曲内側面8a〜8cは、棒状部材P1,P2の対称位置にある平行側面6a,7aとその両側の対称2側面6b,6c及び7b,7cに対面しているが、先に説明した構成により、各挟持部4,5における外広がり折曲内側面8a〜8cの内、中央の内側面8aは、締結用ボルトナット3の締め付けに伴って棒状部材P1,P2の対称位置にある平行側面6a,7aに接近又は当接するが、外広がり折曲内側面8a〜8cの両側の外広がりの対称2側面8b,8cは、締結用ボルトナット3の締め付けに伴って棒状部材P1,P2の対称2側面6b,6c及び7b,7cに楔作用的に圧接し、棒状部材P1,P2を、その軸心周りの回転を阻止する状態で強固に固定することになる。又、両第一挟持部4の遊端が係合部10によって互いに連結されて両第一挟持部4の遊端が棒状部材P1の周方向に離間移動することが阻止されているので、締結用ボルトナット3の締め付けにより両挟持部材2A,2Bの第一挟持部4が、その遊端側が開くように変形することは確実に防止され、締結用ボルトナット3の締め付け力を両第一挟持部4に効果的に作用させることができる。
上記のように継手1を使用して棒状部材P1の長さ方向の中間任意の位置に対し棒状部材P2をT字形(棒状部材P1の軸心に対し直角向き)に接続することができるのであるが、棒状部材P1の軸心方向から見たときの棒状部材P2の向き(棒状部材P2の軸心方向から見たときの棒状部材P1の向き)は、棒状部材P1,P2が、横断面形状が正8角形の外側面を有するものであるから、棒状部材P1,P2に対して挟持部材2A,2Bの第一及び第二両挟持部4,5を被せるときに、当該両挟持部4,5側の外広がり折曲内側面8a〜8cが対面する棒状部材P1,P2側の正8角形の外側面の内の3側面を選択することにより、当該棒状部材P1(棒状部材P2)の周方向に45度の間隔で任意に設定することができる。
図5〜図9は、上記第一実施形態の継手1の変形例に係る第二実施形態を示すもので、この第二実施形態における継手13の前記継手1と異なる点は、2つの挟持部材2A,2Bにおけるボルト孔12が設けられる箇所、即ち、各挟持部材2A,2Bの第二挟持部5の基部における頂面部(外広がり折曲内側面8a〜8cの中央内側面8aを形成する部分)を凹ませて締結用凹部14を形成すると共にこの締結用凹部14に第二挟持部5の長さ方向に沿って凹溝部15を形成し、この凹溝部15の底面部にボルト孔12を設け、締結用ボルトナット3のボルト3aの頭部(操作用角孔付きの円形頭部)は前記凹溝部15内に一部嵌合した状態で自由に回転することができるが、ナット(六角ナット)3bは前記凹溝部15内に一部嵌合して回り止めされるように構成した点にある。又、この実施形態では、各挟持部材2A,2Bの第一挟持部4と第二挟持部5とは、1枚の金属板のプレス加工により一体に成形されている。
この第二実施形態における継手13によれば、図示のように、締結用ボルトナット3のボルト3aの頭部やナット3bが継手13の挟持部4,5の頂面から突出しないように構成できるだけでなく、ナット3bを回り止めした状態でボルト3aの締め付け操作が行えるので、作業性が改善される。尚、この実施形態では、第二挟持部5が挟持する棒状部材P2は、その先端が第二挟持部5に形成された締結用凹部14の底面側一端部で制止される深さまで、第二挟持部5間に差し込むことができる。
図10〜図12は、本発明の第三実施形態を示すものであって、この第三実施形態において使用される取付け部材としての継手16は、長さ方向の中間中央部に第一挟持部4を備えると共に長さ方向の両端部に第二挟持部5と第三挟持部17とを備えた2つの直線状挟持部材18A,18Bと、2本の締結用ボルトナット3から構成されている。2つの直線状挟持部材18A,18Bは、それぞれ1枚の金属板のプレス加工により一体成形された同一構造のものを向かい合わせに使用したもので、先の第二実施形態で示した継手13における挟持部材2A,2Bの第一挟持部4の係合部10を連設した遊端側に、当該係合部10に代えて、第二挟持部5と同一構造の第三挟持部17を対称形に連設したものである。そして、第二挟持部5のボルト孔12と対称位置で第三挟持部17に設けられたボルト孔12に2本目の締結用ボルトナット3が挿通される。
この第三実施形態における継手16では、図示のように、2つの直線状挟持部材18A,18Bの中央の第一挟持部4間に棒状部材P1を挟持させると共に、一端の第二挟持部5間と他端の第三挟持部17間には、前記棒状部材P1に対してT字形にそれぞれ棒状部材P2,P3の端部を挟持させた状態で、第二挟持部5どうしをこの第二挟持部5に設けられたボルト孔12に挿通させた締結用ボルトナット3で締結すると共に、第三挟持部17どうしをこの第三挟持部17に設けられたボルト孔12に挿通させた2本目の締結用ボルトナット3で締結することになる。尚、棒状部材P3は、棒状部材P1,P2と同一のものである。
この継手16によって棒状部材P1にそれぞれT字形に接続される2本の棒状部材P2,P3は、棒状部材P1の軸心に対して直角向きで且つ互いに同心一直線状に接続されるが、各挟持部4,5,17の外広がり折曲内側面8a〜8cと各棒状部材P1〜P3の正8角形の外側面の内の各3側面6a〜7cとが、第一実施形態の継手1において説明したように作用するので、各棒状部材P1〜P3は、その軸心周りの自転が確実に阻止された状態で継手16に強固に結合される。又、棒状部材P1の軸心方向から見たときの棒状部材P2,P3の向き(棒状部材P2,P3の軸心方向から見たときの棒状部材P1の向き)も、当該棒状部材P1(棒状部材P2,P3)の周方向に45度の間隔で任意に選択設定することができる。
図13〜図15は、本発明の第四実施形態を示すものであって、この第四実施形態において使用される取付け部材としての継手19は、1つの直線状挟持部材20と、折曲部に外向きの第一挟持部21を有すると共に両端に外向きの第二挟持部22と第三挟持部23を備えた、同一構造の2つの折れ曲がり挟持部材24A,24B、及び3本の締結用ボルトナット3によって構成されている。直線状挟持部材20は、第三実施形態の継手16を構成する2つの直線状挟持部材18A,18Bの一方と同一構造のもので、同一参照符号を付して構造説明は省略する。又、2つの折れ曲がり挟持部材24A,24Bは、1枚の金属板をプレス加工して一体成形した同一構造のものであって、第三実施形態の継手16を構成する2つの直線状挟持部材18A,18Bの一方(従って、直線状挟持部材20と同一のもの)を、その中央の第一挟持部4を開く方向にL字形に折曲した構造に相当し、折曲部の第一挟持部21から互いに直角向きに延出する2つの第二挟持部22及び第三挟持部23は、直線状挟持部材18Aの第二挟持部5及び第三挟持部17と同一構造であるが、第一挟持部21は、その両側の挟持部22,23における締結用凹部14どうしをL字形に接続し、その外向きに突出する両側板部に斜め45度の内側面8dを切り欠き形成して構成している。
上記構成の継手19は、図示のように、直線状挟持部材20の第二挟持部5に折れ曲がり挟持部材24Aの第二挟持部22を向かい合わせに重ねると共に、直線状挟持部材20の第三挟持部17に折れ曲がり挟持部材24Bの第二挟持部22を向かい合わせに重ね、そして2つの折れ曲がり挟持部材24A,24Bの第三挟持部23どうしを向かい合わせに重ねるように配置して使用する。而して3つの挟持部材20,24A,24Bの中央には、直線状挟持部材20の第一挟持部4と2つの折れ曲がり挟持部材24A,24Bの折曲部の挟持部21で囲まれた略正8角形の空間が形成されるので、これら3つの第一挟持部4,21,21で前記棒状部材P1を挟み付けて包囲すると共に、直線状挟持部材20の第二挟持部5と折れ曲がり挟持部材24Aの第二挟持部22との間に前記棒状部材P2の端部を挿入し、直線状挟持部材20の第三挟持部17と折れ曲がり挟持部材24Bの第二挟持部22との間には前記棒状部材P3の端部を挿入し、更に2つの折れ曲がり挟持部材24A,24Bの第三挟持部23間には、前記棒状部材P1〜P3と同一の棒状部材P4の端部を挿入する。係る状態で、直線状挟持部材20の第二挟持部5と折れ曲がり挟持部材24Aの第二挟持部22、直線状挟持部材20の第三挟持部17と折れ曲がり挟持部材24Bの第二挟持部22、及び2つの折れ曲がり挟持部材24A,24Bの第三挟持部23どうしをそれぞれ締結用ボルトナット3で締結し、3つの挟持部材20,24A,24Bを一体化する。
上記のようにして継手19により4本の棒状部材P1〜P4を結合すれば、棒状部材P1の長さ方向中間位置に対して棒状部材P2〜P4をそれぞれT字形に接続することができる。このとき、これら棒状部材P2〜P4は、棒状部材P1の軸心方向に関して同一位置で且つ棒状部材P1の軸心に対し直角向きに位置すると共に、棒状部材P1の軸心方向から見て、棒状部材P2,P3は棒状部材P1の両側で同心一直線状に位置すると共に棒状部材P4は棒状部材P2,P3に対し棒状部材P1の位置から直角向きに延出する状態で固定される。このとき、3つの挟持部材20,24A,24Bで構成される4つの挟持部(4,21,21)(5,22)(17,22)(23,23)の内、中央位置の挟持部(4,21,21)を除く3つの各挟持部における各棒状部材P2〜P4の端部に対する挟持固定作用は、先の継手1,16における棒状部材P2,P3の端部に対する挟持固定作用と全く同一であり、中央位置の挟持部(4,21,21)の棒状部材P1に対する固定作用は、直線状挟持部材20の第一挟持部4における外広がり折曲内側面8a〜8cの対称に位置する2つの外広がり内側面8b,8cと、2つの折れ曲がり挟持部材24A,24Bの第一挟持部21,21の内側面8dの合計4つの、周方向90度間隔に位置する内側面8b〜8dが棒状部材P1の正8角形の外側面の周方向90度間隔に位置する4つの側面6b,6c,7b,7cに対して面接触状態で圧接し、棒状部材P1を強固且つ安定的に固定保持することになる。勿論、棒状部材P1の軸心方向から見たときの棒状部材P2〜P4の向き(棒状部材P2,P3の軸心方向から見たときの棒状部材P1,P4の向き)も、当該棒状部材P1(棒状部材P2,P3)の周方向に45度の間隔で任意に選択設定することができる。
図16及び図17は、本発明の第五実施形態を示すものであって、この第五実施形態において使用される取付け部材としての継手25は、折曲部内側に第一挟持部26を有すると共に両端に第二挟持部27と第三挟持部28とを備えた外側折れ曲がり挟持部材29と、第四実施形態の継手19を構成する2つの折れ曲がり挟持部材24A,24Bの一方と同一構造の内側折れ曲がり挟持部材30、及び2本の締結用ボルトナット3から構成されている。外側折れ曲がり挟持部材29は、第三実施形態の継手16を構成する2つの直線状挟持部材18A,18Bの一方と同一構造のものを、その両側の第二挟持部5及び第三挟持部17を第一挟持部4に対して内側にそれぞれ45度折曲してL字形としたものに相当し、折曲部内側の第一挟持部26には、外広がり折曲内側面8a〜8cの両側に連なる、互いに平行で且つ中央の内側面8aに対して直角の平行内側面8e,8fが形成されている。そしてこの第一挟持部26から互いに直角向きに延出する第二挟持部27と第三挟持部28は、前記直線状挟持部材18A,18Bの第二挟持部5及び第三挟持部17と同一である。
上記構成の継手25においては、外側折れ曲がり挟持部材29の第一挟持部26と内側折れ曲がり挟持部材30の第一挟持部21との間で前記棒状部材P1を挟持させると共に、外側折れ曲がり挟持部材29の第二挟持部27と内側折れ曲がり挟持部材30の第二挟持部22との間、及び外側折れ曲がり挟持部材29の第三挟持部28と内側折れ曲がり挟持部材30の第三挟持部23との間にそれぞれ前記棒状部材P2,P3の端部を差し込んだ状態で、外側折れ曲がり挟持部材29の第二挟持部27と内側折れ曲がり挟持部材30の第二挟持部22、及び外側折れ曲がり挟持部材29の第三挟持部28と内側折れ曲がり挟持部材30の第三挟持部23をそれぞれ締結用ボルトナット3で締結一体化する。このようにして継手25により3本の棒状部材P1〜P3を結合すれば、棒状部材P1の長さ方向中間位置に対して棒状部材P2,P3をそれぞれT字形に接続することができる。このとき、これら棒状部材P2,P3は、棒状部材P1の軸心方向に関して同一位置で且つ棒状部材P1の軸心に対し直角向きに位置すると共に、棒状部材P1の軸心方向から見て、棒状部材P2,P3は互いに直角をなす向きに固定される。
このとき、外側折れ曲がり挟持部材29と内側折れ曲がり挟持部材30で構成される3つの挟持部(26,21)(27,22)(28,23)の内、折曲角部の挟持部(26,21)を除く2つの各挟持部における各棒状部材P2,P3の端部に対する挟持固定作用は、先の継手1,16における棒状部材P2,P3の端部に対する挟持固定作用と全く同一であり、折曲角部の挟持部(26,21)の棒状部材P1に対する固定作用は、外側折れ曲がり挟持部材29の第一挟持部26における外広がり折曲内側面8a〜8cの対称に位置する2つの外広がり内側面8b,8cと、内側折れ曲がり挟持部材30の第一挟持部21の内側面8dとで棒状部材P1の正8角形の外側面の周方向3側面6b,6c,7aに対して面接触状態で圧接し、棒状部材P1を強固且つ安定的に固定保持することになる。勿論、棒状部材P1の軸心方向から見たときの棒状部材P2,P3の向き(棒状部材P2,P3の軸心方向から見たときの棒状部材P1の向き)も、当該棒状部材P1(棒状部材P2,P3)の周方向に45度の間隔で任意に選択設定することができる。
図18は、本発明の第六実施形態を示すものであって、この第六実施形態において使用される取付け部材としての継手31は、上記第五実施形態の継手25に使用した内側折れ曲がり挟持部材30(第四実施形態の継手19に使用した折れ曲がり挟持部材24A,24Bの一方)と同一の4つの折れ曲がり挟持部材32A〜32Dと、4本の締結用ボルトナット3とで構成される。
この継手31においては、図示のように、4つの折れ曲がり挟持部材32A〜32Dの折曲角部の外向きの第一挟持部21で前記棒状部材P1の長さ方向中間位置を周囲から包囲するように、4つの折れ曲がり挟持部材32A〜32Dを棒状部材P1の周囲に放射状に配置すると共に、互いに向かい合って隣り合う折れ曲がり挟持部材32Aの第三挟持部23と折れ曲がり挟持部材32Bの第二挟持部22との間、折れ曲がり挟持部材32Bの第三挟持部23と折れ曲がり挟持部材32Cの第二挟持部22との間、折れ曲がり挟持部材32Cの第三挟持部23と折れ曲がり挟持部材32Dの第二挟持部22との間、及び折れ曲がり挟持部材32Dの第三挟持部23と折れ曲がり挟持部材32Aの第二挟持部22との間、にそれぞれ前記棒状部材P2〜P5(棒状部材P5は、他の棒状部材P1〜P4と同一)の端部を差し込んだ状態で、4本の締結用ボルトナット3により、それぞれ棒状部材P2〜P5の端部を各別に挟む第二挟持部22と第三挟持部23とを締結して、4つの折れ曲がり挟持部材32A〜32Dを一体化する。
上記のように継手31を使用することにより、棒状部材P1の長さ方向中間位置に対して4本の棒状部材P2〜P5をそれぞれT字形に接続することができるが、これら4本の棒状部材P2〜P5は、棒状部材P1の軸心方向に関して同一位置で且つ棒状部材P1の軸心に対し直角向きに位置すると共に、棒状部材P1の軸心方向から見て4本の棒状部材P2〜P5は互いに直角をなす向きに固定される。このとき、隣り合う2つの第二挟持部22と第三挟持部23との間での棒状部材P2〜P5の端部に対する挟持固定作用は、先の継手1,16における棒状部材P2,P3の端部に対する挟持固定作用と全く同一であり、4つの折れ曲がり挟持部材32A〜32Dの第一挟持部21による棒状部材P1に対する固定作用は、棒状部材P1の正8角形の外側面の内、周方向90度間隔に位置する側面6b,6c,7b,7cに対して4つの第一挟持部21の内側面8dがそれぞれ圧接して、棒状部材P1を周囲から自動調心的に挟み付けて包囲するので、継手31は棒状部材P1に対し強力且つ安定的に固定される。勿論、棒状部材P1の軸心方向から見たときの棒状部材P2〜P5の向き(棒状部材P2,P4又はP3,P5の軸心方向から見たときの棒状部材P1の向き)も、当該棒状部材P1(棒状部材P2,P3又はP3,P5)の周方向に45度の間隔で任意に選択設定することができる。
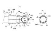
図19〜図23は、本発明の第七実施形態を示すものであって、この第七実施形態において使用される取付け部材としての継手33は、2つの挟持部材34A,34Bと1本の締結用ボルトナット3を使用して、2本の棒状部材P1,P2を互いに直角に交叉する状態で結合するものであって、各挟持部材34A,34Bは、それぞれ1枚の金属板をプレス加工して一体成形したものであり、それぞれ前記外広がり折曲内側面8a〜8cを備えた第一挟持部35と第二挟持部36を両端に、各挟持部35,36の長さ方向(嵌合する棒状部材P1,P2の軸心方向)が互いに直交するように中間部で捩じって形成し、各挟持部材34A,34Bを、第一挟持部35どうし、第二挟持部36どうしが向かい合うように重ねたとき、両挟持部35,36間に45度に捩じられた傾斜板部37が互いに平行状態で対面するように構成され、この傾斜板部37にボルト孔38が設けられている。更に、各挟持部35,36の遊端側には、向かい合う挟持部35,35の遊端部どうし及び向かい合う挟持部36,36の遊端部どうしを互いに係脱自在に係合させる係合部39,40が設けられている。
上記の継手33においては、一方の挟持部材34Aの第一挟持部35を棒状部材P1に嵌合すると共に第二挟持部36を棒状部材P2に嵌合させた状態で、他方の挟持部材34Bを、挟持部材34Aとの間で棒状部材P1,P2を挟むように、その第一挟持部35を棒状部材P1に嵌合すると共に第二挟持部36を棒状部材P2に嵌合させることになる。即ち、両挟持部材34A,34Bは、図20に示すように、互いに直角に交叉する2本の棒状部材P1,P2に対して斜め45度の方向で相対的に接近移動することになる。従って、前記係合部39,40は、両挟持部材34A,34Bを斜め45度の方向で相対的に接近移動させたときに互いに係合し合う形状の爪部39a,40aによって構成され、両爪部39aどうし又は両爪部40aどうしが係合し合うと、両挟持部材34A,34Bの第一挟持部35及び第二挟持部36が、これら挟持部35,36が挟む棒状部材P1,P2の周方向に離間移動することは爪部39a,40aによって阻止される。
而して、両挟持部材34A,34Bの中間の互いに平行に対面する傾斜板部37にボルト孔38を利用して締結用ボルトナット3のボルト3aを挿通し、ナット3bを螺合締結することにより、両挟持部材34A,34Bを互いに締結すれば、両挟持部材34A,34Bの第一挟持部35間で棒状部材P1を挟持固定すると同時に両挟持部材34A,34Bの第二挟持部36間で棒状部材P2を挟持固定することができ、このとき両棒状部材P1,P2は、互いに直角に交叉する相対位置関係で固定されることになる。而して、第一挟持部35間での棒状部材P1の挟持固定作用及び第二挟持部36間での棒状部材P2の挟持固定作用は、各挟持部35,36が外広がり折曲内側面8a〜8cを備えていることと、各挟持部35,36の遊端側の開きを阻止する係合部39,40を備えていることにより、先の継手1,13における第一挟持部4の棒状部材P1に対する挟持固定作用と全く同一であり、棒状部材P1,P2に対する継手33の締結は強力且つ安定的に行われる。又、棒状部材P1の軸心方向から見たときの棒状部材P2の向き(棒状部材P2の軸心方向から見たときの棒状部材P1の向き)も、当該棒状部材P1(棒状部材P2)の周方向に45度の間隔で任意に選択設定することができる。
図24〜図27は、本発明の第八実施形態を示すものであって、この第八実施形態において使用される取付け部材としての継手41は、一端に第一挟持部4を備えた2つの第一挟持部材42A,42Bと、一端に第二挟持部5を備えた2つの第二挟持部材43A,43Bとを、第一挟持部材42A,42Bを互いに締結する締結用ボルトナット44の周りで相対的に揺動自在に軸支連結したヒンジ構造のものである。
第一挟持部4は、前記継手1,13の係合部10を含む第一挟持部4と同一であり、第二挟持部5は、前記継手1,13の第二挟持部5と同一である。而して、第一挟持部材42A,42Bには、第一挟持部4の係合部10のある側とは反対側から、この第一挟持部4が挟持する棒状部材P1に対して直角横向きに延出し且つ締結用ボルトナット44のボルト44aが挿通されるボルト孔45と、当該締結用ボルトナット44のボルト頭部やナット44bの一部が嵌合する凹溝部46とを備えた軸受け部47が連設され、第二挟持部材43A,43Bには、第二挟持部5から、この第二挟持部5が挟持する棒状部材P2の延長方向に、締結用ボルトナット48のボルト48aが挿通されるボルト孔49と、当該締結用ボルトナット48のボルト頭部やナット48bの一部が嵌合する凹溝部50を備えた一段低い締結用段部51が連設されると共に、この締結用段部51の先端から延出し且つ前記第一挟持部材42A,42B側の軸受け部47間に遊嵌する、更に一段低い軸受け部52が連設され、この軸受け部52に前記締結用ボルトナット44のボルト44aが挿通されるボルト孔53が設けられている。
上記継手41においては、先ず第二挟持部材43A,43Bの第二挟持部5間に棒状部材P2の端部を挟み付けた状態で、両第二挟持部材43A,43Bの締結用段部51を締結用ボルトナット48により締結して、両第二挟持部材43A,43Bを一体化すると同時に棒状部材P2の端部に第二挟持部5を利用して強固に挟持固定する。このとき、締結用ボルトナット48のボルト頭部の一部は一方の締結用段部51の凹溝部50に自転可能に遊嵌し、ナット48bの一部は他方の締結用段部51の凹溝部50に一部が嵌合して回り止めされる。次に、棒状部材P1の長さ方向中間所定位置に対して第一挟持部材42A,42Bの第一挟持部4を両側から挟み付けた状態で、当該第一挟持部材42A,42Bの互いに平行に延出する軸受け部47を、前記第二挟持部材43A,43B側の互いに重なり合っている軸受け部52に外嵌させ、これら軸受け部47,52にボルト孔45,49を利用して締結用ボルトナット44のボルト44aを挿通し、ナット44bを螺合締結する。
第一挟持部材42A,42Bの第一挟持部4は、係合部10により遊端側が開くのを阻止されているので、締結用ボルトナット44の締結により、当該挟持部4は棒状部材P1に強固に挟持固定されるが、両軸受け部47間の間隔は、その間に入り込んでいる第二挟持部材43A,43Bが締結用ボルトナット44のボルト44aの周りに回転するのを許す間隔に維持される。締結用ボルトナット44のボルト頭部の一部は一方の軸受け部47凹溝部46に自転可能に遊嵌し、ナット44bの一部は他方の軸受け部47の凹溝部46に一部が嵌合して回り止めされる。尚、第二挟持部材43A,43Bの軸受け部52は、締結用段部51どうしを締結用ボルトナット48で締結したとき、第二挟持部5の先端が開くように第二挟持部材43A,43Bが傾動しないように、又はその傾動が問題ない程度に抑えられるように、先端どうしが互いに当接する(図では離れている)ように構成するのが望ましい。
上記のようにして継手41により棒状部材P1,P2を連結すれば、棒状部材P1を挟持固定している第一挟持部材42A,42Bと棒状部材P2を挟持固定している第二挟持部材43A,43Bとが締結用ボルトナット44のボルト44aの周りで相対的に揺動自在であるから、棒状部材P1と当該棒状部材P1に対しT字形に接続された棒状部材P2とは、両棒状部材P1,P2の軸心に対して直交ずる向きの支軸である締結用ボルトナット44(ボルト44a)の周りで相対的に揺動自在となる。尚、各棒状部材P1,P2に対する挟持固定作用は先の継手1,13と同一であり、棒状部材P1の軸心方向から見たときの棒状部材P2の向き(棒状部材P2の軸心方向から見たときの棒状部材P1の向き)も、当該棒状部材P1(棒状部材P2)の周方向に45度の間隔で任意に選択設定することができる。
図30及び図31は、本発明の第九実施形態を示すものであって、この第九実施形態において使用される取付け部材としての継手54は、2つの挟持部材55A,55Bと1本の締結用ボルトナット3とから構成されたもので、各挟持部材55A,55Bは、第二実施形態で示した継手13の挟持部材2A,2Bにおける第一挟持部4を第一挟持部4Aとし、当該継手13の挟持部材2A,2Bにおける第二挟持部5に代えて、前記第一挟持部4Aと同一の第二挟持部4Bを対称に配設したものである。
この継手54によれば、両挟持部材55A,55Bにおける第一挟持部4A間と第二挟持部4B間とにそれぞれ棒状部材P1,P2を挟持させた状態で、両挟持部材55A,55Bを締結用凹部14において締結用ボルトナット3で互いに締結することにより、2本の棒状部材P1,P2を互いに平行に並列する状態に連結することができる。
図32は、本発明の第十実施形態を示すものであって、この第十実施形態において使用される取付け部材としての継手56は、2つの挟持部材57A,57Bと1本の締結用ボルトナット3とから構成されたもので、各挟持部材57A,57Bは、第二実施形態で示した継手13の各挟持部材2A,2Bにおける第二挟持部5に代えて、第一挟持部4が挟持する棒状部材P1と平行向きの丸パイプ材P6の長さ方向の中間部を両側から挟持できる円弧面8gを備えた第二挟持部58を設けたものである。この第二挟持部58にも、その遊端部どうしを係合する前記係合部10を設けている。
この継手56によれば、前記棒状部材P1と一般的な丸パイプ材P6とを互いに平行に並列する状態に連結することができる。この場合、締結用ボルトナット3を締め付けても、両挟持部材57A,57Bの第一挟持部4が棒状部材P1を挟持固定するだけで、第二挟持部58は、丸パイプ材P6に対してその軸心の周りで相対回転できる状態に当該丸パイプ材P6を保持するように構成すれば、丸パイプ材P6の軸心の周りで棒状部材P1を回転させることができるヒンジとして継手56を利用することができる。このとき、丸パイプ材P6に円筒体を相対回転自在に遊嵌させ、この円筒体を前記第二挟持部58で強固に挟持固定させるように構成することも可能である。
図33及び図34は、本発明の第十一実施形態を示すものであって、この第十一実施形態において使用される取付け部材としての継手59は、2つの挟持部材60A,60Bと2本の締結用ボルトナット3とから構成されたもので、各挟持部材60A,60Bは、その一側辺側に、第二実施形態で示した継手13の各挟持部材2A,2Bにおける第一挟持部4と同一構造で、その長さ(挟持する棒状部材P1の長さ方向の寸法)のみが2倍以上長い第一挟持部4が設けられ、他側辺側には、前記第一挟持部4と直角向きで且つ当該第一挟持部4の長さ方向に並列する2つの第二挟持部5Aと第三挟持部5Bとが設けられたものである。これら2つの第二挟持部5Aと第三挟持部5Bは、それぞれ第二実施形態で示した継手13の挟持部材2A,2Bにおける第二挟持部5と同一のものであって、これら第二挟持部5Aと第一挟持部4との間の締結用凹部14及び第三挟持部5Bと第一挟持部4との間の締結用凹部14がそれぞれ締結用ボルトナット3で互いに締結される。
この継手59によれば、両挟持部材60A,60Bの第一挟持部4間で棒状部材P1の長さ方向の中間部分を挟持させると共に、両挟持部材60A,60Bの第二挟持部5A間及び第三挟持部5B間に棒状部材P2,P3の端部を挟持させた状態で、両挟持部材60A,60Bの2箇所をそれぞれ締結用ボルトナット3で締結一体化することにより、2本の棒状部材P2,P3を、これら両棒状部材P2,P3が互いに平行に並列する状態で棒状部材P1に対し直角向きに連結することができる。
尚、図35に示すように、上記継手59は、両挟持部材60A,60Bの第一挟持部4、第二挟持部5A、及び第三挟持部5Bで囲まれた中央一箇所において両挟持部材60A,60Bを1本の締結用ボルトナット3で締結一体化するように構成しても良い。
図36は、本発明の第十二実施形態を示すものであって、この第十二実施形態において使用される取付け部材としての継手61は、2つの挟持部材62A,62Bと1本の締結用ボルトナット3とから構成されたもので、各挟持部材62A,62Bは、第二実施形態で示した継手13の各挟持部材2A,2Bの第二挟持部5を第一挟持部5とし、当該挟持部材2A,2Bの第一挟持部4に代えて、第十実施形態における継手56の第二挟持部58と同一の、丸パイプ材P6の長さ方向の中間部を両側から挟持できる円弧面8gを備えた第二挟持部58を設けたものである。
この継手61によれば、両挟持部材62A,62Bの第二挟持部58間で一般的な丸パイプ材P6の長さ方向の中間部分を挟持させると共に、第一挟持部5間に棒状部材P1の端部を挟持させた状態で、両挟持部材62A,62Bの締結用凹部14どうしを締結用ボルトナット3で締結一体化することにより、丸パイプ材P6に対して棒状部材P1をT字形に連結することができる。この場合も、先に説明したように、締結用ボルトナット3を締め付けても、両挟持部材挟持部材62A,62Bの第一挟持部5が棒状部材P1の端部を挟持固定するだけで、第二挟持部58は、丸パイプ材P6に対してその軸心の周りで相対回転できる状態に当該丸パイプ材P6を保持するように構成すれば、丸パイプ材P6の軸心の周りで直角向きの棒状部材P1を回転させることができるヒンジとして継手61を利用することができる。勿論、このときも、丸パイプ材P6に円筒体を相対回転自在に遊嵌させ、この円筒体を前記第二挟持部58で強固に挟持固定させるように構成することが可能である。
図37は、本発明の第十三実施形態を示すものであって、この第十三実施形態において使用される取付け部材としての継手63は、2つの挟持部材64A,64Bと1本の締結用ボルトナット3とから構成されたもので、各挟持部材64A,64Bは、第二実施形態で示した継手13の各挟持部材2A,2Bにおける第二挟持部5に代えて、第一挟持部4が挟持する棒状部材P1に対してT字形に配置される丸パイプ材P6の端部を両側から挟持できる円弧面8gを備えた第二挟持部65が設けられている。
この継手63によれば、両挟持部材64A,64Bの第一挟持部4間で棒状部材P1の長さ方向の中間部分を挟持させると共に、第二挟持部65間に一般的な丸パイプ材P6の端部を挟持させた状態で、両挟持部材64A,64Bの締結用凹部14どうしを締結用ボルトナット3で締結一体化することにより、棒状部材P1に対して丸パイプ材P6をT字形に連結することができる。この継手67では、締結用ボルトナット3で両挟持部材64A,64Bを互いに締結したとき、第二挟持部65は丸パイプ材P6の端部を強固に挟持固定できるように構成しなければならない。
図38〜図40は、本発明の第十四実施形態を示すものであって、この第十四実施形態において使用される取付け部材としての継手66は、第十二実施形態における継手61と同一構造の継手にヒンジ用円筒体67を組み込んだものである。このヒンジ用円筒体67は、軸心方向両端に外側に張り出すフランジ部68a,68bを備えると共に、中央貫通孔が、前記棒状部材P2が軸心方向移動のみ可能に挿通される正8角形の角孔69に構成されたものであり、この角孔69に前記棒状部材P2を挿通させたヒンジ用円筒体67を、この継手66(継手61と同一構造のもの)の第二挟持部58間に挟持させると共に、第一挟持部5間に棒状部材P1の端部を挟持させた状態で、両挟持部材62A,62Bを締結用ボルトナット3で締結する。このとき、第一挟持部5は棒状部材P1を強固に挟持固定するが、第二挟持部58は、ヒンジ用円筒体67をその軸心の周りに相対回転自在に保持するように、締結用ボルトナット3で締結したときの第二挟持部58の円弧面8gが形成する最小直径がヒンジ用円筒体67のフランジ部68a,68b間の胴部外径よりも若干大きくなるように構成されている。又、このときフランジ部68a,68bは、第二挟持部58の棒状部材P2の長さ方向の両側辺に隣接し、この第二挟持部58に対するヒンジ用円筒体67の軸心方向の移動を実質的に阻止している。
この継手66によれば、棒状部材P2と当該棒状部材P2に対してT字形に配置された棒状部材P1とを、棒状部材P2の軸心の周りに相対回転可能に連結するヒンジとして継手66を利用することができる。
上記各実施形態で示した継手では、例えば継手13を例にとって説明すると、挟持部材2A,2Bの第一挟持部4(又は第二挟持部5)が棒状部材P1を直径方向の両側から挟む挟持方向が、棒状部材P1の横断面における対称平面どうしを結ぶ方向に一致するように構成している。しかし本発明を実施する場合、図41〜図43に例示するように、挟持部材2A,2Bの第一挟持部4が棒状部材P1を直径方向の両側から挟む挟持方向が、棒状部材P1の横断面における対角線方向に一致するように構成することもできる。この場合、両挟持部材2A,2Bを締結用ボルトナット3で締結したとき、棒状部材P1の角柱状外側面の内、対称位置にあって周方向に山形に隣接する2側面6d,6e及び7d,7eに各第一挟持部4の外広がり折曲内側面における山形状2側面8h,8iが当接するように構成するか又は、前記2側面6d,6e及び7d,7eを挟む対称2側面6f,6g及び7f,7gに各第一挟持部4の外広がり折曲内側面における対称2側面8j,8kが圧接するように構成することができる。
尚、上記構成において、両挟持部材2A,2Bの第一挟持部4の遊端側に係合部10を設ける場合には、図41に示すように、第一挟持部4が挟持する棒状部材P1の角柱状側面の内、外側(第二挟持部5のある側とは反対側)に位置する傾斜側面(6f又は7f)に隣接するように前記係合部10を両第一挟持部4の遊端から連設すれば良い。この場合は、前記傾斜側面(6f又は7f)と平行な方向に両挟持部材2A,2Bの第一挟持部4を棒状部材P1に対して嵌合させることになる。又、一方の挟持部材2Aの第一挟持部4と他方の挟持部材2Bの第一挟持部4の外広がり折曲内側面の周方向の側面の数が異なる結果になる。この両第一挟持部4の外広がり折曲内側面の周方向の側面の数を同一にし且つ両挟持部材2A,2Bの第一挟持部4を棒状部材P1に対して嵌合させる方向を直角向きにするために、図42に示すように、両第一挟持部4の遊端から、棒状部材P1の傾斜側面(6f又は7f)と干渉しないように外側に張り出させて係合部10を連設することもできる。勿論、図43に示すように、係合部10を設けないで実施することもできる。
上記図41〜図43に基づいて説明した構成は、継手13における第一挟持部4のみでなく、上記各実施形態に示した各種継手において、横断面が正8角形の棒状部材P1〜P5を挟持する挟持部材の挟持部に採用することができる。又、以上の実施形態では、横断面正8角形の外側面を有する棒状部材として、中空のパイプ材を示したが、中実の棒状部材であっても良いし、材質も問わない。勿論、図示省略しているが、横断面正16角形の外側面を有する棒状部材を使用しても、同一の作用効果が得られることは明白である。更に、全ての実施形態において、本発明の棒状部材とこれに挟持固定される取付け部材を、当該棒状部材に対する他の棒状部材の継手として具体化した構成を示したが、先に説明したように、棒状部材に挟持固定される取付け部材には、例えば棚受け部、棒状部材以外の別部品(例えば壁板)を取り付ける別部品取付け部、脚部(設置レベル調整のためのアジャスター付きの脚部を含む)、その他の種々のものを設けて、継手以外の用途にも供し得る。
更に、上記各実施形態に示すように本発明を継手構造として実施する場合でも、継手(取付け部材)と1つの棒状部材(横断面正8角形の外側面を有する棒状部材)との結合構造は本発明に従って構成されるが、当該継手と他の棒状部材との結合構造は、当該他の棒状部材(例えば丸パイプや横断面正4角形の角パイプなど)の断面形状に適応した、従来周知の種々の結合構造が採用できるものである。
A図は第一実施形態を示す正面図、B図は同平面図、C図は同左側面図、D図は同右側面図である。 図1Aの拡大縦断正面図である。 同実施形態を示す分解正面図である。 A図は同実施形態での1つの挟持部材の内側面を示す平面図、B図はA図のA−A線断面図、C図はA図の係合部側の側面図である。 第二実施形態を示す正面図である。 同底面図である。 図5の拡大縦断正面図である。 同実施形態を示す分解正面図である。 A図は同実施形態での1つの挟持部材の内側面を示す平面図、B図はA図のB−B線断面図である。 第三実施形態を示す正面図である。 同底面図である。 同実施形態での2つの挟持部材の縦断正面図である。 第四実施形態を示す正面図である。 同平面図である。 同実施形態での3つの挟持部材の縦断正面図である。 第五実施形態を示す正面図である。 同実施形態での2つの挟持部材の縦断正面図である。 第六実施形態を示す正面図である。 第七実施形態を示す正面図である。 A図は同左側面図、B図は同右側面図である。 同背面図である。 図19のC−C線断面図である。 A図は同実施形態での1つの挟持部材を示す正面図、B図は同平面図、C図は同底面図、D図は同左側面図、E図は同右側面図である。 第八実施形態を示す正面図である。 同平面図である。 A図は同左側面図,B図は同右側面図である。 同実施形態を示す分解一部縦断正面図である。 同実施形態での一方の挟持部材を示す分解側面図である。 同実施形態での他方の挟持部材を示す分解一部縦断側面図である。 第九実施形態を示す正面図である。 同平面図である。 第十実施形態を示す正面図である。 第十一実施形態を示す正面図である。 A図は図33の左側面図、B図は図33の右側面図である。 第十一実施形態の変形例を示す正面図である。 第十二実施形態を示す正面図である。 A図は第十三実施形態を示す正面図、B図は同D−D線断面図である。 第十四実施形態を示す平面図である。 同正面図である。 この第十四実施形態で使用されるヒンジ用円筒体を示す斜視図である。 第二実施形態での継手の第一変形例を示す正面図である。 第二実施形態での継手の第二変形例を示す正面図である。 第二実施形態での継手の第三変形例を示す正面図である。
符号の説明
P1〜P5 横断面正8角形の棒状部材
P6 丸パイプ材
1,13,16,19,25,31,33,41,54,56,59,61,63,66 継手(取付け部材)
2A,2B,34A,34B,42A〜43B,55A,55B,57A,57B,60A,60B,62A,62B,64A,64B 挟持部材
3,44,48 締結用ボルトナット
4,4A,4B,5,5A,5B,17,21〜23,27,28,35,36 挟持部
6a〜7f,9a,9b 棒状部材の外側面
8a〜8k 挟持部の内側面
10,39,40 係合部
11 挟持部の平行両側板部
12,38,45,49,53 ボルト孔
14 締結用凹部
15,46,50 凹溝部
18A,18B,20 直線状挟持部材
29 外側折れ曲がり挟持部材
30 内側折れ曲がり挟持部材
24A,24B,32A〜32D 折れ曲がり挟持部材
37 傾斜板部
47,52 軸受け部
51 締結用段部
58,65 丸パイプ用の挟持部
67 ヒンジ用円筒体
68a,68b フランジ部
69 角孔

Claims (21)

  1. 棒状部材に対する部材取付け構造であって、棒状部材は、横断面において正8角形又は正16角形の外周面を備えたものとし、この棒状部材に対して取り付けられる取付け部材は、前記棒状部材を挟持する挟持部をそれぞれ有する少なくとも2つの挟持部材と、この挟持部材どうしを前記挟持部の挟持方向に互いに締結する締結用ボルトナットを備え、この締結用ボルトナットの締結により各挟持部材の挟持部が、前記棒状部材の角柱状外側面の内、周方向の少なくとも3側面に当接して、当該棒状部材をその軸心周りの相対回転不能に挟み付けて固定するように構成されている、棒状部材に対する部材取付け構造。
  2. 前記挟持部材の内、少なくとも1つの挟持部材の挟持部には、前記棒状部材の角柱状外側面の内、周方向に離れた対称位置にある2側面に当接する対称2側面を備えた外広がり折曲内側面が設けられている、請求項1に記載の棒状部材に対する部材取付け構造。
  3. 前記挟持部材の内、少なくとも1つの挟持部材の挟持部には、前記棒状部材の角柱状外側面の内、山形状に隣接する2側面に当接する外広がり折曲内側面が設けられている、請求項1に記載の棒状部材に対する部材取付け構造。
  4. 前記2つの挟持部材は、前記棒状部材に対し直交する向きに配置され、前記挟持部が前記棒状部材の長さ方向中間部を挟持する、請求項1〜3の何れか1項に記載の棒状部材に対する部材取付け構造。
  5. 前記2つの挟持部材は、前記棒状部材の延長向きに配置され、前記挟持部が前記棒状部材の端部を挟持する、請求項1〜3の何れか1項に記載の棒状部材に対する部材取付け構造。
  6. 前記取付け部材は、前記締結用ボルトナットの位置から片持ち状に突出する挟持部を備えた2つの挟持部材を有し、各挟持部の遊端側には、両挟持部の遊端の棒状部材周方向の離間移動を阻止する状態に互いに係合する係脱自在な係合部が設けられている、請求項4に記載の棒状部材に対する部材取付け構造。
  7. 前記取付け部材は、中間位置にそれぞれ挟持部を有する2つの直線状挟持部材を備え、前記締結用ボルトナットは、前記挟持部の両側に配設されている、請求項4に記載の棒状部材に対する部材取付け構造。
  8. 前記取付け部材は、折曲部内側に挟持部を有する外側折れ曲がり挟持部材と、折曲部外側に挟持部を有する内側折れ曲がり挟持部材とを備え、前記締結用ボルトナットは、前記挟持部の両側に配設されている、請求項4に記載の棒状部材に対する部材取付け構造。
  9. 前記外側折れ曲がり挟持部材の挟持部には、前記棒状部材の角柱状外側面の内、対称位置にある平行側面の一方と当該一側面を中心に対称位置にある2側面とに対面する外広がり折曲内側面が設けられ、内側折れ曲がり挟持部材の挟持部には、前記平行側面の他方の面に当接する内側面が設けられている、請求項8に記載の棒状部材に対する部材取付け構造。
  10. 前記取付け部材は、長さ方向の中間位置に挟持部を有する直線状挟持部材と、折曲部外側に挟持部を有する2つの折れ曲がり挟持部材とから成り、これら3つの挟持部材を各挟持部で1本の前記棒状部材を包囲挟持するように互いに締結一体化する締結用ボルトナットが配設されている、請求項4に記載の棒状部材に対する部材取付け構造。
  11. 前記直線状挟持部材の挟持部には、前記棒状部材の角柱状外側面の内、対称位置にある平行側面の一方と当該一側面を中心に対称位置にある2側面とに対面する外広がり折曲内側面が設けられ、2つの折れ曲がり挟持部材の挟持部には、前記平行側面の他方の面を中心に対称位置にある2側面にそれぞれ当接する内側面が設けられている、請求項10に記載の棒状部材に対する部材取付け構造。
  12. 前記取付け部材は、折曲部外側に挟持部を有する4つの折れ曲がり挟持部材から成り、これら4つの挟持部材を各挟持部で1本の前記棒状部材を包囲挟持するように互いに締結一体化する締結用ボルトナットが配設されている、請求項4に記載の棒状部材に対する部材取付け構造。
  13. 前記4つの折れ曲がり挟持部材の各挟持部には、前記棒状部材の角柱状外側面の内、周方向90度間隔で位置する4つの各側面に当接する内側面が設けられている、請求項12に記載の棒状部材に対する部材取付け構造。
  14. 前記棒状部材を挟持する挟持部を主挟持部として、互いに隣り合って前記主挟持部を構成する2つの挟持部材の遊端側には、前記棒状部材とは別の棒状部材を挟持する副挟持部が設けられている、請求項1〜13の何れか1項に記載の棒状部材に対する部材取付け構造。
  15. 前記副挟持部は、前記主挟持部が挟持する棒状部材に対し副挟持部が挟持する棒状部材が直角向きになるように設けられている、請求項14に記載の棒状部材に対する部材取付け構造。
  16. 前記副挟持部は2つ設けられ、これら2つの副挟持部は、これら2つの副挟持部が挟持する棒状部材が、互いに平行になるように設けられている、請求項15に記載の棒状部材に対する部材取付け構造。
  17. 前記副挟持部は、前記主挟持部が挟持する棒状部材と副挟持部が挟持する棒状部材とが互いに平行向きになるように設けられている、請求項14に記載の棒状部材に対する部材取付け構造。
  18. 前記取付け部材の主挟持部と副挟持部とは支軸の周りに相対揺動自在に連結されている、請求項14に記載の棒状部材に対する部材取付け構造。
  19. 前記支軸は、主挟持部と副挟持部との内、一方の挟持部を構成する2つの挟持部材を互いに締結する締結用ボルトナットで兼用されている、請求項18に記載の棒状部材に対する部材取付け構造。
  20. 前記副挟持部は、丸パイプ材を挟持するように円弧面で形成されている、請求項14〜19の何れか1項に記載の棒状部材に対する部材取付け構造。
  21. 丸パイプ材を挟持する前記副挟持部には、円筒体がその軸心の周りに自転可能に保持され、当該円筒体の内側貫通孔は、横断面において正8角形又は正16角形の外周面を備えた前記棒状部材が長さ方向移動のみ自在に挿入できる角孔に構成されている、請求項20に記載の棒状部材に対する部材取付け構造。
JP2007278391A 2007-10-26 2007-10-26 棒状部材に対する部材取付け構造 Expired - Fee Related JP5013263B2 (ja)

Priority Applications (4)

Application Number Priority Date Filing Date Title
JP2007278391A JP5013263B2 (ja) 2007-10-26 2007-10-26 棒状部材に対する部材取付け構造
TW97134518A TWI402434B (zh) 2007-10-26 2008-09-09 The component mounting structure of the rod-like element
CN2008801052383A CN101796310B (zh) 2007-10-26 2008-10-20 针对棒状构件的构件安装构造
PCT/JP2008/068965 WO2009054345A1 (ja) 2007-10-26 2008-10-20 棒状部材に対する部材取付け構造

Applications Claiming Priority (1)

Application Number Priority Date Filing Date Title
JP2007278391A JP5013263B2 (ja) 2007-10-26 2007-10-26 棒状部材に対する部材取付け構造

Publications (2)

Publication Number Publication Date
JP2009108872A JP2009108872A (ja) 2009-05-21
JP5013263B2 true JP5013263B2 (ja) 2012-08-29

Family

ID=40579450

Family Applications (1)

Application Number Title Priority Date Filing Date
JP2007278391A Expired - Fee Related JP5013263B2 (ja) 2007-10-26 2007-10-26 棒状部材に対する部材取付け構造

Country Status (4)

Country Link
JP (1) JP5013263B2 (ja)
CN (1) CN101796310B (ja)
TW (1) TWI402434B (ja)
WO (1) WO2009054345A1 (ja)

Cited By (1)

* Cited by examiner, † Cited by third party
Publication number Priority date Publication date Assignee Title
US10917039B2 (en) 2016-06-12 2021-02-09 Array Technologies, Inc. Clip-on mounting rails, mounting brackets, and methods of mounting solar modules

Families Citing this family (7)

* Cited by examiner, † Cited by third party
Publication number Priority date Publication date Assignee Title
GB201407610D0 (en) * 2014-04-30 2014-06-11 Oda Systems Ltd Bracket for an access platform
DK3124800T3 (da) * 2015-07-31 2019-08-19 Mobility Holdings Ltd Spændeanordning med affjedring
US10151336B2 (en) 2015-08-03 2018-12-11 Mobility Holdings, Limited Clamp device with resilience
US10106992B2 (en) 2015-09-23 2018-10-23 Oda Systems Ltd Bracket for an access platform
CN109292585A (zh) * 2018-11-02 2019-02-01 中际联合(北京)科技股份有限公司 一种电网塔架用智能升降系统
KR102125654B1 (ko) * 2019-11-06 2020-07-07 한지현 파이프 조인트 및 이를 사용한 파이프 조립물
FR3109973B1 (fr) * 2020-05-11 2022-06-24 Gallou Alexandra Le Bride de fixation et procede de fabrication

Family Cites Families (10)

* Cited by examiner, † Cited by third party
Publication number Priority date Publication date Assignee Title
JPS608504U (ja) * 1983-06-29 1985-01-21 矢崎化工株式会社 合成樹脂製の継手
JPH08159119A (ja) * 1994-12-07 1996-06-18 N I Shi Auto Tec Kk 連結材
DE19855928A1 (de) * 1998-12-04 2000-06-08 Wolfgang Rixen Verbindung zweier Profilstäbe
JP4735790B2 (ja) * 2000-07-13 2011-07-27 株式会社豊夢 接合具及びそれを用いた構造部材間の接合構造
CN2534408Y (zh) * 2001-03-16 2003-02-05 陈远宪 安全快速装拆扣件
JP4256666B2 (ja) * 2002-11-19 2009-04-22 矢崎化工株式会社 継手とパイプの結合構造
JP4232872B2 (ja) * 2004-01-19 2009-03-04 有限会社ショーエイ商事 継手、継手の分割体、及び継手の組立て方法
CN2755337Y (zh) * 2004-12-20 2006-02-01 冯超 分体组合式交叉连接器
CN200958506Y (zh) * 2006-07-31 2007-10-10 朱国一 铰链式连接头
CN200955532Y (zh) * 2006-08-28 2007-10-03 杨琢亮 管架的接头结构

Cited By (1)

* Cited by examiner, † Cited by third party
Publication number Priority date Publication date Assignee Title
US10917039B2 (en) 2016-06-12 2021-02-09 Array Technologies, Inc. Clip-on mounting rails, mounting brackets, and methods of mounting solar modules

Also Published As

Publication number Publication date
TW200928135A (en) 2009-07-01
JP2009108872A (ja) 2009-05-21
CN101796310B (zh) 2012-07-25
WO2009054345A1 (ja) 2009-04-30
CN101796310A (zh) 2010-08-04
TWI402434B (zh) 2013-07-21

Similar Documents

Publication Publication Date Title
JP5013263B2 (ja) 棒状部材に対する部材取付け構造
KR101926130B1 (ko) 원터치식 철근 커플러
JP2005133796A (ja) パイプ継手
JP5017225B2 (ja) 折板屋根用取付具
CN103649566A (zh) 在端部处具有锁定系统的拉杆
JP6313737B2 (ja) ブレース連結金具
JP5557358B2 (ja) 油圧ダンパ
JP5222887B2 (ja) 屋根上取付具
JP5101247B2 (ja) 構造材の結合構造
KR100882567B1 (ko) 자기결착형 볼트 체결구조
JP5594758B2 (ja) 柱継手構造
JP2004353348A (ja) 鉄骨材の連結機構
JP2007146881A (ja) 締付装置および車両用防護柵
JP2005232832A (ja) 制震用油圧ダンパ
US12492764B2 (en) Quick coupler
KR20190003135A (ko) 세 방향 또는 네 방향 파이프 체결용 클램프
JP5588791B2 (ja) 屋根上取付具
JP7416405B2 (ja) パネル用コーナージョイント
JP4084315B2 (ja) ブレース連結構造及びその設置方法
JP5419295B2 (ja) パイプ接続構造
JP2020041276A (ja) 杭継手および鋼管杭
US20220307633A1 (en) Quick coupler
JP3511377B2 (ja) 連結用木材の連結金具
JP7603410B2 (ja) 鋼管継手
JP2006233528A (ja) 剛性が異なる部材を接合した複合部材、および、剛性が異なる部材を接合するための接合構造

Legal Events

Date Code Title Description
A621 Written request for application examination

Free format text: JAPANESE INTERMEDIATE CODE: A621

Effective date: 20091217

TRDD Decision of grant or rejection written
A01 Written decision to grant a patent or to grant a registration (utility model)

Free format text: JAPANESE INTERMEDIATE CODE: A01

Effective date: 20120511

A01 Written decision to grant a patent or to grant a registration (utility model)

Free format text: JAPANESE INTERMEDIATE CODE: A01

A61 First payment of annual fees (during grant procedure)

Free format text: JAPANESE INTERMEDIATE CODE: A61

Effective date: 20120524

FPAY Renewal fee payment (event date is renewal date of database)

Free format text: PAYMENT UNTIL: 20150615

Year of fee payment: 3

R150 Certificate of patent or registration of utility model

Ref document number: 5013263

Country of ref document: JP

Free format text: JAPANESE INTERMEDIATE CODE: R150

Free format text: JAPANESE INTERMEDIATE CODE: R150

R250 Receipt of annual fees

Free format text: JAPANESE INTERMEDIATE CODE: R250

R250 Receipt of annual fees

Free format text: JAPANESE INTERMEDIATE CODE: R250

R250 Receipt of annual fees

Free format text: JAPANESE INTERMEDIATE CODE: R250

R250 Receipt of annual fees

Free format text: JAPANESE INTERMEDIATE CODE: R250

R250 Receipt of annual fees

Free format text: JAPANESE INTERMEDIATE CODE: R250

LAPS Cancellation because of no payment of annual fees