JP5000293B2 - 不揮発性半導体メモリ装置 - Google Patents

不揮発性半導体メモリ装置 Download PDF

Info

Publication number
JP5000293B2
JP5000293B2 JP2006356457A JP2006356457A JP5000293B2 JP 5000293 B2 JP5000293 B2 JP 5000293B2 JP 2006356457 A JP2006356457 A JP 2006356457A JP 2006356457 A JP2006356457 A JP 2006356457A JP 5000293 B2 JP5000293 B2 JP 5000293B2
Authority
JP
Japan
Prior art keywords
capacitor
insulating film
electrode
memory device
active region
Prior art date
Legal status (The legal status is an assumption and is not a legal conclusion. Google has not performed a legal analysis and makes no representation as to the accuracy of the status listed.)
Expired - Fee Related
Application number
JP2006356457A
Other languages
English (en)
Other versions
JP2007184612A (ja
Inventor
イルソク ハン
Current Assignee (The listed assignees may be inaccurate. Google has not performed a legal analysis and makes no representation or warranty as to the accuracy of the list.)
MagnaChip Semiconductor Ltd
Original Assignee
MagnaChip Semiconductor Ltd
Priority date (The priority date is an assumption and is not a legal conclusion. Google has not performed a legal analysis and makes no representation as to the accuracy of the date listed.)
Filing date
Publication date
Application filed by MagnaChip Semiconductor Ltd filed Critical MagnaChip Semiconductor Ltd
Publication of JP2007184612A publication Critical patent/JP2007184612A/ja
Application granted granted Critical
Publication of JP5000293B2 publication Critical patent/JP5000293B2/ja
Expired - Fee Related legal-status Critical Current
Anticipated expiration legal-status Critical

Links

Images

Classifications

    • HELECTRICITY
    • H10SEMICONDUCTOR DEVICES; ELECTRIC SOLID-STATE DEVICES NOT OTHERWISE PROVIDED FOR
    • H10BELECTRONIC MEMORY DEVICES
    • H10B41/00Electrically erasable-and-programmable ROM [EEPROM] devices comprising floating gates
    • H10B41/10Electrically erasable-and-programmable ROM [EEPROM] devices comprising floating gates characterised by the top-view layout
    • HELECTRICITY
    • H10SEMICONDUCTOR DEVICES; ELECTRIC SOLID-STATE DEVICES NOT OTHERWISE PROVIDED FOR
    • H10BELECTRONIC MEMORY DEVICES
    • H10B41/00Electrically erasable-and-programmable ROM [EEPROM] devices comprising floating gates
    • H10B41/30Electrically erasable-and-programmable ROM [EEPROM] devices comprising floating gates characterised by the memory core region
    • HELECTRICITY
    • H10SEMICONDUCTOR DEVICES; ELECTRIC SOLID-STATE DEVICES NOT OTHERWISE PROVIDED FOR
    • H10BELECTRONIC MEMORY DEVICES
    • H10B41/00Electrically erasable-and-programmable ROM [EEPROM] devices comprising floating gates
    • H10B41/60Electrically erasable-and-programmable ROM [EEPROM] devices comprising floating gates the control gate being a doped region, e.g. single-poly memory cell
    • HELECTRICITY
    • H10SEMICONDUCTOR DEVICES; ELECTRIC SOLID-STATE DEVICES NOT OTHERWISE PROVIDED FOR
    • H10BELECTRONIC MEMORY DEVICES
    • H10B69/00Erasable-and-programmable ROM [EPROM] devices not provided for in groups H10B41/00 - H10B63/00, e.g. ultraviolet erasable-and-programmable ROM [UVEPROM] devices
    • HELECTRICITY
    • H10SEMICONDUCTOR DEVICES; ELECTRIC SOLID-STATE DEVICES NOT OTHERWISE PROVIDED FOR
    • H10DINORGANIC ELECTRIC SEMICONDUCTOR DEVICES
    • H10D30/00Field-effect transistors [FET]
    • H10D30/60Insulated-gate field-effect transistors [IGFET]
    • H10D30/68Floating-gate IGFETs
    • H10D30/681Floating-gate IGFETs having only two programming levels
    • H10D30/683Floating-gate IGFETs having only two programming levels programmed by tunnelling of carriers, e.g. Fowler-Nordheim tunnelling
    • HELECTRICITY
    • H10SEMICONDUCTOR DEVICES; ELECTRIC SOLID-STATE DEVICES NOT OTHERWISE PROVIDED FOR
    • H10DINORGANIC ELECTRIC SEMICONDUCTOR DEVICES
    • H10D30/00Field-effect transistors [FET]
    • H10D30/60Insulated-gate field-effect transistors [IGFET]
    • H10D30/68Floating-gate IGFETs
    • H10D30/6891Floating-gate IGFETs characterised by the shapes, relative sizes or dispositions of the floating gate electrode

Landscapes

  • Semiconductor Memories (AREA)
  • Non-Volatile Memory (AREA)

Description

本発明は、不揮発性半導体メモリ装置に関し、さらに詳細には、埋め込み半導体装置で書き込みと消去を繰り返し得る不揮発性メモリ機能を提供する不揮発性半導体メモリ装置に関する。
デジタル機器の使用の増加に伴い、情報を格納するための記憶装置は必須機能として、特に情報の書き込み/消去を繰り返し得る不揮発性半導体メモリ装置は、その使用が次第に増加しつつある。
不揮発性メモリ機能を有する埋め込み(embedded)半導体装置は、メモリ素子とこれを駆動するためのロジック(logic)回路を単一チップで実現したものであり、ロジック半導体製造技術と不揮発性メモリ装置の製造技術を統合して製造される。
図1は、従来の不揮発性半導体メモリ装置のセル構造を示す断面図である。
図1に示すように、従来の不揮発性半導体メモリ装置は、半導体基板10に第1絶縁膜20のトンネリング酸化膜を媒介としてフローティング電極30が形成されており、フローティング電極30上に第2絶縁膜40を媒介としてコントロール電極50を積層した構造で形成されている。
このように、二重ゲート構造を有するスタックゲート型のセル構造を適用した従来の不揮発性半導体メモリ装置が、埋め込み半導体装置の不揮発性メモリとして用いられる場合に、不揮発性メモリセルを形成するために、ロジック回路工程にトンネリング酸化膜形成、フローティング電極30の形成、フローティング電極上に第2絶縁膜40を形成しコントロール電極50を形成するなどの追加工程が必須となる。これにより、工程が複雑となり、原価が増加するという問題がある。
また、集積度の増加につれて、積層した形態の不揮発性メモリセルを使用する場合、トポロジー(topology)の過度な増加により後続工程で平坦化が難しくなり、工程の難易度が増加するという問題がある。
本発明は、上述の問題点に鑑みてなされたもので、その目的は、積層された電極構造を有さず、かつ、従来のロジック回路製造工程と共に使用することができる不揮発性半導体メモリ装置を提供することにある。
上記の目的を達成すべく、本発明の実施の形態に係る不揮発性半導体メモリ装置は、半導体基板と、前記半導体基板に形成された第1活性領域及び第2活性領域と、前記第1活性領域及び第2活性領域とを分離する素子分離領域と、前記第1活性領域に第1絶縁膜を媒介として該第1絶縁膜上に形成されるセンス用トランジスタのゲート電極と、前記第1活性領域に第2絶縁膜を媒介として該第2絶縁膜上に形成され第1キャパシタのトンネリング電極と、前記第2活性領域内に第3絶縁膜を媒介として該第3絶縁膜上に形成され第2キャパシタのコントロール電極と、を備え、前記第2キャパシタのコントロール電極は、前記素子分離領域とはオーバーラップせずに配置され、寄生キャパシタンスを減らし、前記センス用トランジスタのゲート電極、前記第1キャパシタのトンネリング電極及び第2キャパシタのコントロール電極は平面上、互いに分離されており、前記第2キャパシタのコントロール電極は金属ラインによって、それぞれ前記センス用トランジスタのゲート電極及び前記第1キャパシタのトンネリング電極に電気的に接続されたことを特徴とする。
好ましい実施の形態において、前記第1キャパシタのトンネリング電極は、前記第1活性領域上から前記素子分離領域上まで伸び、前記第1キャパシタのトンネリング電極と前記第2キャパシタのコントロール電極とを接続する前記金属ラインは、前記素子分離領域上で前記第1キャパシタのトンネリング電極に接続されたことを特徴とする。
前記第1絶縁膜と前記第3絶縁膜の厚さが、等しく、前記第1絶縁膜と前記第3絶縁膜が、同時に形成されたことを特徴とする。
記第1活性領域に第4絶縁膜を媒介として形成された選択トランジスタ電極をさらに備えることを特徴とする。
本発明の不揮発性半導体メモリ装置は、積層された電極構造を有さず、埋め込み半導体装置でロジック回路製造工程と共に同時に製造して、追加の工程なしに製作できるため、製作が容易かつ原価が低減するという効果がある。
以下、本発明の好ましい実施の形態を、添付図面に基づき詳細に説明する。
図2は、本発明の一実施の形態に係る不揮発性半導体メモリ装置のセルレイアウト(layout)であり、図3は、図2のA−A´線の断面図であり、図4は、図2のB‐B´線の断面図である。
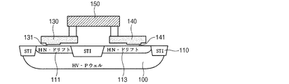
図2〜図4に示すように、本発明の不揮発性半導体メモリ装置は、半導体基板100、素子分離領域110、トランジスタ電極120、第1キャパシタ電極130、及び第2キャパシタ電極140を備える。
半導体基板100は、電気的素子が形成される基板であって、例えば、シリコン基板のように、半導体特性を有する材質で形成されて、半導体製造工程により電気的素子が形成される支持台の機能を果たす。
素子分離領域110は、半導体基板100に電気的素子が形成される活性領域を電気的に分離する機能を有し、半導体基板100に形成された素子分離領域110により、第1活性領域111と第2活性領域113とが電気的に分離される。また、半導体素子の集積度が増加するにつれて、素子分離領域110は、STI(Shallow Trench Isolation)工程により形成することが好ましい。
トランジスタ電極120は、第1活性領域111に形成された第1絶縁膜121を媒介として第1絶縁膜121上に形成されたトランジスタのゲート電極であって、第1活性領域111にトランジスタを形成する。
第1キャパシタ電極130は、第1活性領域111に形成された第2絶縁膜131を媒介として第2絶縁膜131上に形成されたキャパシタのゲート電極であって、第1活性領域111に第1キャパシタを形成する。このとき、第1絶縁膜121の厚さは、第2絶縁膜131の厚さより厚いものであって、例えば、第1絶縁膜121は、200〜1000Å程度の範囲を有する酸化膜であり、第2絶縁膜131は、60〜150Å程度の範囲を有する酸化膜である。
そして、第1キャパシタ電極130を形成する工程において、厚さの薄い第2絶縁膜131に損傷を与えないように、第1キャパシタ電極130は、第2絶縁膜131の境界で余裕をおいて伸びた境界を有する。
そして、第1キャパシタと半導体基板100とが共有する第1活性領域111の接合は、トランジスタのドレイン115を形成し、トランジスタ電極120を基準に、ドレイン115に対応する第1活性領域111の接合は、トランジスタのソース117を形成する。このとき、形成されたトランジスタは、nチャネルトランジスタであって、ドレイン115及びソースも、n型接合を形成することが好ましい。
第2キャパシタ電極140は、第2活性領域113に形成された第3絶縁膜141を媒介として形成されたキャパシタのゲート電極であって、第2活性領域113に第2キャパシタを形成する。このとき、第2キャパシタ電極140は、トランジスタ電極120及び第1キャパシタ電極130と電気的に接続され、好ましくは、金属ライン150、160により接続される。
そして、第2キャパシタ電極140は、第2活性領域113の内部に形成されて、素子分離領域110と重ならないように配置して、寄生キャパシタンスを減少させることが好ましい。第3絶縁膜141は、第1絶縁膜121と同時に形成され、第2キャパシタ電極140もトランジスタ電極120と同時に形成されて、製造工程を簡単にすることが好ましい。したがって、第3絶縁膜141の厚さは、第1絶縁膜121の厚さと等しい酸化膜である。
そして、トランジスタ電極120、第1キャパシタ電極130、及び第2キャパシタ電極140は、ポリシリコンで形成することが好ましい。
図5は、図2に示す本発明の不揮発性半導体メモリ装置のセルを記号で示す回路図である。
図2〜図5を参照して、本発明の不揮発性半導体メモリ装置の機能及び動作を説明する。本発明の適用例として、図2に示す本発明の不揮発性半導体メモリ装置は、埋め込み半導体素子の不揮発性メモリのセルとして用いられることが好ましい。この場合、埋め込み半導体素子の製造工程に用いられる工程を利用して、追加工程なしに、本発明の不揮発性半導体メモリ装置を実現し得るという長所がある。
本発明の不揮発性半導体メモリ装置のセルは、総3個の電気的素子を備えるが、トランジスタは、高電圧のNMOSトランジスタであって、ドレイン及びソースを含むセンス(sense)トランジスタ200として機能し、第1キャパシタ電極130と第2絶縁膜131とで形成された第1キャパシタは、電子のトンネリング(tunneling)ウィンドウ(window)として用いられる低電圧ゲート酸化膜を使用した第1MOSキャパシタ(=トンネリングゲート)300である。
そして、第2キャパシタ電極140と第3絶縁膜141で形成された第2キャパシタは、書き込み/消去動作の際、コントロールゲート、すなわちn接合(junction)に印加された電圧をカップリング(coupling)させるための高電圧ゲート酸化膜を使用した第2MOSキャパシタ(=コントロールゲート)400であり、コントロールゲートは、高電圧素子のソース/ドレインとして用いられるイオン注入を利用したn接合により接続されて、不揮発性半導体メモリ装置のワードライン(word line)として機能する。
コントロールゲートのn接合は、メモリセルの書き込み/消去時に印加される電圧を第2MOSキャパシタを利用してカップリングさせ、カップリングされた電圧は、接続された金属ライン150、160を介して低電圧ゲート酸化膜の上端の第1キャパシタ電極130に伝達される。このとき、伝達された電圧は、ドレイン端に印加された電圧に応じて、トンネリング酸化膜(=低電圧ゲート酸化膜)の両端にかかり、セルの書き込み/消去動作を行う。
書き込み/消去動作時には、ソース117側をフローティングして、センストランジスタ200を介した電流通路は遮断される。以後、読み出し動作時には、書き込み/消去動作により、F−Nトンネリング現象により互いに接続したトランジスタ電極、第1キャパシタ電極及び第2キャパシタ電極であるポリシリコン内に電子が充填されるか、または放出された状態となる。
ポリシリコンに充填または放出された電子は、センストランジスタ200のゲートの下のチャネルのポテンシャル差を表し、センストランジスタ200のチャネルを反転(inversion)させる電圧が変化されることにより、書き込み状態と消去状態の2種類の状態を持つようになる。
例えば、セルの消去動作の場合、n接合に接続したワードラインメタルに10〜15Vの高電圧を印加すると、n接合に接続したコントロールゲートの下端n接合は、MOSキャパシタカップリングがおき、カップリングされた電圧は、カップリング比(coupling ratio)により、適正電圧が金属ラインに接続されて、トンネリングゲートである第1キャパシタ電極に伝達される。
カップリング比が約70%の場合、7.0〜10.5Vがトンネリング酸化膜の第2絶縁膜131の上端に伝達されるが、このとき、ドレイン115に接続したビットラインにグラウンド電圧(Vss)が外部から伝達され、酸化膜の厚さが約100Å存在する場合、約7.0〜10.5MeVの電圧がかかる。
トンネリング酸化膜の両端に垂直方向に電界が印加され、F−Nトンネリング現象により、n接合側にあった電子は、カップリングされた正(positive)電圧に引かれて、ポリシリコンにトンネリングされる。以後、センストランジスタ200を介してセルのしきい(threshold)電圧を測定する場合、ポリシリコンにトンネリングされた電子により、ポリシリコンゲートの下にチャネルを反転させるための電圧がさらに大きくなるため、しきい電圧は高まる。
一般的なSTI工程を使用したフィールド(filed)の場合、ポリシリコンを利用してフィールドを経るとき、寄生フィールドトランジスタが形成され、このトランジスタの降伏(breakdown)電圧としきい電圧は約12〜18V程度で、一般的な用途で使用するため、問題がないが、約20V内外の高い電圧が印加される場合、漏れ電流、カップリング比の減少、降伏電圧の減少(降下)、フィールド反転などの問題が発生する余地がある。
したがって、本発明でフローティングされたポリシリコン間の接続は、寄生フィールドトランジスタ特性を向上させるために、トンネリング酸化膜のポリシリコン及びセンストランジスタ200のポリシリコンをフローティングゲートのポリシリコンと金属で接続して、ポリシリコン対比書き込み/消去動作時発生し得る降伏電圧の減少及びフィールド反転という問題を解決する。
また、メモリセルの接合は、高電圧による接合の降伏を防止するために、n接合の場合、ポリシリコンと一定距離を隔てた構造を使用し、ソースの場合、接地レベルの電圧のみを印加するため、従来の低電圧接合と同じ構造を有する。
ドレイン接合の下には、電界を緩和させるためのn接合である高電圧用nイオン注入及びドライブイン(drive−in)熱(thermal)工程を利用したn接合がある。これらの全ての構造は、従来の高電圧素子に使用していた工程をそのまま利用する。
コントロールゲートに用いられる第2キャパシタの場合、一般には、フィールド酸化膜側にポリシリコンが伸びるが、本発明では、フィールド酸化膜でポリシリコンとの間で発生される寄生キャパシタンスを減らすために、活性領域内側でポリエッチングされるようにし、トンネリング酸化膜の上端に存在する第1キャパシタ電極は、第2絶縁膜である薄い酸化膜に工程進行時に発生し得るプラズマによる損傷を減らすために、フィールド領域に伸びて金属ラインと接続させる。
埋め込み半導体装置に本発明の不揮発性半導体メモリ装置が用いられる場合、第1絶縁膜及び第3絶縁膜は、高電圧トランジスタの絶縁膜と同じ工程で形成し、第2絶縁膜は、低電圧トランジスタの絶縁膜と同じ工程で形成されるために、別途の工程を追加せず、本発明の不揮発性半導体メモリ装置を有する埋め込み半導体装置の実現が可能である。
また、書き込み/消去動作の際、電子のトンネリングを行うトンネリング酸化膜の形成は、従来の埋め込み高電圧工程で高電圧と低電圧用二重ゲートを形成するマスク工程をそのまま使用する。すなわち、ウエハ全面に高電圧用厚いゲート酸化膜(200〜1000Å)を熱酸化工程の方法で成長させ、以後、マスクを利用した選択的ウェットエッチングを適用して、低電圧領域(低電圧N/PMOS素子)をウエハ表面が露出するように選択的エッチングさせる。このとき、トンネリング酸化膜のトンネリングウィンドウ領域も同時にエッチングされる。
以後、薄いゲート酸化膜を熱酸化工程方法で酸化させる。したがって、トンネリングウィンドウ領域及び低電圧素子部分には、例えば60〜150Åゲート酸化膜が形成され、残りの高電圧素子領域は、既存の厚いゲート酸化膜に薄いゲート酸化工程時にさらに成長される酸化膜が追加される。
前記工程により成長されるトンネリング酸化膜は、低電圧酸化膜と等しい厚さを有し、マスクを使用した選択的エッチングの際のトンネリングウィンドウの大きさは、カップリング比を考慮して、横/縦の大きさが、例えば0.4〜1.2μm程度になるようにする。
以上で説明した工程を参照すると、本発明の不揮発性半導体メモリ装置は、従来の埋め込み半導体装置でロジック回路を製作するのに必要な工程を行うと共に製造されるという長所があるため、不揮発性半導体メモリ装置を製作するための追加工程を必要としない。
また、図3及び図4の断面図に示すように、単一層の電極を使用するため、トポロジーが増加しないから、後続の平坦化工程や金属配線工程が容易になる。
図5を参照して、本発明の不揮発性半導体メモリ装置の単位セルに対する書き込み/消去/読み出し動作について説明する。
まず、消去動作特性は、ワードラインを介して約12〜18VのVpp(高電圧)を印加し、印加されたVppは、第2キャパシタであるコントロールキャパシタ400にカップリングされて、第1キャパシタであるトンネリングキャパシタ300の上部に伝達される。このとき、センストランジスタ200のソースノードは、フローティングであるため、トランジスタへの電流通路は形成されない。ドレインノードには、接地電圧、すなわち、0Vが印加されるため、トンネリングキャパシタ300の両端には、垂直方向の電界が発生する。この電界によって、ドレイン端の電子がF−Nトンネリングが発生し、フローティングノードに電子(charge)が格納される。
すなわち、フローティングノードに電子が注入される場合、注入された電子により、センストランジスタ200のしきい電圧は高まるため、チャネルを逆転させ難くなり、したがって、読み出し電圧を印加してもソース/ドレイン間セル電流は流れない。
書き込み動作の場合、ワードラインを介して接地電圧である0Vが印加され、印加されたVssは、コントロールキャパシタ400にカップリングされて、トンネリングキャパシタ300の上部に伝達される。また、センストランジスタ200のソースノードは、フローティングされるため、トランジスタの電流通路は形成されない。また、ドレインノードには、12〜18Vの高電圧を印加し、印加され電圧は、トンネリングキャパシタ300の下端にカップリングされて、トンネリングキャパシタ300の両端には、ワードライン電圧及びドレイン電圧により垂直方向の電界が発生する。この電界により、ポリシリコンに存在する電子がドレイン電圧に引かれて、ビットライン側に放出される。
そして、これにより、しきい電圧が低くなって、読み出し電圧を印加する場合、フローティングゲートの電位がチャネルを十分に反転させ、ソース/ドレイン間電位差により、セル電流が流れるようになる。
読み出し動作の場合には、一般的なMOSトランジスタの動作と同様に、ビットラインに1.8〜5.0VのVdd電圧を印加し、n接合からなるワードラインにも、同じ電圧を印加して、ソース/ドレイン間のセル電流を感知する。
図6は、本発明の他の実施の形態に係る不揮発性半導体メモリ装置のセルレイアウトである。図6は、図2と実質的に同じ構成と機能を有した構成要素に対しては、同じ参照符号を使用する。
図6に示すように、本発明の他の実施の形態に係る不揮発性半導体メモリ装置は、一実施の形態の不揮発性半導体メモリ装置で第1活性領域111を伸びて第4絶縁膜を媒介としてポリシリコンで形成された選択トランジスタ電極170をさらに形成した構造を有している。
このとき、第4絶縁膜を第1絶縁膜と同時に形成して、工程の追加なしに選択トランジスタ電極170を形成することが好ましい。そして、ソース117に対応する追加された選択トランジスタ電極170の第1活性領域111の接合は、ドレイン115を形成する。選択トランジスタ電極170により選択トランジスタが形成される。
選択トランジスタは、選択トランジスタ電極170に印加された電圧により、ドレイン115に印加される電圧が、選択的にトンネリングキャパシタに印加されるように調節する。
このとき、選択トランジスタは、ビットラインを介して印加されるドレイン電圧を選択するスイッチ機能を有するトランジスタであって、特定のバイト選択の機能を有する不揮発性半導体メモリ装置を提供する。他の機能や動作は、上述の本発明の一実施の形態と同じである。
上述した本発明の好ましい実施の形態は、例示の目的のために開示されたものであり、本発明の属する技術の分野における通常の知識を有する者であれば、本発明の技術的思想を逸脱しない範囲内で、様々な置換、変形、及び変更が可能であり、このような置換、変更などは、特許請求の範囲に属するものである。
従来の不揮発性半導体メモリ装置のセル構造を示す断面図である。 本発明の一実施の形態に係る不揮発性半導体メモリ装置のセルレイアウトである。 図2のA‐A´線の断面図である。 図2のB‐B´線の断面図である。 図2に示す本発明の不揮発性半導体メモリ装置のセルを記号で示す回路図である。 本発明の他の実施の形態に係る不揮発性半導体メモリ装置のセルレイアウトである。
符号の説明
10、100 半導体基板
120 トランジスタ電極
130 第1キャパシタ電極
140 第2キャパシタ電極
150、160 金属ライン
170 選択トランジスタ電極

Claims (7)

  1. 半導体基板と、
    前記半導体基板に形成された第1活性領域及び第2活性領域と、
    前記第1活性領域及び第2活性領域とを分離する素子分離領域と、
    前記第1活性領域に第1絶縁膜を媒介として該第1絶縁膜上に形成されるセンス用トランジスタのゲート電極と、
    前記第1活性領域に第2絶縁膜を媒介として該第2絶縁膜上に形成され第1キャパシタのトンネリング電極と、
    前記第2活性領域内に第3絶縁膜を媒介として該第3絶縁膜上に形成され第2キャパシタのコントロール電極と、
    を備え、
    前記第2キャパシタのコントロール電極は、前記素子分離領域とはオーバーラップせずに配置され、寄生キャパシタンスを減らし、
    前記センス用トランジスタのゲート電極、前記第1キャパシタのトンネリング電極及び第2キャパシタのコントロール電極は平面上、互いに分離されており、前記第2キャパシタのコントロール電極は金属ラインによって、それぞれ前記センス用トランジスタのゲート電極及び前記第1キャパシタのトンネリング電極に電気的に接続されたことを特徴とする不揮発性半導体メモリ装置。
  2. 前記第1キャパシタのトンネリング電極は、前記第1活性領域上から前記素子分離領域上まで伸び、
    前記第1キャパシタのトンネリング電極と前記第2キャパシタのコントロール電極とを接続する前記金属ラインは、前記素子分離領域上で前記第1キャパシタのトンネリング電極に接続されたことを特徴とする請求項1に記載の不揮発性半導体メモリ装置。
  3. 前記第1絶縁膜の厚さが、前記第2絶縁膜の厚さより大きいことを特徴とする請求項1に記載の不揮発性半導体メモリ装置。
  4. 前記第1絶縁膜と前記第3絶縁膜の厚さが、等しいことを特徴とする請求項1に記載の不揮発性半導体メモリ装置。
  5. 前記第1絶縁膜と前記第3絶縁膜が、同時に形成されことを特徴とする請求項1に記載の不揮発性半導体メモリ装置。
  6. 前記第1活性領域に第4絶縁膜を媒介として形成された選択トランジスタのゲート電極をさらに備えることを特徴とする請求項1に記載の不揮発性半導体メモリ装置。
  7. 前記第1キャパシタと前記半導体基板とが共有する前記第1活性領域の接合は、前記センス用トランジスタのドレインを形成し、前記センス用トランジスタのゲート電極を基準に、前記ドレインに対応する前記第1活性領域の接合は、前記センス用トランジスタのソースを形成することを特徴とする請求項1に記載の不揮発性半導体メモリ装置
JP2006356457A 2005-12-29 2006-12-28 不揮発性半導体メモリ装置 Expired - Fee Related JP5000293B2 (ja)

Applications Claiming Priority (2)

Application Number Priority Date Filing Date Title
KR1020050134385A KR100667909B1 (ko) 2005-12-29 2005-12-29 비휘발성 반도체 메모리 장치
KR10-2005-0134385 2005-12-29

Publications (2)

Publication Number Publication Date
JP2007184612A JP2007184612A (ja) 2007-07-19
JP5000293B2 true JP5000293B2 (ja) 2012-08-15

Family

ID=37867841

Family Applications (1)

Application Number Title Priority Date Filing Date
JP2006356457A Expired - Fee Related JP5000293B2 (ja) 2005-12-29 2006-12-28 不揮発性半導体メモリ装置

Country Status (3)

Country Link
US (1) US7772638B2 (ja)
JP (1) JP5000293B2 (ja)
KR (1) KR100667909B1 (ja)

Families Citing this family (6)

* Cited by examiner, † Cited by third party
Publication number Priority date Publication date Assignee Title
KR20100079176A (ko) * 2008-12-30 2010-07-08 주식회사 동부하이텍 이이피롬 소자 및 그 제조 방법
GB201111916D0 (en) * 2011-07-12 2011-08-24 Cambridge Silicon Radio Ltd Single poly non-volatile memory cells
EP2639816B1 (en) * 2012-03-12 2019-09-18 eMemory Technology Inc. Method of fabricating a single-poly floating-gate memory device
KR101586413B1 (ko) * 2014-12-12 2016-01-18 주식회사 윙코 단일 폴리 비휘발성 메모리
CN107425003B (zh) 2016-05-18 2020-07-14 硅存储技术公司 制造分裂栅非易失性闪存单元的方法
WO2017200709A1 (en) * 2016-05-18 2017-11-23 Silicon Storage Technology, Inc. Method of making split gate non-volatile flash memory cell

Family Cites Families (17)

* Cited by examiner, † Cited by third party
Publication number Priority date Publication date Assignee Title
JPS6057673A (ja) * 1983-09-08 1985-04-03 Nec Corp Mos型半導体装置
US4807003A (en) * 1986-12-19 1989-02-21 National Semiconductor Corp. High-reliablity single-poly eeprom cell
IT1199828B (it) * 1986-12-22 1989-01-05 Sgs Microelettronica Spa Cella di memoria eeprom a singolo livello di polisilicio scrivibile e cancellabile bit a bit
US5282161A (en) * 1990-12-31 1994-01-25 Sgs-Thomson Microelectronics S.R.L. Eeprom cell having a read interface isolated from the write/erase interface
US5440159A (en) * 1993-09-20 1995-08-08 Atmel Corporation Single layer polysilicon EEPROM having uniform thickness gate oxide/capacitor dielectric layer
JP3001409B2 (ja) * 1996-02-19 2000-01-24 モトローラ株式会社 2層フローティングゲート構造のマルチビット対応セルを有する不揮発性メモリ及びそのプログラム/消去/読出方法
DE69635842T2 (de) * 1996-10-28 2006-11-30 Macronix International Co. Ltd. Speicherredundanzschaltung, die einzelne polysilizium-schwebegattertransistoren als redundanzelemente verwendet
US5786614A (en) * 1997-04-08 1998-07-28 Taiwan Semiconductor Manufacturing Co., Ltd. Separated floating gate for EEPROM application
JPH1187664A (ja) * 1997-04-28 1999-03-30 Nippon Steel Corp 半導体装置及びその製造方法
US5885871A (en) * 1997-07-31 1999-03-23 Stmicrolelectronics, Inc. Method of making EEPROM cell structure
JP2000031395A (ja) * 1998-07-13 2000-01-28 Nec Corp 半導体装置とその製造方法
EP0977265A1 (en) * 1998-07-30 2000-02-02 STMicroelectronics S.r.l. Circuit structure comprising a parasitic transistor having a very high threshold voltage
US6324097B1 (en) * 1999-08-26 2001-11-27 Mosel Vitelic Inc. Single poly non-volatile memory structure and its fabricating method
JP4068519B2 (ja) * 2002-07-08 2008-03-26 株式会社東芝 有効期限付き機能利用装置
JP2004165182A (ja) * 2002-11-08 2004-06-10 Ricoh Co Ltd 半導体装置
KR100493061B1 (ko) * 2003-06-20 2005-06-02 삼성전자주식회사 비휘발성 메모리가 내장된 단일 칩 데이터 처리 장치
JP2005191057A (ja) * 2003-12-24 2005-07-14 Seiko Epson Corp 不揮発性半導体装置及びその製造方法

Also Published As

Publication number Publication date
US7772638B2 (en) 2010-08-10
JP2007184612A (ja) 2007-07-19
KR100667909B1 (ko) 2007-01-11
US20070152262A1 (en) 2007-07-05

Similar Documents

Publication Publication Date Title
US8592942B2 (en) Non-volatile semiconductor memory device
US6608345B2 (en) Nonvolatile semiconductor memory device and semiconductor integrated circuit
JP5893662B2 (ja) 不揮発性メモリセル構造及びこれをプログラミングし読み出す方法
CN101377955B (zh) 电可擦除可编程只读存储器单元及其形成和读取方法
TWI452679B (zh) 絕緣體上覆半導體上具有埋設於絕緣層下之第二控制閘極的快閃記憶體晶胞
JP2001244424A (ja) 半導体集積回路装置および半導体集積回路装置の製造方法
JP2007294861A (ja) 単層ポリシリコン不揮発性メモリーセルの動作方法
JP2009295781A (ja) 半導体装置及びその製造方法
CN101488502A (zh) 非易失性半导体存储装置
JP2013239597A (ja) 半導体集積回路
US7808054B2 (en) OTP memory cell, OTP memory, and method of manufacturing OTP memory cell
JP2007173821A (ja) プログラミング速度を改善したeeprom、その製造方法及びその駆動方法
CN100440516C (zh) 非易失性存储装置
TW200415794A (en) Semiconductor device and method for fabricating the same
JP5289559B2 (ja) 不揮発性プログラマブルロジックスイッチ
US20070241387A1 (en) Nonvolatile semiconductor memory device
JP5000293B2 (ja) 不揮発性半導体メモリ装置
JP2020035877A (ja) 半導体装置
JP2012060005A (ja) 不揮発性プログラマブルロジックスイッチおよび半導体集積回路
JP4093359B2 (ja) 電気的に消去可能なプログラマブルロジックデバイス
JP2006344735A (ja) 半導体装置
JP4854375B2 (ja) 半導体記憶装置及びその製造方法、並びに携帯電子機器
JP6718115B2 (ja) 強誘電体メモリ装置
JP2002043446A (ja) 不揮発性半導体記憶装置
JP2010129620A (ja) 不揮発性半導体記憶装置

Legal Events

Date Code Title Description
A977 Report on retrieval

Free format text: JAPANESE INTERMEDIATE CODE: A971007

Effective date: 20100714

A131 Notification of reasons for refusal

Free format text: JAPANESE INTERMEDIATE CODE: A131

Effective date: 20100722

A601 Written request for extension of time

Free format text: JAPANESE INTERMEDIATE CODE: A601

Effective date: 20101020

A602 Written permission of extension of time

Free format text: JAPANESE INTERMEDIATE CODE: A602

Effective date: 20101025

A521 Request for written amendment filed

Free format text: JAPANESE INTERMEDIATE CODE: A523

Effective date: 20101122

A131 Notification of reasons for refusal

Free format text: JAPANESE INTERMEDIATE CODE: A131

Effective date: 20101216

RD02 Notification of acceptance of power of attorney

Free format text: JAPANESE INTERMEDIATE CODE: A7422

Effective date: 20110218

RD04 Notification of resignation of power of attorney

Free format text: JAPANESE INTERMEDIATE CODE: A7424

Effective date: 20110225

A601 Written request for extension of time

Free format text: JAPANESE INTERMEDIATE CODE: A601

Effective date: 20110316

A602 Written permission of extension of time

Free format text: JAPANESE INTERMEDIATE CODE: A602

Effective date: 20110322

A521 Request for written amendment filed

Free format text: JAPANESE INTERMEDIATE CODE: A523

Effective date: 20110418

A131 Notification of reasons for refusal

Free format text: JAPANESE INTERMEDIATE CODE: A131

Effective date: 20120110

A521 Request for written amendment filed

Free format text: JAPANESE INTERMEDIATE CODE: A523

Effective date: 20120410

TRDD Decision of grant or rejection written
A01 Written decision to grant a patent or to grant a registration (utility model)

Free format text: JAPANESE INTERMEDIATE CODE: A01

Effective date: 20120508

A01 Written decision to grant a patent or to grant a registration (utility model)

Free format text: JAPANESE INTERMEDIATE CODE: A01

A61 First payment of annual fees (during grant procedure)

Free format text: JAPANESE INTERMEDIATE CODE: A61

Effective date: 20120516

R150 Certificate of patent or registration of utility model

Ref document number: 5000293

Country of ref document: JP

Free format text: JAPANESE INTERMEDIATE CODE: R150

Free format text: JAPANESE INTERMEDIATE CODE: R150

FPAY Renewal fee payment (event date is renewal date of database)

Free format text: PAYMENT UNTIL: 20150525

Year of fee payment: 3

R250 Receipt of annual fees

Free format text: JAPANESE INTERMEDIATE CODE: R250

R250 Receipt of annual fees

Free format text: JAPANESE INTERMEDIATE CODE: R250

R250 Receipt of annual fees

Free format text: JAPANESE INTERMEDIATE CODE: R250

R250 Receipt of annual fees

Free format text: JAPANESE INTERMEDIATE CODE: R250

R250 Receipt of annual fees

Free format text: JAPANESE INTERMEDIATE CODE: R250

R250 Receipt of annual fees

Free format text: JAPANESE INTERMEDIATE CODE: R250

S111 Request for change of ownership or part of ownership

Free format text: JAPANESE INTERMEDIATE CODE: R313113

R350 Written notification of registration of transfer

Free format text: JAPANESE INTERMEDIATE CODE: R350

R250 Receipt of annual fees

Free format text: JAPANESE INTERMEDIATE CODE: R250

R250 Receipt of annual fees

Free format text: JAPANESE INTERMEDIATE CODE: R250

R250 Receipt of annual fees

Free format text: JAPANESE INTERMEDIATE CODE: R250

S533 Written request for registration of change of name

Free format text: JAPANESE INTERMEDIATE CODE: R313533

R371 Transfer withdrawn

Free format text: JAPANESE INTERMEDIATE CODE: R371

S533 Written request for registration of change of name

Free format text: JAPANESE INTERMEDIATE CODE: R313533

R250 Receipt of annual fees

Free format text: JAPANESE INTERMEDIATE CODE: R250

R350 Written notification of registration of transfer

Free format text: JAPANESE INTERMEDIATE CODE: R350

LAPS Cancellation because of no payment of annual fees